JP3930954B2 - 構造物の構築方法 - Google Patents
構造物の構築方法 Download PDFInfo
- Publication number
- JP3930954B2 JP3930954B2 JP32097197A JP32097197A JP3930954B2 JP 3930954 B2 JP3930954 B2 JP 3930954B2 JP 32097197 A JP32097197 A JP 32097197A JP 32097197 A JP32097197 A JP 32097197A JP 3930954 B2 JP3930954 B2 JP 3930954B2
- Authority
- JP
- Japan
- Prior art keywords
- constructing
- ground
- shield
- retaining wall
- construction
- Prior art date
- Legal status (The legal status is an assumption and is not a legal conclusion. Google has not performed a legal analysis and makes no representation as to the accuracy of the status listed.)
- Expired - Lifetime
Links
- 238000010276 construction Methods 0.000 title claims description 49
- 238000000034 method Methods 0.000 claims description 41
- 229910000831 Steel Inorganic materials 0.000 description 21
- 239000010959 steel Substances 0.000 description 21
- 238000009412 basement excavation Methods 0.000 description 17
- 238000004804 winding Methods 0.000 description 9
- 239000004567 concrete Substances 0.000 description 7
- 230000000694 effects Effects 0.000 description 4
- 239000000463 material Substances 0.000 description 4
- 239000011150 reinforced concrete Substances 0.000 description 4
- 239000002689 soil Substances 0.000 description 4
- XLYOFNOQVPJJNP-UHFFFAOYSA-N water Substances O XLYOFNOQVPJJNP-UHFFFAOYSA-N 0.000 description 4
- 238000002347 injection Methods 0.000 description 3
- 239000007924 injection Substances 0.000 description 3
- 239000000126 substance Substances 0.000 description 3
- 230000002411 adverse Effects 0.000 description 2
- 238000009835 boiling Methods 0.000 description 2
- 239000004568 cement Substances 0.000 description 2
- 239000003673 groundwater Substances 0.000 description 2
- 230000003014 reinforcing effect Effects 0.000 description 2
- 239000004927 clay Substances 0.000 description 1
- 239000002131 composite material Substances 0.000 description 1
- 238000010586 diagram Methods 0.000 description 1
- 238000005553 drilling Methods 0.000 description 1
- 238000009415 formwork Methods 0.000 description 1
- 238000007710 freezing Methods 0.000 description 1
- 230000008014 freezing Effects 0.000 description 1
- 238000009434 installation Methods 0.000 description 1
- 238000007711 solidification Methods 0.000 description 1
- 230000008023 solidification Effects 0.000 description 1
- 239000000243 solution Substances 0.000 description 1
- 230000009466 transformation Effects 0.000 description 1
- 230000005641 tunneling Effects 0.000 description 1
Images
Landscapes
- Excavating Of Shafts Or Tunnels (AREA)
- Underground Structures, Protecting, Testing And Restoring Foundations (AREA)
Description
【発明の属する技術分野】
本発明は少なくともその一部分が地中に根入れされた構造物、すなわち地下トンネルや共同溝などの地下構造物、地下部分を有する構築物、地下構造物と地上構造物との複合構造物などの構造物の構築方法に関するものである。
【0002】
【従来の技術】
少なくともその一部分が地中に根入れされた構造物の構築に際しては、構築予定区域の周囲の地盤に従来周知の方法で土留壁を構築し、その内側地盤を開削して構造物の躯体を構築する開削工法が一般に行われている。
【0003】
この開削にあたっては、図14に示すように、掘削対象地盤の特性に応じて種々の対策をとる必要があった。例えば同図の(1)の地下水位の高い砂質土に構築される場合は、ボイリング現象を防止する対策がとられていた。また同図の(2)の軟弱な粘性土の場合は、ヒービング現象を防止する対策がとられていた。また同図の(3)の床付面以深に不透水層があり、これ以深に滞水被圧層がある地盤の場合は、揚圧力対策を必要としていた。また同図の(4)および(5)のように、土留壁背面に作用する側圧や土留壁前面の地盤抵抗の大きさに応じて土留壁の根入れ深さを大きくしたり、あるいは土留壁の剛性の向上を図るなどの対策がとられていた。
【0004】
【発明が解決しようとする課題】
このように、開削工事においては各種の地盤特性に応じてそれぞれ異なる対策をとる必要があり、土留壁の根入れや剛性を大きくしたり、補助工法として地下水低下や地盤改良を採用するなどのために工期が長くなってコストもかかるという問題があった。またこれらの対策が不十分な場合には、周辺地盤の沈下などの悪影響を及ぼすことも少なくなかった。
【0005】
本発明は、このような問題に鑑みてなされたものであり、その目的は、少なくともその一部分が地中に根入れされた構造物を構築する場合、どのような地盤条件であっても開削時の課題を解決し得る構造物およびその構築方法を提供することである。すなわち、上記の問題点は、いずれも土留壁の根入れ部の地盤の抵抗力が小さいために生じるものであるから、本発明では開削に先立って、この部分に強固な構造体を形成することに着目したものである。
【0006】
【課題を解決するための手段】
以上の課題を解決するための構造物の構築方法は、底盤部、側壁部および床版部を含み、少なくとも前記底盤部が地中に構築される構造物の構築方法であって、前記底盤部構築予定位置に複数のシールドトンネルを構築し、該シールドトンネル同士を連接して形成した空間に、前記側壁部および床版部の構築に先行して、前記底盤部を構築することを特徴とする。また前記シールドトンネルを断面視において略矩形状に構築することを含む。また前記土留壁の先端部を前記底盤部に根固めする工程を含む。また前記土留壁を前記シールドトンネルのいずれかの内部空間から地表面に向けて構築することを含む。また前記床版部の構築を逆巻工法によって行うことを含む。また前記シールドトンネルの内部空間から杭基礎を構築する工程を含むものである。
また構造物の構築方法は、底盤部、側壁部および床版部を含む構造物の構築方法であって、地中の底盤部構築予定位置に複数のシールドトンネルを構築する工程と、該シールドトンネル同士を連接して底盤部構築用の空間を形成する工程と、該底盤部構築用の空間に、前記側壁部および床版部の構築に先行して、前記底盤部を構築する工程と、前記側壁部の構築予定位置の近傍に土留壁を構築する工程と、該土留壁に囲まれた地盤を掘削して前記側壁部および床版部を構築する工程とを含むことを特徴とする。また前記シールドトンネルを断面視において略矩形状に構築することを含む。また前記土留壁の先端部を前記底盤部に根固めする工程を含む。また前記土留壁を前記シールドトンネルのいずれかの内部空間から地表面に向けて構築することを含む。また前記床版部の構築を逆巻工法によって行うことを含む。また前記シールドトンネルの内部空間から杭基礎を構築する工程を含むものである。
【0034】
【発明の実施の形態】
以下、本発明の構造物およびその構築方法の実施の形態を図面に基づいて詳細に説明する。まず本発明の構造物を図1および図2の断面図並びに図3の側面図に基づいて説明する。
【0035】
本実施の形態は、少なくとも一部分が地中に根入れされた構造物1、すなわち地下部のある構造物であり、底盤部2、側壁部3および床版部4とから構成され、前記底盤部2が地中に構築されている。前記底盤部2、側壁部3および床版部4は、いずれも鉄筋コンクリート構造、鉄骨コンクリート構造、鉄骨鉄筋コンクリート構造、鉄骨構造とすることができるが、以下の説明は鉄筋コンクリート構造とした場合について説明する。
【0036】
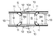
構造物1の構築に先立って、前記底盤部2の構築予定位置の地中に複数のシールドトンネル5を構築しておく。このシールドトンネル5は、通常多用される円形断面や他の任意の断面とすることもできるが、矩形状の断面とすることが望ましい。その理由は、シールドトンネル5同士を連接して底盤部2の構築用の大きな空間を形成するときに(後述)、矩形断面の方が接続しやすいからである。矩形断面のシールドトンネル5は、断面矩形のシールド掘進機によって地中に矩形断面の横坑を掘削し、鋼製、鉄筋コンクリート製または鉄骨コンクリート製のセグメント9で横坑壁面を覆工して構築される。
【0037】
このようにして構築した複数のシールドトンネル5(図2の場合は4本のシールドトンネル)の隣接部同士を連接して底盤部2の構築用の空間6を形成する。このシールドトンネル5の連接方法を図2に示す。隣接するシールドトンネル5間の地山は必要に応じて薬液注入工法などによって止水ゾーン10aを形成した後、セグメント9から山留板11を地山に押し出して地山を支持・止水する。そして、隣接するシールドトンネル5の側面同士のセグメントピース9aを取り外し、隣接シールドトンネル間における山留板11で囲まれた地山を掘削した後、シールドトンネル5同士を鋼材およびコンクリートで接続して連結構造体12を形成する。
【0038】
こうして複数のシールドトンネル5が連結構造体12とセグメント9とで連接されることにより、底盤部2を構築するために十分な大きさと安全性を有する空間6が形成される。そして、この空間6内に鉄筋を組み立て現場打ちコンクリートを打設して所要の形状・寸法と強度を有する底盤部2が構築される。また、この構築作業は前記連結構造体12によってドライな条件下で行われるため、十分な安全性を確保することができる。なお、シールドトンネル5の上部および下部を覆工しているセグメント9と前記連結構造体12は、適宜間隔でシールドトンネル5内に立設された支柱13によって支持されている。
【0039】
また、複数のシールドトンネル5を連接することにより、構造物1の最下面は平坦な平面となり、底盤部2の構築によって十分な剛性を有することから、構造物1の下方地盤の支持力が十分であれば、このままで構造物1の直接基礎として利用することができる。
【0040】
構造物1の下方地盤の支持力が直接基礎としては不足している場合には、シールドトンネル5の下方に杭基礎14を設置する。この場合、底盤部2を構築する前にシールドトンネル5の下部セグメント9を適宜位置で取り外し、シールドトンネル5内部から杭打設作業を行うことができる。杭基礎14としては、深礎杭、既製杭(継ぎ杭)、比較的小口径の場所打ち杭などを用いることができる。
【0041】
次に、側壁部3および床版部4の構築について説明する。本発明においても、側壁部3および床版部4は開削工法によって構築される。従って、構造物1の構築予定位置の周囲に土留壁7を形成しておく必要がある。土留壁7としては、鋼矢板・鋼管矢板・ソイルセメント柱列壁・地下連続壁など周知のものを地表面から構築することができる。この場合、土留壁7の先端部を前記底盤部2に適宜長さで根固めすることが望ましい。土留壁7を底盤部2に根固めすることによって、開削時の土留壁7の変形量を著しく低減することができるとともに、構造物1の構築予定周辺地盤の変状を防止することができるからである。
【0042】
また、本発明の好ましい実施例として、前記シールドトンネル5の内部から土留壁7を地表面に向けて構築することも可能である。この場合、土留壁7の構築予定位置にあるシールドトンネル5の形状をできるだけ縦長の矩形断面とすることが好ましい。そのためには、図1において、左右両端部の矩形断面シールドトンネル5のさらに上部に縦長断面のシールドトンネルを構築し、これらを鉛直方向に連接することが望ましい。このようにすることによって、土留壁7の構築用の空間高さを大きくすることができる(前記杭基礎14を設置する場合も同様である)。土留壁7としては、鋼管や型鋼の柱列壁、鋼矢板・鋼管矢板を用いることができ、これらを適宜長さ毎に継ぎ足しながらシールドトンネル5内から地表面に向けて押し出して構築する。このように、地中のシールドトンネル5内から土留壁7を構築することにより、地表面では工事用の作業スペースが不要となり、交通の妨げになるような事態を回避することができる。図3は、土留壁7を鋼管8の柱列壁としてシールドトンネル5内から延設したときの側断面図を示したものである(図8の(2)参照)。
【0043】
土留壁7が構築されると、通常の開削工法、すなわち、適宜深さの掘削と切梁・腹起こしあるいはアースアンカーなど土留支保工の設置を順次繰り返しながら、シールドトンネル5の上面まで地山10を掘削する。そして、開削された空間30内に側壁部3および床版部4を構築する(図9および図10参照)。次いで、シールドトンネル5のセグメント9および支柱13の空間内に突出している部分を撤去する。
【0044】
このとき、側壁部3および床版部4の構築は、上述の順巻工法ではなく、開削途中の段階で床版部4を先に構築する逆巻工法を採用することもできる。逆巻工法によって床版部4を構築することにより、通常の鋼製切梁より断面性能の高い土留支保工となるので、開削時の土留壁の変形量を抑制する効果がある。
【0045】
図1は、床版部4の上方にさらに上層の側壁部3aおよび上層の床版部4aを設けて多層構造の構造物1を構築できることを示している。同図において、上層部は地上に突出して形成されているが、図11に示すように、地下部分を多層構造とすることもできる。図11は2層構造の地下部分を示しているが、3層以上、あるいは地上部に突出した構造物1とすることも可能である。
【0046】
図11に示すような構造物1は、重層構造の地下トンネルとして、例えば上部空間28を自動車道路、下部空間27を地下鉄道として利用したり、地下河川と地下鉄道または自動車道路、あるいは共同溝と地下鉄道または自動車道路という組み合わせによって多目的用途に供用することができる。また、図1に示すように、地上部に突出する多層構造物とすることによって、事務所ビルなどとして使用することもできる。
【0047】
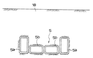
図12は、側壁部3および床版部4を1層とした構造物1を示している。この構造物1は全て地下部分に構築されて、周辺地盤の地表面18と同一レベルになるように埋戻されているが、これに限らず、床版部4もしくは側壁部3の一部分が地上に突出していてもよい。このような構造物1は、図12の奥行方向、すなわち、シールドトンネル5の軸方向に内部空間29を長く形成することにより、地下トンネル22として利用することができる。
【0048】
図13は本発明のさらに異なる実施の形態を示したもので、地下トンネルなどに利用される地下構造体23と高架橋などに利用される地上構造体24を複合させた構造物1の例である。地上構造体24は橋脚などの柱部材31を介して床版部4で支持され、自動車道路・鉄道などに利用される。また、地下構造体23と地上構造体24との間の空間30は、多目的広場、駐車場、商店街などに利用することが可能である。
【0049】
なお、土留壁7については、構造物1の構築後に撤去できるものは撤去し、残存可能なものは埋殺しとすることもできる。さらに、土留壁7として地下連続壁を用いる場合には、構造物1の側壁部3の一部としての本体利用も可能である。
【0050】
次に、図4〜図10に基づいて、本発明の構造物1の好ましい構築方法を説明する。まず、構造物1の構築予定位置に応じて、少なくとも1組の発進用および到達用の立杭を構築した後、これらの立杭間の地山に複数のシールドトンネル5をある程度近接した状態で構築する。この場合、図4に示すように、断面視で左右両端のシールドトンネル5aは縦長の矩形断面とし、中央部のシールドトンネル5bは横長の矩形断面とするとよい。
【0051】
このような矩形断面を掘削するためのシールド掘進機としては、図5に示すものが好適である。このシールド掘進機15は一対のドラムカッタ16とこれよりも小径の一対のリングカッタ17とから構成される掘進ユニット15aを、横方向および縦方向に複数連接したものである(図5は、縦に2連、横に4連)。
【0052】
シールドトンネル5は、前記シールド掘進機15によって所定の位置に掘削された横坑の壁面にセグメント9を組み立てて構築される(図6参照)。セグメント9は、隣接するシールドトンネル5cに対向して組み立てられるセグメントピース9aが取り外し自在に構成されるとともに、上部および下面にトンネル接続用の山留板11がスライド可能に装備されている。なお、セグメント9の材質は、鋼、鉄筋コンクリート、鉄骨コンクリートが用いられるが、後工程でのセグメントピース9aの取り外しやシールドトンネル5同士の接続のためには鋼製セグメントが望ましい。図6のセグメントピース9aは両側に隣接トンネルがあるシールドトンネル5を示している。
【0053】
また、上記シールドトンネル5a、5bの構築順序としては、いずれを先行させてもよいが、両端部のシールドトンネル5aを先行構築する方が望ましい。すなわち、両端部のシールドトンネル5aを先行構築することにより、中央部のシールドトンネル5bの構築作業と並行して、土留壁7を両端部のシールドトンネル5a内から地表面18に向けて延設することが可能になるからである。
【0054】
シールドトンネル5a、5bが全て構築されると、次に、これらシールドトンネル5a、5b同士を構造的に連接することになる。まず、必要に応じて、図7(1)に示すように、シールドトンネル5b内より近接シールドトンネル5b間の地山10に向けて注入管19で薬液を注入したり、凍結させることによって止水ゾーン10aを形成する。次いで、図7(2)に示すように、止水ゾーン10aにシールドトンネル5b内からの操作によって山留板11を圧入し、地山を支持する。
【0055】
そして、隣接するシールドトンネル5bに対向して組み立てられたセグメントピース9aを取り外し、山留板11で支持されたシールドトンネル5b間の地山10bを周知の方法で掘削する。さらに、隣接するシールドトンネル5bのセグメント9同士を鋼材で連結するとともに、現場打ちコンクリートを打設してこれらの構造体を一体化した連結構造体12を構築する。このようにして、複数のシールドトンネル5a、5bを連接することにより、各々のトンネル空間を連続させた空間6が形成される(図8(1)参照)。このように、矩形断面のシールドトンネル5a、5bとすることにより、円形断面の場合に比べて底盤構築作業が容易な空間を形成することができる。
【0056】
なお、各シールドトンネル5a、5b間の連結順序は任意であるが、両端部のシールドトンネル5aとそれに隣接するシールドトンネル5bとの連結を先行させることが望ましい。その理由は、両端部のシールドトンネル5a内から土留壁7を構築する場合にその隣接シールドトンネル5bが資材運搬路として利用できるからである。
【0057】
本発明においては、これらシールドトンネル5a、5bの接続作業と並行して土留壁7の構築作業が可能である。すなわち、本発明における土留壁7は、従来周知の鋼矢板・鋼管矢板・ソイルセメント柱列壁・地下連続壁を用いて地表面18から構築することもできる。この場合好ましくは、図8の(1)に示すように、前記両端部のシールドトンネル5a内にその先端を貫入させておくことにより、これから構築される底盤部2に根固めすることができる。さらに好ましい実施例としては、前述したように、両端部のシールドトンネル5a内から土留壁7を延設することである。その具体的な例として、図8の(2)のように、鋼管8を小口径推進工法で継ぎ足しながら地表面18まで押し出して鋼管柱列の土留壁7を構築する。こうすると地表面を自由に利用することができ、交通規制などの処置が不要となる。なお、外側の鋼管8bを薬液注入等の固化工法で代替してもよい。
【0058】
次いで、杭基礎が必要な場合には、前記の空間6を利用して各シールドトンネル5a、5bの下面に杭基礎14を構築する。この杭基礎14の構築作業は各シールドトンネル5a、5bの内側の空間高さに応じて行う必要がある。すなわち既製杭を用いる場合には、各シールドトンネル5a、5bの内側の高さよりもやや小さな杭長のものを接合しながら打設していく。また低空頭用の作業機を用いた場所打ち杭や深礎杭などが用いられる。
【0059】
その後、空間6内に鉄筋および型枠を組み立て(図示せず)、ここにコンクリートを打設して構造物の底盤部2を構築する。このとき、好ましくは図9に示すように、土留壁7の下部を底盤部2に根入れして固定することにより開削時における土留壁7の変形を著しく低減することができる。
【0060】
このように土留壁7が底盤部2で固定された後、前記土留壁7で囲まれた地盤を切梁20aと腹起し20bを架設しながら順次開削する。そして、前記切梁20aと腹起し20bを解体しながら底盤部2上に側壁部3および床版部4を構築し、セグメント9および支柱13の空間内に突出している部分を撤去する(図10参照)。そして、前記床版部4上に他の側壁部3aおよび他の床版部4aを構築し、この構築を順次繰り返すことにより、図1に示すような多層階の構造物1が構築される。
【0061】
なお、底盤部2上に構築される側壁部3、3aおよび床版部4、4aは逆巻工法によっても構築することができ、これにより土留壁7の応力および変形を低減することができる。そして、側壁部3および床版部4を先行して構築する順巻工法に比べると、その工期を短縮することができる。
【0062】
【発明の効果】
本願発明は、上述した構成とすることにより以下のような効果を奏する。
予め地中に構築された複数のシールドトンネルを連接して適宜な形状・寸法を有する空間を形成し、側壁部および床版部の構築に先行して、底盤部を前記空間に構築することにより、掘削底面に強固かつ高剛性の構造躯体が形成される。これにより、ボイリング・ヒービングを防止し、かつ揚圧力に対しても十分な抵抗力を保有することができ、掘削作業および側壁部・床版部の構築作業の安全性が確保できる。さらに、底盤部をそのまま構造物の直接基礎として利用することができる。
【0063】
シールドトンネルを断面視で略矩形状とすることにより、シールドトンネル同士の連接作業が容易となり、接続部の強度および止水性が向上する。したがって、底盤部の構築作業の安全性が確保されるとともに、資材の運搬路も確保されて作業効率も向上する。
【0064】
構造物直下地盤の支持力が不足している場合は、前記底盤部に杭基礎を設けることにより、構造物を安定して支持することができる。さらに、杭基礎の構築作業は、前記シールドトンネルの内部空間を利用して行うことにより、地上作業を不要として地表面の有効利用が図れる。
【0065】
開削のために構築される土留壁の先端部を前記底盤部に根固めすることにより、開削時の土留壁の変形を著しく低減することができる。したがって、周辺地盤に悪影響を与えずに掘削工事を進めることができる。
【0066】
土留壁を側壁部の一部として一体化することにより、土留壁を本設躯体の一部として利用することができる。
【0067】
シールドトンネルの内部空間から地表面にむけて土留壁を構築することにより、地上作業を低減させ、地表面の有効利用が図れるとともに、交通規制などの対策を不要とする。
【0068】
床版部を逆巻工法で構築することにより、開削時の土留壁の応力・変形を著しく低減することができる。したがって、周辺地盤に悪影響を及ぼすことがなく構築作業を進めることができる。また順巻工法に比べて工期が短縮できる。
【0069】
床版部を地中に埋設したり、または地上に構築したり、あるいは側壁部と床版部とを多層構造とすることにより、構造物の設計の自由度が広がり、地下トンネル・地下河川・共同溝をはじめ、半地下トンネル・駐車場・遊歩道・あるいは事務所ビルなどの一般建築物、高架橋を含む複合施設など、多目的用途に利用することができる。
【図面の簡単な説明】
【図1】構造物の断面図である。
【図2】シールドトンネルの接合部における断面図である。
【図3】構造物の側面図である。
【図4】地中に構築したシールドトンネルの断面図である。
【図5】(1)はシールド掘進機の正面図、(2)は(1)のa−a線断面の概略図である。
【図6】シールドトンネルのセグメントの一例を示す断面図である。
【図7】(1)および(2)はシールドトンネル同士の接合方法を示す断面図である。
【図8】(1)は複数のシールドトンネルを連接し、底盤構築用空間を形成し、土留壁を打設したときの断面図、(2)は土留壁の平面図である。
【図9】底盤部を構築したときの断面図である。
【図10】開削によって側壁部および床版部を構築するときの断面図である。
【図11】地下構造物の一実施例を示す断面図である。
【図12】地下構造物の一実施例を示す断面図である。
【図13】トンネル上に高架橋を構築した構造物の一実施例を示す断面図である。
【図14】(1)〜(5)は従来の開削工法の課題を示す断面図である。
【符号の説明】
1 構造物
2 底盤部
3、3a 側壁部
4、4a 床版部
5 シールドトンネル
6 底盤構築用空間
7 土留壁
8 鋼管
9 セグメント
10 地山
11 山留板
13 支柱
14 杭基礎
15 シールド掘進機
18 地表面
Claims (7)
- 底盤部、側壁部および床版部を含み、少なくとも前記底盤部が地中に構築される構造物の構築方法であって、前記底盤部構築予定位置に複数のシールドトンネルを構築し、該シールドトンネル同士を連接して形成した空間に、前記側壁部および床版部の構築に先行して、前記底盤部を構築することを特徴とする構造物の構築方法。
- 底盤部、側壁部および床版部を含む構造物の構築方法であって、地中の底盤部構築予定位置に複数のシールドトンネルを構築する工程と、該シールドトンネル同士を連接して底盤部構築用の空間を形成する工程と、該底盤部構築用の空間に、前記側壁部および床版部の構築に先行して、前記底盤部を構築する工程と、前記側壁部の構築予定位置の近傍に土留壁を構築する工程と、該土留壁に囲まれた地盤を掘削して前記側壁部および床版部を構築する工程とを含むことを特徴とする構造物の構築方法。
- 請求項1または2において、前記シールドトンネルを断面視において略矩形状に構築することを特徴とする構造物の構築方法。
- 請求項1または2において、前記土留壁の先端部を前記底盤部に根固めする工程を含むことを特徴とする構造物の構築方法。
- 請求項1ないし4のいずれかにおいて、前記土留壁を前記シールドトンネルのいずれかの内部空間から地表面に向けて構築することを特徴とする構造物の構築方法。
- 請求項1ないし5のいずれかにおいて、前記床版部の構築を逆巻工法によって行うことを特徴とする構造物の構築方法。
- 請求項1ないし6のいずれかにおいて、前記シールドトンネルの内部空間から杭基礎を構築する工程を含むことを特徴とする構造物の構築方法。
Priority Applications (1)
| Application Number | Priority Date | Filing Date | Title |
|---|---|---|---|
| JP32097197A JP3930954B2 (ja) | 1997-11-21 | 1997-11-21 | 構造物の構築方法 |
Applications Claiming Priority (1)
| Application Number | Priority Date | Filing Date | Title |
|---|---|---|---|
| JP32097197A JP3930954B2 (ja) | 1997-11-21 | 1997-11-21 | 構造物の構築方法 |
Publications (2)
| Publication Number | Publication Date |
|---|---|
| JPH11152762A JPH11152762A (ja) | 1999-06-08 |
| JP3930954B2 true JP3930954B2 (ja) | 2007-06-13 |
Family
ID=18127352
Family Applications (1)
| Application Number | Title | Priority Date | Filing Date |
|---|---|---|---|
| JP32097197A Expired - Lifetime JP3930954B2 (ja) | 1997-11-21 | 1997-11-21 | 構造物の構築方法 |
Country Status (1)
| Country | Link |
|---|---|
| JP (1) | JP3930954B2 (ja) |
Families Citing this family (9)
| Publication number | Priority date | Publication date | Assignee | Title |
|---|---|---|---|---|
| JP5584542B2 (ja) * | 2010-07-27 | 2014-09-03 | 大成建設株式会社 | 地盤変形防止方法およびそれを用いた地中構造物構築方法 |
| CN108130918A (zh) * | 2018-02-09 | 2018-06-08 | 深圳市市政设计研究院有限公司 | 一种墩板柱结合部结构 |
| CN110284497B (zh) * | 2019-06-25 | 2021-07-02 | 东南大学 | 一种控制软土基坑下伏既有隧道结构变形的地基加固方法 |
| CN110629788A (zh) * | 2019-09-20 | 2019-12-31 | 中国五冶集团有限公司 | 一种综合管廊预埋槽道安装方法 |
| CN112942425A (zh) * | 2021-03-26 | 2021-06-11 | 上海市政工程设计研究总院(集团)有限公司 | 多层预制装配的构筑物及其建造方法 |
| CN113322937B (zh) * | 2021-05-18 | 2022-06-10 | 中建交通建设集团有限公司 | 一种可开启装配式钢制地下连续墙及应用方法 |
| CN114352288B (zh) * | 2021-12-30 | 2024-04-16 | 南京工大交通科学研究院(滁州)有限公司 | 一种盾构近距离上穿既有盾构隧道施工结构及施工方法 |
| CN114457849B (zh) * | 2022-03-03 | 2024-10-22 | 浙江交工集团股份有限公司 | 明挖隧道上跨既有地铁交叉段防护体系的施工方法 |
| CN119800886B (zh) * | 2024-12-04 | 2025-12-19 | 中建八局第三建设有限公司 | 一种下穿地面道路的箱涵并与大断面矩形隧道共板共建的装配式结构及施工方法 |
-
1997
- 1997-11-21 JP JP32097197A patent/JP3930954B2/ja not_active Expired - Lifetime
Also Published As
| Publication number | Publication date |
|---|---|
| JPH11152762A (ja) | 1999-06-08 |
Similar Documents
| Publication | Publication Date | Title |
|---|---|---|
| KR101014796B1 (ko) | 기성 콘크리트 기둥부재를 이용한 탑다운 시공방법 | |
| KR101205783B1 (ko) | 지하구조물의 철거와 신축을 동시에 진행하는 복합 시공방법 | |
| KR101274974B1 (ko) | 흙막이 겸용 옹벽 및 이의 시공방법 | |
| KR100736241B1 (ko) | 지하옹벽을 제거하기 위한 상향식 순차제거 및순차매립공법 | |
| CN102995659B (zh) | 超大型地下工程的先中心区结合周边的施工方法 | |
| CN101761068A (zh) | 隧道穿越河流上方桥梁桩基的箱-筏承压式基础托换及施工加固方法 | |
| JP4881555B2 (ja) | 地下構造物の構築方法 | |
| CN101139839A (zh) | 高承压水地区超深基坑的设置结构 | |
| CN209040150U (zh) | 一种刚架式桩板挡土墙 | |
| JP3930954B2 (ja) | 構造物の構築方法 | |
| JP4226954B2 (ja) | アンダーピニング方法および高架橋 | |
| KR100289256B1 (ko) | 토피가 얕은 지역의 터널구축방법 | |
| CN102777066B (zh) | 桶状螺旋式地下车库的螺旋掘进反向建造方法 | |
| JP2000352296A (ja) | 地下構造物直下の通路の形成方法 | |
| CN216765941U (zh) | 一种偏压状态下隧道减压减载结构 | |
| CN113898007B (zh) | 一种沿街大跨度连廊结构半逆作施工方法 | |
| JP4083334B2 (ja) | アーチ屋根を有する地下構造物およびその構築方法 | |
| CN113529830B (zh) | 浅埋隧道邻近建筑隔离-托换组合加固构造及其施工工艺 | |
| CN111042214A (zh) | 一种浅覆土地下结构的抗浮结构及其施工方法 | |
| CN111305220A (zh) | 基于永临结合的砼支撑与结构顶板合建体系及其构建方法 | |
| CN216238685U (zh) | 一种对牌坊原位保护基础换托结构 | |
| JP2000291398A (ja) | 地下構造物およびその構築方法 | |
| KR20070052109A (ko) | 슬림형 합성 바닥 구조를 이용한 슬라브와 외벽의 동시 타설 및 지하 역타설 동시구축방법 | |
| JP2571426B2 (ja) | 山止め壁の構築方法 | |
| JPH0813521A (ja) | 地下構造物の施工方法 |
Legal Events
| Date | Code | Title | Description |
|---|---|---|---|
| A621 | Written request for application examination |
Free format text: JAPANESE INTERMEDIATE CODE: A621 Effective date: 20041119 |
|
| A977 | Report on retrieval |
Free format text: JAPANESE INTERMEDIATE CODE: A971007 Effective date: 20060913 |
|
| A131 | Notification of reasons for refusal |
Free format text: JAPANESE INTERMEDIATE CODE: A131 Effective date: 20061010 |
|
| A521 | Written amendment |
Free format text: JAPANESE INTERMEDIATE CODE: A523 Effective date: 20061019 |
|
| TRDD | Decision of grant or rejection written | ||
| A01 | Written decision to grant a patent or to grant a registration (utility model) |
Free format text: JAPANESE INTERMEDIATE CODE: A01 Effective date: 20070215 |
|
| A61 | First payment of annual fees (during grant procedure) |
Free format text: JAPANESE INTERMEDIATE CODE: A61 Effective date: 20070312 |
|
| R150 | Certificate of patent or registration of utility model |
Free format text: JAPANESE INTERMEDIATE CODE: R150 |
|
| FPAY | Renewal fee payment (event date is renewal date of database) |
Free format text: PAYMENT UNTIL: 20100316 Year of fee payment: 3 |
|
| FPAY | Renewal fee payment (event date is renewal date of database) |
Free format text: PAYMENT UNTIL: 20130316 Year of fee payment: 6 |