JP3845708B2 - 極低温冷却装置 - Google Patents

極低温冷却装置 Download PDF

Info

Publication number
JP3845708B2
JP3845708B2 JP2001113567A JP2001113567A JP3845708B2 JP 3845708 B2 JP3845708 B2 JP 3845708B2 JP 2001113567 A JP2001113567 A JP 2001113567A JP 2001113567 A JP2001113567 A JP 2001113567A JP 3845708 B2 JP3845708 B2 JP 3845708B2
Authority
JP
Japan
Prior art keywords
heat shield
shield plate
stage
cryogenic cooling
cooling device
Prior art date
Legal status (The legal status is an assumption and is not a legal conclusion. Google has not performed a legal analysis and makes no representation as to the accuracy of the status listed.)
Expired - Fee Related
Application number
JP2001113567A
Other languages
English (en)
Other versions
JP2002310521A (ja
Inventor
真 船山
順司 稲谷
泰範 藤井
Current Assignee (The listed assignees may be inaccurate. Google has not performed a legal analysis and makes no representation or warranty as to the accuracy of the list.)
Japan Aerospace Exploration Agency JAXA
Sumitomo Heavy Industries Ltd
Original Assignee
Japan Aerospace Exploration Agency JAXA
Sumitomo Heavy Industries Ltd
Priority date (The priority date is an assumption and is not a legal conclusion. Google has not performed a legal analysis and makes no representation as to the accuracy of the date listed.)
Filing date
Publication date
Application filed by Japan Aerospace Exploration Agency JAXA, Sumitomo Heavy Industries Ltd filed Critical Japan Aerospace Exploration Agency JAXA
Priority to JP2001113567A priority Critical patent/JP3845708B2/ja
Publication of JP2002310521A publication Critical patent/JP2002310521A/ja
Application granted granted Critical
Publication of JP3845708B2 publication Critical patent/JP3845708B2/ja
Anticipated expiration legal-status Critical
Expired - Fee Related legal-status Critical Current

Links

Images

Landscapes

  • Containers, Films, And Cooling For Superconductive Devices (AREA)

Description

【0001】
【発明の属する技術分野】
本発明は、GM冷凍機のような冷凍機の冷凍ステージを搭載した極低温冷却装置に関し、特に高い検出精度を得るためにセンサを極低温にて冷却するのに適した極低温冷却装置に関する。
【0002】
【従来の技術】
検出動作に高度の安定性を要求されるセンサの一例として、超伝導センサが知られている。超伝導センサは、例えば大きな温度差が生じるような環境下でも、高精度で検出動作を行うことが要求される。このため、このようなセンサは、絶対温度で4K程度の一定温度の冷却状態において使用するようにされている。このような冷却状態をつくるためには、GM冷凍機のような冷凍機の冷凍ステージが真空容器内に収容されて使用される。GM冷凍機は、複数段の冷凍ステージを持ち、最終段の冷凍ステージに装着されるセンサ用マウント部において数K程度の冷却状態をつくることができる。
【0003】
【発明が解決しようとする課題】
しかしながら、このような冷凍機は、外部からの輻射熱の影響を受けるので、輻射熱を抑制するために冷凍ステージの周囲には筒状の熱シールド板が設けられる。これまで、この熱シールド板は、冷凍機における低温部に接続されて積極的に冷却するようにされているのが普通である。
【0004】
ところが、このような熱シールド板を使用しても輻射熱の影響を完全に無くすことはできず、センサ用マウント部において所望の冷却温度、例えば4Kまで冷却することはできないのが実情である。この原因は、真空容器内における対流現象によるものと考えられている。これに対して、超伝導センサにおいては、上記のように4Kまでの冷却が要求されているので、輻射熱による影響を受けること無く4K程度の極低温状態を安定に維持するための改良が求められている。
【0005】
本発明は、このような要求を満足することのできる極低温冷却装置を提供することにある。
【0006】
【課題を解決するための手段】
本発明は、複数段の冷凍ステージを真空容器内に配置し、該真空容器内であって少なくとも最終段の一段手前の冷凍ステージにおけるヘッド部分には、最終段の冷凍ステージを包囲して熱的にシールドするための筒状の第1の熱シールド板を設けて成る極低温冷却装置において、前記真空容器内には更に、第1段の冷凍ステージの底部フランジに設けられたサポート部材を介して少なくとも前記第1の熱シールド板を包囲するように筒状の第2の熱シールド板を設け、該第2の熱シールド板を前記第1の熱シールド板からの輻射冷却によって冷却する構成としたことにより、前記第1の熱シールド板に入る輻射熱量を軽減したことを特徴とする。
【0007】
特に、前記第2の熱シールド板は、銅製で光沢ニッケルメッキが施されていることを特徴とする。
【0008】
【発明の実施の形態】
図1を参照して、本形態における極低温冷却装置は、第1段、第2段の冷凍ステージ11、12を持つ冷凍ステージ10を真空容器20内に配置して成る。真空容器20内であって第1段の冷凍ステージ11におけるヘッド部11−1には、そのフランジ部を利用して第2段の冷凍ステージ12を包囲して熱的にシールドするための円筒状の第1の熱シールド板31が設けられている。ここでは、第1の熱シールド板31には銅を用いているが、この限りではない。
【0009】
第2段の冷凍ステージ12におけるヘッド部12−1には、サーマルダンパ40を介して被冷却部、ここでは赤外線センサを搭載するためのマウント部50が設けられている。
【0010】
本形態においては、真空容器20内に更に、第2段の冷凍ステージ12の全体と、第1段の冷凍ステージ11の一部(上部域)と、サーマルダンパ40の大部分とを包囲するように円筒状の第2の熱シールド板32を設けたことを特徴とする。特に、第2の熱シールド板32は、これまでの熱シールド板とは異なった考え方に基づいて設けられている。すなわち、これまでの熱シールド板は、これを積極的に冷却するために、冷凍機の低温部に接続するように設けられるのが普通であった。しかしながら、本形態では第2の熱シールド板32を冷凍ステージの常温部に接続するようにしている。具体的には、第1段の冷凍ステージ11の底部フランジ11−2にリング状のフランジ11−3が取り付けられ、このフランジ11−3にはFRPによるサポート部材33が複数個、周方向に間隔をおいて立設されている。そして、これら複数のサポート部材33の上部に円筒状の第2の熱シールド板32の下部がボルト、ナットにより固定されるようになっている。なお、第2の熱シールド板32は、本形態では銅製のものが使用され、表面には光沢ニッケルメッキが施されている。第2の熱シールド板32は、真空容器20から5mm以上離して設けられる。
【0011】
真空容器20は、第2の熱シールド板32を包囲している円筒状部分21と、この円筒状部分21の上端に連結固定されてマウント部50を包囲している天板付きの筒状部分22とから成る。ここでは、円筒状部分21の材料にはSUS304が用いられ、筒状部分22にはアルミニウム合金板が用いられている。筒状部分22は、円筒状部分21よりも大きな径を有し、ここでは八角形状にされている。真空容器20は、円筒状部分21の下部がフランジ11−3に固定されている。真空容器20は、排気口23を通して真空引きが行われるので、気密性を保持する必要がある。このために、フランジ11−3と円筒状部分21との間の連結固定部、円筒状部分21と筒状部分22との間の連結固定部、筒状部分における天板の接続部にはO−リングによるシール部材が設けられている。
【0012】
また、本形態ではマウント部50には赤外線センサがマウントされるので、筒状部分22には、その複数箇所に赤外線を透過する特別な窓が気密を保持できる状態で設けられる。
【0013】
第2段の冷凍ステージ12のヘッド部12−1に対応する高さ位置で、第1の熱シールド板31の上端部にも、サーマルダンパ40及びマウント部50を包囲している天板付きの筒状の第1のシールド容器34が連結固定されている。この第1のシールド容器34も銅製で、第1の熱シールド板31と同径でサーマルダンパ40を包囲している円筒状部分34−1と、これより大径の筒状部分34−2とから成る。筒状部分34−2において筒状部分22に設けられた窓に対応する箇所にも窓が設けられる。
【0014】
同様にして、サーマルダンパ40の上部に対応する高さ位置で、第2の熱シールド板32の上端部にも、第1のシールド容器34を包囲するように天板付きの筒状の第2のシールド容器35が連結固定されている。勿論、第2のシールド容器35は、第2の熱シールド板32より大きな径を持つ。
【0015】
第1段の冷凍ステージ11の外底部、すなわち真空容器20の外底部には、冷凍ステージ10への冷媒の導出入部36が設けられている。導出入部36には冷媒の導入配管36−1と導出配管36−2が接続され、これらは図示しない冷媒圧縮機に接続されている。
【0016】
フランジ11−3には、複数(ここでは3本)の丸棒による支柱37−1と板体37−2とから成る支持枠体37を介して複数の台座38が設けられている。台座38はねじ部38−1を有し、このねじ部38−1が板体37−2のねじ穴に螺入されると共に、ナット38−2で締め付けされることで高さが調整可能にされている。また、台座38の底部にはゴム板が張られている。
【0017】
更に、必要に応じて、第2の熱シールド板32の外面側には、複層の可撓性熱シールド材から成る熱シールド部材39が巻かれる。
【0018】
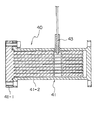
サーマルダンパ40は、図2に示されるように、密閉容器41の内部に複数のフィン状部材42が内蔵され、密閉容器41にはヘリウムガス等の冷媒が導入可能にされている。密閉容器41は、削り出しにより複数のフィン状部材42が一体形成されているフィン側部材41−1と、複数のフィン状部材42を収容する筒状部材を持つ容器側部材41−2とから成り、ボルトにより連結固定されている。この連結固定部にもOリングによるシール部材が設けられる。容器側部材41−2にはヘリウムガス導入用のSUSによる配管43が連結されている。配管43はキャピラリチューブとも呼ばれ、一例をあげると、外径1.59mmである。
【0019】
本形態の極低温冷却装置においては、第1段の冷凍ステージ11により40K程度までの冷却が実現され、第2段の冷凍ステージ12により4Kまでの冷却が実現される。そして、サーマルダンパ40は、この4Kを安定に維持することができる。これは以下の理由による。
【0020】
第2の熱シールド板32は、200K程度の輻射シールド板として作用し、第1の熱シールド板31は、40K程度の輻射シールド板として作用する。すなわち、240K程度の常温部フランジ11−3においてサポートされた第2の熱シールド板32は、40Kの第1の熱シールド板31からの輻射冷却によって冷却されることにより200K程度の輻射シールド板として作用し、第2の熱シールド板32が無い場合と比較した時に、40Kの第1の熱シールド板31に入る輻射熱量が1/4程度に軽減される。これにより、第1の熱シールド板31に侵入する輻射熱に起因するサーマルダンパ40における温度上昇が抑止され、サーマルダンパ40及びマウント部50における冷却温度を安定に4Kに維持することができる。
【0021】
本形態では、サーマルダンパ40への熱侵入を最小限するための工夫もなされている。サーマルダンパ40は、マウント部50における温度上昇を抑制するためのものであるが、冷凍ステージ10側の輻射熱の侵入による温度上昇に加えて、配管43を通しての熱伝導による熱侵入、配管43内のヘリウムガスの対流、サーマルオシレーションと呼ばれる現象による温度上昇の影響も受ける。これは、配管43を通してのヘリウムガスの導入が冷凍機の低圧ラインからの分岐により行われるからである。すなわち、真空容器20内の途中までは配管43内のヘリウムガスは常温に近い温度を持っている。これに対し、真空容器20の底部を通して配管43を真空容器20内に導入し、第1の熱シールド板31の外周に巻き付ける等の方法で接触させてからサーマルダンパ40に導入するというような単純な方法では、サーマルダンパ40の温度を所望の値に維持することは難しかった。
【0022】
このような理由で、配管43を通してのサーマルダンパ40への熱侵入による温度上昇を抑制すべく、以下のような配管43の施工を行っている。
【0023】
図1において、フランジ11−3を通して配管43を真空容器20内に導入し、一旦、第2段の冷凍ステージ12のヘッド部近傍まで立ち上げる。真空容器20内部での入り口部分を位置F(第1の部位)とし、上記の立ち上げ部分を位置E(第2の部位)とする。立ち上げた配管43を第1の熱シールド板31とは離間させた状態でその周囲を螺旋状かつ第1の熱シールド板31の下部側に向かって数回だけ周回するように配設する。
【0024】
次に、第1の熱シールド板31の下部にて配管43を接触させた状態でそのまま立ち上げ、第1の熱シールド板31の上部にて離し、第2段の冷凍ステージ12のヘッド部を迂回させて更に円筒状部分34−1に接触させた状態で立ち上げ、円筒状部分34−1の上部において離す。第1の熱シールド板31の下部側部分を位置D(第3の部位)とし、円筒状部分34−1の上部から離れた部分を位置C(第4の部位)とする。
【0025】
更に、位置Cから下側、すなわち第1の熱シールド板31の上部側に向かって円筒状部分34−1及び第1の熱シールド板31の外周を約半周分周回させてから再び立ち上げてサーマルダンパ40に接続するようにしている。配管43の再立ち上げ部分を位置B(第5の部位)とし、サーマルダンパ40への接続部分を位置Aとする。43−1、43−2、43−3はそれぞれコネクタであり、真空容器20への導入部、及び真空容器20に導入されてからサーマルダンパ40に接続されるまでの配管を複数の分割部品で構成し、あらかじめ成形された部品として作っておくことで、上記のような特殊な配管引き回しを容易にしている。
【0026】
なお、配管43と第1の熱シールド板31との接触、及び配管43と円筒状部分34−1との接触部は、サーマルアンカーとして作用し、いずれもハンダ付けにより固定され、この固定部は箔状のテープでカバーされる。
【0027】
上記のような配管43の引き回しを行うことで、熱伝導による熱侵入は勿論のこと、ヘリウムガスの対流による熱侵入、サーマルオシレーションによる熱侵入を抑制して、サーマルダンパ40における温度上昇を抑制することができた。因みに、位置F、Eでのヘリウムガス温度は300K、位置D、Cでは60K、位置B、Aでは4Kが測定結果として得られている。
【0028】
上記の形態では冷凍ステージとして、第1段、第2段の冷凍ステージを持つ場合について説明したが、本発明は冷凍ステージの段数が3段以上でも適用可能である。この場合、少なくとも最終段の冷凍ステージを包囲するように第1の熱シールド板を設け、第1段の冷凍ステージの底部フランジから第2の熱シールド板を延ばして少なくとも第1の熱シールド板を包囲するように設ければ良い。
【0029】
【発明の効果】
以上説明したように、本発明による極低温冷却装置は、筒状の第1の熱シールド板の周囲に更に、これを囲むように筒状の第2の熱シールド板を設け、しかもこの第2の熱シールド板の下部側を第1段の冷凍ステージにおける底部の常温部に接続するようにしたことにより、真空容器内の熱輻射に起因するマウント部の温度上昇を抑制して、所望の冷却温度、例えば4Kを得ることができる。その結果、マウント部にセンサが搭載される場合にはその検出精度を向上させることができる。
【図面の簡単な説明】
【図1】本発明による極低温冷却装置の縦断面図である。
【図2】図1に示されたサーマルダンパの断面図である。
【符号の説明】
10 冷凍ステージ
11 第1段の冷凍ステージ
12 第2段の冷凍ステージ
20 真空容器
31 第1の熱シールド板
32 第2の熱シールド板
33 サポート部材
36 冷媒の導出入部
37 支持枠体
38 台座
39 熱シールド部材
40 サーマルダンパ
43 配管
50 被冷却部のマウント部

Claims (8)

  1. 極低温側を最終段とする複数段の冷凍ステージを真空容器内に配置し、該真空容器内であって少なくとも最終段の一段手前の冷凍ステージにおけるヘッド部分には、最終段の冷凍ステージを包囲して熱的にシールドするための筒状の第1の熱シールド板を設けて成る極低温冷却装置において、
    前記真空容器内には更に、第1段の冷凍ステージの底部フランジに設けられたサポート部材を介して少なくとも前記第1の熱シールド板を包囲するように筒状の第2の熱シールド板を設け、該第2の熱シールド板を前記第1の熱シールド板からの輻射冷却によって冷却する構成としたことにより、前記第1の熱シールド板に入る輻射熱量を軽減したことを特徴とする極低温冷却装置。
  2. 請求項1記載の極低温冷却装置において、前記第2の熱シールド板は、銅製で光沢ニッケルメッキが施されていることを特徴とする極低温冷却装置。
  3. 請求項1記載の極低温冷却装置において、前記最終段の冷凍ステージにおけるヘッド部分にはサーマルダンパを介して、被冷却部を搭載するためのマウント部が設けられることを特徴とする極低温冷却装置。
  4. 請求項3記載の極低温冷却装置において、前記被冷却部は電磁波センサであり、前記真空容器は、前記第1段の冷凍ステージの底部フランジから前記マウント部の方向に延びる筒状の密封用の容器であって前記マウント部に対応する部分には前記電磁波センサへの電磁波透過用の窓が設けられていることを特徴とする極低温冷却装置。
  5. 請求項3記載の極低温冷却装置において、前記サーマルダンパは、密閉容器の内部に複数のフィン状部材が内蔵され、該密閉容器には冷媒が導入可能にされていることを特徴とする極低温冷却装置。
  6. 請求項3記載の極低温冷却装置において、前記第1の熱シールド板は、前記サーマルダンパ及び前記マウント部を包囲している筒状の第1のシールド容器に、前記最終段の冷凍ステージのヘッド部分に対応する位置で連結されていることを特徴とする極低温冷却装置。
  7. 請求項6記載の極低温冷却装置において、前記第2の熱シールド板は、前記第1のシールド容器を包囲している筒状の第2のシールド容器に、前記サーマルダンパに対応する位置で連結されていることを特徴とする極低温冷却装置。
  8. 請求項2記載の極低温冷却装置において、前記第2の熱シールド板の外面側には、複層の可撓性熱シールド材から成る熱シールド部材が巻かれていることを特徴とする極低温冷却装置。
JP2001113567A 2001-04-12 2001-04-12 極低温冷却装置 Expired - Fee Related JP3845708B2 (ja)

Priority Applications (1)

Application Number Priority Date Filing Date Title
JP2001113567A JP3845708B2 (ja) 2001-04-12 2001-04-12 極低温冷却装置

Applications Claiming Priority (1)

Application Number Priority Date Filing Date Title
JP2001113567A JP3845708B2 (ja) 2001-04-12 2001-04-12 極低温冷却装置

Publications (2)

Publication Number Publication Date
JP2002310521A JP2002310521A (ja) 2002-10-23
JP3845708B2 true JP3845708B2 (ja) 2006-11-15

Family

ID=18964769

Family Applications (1)

Application Number Title Priority Date Filing Date
JP2001113567A Expired - Fee Related JP3845708B2 (ja) 2001-04-12 2001-04-12 極低温冷却装置

Country Status (1)

Country Link
JP (1) JP3845708B2 (ja)

Families Citing this family (1)

* Cited by examiner, † Cited by third party
Publication number Priority date Publication date Assignee Title
JP7585627B2 (ja) * 2020-06-15 2024-11-19 富士電機株式会社 伝熱機器

Also Published As

Publication number Publication date
JP2002310521A (ja) 2002-10-23

Similar Documents

Publication Publication Date Title
US4526015A (en) Support for cryostat penetration tube
JP2008111666A (ja) 極低温冷却装置
JPH0828535B2 (ja) 超伝導磁石
CN110504078A (zh) 极低温冷却装置
JP2000294399A (ja) 超電導高周波加速空胴及び粒子加速器
US20060086101A1 (en) Cryogenic system
US5884489A (en) Superconducting magnets
JP3845708B2 (ja) 極低温冷却装置
US20120306492A1 (en) Penetration tube assemblies for reducing cryostat heat load
JP3845672B2 (ja) 極低温冷却装置
JP2014052133A (ja) 低温流体用バイヨネット継手
JP4892328B2 (ja) 磁気シールド付き冷凍機
US20120309630A1 (en) Penetration tube assemblies for reducing cryostat heat load
JP6588264B2 (ja) 極低温冷媒供給システム
JP2010003943A (ja) 断熱支持材および該断熱支持材を備えた超電導装置
EP0253883B1 (en) Cryogenically cooled radiation detection apparatus
JPH0640341Y2 (ja) 真空部材用防震ベローズ
US11977139B2 (en) Accelerated cooldown of low-cryogen magnetic resonance imaging (MRI) magnets
RU2194254C1 (ru) Приемник инфракрасного излучения
Krysanov et al. A Helium Cryostat for Investigating the Properties of Massive Solid Resonators with Deep Cooling
US20050156595A1 (en) Magnetic resonance imaging apparatus with reduced noise production
KR102354603B1 (ko) 의료용 초전도 자석
JP2008267635A (ja) 極低温冷却装置及び極低温冷却方法
US7482808B2 (en) Superconductive magnet apparatus and magnetic resonance imaging apparatus
JP4823768B2 (ja) トランスファーチューブ

Legal Events

Date Code Title Description
A977 Report on retrieval

Free format text: JAPANESE INTERMEDIATE CODE: A971007

Effective date: 20050401

A131 Notification of reasons for refusal

Free format text: JAPANESE INTERMEDIATE CODE: A131

Effective date: 20050921

A711 Notification of change in applicant

Free format text: JAPANESE INTERMEDIATE CODE: A712

Effective date: 20051109

A521 Written amendment

Free format text: JAPANESE INTERMEDIATE CODE: A523

Effective date: 20051110

A521 Written amendment

Free format text: JAPANESE INTERMEDIATE CODE: A821

Effective date: 20051109

TRDD Decision of grant or rejection written
A01 Written decision to grant a patent or to grant a registration (utility model)

Free format text: JAPANESE INTERMEDIATE CODE: A01

Effective date: 20060628

A61 First payment of annual fees (during grant procedure)

Free format text: JAPANESE INTERMEDIATE CODE: A61

Effective date: 20060726

R150 Certificate of patent or registration of utility model

Free format text: JAPANESE INTERMEDIATE CODE: R150

R154 Certificate of patent or utility model (reissue)

Free format text: JAPANESE INTERMEDIATE CODE: R154

R150 Certificate of patent or registration of utility model

Free format text: JAPANESE INTERMEDIATE CODE: R150

FPAY Renewal fee payment (event date is renewal date of database)

Free format text: PAYMENT UNTIL: 20090901

Year of fee payment: 3

S531 Written request for registration of change of domicile

Free format text: JAPANESE INTERMEDIATE CODE: R313531

FPAY Renewal fee payment (event date is renewal date of database)

Free format text: PAYMENT UNTIL: 20090901

Year of fee payment: 3

R350 Written notification of registration of transfer

Free format text: JAPANESE INTERMEDIATE CODE: R350

FPAY Renewal fee payment (event date is renewal date of database)

Free format text: PAYMENT UNTIL: 20090901

Year of fee payment: 3

FPAY Renewal fee payment (event date is renewal date of database)

Free format text: PAYMENT UNTIL: 20100901

Year of fee payment: 4

FPAY Renewal fee payment (event date is renewal date of database)

Free format text: PAYMENT UNTIL: 20110901

Year of fee payment: 5

FPAY Renewal fee payment (event date is renewal date of database)

Free format text: PAYMENT UNTIL: 20120901

Year of fee payment: 6

FPAY Renewal fee payment (event date is renewal date of database)

Free format text: PAYMENT UNTIL: 20120901

Year of fee payment: 6

FPAY Renewal fee payment (event date is renewal date of database)

Free format text: PAYMENT UNTIL: 20130901

Year of fee payment: 7

R250 Receipt of annual fees

Free format text: JAPANESE INTERMEDIATE CODE: R250

R250 Receipt of annual fees

Free format text: JAPANESE INTERMEDIATE CODE: R250

S533 Written request for registration of change of name

Free format text: JAPANESE INTERMEDIATE CODE: R313533

R350 Written notification of registration of transfer

Free format text: JAPANESE INTERMEDIATE CODE: R350

R250 Receipt of annual fees

Free format text: JAPANESE INTERMEDIATE CODE: R250

R250 Receipt of annual fees

Free format text: JAPANESE INTERMEDIATE CODE: R250

LAPS Cancellation because of no payment of annual fees