JP3737372B2 - 変流器入力型電源装置 - Google Patents

変流器入力型電源装置 Download PDF

Info

Publication number
JP3737372B2
JP3737372B2 JP2001051259A JP2001051259A JP3737372B2 JP 3737372 B2 JP3737372 B2 JP 3737372B2 JP 2001051259 A JP2001051259 A JP 2001051259A JP 2001051259 A JP2001051259 A JP 2001051259A JP 3737372 B2 JP3737372 B2 JP 3737372B2
Authority
JP
Japan
Prior art keywords
voltage
current transformer
circuit
switch
power supply
Prior art date
Legal status (The legal status is an assumption and is not a legal conclusion. Google has not performed a legal analysis and makes no representation as to the accuracy of the status listed.)
Expired - Fee Related
Application number
JP2001051259A
Other languages
English (en)
Other versions
JP2002252980A (ja
Inventor
雅浩 渡辺
和男 加藤
謙治 小川
勲 上野
Current Assignee (The listed assignees may be inaccurate. Google has not performed a legal analysis and makes no representation or warranty as to the accuracy of the list.)
Hitachi Ltd
Original Assignee
Hitachi Ltd
Priority date (The priority date is an assumption and is not a legal conclusion. Google has not performed a legal analysis and makes no representation as to the accuracy of the date listed.)
Filing date
Publication date
Application filed by Hitachi Ltd filed Critical Hitachi Ltd
Priority to JP2001051259A priority Critical patent/JP3737372B2/ja
Priority to US09/940,793 priority patent/US6462924B1/en
Publication of JP2002252980A publication Critical patent/JP2002252980A/ja
Application granted granted Critical
Publication of JP3737372B2 publication Critical patent/JP3737372B2/ja
Anticipated expiration legal-status Critical
Expired - Fee Related legal-status Critical Current

Links

Images

Classifications

    • HELECTRICITY
    • H02GENERATION; CONVERSION OR DISTRIBUTION OF ELECTRIC POWER
    • H02MAPPARATUS FOR CONVERSION BETWEEN AC AND AC, BETWEEN AC AND DC, OR BETWEEN DC AND DC, AND FOR USE WITH MAINS OR SIMILAR POWER SUPPLY SYSTEMS; CONVERSION OF DC OR AC INPUT POWER INTO SURGE OUTPUT POWER; CONTROL OR REGULATION THEREOF
    • H02M7/00Conversion of AC power input into DC power output; Conversion of DC power input into AC power output
    • H02M7/02Conversion of AC power input into DC power output without possibility of reversal
    • H02M7/04Conversion of AC power input into DC power output without possibility of reversal by static converters
    • H02M7/12Conversion of AC power input into DC power output without possibility of reversal by static converters using discharge tubes with control electrode or semiconductor devices with control electrode
    • H02M7/21Conversion of AC power input into DC power output without possibility of reversal by static converters using discharge tubes with control electrode or semiconductor devices with control electrode using devices of a triode or transistor type requiring continuous application of a control signal
    • H02M7/217Conversion of AC power input into DC power output without possibility of reversal by static converters using discharge tubes with control electrode or semiconductor devices with control electrode using devices of a triode or transistor type requiring continuous application of a control signal using semiconductor devices only
    • HELECTRICITY
    • H02GENERATION; CONVERSION OR DISTRIBUTION OF ELECTRIC POWER
    • H02JCIRCUIT ARRANGEMENTS OR SYSTEMS FOR SUPPLYING OR DISTRIBUTING ELECTRIC POWER; SYSTEMS FOR STORING ELECTRIC ENERGY
    • H02J50/00Circuit arrangements or systems for wireless supply or distribution of electric power
    • H02J50/001Energy harvesting or scavenging
    • HELECTRICITY
    • H02GENERATION; CONVERSION OR DISTRIBUTION OF ELECTRIC POWER
    • H02MAPPARATUS FOR CONVERSION BETWEEN AC AND AC, BETWEEN AC AND DC, OR BETWEEN DC AND DC, AND FOR USE WITH MAINS OR SIMILAR POWER SUPPLY SYSTEMS; CONVERSION OF DC OR AC INPUT POWER INTO SURGE OUTPUT POWER; CONTROL OR REGULATION THEREOF
    • H02M1/00Details of apparatus for conversion
    • H02M1/0083Converters characterised by their input or output configuration
    • H02M1/0087Converters characterised by their input or output configuration adapted for receiving as input a current source

Landscapes

  • Engineering & Computer Science (AREA)
  • Power Engineering (AREA)
  • Rectifiers (AREA)
  • Dc-Dc Converters (AREA)

Description

【0001】
【発明の属する技術分野】
本発明は、変流器入力型電源装置に関する。
【0002】
【従来の技術】
送配電用センサ,電子式ヒューズフリー遮断器(FFB)などの電子装置(負荷)に直流電圧を供給する小容量の電源装置は、電気工事を伴わずに強電回路(主回路)から簡便に得るために、一次側を主回路にクリップオンすることができる貫通型変流器を用いた、所謂、変流器入力方式の直流電源装置が多用されている。この変流器入力式の直流電源装置は、一次側を主回路にクリップオンさせた貫通型変流器の二次側巻線の電圧を整流,平滑して直流電圧を出力する構成である。
【0003】
このような変流器入力方式の直流電源装置において、変流器の巻線比は、最小の主回路電流でも負荷電流を十分に供給することができるように決めることが必要であり、他方、給電動作条件の点からは、主回路電流の許容動作変化幅(ダイナミックレンジ)をできるだけ広く設計することが望ましいために、最小の主回路電流を超す変動,増加分に対しては、変流器に対する過剰入力となって電源回路の損失となっている。例えば、一次電流(主回路電流)の許容動作変化幅を10〜100Aに設計した場合、100Aの入力時においては、変流器の二次側巻線では90A相当分が過剰であり、相応して損失,発熱が増加する。また、この電源装置が供給する負荷側の電圧は、通常、定電圧性が要求されるために、過剰入力時に変流器の二次側巻線回路が負担するVA積が大きくなり、変流器が大きくなる。
【0004】
従来、この変流器の二次側巻線電流過剰時に発生する損失を低減するために、変流器の二次側巻線電圧の整流,平滑電圧をモニタすることによって過剰入力状態を検出し、二次側巻線電圧を抑制することが行われている。具体的な抑制手段としては、1)トライアックなどの交流スイッチで変流器の二次側巻線を短絡する技術(特開平11−341809号公報ほか)や、2)電界効果トランジスタなどで損失の少ない同期整流回路を構成し、平滑出力回路を短絡する技術、などが知られている。
【0005】
しかしながら、1)のトライアックなどの交流スイッチによる技術は、スイッチ構造がPNPN接合構造であるために、短絡時に2つのダイオード分の電圧降下が発生して損失が大きい、交流スイッチとしての制御回路が複雑である、などの問題がある。
【0006】
他方、2)の電界効果トランジスタによる同期整流スイッチ技術は、整流部や短絡スイッチに低損失化のためオン抵抗の非常に小さい電界効果トランジスタを用いると、スイッチ短絡時には同期整流の駆動に必要な変流器の二次側巻線電圧も小さくなって駆動不能になることから、効率の高い同期整流を実現することが困難である、など、共に十分な低損失化を図ることができず、変流器の小型化も十分ではなかった。
【0007】
【発明が解決しようとする課題】
本発明の1つの目的は、損失の少ない変流器入力型電源装置を提供することにある。
【0008】
本発明の他の目的は、入力ダイナミックレンジの広い変流器入力型電源装置を提供することにある。
【0009】
本発明の更に他の目的は、変流器を主回路(活性電線)へクリップオン装着が可能な小型化した変流器入力型電源装置を実現することにある。
【0010】
本発明の更に他の目的は、全体の実装の小型化と信頼性を向上することができる安価な変流器入力型電源装置を提供することにある。
【0011】
【課題を解決するための手段】
本発明は、変流器と、この変流器の二次側巻線に接続した整流回路,平滑回路を備え、この平滑回路から負荷に直流電圧を供給する変流器入力型電源装置において、前記平滑回路の出力側に接続した電圧検出回路と、前記変流器の二次側巻線に並列接続した交流スイッチを備え、前記平滑回路の電圧が所定値まで上昇したことを前記電圧検出回路によって検出することにより、この電圧検出回路の出力信号によって前記交流スイッチをオンさせるように構成し、前記変流器の二次側巻線をセンタタップ出力に構成し、前記交流スイッチは、逆方向に接続した2つの電界効果トランジスタによって構成して前記二次側巻線の両端電圧を短絡するように接続し、前記整流回路は、前記電界効果トランジスタの寄生ダイオードによって構成したものである。
【0012】
【発明の実施の形態】
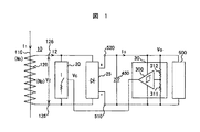
図1は、本発明の変流器入力型直流電源装置の基本構成を示す回路図である。図1において、変流器10は、貫通する一次側導体(巻線)110と、二次側巻線120を備える。二次側巻線120の端子125,126間には、電流立ち上がり時のオフセット電圧を有しない低オン抵抗のスイッチを用いた交流スイッチ20と整流回路25を接続する。整流回路25の出力端子510,520間には、平滑回路としての大容量のコンデンサ450と、このコンデンサ450を直流電源として動作するヒステリシス特性を有する電圧検出回路30および負荷500などを接続する。
【0013】
電圧検出回路30の出力信号は、開閉制御電圧Vcとして交流スイッチ20の制御端子に供給する。電圧検出回路30は、出力電圧Voを分圧する検出抵抗311,312とヒステリシスコンパレータ300を備え、負荷500が許容できる出力電圧Voの上,下限電圧VH,VLを設定電圧として開閉制御電圧Vcを制御するように設定する。
【0014】
図2は、このように構成した変流器入力型直流電源装置の動作特性を示している。
【0015】
整流回路25は、変流器10の一次側導体110に流れる電流I1に基づいて二次側巻線120に発生する二次側巻線電圧V2を整流し、コンデンサ450は、この整流電圧を平滑した出力電圧Voを負荷500に供給する。
【0016】
ここで、変流器10の二次側巻線電流I2の平均値を 2とし、直流負荷電流をIoとし、Io< 2とすると、その差分ΔIが電源装置としての過剰入力分になる。この過剰入力分ΔIは、コンデンサ450に蓄積されるので、開閉制御電圧VcのToff期間に出力電圧Voが上昇する。出力電圧Voが上昇して上限設定値VHに達すると、電圧検出回路30は、これを検出して開閉制御電圧Vcを“H”レベル(Ton期間)にし、交流スイッチ20をオンさせて変流器10の二次側巻線120を短絡する。その結果、このTon期間では、変流器10の二次側巻線電圧V2は零となって負荷も実質零となり、損失は二次側巻線120の抵抗を含む短絡回路におけるI2Rのみとなる。
【0017】
二次側巻線120が短絡されているTon期間は、整流回路25の入力が遮断され、直流側負荷電流Ioはコンデンサ450の蓄積電荷の放出によって賄われることになることから、コンデンサ450の端子電圧(出力電圧Vo)は、減少に転じる。そして、出力電圧Voが設定下限電圧VLまで低下すると、電圧検出回路30は、開閉制御電圧Vcを“L”レベルに変化させることから、交流スイッチ20はオフとなって再び変流器10の二次側巻線電圧V2を整流回路25に供給する。これにより、コンデンサ450は、整流回路25の整流出力によって充電されて端子電圧(出力電圧Vo)を上昇させる。以下、同様にして交流スイッチ20のオン,オフ制御を繰り返して出力電圧Voを所定の範囲(VH〜VL)内に維持する。
【0018】
交流スイッチ20のスイチング周期は、直流側負荷電流Io,変流器10の二次側巻線電流I2,コンデンサ450の容量,電圧検出回路30のヒステリシス幅(VH〜VL)などに依存し、電源周波数には依存しないが、Ton,Toff期間は、共に電源周波周期よりも長くなるようにコンデンサ450の容量で決める。具体的な容量値を例示すると、直流側負過電流Ioが数10mAの直流電源装置では、数100μF以上に選ぶと良い。
【0019】
この変流器入力型直流電源装置は、電流立ち上がり時のオフセット電圧を有しない低オン抵抗の交流スイッチ20によって変流器10の二次側巻線120を直に短絡すること、交流スイッチ20の開閉制御電圧Vcには変流器10の電圧,電流に関係ない制御信号を用いるので制御周期を長くすることができること、の2点で従来の如何なる類似技術よりも低損失化を実現することができる。また、変流器10に必要な二次側VAは、最大直流出力電力VHIoにダイオード降下を加えた交流換算値となり、実際上の最小設計となることから、変流器10を小型化することができる。
【0020】
交流スイッチ20は、電流立ち上がり時のオフセット電圧を有しない低オン抵抗のスイッチを用いて構成することが重要である。スイッチとしてのオン抵抗値は、変流器10の二次側巻線120の抵抗以下、数mΩ〜10mΩであることが望ましい。評価した結果、このような特性を満たし得るスイッチとしては、大電流の同期整流用に開発されたMOS電界効果トランジスタと、長寿命で小型のボタン型水銀接点リレーがある。水銀接点リレーは、駆動巻線も絶縁されており、接点側も無極性であるので交流スイッチとしての応用は容易で問題ないが、MOS電界効果トランジスタは、有極接点で駆動回路も非絶縁であるので、交流スイッチ構成時の制約とそれを加味した実施の形態が存在する。そのために、以下の実施の形態における回路は、MOS電界効果トランジスタを例示して説明する。
【0021】
図3は、MOS電界効果トランジスタを使用して交流スイッチ20を構成した変流器入力型直流電源装置の一実施の形態を示す回路図である。
【0022】
この実施の形態において、交流スイッチ20は、MOS電界効果トランジスタ211〜214をブリッジ接続することにより構成し、MOS電界効果トランジスタ内蔵の寄生ダイオード211a〜214aを整流回路25を構成する全波整流ブリッジ整流器として利用することにより格別な整流回路を省略した構成である。直流出力側は、交流スイッチ20をオン,オフ制御することにより発生する電圧リップルを除くために、三端子型定電圧電源50を介して負荷500に給電するように構成する。
【0023】
ヒステリシス特性を有する電圧検出回路30は、差動増幅器301を用いた正帰還回路で非反転型の電圧比較器を構成しており、
Vref<Vin・R313/(R313+R314)
でオン動作し、
Vref>(Vo“L"−Vin)・R313/(R313+R314)+Vin
でオフ動作する。三端子型定電圧電源50が5V出力の場合には、上限値8V,下限値6Vでオン,オフ動作するように設定する。
【0024】
変流器10の二次側巻線120には、高速のサージ電圧を抑制するために、両極性のサージ電圧抑制素子160を接続する。このサージ電圧抑制素子160は、シリコン酸化物素子で、前記出力の場合のしきい電圧は、±15V程度である。
【0025】
交流スイッチ20と大容量のコンデンサ450の間には、ダイオード255を直列に接続する。このダイオード255は、交流スイッチ20の短絡時にコンデンサ450の電荷が該交流スイッチ20を介して放電するのを防止するように機能する。
【0026】
交流スイッチ20に適した実際のスイッチ(MOS電界効果トランジスタ211〜214)としては、スイッチング電源の低電圧大電流の同期整流用に開発されたNchMOS電界効果トランジスタ(HAT2064R,株式会社日立製作所製,最大オン抵抗10mΩ)を用い、その回路構成の決定に必要な基本特性を測定した。回路構成の妥当性を示すために、その結果を図4,図5に示す。
【0027】
図4において、特性▲1▼,▲2▼は、寄生ダイオードが働かない範囲の低電圧範囲での順方向のgm特性と逆方向のgm特性であり、特性▲3▼は、寄生ダイオードの順方向特性である。図5は、開閉制御電圧Vcを最小論理レベル電圧4.5Vとしたときの順,逆のオン抵抗特性を示している。
【0028】
図3に示すように構成した変流器入力型直流電源装置は、次のように動作する。
【0029】
起動時に変流器10の二次側巻線電流I2が供給された状態では、整流出力側の端子520の電圧が低い場合は、電圧検出回路30から出力する開閉制御電圧Vcは“L”レベルであり、三端子型定電圧電源50の出力電圧は所定値に達ない。従って、交流スイッチ20のMOS電界効果トランジスタ211〜214のスイッチ部はオフ状態にあり、寄生ダイオード211a〜214aが全波整流回路として動作している。
【0030】
整流出力側のコンデンサ450の充電が進んで端子520の電圧が6V付近に上昇すると、三端子型定電圧電源50は、5Vに制御した出力電圧Voを負荷500に供給するが、電圧検出回路30から出力する開閉制御電圧Vcは、未だ“L”レベルであり、交流スイッチ2の各MOS電界効果トランジスタ211〜214はオフのままである。
【0031】
次いで、端子520の電圧が8Vに達すると、電圧検出回路30から出力する開閉制御電圧Vcは“H”レベルになり、交流スイッチ20の各MOS電界効果トランジスタ211〜214はオンして変流器10の二次側巻線120の端子125,126間を短絡し、交流スイッチ20の寄生ダイオード211a〜214a(ブリッジ整流回路25)への電圧供給を完全に遮断する。これにより、三端子型定電圧電源50を介して負荷500への直流負荷電流の供給は、大容量のコンデンサ450の電荷放出によって行うことになるので、端子520の出力電圧Voが8Vから下降する。そして、6Vに達すると、電圧検出回路30から出力する開閉制御電圧Vcは“L”レベルになり、交流スイッチ20をオフに転じて変流器10の二次側巻線120の端子間を開放して整流回路25への電流供給を再開する。以後、このような動作を繰り返して変流器10からの過剰入力を抑制する。
【0032】
交流スイッチ20の機能は、変流器10の二次側巻線120の端子125,126に発生する交流電圧の電圧極性,位相差に拘らず、オフ信号(開閉制御電圧Vcが“L”レベル)のときには必ずオフ状態を保持し、オン信号(開閉制御電圧Vcが“H”レベル)のときには必ずオン状態を保持することができることが必要がある。通常のパワーMOS電界効果トランジスタは、基本的にはDCスイッチであり、図4に示す回路構造,特性のように、逆方向では寄生ダイオードが導流して電流をブロック(遮断)することができず、また、ゲート電圧に対するgm特性も異なるために、交流スイッチ20の構成素子として使用するためには工夫が必要である。
【0033】
そこで、MOS電界効果トランジスタの接続法として種々の合理的な接続条件を検討した結果、図3に示すように、オン,オフすべき交流電圧端子に対して、2つのMOS電界効果トランジスタ211〜214を互いに逆方向になるように直列に接続して使用すれば良いことを見いだした。この接続構成により、端子の交流電圧の極性,位相に拘わらず、オフゲート時には必ずブロック(遮断)状態となる。また、直列接続の2つのMOS電界効果トランジスタは、交流の極性,位相に拘わらず、必ず一方の電界効果トランジスタのソースまたはドレン電圧がオンゲート電圧よりも低いという(nチャンネルの場合の)導通条件が満たされるから、オンゲート電圧印加時に必ず条件を満たした方の電界効果トランジスタがオンし、次いで(僅かの遅れで)他方の電界効果トランジスタも導通条件を満たして2つともに完全導通状態となる。
【0034】
このように、図3に示した交流スイッチ20は、開閉制御電圧Vcが共通のMOS電界効果トランジスタ211,212から導通し始め、次いでMOS電界効果トランジスタ213,214が導通するが、その差は僅かで実用上は同時導通とみなせる。交流スイッチ20のオン時の抵抗値は、1つの電界効果トランジスタのオン抵抗になるから、図4に示したデータから7mΩ程度である。それに対して、図3に示した変流器入力型直流電源装置に供した変流器10の二次側巻線120の抵抗値は、最大電流2A用で0.5Ωである。従って、スイッチのI2R損失は、僅か28mW,二次側巻線120のそれは2Wとなり、変流器10の二次側巻線120の抵抗損失よりも大幅に小さくすることができる。
【0035】
図3に示した変流器入力型直流電源装置の他の特徴は、交流スイッチ20を構成するMOS電界効果トランジスタ211〜214に内蔵された寄生ダイオード211a〜214aが全波整流回路25を構成しているので回路構成が簡単になり、かつ、寄生ダイオード211a〜214aの整流損失は、図4に特性▲3▼で示したように、通常のダイオードに比較して大幅に整流損失が少ないので、回路を小形に構成することができることにある。
【0036】
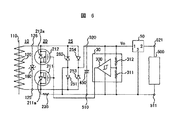
図6は、本発明の変流器入力型直流電源装置の他の実施の形態を示す回路図である。
【0037】
この実施の形態においては、交流スイッチ20は、2つのMOS電界効果トランジスタ211,212によって構成している。そして、整流回路25は、ダイオード251〜254からなるダイオードブリッジ回路を用いて構成している。更に、整流回路25の基準電圧側と交流スイッチ20の基準側との間に抵抗230を設けている。この抵抗230の役目は、整流回路25の各ダイオード251〜254がコンデンサ450の電圧で逆バイアスされてカットオフすることにより不定となる交流スイッチ20の信号電圧基準点と開閉制御電圧発生の直流側零電圧基準(端子510の電位)を合わせるための等電位抵抗であり、10k〜100kΩ程度に選ぶ。
【0038】
この実施の形態における変流器入力型直流電源装置の動作は、既に詳述した図1,図3に示した変流器入力型直流電源装置の動作とほぼ同じである。
【0039】
この実施の形態における利点は、交流スイッチ20を構成する高性能なMOS電界効果トランジスタ211,212が2つで済むこと、整流回路25のダイオード251〜254は容量が小さいものが選べること、などであり、幾分安価に構成することができる。
【0040】
図7は、本発明の変流器入力型直流電源装置の更に他の実施の形態を示す回路図である。
【0041】
この実施の形態において、交流スイッチ20は、2つのMOS電界効果トランジスタ211,212で構成している。そして、整流回路25は、前記2つのMOS電界効果トランジスタ211,212の寄生ダイオード211a,212aとダイオード253,254によって構成している。
【0042】
この実施の形態における利点は、ブリッジ回路である交流スイッチ20の制御基準点が直流回路零電圧と共通であるので前述した実施の形態における等電位抵抗が不要であり、交流スイッチ20がオンしてもダイオード253,254でコンデンサ450の放電を阻止することができるので、直列の放電阻止ダイオードが不要であり、その分の電圧損失が少なく効率が良い等、回路構成が簡単で効率が良いことにある。
【0043】
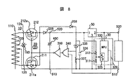
図8は、本発明の変流器入力型直流電源装置の更に他の実施の形態を示す回路図である。
【0044】
この実施の形態は、変流器10の二次側巻線120をセンタタップ出力に構成し、交流スイッチ20は、逆方向に直列接続した2つのMOS電界効果トランジスタ211,212によって二次側巻線120の短絡スイッチを構成すると共に寄生ダイオード211a,212aによって整流回路25を構成している。そして、交流スイッチ20の短絡時にコンデンサ450の電荷が該交流スイッチ20を介して放電するのを防止するように機能するダイオード255を備える。電圧検出回路30は、A/D変換器325を内蔵したマイクロプロセッサ(MPU)320を用いて構成している。
【0045】
この実施の形態における変流器入力型直流電源装置は、次のように動作する。
【0046】
整流平滑した端子510,520間の直流電圧は、抵抗311,312の分圧回路を介してA/D変換器325に入力し、周期的にA/D変換して所定の上下限値、例えば6(下限値),8V(上限値)に達したかどうかをMPU320によりチェックする。
【0047】
そして、上限値8Vに達すると、MPU320は、制御出力326を“H”レベルにし、論理ゲート340,350を介して交流スイッチ20をオンにして変流器10の二次側巻線端子125,126間を短絡する。すると、変流器10からの入力は遮断され、コンデンサ450の電荷は負荷500に放電して電圧は下降する。端子520の電圧が6V(下限値)に達すると、A/D変換器325を介してMPU335が検知し、制御出力326を“L”レベルにして交流スイッチ20をオフにして変流器10の二次側巻線端子125,126間を開放する。
【0048】
この実施の形態は、MPU320のソフトウエアで電圧をチェックし、判定しているので、変流器電流の急激な増加時には遅れを生じ、その間は過剰入力になって損失を増加させる可能性がある。そのために、変流器電流の急激な増加時には、MPU320の出力に先行して、バイパス用のダイオード258,ツェナーダイオード335を介して論理ゲート340にフィードフォワード的に制御信号を送り、交流スイッチ20を導通させて変流器10の二次側巻線120を短絡するように構成している。
【0049】
この実施の形態においては、交流スイッチ20を構成するMOS電界効果トランジスタ211,212が2つで済み、整流回路25の構成も兼ねているので回路構成が簡単になる、センタタップ巻線の両端電圧を短絡する構成であるので、MOS電界効果トランジスタ211,212のオン抵抗は幾分高くても良い、などの理由から、安価に構成することができる。また、A/D変換器325,MPU320を用いた制御は、電圧制御精度が高く、電圧設定の変更が容易である、などの利点がある。
【0050】
以上、本発明の実施の形態を図面を参照して詳細に説明したが、本発明は、例示した組み合わせのみに限定されるものではなく、交流スイッチ,整流回路,電圧検出回路,制御回路間で更なる変形例が存在し得る。また、電荷蓄積素子も通常の電解コンデンサに限定されるものではなく、負荷容量が大きい場合には、電荷二重層型のコンデンサを用いることができる。同様に、負荷容量が大きい場合には、三端子型定電圧電源に代ってスイッチング型電源を用いると良い。
【0051】
【発明の効果】
本発明の変流器入力型電源装置は、変流器と、この変流器の二次側巻線に接続した整流回路,平滑回路を備え、この平滑回路から負荷に直流電圧を供給する変流器入力型電源装置において、前記平滑回路の出力側に接続した電圧検出回路と、前記変流器の二次側巻線に並列接続した交流スイッチを備え、前記平滑回路の電圧が所定値まで上昇したことを前記電圧検出回路によって検出することにより、この電圧検出回路の出力信号によって前記交流スイッチをオンさせるように構成し、前記変流器の二次側巻線をセンタタップ出力に構成し、前記交流スイッチは、逆方向に接続した2つの電界効果トランジスタによって構成して前記二次側巻線の両端電圧を短絡するように接続し、前記整流回路は、前記電界効果トランジスタの寄生ダイオードによって構成しているので、以下のような効果が得られる。
1)回路装置の損失を最小にすることができ、効率,実装許容温度を高めることができる。
2)変流器(鉄心)および電子回路を小形(簡単)に設計すると共に安価に実現することができる。
3)変流器の動作ダイナミックレンジを数10倍に広くすることができ、応用範囲が広くなる。
4)変流器を小型化することができるために実装が容易でクリップオン装着が容易になる。
【図面の簡単な説明】
【図1】本発明の変流器入力型直流電源装置の基本構成を示す回路図である。
【図2】図1に示した変流器入力型直流電源装置の動作特性図である。
【図3】本発明の変流器入力型直流電源装置の一実施の形態を示す回路図である。
【図4】本発明に用いるMOS電界効果トランジスタの基本特性を示す特性図である。
【図5】本発明に用いるMOS電界効果トランジスタの基本特性を示す特性図である。
【図6】本発明の変流器入力型直流電源装置の他の実施の形態を示す回路図である。
【図7】本発明の変流器入力型直流電源装置の更に他の実施の形態を示す回路図である。
【図8】本発明の変流器入力型直流電源装置の更に他の実施の形態を示す回路図である。
【符号の説明】
10…変流器、20…交流スイッチ、25…整流回路、30…電圧検出回路、50…三端子型定電圧電源、110…一次導体(巻線)、120…二次側巻線、125,126…二次側巻線端子、160…サージ電圧抑制素子、211〜214…MOSトランジスタ、211a〜214a…寄生ダイオード、230…抵抗、251〜255…ダイオード、300…ヒステリシスコンパレータ、301…差動増幅器、311,312…抵抗、320…マイクロプロセッサ、325…A/D変換器、450…コンデンサ、500…負荷、510,520…出力端子。

Claims (1)

  1. 変流器と、この変流器の二次側巻線に接続した整流回路,平滑回路を備え、この平滑回路から負荷に直流電圧を供給する変流器入力型電源装置において、
    前記平滑回路の出力側に接続した電圧検出回路と、前記変流器の二次側巻線に並列接続した交流スイッチを備え、前記平滑回路の電圧が所定値まで上昇したことを前記電圧検出回路によって検出することにより、この電圧検出回路の出力信号によって前記交流スイッチをオンさせるように構成し、前記変流器の二次側巻線をセンタタップ出力に構成し、前記交流スイッチは、逆方向に接続した2つの電界効果トランジスタによって構成して前記二次側巻線の両端電圧を短絡するように接続し、前記整流回路は、前記電界効果トランジスタの寄生ダイオードによって構成したことを特徴とする変流器入力型電源装置。
JP2001051259A 2001-02-26 2001-02-26 変流器入力型電源装置 Expired - Fee Related JP3737372B2 (ja)

Priority Applications (2)

Application Number Priority Date Filing Date Title
JP2001051259A JP3737372B2 (ja) 2001-02-26 2001-02-26 変流器入力型電源装置
US09/940,793 US6462924B1 (en) 2001-02-26 2001-08-29 Power supply apparatus comprising a voltage detection circuit and method for using same

Applications Claiming Priority (1)

Application Number Priority Date Filing Date Title
JP2001051259A JP3737372B2 (ja) 2001-02-26 2001-02-26 変流器入力型電源装置

Publications (2)

Publication Number Publication Date
JP2002252980A JP2002252980A (ja) 2002-09-06
JP3737372B2 true JP3737372B2 (ja) 2006-01-18

Family

ID=18912080

Family Applications (1)

Application Number Title Priority Date Filing Date
JP2001051259A Expired - Fee Related JP3737372B2 (ja) 2001-02-26 2001-02-26 変流器入力型電源装置

Country Status (2)

Country Link
US (1) US6462924B1 (ja)
JP (1) JP3737372B2 (ja)

Families Citing this family (13)

* Cited by examiner, † Cited by third party
Publication number Priority date Publication date Assignee Title
US7561396B2 (en) * 2004-03-09 2009-07-14 Samsung Measuring Instruments Co., LTD Apparatus for monitoring open state of the secondary terminals of a current transformer
CA2643129C (en) * 2006-02-23 2014-07-22 Siemens Aktiengesellschaft Overcurrent switching apparatus
US7889472B1 (en) 2006-10-27 2011-02-15 Nortel Networks Limited Dual voltage hot swap module power control
US8599589B2 (en) * 2008-10-13 2013-12-03 Apple Inc. Methods and systems for reducing power consumption
AU2010258254B2 (en) * 2009-06-08 2014-05-01 Instruform Pacific Limited Power supply
US8830637B2 (en) 2010-08-31 2014-09-09 Texas Instruments Incorporated Methods and apparatus to clamp overvoltages for alternating current systems
US20130342026A1 (en) * 2011-03-10 2013-12-26 Nec Tokin Corporation Power-receiving device and non-contact power transmission system using same
JP2013027111A (ja) * 2011-07-20 2013-02-04 Fujitsu General Ltd 電源装置
EP2999075B1 (en) * 2014-09-18 2020-08-05 Delta Electronics (Thailand) Public Co., Ltd. Power supply with surge voltage protection
CN105576840A (zh) * 2014-11-11 2016-05-11 苏州银蕨电力科技有限公司 用于智能电网传感装置的自感应取电电路
CN105656063B (zh) * 2014-12-05 2018-08-14 苏州银蕨电力科技有限公司 一种自适应取能装置及方法
CN108736698A (zh) * 2017-04-13 2018-11-02 台达电子工业股份有限公司 电源供应器与残余电压放电方法
IL264042B (en) * 2018-12-31 2020-07-30 Doron Eyal Systems and methods for regulating force withdrawal from inspiratory force

Family Cites Families (5)

* Cited by examiner, † Cited by third party
Publication number Priority date Publication date Assignee Title
FR2081177A6 (ja) * 1970-03-13 1971-12-03 Saparel
US3848159A (en) * 1973-06-18 1974-11-12 Airpax Electronics Ground fault detector circuit with feedback to sensor
US4241373A (en) * 1979-03-30 1980-12-23 Mcgraw-Edison Company Switchgear voltage sensor
JPH11341809A (ja) 1998-05-27 1999-12-10 Toshiba Corp 電源回路
US6160697A (en) * 1999-02-25 2000-12-12 Edel; Thomas G. Method and apparatus for magnetizing and demagnetizing current transformers and magnetic bodies

Also Published As

Publication number Publication date
US20020118554A1 (en) 2002-08-29
JP2002252980A (ja) 2002-09-06
US6462924B1 (en) 2002-10-08

Similar Documents

Publication Publication Date Title
US8953347B2 (en) Capacitor discharging circuit and power converter
JP3737372B2 (ja) 変流器入力型電源装置
US20130188401A1 (en) Capacitor discharging circuit and converter
CN1643764A (zh) 三端子、低电压脉宽调制控制器集成电路
US11848615B2 (en) Power IC including a feedback resistor, and a switching power supply and electronic appliance including the power IC
CN109861518A (zh) 一种限流启动电路和电源转换电路
US20160094131A1 (en) Power converter with power foldback
US20180212531A1 (en) Power conversion system with energy harvesting
WO2010084444A2 (en) Low power consumption in standby mode
KR102482820B1 (ko) 절연형 스위칭 전원
US6930896B2 (en) Power regeneration circuit and power conversion system
US9627991B2 (en) Rectifier with indicator switch
CN103904621B (zh) 具有自恢复功能的限流保护与短路保护电路
JP2008079381A (ja) マトリックスコンバータ
JP3680147B2 (ja) 電源装置
US20250070641A1 (en) Power conversion circuit and method
JP2025511169A (ja) 力率改善
JP4212164B2 (ja) 並列型電源装置
CN210608949U (zh) 变压整流电路及充电器
JP2005006398A (ja) 交流/直流変換装置
CN112636424A (zh) 一种电池充电电路和电池管理系统
CN223540314U (zh) 用于双电源的切换电路
EP2775604A1 (en) A mains power converter, and methods of operating and equipment incorporating the same
JP2022048807A (ja) 過電流検出装置
CN217741586U (zh) 一种同步整流控制电路、芯片及开关电源

Legal Events

Date Code Title Description
A977 Report on retrieval

Free format text: JAPANESE INTERMEDIATE CODE: A971007

Effective date: 20050428

A131 Notification of reasons for refusal

Free format text: JAPANESE INTERMEDIATE CODE: A131

Effective date: 20050517

A521 Request for written amendment filed

Free format text: JAPANESE INTERMEDIATE CODE: A523

Effective date: 20050719

TRDD Decision of grant or rejection written
A01 Written decision to grant a patent or to grant a registration (utility model)

Free format text: JAPANESE INTERMEDIATE CODE: A01

Effective date: 20051018

A61 First payment of annual fees (during grant procedure)

Free format text: JAPANESE INTERMEDIATE CODE: A61

Effective date: 20051026

R150 Certificate of patent or registration of utility model

Free format text: JAPANESE INTERMEDIATE CODE: R150

FPAY Renewal fee payment (event date is renewal date of database)

Free format text: PAYMENT UNTIL: 20091104

Year of fee payment: 4

FPAY Renewal fee payment (event date is renewal date of database)

Free format text: PAYMENT UNTIL: 20101104

Year of fee payment: 5

FPAY Renewal fee payment (event date is renewal date of database)

Free format text: PAYMENT UNTIL: 20111104

Year of fee payment: 6

FPAY Renewal fee payment (event date is renewal date of database)

Free format text: PAYMENT UNTIL: 20121104

Year of fee payment: 7

FPAY Renewal fee payment (event date is renewal date of database)

Free format text: PAYMENT UNTIL: 20121104

Year of fee payment: 7

FPAY Renewal fee payment (event date is renewal date of database)

Free format text: PAYMENT UNTIL: 20131104

Year of fee payment: 8

LAPS Cancellation because of no payment of annual fees