JP3676837B2 - 流体トルク衝撃発生装置 - Google Patents
流体トルク衝撃発生装置 Download PDFInfo
- Publication number
- JP3676837B2 JP3676837B2 JP01308895A JP1308895A JP3676837B2 JP 3676837 B2 JP3676837 B2 JP 3676837B2 JP 01308895 A JP01308895 A JP 01308895A JP 1308895 A JP1308895 A JP 1308895A JP 3676837 B2 JP3676837 B2 JP 3676837B2
- Authority
- JP
- Japan
- Prior art keywords
- fluid
- seal
- pressure
- contact element
- chamber
- Prior art date
- Legal status (The legal status is an assumption and is not a legal conclusion. Google has not performed a legal analysis and makes no representation as to the accuracy of the status listed.)
- Expired - Fee Related
Links
- 239000012530 fluid Substances 0.000 title claims description 73
- 230000035939 shock Effects 0.000 title claims description 17
- 238000007789 sealing Methods 0.000 claims description 24
- 230000009021 linear effect Effects 0.000 claims description 17
- 238000005192 partition Methods 0.000 claims description 11
- 230000004888 barrier function Effects 0.000 claims description 5
- 230000001965 increasing effect Effects 0.000 claims description 5
- 230000008859 change Effects 0.000 claims description 3
- 230000002093 peripheral effect Effects 0.000 claims 1
- 230000009471 action Effects 0.000 description 6
- 238000000034 method Methods 0.000 description 5
- 230000001133 acceleration Effects 0.000 description 3
- 230000003068 static effect Effects 0.000 description 3
- 230000001419 dependent effect Effects 0.000 description 2
- 230000001627 detrimental effect Effects 0.000 description 2
- 230000005540 biological transmission Effects 0.000 description 1
- 230000000903 blocking effect Effects 0.000 description 1
- 230000002708 enhancing effect Effects 0.000 description 1
- 230000003993 interaction Effects 0.000 description 1
- 230000013011 mating Effects 0.000 description 1
- 238000011017 operating method Methods 0.000 description 1
- 230000008569 process Effects 0.000 description 1
- 230000000630 rising effect Effects 0.000 description 1
- 238000004904 shortening Methods 0.000 description 1
Images
Classifications
-
- B—PERFORMING OPERATIONS; TRANSPORTING
- B25—HAND TOOLS; PORTABLE POWER-DRIVEN TOOLS; MANIPULATORS
- B25B—TOOLS OR BENCH DEVICES NOT OTHERWISE PROVIDED FOR, FOR FASTENING, CONNECTING, DISENGAGING OR HOLDING
- B25B21/00—Portable power-driven screw or nut setting or loosening tools; Attachments for drilling apparatus serving the same purpose
- B25B21/02—Portable power-driven screw or nut setting or loosening tools; Attachments for drilling apparatus serving the same purpose with means for imparting impact to screwdriver blade or nut socket
-
- B—PERFORMING OPERATIONS; TRANSPORTING
- B25—HAND TOOLS; PORTABLE POWER-DRIVEN TOOLS; MANIPULATORS
- B25B—TOOLS OR BENCH DEVICES NOT OTHERWISE PROVIDED FOR, FOR FASTENING, CONNECTING, DISENGAGING OR HOLDING
- B25B23/00—Details of, or accessories for, spanners, wrenches, screwdrivers
- B25B23/14—Arrangement of torque limiters or torque indicators in wrenches or screwdrivers
- B25B23/145—Arrangement of torque limiters or torque indicators in wrenches or screwdrivers specially adapted for fluid operated wrenches or screwdrivers
- B25B23/1453—Arrangement of torque limiters or torque indicators in wrenches or screwdrivers specially adapted for fluid operated wrenches or screwdrivers for impact wrenches or screwdrivers
Landscapes
- Engineering & Computer Science (AREA)
- Mechanical Engineering (AREA)
- Percussive Tools And Related Accessories (AREA)
- Sealing Devices (AREA)
- Fluid-Damping Devices (AREA)
- Hydraulic Clutches, Magnetic Clutches, Fluid Clutches, And Fluid Joints (AREA)
- Fluid-Pressure Circuits (AREA)
Description
【産業上の利用分野】
本発明は主としてねじ継手締付け工具に用いられる流体トルク衝撃発生装置に関するものである。
特に、本発明は、流体室を備えた駆動部材と、この流体室内へのびしかも少くとも一つの可動のシール要素を支持しかつ少くとも一つの軸方向にのびる線形シール隆起部をもつ出力スピンドルとを有し、線型シール隆起部が、流体室内の軸方向にのびる線形シールランドと密封的に共動して駆動部材と出力スピンドルとの限定された角度に亘る相対回転中、流体室を少くとも一つの高圧仕切り室と少くとも一つ低高圧仕切り室とに分け、また高圧仕切り室内の圧力がある一定のレベル以下である際に上記の限定された角度に亘る相対回転中、高圧仕切り室
と低圧仕切り室との間をバイパスフローさせる弁装置(24;44)を有する流体トルク衝撃発生装置に関する。
【0002】
【従来の技術】
圧力応動バイパス弁を備えたこの型式のトルク衝撃発生装置は、発生した各トルク衝撃後の加速遅れが実施的に短くされるという有利な動作特性を備えている。このような加速遅れは駆動部材及び出力スピンドルのシール装置間の密封的共動を維持することによって生じ、バイパス弁を備えてない衝撃発生装置においては、高圧仕切り室内の相対的に低い圧力レベルでも駆動装置を制動させ、次の衝撃前にすばやい加速を妨げることになる。
圧力応動バイパス弁を使用することにより、流体室の高、低圧仕切り室間に低圧短絡流体の流れが得られ、その結果比較的高い衝撃効率及び出力が得られる。また比較的大きな大きさで比較的短いトルク衝撃がもたらされる。
上記型式のトルク衝撃発生装置は米国特許第3,283,537号に開示されている。この公知のトルク衝撃発生装置は単一ブレード型のものであり、流体室は、流体室及びシールブレードにおけるシールランドと出力スピンドルにおけるシール隆起部との密封的共動時に一つの高圧仕切り室と一つの低圧仕切り室とに分けられる。高圧仕切り室内の圧力の大きさがある一定のレベル以下の時にシール隆起部とシールランドとの密封部を介してバイパス流を形成させる圧力応動弁が設けられる。このバイパス弁は駆動部材のシリンダ壁または出力スピンドルにおける孔内で密封的に案内されるばね偏倚管状ピストンを備えている。
【0003】
【発明が解決しょうとする課題】
この公知の衝撃発生装置に伴う問題点は、バイパス弁によって形成されるバイパス流が非常に小さく、また、弁のサイズが二つの取り得る場所すなわち流体室壁と出力スピンドルとにおける利用可能なスペースに非常に限定されることにある。またこの公知のバイパス弁構造は駆動部材または出力スピンドルの設計を望ましくない程に複雑なものとしている。
トルク衝撃発生装置の圧力応動バイパス制御弁の別の従来例は米国特許第
4,683,961号に開示されている。この公知の装置は環状の二重作用板ばね弁部材から成っており、この弁部材は衝撃発生装置の端壁の一つに配置され、そして高圧仕切り室及び低圧仕切り室に連通する環状通路を流れるバイパス流を制御するようにされている。
この公知の装置により、上述の先行技術の装置に比べて高圧仕切り室と低圧仕切り室との間のバイパス流は大きくなる。しかしながらその反面、衝撃発生装置の構造が複雑となると共にバイパス弁のために必要なスペースが大きくなるという重大な欠点がある。
上記の二つの公知の装置の両方に伴う別の問題点は、衝撃発生装置の可動部間の密封的共動が比較的長く続くこと、すなわち駆動部材と出力スピンドルとの相対的回転に対して密封期間が長いことにある。従来技術の装置はこのような構造的な特徴をもっているために、バイパス弁の使用しても許容衝撃振動を保つには充分はてない。また流体体積をある一定量降伏させる必要がある。流体それ自体の圧縮性は非常に小さいので、通常、流体室にある一定量の空気が導入される。この空気の体積は流体の体積を圧縮させる能力を高め、それにより衝撃発生装置の可動部間の密封的共動時間は短縮され、衝撃振動は高められる。
可動部間が密封的に係合する時間を短くさせる別の方法は、流体室の仕切り室間に非可変漏れ通路を設けることにある。この構成は通常流体室内へのある一定量の空気の導入と組み合わて用いられる。
しかしながら、衝撃振動を高めるこのような従来技術の方法のいずれも衝撃発生装置の総能力と共に各衝撃のエネルギにとっては不利である。従って、これらの方法のいずれも、衝撃発生装置の許容動作をもたらす解決手段とはなっていない。
通常ある量の空気を流体室に導入している別の理由は、動作中流体の温度に依存した体積変化を充分吸収できる流体の復元力を得ることにあり、それにより、流体室のシールが非常に高い静圧レベルに晒されないようにしている。例え流体室内へ空気を導入する理由があっても、空気は衝撃発生装置の衝撃エネルギ及び出力能力に不利となる。
本発明の主目的は、圧力応動バイパス制御弁を用いて衝撃発生時に可動部間の密封的共動を非常に短くさせることにより、高振動数で動作できしかも高エネルギのトルク衝撃を発生できる流体トルク衝撃発生装置を提供することにある。
本発明の別の目的は、高振動数で高エネルギのトルク衝撃を発生できる構造の簡単な流体トルク衝撃発生装置を提供することにある。
【0004】
【課題を解決するための手段】
上記の課題は、駆動部材と出力スピンドルとの間の有効でしかも継続時間の短い密封期間をもたらししかも大きなバイパス流面積をもたらす構造の簡単な弁装置を有し、それにより高衝撃振動数と高出力能力とをもたらす本発明によるトルク衝撃発生装置によって解決される。
【0005】
【実施例】
以下、添附図面を参照して本発明の実施例について説明する。
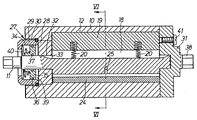
図面に示されたトルク衝撃発生装置は、空気圧で又は電気的に駆動される回転モータ(図示せず)に駆動連結された円筒状の駆動部材10と、出力スピンドル11とを備えている。駆動部材10は、偏心して配置された円筒状の流体室12を備え、その流体室12の内部には出力スピンドル11の後端部が伸びている。流体室12には、通常の方法で、2つの軸線方向に伸びる線形シールランド13,14が形成されており、これらシールランド13,14は相互に径方向に対向して配置され、部分的な円周状の凹所15,16によって分離されている。
出力スピンドル11には、軸方向に伸びる放射状スロット18が形成されており、このスロット18はシール要素又はブレード部材19を移動可能に支持している。スロット18内にはスプリング20が配設され、このスプリング20はシール要素19に外方向に指向されたバイアス力を及ぼす。
出力スピンドル11には、軸方向に伸びるシール隆起部22がスロット18に対して径方向に対向して形成されており、このシール隆起部22は、出力スピンドル11に対する駆動部材10の各周期の短い間隔の間、シールランド13と共働する。シールランド14は、半径が大きい方に配置され、シール隆起部22とは共働しない。シールランド14はシール要素19には周期的に係合する。
シールランド13は非常に狭く、言い換えれば円周方向に対して狭くされており、シール隆起部22に対するシール間隔を制限して、それによって装置駆動中のシール持続時間を低減している。
図面に示した形式の衝撃発生装置においては、シールランド13の幅は、シール隆起部22との共働シール作用が得られるように適合され、駆動部材10と出力スピンドル11との間の丁度5度かそれ以下の相対回転角度に亘って伸びている。シールランド14とシール要素19との接触表面を狭く形成することによっても同様の結果が得られる。
シール隆起部22は軸方向に延長する溝23を備えており、この溝23は接触要素24を支持し、また、通路25を介して流体室12に連通されている。図1及び図2に示した本発明の一実施例によれば、接触要素24は断面円形の棒から成り、予め僅かに湾曲して形成されている。図2を参照すると、接触要素24は、流体室12内に各衝撃発生圧力が発生された時に、通路25を介して溝23に伝達される流体圧力によって、非作用形状から直線的な作用形状に弾性的に変形するように配設される。加えて、出力スピンドル11内の流体伝達通路25が、シール要素スロット18を介して高圧仕切室H.P.に連通され得ることに注意すべきである。
【0006】
図3及び図4に示された本発明の実施例によれば、出力スピンドル11にはT型形状の長手方向溝43が形成されており、この長手方向溝43は通路25を介して流体室12の高圧仕切室H.P.に連通されている。溝43内には、断面T型形状の長手方向接触要素44が支持されている。
図1に示した実施例と対比すると、接触要素44は予め直線状に形成され、引っ込んだ非作用位置と突出した作用位置との間で放射状に平行に移動するように配置される。接触要素44と溝43との間には、二つの波型のリーフスプリング47,48が挿入されている。これらのスプリング47,48は接触要素44を引っ込んだ非作用位置に偏倚させる。
【0007】
図5及び図6に示した本発明の実施例によれば、駆動部材10は、その前端にシール障壁27が設けられている。このシール障壁27は、流体室12を大気に効果的に開放して、低圧に維持された流体圧力の容積変化に対する熱を吸収するための手段を備えている。
出力スピンドルの周りに、この形式のシール障壁を備えたトルク衝撃発生装置は、米国特許A−4,789,373号によって本質的に公知である。
しかし、図5及び図6に示した衝撃発生装置は、その前端壁がリング要素29によって保持された要素28から成る駆動部材10を備えており、前記リング要素29は駆動部材10のソケット部位30内に螺合されている。駆動部材10は、その後端部に、六角形の駆動延長部38及びオイルフィルタプラグ49が設けられた端壁31を備えている。
前側端壁28には中央開口32が形成され、この中央開口32を通って出力スピンドル11が延長している。クリアランスシール33は、開口32内の流体室端壁28と出力スピンドル11との間に形成される。リング要素29は、内部で環状のピストン35を移動可能にガイドするシリンダ孔34を備えている。ピストン35はその外縁に、シリンダ孔34との係合をシールするシールリング36が装着され、また、その内縁に、孔34との係合をシールするシールリング37が装着されている。ピストン35は、孔34と端壁28と一緒に低圧室39を形成し、その低圧室39の容積はピストン35の動きによって変化し得る。スプリング40はピストン35に端壁28に指向されたバイアス力を及ぼし、それによって、室39の容積を減少させる。リング要素29にある同心穴41はピストン35を大気に連通する。
前述の2つの実施例と対比すると、本発明のこの実施例は、線状棒24の形態の接触要素を備えており、ランド13との共働によるシール作用のしゃ断を確保するためのスプリング手段を備えていない。
作動中、駆動手段10はモータによって回転されるが、出力スピンドル11はネジジョイントに堅く結合されている。シールランド13がシール隆起部22と合致し、シールランド14がシール要素19と合致している駆動部材10と出力スピンドル11間の相対回転の各制限された間隔の間、流体室12は高圧仕切室H.P.と低圧仕切室L.P.とに分割される。高圧仕切室H.P.における急激な上昇流体圧力は、接触要素をシールランド13にシール接触させるために、通路25を介して溝23に伝達される。しかし、図1及び図2で説明した本発明の実施例においては、接触要素24は、図2に示した非線状非作用形状から線状作用形状に弾性的に変形される。その直線的な作用形状において、接触要素は、シールランド13と共に流体の堅固なシールを確立する。
この接触要素24のシール作用状態では、高圧仕切室H.P.における圧力はそのピークレベルまで上がり、それによって、駆動部材10の運動エネルギはトルク衝撃として出力スピンドル11に伝達される。この駆動部材10と出力スピンドル11間のエネルギ伝達においては、駆動部材10の回転スピードは実質的に減少される。これは高圧仕切室H.P.内の圧力が非常に短い時間で十分に下げることを意味する。しかし、流体圧力が所定の圧力以下に下がるとすぐに、弾性的に変形可能な接触要素24に本来備わっているばね力によって、接触要素はその非線状形状を再び取り戻し、それによって、流体室12内のシールランド13との共働によるシールは開放される。短絡式バイパス連結が確立され、流体室の仕切室間の異なる圧力が急激に非常に低いレベルまで下がる。
これはシール隆起部22とシール要素19がまだシールランド13及び14と各々合致している間に行われ、流体室の仕切室間が残留圧力差を持つという従来技術の問題点を回避し、衝撃が得られる前に駆動部材10が急激に加速するのを防止する。
【0008】
図3及び図4に示した本発明の実施例による衝撃発生装置による作用は、上述の実施例の作用と非常に似ている。
従って、接触要素44は、流体室12の高圧仕切室H.P.内の圧力によって、リーフスプリング47,48によって及ぼされたバイアス力に抗して、そのシール作用位置まで移動される。駆動部材10の運動エネルギの大部分が出力スピンドル11に伝達され、高圧仕切室H.P.内の圧力は、所定のレベルまで下げられるとすぐに、スプリング47,48によってその非作用位置まで引っ込められる。これによって、短絡式バイパス流がシールランド13とシール隆起部22とを過ぎたところに確立され、駆動部材10が次の衝撃の前に運動エネルギを得るために、ただちに加速され始め得る。
図5及び図6に示した工具の作用の間、駆動部材10と出力スピンドル11間の相対回転によって、出力スピンドル11及び慣性駆動部材10のシール隆起部22とシールランド13とが、及びシール要素19とシールランド14とが各々相互に作用する各々の時に、流体室12の高圧仕切室H.P.で短い持続時間の圧力ピークが繰り返し発生される。
各圧力ピークは通路25を通して伝達され、接触要素42上に作用力を及ぼし、それによって、接触要素42とシールランド13間に共働した効果的なシールを確立する。
シール障壁27の操作手順に関して、出力スピンドル11と端壁開口32との間のクリアランスシール33の幅は、フィールド室ぬふで生成された圧力ピークが低圧室39に到達するのを避けるために注意深く選択される点は、注目すべきである。このことは、温度に依存して静止圧力が増加するためにクリアランスシールをゆっくり通過する加圧流体によってのみ達成される。わずかな、あるいは静的な流体圧、言い換えれば、トルクパルスを発生する圧力ピーク以外の圧力は、スプリング40によって決定される。スプリングは、ピストンシールリング36と37の摩擦抵抗より弱い方が好ましい。これは、ピストンシールリング36と37上で作用する流体圧が非常に低く、慣用的な通常型のシールリングが使用できることを意味する。低圧室39の実際の寸法は、流体の実際の量によって決定され、流体の実際の温度及びプラグ49を介して流体室12に初めに入る流体の量により順次依存する。何回かの操作の後、流体は高温になり膨張する。過剰の流体はクリアランスシール33を通って流れ出て、ピストン35は端壁28から離れる。圧力の増大はスプリング40をさらに圧縮し、漏れの危険を増加させない。
工程が完了した後に工具が冷却されるので、低圧室39内のスプリングで偏倚されたピストン35によって連続的にバックアップされて、流体はクリアランスシール33を通って流体室12内に流れ戻り、流体容積は下がる。
上述した二つの実施例において本発明は、スプリングで偏倚された接触要素を出力スピンドル11上に配置するように説明したが、本発明はこれに制限されない。接触要素は、駆動部材10上に設けても十分であり、特にシールランド13内の溝に設けられ得る。そのような場合、出力スピンドル11上のシール隆起部22は溝掘りされず、駆動部材10上に配設された接触要素と共働してシールするよう適合される。
【図面の簡単な説明】
【図1】 本発明の一実施例に係る衝撃発生装置の横断面図である。
【図2】 図1におけるII-II線に沿った長手方向断面図である。
【図3】 本発明の他の実施例に係る衝撃発生装置の横断面図である。
【図4】 図3におけるIV-IV線に沿った長手方向断面図である。
【図5】 本発明のさらに別の実施例に係る衝撃発生装置の長手方向断面図である。
【図6】 図5におけるVI-VI線に沿った横断面図である。
【符号の説明】
10 駆動部材
11 出力スピンドル
12 流体室
13,14 シールランド
19 シール要素
22 シール隆起部
24,44 弁装置(接触要素)
23 溝
25 通路装置
43 溝
H.P. 高圧仕切室
L.P. 低圧仕切室
Claims (7)
- 駆動部材(10)を有し、この駆動部材(10)が、偏心的に配置された流体室(12)と、この流体室(12)内へのびしかも径方向に可動な少なくとも一つのシール要素(19)を支持し、かつ軸方向にのびる少なくとも一つのシール隆起部(22)をもつ、トルク衝撃を受ける出力スピンドル(11)とを備え、上記流体室(12)が、上記出力スピンドル(11)におけるシール要素(19)と上記シール隆起部 (22) と共動して密封状態にするために、軸方向にのびる複数の線状シールランド (13 、 14) を備え、上記出力スピンドル(11)が、限定された角度での相対回転中に、駆動部材(10)と出力スピンドル(11)との間で、上記流体室(12)を少なくとも一つの高圧仕切り室(H.P.)と少なくとも一つの低高圧仕切り室(L.P.)とに分け、また上記高圧仕切り室(H.P.)内の圧力がある一定のレベル以下である際に上記の限定された角度に亘る相対回転中に上記高圧仕切り室(H.P.)と低圧仕切り室(L.P.)との間をバイパスフローさせる接触要素(24;44)を有する流体トルク衝撃発生装置において、
上記接触要素(24;44)が、上記シール隆起部(22)または上記流体室 (12) における複数の上記線状シールランドの一つ (13) にある、軸方向にのびた溝(23;43)で可動に支持され、しかも上記線状シールランド(13)または上記シール隆起部(22)と共動して密封状態にする、少なくとも一つの細長い接触要素(24;44)を備え、
上記溝(23;43)を上記高圧仕切り室(H.P.)に連結する通路装置(25)が設けられ、それにより上記高圧仕切り室(H.P.)内に、上記高圧仕切り室(H.P.)内の圧力の大きさが上記ある一定のレベル以上の時に接触要素(24;44)を密封状態にさせる流体圧力を発生させ、
また、複数の線状シールランド(13、14)の少なくとも一つが、シール要素(19)及び(または)接触要素(24;44)と共動して密封状態にし、駆動部材(10)と出力スピンドル(11)との間の相対的な回転角度が5°以下で、その回転角度に等しい長さでのびる周囲伸長部を備えている、
ことを特徴とする流体トルク衝撃発生装置。 - 接触要素(24)は、断面が円形のロッドから成っている請求項1に
記載の流体トルク衝撃発生装置。 - 接触要素(24)は、予め非直線状に形成され、そして上記流体圧力により直線状に弾性的に変形され、それにより非密封状態から密封状態へ変える請求項2に記載の流体トルク衝撃発生装置。
- 接触要素(24)が接触要素(24)のほぼ全長にわたってのびるわずかに円弧形状に予め形成される請求項2または3に記載の流体トルク衝撃発生装置。
- 接触要素(44)が予め線状形状に形成され、また、この接触要素(44)を非密封状態に向かって偏倚させるばね装置(47、48)が設けられている請求項1に記載の流体トルク衝撃発生装置。
- 流体室(12)が流体の温度に依存した体積変化を吸収する降伏装置(35、39)と連通している請求項1〜5のいずれか一項に記載の流体トルク衝撃発生装置。
- 降伏装置(35、39)が出力スピンドル(11)の回りの密封障壁(27)によって形成され、そしてクリアランス型の高圧シール(33)と、低圧シール(36、37)を備えた環状ばね偏倚ピストン(35)と、を結合して成る請求項6に記載の流体トルク衝撃発生装置。
Applications Claiming Priority (2)
| Application Number | Priority Date | Filing Date | Title |
|---|---|---|---|
| SE9400270-6 | 1994-01-28 | ||
| SE9400270A SE9400270D0 (sv) | 1994-01-28 | 1994-01-28 | Hydraulic torque impulse generator |
Publications (2)
| Publication Number | Publication Date |
|---|---|
| JPH07276255A JPH07276255A (ja) | 1995-10-24 |
| JP3676837B2 true JP3676837B2 (ja) | 2005-07-27 |
Family
ID=20392724
Family Applications (1)
| Application Number | Title | Priority Date | Filing Date |
|---|---|---|---|
| JP01308895A Expired - Fee Related JP3676837B2 (ja) | 1994-01-28 | 1995-01-30 | 流体トルク衝撃発生装置 |
Country Status (5)
| Country | Link |
|---|---|
| US (1) | US5775999A (ja) |
| EP (1) | EP0665087B1 (ja) |
| JP (1) | JP3676837B2 (ja) |
| DE (1) | DE69500471T2 (ja) |
| SE (1) | SE9400270D0 (ja) |
Families Citing this family (5)
| Publication number | Priority date | Publication date | Assignee | Title |
|---|---|---|---|---|
| DE59508325D1 (de) * | 1995-08-17 | 2000-06-15 | Cooper Ind Inc | Impulswerkzeug |
| JP3615125B2 (ja) * | 2000-03-30 | 2005-01-26 | 株式会社マキタ | オイルユニット及び電動工具 |
| JP4008865B2 (ja) * | 2003-08-01 | 2007-11-14 | 株式会社東洋空機製作所 | 締付具 |
| US8230607B2 (en) | 2008-05-09 | 2012-07-31 | Milwaukee Electric Tool Corporation | Keyless blade clamp for a power tool |
| JP5921385B2 (ja) * | 2012-08-22 | 2016-05-24 | 株式会社マキタ | レシプロソー |
Family Cites Families (12)
| Publication number | Priority date | Publication date | Assignee | Title |
|---|---|---|---|---|
| US3192739A (en) * | 1963-04-18 | 1965-07-06 | Ingersoll Rand Co | Sealing device |
| US3196636A (en) * | 1963-05-15 | 1965-07-27 | Ingersoll Rand Co | Sealing device for power tool |
| US3304746A (en) * | 1965-02-01 | 1967-02-21 | Ingersoll Rand Co | Torque control device |
| US3283537A (en) * | 1965-03-22 | 1966-11-08 | Ingersoll Rand Co | Impulse tool with bypass means |
| US3292391A (en) * | 1965-04-01 | 1966-12-20 | Ingersoll Rand Co | Bypass control device for an impulse tool |
| SE343231B (ja) * | 1969-02-28 | 1972-03-06 | Atlas Copco Ab | |
| US4175408A (en) * | 1976-12-10 | 1979-11-27 | Honda Giken Kogyo Kabushiki Kaisha | Apparatus for absorbing oil pressure in an impact type tool |
| SE459327B (sv) * | 1984-12-21 | 1989-06-26 | Atlas Copco Ab | Hydrauliskt momentimpulsverk |
| SE446070B (sv) * | 1984-12-21 | 1986-08-11 | Atlas Copco Ab | Hydrauliskt momentimpulsverk for vridmomentalstrande verktyg |
| SE451186B (sv) * | 1986-01-23 | 1987-09-14 | Atlas Copco Ab | Hydrauliskt momentimpulsverktyg |
| US5217079A (en) * | 1987-05-05 | 1993-06-08 | Cooper Industries, Inc. | Hydro-impulse screwing device |
| JPH0223964U (ja) * | 1988-07-29 | 1990-02-16 |
-
1994
- 1994-01-28 SE SE9400270A patent/SE9400270D0/xx unknown
-
1995
- 1995-01-27 EP EP95850025A patent/EP0665087B1/en not_active Expired - Lifetime
- 1995-01-27 DE DE69500471T patent/DE69500471T2/de not_active Expired - Fee Related
- 1995-01-30 JP JP01308895A patent/JP3676837B2/ja not_active Expired - Fee Related
-
1996
- 1996-11-08 US US08/748,520 patent/US5775999A/en not_active Expired - Fee Related
Also Published As
| Publication number | Publication date |
|---|---|
| EP0665087B1 (en) | 1997-07-30 |
| US5775999A (en) | 1998-07-07 |
| SE9400270D0 (sv) | 1994-01-28 |
| JPH07276255A (ja) | 1995-10-24 |
| DE69500471T2 (de) | 1998-03-05 |
| DE69500471D1 (de) | 1997-09-04 |
| EP0665087A1 (en) | 1995-08-02 |
Similar Documents
| Publication | Publication Date | Title |
|---|---|---|
| US5544710A (en) | Pulse tool | |
| JP3620806B2 (ja) | 流体トルク衝撃機構 | |
| US10377023B2 (en) | Hydraulic torque impulse generator | |
| EP0521898A4 (en) | Adjustable pressure dual piston impulse clutch | |
| SE432071B (sv) | Hydraulisk impulsmutterdragare | |
| US5799562A (en) | Regenerative braking method and apparatus therefor | |
| JP3676837B2 (ja) | 流体トルク衝撃発生装置 | |
| JP2718500B2 (ja) | 液圧式衝撃トルク発生装置 | |
| IE42302B1 (en) | Improvements in or relating to the braking of hydraulic devices | |
| US3213615A (en) | Hydraulically actuated reciprocable tools | |
| JP3620807B2 (ja) | 流体トルク衝撃装置 | |
| JP3590640B2 (ja) | 液圧トルク衝撃発生装置 | |
| US5735354A (en) | Pulse impact mechanism, in particular for pulse screwing device | |
| US4170924A (en) | Hydraulically powered percussive apparatus | |
| CA2081594A1 (en) | Pressure intensifier cylinder utilizing air | |
| EP0676260A1 (en) | An impulse torque generator for a hydraulic power wrench | |
| CA2213650A1 (en) | Viscous fluid type heat generator with heat generation increasing means | |
| JPH06238573A (ja) | 液圧トルク衝撃発生器 | |
| JP3574568B2 (ja) | スターリングエンジン | |
| GB2053377A (en) | Vibratory piston and cylinder devices | |
| US3282496A (en) | Sealing means for a power driven machine with a rotary piston | |
| RU1827487C (ru) | Уплотнение вала | |
| RU2074962C1 (ru) | Пневматический ротационный двигатель | |
| SU1065644A1 (ru) | Клапан | |
| JPH071534Y2 (ja) | 油圧式動力伝達継手 |
Legal Events
| Date | Code | Title | Description |
|---|---|---|---|
| A131 | Notification of reasons for refusal |
Free format text: JAPANESE INTERMEDIATE CODE: A131 Effective date: 20040706 |
|
| A521 | Written amendment |
Free format text: JAPANESE INTERMEDIATE CODE: A523 Effective date: 20041006 |
|
| TRDD | Decision of grant or rejection written | ||
| A01 | Written decision to grant a patent or to grant a registration (utility model) |
Free format text: JAPANESE INTERMEDIATE CODE: A01 Effective date: 20050405 |
|
| A61 | First payment of annual fees (during grant procedure) |
Free format text: JAPANESE INTERMEDIATE CODE: A61 Effective date: 20050502 |
|
| R150 | Certificate of patent or registration of utility model |
Free format text: JAPANESE INTERMEDIATE CODE: R150 |
|
| FPAY | Renewal fee payment (event date is renewal date of database) |
Free format text: PAYMENT UNTIL: 20090513 Year of fee payment: 4 |
|
| LAPS | Cancellation because of no payment of annual fees |