JP3663539B2 - 検出スイッチ - Google Patents

検出スイッチ Download PDF

Info

Publication number
JP3663539B2
JP3663539B2 JP20677399A JP20677399A JP3663539B2 JP 3663539 B2 JP3663539 B2 JP 3663539B2 JP 20677399 A JP20677399 A JP 20677399A JP 20677399 A JP20677399 A JP 20677399A JP 3663539 B2 JP3663539 B2 JP 3663539B2
Authority
JP
Japan
Prior art keywords
contact
spring
back plate
shaped
spring portion
Prior art date
Legal status (The legal status is an assumption and is not a legal conclusion. Google has not performed a legal analysis and makes no representation as to the accuracy of the status listed.)
Expired - Fee Related
Application number
JP20677399A
Other languages
English (en)
Other versions
JP2001035289A5 (ja
JP2001035289A (ja
Inventor
智志 明神
Current Assignee (The listed assignees may be inaccurate. Google has not performed a legal analysis and makes no representation or warranty as to the accuracy of the list.)
Mik Electronic Corp
Original Assignee
Mik Denshi Kohgyo Co Ltd
Priority date (The priority date is an assumption and is not a legal conclusion. Google has not performed a legal analysis and makes no representation as to the accuracy of the date listed.)
Filing date
Publication date
Application filed by Mik Denshi Kohgyo Co Ltd filed Critical Mik Denshi Kohgyo Co Ltd
Priority to JP20677399A priority Critical patent/JP3663539B2/ja
Priority to US09/500,906 priority patent/US6342684B1/en
Publication of JP2001035289A publication Critical patent/JP2001035289A/ja
Publication of JP2001035289A5 publication Critical patent/JP2001035289A5/ja
Application granted granted Critical
Publication of JP3663539B2 publication Critical patent/JP3663539B2/ja
Anticipated expiration legal-status Critical
Expired - Fee Related legal-status Critical Current

Links

Images

Classifications

    • HELECTRICITY
    • H01ELECTRIC ELEMENTS
    • H01RELECTRICALLY-CONDUCTIVE CONNECTIONS; STRUCTURAL ASSOCIATIONS OF A PLURALITY OF MUTUALLY-INSULATED ELECTRICAL CONNECTING ELEMENTS; COUPLING DEVICES; CURRENT COLLECTORS
    • H01R13/00Details of coupling devices of the kinds covered by groups H01R12/70 or H01R24/00 - H01R33/00
    • H01R13/66Structural association with built-in electrical component
    • H01R13/70Structural association with built-in electrical component with built-in switch
    • H01R13/703Structural association with built-in electrical component with built-in switch operated by engagement or disengagement of coupling parts, e.g. dual-continuity coupling part
    • H01R13/7031Shorting, shunting or bussing of different terminals interrupted or effected on engagement of coupling part, e.g. for ESD protection, line continuity
    • H01R13/7033Shorting, shunting or bussing of different terminals interrupted or effected on engagement of coupling part, e.g. for ESD protection, line continuity making use of elastic extensions of the terminals

Landscapes

  • Push-Button Switches (AREA)
  • Contacts (AREA)

Description

【0001】
【産業上の利用分野】
DVC(デジタルビデオカセット)その他のカセット類、FDその他のディスク類等の各種の対象体が移動してきて、その設定位置(例、端子)に本発明スイッチの接点が接触してスイッチ作動し、それによって種々の電気的検出作用を行うようにした検出スイッチに係り、取付板部、U形ばね部、接点部からなる板ばね片製の接点ばね片において、取付板部とU形ばね部の間に撓みばね部を形成してばねスパンを長く設定することにより、接点ばね片の必要荷重(対象体に対する接点の接触圧)を高精度均一にできると共に接点ばね片の耐久性を革期的に増大した検出スイッチを提供する。
【0002】
【従来技術とその課題】
従来、DVCその他のカセット等の対象体が移動してきて、接点ばね片の接点がその設定位置に接触してスイッチ作動し、それによって種々の検出を行うようにした検出スイッチが広く使用されている。そして、該検出スイッチとして、ワイヤー製の接点ばね片を使用したものと、狭長な板ばね片製の接点ばね片を使用したものがある。
【0003】
ワイヤー製の接点ばね片を使用したものは、例えば、図9に示すように直立状の取付部101の上部にコイル部108を延設し、コイル部108の下部に山形の接点部103を延設した接点ばね片A1を、L形の絶縁性の基台104の背板105の孔106に取付部101を嵌挿固着し、その下端を端子101aとしてベース107の下方に突出し、上部のコイル部108に軸111を挿通すると共にコイル部108の下部の接点部103を背板105の前面に突出し、その下端をベース107のスリット110前端に圧接して備えたものであり、
【0004】
上方から対象体109が移動してきて接点部103の上部に衝突し、接触しつつ接点(頂部)103aに向って下降すると、該接点部103を下方へ引っ張る下方向荷重L1と背板105の方向へ押し付けるような直角方向荷重L2が加わり、該荷重L1、L2がコイル部108のコイルを巻き込むような力として作用して接点ばね片の接点部103およびコイル部108を直角方向へ屈縮する負荷P5が加わりつつ、接点部103の接点103aが対象体109の設定位置に接触しスイッチ作動して検出を行うものである。
【0005】
然るところ、上記のワイヤー製の接点ばね片には下記のような欠点があった。
▲1▼コイル部を円形にコイル巻き成形(3〜4回)するため、コイルの径及び幅のスペースを必要として、スイッチの小形化が難しい。
▲2▼ワイヤーであるため均一正確な成形加工ができず、接点ばね片毎のばらつき(特にばね定数)が生じる。
▲3▼コイルに軸を挿通しなければならず、組立効率が悪い。
▲4▼接点部に金メッキを必要とするが、ワイヤーの場合、連続長素材のため接点部分だけをメッキすることができず、ワイヤー全長に高価な金メッキしなければならず、材料費が板ばね片製の接点ばね片の接点部だけに金メッキしたものに比し、2〜3倍高価になり、当然スイッチのコストも高くなる。
この点が最大の欠点である。
【0006】
上記の欠点がある反面、ワイヤー製の接点ばね片はコイル巻数を調節し、ばねスパンの長さを調節して、耐久性を備えた接点ばね片を提供できる利点もある。
【0007】
上記従来のワイヤー製の接点ばね片の欠点を補うものとして、例えば、図10、図11に示すように、狭長な板ばね片製の接点ばね片を使用することが行われつつある。
そして、該板ばね片製の接点ばね片を使用することにより、上記ワイヤー製のものの上記▲1▼〜▲4▼の欠点をほぼクリヤーできる。
【0008】
ところが、該接点ばね片A2は、接点ばね片として最も重要な点である必要荷重(対象体に対する接点の接触圧)を得たときにおいて充分な耐久性を有しなければならぬ点で、致命的に耐久性に劣るという欠点が判明したのである。
【0009】
それは、直立状の取付板部101の上部にU形ばね部102を延設し、U形ばね部102の下部に山形の接点部103を延設し、U形ばね部102、接点部103の幅を取付板部101の幅より小に形成した上記接点ばね片A2を基台104の背板105に取付けるにつき、その取付板部101全部(U形ばね部102の基部付近まで)を不動状態に嵌合固着するため、
対象体109の接点部103への衝突及び接触下降により接点部103に加わる下方向荷重L1と直角方向荷重L2がが相乗作用して、接点ばね片の接点部103に斜め下方向の負荷P1が加わると、その負荷がそのまま全てU形ばね部102を直角方向に屈縮する負荷P2として加わることとなり、
【0010】
即ち、U形ばね部が直角方向の負荷で屈縮し、その解放で復元する通常のU形ばねとしてだけ作用することとなり、また、本発明のように撓みばね部に相当するものがないため、対象体が接点部へ摩擦下降しても撓み作用が生じることがなく、その結果、短いスパンのU形ばね部の負荷、解放による金属疲労が全てU形ばね部及びその頂点に集中して、短期間で破断してしまう欠点が生じた。
【0011】
更に、固定された取付板部上端から接点部の間のばねスパンが短いため、U形ばね部の板片の幅(太さ)を調節して必要荷重(対象体に対する接点部の接触圧)を調節する場合、僅かに幅(太さ)を大にしただけで急激に荷重が増大し、逆に僅かに小にしただけで急激に荷重が減少してしまって、調節が難しく、そして適合荷重が得られたときのU形ばね部の幅(太さ)では、著しく耐久性が劣る結果となって、この課題の解決が希求されていたものである。
【0012】
【発明が解決した課題】
本発明は、上記の如くワイヤーより優れた特性を有する板ばね片で接点ばね片を設けるにつき、該接点ばね片の取付板部とU形ばね部の間に設定寸法の撓みばね部を形成して、取付板部から接点部までの間のばねスパンを長く形成すると共に撓みばね部が対象体の接触押圧荷重で撓むようにすることにより、接点ばね片の耐久性を革期的に増大して、上記従来の課題を有効に解決したものである。
【0013】
【課題を解決するための手段】
即ち、本発明は、基台と1本以上の板状の接点ばね片とからなる検出スイッチにおいて、上記基台は、上記接点ばね片と対応するように設けられた逃げ孔を備えた背板と、上記背板と直交するように固着されたベースとからなり、上記接点ばね片は、上記背板と固着され取付板部と、この取付板部の一端に延設された撓みばね部と、この撓みばね部の一端に延設されるとともに、上記背板の前面に突出するように形成され、かつ、この背板上端の係止凹部により上端が係合されたU形のU形ばね部と、このU形ばね部に一端が延設されるとともに、対象体との接点が頂点となるように、かつ上記背板の前面に突出するように山形に形成され、更に、他端が上記ベースのスリットに挿入されるように形成された接点部とからなり、上記接点ばね片の取付板部は、上記背板に形成されたスリットに嵌挿固着され、上記接点ばね片の撓みばね部は、上記逃げ孔に対向してなるとともに、上記接点ばね片の接点部に斜め下方向の負荷が加わることにより、この撓みばね部が撓んだときに上記背板に非接触で、かつ上記逃げ孔内に進入するように形成されていることを特徴とする。
【0014】
また、請求項2の発明は、請求項1の発明において、上記U形ばね部、接点部の板幅若しくは太さを上記取付板部より小に形成したことを特徴とする。
【0015】
また、請求項3の発明は、請求項1又は2記載の発明において、上記接点部の板幅若しくは太さをU形ばね部と同じに若しくはU形ばね部よりも小に形成したことを特徴とする。
【0016】
また、請求項4の発明は、請求項1乃至3いずれか1項に記載の発明において、上記撓みばね部は、上記U形ばね部と同じ板幅若しくは太さに形成されるとともに、上記取付板部との長さ比を略2:1に形成されることを特徴とする。
また、請求項5の発明は、請求項1乃至4いずれか1項に記載の発明において、上記基台の上記背板上端には係止凹部が設けられるとともに、この係止凹部に上記U形ばね部の上端が係合されたことを特徴とする。
【0017】
【実施例】
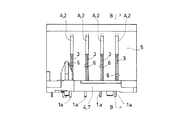
次に、本発明の実施例を図面(図1〜図8)により説明する。
板ばね片の下端を端子1aとした直立状の取付板部1の上端にU形のU形ばね部2を延設し、U形ばね部2の下端に頂部を接点3aとした山形の接点部3を延設し、U形ばね部2、接点部3の板幅若しくは太さを取付板部1より小に形成した接点ばね片を設け、
【0018】
1本以上の接点ばね片の取付板部1をL形の絶縁性の基台4の背板5のスリット6に嵌挿固着して下部の端子1aを基台4のベース7の下方に突出し、U形ばね部2に続く接点部3を背板5の前面に突出し、接点部2の下端をベース7のスリット10に挿入すると共にその前端に圧接して設けた検出スイッチにおいて、
【0019】
接点ばね片Aとして、該接点ばね片Aの取付板部1とU形ばね部2の間に設定寸法の撓みばね部8を備えたものを設けたものであり、(図8参照)
【0020】
1本以上の上記接点ばね片Aの取付板部1をL形の絶縁性の基台4の背板5の取付部5aのスリット6に嵌挿固着して下部の端子1aを基台4のベース7の下方に突出し、背板上端11の係止凹部12にU形ばね部2の上端を係合すると共に接点部3を背板5の前面に突出し、接点部3の下端をベース7のスリット10に挿入すると共にその前端に圧接して設けた、検出スイッチである。また、背板5には、撓みばね部8に対向するように逃げ孔Bが形成されている(図5、図6、図7参照)。
【0021】
接点ばね片AのU形ばね部2の板幅若しくは太さが取付板部1と同じであると、ばね定数が大になってしまうため、取付板部1よりも細く形成しているが、必要に応じて、該U形ばね部2に続く接点部3の板幅若しくは太さをU形ばね部よりも細く形成する。
これは、対象体9が直接接触する接点部3の荷重を均等に揃えやすいため、荷重を軽減するため、また、対象体に接触したときに並列した接点ばね片(図示4本)の接点部相互の間隔を広くするため等の理由による。
【0022】
接点ばね片Aの取付板部1とU形ばね部2の間に本発明の撓みばね部8を設ける場合、接点ばね片A全体の寸法を変更しない場合、例えば、U形ばね部2、接点部3はそのままとして取付板部1の上部3分の1位をU形ばね部2と同じ幅若しくは太さに細く形成し、そこを撓みばね部8とすることによって設ける。
【0023】
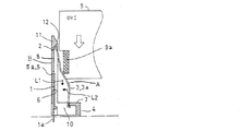
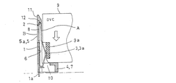
【作用】
上方からDVC等の対象体9が移動してきて山形の接点ばね片Aの接点部3の上部に衝突し、該接点部3に接触しつつ下降し、その接点3aが対象体9の設定位置(例、端子)9aに接触してスイッチ作動して検出を行う。
【0024】
上記の作用において、上方から対象体9が移動してきて山形の接点ばね片Aの接点部3の上部に衝突し、該接点部3に接触しつつその接点3aに向って下降することにより生じる接触摩擦により撓みばね部8とU形ばね部2を下方へ引っ張るように加わる下方向荷重L1と、同じく対象体9が接触しつつ接点部3の接点3aに向って下降することによりU形ばね部2を背板5方向へ押し付け屈縮するように加わる直角方向荷重L2が相乗作用して、接点ばね片Aの接点部3に斜め下方向の負荷P1が加わることによって、U形ばね部2を直角方向に屈縮する負荷P2と撓みばね部8を前傾方向へ撓める負荷P3および該負荷P3が係止凹部12で抑制されるために撓みばね部8を直角方向へ撓める負荷P4が相乗的に作用するものである。この撓みばね部8は、撓んだときに、上記背板5に非接触で、かつ上記逃げ孔B内に進入するように形成されている
【0025】
【効果】
接点ばね片の取付板部(基台の背板に不動固着)とU形ばね部の間にU形ばね部と連続した撓みばね部を設けることによりばねスパンを長く設定できたため、対象体が上方から接点部に衝突し接触しつつ下降して接点部の接点が設定位置に接触する過程で、撓みばね部、U形ばね部及び接点部に下方向荷重と直角方向荷重が相乗的に加わったとき、下方向荷重には撓みばね部の撓み作用、直角方向荷重にはU形ばね部の屈縮作用が対応するが、両作用が相乗的に働くため、特に撓みばね部だけが撓みまたU形ばね部だけが屈縮するのでなく、撓みばね部およびU形ばね部の全体として撓み屈縮することとなり、よって、従来の板ばね片製の接点ばね片ではそのU形ばね部だけが強い屈縮、復元を繰り返すため短期間で金属疲労を生じ破断していたのと異なり、接点ばね片の耐久性を革期的に向上し得る。
【0026】
同じく、撓みばね部を設けてばねスパンを長く設置できたため、U形ばね部、接点部の板幅、太さ等を従来より大(耐久性大)にしても必要荷重(対象体の設定位置に対する接点の接触圧)が容易に得られ、よって荷重調節範囲を広くとれて調節が容易であると共に、これによっても耐久性を向上し得る。
【図面の簡単な説明】
【図1】本発明実施例検出スイッチの正面図。
【図2】図1の平面図。
【図3】図1の右側面図。
【図4】図1の左側面図。
【図5】図1のB−B線断面図。
【図6】図5の作用図で対象体の設定位置(例、端子)に接点が接触(スイッチ作動→検出)した図。
【図7】接点ばね片の作用説明図。
【図8】接点ばね片の正面図、平面図、右側面図、及び左側面図。
【図9】ワイヤー製の接点ばね片を使用した従来の検出スイッチの作用説明図。
【図10】板ばね片製の接点ばね片を使用した従来の検出スイッチの作用説明図。
【図11】図10の接点ばね片の右側面図、及び左側面図。
【符号の説明】
A 接点ばね片
B 逃げ孔
L1 下方向荷重
L2 直角方向荷重
P1〜P5 負荷
1 取付板部
1a 端子
2 U形ばね部
3 接点部
3a 接点(接点)
4 基台
5 背板
5a 取付板
6 スリット(取付板)
7 ベース
8 撓みばね部
9 対象体(例、DVC)
9a 設定位置(例、端子)
10 スリット
11 背板上端
12 係止凹部
(以下従来例)
A1 接点ばね片(ワイヤー製)
A2 接点ばね片(板ばね片製)
101 取付部若しくは取付板部
102 U形ばね部
103 接点部
103a 接点(頂部)
104 基台
105 背板
106 孔若しくはスリット(背板)
107 ベース
108 コイル部
109 対象体
110 スリット(ベース)
111 軸

Claims (5)

  1. 基台と1本以上の板状の接点ばね片とからなる検出スイッチにおいて、
    上記基台は、
    上記接点ばね片と対応するように設けられた逃げ孔を備えた背板と、
    上記背板と直交するように固着されたベースとからなり、
    上記接点ばね片は、
    上記背板と固着され取付板部と、
    この取付板部の一端に延設された撓みばね部と、
    この撓みばね部の一端に延設されるとともに、上記背板の前面に突出するように形成され、かつ、この背板上端の係止凹部により上端が係合されたU形のU形ばね部と、
    このU形ばね部に一端が延設されるとともに、対象体との接点が頂点となるように、かつ上記背板の前面に突出するように山形に形成され、更に、他端が上記ベースのスリットに挿入されるように形成された接点部とからなり、
    上記接点ばね片の取付板部は、
    上記背板に形成されたスリットに嵌挿固着され、
    上記接点ばね片の撓みばね部は、
    上記逃げ孔に対向してなるとともに、上記接点ばね片の接点部に斜め下方向の負荷が加わることにより、この撓みばね部が撓んだときに上記背板に非接触で、かつ上記逃げ孔内に進入するように形成されている
    ことを特徴とする検出スイッチ。
  2. 上記U形ばね部、接点部の板幅若しくは太さを上記取付板部より小に形成したこと
    を特徴とする請求項1記載の検出スイッチ。
  3. 上記接点部の板幅若しくは太さをU形ばね部と同じに若しくはU形ばね部よりも小に形成したこと
    を特徴とする請求項1又は2記載の検出スイッチ。
  4. 上記撓みばね部は、
    上記U形ばね部と同じ板幅若しくは太さに形成されるとともに、上記取付板部との長さ比を略2:1に形成されること
    を特徴とする請求項1乃至3いずれか1項に記載の検出スイッチ。
  5. 上記基台の上記背板上端には係止凹部が設けられるとともに、この係止凹部に上記U形ばね部の上端が係合されたこと
    を特徴とする請求項1乃至4いずれか1項に記載の検出スイッチ。
JP20677399A 1999-07-21 1999-07-21 検出スイッチ Expired - Fee Related JP3663539B2 (ja)

Priority Applications (2)

Application Number Priority Date Filing Date Title
JP20677399A JP3663539B2 (ja) 1999-07-21 1999-07-21 検出スイッチ
US09/500,906 US6342684B1 (en) 1999-07-21 2000-02-09 Device for detecting objects moved downwardly to operate a switch

Applications Claiming Priority (1)

Application Number Priority Date Filing Date Title
JP20677399A JP3663539B2 (ja) 1999-07-21 1999-07-21 検出スイッチ

Publications (3)

Publication Number Publication Date
JP2001035289A JP2001035289A (ja) 2001-02-09
JP2001035289A5 JP2001035289A5 (ja) 2005-04-07
JP3663539B2 true JP3663539B2 (ja) 2005-06-22

Family

ID=16528859

Family Applications (1)

Application Number Title Priority Date Filing Date
JP20677399A Expired - Fee Related JP3663539B2 (ja) 1999-07-21 1999-07-21 検出スイッチ

Country Status (2)

Country Link
US (1) US6342684B1 (ja)
JP (1) JP3663539B2 (ja)

Families Citing this family (2)

* Cited by examiner, † Cited by third party
Publication number Priority date Publication date Assignee Title
JP3961224B2 (ja) * 2001-02-26 2007-08-22 アルプス電気株式会社 カード用コネクタ装置
DE102016108319B4 (de) * 2016-05-04 2018-08-02 Amphenol-Tuchel Electronics Gmbh Schaltfederanordnung

Family Cites Families (8)

* Cited by examiner, † Cited by third party
Publication number Priority date Publication date Assignee Title
US3858019A (en) * 1973-04-30 1974-12-31 R Muri Flex spring contact switch for push buttons
DE8531990U1 (de) * 1985-11-13 1986-01-16 C.A. Weidmüller GmbH & Co, 4930 Detmold Elektrischer Doppelsteckverbinder mit Kurzschlußbrücke
JPH0528667Y2 (ja) * 1987-10-22 1993-07-23
US4885435A (en) * 1988-12-23 1989-12-05 Telephone And Telegraph Company Cantilever spring switch having multiple fulcrums
DE4222794C2 (de) 1991-07-13 1994-10-13 Mitsuku Denshi Kogyo Druckschalter
JP3253805B2 (ja) * 1994-07-08 2002-02-04 タイコエレクトロニクスアンプ株式会社 短絡型電気コネクタ
JP3079274B2 (ja) * 1997-05-12 2000-08-21 エスエムケイ株式会社 スイッチ付同軸コネクタ
JP2973402B2 (ja) * 1997-05-19 1999-11-08 山一電機株式会社 メモリカードの読取装置におけるカード終端検出装置

Also Published As

Publication number Publication date
US6342684B1 (en) 2002-01-29
JP2001035289A (ja) 2001-02-09

Similar Documents

Publication Publication Date Title
EP1402563B1 (en) Interposer assembly and method
KR950009900B1 (ko) 전기부품용 소케트에 있어서의 접촉부
EP1632011B1 (en) Electrical connector
US20090298355A1 (en) Electrical Connector
US20190288408A1 (en) Conductive component structure of electrical wire connection device
KR20020045557A (ko) 이방향 변위를 나타내는 스위치
EP3425740A1 (en) Conductive component structure for wire connection terminal
EP1349240B1 (en) Connector in which movement of contact portion of contact is guided by insulator
EP0413240B1 (en) Electrical contact
JP3663539B2 (ja) 検出スイッチ
TWM550925U (zh) 用於電聯接端子之金屬彈片保護結構
US7147477B2 (en) High density electrical connector
US4002871A (en) Column leaf spring push-button switch for use in a keyboard
EP0216466B1 (en) Stamped circuitry assembly
US20070051602A1 (en) Sealed pushbutton switch
CN107104303B (zh) 电联接端子结构
EP1734548A2 (en) Switch device
US4336431A (en) Solderless circuit board contact
JP3196375B2 (ja) プッシュスイッチ
US5028752A (en) Push button device
US7014489B2 (en) Land grid array connector assembly
US8143538B2 (en) Multi-directional operating switch assembly
JPH0729456A (ja) 検出スイッチ
US6315592B1 (en) Zero insertion force socket
JP3128436B2 (ja) 押釦スイッチ

Legal Events

Date Code Title Description
A621 Written request for application examination

Free format text: JAPANESE INTERMEDIATE CODE: A621

Effective date: 20040428

RD02 Notification of acceptance of power of attorney

Free format text: JAPANESE INTERMEDIATE CODE: A7422

Effective date: 20040428

A521 Written amendment

Free format text: JAPANESE INTERMEDIATE CODE: A523

Effective date: 20040519

A871 Explanation of circumstances concerning accelerated examination

Free format text: JAPANESE INTERMEDIATE CODE: A871

Effective date: 20040519

A521 Written amendment

Free format text: JAPANESE INTERMEDIATE CODE: A821

Effective date: 20040428

A975 Report on accelerated examination

Free format text: JAPANESE INTERMEDIATE CODE: A971005

Effective date: 20040628

A131 Notification of reasons for refusal

Free format text: JAPANESE INTERMEDIATE CODE: A131

Effective date: 20040712

A521 Written amendment

Free format text: JAPANESE INTERMEDIATE CODE: A523

Effective date: 20040805

A131 Notification of reasons for refusal

Free format text: JAPANESE INTERMEDIATE CODE: A131

Effective date: 20041008

A521 Written amendment

Free format text: JAPANESE INTERMEDIATE CODE: A523

Effective date: 20041125

TRDD Decision of grant or rejection written
A01 Written decision to grant a patent or to grant a registration (utility model)

Free format text: JAPANESE INTERMEDIATE CODE: A01

Effective date: 20050316

A61 First payment of annual fees (during grant procedure)

Free format text: JAPANESE INTERMEDIATE CODE: A61

Effective date: 20050316

R150 Certificate of patent or registration of utility model

Free format text: JAPANESE INTERMEDIATE CODE: R150

LAPS Cancellation because of no payment of annual fees
S531 Written request for registration of change of domicile

Free format text: JAPANESE INTERMEDIATE CODE: R313531

R350 Written notification of registration of transfer

Free format text: JAPANESE INTERMEDIATE CODE: R350