JP3634820B2 - 硬化材充填型枠および硬化材の充填方法 - Google Patents
硬化材充填型枠および硬化材の充填方法 Download PDFInfo
- Publication number
- JP3634820B2 JP3634820B2 JP2002150391A JP2002150391A JP3634820B2 JP 3634820 B2 JP3634820 B2 JP 3634820B2 JP 2002150391 A JP2002150391 A JP 2002150391A JP 2002150391 A JP2002150391 A JP 2002150391A JP 3634820 B2 JP3634820 B2 JP 3634820B2
- Authority
- JP
- Japan
- Prior art keywords
- material filling
- hardener
- cylindrical body
- filling
- mold
- Prior art date
- Legal status (The legal status is an assumption and is not a legal conclusion. Google has not performed a legal analysis and makes no representation as to the accuracy of the status listed.)
- Expired - Fee Related
Links
- 239000000463 material Substances 0.000 title claims description 95
- 238000000034 method Methods 0.000 title claims description 17
- 230000003014 reinforcing effect Effects 0.000 claims description 33
- 238000002347 injection Methods 0.000 claims description 25
- 239000007924 injection Substances 0.000 claims description 25
- 239000004848 polyfunctional curative Substances 0.000 claims description 22
- 125000006850 spacer group Chemical group 0.000 claims description 21
- 230000008878 coupling Effects 0.000 claims description 16
- 238000010168 coupling process Methods 0.000 claims description 16
- 238000005859 coupling reaction Methods 0.000 claims description 16
- 238000009415 formwork Methods 0.000 claims description 9
- 230000002787 reinforcement Effects 0.000 claims description 8
- 229910000831 Steel Inorganic materials 0.000 description 18
- 239000010959 steel Substances 0.000 description 18
- 239000011162 core material Substances 0.000 description 17
- 239000004568 cement Substances 0.000 description 9
- 238000005553 drilling Methods 0.000 description 8
- 239000008267 milk Substances 0.000 description 7
- 210000004080 milk Anatomy 0.000 description 7
- 235000013336 milk Nutrition 0.000 description 7
- 238000005452 bending Methods 0.000 description 6
- 238000010276 construction Methods 0.000 description 6
- 238000004873 anchoring Methods 0.000 description 3
- 229920006231 aramid fiber Polymers 0.000 description 3
- 238000010586 diagram Methods 0.000 description 3
- 238000003780 insertion Methods 0.000 description 3
- 230000037431 insertion Effects 0.000 description 3
- 230000001681 protective effect Effects 0.000 description 3
- 239000004760 aramid Substances 0.000 description 2
- 238000009412 basement excavation Methods 0.000 description 2
- 239000004567 concrete Substances 0.000 description 2
- 238000002788 crimping Methods 0.000 description 2
- 238000009434 installation Methods 0.000 description 2
- 239000007788 liquid Substances 0.000 description 2
- 239000004570 mortar (masonry) Substances 0.000 description 2
- 230000006641 stabilisation Effects 0.000 description 2
- 238000011105 stabilization Methods 0.000 description 2
- 239000000057 synthetic resin Substances 0.000 description 2
- 229920003002 synthetic resin Polymers 0.000 description 2
- 238000003466 welding Methods 0.000 description 2
- 239000004925 Acrylic resin Substances 0.000 description 1
- 229920000178 Acrylic resin Polymers 0.000 description 1
- OKTJSMMVPCPJKN-UHFFFAOYSA-N Carbon Chemical compound [C] OKTJSMMVPCPJKN-UHFFFAOYSA-N 0.000 description 1
- BZHJMEDXRYGGRV-UHFFFAOYSA-N Vinyl chloride Chemical compound ClC=C BZHJMEDXRYGGRV-UHFFFAOYSA-N 0.000 description 1
- 230000001070 adhesive effect Effects 0.000 description 1
- 229920003235 aromatic polyamide Polymers 0.000 description 1
- 229910052799 carbon Inorganic materials 0.000 description 1
- 230000000694 effects Effects 0.000 description 1
- 239000004744 fabric Substances 0.000 description 1
- 239000002184 metal Substances 0.000 description 1
- 230000002093 peripheral effect Effects 0.000 description 1
- 238000002791 soaking Methods 0.000 description 1
- 230000000087 stabilizing effect Effects 0.000 description 1
- 229920002803 thermoplastic polyurethane Polymers 0.000 description 1
Images
Landscapes
- Consolidation Of Soil By Introduction Of Solidifying Substances Into Soil (AREA)
- Excavating Of Shafts Or Tunnels (AREA)
Description
【発明の属する技術分野】
本発明は硬化材充填型枠および硬化材の充填方法に関する。詳しくは地盤補強、又は地盤改良としての地中防護杭を建造するための硬化材充填型枠および硬化材の充填方法に係るものである。
【0002】
【従来の技術】
従来より地上の建物や通路、鉄道などの構造物の直下にトンネルを建設する場合、これらの構造物が地盤沈下による破損、倒壊などの事故発生の原因となるのを防ぐための防護方法としてパイプルーフ工法がある。
【0003】
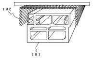
このパイプルーフ工法は図11に示すように、防護を必要とする対象構造物101の直下に上載荷重に適応できる鋼管102を場合によっては溶接で継ぎ足しながら油圧作動の掘進機を使って所定の区間を埋設併置し、更に鋼管102と地山との隙間に生コンクリート・モルタル・セメントミルクを充填し、対象構造物101を下から支承する構造とするものである。
【0004】
また鉄道や道路などのトンネル工事では、地中掘削における地山の地盤沈下による崩落を防ぐために図12に示すように、鋼管102を場合によっては溶接で継ぎ足しながら油圧作動の掘進機を使ってアーチ状に埋設併置し、更に鋼管102と地山との隙間に生コンクリート・モルタル・セメントミルクを充填して地山を補強して、鋼管長さ分の掘削を行った後に、再び鋼管による埋設併置を行いながらの掘削を行う構成とするものである。
【0005】
【発明が解決しようとする課題】
しかしながら鋼管による地盤補強では、鋼管長さを充分に考慮した広さの作業場が必要となってくる。従って狭小な作業場あるいはトンネル内などのように、限られた場所では短尺物を溶接によって接合しながらの作業となり非常に煩雑となる問題がある。
【0006】
また、鋼管と地山との隙間への充填では地山との密着性を高めるために、注入圧力を上げる必要があるが、注入圧力を上げれば上げるほど、セメントなどの硬化材が地山内に流出して硬化材のロスが生じると共に密着性効果を高めるまでには至らない問題がある。
【0007】
更にトンネル内では鋼管の運搬に非常に手間を要し、掘進機を使って鋼管による掘削では、鋼管の長さが制限されることとなり、かつトンネル開口縁に対して放射状に鋼管が掘進されることから、鋼管を隣接配置することができない問題が生じる。
【0008】
本発明は、以上の点に鑑みて創案されたものであって、運搬性に優れ、かつ地山との密着性を高めた硬化材充填型枠および硬化材の充填方法を提供することを目的とするものである。
【0009】
【課題を解決するための手段】
上記の目的を達成するために、本発明に係る硬化材充填型枠は、可撓性素材より成る中空状の筒体と、前記筒体の少なくとも一端側に配置される連結用カップラーと、前記筒体内に配置される少なくとも1の配筋用スペーサーと、前記配筋用スペーサーによって配置される複数の配筋用芯材を備える。
【0012】
ここで、可撓性素材より成る中空状の型枠内に配筋用スペーサーによって配置される配筋用芯材を備えることによって、弾力・柔軟性に富む可曲性に優れた型枠となると共に、連結用カップラーによって型枠同志を連結することが可能となる。又配筋用芯材によって硬化材の型枠内への注入・硬化により曲げ強度が増大する。
【0013】
上記の目的を達成するために、本発明に係る硬化材の充填方法は、可撓性素材より成る中空状の筒体と、該筒体の少なくとも一端側に配置される連結用カップラーと、該筒体内に配置される少なくとも1の配筋用スペーサーと、該配筋用スペーサーによって配置される複数の配筋用芯材を備える硬化材充填型枠を用いた硬化材の充填方法であって、地山に形成された穴に、前記複数の硬化材充填型枠を前記連結用カップラーによって連結し挿入する工程と、前記筒体内に硬化材を注入する工程を備える。
【0014】
ここで、地盤補強のための防護工として地山に形成される穴に、硬化材充填型枠を挿入し、硬化材充填型枠内に硬化材を注入することによって、型枠内に硬化材が充填されることで地中に防護、又は強化用の梁、杭が形成される。また、又配筋用芯材によって硬化材の型枠内への注入・硬化により曲げ強度が増大する。
【0015】
【発明の実施の形態】
以下、本発明の実施の形態を図面を参酌しながら説明し、本発明の理解に供する。
【0016】
図1に、本発明を適用した硬化材充填型枠の一例を説明するための断面側面図を示す。
ここで示す硬化材充填型枠1は、可撓性の筒体2と、この筒体2の両側開口端に装着される連結用カップラー3と、筒体2内に配筋用芯材4を配置する配筋用スペーサー5と、硬化材注入ホース6とから構成される。
【0017】
ここで、筒体2は、アラミド繊維より形成されており、このアラミド繊維は、耐衝撃性、耐疲労性等の機械的性質に優れており、更にセメントミルクなどの硬化材を圧入することで、膨張し、硬化材が浸み込む機能を有するものである。
【0018】
また、連結用カップラー3は、筒体2の両側開口端に装着され、この外周面に沿ってネジ部7が周設されている。そこで図2に示すように、連結しようとする2個の硬化材充填型枠1の連結用カップラー3同志を、連結リング8によって互いに螺合し連結できる構成とするものである。
【0019】
また、配筋用芯材4は、PC鋼線により形成されており、このPC鋼線は引っ張り強度および曲げ強度に優れた性能を有するものである。この配筋用芯材4は連結用カップラー3を挿通した状態で圧着グリップ13によって固定されることで連結用カップラー3間を渡設した構成とされるものである。
そこで図3に示すように、連結用カップラー間に渡設されるこれらの配筋用芯材4は、配筋用スペーサー5によって型枠2内の円周方向に沿って配置される。
【0020】
配筋用スペーサー5は、その円周縁に沿って一定間隔ごとに配筋用芯材係留用溝部9が切欠形成される。この配筋用芯材係留用溝部9は、その開口径が配筋用芯材径よりやや小さめに形成されることによって配筋用芯材係留用溝部9内に挿入される配筋用芯材4は筒状の型枠の長手方向に沿って、かつその円周方向上の一定間隔ごとに支持されることになる。
【0021】
また、配筋用スペーサー5の中央には注入ホース挿入用穴部10が貫設されると共に、図4に示すように連結用カップラー3の中央に、注入ホース挿入用穴部10が貫設されるものである。
【0022】
更に硬化材注入ホース6は図5に示すように、その長手方向に沿って硬化材噴出穴部11が穿孔されるものであり、この硬化材噴出穴部11には硬化材注入ホース6の内圧によって開き硬化材を筒体内へ噴出し、筒体内から硬化材注入ホース6内への進入を防ぐための逆止弁12がそれぞれ設けられた構成とするものである。
【0023】
なお、筒体は必ずしもアラミド繊維より形成される必要性は無く、可撓性および膨張性を有するものであればいかなるものであっても良いが、セメントミルクなどの硬化材を圧入よる耐衝撃性、耐疲労性等の機械的性質に耐える素材のものが好ましい。
また、型枠の形状として円筒形に必ずしも形成される必要は無く、状況に応じて三角形、四角形や台形などいかなる形状であっても構わない。この場合には配筋用スペーサーも型枠の形状に合わせた形状とすることが望ましい。
更に硬化材の圧入により膨張性を有するとは、配筋用スペーサーによる断面面積より大きくなるように予めその長さに余裕を持たせた状態で筒体を連結用カップラー間に装着することによって膨張させる機構や筒体を硬化材の圧入により膨張する素材によって形成することが考えられる。
【0024】
また、配筋用芯材は必ずしもPC鋼線により形成される必要性は無く、引っ張り強度および曲げ強度に優れた性能を有するものであれば、ピアノ線などの金属線、あるいはアラミド系のカーボン線などの合成樹脂線などいかなるものであっても良いが、弾力性を併せ持つことによって硬化材充填型枠を自在に折り曲げることができる芯材であることが好ましい。
【0025】
更に配筋用スペーサーおよび連結用カップラーは、配筋用芯材を定位置に保持すると共に、硬化材充填型枠の断面構造が保持されることで、硬化材の注入により筒体が膨張した場合でも配筋用スペーサーと配筋用芯材による断面強度が保持されることとなる。
【0026】
また、硬化材注入ホースは塩化ビニールなど自在に曲げることが可能なフレキシブルな素材であることが好ましく、更にその両側端の少なくとも一端側に開閉弁を設けることで硬化材の注入量を調整できる機構とすることが望ましいものである。
【0027】
本発明の硬化材充填型枠では、フレキシブルな筒体とPC鋼線による配筋用芯材により自在に折り曲げることが可能となる。
【0028】
また、図6に示すように、複数個の硬化材充填型枠1を連結用カップラー3と連結リング8によって互いに連結することで、例えばパイプルーフ工法における地山削孔深さに応じて長さ調整が自在に行うことが可能となる。
【0029】
図7および図8に、本発明を適用した硬化材充填型枠による硬化材の充填方法の一例を説明するための説明図を示す。
【0030】
例えばトンエル坑口部における地盤の安定をはかるための地盤安定化工法として、地山Aにドリルパイプ14によって削孔15を形成する。
【0031】
そしてドリルパイプ14内に、前記本発明を適用した硬化材充填型枠の一例で詳述したように、可撓性の筒体2と、この筒体2の両側開口端に装着される連結用カップラー3と、型枠2内に配筋用芯材4を配置する配筋用スペーサー5と、硬化材注入ホース6とから構成される硬化材充填型枠1を挿入する。
【0032】
次にドリルパイプ14を削孔15から抜き取り、削孔15内に硬化材充填型枠1を残置した状態で、硬化材注入ホース6にセメントミルクによる硬化材を供給する供給ホース16を接続し、硬化材17の加圧注入を行う。
【0033】
そこで図9に示すように、硬化材注入ホース6を介して筒体2内に充填される硬化材17は、筒体2内に充填された後、その注入圧力によって筒体2が膨張して削孔15内壁面に圧着するまで膨張し、地山の圧力と均衡した状態での硬化材の充填が行われることとなる。
【0034】
この場合に筒体が織布など透水性を有する素材であれば、硬化材に含まれる水分が筒体を通して筒体外に排出されることで密度の高い硬化材が筒体内に形成され、かつ地山と筒体との密着性が高められることとなる。
【0035】
このようにして硬化材を充填した後、硬化材の硬化によって削孔内に密着した状態での硬化材による補強構造体が形成されることとなる。
ここで、筒体内には配筋用スペーサーによって配筋用芯材を定位置に保持されることで硬化材充填型枠の断面強度が保持されることとなる。
【0036】
また、図10に示すように、屈曲した削孔15に対して硬化材充填型枠1を削孔15の曲径に応じて折り曲げながら挿入し、更に硬化材充填型枠1同志を互いに連結することにより削孔15内の全長に渡り硬化材充填型枠の設置を行う。
【0037】
そして硬化材注入ホース6にセメントミルクによる硬化材を供給する供給ホース16を接続し、硬化材の加圧注入を行い、その注入圧力によって筒体2が膨張して削孔15内壁面に圧着するまで硬化材を充填することとなる。
従って大きな曲率を有する削孔に対しても自在に折り曲げることが硬化材充填型枠によって削孔内に硬化材を充填することが可能となる。
【0038】
なお、硬化材は必ずしもセメントミルクなどのセメント系である必要性は無く、ウレタン樹脂液やアクリル樹脂液などの合成樹脂系であっても構わなく、短時間での硬化が行え、かつ硬化後の強度に優れている素材であることが好ましい。
【0039】
また、本発明を適用した硬化材充填型枠は、トンネル坑口部における地盤の安定をはかるための地盤安定化工法としての防護杭の他に、軟弱地における地盤改良としての基礎杭などあらゆる梁構造物および杭構造の型枠として使用できるものである。
更に型枠の形状として円筒形に必ずしも形成される必要は無く、状況に応じて三角形、四角形や台形などいかなる形状であっても構わない。この場合には配筋用スペーサーも型枠の形状に合わせた形状とすることが望ましい。
【0040】
【発明の効果】
以上述べて来た如く本発明を適用した硬化材充填型枠よれば、可撓性および可曲性を有したフレキシブルな型枠であることにより、トンネル内などの狭い工事現場にあってもロープ状に曲げて搬入することが可能となり、かつ削孔内への挿入も折り曲げながら挿入することが可能となる。
また、硬化材充填型枠による硬化材の充填により削孔内に密着した強固な構造物を形成することが可能となる。
【図面の簡単な説明】
【図1】本発明を適用した硬化材充填型枠の一例を示すための断面説明図である。
【図2】本発明を適用した硬化材充填型枠の連結用カップラーによる連結機構の一例を示す説明図である。
【図3】本発明を適用した硬化材充填型枠の配筋用スペーサーの一例を示す説明図である。
【図4】本発明を適用した硬化材充填型枠の連結用カップラーの一例を示す正面説明図である。
【図5】本発明を適用した硬化材充填型枠の硬化材注入ホースの一例を示す断面説明図である。
【図6】本発明を適用した硬化材充填型枠を連結した状態を示す説明図である。
【図7】本発明を適用した硬化材充填型枠による硬化材の充填方法の一例を説明するための第1工程による説明図である。
【図8】本発明を適用した硬化材充填型枠による硬化材の充填方法の一例を説明するための第2工程による説明図である。
【図9】本発明を適用した硬化材充填型枠による硬化材の充填状態を示す断面説明図である。
【図10】本発明を適用した硬化材充填型枠による硬化材の充填方法の他の例を説明するための説明図である。
【図11】パイプルーフ工法におけるパイプの設置例を示す説明図である。
【図12】パイプルーフ工法におけるパイプの他の設置例を示す説明図である。
【符号の説明】
1 硬化材充填型枠
2 筒体
3 連結用カップラー
4 配筋用芯材
5 配筋用スペーサー
6 硬化材注入ホース
7 ネジ部
8 連結リング
9 配筋用芯材係留用溝部
10 注入ホース挿通用穴部
11 硬化材噴出穴部
12 逆止弁
13 圧着グリップ
14 ドリルパイプ
15 削孔
16 供給ホース
17 硬化材
Claims (5)
- 可撓性素材より成る中空状の筒体と、
前記筒体の少なくとも一端側に配置される連結用カップラーと、
前記筒体内に配置される少なくとも1の配筋用スペーサーと、
前記配筋用スペーサーによって配置される複数の配筋用芯材を備える
ことを特徴とする硬化材充填型枠。 - 前記筒体が硬化材の注入により膨張する
ことを特徴とする請求項1記載の硬化材充填型枠。 - 前記筒体内に、硬化材注入ホースを設けた
ことを特徴とする請求項1または2に記載の硬化材充填型枠。 - 可撓性素材より成る中空状の筒体と、該筒体の少なくとも一端側に配置される連結用カップラーと、該筒体内に配置される少なくとも1の配筋用スペーサーと、該配筋用スペーサーによって配置される複数の配筋用芯材を備える硬化材充填型枠を用いた硬化材の充填方法であって、
地山に形成された穴に、前記複数の硬化材充填型枠を前記連結用カップラーによって連結し挿入する工程と、
前記筒体内に硬化材を注入する工程を備える
ことを特徴とする硬化材の充填方法。 - 前記筒体が硬化材の注入により膨張する
ことを特徴とする請求項4記載の硬化材の充填方法。
Priority Applications (1)
| Application Number | Priority Date | Filing Date | Title |
|---|---|---|---|
| JP2002150391A JP3634820B2 (ja) | 2002-05-24 | 2002-05-24 | 硬化材充填型枠および硬化材の充填方法 |
Applications Claiming Priority (1)
| Application Number | Priority Date | Filing Date | Title |
|---|---|---|---|
| JP2002150391A JP3634820B2 (ja) | 2002-05-24 | 2002-05-24 | 硬化材充填型枠および硬化材の充填方法 |
Publications (2)
| Publication Number | Publication Date |
|---|---|
| JP2003342943A JP2003342943A (ja) | 2003-12-03 |
| JP3634820B2 true JP3634820B2 (ja) | 2005-03-30 |
Family
ID=29768261
Family Applications (1)
| Application Number | Title | Priority Date | Filing Date |
|---|---|---|---|
| JP2002150391A Expired - Fee Related JP3634820B2 (ja) | 2002-05-24 | 2002-05-24 | 硬化材充填型枠および硬化材の充填方法 |
Country Status (1)
| Country | Link |
|---|---|
| JP (1) | JP3634820B2 (ja) |
Families Citing this family (1)
| Publication number | Priority date | Publication date | Assignee | Title |
|---|---|---|---|---|
| JP4755130B2 (ja) * | 2007-03-22 | 2011-08-24 | 鹿島建設株式会社 | 補強具および地山補強工法 |
-
2002
- 2002-05-24 JP JP2002150391A patent/JP3634820B2/ja not_active Expired - Fee Related
Also Published As
| Publication number | Publication date |
|---|---|
| JP2003342943A (ja) | 2003-12-03 |
Similar Documents
| Publication | Publication Date | Title |
|---|---|---|
| JP5274145B2 (ja) | 場所打ち杭およびその構築方法 | |
| JP4659513B2 (ja) | 中空柱状物の補強方法。 | |
| KR101605028B1 (ko) | 개선된 구조의 영구앵커 공법용 선단정착앵커 | |
| KR100914158B1 (ko) | 무지보형의 차수벽 흙막이공법 | |
| KR101066641B1 (ko) | 프리스트레스형 선지보 터널 시공 방법 및 이에 적합한 장치 | |
| KR101447021B1 (ko) | 소일네일 구조체 및 이를 이용한 사면보강공법 | |
| JP6872231B2 (ja) | 長期耐久性を有する岩盤斜面の補強構造およびその施工方法 | |
| KR100937237B1 (ko) | 복합 쏘일네일링 지반보강장치 및 이를 이용한 복합 쏘일네일링공법 | |
| KR101029311B1 (ko) | 가설 복합관을 이용한 관로와 터널 비굴착 매설공법 | |
| KR100933220B1 (ko) | 보강토 옹벽의 배부름 현상에 대한 보수 및 보강방법과이에 사용되는 소일네일 구조체 | |
| KR101488721B1 (ko) | 지중 앵커파일의 구근확장방법 및 상기 방법에 사용되는 구근확장장치 | |
| KR101677017B1 (ko) | 중공관을 이용한 근접 병렬터널 시공방법 | |
| KR100901804B1 (ko) | 터널누수 제어방법 | |
| JP6474994B2 (ja) | コンクリート構造物のせん断補強方法 | |
| KR102176457B1 (ko) | 소일 네일 장치 및 이를 이용한 소일네일링 공법 | |
| KR102028393B1 (ko) | 파형관 보강 앵커의 시공방법 | |
| JP3634820B2 (ja) | 硬化材充填型枠および硬化材の充填方法 | |
| KR101133214B1 (ko) | 터널 누수보강공 장착장치 | |
| KR100991248B1 (ko) | 팩을 이용한 마이크로 파일 기초공법 및 이에 사용되는파일 조립체 | |
| KR100310457B1 (ko) | 콘크리트 구조물의 방수공법 | |
| JP4480907B2 (ja) | トンネルの掘削工法 | |
| KR20130002797A (ko) | 희생강관 회수용 강관구조체 및 이를 이용한 말뚝시공 방법 | |
| KR100869369B1 (ko) | 다발강관을 이용한 그라우팅 방식의 지반보강장치 및 이를통한 지반보강공법 | |
| KR101022013B1 (ko) | 다중 쿠션재를 이용한 터널구조물 접속부 차수공법 | |
| KR102070912B1 (ko) | 흙막이 벽체용 phc 파일, 이를 제조하기 위한 몰드 조립체 및 이를 이용한 제조방법 |
Legal Events
| Date | Code | Title | Description |
|---|---|---|---|
| A977 | Report on retrieval |
Free format text: JAPANESE INTERMEDIATE CODE: A971007 Effective date: 20040723 |
|
| A131 | Notification of reasons for refusal |
Free format text: JAPANESE INTERMEDIATE CODE: A131 Effective date: 20040914 |
|
| A521 | Written amendment |
Free format text: JAPANESE INTERMEDIATE CODE: A523 Effective date: 20041112 |
|
| TRDD | Decision of grant or rejection written | ||
| A01 | Written decision to grant a patent or to grant a registration (utility model) |
Free format text: JAPANESE INTERMEDIATE CODE: A01 Effective date: 20041207 |
|
| A61 | First payment of annual fees (during grant procedure) |
Free format text: JAPANESE INTERMEDIATE CODE: A61 Effective date: 20041224 |
|
| R150 | Certificate of patent or registration of utility model |
Free format text: JAPANESE INTERMEDIATE CODE: R150 |
|
| FPAY | Renewal fee payment (event date is renewal date of database) |
Free format text: PAYMENT UNTIL: 20080107 Year of fee payment: 3 |
|
| FPAY | Renewal fee payment (event date is renewal date of database) |
Free format text: PAYMENT UNTIL: 20090107 Year of fee payment: 4 |
|
| FPAY | Renewal fee payment (event date is renewal date of database) |
Free format text: PAYMENT UNTIL: 20100107 Year of fee payment: 5 |
|
| LAPS | Cancellation because of no payment of annual fees |