JP3611753B2 - Reinforced beams and unit buildings - Google Patents

Reinforced beams and unit buildings Download PDF

Info

Publication number
JP3611753B2
JP3611753B2 JP23461199A JP23461199A JP3611753B2 JP 3611753 B2 JP3611753 B2 JP 3611753B2 JP 23461199 A JP23461199 A JP 23461199A JP 23461199 A JP23461199 A JP 23461199A JP 3611753 B2 JP3611753 B2 JP 3611753B2
Authority
JP
Japan
Prior art keywords
large space
reinforcing beam
building
stiffener
building units
Prior art date
Legal status (The legal status is an assumption and is not a legal conclusion. Google has not performed a legal analysis and makes no representation as to the accuracy of the status listed.)
Expired - Fee Related
Application number
JP23461199A
Other languages
Japanese (ja)
Other versions
JP2001059275A (en
Inventor
裕 小松
Current Assignee (The listed assignees may be inaccurate. Google has not performed a legal analysis and makes no representation or warranty as to the accuracy of the list.)
Misawa Homes Co Ltd
Original Assignee
Misawa Homes Co Ltd
Priority date (The priority date is an assumption and is not a legal conclusion. Google has not performed a legal analysis and makes no representation as to the accuracy of the date listed.)
Filing date
Publication date
Application filed by Misawa Homes Co Ltd filed Critical Misawa Homes Co Ltd
Priority to JP23461199A priority Critical patent/JP3611753B2/en
Publication of JP2001059275A publication Critical patent/JP2001059275A/en
Application granted granted Critical
Publication of JP3611753B2 publication Critical patent/JP3611753B2/en
Anticipated expiration legal-status Critical
Expired - Fee Related legal-status Critical Current

Links

Images

Landscapes

  • Rod-Shaped Construction Members (AREA)

Description

【0001】
【発明の属する技術分野】
本発明は、補強梁及びこの補強梁を用いたユニット式建物に関する。
【0002】
【背景技術】
従来より、工場で製造した箱状の建物ユニットを、建築現場で複数組合わせて建築されるユニット式建物が利用されている。
ユニット式建物を形成する建物ユニットとしては、四隅の柱の上下端を天井梁および床梁で連結した直方体状の骨組みを有するものが一般的である。このような建物ユニットを複数組み合わせて一つの居室を造る場合、その中央部は複数の柱が組み合わされる状態となり広い空間を形成できない。
このため、建物ユニットの柱の一部を省略したユニット(以下、大空間用建物ユニットと呼ぶ)を用いて広い空間を造り出すという方法が採られている。
ところが、この大空間用建物ユニットを用いると、建物ユニットの剛性が低下し、上方に載置される建物ユニット等の荷重を支持しきれなくなる可能性がある。これを解決するため、柱の一部が省略された部分を中央にして、その両側に配置される柱の上端を連結する2スパン分の補強梁が設けられることがある(特開平8−277580号公報参照)。
【0003】
【発明が解決しようとする課題】
ユニット式建物を施工する際には、隣接する各建物ユニットを位置決めする必要がある。通常の建物ユニットにおいては、突き合わされた各コーナー部に各々設けられた位置決め用のピンに、それに対応した孔が形成された一枚の金属板を上から差し込むことにより行われている。したがって、突き合わされた各コーナー部間の隙間は金属板で覆われることになる。しかし、前述の大空間用建物ユニットを用いた施工においては、補強梁が複数の大空間用建物ユニットに跨って取り付けられるため、前述の位置決め技術をそのまま使用できないという問題がある。
【0004】
本発明の第一の目的は、隣接する大空間用建物ユニットの位置決めが容易な補強梁を提供することにある。
また、本発明の第二の目的は、上述した補強梁を用いたユニット式建物を提供することにある。
【0005】
【課題を解決するための手段】
本願発明は、四隅の柱の上下端を天井梁及び床梁で連結した直方体状の骨組みを有する通常の建物ユニットと、この通常の建物ユニットの骨組みから一本の柱を省略した複数の大空間用建物ユニットとを含んで形成されたユニット式建物の内部に、柱のない大空間を形成するために複数の大空間用建物ユニットの柱を省略した部位を隣接配置した際に、前記隣接した大空間用建物ユニット間を連結補強するための補強梁であって、隣接した大空間用建物ユニットに跨り大空間用建物ユニットの梁に沿って設けられる長尺状の補強梁本体と、この補強梁本体の長手方向に直交配置されるスチフナと、これら補強梁本体の側面とスチフナの側面との両方に跨るように、これらの側面の上下方向のほぼ中央位置に水平方向に突出して取り付けられ、隣接する大空間用建物ユニット同士の位置決めを行うシアープレートとを備え、このシアープレートは、隣接した大空間用建物ユニットの柱を省略した部位の上面において、柱を省略した部位を位置決めピンを介して位置決めすることを特徴とする補強梁である。
【0015】
【発明の実施の形態】
以下、本発明の一実施の形態を図面に基づいて説明する。
図1には、本発明の一実施形態に係るユニット式建物10が示されている。ユニット式建物10は、基礎11の上に載置される建物本体12及び屋根13を備えたものである。
建物本体12は、箱状に形成された複数の建物ユニット120を組合わせて造られたものである。
【0016】
ユニット式建物10の一階部分は、図2に示されるように、建物本体12の外周縁に沿って四隅の柱31を全て有する通常の建物ユニット121CがL字形状に5個並べて配置され、このL字の入隅部分に柱31の一本が省略された大空間用建物ユニット121A、121Bが各々二つずつ配置されることによって形成されている。
ユニット式建物10の二階部分も下階と同様に、L字形状に配置された通常の建物ユニット122C及び大空間用建物ユニット122A、122Bにより形成されている(図1参照)。
【0017】
大空間用建物ユニット121A(122A)は、図3に示されるように、角柱状に形成された三本の金属製の柱31の上下端が金属製の天井梁32および床梁33で連結されている。また、柱31が省略された一辺には、取り外し可能な仮柱37が設けられ直方体状の骨組み30を構成している。ここにおいて、天井梁32は、断面C型に形成された金属製の短辺天井梁32A及び同様の長辺天井梁32Bの二種類からなる。一方、床梁33も断面C型に形成された金属製の短辺床梁33Aおよび同様の長辺床梁33Bの二種類からなる。
対向する長辺天井梁32Bの間には、木製柱状の天井小梁34が複数条架け渡され、この天井小梁34に木製板状の天井面材36が固定されている。また、対向する長辺床梁33Bの間には、図示しない根太が複数条架け渡され、この上に床を形成する木製板状の床面材35が貼られている。また、もう一方の大空間用建物ユニット121B(122B)は、大空間用建物ユニット121Aの仮柱37が柱31とされ、その隣に位置する二本の柱31のうちの一本が省略されたものである他は同一構成である。すなわち、両者は、いわゆる勝手違いな形状とされている。
なお、一階を形成する通常の建物ユニット121C及び二階を形成する通常の建物ユニット122Cについては、四隅の柱31を全て備えた点のみが図3に示す大空間用建物ユニット121Aと異なり、その他の構成は同一である。
【0018】
図2において、一点鎖線のハッチングで示される各々2個ずつの大空間用建物ユニット121A及び121Bは、各々の柱省略コーナー部同士が寄せ合わされて柱省略接合部20を形成する状態で隣接配置されている。
これにより、大空間用建物ユニット121A、121Bにより形成される居室の中心部分には、柱31等の障害物が何ら存在しない広い空間が形成される。
【0019】
このような大空間用建物ユニット121A、121Bにおいて、その寄せ合わされた短辺天井梁32Aの間には、図4に示されるように、板状に形成された長尺状の金属製補強梁40が短辺天井梁32Aに沿うように設置され、これにより隣接する大空間用建物ユニット121A、121Bが連結補強されている。
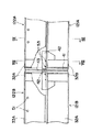
図5から図9を用いて補強梁40の構成をより詳細に説明する。補強梁40は、柱省略接合部20の補強に寄与する長尺、板状の補強梁本体41を備え、この補強梁本体41の両側面には、補強梁本体41の長手方向に直交するように平面矩形に形成された金属製板状のスチフナ43が取り付けられている。柱省略接合部20において、スチフナ43の両側面に、大空間用建物ユニット121A、121Bの位置決めに用いる金属製シア−プレート42が、補強梁本体41の長手方向に沿って、補強梁本体41の上下方向のほぼ中央位置に取り付けられている。ここにおいて、シア−プレート42は、矩形金属板の二辺が折り曲げられたものであり、直交する二つの断面がそれぞれL字形状に形成されている。そして、その一辺が補強梁本体41に当接して溶接等により固定され、他辺が同様にしてスチフナ43に固定されている。これにより柱省略接合部20において、補強梁本体41、シア−プレート42、スチフナ43の三部材が各々直交、かつ、一体として形成される。
【0020】
一方、補強梁本体41の両端部に位置するシア−プレート42は、矩形金属板の一辺のみが断面L字形状に折り曲げられて形成され、この一辺が補強梁本体41に当接して溶接等により固定されている。これら各位置のシア−プレート42は、各大空間用建物ユニット121A、121Bにおいて、突き合わされる各短辺天井梁32Aの両端部分に対応する位置に全部で8個設けられている。
【0021】
また、上階の大空間用建物ユニット122A、122Bの短辺床梁33Aの上部には複数個の金属製ナット52が補強梁本体41の長手方向に沿って一列に並ぶように設けられている。このナット52に変形防止手段である金属製の変形防止ボルト51が螺合され、これらのナット52及び変形防止ボルト51により補強梁変形防止構造50が構成される(図5、図9参照)。この変形防止ボルト51の先端部は、補強梁本体41にその両側から互いに対向して当接される(図9参照)。
【0022】
このように構成された補強梁40と、上階の大空間用建物ユニット122A、122Bの短辺床梁33Aと、下階の大空間用建物ユニット121A、121Bの短辺天井梁32Aとの接合手順を説明する。
工場で大空間用建物ユニット121A(122A)、121B(122B)、を複数製造した後、建築現場に搬送する。この際、搬送時における大空間用建物ユニット121A(122A)、121B(122B)の変形を防止するために、柱31が省略されたコーナー部には仮柱37が設けられる。
一階部分を構成する大空間用建物ユニット121A、121Bを隣接配置し、短辺天井梁32Aに補強梁40を載置する(図4、図6参照)。この際、短辺天井梁32Aの柱省略コーナー部に設けられている位置決めピン53を、柱省略接合部20における各シア−プレート42に形成された孔421に差し込む。これにより、大空間用建物ユニット121A、121Bの位置決めが同時に行われることになる(図5、図6参照)。この状態では、補強梁本体41の略下半分が短辺天井梁32Aの間に挟まれ、スチフナ43の略下半分が長辺天井梁32Bの間に挟まれることになる(図6参照)。
【0023】
その後、二階を構成する大空間用建物ユニット122A、122Bを下階の大空間用建物ユニット121A、121Bの上に載置する。この際、前述の孔421を挿通し、突出した位置決めピン53の先端部が、上階の短辺床梁33Aの柱省略コーナー部下面に設けられた孔(図示省略)に挿入される。さらに、シア−プレート42に設けられた孔422を通じて上下の各大空間用建物ユニット122A(122B)と121A(121B)とを締結ボルト54及び締結ナット55で固定する(図5参照)。
その後、短辺床梁33Aに設けられた複数のナット52に変形防止ボルト51を螺合し、この変形防止ボルト51の先端を補強梁本体41の両側から補強梁本体41に当接させる。これにより、補強梁40と、上階大空間用建物ユニット122A、122Bの短辺床梁33Aと、下階大空間用建物ユニット121A、121Bの短辺天井梁32Aとの接合が完了する。
ここで、仮柱37を取り外し、居室内に柱31等の障害物が何ら存在しない大空間が形成される。
【0024】
上述のような本実施形態によれば、次のような効果がある。
(1)位置決めに用いるシア−プレート42が補強梁本体41に予め取り付けられているから、大空間用建物ユニット121A、121Bにおける柱省略接合部20の補強と、隣接する大空間用建物ユニット121A、121Bとの位置決めを同時に行うことができる。
(2)補強梁本体41に直交配置されたスチフナ43により、補強梁40の強度を向上させることができる。したがって、補強梁本体41をより薄して軽量化を図ることができるとともに、材料コストの削減が可能となる。
【0025】
(3)スチフナ43をシア−プレート42で挟み込むことにより、スチフナ43の接合強度が向上できる。また、補強梁本体41、スチフナ43、シア−プレート42の三部材が互いに直交して接合されて一体となることから、補強梁40全体の強度が向上できる。
(4)シア−プレート42の断面がL字形状に形成されているため、その取り付けが容易になる。また、補強梁本体41とシア−プレート42との接合面積がある程度確保できるから、それらの接合強度を大きくできる。
(5)柱省略接合部20におけるシア−プレート42は、二辺が折り曲げられているから、補強梁本体41との接合強度を向上できるだけでなく、スチフナ43との接合強度も向上させることができる。したがって、補強梁40全体の強度がより大きくできる。また、大空間用建物ユニット121A、121Bの位置決めがより確実にできる。
【0026】
(6)ナット52及び変形防止ボルト51からなる補強梁変形防止構造50を用いているから、補強梁本体41が薄い板状のものでも、そのわん曲が確実に防止できる。
(7)変形防止手段は、変形防止ボルト51を用いた非常に簡単なものであり、その製造コストが安価にできる。
(8)変形防止ボルト51は、補強梁本体41を挟んで対向配置されていることから、両側から補強梁本体41を確実に押さえ、そのわん曲を防止できる。
【0027】
(9)変形防止ボルト51は、補強梁本体41の長手方向に沿って複数配置されていることから、補強梁40が長くても、そのわん曲を確実に防止できる。したがって、より広い空間を有する居室を形成できる。
(10)変形防止ボルト51は、短辺床梁33Aに固定されたナット52に螺合されるものであるから、その取り付けが容易である。また、補強梁本体41に変形防止手段を設けるものではないから、補強梁本体41の基本構造に従来のものを採用できる。したがって、その開発コストが削減できる。
(11)シア−プレート42が補強梁本体41に設けられているから、ユニット式建物10の施工の際に隣接する大空間用建物ユニット121A、121B等の位置決め作業が容易にできる。また、補強梁本体41、シア−プレート42、スチフナ43の三部材が一体となり補強梁40の強度を向上させていること、かつ、補強梁変形防止構造50を用いていることから、より軽量化された補強梁40を用いて剛性の高いユニット式建物10を得ることができる。
【0028】
なお、本発明は前記実施形態に限定されるものではなく、本発明の目的を達成できる範囲での変形、改良は、本発明に含まれるものである。
【0029】
前記実施形態において、補強梁40は、大空間用建物ユニット121A、121Bの短辺天井梁32Aを補強していたが、これに限らず、長辺天井梁32Bを補強するものでもよい。ただし、補強梁40を短辺天井梁32Aを補強するものとすることで、長辺天井梁32Bを補強する場合より高い剛性が確保できるので望ましい。また、補強梁本体41は板状に形成されていたが、これに限らず、柱状あるいは扁平ブロック状等、他の形状でもよい。ただし、板状にすることで補強梁本体41を軽量化することができ望ましい。一方、柱状等にすることで各大空間用建物ユニット121A、121Bの間が広くなり、その分だけ広い空間を持つ居室を形成できる。
【0030】
また、図10から図12の第1変形例ないし第3変形例に示すように、補強梁本体41に補強部材45、46、47を接合したものを用いてもよい。このようにすることで、補強梁40の断面係数が向上し、補強梁40の強度が向上して好ましい。
なお、補強部材45、46、47は、補強梁本体41の長手方向に沿って、補強梁本体41と同じ長さ分だけ取り付けてもよいが、小片に分けて、適宜な位置に任意の数だけ取り付けてもよい。
【0031】
前記実施形態において、シア−プレート42は、矩形金属板の少なくとも一辺が折り曲げられていたが、折り曲げない矩形板状のものをそのまま用いてもよい。ただし、折り曲げることで、補強梁本体41及びスチフナ43との接合面が大きくでき、各部材の接合強度を大きくできるので好ましい。また、その形状も矩形である必要はなく、例えば台形等でもよく、位置決めできる形状であればよい。シア−プレート42は、各々二個ずつ合計四個の大空間用建物ユニット121A、121Bの位置決めを行うため、補強梁本体41の両側に設けられていたが、これに限らず、各々一個ずつの大空間用建物ユニット121A、121Bの位置決めに用いてもよく、この場合には、補強梁本体41の片面のみにシア−プレート42が設けられることになる。
【0032】
前記実施形態において、スチフナ43は平面矩形状に形成されていたが、これに限ることなく、例えば台形、三角形等の他の形状でもよい。
また、補強梁40の構成部材は、全て金属製のものを用いていたが、他の材質でも補強効果を奏するものであればよい。
【0033】
前記実施形態において、補強梁変形防止構造50は、ナット52と変形防止ボルト51とを用いたものであるが、これに限らず、補強梁本体41のわん曲を防止できる構造であればよい。
補強梁変形防止構造50は補強梁本体41の長手方向に沿って一列に設けられているが、これに限らず、二列以上でもよい。また、前記実施形態および各変形例において、補強梁変形防止構造50は補強梁本体41の両側に設けられているが、これに限らず、片側でもよい。ただし、両側に設けることで補強梁本体41の変形を確実に防止できるので好ましい。
【0034】
【発明の効果】
本発明によれば、以下のような効果がある。すなわち、位置決めに用いるシアープレートが補強梁本体に取り付けられているから、大空間用建物ユニットの柱省略接合部の補強と隣接する各大空間用建物ユニット間の位置決めとを同時に行うことができる。したがって、補強梁を用いるユニット式建物の施工作業が簡易になる。
また、補強梁本体の長手方向に対して直交して配置されるスチフナにより補強梁の強度を向上させることができる。したがって、補強梁本体をより薄くすることが可能になり、補強梁の軽量化が図れるとともに、材料コストの削減が可能となる。そして、スチフナをシアープレートで挟み込むことにより、スチフナの強度が向上できる。また、補強梁本体、スチフナ、シアープレートの三部材が互いに接合され一体となることから、補強梁全体の強度が向上できる。
更に、シアープレートの断面がL字形状に形成されているため取り付けが容易になる。また、補強梁本体とシアープレートとの接合面積がL字の一辺により確保できるから、それらの接合強度を大きくできる。そして、補強梁の効果を達成できるユニット式建物が得られる。すなわち、その施工の際に位置決めが作業が容易にでき、かつ、簡易な構造の補強梁で剛性の高いユニット式建物を得ることができる。
【図面の簡単な説明】
【図1】本発明の一実施形態に係るユニット式建物を示す全体斜視図である。
【図2】前記実施形態に係る一階部分の概略平面図である。
【図3】前記実施形態に係る大空間用建物ユニットを示す斜視図である。
【図4】前記実施形態に係る大空間用建物ユニットの分解斜視図である。
【図5】前記実施形態に係る補強梁及び大空間用建物ユニットの柱省略接合部を示す部分分解斜視図である。
【図6】前記実施形態に係る柱省略接合部における一部を切り欠いた部分上面図である。
【図7】前記実施形態に係る柱省略接合部における一部を切り欠いた部分側面図である。
【図8】図7におけるVIII−VIII線に沿う一部を切り欠いた断面図である。
【図9】図7におけるIX−IX線に沿う端面図である。
【図10】本発明の第1変形例を示す図9相当の端面図である。
【図11】本発明の第2変形例を示す図9相当の端面図である。
【図12】本発明の第3変形例を示す図9相当の端面図である。
【符号の説明】
10 ユニット式建物
121C、122C 通常の建物ユニット
121A、121B、122A、122B 大空間用建物ユニット
20 柱省略接合部
30 骨組み
31 柱
32 天井梁
33 床梁
40 補強梁
41 補強梁本体
42 シア−プレート
43 スチフナ
50 補強梁変形防止構造
51 変形防止ボルト
52 ナット
[0001]
BACKGROUND OF THE INVENTION
The present invention relates to a reinforcing beam and a unit type building using the reinforcing beam.
[0002]
[Background]
Conventionally, unit type buildings constructed by combining a plurality of box-shaped building units manufactured in a factory at a construction site are used.
As a building unit forming a unit type building, one having a rectangular parallelepiped frame in which upper and lower ends of pillars at four corners are connected by a ceiling beam and a floor beam is generally used. When one living room is constructed by combining a plurality of such building units, the central portion is in a state in which a plurality of pillars are combined, and a wide space cannot be formed.
For this reason, a method of creating a wide space using a unit (hereinafter referred to as a large space building unit) in which some of the pillars of the building unit are omitted is employed.
However, when this large space building unit is used, there is a possibility that the rigidity of the building unit is lowered and the load of the building unit or the like placed above cannot be supported. In order to solve this problem, there are cases where reinforcing beams for two spans are provided to connect the upper ends of the pillars arranged on both sides of the part where the part of the pillars is omitted (Japanese Patent Laid-Open No. 8-277580). No. publication).
[0003]
[Problems to be solved by the invention]
When constructing a unit type building, it is necessary to position each adjacent building unit. In a normal building unit, a single metal plate in which a hole corresponding to the positioning pin provided at each corner portion that is abutted is inserted from above. Therefore, the gaps between the corner portions that are abutted are covered with the metal plate. However, in the construction using the above-described large space building unit, there is a problem that the above-described positioning technique cannot be used as it is because the reinforcing beam is attached across a plurality of large space building units.
[0004]
A first object of the present invention is to provide a reinforcing beam that allows easy positioning of adjacent large space building units.
The second object of the present invention is to provide a unit type building using the above-mentioned reinforcing beam.
[0005]
[Means for Solving the Problems]
The present invention relates to a normal building unit having a rectangular parallelepiped frame in which upper and lower ends of columns at four corners are connected by a ceiling beam and a floor beam, and a plurality of large spaces in which one column is omitted from the frame of the normal building unit When a portion in which the pillars of a plurality of large space building units are omitted is arranged adjacent to the inside of the unit type building formed including the building unit, a plurality of large space building units are adjacent to each other. a reinforcing beam for coupling reinforce the inter large space for building unit, the elongated reinforcing beam body provided along the beams large space for building units span large space for building units adjacent, the reinforcing A stiffener arranged orthogonally to the longitudinal direction of the beam body, and attached to projecting in the horizontal direction at a substantially central position in the vertical direction of these side surfaces so as to straddle both the side surface of the reinforcing beam body and the side surface of the stiffener, And a shear plate for positioning the building units for large spaces in contact with each other, and this shear plate is located on the upper surface of the portion of the adjacent large space building unit from which the column is omitted via a positioning pin. It is a reinforcing beam characterized by positioning.
[0015]
DETAILED DESCRIPTION OF THE INVENTION
Hereinafter, an embodiment of the present invention will be described with reference to the drawings.
FIG. 1 shows a unit building 10 according to an embodiment of the present invention. The unit type building 10 includes a building body 12 and a roof 13 placed on a foundation 11.
The building body 12 is formed by combining a plurality of building units 120 formed in a box shape.
[0016]
As shown in FIG. 2, the first floor portion of the unit building 10 includes five normal building units 121 </ b> C each having four pillars 31 along the outer peripheral edge of the building body 12 arranged in an L shape, A large space building unit 121A, 121B in which one of the pillars 31 is omitted is disposed in each L-shaped corner portion.
Similarly to the lower floor, the second floor portion of the unit building 10 is formed by a normal building unit 122C and large space building units 122A and 122B arranged in an L shape (see FIG. 1).
[0017]
In the large space building unit 121A (122A), as shown in FIG. 3, the upper and lower ends of three metal columns 31 formed in a prismatic shape are connected by metal ceiling beams 32 and floor beams 33. ing. Further, a removable temporary pillar 37 is provided on one side from which the pillar 31 is omitted to constitute a cuboid frame 30. Here, the ceiling beam 32 consists of two types of metal short-side ceiling beams 32A and a similar long-side ceiling beam 32B formed in a C-shaped cross section. On the other hand, the floor beam 33 is also composed of two types, a metal short-side floor beam 33A and a similar long-side floor beam 33B formed in a C-shaped section.
A plurality of wooden columnar ceiling beams 34 are bridged between the opposing long-side ceiling beams 32B, and a wooden plate-shaped ceiling surface material 36 is fixed to the ceiling beams 34. Further, a plurality of joists (not shown) are bridged between the long side floor beams 33B facing each other, and a wooden plate-like floor surface material 35 forming a floor is stuck thereon. Further, in the other large space building unit 121B (122B), the temporary column 37 of the large space building unit 121A is the column 31, and one of the two columns 31 located next to it is omitted. Other than that, the configuration is the same. That is, both are made into what is called an arbitrary shape.
Note that the ordinary building unit 121C forming the first floor and the ordinary building unit 122C forming the second floor differ from the large space building unit 121A shown in FIG. The configuration is the same.
[0018]
In FIG. 2, each of the two large space building units 121A and 121B indicated by alternate long and short dashed lines is adjacently arranged in a state where the respective column omitted corner portions are brought together to form the column omitted joint portion 20. ing.
Thereby, a wide space in which no obstacle such as the pillar 31 exists is formed in the central portion of the living room formed by the large space building units 121A and 121B.
[0019]
In such large space building units 121A and 121B, between the short-side ceiling beams 32A brought together, as shown in FIG. 4, a long metal reinforcing beam 40 formed in a plate shape is used. Are installed along the short side ceiling beams 32A, and the adjacent large space building units 121A and 121B are connected and reinforced.
The configuration of the reinforcing beam 40 will be described in more detail with reference to FIGS. The reinforcing beam 40 includes a long, plate-shaped reinforcing beam main body 41 that contributes to the reinforcement of the column omitting joint portion 20, and the reinforcing beam main body 41 has both side surfaces orthogonal to the longitudinal direction of the reinforcing beam main body 41. A metal plate-like stiffener 43 formed in a flat rectangular shape is attached to. In the column omitted joint 20, metal shear plates 42 used for positioning the large space building units 121 </ b> A and 121 </ b> B are provided on both side surfaces of the stiffener 43 along the longitudinal direction of the reinforcing beam main body 41. It is attached at a substantially central position in the vertical direction. Here, the shear plate 42 is formed by bending two sides of a rectangular metal plate, and two orthogonal sections are formed in an L shape. Then, one side abuts against the reinforcing beam body 41 and is fixed by welding or the like, and the other side is similarly fixed to the stiffener 43. As a result, in the column omit joint 20, the three members of the reinforcing beam main body 41, the shear plate 42, and the stiffener 43 are formed orthogonally and integrally.
[0020]
On the other hand, the shear plates 42 located at both ends of the reinforcing beam main body 41 are formed by bending only one side of a rectangular metal plate into an L-shaped cross section, and this one side contacts the reinforcing beam main body 41 by welding or the like. It is fixed. In each of the large space building units 121A and 121B, a total of eight shear plates 42 at each position are provided at positions corresponding to both end portions of each short-side ceiling beam 32A to be abutted.
[0021]
Further, a plurality of metal nuts 52 are provided in a row along the longitudinal direction of the reinforcing beam main body 41 above the short side floor beams 33A of the large space building units 122A and 122B on the upper floor. . A metal deformation preventing bolt 51 which is a deformation preventing means is screwed into the nut 52, and the nut 52 and the deformation preventing bolt 51 constitute a reinforcing beam deformation preventing structure 50 (see FIGS. 5 and 9). The distal end portion of the deformation prevention bolt 51 is brought into contact with the reinforcing beam main body 41 so as to face each other from both sides (see FIG. 9).
[0022]
Joining of the reinforcing beam 40 configured in this way, the short-side floor beams 33A of the large space building units 122A and 122B on the upper floor, and the short-side ceiling beams 32A of the large space building units 121A and 121B on the lower floor Explain the procedure.
A plurality of large space building units 121A (122A) and 121B (122B) are manufactured at a factory, and then transported to a building site. At this time, in order to prevent deformation of the large space building units 121A (122A) and 121B (122B) during transportation, provisional columns 37 are provided at the corners where the columns 31 are omitted.
The large space building units 121A and 121B constituting the first floor portion are arranged adjacent to each other, and the reinforcing beam 40 is placed on the short side ceiling beam 32A (see FIGS. 4 and 6). At this time, the positioning pins 53 provided at the column omission corner portion of the short-side ceiling beam 32 </ b> A are inserted into the holes 421 formed in the respective shear plates 42 in the column omission joint portion 20. As a result, the positioning of the large space building units 121A and 121B is performed simultaneously (see FIGS. 5 and 6). In this state, the substantially lower half of the reinforcing beam body 41 is sandwiched between the short-side ceiling beams 32A, and the substantially lower half of the stiffener 43 is sandwiched between the long-side ceiling beams 32B (see FIG. 6).
[0023]
Thereafter, the large space building units 122A and 122B constituting the second floor are placed on the large space building units 121A and 121B on the lower floor. At this time, the tip of the positioning pin 53 that protrudes through the above-described hole 421 is inserted into a hole (not shown) provided on the lower surface of the column-omitted corner portion of the short-side floor beam 33A on the upper floor. Furthermore, the upper and lower large building units 122A (122B) and 121A (121B) are fixed by the fastening bolts 54 and the fastening nuts 55 through the holes 422 provided in the shear plate 42 (see FIG. 5).
Thereafter, the deformation prevention bolt 51 is screwed into a plurality of nuts 52 provided on the short side floor beam 33 </ b> A, and the tip of the deformation prevention bolt 51 is brought into contact with the reinforcement beam body 41 from both sides of the reinforcement beam body 41. This completes the joining of the reinforcing beam 40, the short side floor beam 33A of the upper floor large space building units 122A, 122B, and the short side ceiling beam 32A of the lower floor large space building units 121A, 121B.
Here, the temporary pillar 37 is removed, and a large space in which no obstacle such as the pillar 31 exists in the living room is formed.
[0024]
According to this embodiment as described above, the following effects are obtained.
(1) Since the shear plate 42 used for positioning is attached in advance to the reinforcing beam main body 41, the reinforcement of the column omit joint 20 in the large space building units 121A and 121B, and the adjacent large space building unit 121A, Positioning with 121B can be performed simultaneously.
(2) The strength of the reinforcing beam 40 can be improved by the stiffener 43 arranged orthogonally to the reinforcing beam main body 41. Therefore, the reinforcing beam main body 41 can be made thinner to reduce the weight, and the material cost can be reduced.
[0025]
(3) By sandwiching the stiffener 43 between the shear plates 42, the joint strength of the stiffener 43 can be improved. Further, since the three members of the reinforcing beam main body 41, the stiffener 43, and the shear plate 42 are joined orthogonally to each other, the strength of the entire reinforcing beam 40 can be improved.
(4) Since the shear plate 42 has an L-shaped cross section, it is easy to attach. Moreover, since the joining area of the reinforcing beam main body 41 and the shear plate 42 can be secured to some extent, the joining strength can be increased.
(5) Since the two sides of the shear plate 42 in the column omitted joint portion 20 are bent, not only the joint strength with the reinforcing beam body 41 can be improved, but also the joint strength with the stiffener 43 can be improved. . Therefore, the strength of the entire reinforcing beam 40 can be increased. Further, the positioning of the large space building units 121A and 121B can be performed more reliably.
[0026]
(6) Since the reinforcing beam deformation preventing structure 50 including the nut 52 and the deformation preventing bolt 51 is used, even when the reinforcing beam main body 41 is a thin plate, the bending can be reliably prevented.
(7) The deformation preventing means is very simple using the deformation preventing bolt 51, and its manufacturing cost can be reduced.
(8) Since the deformation prevention bolts 51 are arranged to face each other with the reinforcing beam body 41 interposed therebetween, the deformation beam main body 41 can be reliably pressed from both sides and the bending thereof can be prevented.
[0027]
(9) Since a plurality of the deformation prevention bolts 51 are arranged along the longitudinal direction of the reinforcing beam main body 41, even if the reinforcing beam 40 is long, the bending can be reliably prevented. Therefore, a living room having a wider space can be formed.
(10) Since the deformation prevention bolt 51 is screwed into the nut 52 fixed to the short side floor beam 33A, the deformation prevention bolt 51 is easy to attach. In addition, since deformation preventing means is not provided in the reinforcing beam main body 41, a conventional structure can be adopted as the basic structure of the reinforcing beam main body 41. Therefore, the development cost can be reduced.
(11) Since the shear plate 42 is provided on the reinforcing beam main body 41, the positioning work of the adjacent large space building units 121A, 121B and the like can be easily performed when the unit type building 10 is constructed. Further, the three members of the reinforcing beam main body 41, the shear plate 42, and the stiffener 43 are integrated to improve the strength of the reinforcing beam 40, and the reinforcing beam deformation preventing structure 50 is used. The unit building 10 having high rigidity can be obtained by using the reinforced beam 40 formed.
[0028]
It should be noted that the present invention is not limited to the above-described embodiment, and modifications and improvements within the scope that can achieve the object of the present invention are included in the present invention.
[0029]
In the embodiment, the reinforcing beam 40 reinforces the short-side ceiling beam 32A of the large space building units 121A and 121B. However, the present invention is not limited thereto, and the long-side ceiling beam 32B may be reinforced. However, it is desirable that the reinforcing beam 40 reinforces the short-side ceiling beam 32A because higher rigidity can be secured than when the long-side ceiling beam 32B is reinforced. Further, the reinforcing beam body 41 is formed in a plate shape, but is not limited thereto, and may have other shapes such as a column shape or a flat block shape. However, it is desirable that the reinforcing beam main body 41 can be reduced in weight by being plate-shaped. On the other hand, by using a columnar shape or the like, the space between the large space building units 121 </ b> A and 121 </ b> B becomes wider, and a living room having a larger space can be formed.
[0030]
Further, as shown in the first to third modifications of FIGS. 10 to 12, a reinforcing beam main body 41 joined with reinforcing members 45, 46, and 47 may be used. This is preferable because the section modulus of the reinforcing beam 40 is improved and the strength of the reinforcing beam 40 is improved.
The reinforcing members 45, 46, 47 may be attached by the same length as the reinforcing beam main body 41 along the longitudinal direction of the reinforcing beam main body 41. You may attach only.
[0031]
In the above-described embodiment, the shear plate 42 is bent at least on one side of the rectangular metal plate, but a rectangular plate that is not bent may be used as it is. However, bending is preferable because the joint surface between the reinforcing beam main body 41 and the stiffener 43 can be increased and the joint strength of each member can be increased. Moreover, the shape does not need to be a rectangle, for example, a trapezoid may be sufficient as long as it can be positioned. The shear plates 42 are provided on both sides of the reinforcing beam main body 41 in order to position the four large space building units 121A and 121B in total, but not limited to this. It may be used for positioning of the large space building units 121 </ b> A and 121 </ b> B. In this case, the shear plate 42 is provided only on one side of the reinforcing beam body 41.
[0032]
In the above embodiment, the stiffener 43 is formed in a planar rectangular shape, but is not limited thereto, and may be other shapes such as a trapezoid and a triangle.
Further, all the structural members of the reinforcing beam 40 are made of metal, but other materials may be used as long as they have a reinforcing effect.
[0033]
In the embodiment described above, the reinforcing beam deformation preventing structure 50 uses the nut 52 and the deformation preventing bolt 51. However, the structure is not limited to this, and any structure that can prevent the bending of the reinforcing beam main body 41 may be used.
The reinforcing beam deformation preventing structures 50 are provided in a line along the longitudinal direction of the reinforcing beam main body 41. However, the structure is not limited to this, and two or more lines may be used. Moreover, in the said embodiment and each modification, although the reinforcement beam deformation | transformation prevention structure 50 is provided in the both sides of the reinforcement beam main body 41, not only this but one side may be sufficient. However, it is preferable because the reinforcement beam main body 41 can be reliably prevented from being deformed by being provided on both sides.
[0034]
【The invention's effect】
The present invention has the following effects. That is, since the shear plate used for positioning is attached to the reinforcing beam main body, it is possible to simultaneously perform the reinforcement of the column omission joint portion of the large space building unit and the positioning between the adjacent large space building units. Therefore, the construction work of the unit type building using the reinforcing beam is simplified.
Further, the strength of the reinforcing beam can be improved by a stiffener arranged orthogonal to the longitudinal direction of the reinforcing beam body. Therefore, the reinforcing beam main body can be made thinner, the weight of the reinforcing beam can be reduced, and the material cost can be reduced. And the strength of the stiffener can be improved by sandwiching the stiffener between the shear plates. Further, since the three members of the reinforcing beam main body, the stiffener, and the shear plate are joined and integrated with each other, the strength of the entire reinforcing beam can be improved.
Furthermore, since the section of the shear plate is formed in an L shape, attachment is easy. Moreover, since the joining area of the reinforcing beam body and the shear plate can be secured by one side of the L shape, the joining strength can be increased. And the unit type building which can achieve the effect of a reinforcing beam is obtained. That is, positioning can be easily performed during the construction, and a high-rigidity unit building can be obtained with a reinforcing beam having a simple structure.
[Brief description of the drawings]
FIG. 1 is an overall perspective view showing a unit building according to an embodiment of the present invention.
FIG. 2 is a schematic plan view of a first floor portion according to the embodiment.
FIG. 3 is a perspective view showing a large space building unit according to the embodiment.
FIG. 4 is an exploded perspective view of the large space building unit according to the embodiment.
FIG. 5 is a partially exploded perspective view showing a column-omitted joint of a reinforcing beam and a large space building unit according to the embodiment.
FIG. 6 is a partial top view in which a part of the column omitting joint according to the embodiment is cut away.
FIG. 7 is a partial side view in which a part of a column omitting joint according to the embodiment is cut away.
8 is a cross-sectional view with a part cut away along the line VIII-VIII in FIG. 7;
9 is an end view taken along line IX-IX in FIG.
FIG. 10 is an end view corresponding to FIG. 9 showing a first modification of the present invention.
FIG. 11 is an end view corresponding to FIG. 9 and showing a second modification of the present invention.
FIG. 12 is an end view corresponding to FIG. 9 and showing a third modification of the present invention.
[Explanation of symbols]
10 Unit type building 121C, 122C Normal building unit 121A, 121B, 122A, 122B Large space building unit 20 Column omission joint 30 Frame 31 Column 32 Ceiling beam 33 Floor beam 40 Reinforcement beam 41 Reinforcement beam body 42 Shear plate 43 Stiffener 50 Reinforcement beam deformation prevention structure 51 Deformation prevention bolt 52 Nut

Claims (1)

四隅の柱の上下端を天井梁及び床梁で連結した直方体状の骨組みを有する通常の建物ユニットと、この通常の建物ユニットの骨組みから一本の柱を省略した複数の大空間用建物ユニットとを含んで形成されたユニット式建物の内部に、柱のない大空間を形成するために複数の大空間用建物ユニットの柱を省略した部位を隣接配置した際に、前記隣接した大空間用建物ユニット間を連結補強するための補強梁であって、隣接した大空間用建物ユニットに跨り大空間用建物ユニットの梁に沿って設けられる長尺状の補強梁本体と、この補強梁本体の長手方向に直交配置されるスチフナと、これら補強梁本体の側面とスチフナの側面との両方に跨るように、これらの側面の上下方向のほぼ中央位置に水平方向に突出して取り付けられ、隣接する大空間用建物ユニット同士の位置決めを行うシアープレートとを備え、このシアープレートは、隣接した大空間用建物ユニットの柱を省略した部位の上面において、柱を省略した部位を位置決めピンを介して位置決めすることを特徴とする補強梁。 A normal building unit having a rectangular frame structure in which the upper and lower ends of the pillars at the four corners are connected by a ceiling beam and a floor beam, and a plurality of large space building units in which one column is omitted from the frame of the normal building unit; When a portion where the pillars of a plurality of large space building units are omitted is formed adjacent to the interior of the unit type building formed to include a large space without a pillar, the adjacent large space building a reinforcing beam for coupling reinforce between the units, and the elongated reinforcing beam body provided along the beams large space for building units span large space for building units adjacent, longitudinal of the reinforcing beam body The stiffeners that are arranged orthogonally to the direction of the stiffener and the side of the stiffener beam and the side of the stiffener so as to straddle both sides of the stiffener. And a shear plate for positioning the building units with each other, and the shear plate is positioned on the upper surface of the portion where the pillar of the adjacent large space building unit is omitted through the positioning pin. Reinforced beam characterized by.
JP23461199A 1999-08-20 1999-08-20 Reinforced beams and unit buildings Expired - Fee Related JP3611753B2 (en)

Priority Applications (1)

Application Number Priority Date Filing Date Title
JP23461199A JP3611753B2 (en) 1999-08-20 1999-08-20 Reinforced beams and unit buildings

Applications Claiming Priority (1)

Application Number Priority Date Filing Date Title
JP23461199A JP3611753B2 (en) 1999-08-20 1999-08-20 Reinforced beams and unit buildings

Related Child Applications (2)

Application Number Title Priority Date Filing Date
JP2003383616A Division JP3780278B2 (en) 2003-11-13 2003-11-13 Reinforced beams and unit buildings
JP2004233651A Division JP3878632B2 (en) 2004-08-10 2004-08-10 Reinforced beams and unit buildings

Publications (2)

Publication Number Publication Date
JP2001059275A JP2001059275A (en) 2001-03-06
JP3611753B2 true JP3611753B2 (en) 2005-01-19

Family

ID=16973766

Family Applications (1)

Application Number Title Priority Date Filing Date
JP23461199A Expired - Fee Related JP3611753B2 (en) 1999-08-20 1999-08-20 Reinforced beams and unit buildings

Country Status (1)

Country Link
JP (1) JP3611753B2 (en)

Families Citing this family (1)

* Cited by examiner, † Cited by third party
Publication number Priority date Publication date Assignee Title
WO2012052575A1 (en) * 2010-10-22 2012-04-26 Ametslab Arquitecturas Modulares Ecotecnologicas, S.L. Connection component for the structure of a modular construction system, and modular construction system

Also Published As

Publication number Publication date
JP2001059275A (en) 2001-03-06

Similar Documents

Publication Publication Date Title
JP2002097722A (en) Unit type building and corner reinforcing material therefor
JP5123602B2 (en) Unit type building and construction method of unit type building
JP3611753B2 (en) Reinforced beams and unit buildings
JP3780278B2 (en) Reinforced beams and unit buildings
JP5362333B2 (en) Unit building
JP3878632B2 (en) Reinforced beams and unit buildings
JP3652679B2 (en) Unit building
JP3766775B2 (en) Reinforced beams and unit buildings
JP3831545B2 (en) Unit building
JP4328429B2 (en) Connector
JP4717245B2 (en) Unit buildings and corner reinforcements for unit buildings
JP4328455B2 (en) Unit building
JP3766774B2 (en) Reinforced beams and unit buildings
JP2001164658A (en) Beam joint structure and unit building
JP3893061B2 (en) Unit building
JP4527852B2 (en) Unit building
JP3887217B2 (en) Unit building
JP2001059273A (en) Reinforcing beam deformation preventive structure and unit building
JP4749611B2 (en) Unit type building and its construction method
JP4234294B2 (en) Reinforcement plate and unit building
JPH05280212A (en) Structure of assembly system building
JP3887233B2 (en) Unit building
JP2634736B2 (en) Building unit joint structure
JP3639015B2 (en) Unit type building and construction method thereof
JP4700178B2 (en) Unit building

Legal Events

Date Code Title Description
A521 Written amendment

Free format text: JAPANESE INTERMEDIATE CODE: A523

Effective date: 20040209

A02 Decision of refusal

Free format text: JAPANESE INTERMEDIATE CODE: A02

Effective date: 20040615

RD02 Notification of acceptance of power of attorney

Free format text: JAPANESE INTERMEDIATE CODE: A7422

Effective date: 20040715

A521 Written amendment

Free format text: JAPANESE INTERMEDIATE CODE: A523

Effective date: 20040728

A911 Transfer of reconsideration by examiner before appeal (zenchi)

Free format text: JAPANESE INTERMEDIATE CODE: A911

Effective date: 20040901

TRDD Decision of grant or rejection written
A01 Written decision to grant a patent or to grant a registration (utility model)

Free format text: JAPANESE INTERMEDIATE CODE: A01

Effective date: 20040928

A61 First payment of annual fees (during grant procedure)

Free format text: JAPANESE INTERMEDIATE CODE: A61

Effective date: 20041020

R150 Certificate of patent or registration of utility model

Free format text: JAPANESE INTERMEDIATE CODE: R150

FPAY Renewal fee payment (event date is renewal date of database)

Free format text: PAYMENT UNTIL: 20071029

Year of fee payment: 3

FPAY Renewal fee payment (event date is renewal date of database)

Free format text: PAYMENT UNTIL: 20081029

Year of fee payment: 4

FPAY Renewal fee payment (event date is renewal date of database)

Free format text: PAYMENT UNTIL: 20091029

Year of fee payment: 5

FPAY Renewal fee payment (event date is renewal date of database)

Free format text: PAYMENT UNTIL: 20091029

Year of fee payment: 5

S111 Request for change of ownership or part of ownership

Free format text: JAPANESE INTERMEDIATE CODE: R313111

FPAY Renewal fee payment (event date is renewal date of database)

Free format text: PAYMENT UNTIL: 20091029

Year of fee payment: 5

R350 Written notification of registration of transfer

Free format text: JAPANESE INTERMEDIATE CODE: R350

FPAY Renewal fee payment (event date is renewal date of database)

Free format text: PAYMENT UNTIL: 20091029

Year of fee payment: 5

FPAY Renewal fee payment (event date is renewal date of database)

Free format text: PAYMENT UNTIL: 20101029

Year of fee payment: 6

FPAY Renewal fee payment (event date is renewal date of database)

Free format text: PAYMENT UNTIL: 20101029

Year of fee payment: 6

FPAY Renewal fee payment (event date is renewal date of database)

Free format text: PAYMENT UNTIL: 20111029

Year of fee payment: 7

FPAY Renewal fee payment (event date is renewal date of database)

Free format text: PAYMENT UNTIL: 20121029

Year of fee payment: 8

FPAY Renewal fee payment (event date is renewal date of database)

Free format text: PAYMENT UNTIL: 20131029

Year of fee payment: 9

R250 Receipt of annual fees

Free format text: JAPANESE INTERMEDIATE CODE: R250

LAPS Cancellation because of no payment of annual fees