JP3560348B2 - 使い捨てオムツ - Google Patents
使い捨てオムツ Download PDFInfo
- Publication number
- JP3560348B2 JP3560348B2 JP13363492A JP13363492A JP3560348B2 JP 3560348 B2 JP3560348 B2 JP 3560348B2 JP 13363492 A JP13363492 A JP 13363492A JP 13363492 A JP13363492 A JP 13363492A JP 3560348 B2 JP3560348 B2 JP 3560348B2
- Authority
- JP
- Japan
- Prior art keywords
- adhesive
- tape
- release
- release tape
- fastening
- Prior art date
- Legal status (The legal status is an assumption and is not a legal conclusion. Google has not performed a legal analysis and makes no representation as to the accuracy of the status listed.)
- Expired - Lifetime
Links
Images
Classifications
-
- A—HUMAN NECESSITIES
- A61—MEDICAL OR VETERINARY SCIENCE; HYGIENE
- A61F—FILTERS IMPLANTABLE INTO BLOOD VESSELS; PROSTHESES; DEVICES PROVIDING PATENCY TO, OR PREVENTING COLLAPSING OF, TUBULAR STRUCTURES OF THE BODY, e.g. STENTS; ORTHOPAEDIC, NURSING OR CONTRACEPTIVE DEVICES; FOMENTATION; TREATMENT OR PROTECTION OF EYES OR EARS; BANDAGES, DRESSINGS OR ABSORBENT PADS; FIRST-AID KITS
- A61F13/00—Bandages or dressings; Absorbent pads
- A61F13/15—Absorbent pads, e.g. sanitary towels, swabs or tampons for external or internal application to the body; Supporting or fastening means therefor; Tampon applicators
- A61F13/56—Supporting or fastening means
- A61F13/58—Adhesive tab fastener elements
-
- A—HUMAN NECESSITIES
- A61—MEDICAL OR VETERINARY SCIENCE; HYGIENE
- A61F—FILTERS IMPLANTABLE INTO BLOOD VESSELS; PROSTHESES; DEVICES PROVIDING PATENCY TO, OR PREVENTING COLLAPSING OF, TUBULAR STRUCTURES OF THE BODY, e.g. STENTS; ORTHOPAEDIC, NURSING OR CONTRACEPTIVE DEVICES; FOMENTATION; TREATMENT OR PROTECTION OF EYES OR EARS; BANDAGES, DRESSINGS OR ABSORBENT PADS; FIRST-AID KITS
- A61F13/00—Bandages or dressings; Absorbent pads
- A61F13/15—Absorbent pads, e.g. sanitary towels, swabs or tampons for external or internal application to the body; Supporting or fastening means therefor; Tampon applicators
- A61F13/56—Supporting or fastening means
- A61F13/5622—Supporting or fastening means specially adapted for diapers or the like
Landscapes
- Health & Medical Sciences (AREA)
- Epidemiology (AREA)
- Engineering & Computer Science (AREA)
- Biomedical Technology (AREA)
- Heart & Thoracic Surgery (AREA)
- Vascular Medicine (AREA)
- Life Sciences & Earth Sciences (AREA)
- Animal Behavior & Ethology (AREA)
- General Health & Medical Sciences (AREA)
- Public Health (AREA)
- Veterinary Medicine (AREA)
- Absorbent Articles And Supports Therefor (AREA)
- Orthopedics, Nursing, And Contraception (AREA)
Description
【産業上の利用分野】
この発明は、使い捨てオムツに関し、更に詳しくは、そのオムツの前後身頃の胴回りを互いに剥離可能に接合するための締結手段に関する。
【0002】
【従来の技術】
図3に示すように、一般に、この締結手段は、内面に第1粘着面1及び先端に非粘着摘持部2を設けた締結テープ(ファスニングテープ)3と、第1粘着面1を重ね合せて仮着する離型テープ(リリーステープ)4とから構成し、オムツの後身頃の胴回り側部5に取り付けてある。締結テープ3は、離型テープ4に重ね合せた状態で、非粘着摘持部2が胴回り側部5の上面に第2粘着面6で固定した離型テープ4の先端7から引っ込むように、換言すると離型テープ4の先端7が非粘着摘持部2の先端から突出するように形成してある。これは、非粘着摘持部2を摘持して締結テープ3を離型テープ4から剥離し易くするためである。
【0003】
【発明が解決しようとする課題】
しかし、締結テープ3の第1粘着面1を離型テープ4の離型面(上面)に重ね合せてなる組み合せテープを、オムツの製造ラインにおいて、オムツの当該部に締結テープ3の上面からプレス面が平滑なプレス部材でプレスしてオムツの胴回り側部5に取り付ける場合、離型テープ4の先端7が締結テープ3の非粘着摘持部2から突出していると、先端7と非粘着摘持部2との間に段差が生ずるから、先端7にはプレスが充分に加わらず、その結果、先端7が第2粘着面6で胴回り側部5に充分に接合しないことが少なくない。この問題を解決する一つの手段としては、前記プレス面を前記段差に適合するように形成した前記プレス部材を使用することが考えられる。しかし、そうしたプレス部材を使用したとしても、前記組み合せテープが可撓性を有すること、オムツの廉価量産のためそのテープを含むオムツの構成部材をオムツの製造ラインでは高速操作する必要があることなどの理由から、前記プレス面の当該部位と前記段差面との間に位置ずれが起こり易く、所期の目的を達成できるとはいえない。
【0004】
前述のように、離型テープ4の先端7が充分に接合していないと、オムツの動きや、先端7と着用者の肌との摺接などにより、先端7が浮き上がったりめくれたりすることがある。その結果、肌が先端で擦られてかぶれたり傷ついたりする。こうしたことは、着用者が新生児である場合、看過することのできない重大な問題である。
【0005】
この発明の課題は、従来の締結手段における、締結テープの非粘着摘持部と離型テープの先端との相対的位置を変えることにより、前記問題を除去することにある。
【0006】
【課題を解決するための手段】
この発明は、前後身頃の胴回り側部を互いに接合する締結手段を備え、前記締結手段を、内面に第1粘着面(22)及び先端に非粘着摘持部(23)を設けた締結テープ(20)と、胴周り側部(11)の内面シート(13)に接合する第2粘着面(25)と、該第2粘着面(25)に内面で接合し、かつ、前記第1粘着面(22)を上面に重ね合わせて仮着する離型テープ(21)とから構成するとともに、オムツの少なくとも内面に重ね合わせて平滑なプレス面で該内面側へプレスして取り付けた使い捨てオムツを前提とし、次の点を特徴とする。
即ち、前記非粘着摘持部(23)は、前記締結テープ(20)の先端を前記第1粘着面(22)へ折り返してその折り返し部とこれに対向する該締結テープ(20)の非折り返し部とを前記第1粘着面(22)を介して接合することで形成してあって先端(28)と基端(29)とを有し、前記締結テープ(20)と前記離型テープ(21)との前記重ね合わせは、前記非粘着摘持部(23)の前記先端(28)と前記基端(29)との間であって、前記第2粘着面(25)と前記離型テープ(21)とを合せた厚み以上前記先端(28)から前記基端(29)に寄った位置に前記離型テープ(21)の先端(27)が位置するようになし、それによって前記基端(29)近傍における前記第1粘着面(22)を前記離型テープ(21)の離型面から浮き上がらせてある点。
【0007】
好ましい実施例では、前記締結テープ(20)の第1粘着面(22)と前記離型テープ(21)の離型面との接合強度を150g以下にしてある。
【0008】
【作用】
前記締結テープの非粘着摘持部は、その先端が、離型テープの先端から突出しているとともに締結テープが折り返された二重構造になっている一方、前記離型テープの先端は、非粘着摘持部の先端と基端との間に位置しているので、締結テープをプレス部材でプレスして内面シートに取り付ける際に、非粘着摘持部に加えられるプレス圧は、離型テープの先端にとりわけ強くかかる。これにより、この先端は、強固に内面シートに固着される。さらに、前記非粘着摘持部を極めて容易に摘むことができる。
【0009】
前記非粘着摘持部を指先で摘持して前記締結テープの第1粘着面をこれが仮着する前記離型テープの離型面から剥離するとき、その剥離速度をいかに高めても、即ち、瞬間的に剥離しても、前記離型テープは、先端はもちろんその他の部位でも、その固定面であるオムツの上面(内面)から剥離することがない。これは、前記離型テープの先端には前記締結テープの第1粘着面が接合していないばかりでなく、該第1粘着面と前記離型テープの離型面との接合(仮着)強度を所定値以下になしてあるからである。
【0010】
【実施例】
図面を参照して、この発明に係る使い捨てオムツ、特に、その締結手段の実施例を説明すると、以下のとおりである。
【0011】
図1には、締結手段10を後身頃の胴回り対向側部11に設けた公知の使い捨てオムツ12を示してある。オムツ12は、透液性内面シート13と不透性外面シート14との間に吸液性パネル15を介在させるとともに、脚回り及び胴回りに弾性部材16a,16bを取り付けてある。締結手段10は、周知のように、該手段を設けた後身頃の対向側部11と前身頃の対向側部17とを接合するために設けてある。
【0012】
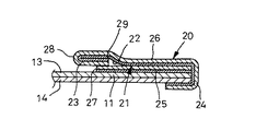
図2に示すように、締結手段10は、締結テープ20と、離型テープ21とから構成してある。締結テープ20の内面には公知の感圧性粘着剤を塗布して第1粘着面22を形成してあるとともに、締結テープ20の先端を折り返して非粘着摘持部23を形成してあって、基端部24を有する。離型テープ21の内面には前記粘着剤と同効のものを塗布して第2粘着面25を形成してある。離型テープ21は、胴回り側部11の内面シート13の上面(内面)に第2粘着面25で接合固定してある。締結テープ20は基端部24を胴回り側部11の外面シート14の下面(外面)に接合固定するとともに、非粘着摘持部23を含む主体部26を離型テープ21の側へ折り返し、第1粘着面22を離型テープ21の上面である離型面に重ね合せて仮着してある。このように重ね合せた状態で、非粘着摘持部23の一部が離型テープ21の先端27から突出するように、換言すると、先端27が非粘着摘持部23の先端28と基端29との中間に位置するように、主体部26の長さを設定してある。
【0013】
非粘着摘持部23の先端28と離型テープ21の先端27とが一致するときは、非粘着摘持部23を摘持し難く、離型テープ21の先端27が非粘着摘持部23の基端29及びこれより外側(図上、右側)に位置すると、同様に摘持し難いうえ、第1粘着面22が先端27にも接触することになるから、締結テープ20を離型テープ21から剥離し難く、しかも、第1粘着面22と離型テープ21の離型面(仮着面)との接合強度(剥離強度)によっては、締結テープ20を剥離するとき、先端27が剥離、めくれ、浮き上がったりする虞れがある。
【0014】
前記接合強度は150g以下が好ましい。この強度の測定方法は、非粘着摘持部23を試験器のチャックで摘持し締結テープ20の主体部26の第1粘着面22をその剥離方向(図2上、時計方向)へ引っ張ったときの値(g)による。この値150g以下であれば、締結テープ20をいかに速く、即ち、瞬間的に、剥離しても、離型テープ21はその先端27はもちろんその他の部位も、胴回り側部11の上面から剥離、めくれ、浮き上がることがない。
【0015】
既に述べたように、締結テープ20及び離型テープ21は、図2に示す重ね合せた組み合せテープの状態で、オムツの製造ラインに導入し、オムツの他の構成部材である内外面シート13,14に重ね合せてプレス部材でプレスして取り付ける。このときのプレスにより、離型テープ21の先端27は、これに位置する部位の両テープ20,21の合計厚みが、該両テープの他部位の合計厚みよりも大きいことから理解されるように、最も強くプレスされることになる。従って、先端27は胴回り側部11の上面に位置する内面シート13に強固に接合することになる。
【0016】
締結テープ20、離型テープ21及び第1、第2粘着面22,25の粘着剤としては、この種の公知のもの、例えば、締結テープ20には上質紙又は不織布とプラスチックフィルムとのラミネートシート、離型テープ21には上質紙の上面(離型面)にシリコン樹脂を塗布したもの、第1、第2粘着面22,25の粘着剤にはいわゆるホットメルトタイプのものをそれぞれ使用することができる。又、内面シート13、外面シート14及びパネル15も、この種の公知のもの、例えば、内面シート13には不織布又は多孔性プラスチックフィルム、外面シート14にはプラスチックフィルム又はこれと不織布とのラミネートシート、パネル15には綿状又は粉砕パルプに超吸収性ポリマー粒子を配合したものをそれぞれ使用することができる。
【0017】
【発明の効果】
この発明に係るオムツが備える締結手段は、以上の構成及び作用を有するから、特に離型テープの先端が剥離、めくれ、浮き上がることに起因する問題、即ち、着用者の肌のかぶれ、傷つきなどを未然に防止することができ、従って、新生児用として供しても極めて安全である。
【0018】
更に、締結テープの非粘着摘持部が離型テープの先端から突出し、その突出部分とオムツの内面との間に空隙が生ずるから、該摘持部を極めて容易に摘持することもできる。
【図面の簡単な説明】
【図1】一部を破断したオムツの展開内側平面図。
【図2】図1のX−Xに沿う拡大断面図。
【図3】従来の締結手段の断面図。
【符号の説明】
10 締結手段
11 胴回り側部
20 締結テープ
21 離型テープ
22 第1粘着面
23 非粘着摘持部
25 第2粘着面
27 離型テープの先端
28 締結テープの先端
Claims (2)
- 前後身頃の胴回り側部を互いに接合する締結手段を備え、前記締結手段を、内面に第1粘着面(22)及び先端に非粘着摘持部(23)を設けた締結テープ(20)と、胴周り側部(11)の内面シート(13)に接合する第2粘着面(25)と、該第2粘着面(25)に内面で接合し、かつ、前記第1粘着面(22)を上面に重ね合わせて仮着する離型テープ(21)とから構成するとともに、オムツの少なくとも内面に重ね合わせて平滑なプレス面で該内面側へプレスして取り付けた使い捨てオムツにおいて、
前記非粘着摘持部(23)は、前記締結テープ(20)の先端を前記第1粘着面(22)へ折り返してその折り返し部とこれに対向する該締結テープ(20)の非折り返し部とを前記第1粘着面(22)を介して接合することで形成してあって先端(28)と基端(29)とを有し、前記締結テープ(20)と前記離型テープ(21)との前記重ね合わせは、前記非粘着摘持部(23)の前記先端(28)と前記基端(29)との間であって、前記第2粘着面(25)と前記離型テープ(21)とを合せた厚み以上の距離前記先端(28)から前記基端(29)に寄った位置に前記離型テープ(21)の先端(27)が位置するようになし、それによって前記基端(29)近傍における前記第1粘着面(22)を前記離型テープ(21)の離型面から浮き上がらせてあることを特徴とする前記オムツ。 - 前記締結テープ(20)の第1粘着面(22)と前記離型テープ(21)の離型面との接合強度を150g以下になしてある請求項1に記載のオムツ。
Priority Applications (10)
| Application Number | Priority Date | Filing Date | Title |
|---|---|---|---|
| JP13363492A JP3560348B2 (ja) | 1992-05-26 | 1992-05-26 | 使い捨てオムツ |
| AU38589/93A AU676154B2 (en) | 1992-05-26 | 1993-05-14 | Disposable diapers |
| CA002096467A CA2096467C (en) | 1992-05-26 | 1993-05-18 | Disposable diapers |
| KR2019930008790U KR930025048U (ko) | 1992-05-26 | 1993-05-24 | 일회용 기저귀 |
| ES93108446T ES2182824T3 (es) | 1992-05-26 | 1993-05-25 | Pañal desechable. |
| DE59310299T DE59310299D1 (de) | 1992-05-26 | 1993-05-25 | Wegwerfwindeln |
| GB9310787A GB2267210B (en) | 1992-05-26 | 1993-05-25 | Disposable diapers |
| PT93108446T PT571958E (pt) | 1992-05-26 | 1993-05-25 | Fraldas descartaveis |
| EP93108446A EP0571958B1 (de) | 1992-05-26 | 1993-05-25 | Wegwerfwindeln |
| CN93214334U CN2181277Y (zh) | 1992-05-26 | 1993-05-26 | 一次性尿布 |
Applications Claiming Priority (1)
| Application Number | Priority Date | Filing Date | Title |
|---|---|---|---|
| JP13363492A JP3560348B2 (ja) | 1992-05-26 | 1992-05-26 | 使い捨てオムツ |
Related Child Applications (1)
| Application Number | Title | Priority Date | Filing Date |
|---|---|---|---|
| JP2001235315A Division JP3754636B2 (ja) | 2001-08-02 | 2001-08-02 | 使い捨てオムツにおける締結手段の取り付け方法 |
Publications (2)
| Publication Number | Publication Date |
|---|---|
| JPH05317363A JPH05317363A (ja) | 1993-12-03 |
| JP3560348B2 true JP3560348B2 (ja) | 2004-09-02 |
Family
ID=15109412
Family Applications (1)
| Application Number | Title | Priority Date | Filing Date |
|---|---|---|---|
| JP13363492A Expired - Lifetime JP3560348B2 (ja) | 1992-05-26 | 1992-05-26 | 使い捨てオムツ |
Country Status (10)
| Country | Link |
|---|---|
| EP (1) | EP0571958B1 (ja) |
| JP (1) | JP3560348B2 (ja) |
| KR (1) | KR930025048U (ja) |
| CN (1) | CN2181277Y (ja) |
| AU (1) | AU676154B2 (ja) |
| CA (1) | CA2096467C (ja) |
| DE (1) | DE59310299D1 (ja) |
| ES (1) | ES2182824T3 (ja) |
| GB (1) | GB2267210B (ja) |
| PT (1) | PT571958E (ja) |
Families Citing this family (1)
| Publication number | Priority date | Publication date | Assignee | Title |
|---|---|---|---|---|
| EP0983760A1 (en) * | 1998-09-03 | 2000-03-08 | The Procter & Gamble Company | Diaper fastening system |
Family Cites Families (9)
| Publication number | Priority date | Publication date | Assignee | Title |
|---|---|---|---|---|
| US3893460A (en) * | 1974-05-23 | 1975-07-08 | Colgate Palmolive Co | Diaper tape fastener |
| US3948268A (en) * | 1975-02-24 | 1976-04-06 | Colgate-Palmolive Company | Tape fastener for disposable diaper |
| US4033348A (en) * | 1975-09-16 | 1977-07-05 | Johnson & Johnson | Disposable diaper having a tab fastener with a bifurcated fixed end |
| US3989048A (en) * | 1975-09-29 | 1976-11-02 | Johnson & Johnson | Diaper with loop-type adhesive fastener releasably secured to diaper facing |
| US4060085A (en) * | 1976-02-02 | 1977-11-29 | Colgate-Palmolive Company | Diaper tape fastener |
| ZA776823B (en) * | 1976-12-20 | 1979-06-27 | Colgate Palmolive Co | Diaper with extensible fastener |
| JPS5575608U (ja) * | 1978-11-15 | 1980-05-24 | ||
| EP0099846A1 (en) * | 1982-07-20 | 1984-02-01 | John Zervoudakis | Improvements in diaper fastener tabs and tape stock for diaper fastener tabs |
| EP0292970A1 (en) * | 1987-05-26 | 1988-11-30 | Uni-Charm Corporation | Fastening tape for disposable absorbent article |
-
1992
- 1992-05-26 JP JP13363492A patent/JP3560348B2/ja not_active Expired - Lifetime
-
1993
- 1993-05-14 AU AU38589/93A patent/AU676154B2/en not_active Expired
- 1993-05-18 CA CA002096467A patent/CA2096467C/en not_active Expired - Lifetime
- 1993-05-24 KR KR2019930008790U patent/KR930025048U/ko not_active Ceased
- 1993-05-25 DE DE59310299T patent/DE59310299D1/de not_active Expired - Lifetime
- 1993-05-25 PT PT93108446T patent/PT571958E/pt unknown
- 1993-05-25 ES ES93108446T patent/ES2182824T3/es not_active Expired - Lifetime
- 1993-05-25 GB GB9310787A patent/GB2267210B/en not_active Expired - Lifetime
- 1993-05-25 EP EP93108446A patent/EP0571958B1/de not_active Expired - Lifetime
- 1993-05-26 CN CN93214334U patent/CN2181277Y/zh not_active Expired - Lifetime
Also Published As
| Publication number | Publication date |
|---|---|
| JPH05317363A (ja) | 1993-12-03 |
| KR930025048U (ko) | 1993-12-16 |
| CA2096467A1 (en) | 1993-11-27 |
| PT571958E (pt) | 2003-01-31 |
| CA2096467C (en) | 1998-12-15 |
| EP0571958A2 (de) | 1993-12-01 |
| GB2267210A (en) | 1993-12-01 |
| GB2267210B (en) | 1996-01-31 |
| EP0571958A3 (en) | 1994-09-07 |
| GB9310787D0 (en) | 1993-07-14 |
| AU676154B2 (en) | 1997-03-06 |
| AU3858993A (en) | 1993-12-02 |
| ES2182824T3 (es) | 2003-03-16 |
| EP0571958B1 (de) | 2002-09-04 |
| CN2181277Y (zh) | 1994-11-02 |
| DE59310299D1 (de) | 2002-10-10 |
Similar Documents
| Publication | Publication Date | Title |
|---|---|---|
| JP3487648B2 (ja) | Z型粘着テープ、これを用いたファスニングシステム及び衛生用吸収性物品 | |
| KR19990082677A (ko) | 일회용 흡수제품에 사용하기 위한 각진 테이프 탭의 제조 방법 | |
| JPS6218641B2 (ja) | ||
| JPH1128223A (ja) | 使い捨ての体液吸収性着用物品 | |
| GB2035053A (en) | Disposable nappy, and tape fastener therefor | |
| JPS638202B2 (ja) | ||
| US4227530A (en) | Method of employing reclosable fastener tape system | |
| JP3904354B2 (ja) | 吸収性物品 | |
| US7892219B2 (en) | Disposable wearing article provided with tape fasteners | |
| JP3560348B2 (ja) | 使い捨てオムツ | |
| JP2576485Y2 (ja) | 生理用ナプキン | |
| JP3754636B2 (ja) | 使い捨てオムツにおける締結手段の取り付け方法 | |
| EP1566157B1 (en) | Disposable wearing article | |
| JP2004298459A (ja) | 後処理テープを備えた使い捨ておむつ | |
| JP4038085B2 (ja) | 体液吸収性着用物品 | |
| JPH10110144A (ja) | Z型粘着テープ | |
| JP3541133B2 (ja) | 着用物品 | |
| JPH0856989A (ja) | 吸収性物品 | |
| JP4244297B2 (ja) | 後処理テープおよび使い捨ておむつ | |
| JPH0678953A (ja) | フラップ部固定用粘着剤を有する生理用ナプキン | |
| JP3031488B2 (ja) | 再取付け可能なテープ構造 | |
| JP3521944B2 (ja) | 粘着ファスニングテープを用いた止着具 | |
| JP2550461Y2 (ja) | 使い捨ておむつ | |
| JPH01272804A (ja) | 使い捨ておむつ | |
| JPH059529U (ja) | 生理用ナプキン |
Legal Events
| Date | Code | Title | Description |
|---|---|---|---|
| A02 | Decision of refusal |
Free format text: JAPANESE INTERMEDIATE CODE: A02 Effective date: 20010605 |
|
| A61 | First payment of annual fees (during grant procedure) |
Free format text: JAPANESE INTERMEDIATE CODE: A61 Effective date: 20040525 |
|
| R150 | Certificate of patent or registration of utility model |
Free format text: JAPANESE INTERMEDIATE CODE: R150 |
|
| R250 | Receipt of annual fees |
Free format text: JAPANESE INTERMEDIATE CODE: R250 |
|
| FPAY | Renewal fee payment (event date is renewal date of database) |
Free format text: PAYMENT UNTIL: 20090604 Year of fee payment: 5 |
|
| FPAY | Renewal fee payment (event date is renewal date of database) |
Free format text: PAYMENT UNTIL: 20090604 Year of fee payment: 5 |
|
| FPAY | Renewal fee payment (event date is renewal date of database) |
Free format text: PAYMENT UNTIL: 20100604 Year of fee payment: 6 |
|
| FPAY | Renewal fee payment (event date is renewal date of database) |
Free format text: PAYMENT UNTIL: 20100604 Year of fee payment: 6 |
|
| FPAY | Renewal fee payment (event date is renewal date of database) |
Free format text: PAYMENT UNTIL: 20110604 Year of fee payment: 7 |
|
| FPAY | Renewal fee payment (event date is renewal date of database) |
Free format text: PAYMENT UNTIL: 20110604 Year of fee payment: 7 |
|
| FPAY | Renewal fee payment (event date is renewal date of database) |
Free format text: PAYMENT UNTIL: 20120604 Year of fee payment: 8 |
|
| EXPY | Cancellation because of completion of term |