JP3251663U - サポート性の高い空気掛け布団 - Google Patents
サポート性の高い空気掛け布団 Download PDFInfo
- Publication number
- JP3251663U JP3251663U JP2024003970U JP2024003970U JP3251663U JP 3251663 U JP3251663 U JP 3251663U JP 2024003970 U JP2024003970 U JP 2024003970U JP 2024003970 U JP2024003970 U JP 2024003970U JP 3251663 U JP3251663 U JP 3251663U
- Authority
- JP
- Japan
- Prior art keywords
- fabric
- soft
- comforter
- highly
- dimensional
- Prior art date
- Legal status (The legal status is an assumption and is not a legal conclusion. Google has not performed a legal analysis and makes no representation as to the accuracy of the status listed.)
- Active
Links
Images
Landscapes
- Bedding Items (AREA)
Abstract
【課題】ふんわり感を向上させ、掛け布団の中身のサポート性及び通気性を向上させ、水洗いの利便性を向上させる、サポート性の高い空気掛け布団を提供する。
【解決手段】2つの生地層1と、中綿層2と、柔らかさの高い立体構造織物3と、を含み、柔らかさの高い立体三層構造の織物の柔らかさが真綿の柔らかさに近く、真綿又は詰め綿の間に用いられることにより、掛け布団の中身のサポート性、保温性、通気性を向上させるとともに、一定の柔軟性を持たせる。このような柔らかさの高い織物は、三層立体構造であり、上層と下層が柔らかさの高い糸であり、中間層がサポート糸である。立体構造織物は、綿敷き及びニードリングの2つの方法で加工して積層される。
【選択図】図1
【解決手段】2つの生地層1と、中綿層2と、柔らかさの高い立体構造織物3と、を含み、柔らかさの高い立体三層構造の織物の柔らかさが真綿の柔らかさに近く、真綿又は詰め綿の間に用いられることにより、掛け布団の中身のサポート性、保温性、通気性を向上させるとともに、一定の柔軟性を持たせる。このような柔らかさの高い織物は、三層立体構造であり、上層と下層が柔らかさの高い糸であり、中間層がサポート糸である。立体構造織物は、綿敷き及びニードリングの2つの方法で加工して積層される。
【選択図】図1
Description
本考案は、掛け布団の中身製品の技術分野に関し、特にサポート性と通気性の高い空気掛け布団に関する。
綿掛け布団は、かさばり、弾力性に乏しく、吸湿性が高いため、時間が経つと硬くて薄くなることがよくあり、サポート性が悪くなり、敷き布団のようになり、また、濡れると雑菌が繁殖しやすくなる。
繊維掛け布団については、化学繊維の特徴が、サラサラしていて吸水性がなかったり、生地が水を吸って蒸れやすくなったりすることにある。
地域ごとにライフスタイルが異なるため、掛け布団の中身に対するニーズも異なるが、科学技術が進歩し、人々の生活水準の継続的な向上に伴い、ライフスタイルは基本的に同じになり、掛け布団の中身製品の快適性及び実用性については、より高い要求が求められているが、掛け布団の中身に対するニーズは基本的に同じであり、軽くて暖かく、蒸れにくい掛け布団の中身が求められている。また、既存の綿掛け布団を好む消費者も多く、常にふわふわで暖かいこと、乾燥に時間をかけなくて済むこと、洗える機能が備わっていることを望んでいる。
上記の技術的課題を解決するために、本考案は、蒸し暑くて通気性が悪いという化学繊維掛け布団の問題を改善し、綿掛け布団の嵩高性を改善し、掛け布団の中身のサポート性及び通気性を向上させ、水洗いの利便性を向上させ、干し回数を減らす、サポート性の高い空気掛け布団を提供する。
本考案のサポート性の高い空気掛け布団は、2つの生地層と、中綿層と、柔らかさの高い立体構造織物と、を含み、柔らかさの高い立体構造織物は、中綿層の間に設けられ、中綿層は、2つの生地層の間に設けられる。表面糸及びサポート糸で柔らかさの高い立体構造織物を構成することで、柔らかさの高い立体構造織物に多孔質構造を持たせることにより、柔らかさの高い立体構造織物は、柔らかさが向上し、サポート性が高くなり、ドレープ性が高くなり、通気性が良好になり、綿掛け布団が硬くなるという問題を効果的に解決し、蒸し暑くて通気性が悪いという化学繊維掛け布団の問題を改善することができる。柔らかさの高い立体構造織物を中綿層の間に設けることにより、柔らかさの高い立体構造織物は、中綿層をサポートし、綿掛け布団のふんわり感を向上させ、掛け布団の中身のサポート性及び通気性を向上させ、水洗いの利便性を向上させ、干し回数を減らす。
好ましくは、前記中綿層は、柔らかさの高い立体構造織物の上下両側に設けられる詰め綿を含む。柔らかさの高い立体構造織物を詰め綿の間に設けることで、空気掛け布団の柔らかさ及び保温効果を向上させる。
好ましくは、前記中綿層は、柔らかさの高い立体構造織物の上下両側に設けられる化繊綿を更に含む。化繊綿を柔らかさの高い立体構造織物の上下両側に設けることで、空気掛け布団にさまざまな柔らかさ及びさまざまな保温効果を付与し、汎用性を向上させる。
好ましくは、柔らかさの高い立体構造織物は、表面にソフト糸、中間層にサポート糸を配置した、サポート性と通気性の高い三層構造の織物である。この織物は、サポート性が高く、崩れにくく、通気性が高い。
好ましくは、前記2つの生地層、中綿層、及び柔らかさの高い立体構造織物は、縫い糸で固定される。空気掛け布団が出来上がった後に、縫い糸で空気掛け布団の周囲を固定して、掛け布団を形成し、それによって、多層構造間の安定性を向上させ、水洗いによる綿の位置ずれを回避する。
好ましくは、前記縫い糸は、異なるパターンで設けられる。それにより、空気掛け布団の多層構造に対する縫い糸の固定効果と造形効果を向上させながら、空気掛け布団の外観性を向上させる。
好ましくは、前記柔らかさの高い立体構造織物は、綿敷き及びニードリングの2つの方法により加工して積層される。綿敷き方法は、化繊綿及び詰め綿全体に使用され、ニードリング方法は綿繊維充填物に使用される。詰め綿を生産するときに、中間に柔らかさの高いサンドイッチ構造を追加してニードリングする。
従来技術に比べて、本考案の有益な効果は以下の通りである。表面糸及びサポート糸で柔らかさの高い立体構造織物を構成することで、柔らかさの高い立体構造織物に多孔質構造を持たせることにより、柔らかさの高い立体構造織物は、柔らかさが向上し、サポート性が高くなり、ドレープ性が高くなり、通気性が良好になり、綿掛け布団が硬くなるという問題を効果的に解決し、蒸し暑くて通気性が悪いという化学繊維掛け布団の問題を改善することができる。柔らかさの高い立体構造織物を中綿層の間に設けることにより、柔らかさの高い立体構造織物は、中綿層をサポートし、綿掛け布団のふんわり感を向上させ、掛け布団の中身のサポート性及び通気性を向上させ、水洗いの利便性を向上させ、干し回数を減らす。
本考案の理解を容易にするため、以下、関連図面を参照して本考案をより包括的に説明する。本考案は、多くの異なる形態で実施することができ、本明細書に記載された実施例に限定されるものではない。むしろ、これらの実施例は、本考案の開示をより徹底的に包括的にするために提供される。
実施例1
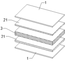
図1~図4に示すように、本考案のサポート性の高い空気掛け布団は、2つの生地層1と、中綿層2と、柔らかさの高い立体構造織物3と、を含み、柔らかさの高い立体構造織物3は、中綿層2の間に設けられ、中綿層2は、2つの生地層1の間に設けられ、柔らかさの高い立体構造織物3は、表面にソフト糸、中間層にサポート糸を配置した、サポート性と通気性の高い三層構造の織物である。
図1~図4に示すように、本考案のサポート性の高い空気掛け布団は、2つの生地層1と、中綿層2と、柔らかさの高い立体構造織物3と、を含み、柔らかさの高い立体構造織物3は、中綿層2の間に設けられ、中綿層2は、2つの生地層1の間に設けられ、柔らかさの高い立体構造織物3は、表面にソフト糸、中間層にサポート糸を配置した、サポート性と通気性の高い三層構造の織物である。
図2に示すように、前記中綿層2は、柔らかさの高い立体構造織物3の上下両側に設けられる詰め綿21を含む。
本実施例では、表面糸及びサポート糸で柔らかさの高い立体構造織物3を構成することで、柔らかさの高い立体構造織物3に多孔質構造を持たせることにより、柔らかさの高い立体構造織物3は、柔らかさが向上し、サポート性が高くなり、ドレープ性が高くなり、通気性が良好になり、綿掛け布団が硬くなるという問題を効果的に解決し、蒸し暑くて通気性が悪いという化学繊維掛け布団の問題を改善することができる。柔らかさの高い立体構造織物3を中綿層2の間に設けることにより、柔らかさの高い立体構造織物3は、中綿層2をサポートし、綿掛け布団のふんわり感を向上させ、掛け布団の中身のサポート性及び通気性を向上させ、水洗いの利便性を向上させ、干し回数を減らす。
実施例2
図1~図4に示すように、本考案のサポート性の高い空気掛け布団は、2つの生地層1と、中綿層2と、柔らかさの高い立体構造織物3と、を含み、柔らかさの高い立体構造織物3は、中綿層2の間に設けられ、中綿層2は、2つの生地層1の間に設けられる。
図1~図4に示すように、本考案のサポート性の高い空気掛け布団は、2つの生地層1と、中綿層2と、柔らかさの高い立体構造織物3と、を含み、柔らかさの高い立体構造織物3は、中綿層2の間に設けられ、中綿層2は、2つの生地層1の間に設けられる。
図2に示すように、前記中綿層2は、柔らかさの高い立体構造織物3の上下両側に設けられる詰め綿21を含む。
図3に示すように、前記中綿層2は、柔らかさの高い立体構造織物3の上下両側に設けられる化繊綿22を更に含む。
図1に示すように、柔らかさの高い立体構造織物3は、表面にソフト糸、中間層にサポート糸を配置した、サポート性と通気性の高い三層構造の織物である。
図1に示すように、前記2つの生地層1、中綿層2及び柔らかさの高い立体構造織物3は縫い糸で固定される。
図1に示すように、前記縫い糸は、異なるパターンで設けられる。
図1に示すように、前記柔らかさの高い立体構造織物は、綿敷き及びニードリングの2つの方法で加工して積層される。
本実施例では、柔らかさの高い立体構造織物3を詰め綿21の間に設けることで、空気掛け布団の柔らかさ及び保温効果を向上させ、化繊綿22を柔らかさの高い立体構造織物3の上下両側に設けることで、空気掛け布団にさまざまな柔らかさ及びさまざまな保温効果を付与し、汎用性を向上させる。
本考案のサポート性の高い空気掛け布団を使用する際には、空気掛け布団を出来上げた後に、縫い糸で空気掛け布団の周囲を固定して、掛け布団を形成し、表面糸及びサポート糸で柔らかさの高い立体構造織物3を形成することで、柔らかさの高い立体構造織物3に多孔質構造を持たせることにより、柔らかさの高い立体構造織物3は、柔らかさが向上し、サポート性が高くなり、ドレープ性が高くなる。
上記は、本考案の好ましい実施形態に過ぎず、当業者にとって、本考案の技術原理から逸脱することなく、様々な改良や変形を行うことができ、これらの改良や変形は本考案の保護範囲とみなされるべきである。
1 生地層
2 中綿層
3 柔らかさの高い立体構造織物
21 詰め綿
22 化繊綿
2 中綿層
3 柔らかさの高い立体構造織物
21 詰め綿
22 化繊綿
Claims (7)
- サポート性の高い空気掛け布団であって、
2つの生地層(1)と、中綿層(2)と、柔らかさの高い立体構造織物(3)と、を含み、柔らかさの高い立体構造織物(3)は、中綿層(2)の間に設けられ、中綿層(2)は、2つの生地層(1)の間に設けられる、ことを特徴とするサポート性の高い空気掛け布団。 - 前記中綿層(2)は、柔らかさの高い立体構造織物(3)の上下両側に設けられる詰め綿(21)を含む、ことを特徴とする請求項1に記載のサポート性の高い空気掛け布団。
- 前記中綿層(2)は、柔らかさの高い立体構造織物(3)の上下両側に設けられる化繊綿(22)を更に含む、ことを特徴とする請求項1に記載のサポート性の高い空気掛け布団。
- 前記柔らかさの高い立体構造織物(3)は、表面にソフト糸、中間層にサポート糸を配置した、サポート性と通気性の高い三層構造の織物である、ことを特徴とする請求項1に記載のサポート性の高い空気掛け布団。
- 前記2つの生地層(1)、中綿層(2)及び柔らかさの高い立体構造織物(3)は、縫い糸で固定される、ことを特徴とする請求項1に記載のサポート性の高い空気掛け布団。
- 前記縫い糸は、異なるパターンで設けられる、ことを特徴とする請求項4に記載のサポート性の高い空気掛け布団。
- 前記柔らかさの高い立体構造織物(3)は、綿敷き及びニードリングの2つの方法で加工して積層される、ことを特徴とする請求項1に記載のサポート性の高い空気掛け布団。
Priority Applications (1)
| Application Number | Priority Date | Filing Date | Title |
|---|---|---|---|
| JP2024003970U JP3251663U (ja) | 2024-11-28 | 2024-11-28 | サポート性の高い空気掛け布団 |
Applications Claiming Priority (1)
| Application Number | Priority Date | Filing Date | Title |
|---|---|---|---|
| JP2024003970U JP3251663U (ja) | 2024-11-28 | 2024-11-28 | サポート性の高い空気掛け布団 |
Publications (1)
| Publication Number | Publication Date |
|---|---|
| JP3251663U true JP3251663U (ja) | 2025-06-18 |
Family
ID=96054775
Family Applications (1)
| Application Number | Title | Priority Date | Filing Date |
|---|---|---|---|
| JP2024003970U Active JP3251663U (ja) | 2024-11-28 | 2024-11-28 | サポート性の高い空気掛け布団 |
Country Status (1)
| Country | Link |
|---|---|
| JP (1) | JP3251663U (ja) |
-
2024
- 2024-11-28 JP JP2024003970U patent/JP3251663U/ja active Active
Similar Documents
| Publication | Publication Date | Title |
|---|---|---|
| JP2500846B2 (ja) | 多層構造詰物体 | |
| KR101073119B1 (ko) | 다층의 공기함유층을 가진 퀼팅 포지 | |
| JP3251663U (ja) | サポート性の高い空気掛け布団 | |
| JP2846370B2 (ja) | 寝床用シート状物 | |
| JP3247979U (ja) | 熱反射保温生地および家庭用品 | |
| KR20190043418A (ko) | 보온성과 촉감이 우수한 3d 스페이서 원단 및 그 제조방법 | |
| JP6792127B1 (ja) | 中材布帛 | |
| KR101261476B1 (ko) | 침장용 쿠션포 | |
| JP3152904U (ja) | 寝装用軽量積層品 | |
| CN223143199U (zh) | 一种高透气的针织软凉垫 | |
| CN221265794U (zh) | 一种高支撑空气被 | |
| CN202222875U (zh) | 一种蚕丝被 | |
| JP2002010881A (ja) | クッション材及びこれを使用した床ずれ防止マット | |
| JP3115918U (ja) | 全てが織りによる通気性のあるマットの組み合わせ | |
| JP3248147U (ja) | 柔軟、快適で通気性のある夏用掛け布団 | |
| JP3252333U (ja) | 肌掛け布団 | |
| JP3059518U (ja) | 枕 | |
| CN223103167U (zh) | 高蓬松保暖的绒感纱布、纺织制品 | |
| CN209794758U (zh) | 多层复合非织造家居制品 | |
| JP3129646U (ja) | 多層構造の寝具 | |
| CN207012015U (zh) | 一种具有隐形绗缝的被褥 | |
| JP3237184U (ja) | 高効率除湿性能を備える型材構造 | |
| CN218515538U (zh) | 一种零点定位无痕蚕丝被 | |
| JP3079261U (ja) | ウール寝具 | |
| JP2005143567A (ja) | 多層式の敷布団、敷パッド又はベッドパッド、及びその製造方法 |
Legal Events
| Date | Code | Title | Description |
|---|---|---|---|
| A521 | Request for written amendment filed |
Free format text: JAPANESE INTERMEDIATE CODE: A523 Effective date: 20250418 |
|
| A603 | Late request for extension of time limit during examination |
Free format text: JAPANESE INTERMEDIATE CODE: A603 Effective date: 20250418 |
|
| R150 | Certificate of patent or registration of utility model |
Ref document number: 3251663 Country of ref document: JP Free format text: JAPANESE INTERMEDIATE CODE: R150 |
