JP3211684U - 掛け布団の衿カバー - Google Patents
掛け布団の衿カバー Download PDFInfo
- Publication number
- JP3211684U JP3211684U JP2017002216U JP2017002216U JP3211684U JP 3211684 U JP3211684 U JP 3211684U JP 2017002216 U JP2017002216 U JP 2017002216U JP 2017002216 U JP2017002216 U JP 2017002216U JP 3211684 U JP3211684 U JP 3211684U
- Authority
- JP
- Japan
- Prior art keywords
- cover
- comforter
- rectangular
- fabrics
- heel
- Prior art date
- Legal status (The legal status is an assumption and is not a legal conclusion. Google has not performed a legal analysis and makes no representation as to the accuracy of the status listed.)
- Expired - Fee Related
Links
- 229920001971 elastomer Polymers 0.000 claims abstract description 35
- 239000005060 rubber Substances 0.000 claims abstract description 35
- 239000004744 fabric Substances 0.000 claims abstract description 24
- 239000003245 coal Substances 0.000 description 1
- 238000010586 diagram Methods 0.000 description 1
- 210000000744 eyelid Anatomy 0.000 description 1
- 238000000034 method Methods 0.000 description 1
Images
Landscapes
- Bedding Items (AREA)
Abstract
【課題】掛け布団が頻繁に動く使用条件下であっても、通常の使用状態では装着されている掛け布団から簡単には外れない衿カバーを提供する。【解決手段】衿カバー10は、上辺部13、側辺部14,15、下辺部16を有する長方形の2枚の布地が重ね合わされた状態に構成されている。2枚の布地の上辺部13は連設されている。2枚の布地の一方は、表面側衿カバー11として使用され、他方は裏面側衿カバー12として使用される。上辺部13の長さの値は、装着対象である掛け布団の幅Lよりも短い長さの値に選ばれている。衿カバー10の下半分側の領域の両側辺部14,15には、端部が表裏の布地の側辺部に固定されている平ゴム21〜24が配設されている。平ゴム21〜24の各々の長さは、掛け布団1の側辺部を巡る2枚の布地の側辺部間の最短距離Dよりも短い長さに選ばれている。【選択図】図2
Description
本考案は、寝具である掛け布団の上縁部に装着される掛け布団の衿カバーに関するものである。
寝具である掛け布団の特に汚れやすい上縁部のみを覆い、容易に着脱することができる掛け布団用の衿カバーは、既に商品化されており広く使用されている。
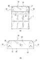
このような従来の掛け布団の衿カバーの構成を図4に示す。図4(a)は衿カバー10を掛け布団1の上縁部に装着した状態を示す図であり、図4(b)は衿カバー10のみの平面構成を示した図である。
図4(a),(b)において、衿カバー10は、上辺部13、側辺部14,15、下辺部16を有する長方形の2枚の布地11,12を重ね合わせた状態で、上辺部13と側辺部14,15とが連設された構成となっている。すなわち、従来の衿カバー10は、下辺部16が開口部となるような袋状に構成されている。
従来の衿カバー10の上辺部13の長さは装着対象である掛け布団1の上辺部の長さと略同じ長さに選ばれており、衿カバー10の上辺部13の両端部には切り欠き部17,18が設けられている。従って、図4(a)に示したように衿カバー10を掛け布団1に装着した状態においては、掛け布団1の上縁部の両端の角の部分が衿カバー10から露出するように従来の衿カバー10は構成されている。
以上のように構成された従来の衿カバー10を掛け布団1に装着する場合には、図5(a)に示したように、使用者は、掛け布団1の上縁部の一方の角の部分を片手H1で握って、他方の手H2で、この角の部分が切り欠き部18から露出するように衿カバー10の側辺部14を掛け布団1の上縁部に被せる。次に、使用者は、図5(b)に示したように同様の操作を行って、掛け布団1の上縁部の反対側の角が衿カバー10の切り欠き部17から露出するように掛け布団1の上縁部に衿カバー10を被せる。以上のようにして、使用者は衿カバー10を掛け布団1に装着することができる。
また、掛け布団1から衿カバー10を外す場合には、使用者は、衿カバー10の上辺部13のみを手で握って、上方(下辺部16から上辺部13に向う方向)に引っ張れば、衿カバー10を簡単に掛け布団1から外すことができる。
しかしながら、従来の衿カバー10においては、前述したように掛け布団から簡単に外すことが出来るために、例えば、図6に示したように、ベッドB上に寝ている使用者Pの寝相が悪い場合には、使用者Pの就寝中に掛け布団1の上縁部が頻繁に動くことがあり、このようなときには、使用者Pの就寝中に衿カバー10が掛け布団1から外れてしまい、衿カバー10を掛け布団1に装着した意味が無くなってしまうという問題があった。
さらに、このような従来の衿カバー10を、病院で使用する掛け布団のように治療行為の度に動かす必要がある掛け布団に使用した場合にも、掛け布団1が頻繁に動くために衿カバー10が外れ易いという問題が生じていた。
以上の問題を解消するために本考案は、同じ大きさの長方形の布地が2枚重ね合わされた状態で、その長方形の2枚の布地の上辺部が連設されている構成であり、一方の前記長方形の布地が装着対象である掛け布団の上縁部の表面側を密着した状態で覆う表面側衿カバーとなり、他方の前記長方形の布地が前記掛け布団の上縁部の裏面側を密着した状態で覆う裏面側衿カバーとなる掛け布団の衿カバーであって、前記長方形の前記表面側衿カバーおよび前記裏面側衿カバーの前記上辺部の長さの値は、前記装着対象である掛け布団の上辺部の長さの値よりも小さい値に選ばれており、前記長方形の前記表面側衿カバーおよび前記裏面側衿カバーの下半分側に位置する領域の両側辺部のそれぞれには、当該側辺部の前記表面側衿カバーと前記裏面側衿カバーとの相対向している部分に端部がそれぞれ固定されている平ゴムが1本または並列状態で複数本配設され、前記平ゴムの長さの値は、前記衿カバーの上辺部の中央が前記装着対象である掛け布団の上辺部の中央に一致するように前記衿カバーを前記掛け布団に装着した状態で、前記表面側衿カバーの側辺部の前記平ゴムの一端が固定されている部分から前記掛け布団の側辺部を巡って前記裏面側衿カバーの側辺部の当該平ゴムの他端が固定されている部分に至る最短距離の値よりも小さい値に選ばれていることを特徴とするものである。ここで、前記表面側衿カバーおよび前記裏面側衿カバーの両側辺部のそれぞれに配設されている1本または並列状態で配設されている複数本の前記平ゴムのうち、少なくとも1本の前記平ゴムは、前記長方形の前記表面側衿カバーおよび前記裏面側衿カバーの下辺部付近に配設されていてもよい。
本考案によれば、掛け布団が頻繁に動く使用条件下であっても、通常の使用状態では装着されている掛け布団から簡単には外れない衿カバーを提供することができる。
以下、図面を用いて本考案の実施例を説明する。
図1(a),(b)は本考案の実施例1の構成を示したものであり、図1(a)は平面構成を示した平面図、図1(b)は斜視図である。
図1(a),(b)において、先に説明した従来の衿カバー10の構成を示した図4と同一符号のものは同一のものを示しているので、その説明は省略する。
以下、本実施例1が、図4に示した従来の衿カバー10の構成と異なるところを説明する。
本実施例1も従来例と同様に、上辺部13、側辺部14,15、下辺部16を有する長方形の2枚の布地11,12が重なり合う状態となるように構成されている。ただし、本実施例1においては、図4に示した従来の衿カバー10とは異なり、2枚の布地11,12の上辺部13のみが連設されており、側辺部14,15は連設されていない。
この2枚の布地11,12は、一方が掛け布団の上縁部の表面側を覆う表面側衿カバーとして使用され、他方が掛け布団の上縁部の裏面側を覆う裏面側衿カバーとして使用されるものである。2枚の布地11,12の上辺部13は、長方形の2枚の布地の上辺部13を縫い合わせることによって連設してもよいし、また、この布地11,12の長方形の2倍の大きさの長方形の布地を半分に折って連設された上辺部13を形成してもよい。
以下、便宜上、布地11を表面側衿カバーとし、布地12を裏面側衿カバーとして説明する。
長方形である表面側衿カバー11および裏面側衿カバー12の下半分側に位置する領域の両側辺部14,15には、それぞれ平ゴム23,24と平ゴム21,22とが配設されている。
本明細書で使う用語である「平ゴム」とは、断面の形状が円状の所謂「丸ゴム」に対して用いられる用語であって、断面の形状が扁平である帯状の伸縮自在なゴムの総称であり、「コールゴム(組ゴム)」、「織りゴム」、「編みゴム」等の帯状のゴムを含むものである。
それぞれの平ゴム21〜24の両端部は、一端が表面側衿カバー11の側辺部に固定され、他端が裏面側衿カバー12の側辺部に固定されている。この平ゴム21〜24の両端部が固定されている部分は、表面側衿カバー11と表面側衿カバー12との側辺部の相対向する部分に選ばれている。
ここで、図2(a)に示したように、表面側衿カバー11および裏面側衿カバー12の上辺部13の長さの値は、装着対象となる掛け布団1の上辺部の長さの値Lよりも小さい値に選ばれている。例えば、装着対象である掛け布団1の幅(上辺部の長さ)が150cmであれば、上辺部13の長さは120cm程度に選ばれている。
また、各々の平ゴム21〜24の長さの値は、図2(a)に示したように、衿カバー10の上辺部13の中央が装着対象である掛け布団1の上辺部の中央に一致するように表面側衿カバー11と裏面側衿カバー12とで掛け布団1の上縁部を覆った場合、図2(a)のA−A断面図である図2(b)に示したように、平ゴムの一端が固定される表面側衿カバー11の側辺部から、掛け布団1の側辺部を巡って平ゴムの他端が固定される裏面側衿カバー12の側辺部に至る最短距離の値Dよりも小さい値に選ばれている。
以上のように構成された本実施例1に係る衿カバー10を掛け布団1に装着した場合には、図3に示したように、平ゴム21〜24と、平ゴム21〜24が配設されている表面側衿カバー11および表面側衿カバー12の下半分側の領域とによって、その部分が密着している部分の掛け布団1が締め付けられた状態となるために、頻繁に掛け布団1を動かしたとしても、通常の使用状態であれば衿カバー10が掛け布団1から簡単に外れるようなことはない。
ここで、本実施例1に配設されている平ゴムの本数については、両側辺部14,15のそれぞれに1本配設しても、または並列状態で複数本配設しても、本考案の効果を得ることができる。さらに、少なくとも1本の平ゴムを表面側衿カバー11および裏面側衿カバー12の下辺部16付近に配設することにすれば、この下辺部16付近の布地の捲れを防ぐことができる。
1 掛け布団
10 衿カバー
11 表面側衿カバー
12 裏面側衿カバー
13 上辺部
14,15 側辺部
16 下辺部
21〜24 平ゴム
B ベッド
D 最短距離
H1,H2 手
L 長さ
P 使用者
10 衿カバー
11 表面側衿カバー
12 裏面側衿カバー
13 上辺部
14,15 側辺部
16 下辺部
21〜24 平ゴム
B ベッド
D 最短距離
H1,H2 手
L 長さ
P 使用者
Claims (2)
- 同じ大きさの長方形の布地が2枚重ね合わされた状態で、その長方形の2枚の布地の上辺部が連設されている構成であり、一方の前記長方形の布地が装着対象である掛け布団の上縁部の表面側を密着した状態で覆う表面側衿カバーとなり、他方の前記長方形の布地が前記掛け布団の上縁部の裏面側を密着した状態で覆う裏面側衿カバーとなる掛け布団の衿カバーであって、
前記長方形の前記表面側衿カバーおよび前記裏面側衿カバーの前記上辺部の長さの値は、前記装着対象である掛け布団の上辺部の長さの値よりも小さい値に選ばれており、
前記長方形の前記表面側衿カバーおよび前記裏面側衿カバーの下半分側に位置する領域の両側辺部のそれぞれには、当該側辺部の前記表面側衿カバーと前記裏面側衿カバーとの相対向している部分に端部がそれぞれ固定されている平ゴムが1本または並列状態で複数本配設され、
前記平ゴムの長さの値は、前記衿カバーの上辺部の中央が前記装着対象である掛け布団の上辺部の中央に一致するように前記衿カバーを前記掛け布団に装着した状態で、前記表面側衿カバーの側辺部の前記平ゴムの一端が固定されている部分から前記掛け布団の側辺部を巡って前記裏面側衿カバーの側辺部の当該平ゴムの他端が固定されている部分に至る最短距離の値よりも小さい値に選ばれていることを特徴とする掛け布団の衿カバー。 - 前記表面側衿カバーおよび前記裏面側衿カバーの両側辺部のそれぞれに配設されている1本または並列状態で配設されている複数本の前記平ゴムのうち、少なくとも1本の前記平ゴムは、前記長方形の前記表面側衿カバーおよび前記裏面側衿カバーの下辺部付近に配設されていることを特徴とする請求項1に記載の掛け布団の衿カバー。
Priority Applications (1)
| Application Number | Priority Date | Filing Date | Title |
|---|---|---|---|
| JP2017002216U JP3211684U (ja) | 2017-05-18 | 2017-05-18 | 掛け布団の衿カバー |
Applications Claiming Priority (1)
| Application Number | Priority Date | Filing Date | Title |
|---|---|---|---|
| JP2017002216U JP3211684U (ja) | 2017-05-18 | 2017-05-18 | 掛け布団の衿カバー |
Publications (1)
| Publication Number | Publication Date |
|---|---|
| JP3211684U true JP3211684U (ja) | 2017-07-27 |
Family
ID=59384493
Family Applications (1)
| Application Number | Title | Priority Date | Filing Date |
|---|---|---|---|
| JP2017002216U Expired - Fee Related JP3211684U (ja) | 2017-05-18 | 2017-05-18 | 掛け布団の衿カバー |
Country Status (1)
| Country | Link |
|---|---|
| JP (1) | JP3211684U (ja) |
-
2017
- 2017-05-18 JP JP2017002216U patent/JP3211684U/ja not_active Expired - Fee Related
Similar Documents
| Publication | Publication Date | Title |
|---|---|---|
| USD636153S1 (en) | Headband | |
| US8020217B2 (en) | Infant wrap and method for use | |
| US8875326B1 (en) | Fitted sheet | |
| US7849532B1 (en) | Movement assisting bed covering system | |
| US20190350376A1 (en) | System and method for attaching mattress topper covers and method therefore | |
| KR20140001607U (ko) | 착탈식 침대패드를 갖춘 침대커버 | |
| JP3211684U (ja) | 掛け布団の衿カバー | |
| WO2013150665A1 (ja) | 電子機器収納ケース | |
| JP2017197851A (ja) | マスク | |
| JP2011130872A (ja) | 防塵マスク | |
| KR102078972B1 (ko) | 매트리스의 분리형 커버 구조물 | |
| US20070022534A1 (en) | Removable and adjustable bed skirt | |
| JP2015133609A (ja) | ヘッドホンカバー | |
| JP2013052072A (ja) | マットレス用シーツ | |
| JP3145273U (ja) | カップ付き女性用衣類 | |
| KR20100000544U (ko) | 전기매트용 커버 | |
| JP3155824U (ja) | スポーツ用手袋 | |
| JP4049728B2 (ja) | ショート・インナーボトム | |
| KR20160099559A (ko) | 글러브 | |
| JP5730431B1 (ja) | カツラ | |
| US20150327696A1 (en) | Combination Fitted and Top Sheet Bedding Device | |
| KR200471508Y1 (ko) | 이불 | |
| JP3848963B1 (ja) | ブラジャー | |
| JP2008121126A (ja) | ブラジャー | |
| JP2003038324A (ja) | パッド付シーツ |
Legal Events
| Date | Code | Title | Description |
|---|---|---|---|
| R150 | Certificate of patent or registration of utility model |
Ref document number: 3211684 Country of ref document: JP Free format text: JAPANESE INTERMEDIATE CODE: R150 |
|
| R250 | Receipt of annual fees |
Free format text: JAPANESE INTERMEDIATE CODE: R250 |
|
| S531 | Written request for registration of change of domicile |
Free format text: JAPANESE INTERMEDIATE CODE: R323531 |
|
| R350 | Written notification of registration of transfer |
Free format text: JAPANESE INTERMEDIATE CODE: R350 |
|
| LAPS | Cancellation because of no payment of annual fees |