JP3178924U - 電源ストリップ - Google Patents
電源ストリップ Download PDFInfo
- Publication number
- JP3178924U JP3178924U JP2012600041U JP2012600041U JP3178924U JP 3178924 U JP3178924 U JP 3178924U JP 2012600041 U JP2012600041 U JP 2012600041U JP 2012600041 U JP2012600041 U JP 2012600041U JP 3178924 U JP3178924 U JP 3178924U
- Authority
- JP
- Japan
- Prior art keywords
- socket
- exterior panel
- wall
- plug
- power strip
- Prior art date
- Legal status (The legal status is an assumption and is not a legal conclusion. Google has not performed a legal analysis and makes no representation as to the accuracy of the status listed.)
- Expired - Fee Related
Links
- 230000001681 protective effect Effects 0.000 claims description 42
- 229910052754 neon Inorganic materials 0.000 description 5
- GKAOGPIIYCISHV-UHFFFAOYSA-N neon atom Chemical compound [Ne] GKAOGPIIYCISHV-UHFFFAOYSA-N 0.000 description 5
- 238000012986 modification Methods 0.000 description 4
- 230000004048 modification Effects 0.000 description 4
- 230000005611 electricity Effects 0.000 description 2
- 239000002699 waste material Substances 0.000 description 2
- 230000000694 effects Effects 0.000 description 1
- 239000000463 material Substances 0.000 description 1
- 239000002184 metal Substances 0.000 description 1
- 238000000926 separation method Methods 0.000 description 1
Images
Classifications
-
- H—ELECTRICITY
- H01—ELECTRIC ELEMENTS
- H01R—ELECTRICALLY-CONDUCTIVE CONNECTIONS; STRUCTURAL ASSOCIATIONS OF A PLURALITY OF MUTUALLY-INSULATED ELECTRICAL CONNECTING ELEMENTS; COUPLING DEVICES; CURRENT COLLECTORS
- H01R25/00—Coupling parts adapted for simultaneous co-operation with two or more identical counterparts, e.g. for distributing energy to two or more circuits
- H01R25/003—Coupling parts adapted for simultaneous co-operation with two or more identical counterparts, e.g. for distributing energy to two or more circuits the coupling part being secured only to wires or cables
-
- H—ELECTRICITY
- H01—ELECTRIC ELEMENTS
- H01R—ELECTRICALLY-CONDUCTIVE CONNECTIONS; STRUCTURAL ASSOCIATIONS OF A PLURALITY OF MUTUALLY-INSULATED ELECTRICAL CONNECTING ELEMENTS; COUPLING DEVICES; CURRENT COLLECTORS
- H01R13/00—Details of coupling devices of the kinds covered by groups H01R12/70 or H01R24/00 - H01R33/00
- H01R13/46—Bases; Cases
- H01R13/514—Bases; Cases composed as a modular blocks or assembly, i.e. composed of co-operating parts provided with contact members or holding contact members between them
Landscapes
- Connector Housings Or Holding Contact Members (AREA)
- Details Of Connecting Devices For Male And Female Coupling (AREA)
Abstract
【課題】複数の連結可能なソケットで構成される電源ストリップ(テーブルタップ)を提供する。
【解決手段】側部電気プラグは、電源コードソケット7のベースに垂直な垂直方向に側部電気受け口8に差し込まれ、これにより延長ソケットを電源コードソケット7に接続する。延長ソケットは、2つ延長ソケットを互いに接続するために、反対側に段差側壁をさらに有する。電源ストリップは、電源コードソケット7または延長ソケットの受け口8へ挿入可能なプラグを有する端部ピースを有する。突起・溝係合、および留め具・凹部係合が、ソケット7および端部ピースの係合段差側壁に形成される。
【選択図】図1
【解決手段】側部電気プラグは、電源コードソケット7のベースに垂直な垂直方向に側部電気受け口8に差し込まれ、これにより延長ソケットを電源コードソケット7に接続する。延長ソケットは、2つ延長ソケットを互いに接続するために、反対側に段差側壁をさらに有する。電源ストリップは、電源コードソケット7または延長ソケットの受け口8へ挿入可能なプラグを有する端部ピースを有する。突起・溝係合、および留め具・凹部係合が、ソケット7および端部ピースの係合段差側壁に形成される。
【選択図】図1
Description
関連出願の相互参照
本願は、2009年10月12日に出願した中国特許出願200920244752.7号の優先権を主張し、その内容全体をここに参照として援用する。
本願は、2009年10月12日に出願した中国特許出願200920244752.7号の優先権を主張し、その内容全体をここに参照として援用する。
本願は、概して電源ストリップに関し、特に複数の連結可能なソケットで形成される電源ストリップ(テーブルタップ)に関する。
現在の技術において、電気器具は、屋内あるいは屋外のソケットであって、壁に固定されるまたは延長コードに接続されるソケットからの電気を得る。そのためには、ソケットに電気器具の電気プラグを挿入することにより、電源をソケットの電極に接続する。これにより、プラグ電極がソケット電極と接触し、電気器具に電気を供給できる。通常、出力コンセント数は固定である。しかしながら、実際の使用時において、必要とされる出力コンセント数は一定ではない。出力コンセント数が不十分であって、さらなる電気器具が必要な場合、出力コンセント数が足らなくなる。この問題に対する既存の解決法は、第1の電源ストリップの電気プラグを、既存の出力コンセント数リソースの残りの電気ソケットに挿入することである。出力コンセント数がさらに必要な場合、第2電源ストリップの電気プラグを第1電源ストリップの残りの電気ソケットに挿入することになる。しかしながら、この解決法の1つの欠点は、一の電気ソケットがさらなる電源ストリップの電気プラグを受けることにある。これは出力コンセント数リソースの無駄である。また、既存の出力コンセント数の上およびその周辺の空間の無駄である。他の欠点は、既存の出力コンセント数とさらなる電源ストリップとの間の接続が安定していないということにある。既存の出力コンセント数とさらなる電源ストリップとが、電源ストリップの一端の電気プラグによってのみ接続されるからである。
上記の背景技術の説明は電源ストリップの理解する助けるためのものであって、本願において開示する電源ストリップに関係する従来技術を説明あるいは構成することを自認するものではなく、引用した引用文献は本願の実用新案請求の範囲の進歩性に対する材料と見なすことを自認するものではない。
一の面では、複数の連結可能なソケットで構成される電源ストリップを提供する。電源ストリップは、電源コードと、第1ソケットと、第2ソケットと、を備える。
第1ソケットは、外装パネルと、ベースと、第1段差側壁と、メイン電気受け口と、側部電気受け口と、を有する。第1段差側壁は、ベースに沿って延設される第1段差部が形成される。メイン電気受け口は、外装パネルに配置される。側部電気受け口は、外装パネルと概ね同じ方向に面する第1段差部の受け口配置壁に配置される。メインおよび側部電気受け口は電源コードに電気的に連結される。
第2ソケットであって、外装パネルと、ベースと、第2段差側壁と、メイン電気受け口と、側部電気プラグと、を有する。第2段差側壁は、第2ソケットの外装パネルに沿って延設される第2段差部が形成されるとともに、第1段差側壁とは反転した形状で第2ソケットの一方の側に形成される。メイン電気受け口は、第2ソケットの外装パネルに配置される。側部電気プラグは、第2ソケットの外装パネルと反対に面する第2段差部のプラグ配置壁に配置される。側部電気プラグは第2ソケットのメイン電気受け口に電気的に連結される。
第2ソケットの側部電気プラグが第1ソケットの側部電気受け口へとベースに垂直な方向に挿入可能であり、これにより、第1および第2ソケットを互いに接続できる。
一の態様では、第2ソケットは、さらに、第3段差側壁と、側部電気受け口と、を有する。第3段差側壁は、第2ソケットのベースに沿って延設される第3段差部が形成されるとともに、第2ソケットの他方の側に形成される。側部電気受け口は、第2ソケットの外装パネルと概ね同じ方向に面する第3段差部の受け口配置壁に配置される。第2ソケットの側部電気受け口は、第2ソケットのメイン電気受け口に電気的に連結されるとともに、他の第2ソケットの側部電気プラグを受けるよう構成されている。
一の態様では、電源ストリップは、保護端部ピースをさらに有する。保護端部ピースは、外装パネルと、ベースと、保護端部ピースの外装パネルに沿って延設される第4段差部が形成されるとともに、第1または第3段差側壁とは反転した形状で形成される第4段差側壁と、保護端部ピースの外装パネルと概ね反対に面する第4段差部のプラグ配置壁に配置される側部プラグであって、保護端部ピースの側部プラグは、第1または第2ソケットの側部電気受け口へ挿入可能である側部プラグと、を有する。
一の態様では、第1および第3段差側壁のそれぞれは、接続されているベースに垂直な第1壁を有する。逆向きの第2および第4段差側壁のそれぞれは、接続されているベースに垂直な係合第2壁を有する。第1および第3段差側壁のそれぞれは、接続されている外装パネルに垂直な第3壁を有する。逆向きの第2および第4段差側壁のそれぞれは、接続されている外装パネルに垂直な係合第4壁を有する。第1、第2、第3および第4壁は互いに平行である。
一の態様では、第1および第2壁の一方には、接続されているベースに垂直な細長い突起が配置されており、また、第1および第2壁の他方には、接続されているベースに垂直な、細長い突起と摺動可能に係合する細長い溝が配置されている。
一の態様では、第1および第2壁の一方には凹部が配置されており、第1および第2壁の他方には凹部に挿入されるとともに、係合する突出留め具が配置されている。
一の態様では、第3および第4壁の一方には、接続されている外装パネルに垂直な細長い突起が配置されており、また、第3および第4壁の他方には、接続されている外装パネルに垂直な、細長い突起と摺動可能に係合する細長い溝が配置されている。
一の態様では、細長い突起および溝は、概ね長方形状の断面を有する。
一の態様では、細長い突起および溝は、概ねありつぎ状の断面を有する。
一の態様では、側部電気プラグは第2ソケットのプラグ配置壁に垂直である。
一の態様では、第2ソケットの側部電気プラグは2ピンの電気プラグであり、第1ソケットの側部電気受け口は2ピンの電気受け口である。
一の態様では、第2ソケットの側部電気プラグは3ピンの電気プラグであり、第1ソケットの側部電気受け口は3ピンの電気受け口である。
一の態様では、第2ソケットの側部電気プラグのピンが、プラグ配置壁に沿って一列に配置されており、また、第1ソケットの側部電気受け口の対応する開口部が、受け口配置壁に沿って一列に配置されている。
一の態様では、第1ソケットの外装パネルと第1ソケットの受け口配置壁との間の距離は、第2ソケットの外装パネルと第2ソケットのプラグ配置壁との間の距離と実質的に同じであり、また、第1ソケットの受け口配置壁と第1ソケットのベースとの間の距離は、第2ソケットのプラグ配置壁と第2ソケットのベースとの間の距離と実質的に同じである。
一の態様では、第1および第2ソケットが互いに接続されると、第1および第2ソケットの外装パネルが同じ面上に配置される。
一の態様では、第1および第2ソケットのそれぞれは電源スイッチを有する。
一の態様では、第1および第2ソケットのそれぞれはネオン管パワーインジケータを有する。
他の面では、電源ストリップであって、第1ソケットと、第2ソケットと、を備える電源ストリップを提供する。
第1ソケットであって、外装パネルと、ベースと、第1段差側壁と、メイン電気受け口と、第1電気コネクタと、を有する。第1段差側壁は、ベースに沿って延設される第1段差部が形成される。メイン電気受け口は、外装パネルに配置される。第1電気コネクタは、第1段差側壁に配置される。メイン電気受け口および第1電気コネクタが電源コードに電気的に連結される。
第2ソケットは、外装パネルと、ベースと、第2段差側壁と、メイン電気受け口と、第2電気コネクタと、を有する。第2段差側壁は、第2ソケットの外装パネルに沿って延設される第2段差部が形成されるとともに、第1段差側壁とは反転した形状で第2ソケットの一方の側に形成される。メイン電気受け口は、第2ソケットの外装パネルに配置される。第2電気コネクタは、第2段差側壁に配置されるとともに、第2ソケットのメイン電気受け口に電気的に連結されており第1ソケットの第1電気コネクタに連結可能である。
一の態様では、第2ソケットが、第3段差側壁と、第3電気コネクタと、をさらに有する。第3段差側壁は、第2ソケットのベースに沿って延設される第3段差部が形成されるとともに、第2ソケットの他方の側に形成される。第3電気コネクタは、第3段差側壁に配置されるとともに、第2ソケットのメイン電気受け口に電気的に連結されており他の第2ソケットの第2電気コネクタに連結可能である。
一の態様では、電源ストリップは、保護端部ピースをさらに備える。保護端部ピースは、外装パネルと、ベースと、第4段差側壁と、第4電気コネクタと、を有する。第4段差側壁は、保護端部ピースの外装パネルに沿って延設される第4段差部が形成されるとともに、第1または第3段差側壁とは反転した形状で形成される。第4電気コネクタは、第4段差側壁に配置されるとともに、第1ソケットの第1電気コネクタまたは第2ソケットの第3電気コネクタに連結可能である。
一の態様では、第1電気コネクタは、第1ソケットの外装パネルと概ね同じ方向に面する第1段差部の受け口配置壁に配置される電気受け口である。第2電気コネクタは、第2ソケットの外装パネルと概ね反対に面する第2段差部のプラグ配置壁に配置される電気プラグである。第3電気コネクタは、第2ソケットの外装パネルと概ね同じ方向に面する第3段差部の受け口配置壁に配置される電気受け口である。第4電気コネクタは、保護端部ピースの外装パネルと概ね反対に面する第4段差部のプラグ配置壁に配置されるプラグである。第2ソケットの電気プラグおよび保護端部ピースのプラグは、第1または第2ソケットの電気受け口へとそのベースに垂直な方向に挿入可能である。
一の態様では、第1および第3段差側壁のそれぞれは、接続されているベースに垂直な第1壁を有する。逆向きの第2および第4段差側壁のそれぞれは、接続されているベースに垂直な係合第2壁を有する。第1および第3段差側壁のそれぞれは、接続されている外装パネルに垂直な第3壁を有する。逆向きの第2および第4段差側壁のそれぞれは、接続されている外装パネルに垂直な係合第4壁を有する。第1、第2、第3および第4壁は互いに平行である。
一の態様では、第1および第2壁の一方には、接続されているベースに垂直な細長い突起が配置されており、また、第1および第2壁の他方には、接続されているベースに垂直な、細長い突起と摺動可能に係合する細長い溝が配置されている。
一の態様では、第1および第2壁の一方には凹部が配置されており、第1および第2壁の他方には凹部に挿入されるとともに、係合する突出留め具が配置されている。
一の態様では、第3および第4壁の一方には、接続されている外装パネルに垂直な細長い突起が配置されており、また、第3および第4壁の他方には、接続されている外装パネルに垂直な、細長い突起と摺動可能に係合する細長い溝が配置されている。
一の態様では、細長い突起および溝は、概ね長方形状の断面を有する。
一の態様では、細長い突起および溝は、概ねありつぎ状の断面を有する
一の態様では、側部電気プラグは第2ソケットのプラグ配置壁に垂直である。
一の態様では、側部電気プラグは第2ソケットのプラグ配置壁に垂直である。
一の態様では、第2ソケットの側部電気プラグは2ピンの電気プラグであり、第1ソケットの側部電気受け口は2ピンの電気受け口である。
一の態様では、第2ソケットの側部電気プラグは3ピンの電気プラグであり、第1ソケットの側部電気受け口は3ピンの電気受け口である。
一の態様では、第2ソケットの側部電気プラグのピンが、プラグ配置壁に沿って一列に配置されており、また、第1ソケットの側部電気受け口の対応する開口部が、受け口配置壁に沿って一列に配置されている。
一の態様では、第1ソケットの外装パネルと第1ソケットの受け口配置壁との間の距離は、第2ソケットの外装パネルと第2ソケットのプラグ配置壁との間の距離と実質的に同じであり、また、第1ソケットの受け口配置壁と第1ソケットのベースとの間の距離は、第2ソケットのプラグ配置壁と第2ソケットのベースとの間の距離と実質的に同じである。
一の態様では、第1および第2ソケットが互いに接続されると、第1および第2ソケットの外装パネルが同じ面上に配置される。
一の態様では、第1および第2ソケットのそれぞれは電源スイッチを有する。
一の態様では、第1および第2ソケットのそれぞれはネオン管パワーインジケータを有する。
さらに他の面では、電源ストリップを構成するソケットキットを提供する。ソケットキットは、電源ソケットと、延長ソケットと、を備える。
電源ソケットは、外装パネルと、ベースと、第1段差側壁と、第1電気コネクタと、を有する。第1段差側壁は、ベースに沿って延設される第1段差部が形成される。第1電気コネクタは、外装パネルに配置されるメイン電気受け口と、第1段差側壁に配置される。メイン電気受け口および第1電気コネクタが電源コードに電気的に連結される。
延長ソケットであって、外装パネルと、ベースと、第2段差側壁と、第2電気コネクタと、を有する。第2段差側壁は、延長ソケットの外装パネルに沿って延設される第2段差部が形成されるとともに、第1段差側壁とは反転した形状で延長ソケットの一方の側に形成される。メイン電気受け口は、延長ソケットの外装パネルに配置される。第2電気コネクタは、第2段差側壁に配置されるとともに、延長ソケットのメイン電気受け口に電気的に連結されており電源コードソケットの第1電気コネクタに連結可能である。
一の態様では、延長ソケットが、第3段差側壁と、第3電気コネクタと、をさらに有する。第3段差側壁は、延長ソケットのベースに沿って延設される第3段差部が形成されるとともに、延長ソケットの他方の側に形成される。第3電気コネクタは、第3段差側壁に配置されるとともに、延長ソケットのメイン電気受け口に電気的に連結されており他の延長ソケットの第2電気コネクタに連結可能である。
一の態様では、ソケットキットは、さらに、保護端部ピースを備える。保護端部ピースが、外装パネルと、ベースと、第4段差側壁と、第4電気コネクタと、を有する。第4段差側壁は、保護端部ピースの外装パネルに沿って延設される第4段差部が形成されるとともに、第1または第3段差側壁とは反転した形状で形成される。第4電気コネクタは、第4段差側壁に配置されるとともに、電源コードソケットの第1電気コネクタまたは延長ソケットの第3電気コネクタに連結可能である。
一の態様では、第1電気コネクタは、電源コードソケットの外装パネルと概ね同じ方向に面する第1段差部の受け口配置壁に配置される電気受け口である。第2電気コネクタは、延長ソケットの外装パネルと概ね反対に面する第2段差部のプラグ配置壁に配置される電気プラグである。第3電気コネクタは、延長ソケットの外装パネルと概ね同じ方向に面する第3段差部の受け口配置壁に配置される電気受け口である。第4電気コネクタは、保護端部ピースの外装パネルと概ね反対に面する第4段差部のプラグ配置壁に配置されるプラグである。延長ソケットの電気プラグおよび保護端部ピースのプラグは、電源コードソケットまたは延長ソケットの電気受け口へとそのベースに垂直な方向に挿入可能である。
一の態様では、第1および第3段差側壁のそれぞれは、接続されているベースに垂直な第1壁を有する。逆向きの第2および第4段差側壁のそれぞれは、接続されているベースに垂直な係合第2壁を有する。第1および第3段差側壁のそれぞれは、接続されている外装パネルに垂直な第3壁を有する。逆向きの第2および第4段差側壁のそれぞれは、接続されている外装パネルに垂直な係合第4壁を有する。第1、第2、第3および第4壁は互いに平行である。
一の態様では、第1および第2壁の一方には、接続されているベースに垂直な細長い突起が配置されており、また、第1および第2壁の他方には、接続されているベースに垂直な、細長い突起と摺動可能に係合する細長い溝が配置されている。
一の態様では、第1および第2壁の一方には凹部が配置されており、第1および第2壁の他方には凹部に挿入されるとともに、係合する突出留め具が配置されている。
一の態様では、第3および第4壁の一方には、接続されている外装パネルに垂直な細長い突起が配置されており、また、第3および第4壁の他方には、接続されている外装パネルに垂直な、細長い突起と摺動可能に係合する細長い溝が配置されている。
一の態様では、電源コードソケットおよび延長ソケットのそれぞれは電源スイッチを有する。
一の態様では、電源コードソケットおよび延長ソケットのそれぞれはネオン管パワーインジケータを有する。
いくつかの実施形態を参照して本願において開示する電源ソケットを示し説明するが、当業者は本明細書を読んで理解することによって均等物および変形物を当然思いつくであろう。本願は、そのような均等物や変形物をすべて含むものであって、実用新案請求の範囲によってのみ規定される。
本願に開示する電源コードソケットの具体的な実施形態を添付の図面を参照して例示的に説明する。
次に、本願において開示する電源ストリップの好ましい実施形態を詳細に説明する。また、以下の説明に、その実施例を示す。本願において開示する電源ストリップの例示的な実施形態を詳細に説明するが、電源ストリップの理解に特に重要でないいくつかの特徴は簡略化のために示していないことは当業者には明らかであろう。
また、本願において開示する電源ストリップは、後述する詳細な実施形態に限定されず、添付の実用新案の範囲の精神あるいは範囲を逸脱することなく種々の変形および変更を当業者によってなしうることは、理解されよう。例えば、種々の例示的な実施形態のエレメントおよび/または特徴を、本開示および添付の実用新案請求の範囲内で、互いに組み合わせること、および/または互いと置き換えることもできる。
本開示、図面および添付の実用新案登録請求の範囲から当業者にとって明らかとなる改良や変形は、添付の実用新案登録請求の精神および範囲内である。
なお、明細書および実用新案の範囲を通じて、1つのエレメントが他のエレメントに「連結される」あるいは「接続される」場合、エレメントは他のエレメントに必ずしも固定し、留める、あるいは取り付けることを意味しない。それよりむしろ、用語「連結される」あるいは「接続される」は、あるエレメントが他のエレメントに直接的あるいは間接的に接続される、または他のエレメントとの機械的あるいは電気的な連絡状態にあること、を意味する。
図1乃至図7は、本願において開示する第1実施形態にかかる電源ストリップを示す。電源ストリップは、電源コードおよび延長ソケット11に接続される電源コードソケット7を有することができる。図1乃至図3に示すように、電源コードソケット7は、電源コードソケット7の外装パネルに配置されるメイン電気受け口9(電極を有する)を有することができる。メイン電気受け口9は、英国規格、米国規格、中国規格または他の国の規格に応じて形成される規格電気プラグを受けるあらゆる規格の電気受け口とできる。
電源コードソケット7は、そのベースに沿って電源コードソケット7の一方の側から延設される第1段差部14が形成される第1段差側壁を有することができる。第1段差部14は、電源コードソケット7と一体的に形成することができる。側部電気受け口8は、外装パネルと概ね同じ方向に面する受け口配置壁62に配置することができる。メイン電気受け口9および側部電気受け口8は、電源コードに電気的に連結でき、したがって電源に接続できる。絶縁スリーブ(図示せず)を、側部電気受け口8内に一体的に形成することができる。図示の実施形態では、側部電気受け口8は3ピンの電気受け口である。3ピンの電気受け口8の3つの開口部は、電源コードソケット7の受け口配置壁62に沿って一列に配置することができる。
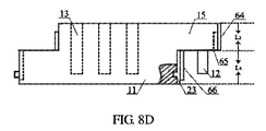
図4、図5および図6に示すように、延長ソケット11にはメイン電気受け口13が配置される。延長ソケット11は、その外装パネルに沿って延長ソケット11の一方の側から延設される第2段差部15が形成される第2段差側壁を有することができる。第2段差側壁は、第1段差側壁とは反転した形状で配置される。第2段差部15は、延長ソケット11と一体的に形成することができる。側部電気プラグ12は、延長ソケット11の外装パネルと反対に面するプラグ配置壁65に配置することができる。延長ソケット11の側部電気プラグ12は、延長ソケット11のメイン電気受け口13に電気的に連結することができる。図示の実施形態では、側部電気プラグ12は3ピンの電気プラグである。3つのピンは、延長ソケット11のプラグ配置壁65に沿って一列に配置することができる。これにより、側部電気プラグ12は、3つのピンが三角形状に配置される規格の3ピンの電気プラグと比較して、比較的横幅のない(フラットな)構成配置となる。これにより、電源コードソケット7および延長ソケット11によってこのように形成される電源ストリップの長さを低減でき、また電源ストリップによって占有される空間を低減できる。
電源コードソケット7および延長ソケット11のそれぞれに、1つの規格の電気プラグを受けるための1つの規格の電気受け口のみが配置される例を示して説明したが、電源コードソケット7および延長ソケット11のそれぞれに、2つ以上の電気受け口を配置することも考えられる。
さらに、側部電気受け口8が電源コードソケット7に配置され、そして、側部電気プラグ12が延長ソケット11に配置される例を示して説明したが、代わりに、側部電気プラグ12は電源コードソケット7に配置することもでき、そして、側部電気受け口8は、延長ソケット11に提供することができることは理解されよう。
図7は、電源コードソケット7と延長ソケット11との接続を示す。接続するために、延長ソケット11の側部電気プラグ12は、電源コードソケット7のベースに垂直な垂直方向に電源コードソケット7の側部電気受け口8に差し込まれる。延長ソケット11の側部電気プラグ12が電源コードソケット7の側部電気受け口8に差し込まれると、延長ソケット11の逆向きの第2段差側壁が電源コードソケット7の第1段差側壁と係合する。電源コードソケット7と延長ソケット11とは容易には分離できない。これにより、電源コードソケット7と延長ソケット11との接続の安定性が向上し、電源ストリップの安全性を確保できる。
電源コードソケット7の高さと延長ソケット11の高さとを同じにできる。図1および図4に示すように、電源コードソケット7の垂直側壁61の高さL1(つまり電源コードソケット7の外装パネルと受け口配置壁62との間の距離)は、延長ソケット11の第2段差部15の高さL2(つまり延長ソケット11の外装パネルとプラグ配置壁65との間の距離)と実質的に同じである。さらに、電源コードソケット7の第1段差部14の高さL3(つまり電源コードソケット7の受け口配置壁62とベースとの間の距離)は、延長ソケット11の側壁66の高さL4(つまり延長ソケット11のプラグ配置壁65とベースとの間の距離)と実質的に同じである。したがって、電源コードソケット7と延長ソケット11とが互いに連結されると、電源コードソケット7および延長ソケット11の外装パネルを同じ面すなわち同じ高さに配置することができる。これにより、電源ストリップを一体的で整った外観とできる。
電源コードソケット7の外装パネルと延長ソケット11の外装パネルとを同じ面すなわち同じ高さに配置される例を示し説明したが、電源コードソケット7の外装パネルを延長ソケット11の外装パネルより高くまたは低くできることは理解されよう。
さらに、電源コードソケット7および延長ソケット11の第1側壁および第2側壁には、電源コードソケット7および延長ソケット11を互いに保持するための係合要素を形成することができる。
図1乃至図6に示すように、凸部すなわち留め具22を、電源コードソケット7のベースに垂直な第1段差側壁の垂直壁63に形成することができる。また、対応する凹部すなわち凹部23を、延長ソケット11のベースに垂直な第2段差側壁の係合垂直壁66に形成することができる。留め具22は、外側に延設される位置に留め具22を付勢するための内部バネを有するバネ付勢留め具の態様とできる。電源コードソケット7および延長ソケット11の他の適当な係合面に留め具22および凹部23を配置することができることは当業者には理解されよう。
さらに、電源コードソケット7と延長ソケット11とは、摺動可能な係合によって互いに接続することができる。図示の実施形態では、2つの垂直の細長い溝16を、電源コードソケット7の第1段差側壁の垂直壁63に形成することができ、そして、2つの対応する垂直の細長い突起19を、延長ソケット11の第2段差側壁の垂直壁66に形成することができる。延長ソケット11の側部電気プラグ12を、電源コードソケット7のベースに垂直な垂直方向に電源コードソケット7の側部電気受け口8へ挿入するとき、延長ソケット11の2つの垂直の突起19が、電源コードソケット7の2つの対応する垂直溝16内へ摺動し、これにより、電源コードソケット7と延長ソケット11とを互いに所定位置に保持できる。
溝16および突起19によって、電源コードソケット7と延長ソケット11とを接続するとき、延長ソケット11を電源コードソケット7上に正しい姿勢で位置決めすることができる。電源コードソケット7と延長ソケット11とが接続されると、係合した溝16および突起19により、電源コードソケット7と延長ソケット11との分離を防止できる。細長い溝16および細長い突起19は概ね長方形状の断面または概ねありつぎ状の断面を有することができる。
2つの垂直溝16を電源コードソケット7に形成し、そして2つ垂直突起19を延長ソケット11に形成する例を示し説明したが、溝16と突起19との係合により電源コードソケット7および延長ソケット11を所望位置に保持するのに十分である限り、溝16および突起19の数、位置、ならびに形状を変更できることは、当業者には理解されよう。
さらに、2つの垂直の細長い突起17を、電源コードソケット7の外装パネルに垂直な第1段差側壁の垂直壁61に形成することができ、そして、2つの対応する垂直の細長い溝18を、延長ソケット11の外装パネルに垂直な第2段差側壁の垂直壁64に形成することができる。延長ソケット11の側部電気プラグ12を、電源コードソケット7のベースに垂直な垂直方向に電源コードソケット7の側部電気受け口8へ挿入するとき、電源コードソケット7の2つの対応する垂直の突起17が延長ソケット11の2つの垂直溝18内へ摺動し、これにより、電源コードソケット7と延長ソケット11とをさらに一体に保持できる。
溝18および突起17は、電源コードソケット7と延長ソケット11とをよりしっかりと接続することができる。電源コードソケット7と延長ソケット11とが接続されると、係合した溝18および突起17により、電源コードソケット7と延長ソケット11との分離をよりいっそう防止できる。細長い溝18および細長い突起17は概ね長方形状の断面または概ねありつぎ状の断面を有することができる。
2つの垂直突起17を電源コードソケット7に形成し、そして2つ対応する垂直溝18を延長ソケット11に形成する例を示し説明したが、溝18と突起17との係合により電源コードソケット7および延長ソケット11を所望位置に保持するのに十分である限り、溝18および突起17の数、位置、ならびに形状を変更できることは、当業者には理解されよう。
図2、図3、図5および図6に示すように、電源スイッチ5を、電源コードソケット7および延長ソケット11のそれぞれに配置することができる。電力スイッチ5は、電源コードソケット7および延長ソケット11のメイン電気受け口9および13の電極への電力を制御するために使用される。ネオン管パワーインジケータ6を、電源コードソケット7のメイン電気受け口9の電力状態を示すために電源コードソケット7に配置することができる。同様に、他のネオン管パワーインジケータ6を、延長ソケット11のメイン電気受け口13の電力状態を示すために延長ソケット11に配置することができる。パワーインジケータとして発光ダイオードのような他の従来の点灯デバイスを用いることができることは理解されよう。
図7に示すように、電源ストリップにおけるメイン電気受け口の数を増加するために、電源コードソケット7のベースに垂直な垂直方向(矢印で示す)に延長ソケット11の側部電気プラグ12を電源コードソケット7の側部電気受け口8に差し込むことができ、これにより、電源コードソケット7と延長ソケット11とを機械的かつ電気的に互いに接続できる。こうして、延長ソケット11が電源コードソケット7のメイン電気受け口9を覆わないようにできる。これにより、電源ストリップのコンセント(差し込み口)リソースを無駄にすることなく、メイン電気受け口の数を増加させることができる。延長ソケット11の側部電気プラグ12は、垂直方向に電源コードソケット7の側部電気受け口8に差し込まれるので、電源コードソケット7と延長ソケット11とは容易には分離することができない。これにより、接続しているソケットの機械的構造の安定性を向上できる。留め具22および凹部23を用いることにより、接続しているソケットの機械的構造の安定性をさらに向上でき、電源コードソケット7と延長ソケット11との分離をよりいっそう防止できる。
図8A、図8B、図8C、図8Dおよび図9乃至図11に示すように、延長ソケット11の反対側には、そのベースに沿って延長ソケット11の他方の側から延設される第3段差部45を形成する第3段差側壁を配置することができる。第3段差部45は、延長ソケット11と一体的に形成することができる。側部電気受け口48を、延長ソケット11の外装パネルに概ね面する第3段差部45の受け口配置壁に配置することができる。側部電気受け口48は、メイン電気受け口13に電気的に連結することができる。図示の実施形態では、側部電気受け口48は3ピンの電気受け口である。3ピンの電気受け口の3つの開口部は、第3段差部45の受け口配置壁に沿って一列に配置することができる。
第2実施形態では、延長ソケット11を、他の延長ソケット11に接続することができる。接続するために、延長ソケット11の側部電気プラグ12は、他の延長ソケット11の側部電気受け口48に、そのベースに垂直な垂直方向に差し込まれる。延長ソケット11の側部電気プラグ12が他の延長ソケット11の側部電気受け口48に差し込まれると、延長ソケット11の逆向きの第2段差側壁が他の延長ソケット11の第3段差側壁と係合する。したがって、2つの接続される延長ソケット11は、容易には分離することができない。長手方向に延設される電源ストリップを形成する必要な場合、2つ以上の延長ソケット11を互いに接続できることは理解されよう。
同様に、第2段差側壁および第3段差側壁には、細長い突起および細長い溝を配置することができる。これにより、2つの延長ソケット11が分離するおそれを低減することができる。図示の実施形態では、2つの細長い突起19が第2段差側壁に配置され、一方、2つの細長い溝46が、第3段差側壁に配置される。
細長い突起が第2段差側壁に配置され、対応する細長い溝が第3段差側壁に配置される例を示し説明したが、細長い溝を第2段差側壁に配置し、対応する細長い突起を第3段差側壁に配置でき、あるいは細長い溝と突起を第2段差側壁に配置し、対応する細長い突起と溝を第3段差側壁に配置できることは理解されよう。
留め具42を、延長ソケット11の第3段差側壁の垂直壁に形成することもできる。2つの延長ソケット11が互いに接続されるとき、留め具42は、延長ソケット11の第2段差側壁の垂直壁66に形成される対応する凹部23と係合する。留め具42は、外側に延設される位置に留め具42を付勢するための内部バネを有するバネ付勢留め具の態様とできる。
第2段差側壁および第3段差側壁が延長ソケット11の両側に形成される例を示し説明したが、第3段差側壁を第2段差側壁の隣接する側に配置することもできることは理解されよう。
図12に示すように、電源ストリップは保護端部ピース50をさらに有することができる。保護端部ピース50は、外装パネルと、ベースと、その外装パネルに沿って延設される第4段差部55を形成する第4段差側壁と、を有することができる。保護端部ピース50には、電気受け口は配置されず、したがって、全体的に絶縁されている。
第4段差側壁は、第1段差側壁および第3段差側壁とは反転した形状で配置される。第4段差部55は、保護端部ピース50と一体的に形成することができる。側部プラグ52は、保護端部ピース50の外装パネルと反対に面するプラグ配置壁に配置することができる。図示の実施形態では、側部プラグ52は3ピンのプラグである。3つのピンは、保護端部ピース50のプラグ配置壁に沿って一列に配置することができる。これにより、側部プラグ52は、3つのピンが三角形状に配置される規格の3ピンの電気プラグと比較して、比較的横幅のない(フラットな)構成配置となる。保護端部ピース50は、電源コードソケット7の側部電気受け口8または延長ソケット11の側部電気受け口48へそのベースに垂直な方向に挿入可能である。これにより、保護端部ピース50の電源コードソケット7または延長ソケット11への接続の安定性を向上できる。保護端部ピース50は、また、電源ストリップの雷防護効果を与えるよう機能する。
図13に示すように、保護端部ピース50は、電源コードソケット7に接続されている複数の延長ソケット11のうちの最後の1つの延長ソケット11へ挿入することができる。このように形成される電源ストリップは、外観を一体的にでき、全体的に絶縁できる。
同様に、保護端部ピース50の第4段差側壁は、保護端部ピース50を電源コードソケット7または延長ソケット11に保持するための係合要素を有するよう形成できる。
図14に示すように、延長ソケット11の留め具42または電源コードソケット7の留め具22を受けて係合するための凹部53を、保護端部ピース50のベースに垂直な第4段差側壁の垂直壁に形成することができる。
さらに、保護端部ピース50を、摺動可能な係合によって電源コードソケット7または延長ソケット11に接続することができる。図14に示す例示の実施形態では、2つの垂直な細長い溝を、保護端部ピース50の外装パネルに垂直な第4段差側壁の第4段差部55の垂直壁に形成でき、そして2つの垂直な細長い突起59を、保護端部ピース50のベースに垂直な第4段差側壁の垂直壁に形成できる。これにより、保護端部ピース50の電源コードソケット7または延長ソケット11への接続を行うことができる。保護端部ピース50が電源コードソケット7または延長ソケット11に接続されると、係合溝および突起により保護端部ピース50が電源コードソケット7または延長ソケット11から分離するのを防止できる。保護端部ピース50を、保護端部ピース50と電源コードソケット7または延長ソケット11との間の溝・突起接続によって定位置にしっかりと保持することができるので、側部プラグ52を必ずしも保護端部ピース50に配置する必要がないことは理解されよう。
電源コードソケット7および延長ソケット11の電気接続は電気プラグと電気受け口とによって達成される例を示し説明したが、電源コードソケット7および延長ソケット11の電気接続は、電気金属ピン、プレート、ボス、スプリング、クリップなどあらゆる他の使用可能な電気接続によっても達成できることは当業者には理解されよう。
電源コードソケット7、延長ソケット11および保護端部ピース50には、3ピンプラグおよび3ピン受け口が配置されている例を示し説明したが、電源コードソケット7、延長ソケット11および保護端部ピース50は、より多いピンまたはより少ないピンを有するプラグおよびソケットを配置できることは理解されよう。
図15乃至図23は、電源コードソケット7、延長ソケット11および保護端部ピース50に、2ピンのプラグと2ピン受け口とが配置されている第4実施形態を示す。
本願において開示した電源ストリップをいくつかの好ましい実施形態を特に参照して示し、説明したが、添付の実用新案請求の範囲から逸脱することなく種々の変形および変更を行うことができることを述べておく。
Claims (15)
- (a)第1ソケットであって、外装パネルと、ベースと、前記ベースに沿って延設される第1段差部が形成される第1段差側壁と、前記外装パネルに配置されるメイン電気受け口と、前記第1段差側壁に配置される第1電気コネクタと、を備え、前記メイン電気受け口および第1電気コネクタが電源コードに電気的に連結される第1ソケットと、
(b)第2ソケットであって、外装パネルと、ベースと、該第2ソケットの外装パネルに沿って延設される第2段差部が形成されるとともに前記第1段差側壁とは反転した形状で該第2ソケットの一方の側に形成される第2段差側壁と、前記第2ソケットの外装パネルに配置されるメイン電気受け口と、前記第2段差側壁に配置されるとともに前記第2ソケットのメイン電気受け口に電気的に連結されており前記第1ソケットの第1電気コネクタに連結可能である第2電気コネクタと、を備える第2ソケットと、
を備える電源ストリップ。 - 請求項1に記載の電源ストリップであって、前記第2ソケットが、前記第2ソケットのベースに沿って延設される第3段差部が形成されるとともに前記第2ソケットの他方の側に形成される第3段差側壁と、前記第3段差側壁に配置されるとともに前記第2ソケットのメイン電気受け口に電気的に連結されており他の第2ソケットの第2電気コネクタに連結可能である第3電気コネクタと、をさらに備えている電源ストリップ。
- 請求項2に記載の電源ストリップであって、さらに、保護端部ピースを備えており、該保護端部ピースが、外装パネルと、ベースと、該保護端部ピースの外装パネルに沿って延設される第4段差部が形成されるとともに前記第1または第3段差側壁とは反転した形状で形成される第4段差側壁と、前記第4段差側壁に配置されるとともに前記第1ソケットの第1電気コネクタまたは前記第2ソケットの第3電気コネクタに連結可能である第4電気コネクタと、を備えている電源ストリップ。
- 請求項3に記載の電源ストリップであって、前記第1電気コネクタは、前記第1ソケットの外装パネルと概ね同じ方向に面する前記第1段差部の受け口配置壁に配置される電気受け口であり、前記第2電気コネクタは、前記第2ソケットの外装パネルと概ね反対に面する前記第2段差部のプラグ配置壁に配置される電気プラグであり、前記第3電気コネクタは、前記第2ソケットの外装パネルと概ね同じ方向に面する前記第3段差部の受け口配置壁に配置される電気受け口であり、前記第4電気コネクタは、前記保護端部ピースの外装パネルと概ね反対に面する前記第4段差部のプラグ配置壁に配置されるプラグであり、前記第2ソケットの電気プラグおよび前記保護端部ピースのプラグは、前記第1または第2ソケットの電気受け口へとそのベースに垂直な方向に挿入可能である電源ストリップ。
- 請求項4に記載の電源ストリップであって、前記第1および第3段差側壁のそれぞれは、接続されている前記ベースに垂直な第1壁を有し、前記逆向きの第2および第4段差側壁のそれぞれは、接続されている前記ベースに垂直な係合第2壁を有し、第1および第3段差側壁のそれぞれは、接続されている外装パネルに垂直な係合第3壁を有し、前記逆向きの第2および第4段差側壁のそれぞれは、接続されている外装パネルに垂直な係合第4壁を有し、前記第1、第2、第3および第4壁は互いに平行である電源ストリップ。
- 請求項5に記載の電源ストリップであって、前記第1および第2壁の一方には、接続されている前記ベースに垂直な細長い突起が配置されており、また、前記第1および第2壁の他方には、接続されている前記ベースに垂直な、前記細長い突起と摺動可能に係合する細長い溝が配置されている電源ストリップ。
- 請求項5に記載の電源ストリップであって、前記第1および第2壁の一方には凹部が配置されており、前記第1および第2壁の他方には前記凹部に挿入されるとともに係合する突出留め具が配置されている電源ストリップ。
- 請求項5に記載の電源ストリップであって、前記第3および第4壁の一方には、接続されている前記外装パネルに垂直な細長い突起が配置されており、また、前記第3および第4壁の他方には、接続されている前記外装パネルに垂直な、前記細長い突起と摺動可能に係合する細長い溝が配置されている電源ストリップ。
- 請求項6または8に記載の電源ストリップであって、前記細長い突起および溝は、概ね長方形状の断面またはありつぎ状の断面を有する電源ストリップ。
- 請求項4に記載の電源ストリップであって、前記側部電気プラグは前記第2ソケットのプラグ配置壁に垂直である電源ストリップ。
- 請求項4に記載の電源ストリップであって、前記第2ソケットの側部電気プラグのピンが、プラグ配置壁に沿って一列に配置されており、また、前記第1ソケットの側部電気受け口の対応する開口部が、受け口配置壁に沿って一列に配置されている電源ストリップ。
- 請求項4に記載の電源ストリップであって、前記第1ソケットの外装パネルと前記第1ソケットの受け口配置壁との間の距離は、前記第2ソケットの外装パネルと前記第2ソケットのプラグ配置壁との間の距離と実質的に同じであり、また、前記第1ソケットの受け口配置壁と前記第1ソケットのベースとの間の距離は、前記第2ソケットのプラグ配置壁と前記第2ソケットのベースとの間の距離と実質的に同じである電源ストリップ。
- 請求項4に記載の電源ストリップであって、前記第1および第2ソケットが互いに接続された場合、前記第1および第2ソケットの外装パネルが同じ面上に配置される電源ストリップ。
- 複数の連結可能なソケットで構成される電源ストリップであって、
(a)電源コードと、
(b)第1ソケットであって、外装パネルと、ベースと、前記ベースに沿って延設される第1段差部が形成される第1段差側壁と、前記外装パネルに配置されるメイン電気受け口と、前記外装パネルと概ね同じ方向に面する前記第1段差部の受け口配置壁に配置される側部電気受け口と、を備え、前記メインおよび側部電気受け口が前記電源コードに電気的に連結されている第1ソケットと、
(c)第2ソケットであって、外装パネルと、ベースと、該第2ソケットの前記外装パネルに沿って延設される第2段差部が形成されるとともに前記第1段差側壁とは反転した形状で該第2ソケットの一方の側に形成される第2段差側壁と、前記第2ソケットの外装パネルに配置されるメイン電気受け口と、前記第2段差側壁に配置される側部プラグ該第2ソケットの外装パネルと反対に面する前記第2段差部のプラグ配置壁に配置される側部電気プラグと、を備え、該側部電気受け口が前記第2ソケットの前記メイン電気プラグに電気的に連結されている第2ソケットと、
を備えており、
(d)前記第2ソケットの側部電気プラグが前記第1ソケットの側部電気受け口へとベースに垂直な方向に挿入可能であり、これにより、第1および第2ソケットを互いに接続できる電源ストリップ。 - 請求項14に記載の電源ストリップであって、前記第2ソケットは、さらに、前記第2ソケットのベースに沿って延設される第3段差部が形成されるとともに前記第2ソケットの他方の側に形成される第3段差側壁と、前記第2ソケットの外装パネルと概ね同じ方向に面する前記第3段差部の受け口配置壁に配置される側部電気受け口と、を備えており、前記第2ソケットの側部電気受け口は、前記第2ソケットのメイン電気受け口に電気的に連結されるとともに、他の第2ソケットの側部電気プラグを受けるよう構成されている電源ストリップ。
Applications Claiming Priority (3)
| Application Number | Priority Date | Filing Date | Title |
|---|---|---|---|
| CN200920244752.7U CN201508951U (zh) | 2009-10-12 | 2009-10-12 | 一种接驳型插座 |
| CN200920244752.7 | 2009-10-12 | ||
| PCT/CN2010/076906 WO2011044804A1 (en) | 2009-10-12 | 2010-09-14 | Power strip |
Publications (1)
| Publication Number | Publication Date |
|---|---|
| JP3178924U true JP3178924U (ja) | 2012-10-11 |
Family
ID=42470073
Family Applications (1)
| Application Number | Title | Priority Date | Filing Date |
|---|---|---|---|
| JP2012600041U Expired - Fee Related JP3178924U (ja) | 2009-10-12 | 2010-09-14 | 電源ストリップ |
Country Status (6)
| Country | Link |
|---|---|
| US (1) | US8226444B2 (ja) |
| EP (1) | EP2489102A4 (ja) |
| JP (1) | JP3178924U (ja) |
| CN (1) | CN201508951U (ja) |
| HK (1) | HK1141943A2 (ja) |
| WO (1) | WO2011044804A1 (ja) |
Families Citing this family (17)
| Publication number | Priority date | Publication date | Assignee | Title |
|---|---|---|---|---|
| CN201508951U (zh) * | 2009-10-12 | 2010-06-16 | 振兴实业发展有限公司 | 一种接驳型插座 |
| GB201121409D0 (en) * | 2011-12-13 | 2012-01-25 | Ifpl Group Ltd | User control interface |
| TWI527325B (zh) * | 2012-07-02 | 2016-03-21 | 勝德國際研發股份有限公司 | 具有可移動的插座模組的電源延長線 |
| DE102012213258A1 (de) * | 2012-07-27 | 2014-01-30 | Siemens Aktiengesellschaft | Verbindungssystem |
| DE202012010703U1 (de) * | 2012-11-09 | 2012-12-10 | Rosenberger Hochfrequenztechnik Gmbh & Co. Kg | Adapter mit wenigstens zwei miteinander verbindbaren Adapterteilen |
| CN104518325A (zh) * | 2013-10-08 | 2015-04-15 | 能源立方国际有限公司 | 插座的安全插接结构 |
| WO2015061439A1 (en) * | 2013-10-22 | 2015-04-30 | Studio Weber + Associates | Multifunctional power supply device |
| US9225102B1 (en) * | 2014-08-28 | 2015-12-29 | Pacific Star Communications, Inc. | Interconnection system for network modules |
| US9685730B2 (en) | 2014-09-12 | 2017-06-20 | Steelcase Inc. | Floor power distribution system |
| US10320136B2 (en) * | 2015-05-05 | 2019-06-11 | Rosenberger Hochfrequenztechnik Gmbh & Co. Kg | Adapter with at least two adapter parts which are connectable to one another |
| JP6458745B2 (ja) * | 2016-02-18 | 2019-01-30 | オムロン株式会社 | 装置ユニット |
| CN206022735U (zh) | 2016-07-01 | 2017-03-15 | 吴文强 | 多功能插座 |
| US10199783B2 (en) | 2016-08-26 | 2019-02-05 | Valiant Innovations, LLC | Extendable modular power strip system and method of use |
| US10038272B2 (en) * | 2016-08-30 | 2018-07-31 | Western New England University | Flexible electrical power strip |
| EP3413415A1 (de) * | 2017-06-09 | 2018-12-12 | Schneikel Electronics GmbH | Steckdosenleiste und befestigungsanordnung für eine solche |
| DE202019100202U1 (de) * | 2019-01-15 | 2019-04-17 | Harbour Star International Ltd. | Modulares System, umfassend elektrische Verbraucher und eine elektrische Anschlusseinheit |
| CN114678743A (zh) * | 2022-05-06 | 2022-06-28 | 浙江创奥电器有限公司 | 一种防水防尘开启隐藏式暗装插座 |
Family Cites Families (14)
| Publication number | Priority date | Publication date | Assignee | Title |
|---|---|---|---|---|
| US5094630A (en) * | 1991-02-25 | 1992-03-10 | Jammet Jean Claude | Multiple socket attachment |
| US5658158A (en) * | 1995-08-28 | 1997-08-19 | Milan; Henry | Modular surge protection system with interchangeable surge protection modules |
| US5885109A (en) * | 1997-10-16 | 1999-03-23 | Lee; Chiu-Shan | Electrical adapters |
| US6573617B2 (en) * | 1999-05-11 | 2003-06-03 | Fellowes Manufacturing Company | Modular power strip |
| CN2393234Y (zh) * | 1999-10-15 | 2000-08-23 | 周义雄 | 立体插座总成 |
| US20010027066A1 (en) * | 1999-12-20 | 2001-10-04 | Pit-Kin Loh | Modular power connector system |
| GB2376135B (en) * | 2001-05-30 | 2004-06-23 | Veronica Chapman | Extendable mains power feeding system |
| US7140922B2 (en) * | 2002-12-19 | 2006-11-28 | Pacusma Company, Ltd. | Multi-outlet AC/DC adapter |
| US6855007B2 (en) * | 2003-04-28 | 2005-02-15 | Illinois Tool Works Inc. | Switch connector and method |
| SG129318A1 (en) * | 2005-07-13 | 2007-02-26 | Copper Red Pte Ltd | Modular power distribution device |
| US7497740B2 (en) * | 2007-06-11 | 2009-03-03 | Tzu-Chiang Mei | Tandem-connected rotatable receptacle unit |
| FR2926930B1 (fr) * | 2008-01-25 | 2010-04-02 | Legrand France | Socle d'appareil electrique et ensembles le comportant |
| CN201282253Y (zh) * | 2008-09-28 | 2009-07-29 | 黄养平 | 多功能母子插座 |
| CN201508951U (zh) * | 2009-10-12 | 2010-06-16 | 振兴实业发展有限公司 | 一种接驳型插座 |
-
2009
- 2009-10-12 CN CN200920244752.7U patent/CN201508951U/zh not_active Expired - Fee Related
-
2010
- 2010-07-27 HK HK10107171.4A patent/HK1141943A2/xx not_active IP Right Cessation
- 2010-09-14 JP JP2012600041U patent/JP3178924U/ja not_active Expired - Fee Related
- 2010-09-14 EP EP10823034.3A patent/EP2489102A4/en not_active Withdrawn
- 2010-09-14 WO PCT/CN2010/076906 patent/WO2011044804A1/en not_active Ceased
- 2010-09-17 US US12/884,223 patent/US8226444B2/en not_active Expired - Fee Related
Also Published As
| Publication number | Publication date |
|---|---|
| EP2489102A4 (en) | 2013-05-22 |
| HK1141943A2 (zh) | 2010-11-19 |
| CN201508951U (zh) | 2010-06-16 |
| US8226444B2 (en) | 2012-07-24 |
| US20110086542A1 (en) | 2011-04-14 |
| WO2011044804A1 (en) | 2011-04-21 |
| EP2489102A1 (en) | 2012-08-22 |
Similar Documents
| Publication | Publication Date | Title |
|---|---|---|
| JP3178924U (ja) | 電源ストリップ | |
| JP2011040219A (ja) | 直流コンセント | |
| KR101484010B1 (ko) | 절전형 멀티탭 | |
| US20230163543A1 (en) | Replaceable Socket Device and Adapter | |
| CN101110508A (zh) | 供电插座 | |
| CN215528031U (zh) | 可拆卸式插排 | |
| CN111725676A (zh) | 多工型轨道插座 | |
| JP5330948B2 (ja) | 差込プラグ | |
| CN103312192A (zh) | 具有拼组式转接头的薄型电源转换器 | |
| JP2011040222A (ja) | 差込プラグ | |
| CN216850468U (zh) | 墙壁插座 | |
| CN206451887U (zh) | 一种插套座及插座 | |
| CN204834963U (zh) | 一种电源插头 | |
| JP2020162356A (ja) | 給電レール | |
| JP2012185988A (ja) | プラグ、コンセント、照明装置およびショーケース | |
| JP3085686U (ja) | 多方向式コンセント | |
| CN211958061U (zh) | 一种自由组合的模块化插座 | |
| CN203690581U (zh) | 一种入墙式插座 | |
| JP2011040221A (ja) | 直流コンセント | |
| JP5351697B2 (ja) | 配線装置 | |
| CN201741875U (zh) | 插座导电片以及具有插座导电片的电源转接器 | |
| CN106684623B (zh) | 一种插套座及插座 | |
| CN218242487U (zh) | 一种适配供电轨道的外挂可移动插座 | |
| CN205693009U (zh) | 长寿命的导电弹片及具有其的智能排插 | |
| CN202903824U (zh) | 一种led灯管老化测试的灯座结构 |
Legal Events
| Date | Code | Title | Description |
|---|---|---|---|
| R150 | Certificate of patent or registration of utility model |
Free format text: JAPANESE INTERMEDIATE CODE: R150 |
|
| FPAY | Renewal fee payment (event date is renewal date of database) |
Free format text: PAYMENT UNTIL: 20150919 Year of fee payment: 3 |
|
| R250 | Receipt of annual fees |
Free format text: JAPANESE INTERMEDIATE CODE: R250 |
|
| R250 | Receipt of annual fees |
Free format text: JAPANESE INTERMEDIATE CODE: R250 |
|
| LAPS | Cancellation because of no payment of annual fees |