JP3100313U - ファイブインワンメモリーカードアダプタ - Google Patents
ファイブインワンメモリーカードアダプタ Download PDFInfo
- Publication number
- JP3100313U JP3100313U JP2003271062U JP2003271062U JP3100313U JP 3100313 U JP3100313 U JP 3100313U JP 2003271062 U JP2003271062 U JP 2003271062U JP 2003271062 U JP2003271062 U JP 2003271062U JP 3100313 U JP3100313 U JP 3100313U
- Authority
- JP
- Japan
- Prior art keywords
- slot
- memory card
- types
- memory
- memory cards
- Prior art date
- Legal status (The legal status is an assumption and is not a legal conclusion. Google has not performed a legal analysis and makes no representation as to the accuracy of the status listed.)
- Expired - Lifetime
Links
Images
Landscapes
- Coupling Device And Connection With Printed Circuit (AREA)
Abstract
【課題】ファイブインワンメモリーカードアダプタの提供。
【解決手段】カートリッジ10に三つのスロット11,12,13が設けられ、各スロット部分に各メモリカードの回路接点と対応し接続できる接触端子20が固定され、接触端子の電気装置との電子回路の連結により、該電気装置に同時に三種類の異なる形式のメモリーカードの挿入が可能となり、また、三つのスロット中の第1スロット11がCF、MDメモリーカードの挿入に供され、第2スロット12が、SD、MMCメモリーカードの挿入に供され、第3スロット13がMS(登録商標)の挿入に供され、ゆえに電気装置を、少なくとも5種類のメモリーカードに対する読み書き可能とする。
【選択図】 図2
【解決手段】カートリッジ10に三つのスロット11,12,13が設けられ、各スロット部分に各メモリカードの回路接点と対応し接続できる接触端子20が固定され、接触端子の電気装置との電子回路の連結により、該電気装置に同時に三種類の異なる形式のメモリーカードの挿入が可能となり、また、三つのスロット中の第1スロット11がCF、MDメモリーカードの挿入に供され、第2スロット12が、SD、MMCメモリーカードの挿入に供され、第3スロット13がMS(登録商標)の挿入に供され、ゆえに電気装置を、少なくとも5種類のメモリーカードに対する読み書き可能とする。
【選択図】 図2
Description
本考案はファイブインワンメモリーカードアダプタに係り、特に、同一のメモリーカードアダプタにより、電気装置を、CFカード(CompactFlash Card)、MDカード(Micro Drive Card)、MMCメモリーカード(MultiMedia Card)、MSメモリーカード(Memory Stick Card)(登録商標)、SDメモリーカード(Secure Digital Card)等の五種類の異なる規格のメモリーカードに対するデータの読み取り、交換、伝送可能とする、ファイブインワンメモリーカードアダプタに関する。
3Cデジタル電気装置例えばノートブック型コンピュータ、デジタルカメラ、デジタルビデオカメラ、PDA等の電気装置は、装置主体に必要な周辺装置の入出力ポート(例えばUSB PORT)が設置されているほか、一部の電気装置には別に専属規格のコネクタが内蔵され、このコネクタのスロットがフラッシュメモリーカードの挿入、使用に供されることで、データの保存量及び、データの交換、読み書きの便利性を増している。しかし、市販されているメモリーカードの規格は多く、電気装置でメモリーカードのデータを読み取る場合、その規格に符合するアダプタが必要となり、アダプタのスロットにメモリーカードを挿入することにより、メモリーカードと電子回路の接続とデータ交換を構成する。
一方、ノートブック型コンピュータ等の携帯型電気装置は、不断に機能が向上されるほか、軽量化の設計努力が重ねられて携帯、収納に便利な特性に符合することが期されている。電気装置にアダプタを内蔵して、電気装置が過多の空間を占用しないようにし、且つ放置されたアダプタが不必要な空間を占拠しないように、あるメーカーは非専用規格のメモリカードに対応するアダプタをビルトインしている。
これにより、市場には異なる規格のメモリーカードに対して複数種類の規格のメモリーカードの読み書きを可能とするマルチカードリーダーが提供され、3C電気装置と非専用規格のメモリーカードを連結させる機能を高めている。しかし、市販のこのようなマルチカードリーダーの構造は、複数のアダプタを結合させた装置主体と見なされ、製造コストを下げることができず、組立が面倒で、且つ体積が大きく、ノートブック型コンピュータ、PDA等の携帯型デジタル装置には適用されない。
本考案は一種のファイブインワンメモリーカードアダプタを提供することを課題とし、それは、カートリッジに三つのスロットが設けられ、各スロット部分に各メモリカードの回路接点と対応し接続できる接触端子が固定され、接触端子の電気装置との電子回路の連結により、該電気装置に同時に三種類の異なる形式のメモリーカードの挿入が可能となり、また、三つのスロット中の第1スロットがCF、MDメモリーカードの挿入に供され、第2スロットが、SD、MMCメモリーカードの挿入に供され、第3スロットがMS(登録商標)の挿入に供され、ゆえに電気装置を、少なくとも5種類のメモリーカードに対する読み書き可能とするものとする。
そのうち、カートリッジのスロットの区分は、下層に位置する第1スロット、及び第1スロットの上方に並列設置された第2、第3スロットとされる。第1スロットは寸法が近いCFメモリーカード及びMDメモリーカードの共用とされ、そのスロットの内縁にCFメモリーカードとMDメモリーカードの幅、厚さに合わせてメモリーカードの誤挿入を防止するための溝部が設けられている。また、第2スロットは寸法が近いSDメモリーカードとMMCメモリーカードの共用とされ、そのスロットの内縁にSDメモリーカードとMMCメモリーカードの幅、厚さに合わせてメモリーカードの誤挿入を防止するための溝部が設けられている。また、第3スロットは寸法が近いMS(登録商標)メモリーカードに符合するスロット形態とされる。
請求項1の考案は、プラスチック製のカートリッジを主体とし、該カートリッジに下層に位置する第1スロットと、該第1スロットの上方に平行に設置された第2スロット及び第3スロットを具え、
該第1スロットが寸法規格のほぼ同じ第1及び第2の種類のメモリーカードの共用とされ、そのスロットの内縁に第1及び第2の種類のメモリーカードの長さと幅及び厚さに合わせてメモリーカードの誤挿入を防止するための溝部が設けられ、
該第2スロットが第1及び第2の種類のメモリーカードと寸法規格の異なる第3及び第4の種類のメモリーカードの共用とされ、そのスロットの内縁に第3及び第4の種類のメモリーカードの長さと幅及び厚さに合わせてメモリーカードの誤挿入を防止するための溝部が設けられ、
該第3スロットが第1、第2及び第3、第4の種類のメモリーカードと寸法規格の異なる第5のメモリーカードの挿入に供され、
各スロットにメモリーカードの回路設定に対応し接続可能な接触端子が設けられ、各接触端子がカートリッジの底側及び後側に向けて延伸され、接触端子と電気装置の電子回路の接続により、電気装置が少なくとも5種類のメモリーカードに対して読み書きが行なえると共に、三種類の異なる規格のメモリーカードの挿入可能とされたことを特徴とする、ファイブインワンメモリーカードアダプタとしている。
請求項2の考案は、請求項1記載のファイブインワンメモリーカードアダプタにおいて、カートリッジの上方を金属カバーが被覆し、該金属カバーに接地手段が電子回路が組み合わされて接地が形成されることを特徴とする、ファイブインワンメモリーカードアダプタとしている。
請求項3の考案は、請求項1記載のファイブインワンメモリーカードアダプタにおいて、カートリッジの側辺、上側にメモリーカードに対する位置決めと接続を形成する接触弾性片が設けられたことを特徴とする、ファイブインワンメモリーカードアダプタとしている。
該第1スロットが寸法規格のほぼ同じ第1及び第2の種類のメモリーカードの共用とされ、そのスロットの内縁に第1及び第2の種類のメモリーカードの長さと幅及び厚さに合わせてメモリーカードの誤挿入を防止するための溝部が設けられ、
該第2スロットが第1及び第2の種類のメモリーカードと寸法規格の異なる第3及び第4の種類のメモリーカードの共用とされ、そのスロットの内縁に第3及び第4の種類のメモリーカードの長さと幅及び厚さに合わせてメモリーカードの誤挿入を防止するための溝部が設けられ、
該第3スロットが第1、第2及び第3、第4の種類のメモリーカードと寸法規格の異なる第5のメモリーカードの挿入に供され、
各スロットにメモリーカードの回路設定に対応し接続可能な接触端子が設けられ、各接触端子がカートリッジの底側及び後側に向けて延伸され、接触端子と電気装置の電子回路の接続により、電気装置が少なくとも5種類のメモリーカードに対して読み書きが行なえると共に、三種類の異なる規格のメモリーカードの挿入可能とされたことを特徴とする、ファイブインワンメモリーカードアダプタとしている。
請求項2の考案は、請求項1記載のファイブインワンメモリーカードアダプタにおいて、カートリッジの上方を金属カバーが被覆し、該金属カバーに接地手段が電子回路が組み合わされて接地が形成されることを特徴とする、ファイブインワンメモリーカードアダプタとしている。
請求項3の考案は、請求項1記載のファイブインワンメモリーカードアダプタにおいて、カートリッジの側辺、上側にメモリーカードに対する位置決めと接続を形成する接触弾性片が設けられたことを特徴とする、ファイブインワンメモリーカードアダプタとしている。
本考案のファイブインワンメモリーカードアダプタは、カートリッジに三つのスロットが設けられ、各スロット部分に各メモリカードの回路接点と対応し接続できる接触端子が固定され、接触端子の電気装置との電子回路の連結により、該電気装置に同時に三種類の異なる形式のメモリーカードの挿入が可能となり、また、三つのスロット中の第1スロットがCF、MDメモリーカードの挿入に供され、第2スロットが、SD、MMCメモリーカードの挿入に供され、第3スロットがMS(登録商標)の挿入に供され、ゆえに電気装置を、少なくとも5種類のメモリーカードに対する読み書き可能とする。
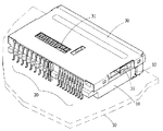
本考案のファイブインワンメモリーカードアダプタは、その全体のアダプタの構造組成が図1及び図2に示されるようであり、それは、プラスチック材料で製造されたカートリッジ10を主体とし、カートリッジ10の前端にCF、MD、MMC、MS(登録商標)、及びSDメモリーカード規格に符合するスロットが設けられ、図示される実施例では、全体のカートリッジ10に三つのスロットが設けられ、これら三つのスロットは下層に位置する第1スロット11、該第1スロット11の上方にあって第1スロット11と平行に設置された第2スロット12及び第3スロット13に区分される。
そのうち、第1スロット11は、CFメモリーカード及びMDメモリーカードの共用とされ、そのスロットの内縁にCFメモリーカード41とMDメモリーカード(図示せず)の幅、厚さに合わせてメモリーカードの誤挿入を防止するための溝部14が設けられている。また、第2スロット12は寸法が近いが長さにやや違いがあるSDメモリーカード42とMMCメモリーカード(図示せず)の共用とされ、そのスロットの内縁にSDメモリーカード42とMMCメモリーカードの幅、厚さに合わせてメモリーカードの誤挿入を防止するための溝部14が設けられている。また、第3スロット13は寸法が近いMS(登録商標)メモリーカード43規格に符合するスロット形態とされる。このような全体のアダプタのスロット配置によりスロット配置空間が縮減されて最もコンパクトな配置状態とされ、電気装置の過多の空間を占拠しないものとされる。
また、図2、3に示されるように、カートリッジ10の第1スロット11、第2スロット12、第3スロット13には各メモリーカードの電気回路接点と相互に接続できる接触端子20が設けられ、各接触端子20はカートリッジ10の底側及び後側に向けて延伸され、接触端子20と電気装置の電子回路50のハンダ付け接続により、電気装置が少なくとも上述のCF、MD、MMC、MS(登録商標)、及びSDメモリーカードに対して読み書き可能とされ、大幅に電気装置とメモリーカードの接続使用の便利性と適用性を増すことができる。
特に、全体のアダプタは電気装置の電子回路50と接続された各接触端子20を具えた第1スロット11、第2スロット12、第3スロット13を具え、ゆえに、第1スロット11、第2スロット12、第3スロット13は三つの独立運転可能なアダプタと見なすことができ、これにより電気装置より三つのカートリッジ式データ保存ハードウエアを延伸設置できるが、一つのアダプタ分の空間しか占有せず、電子回路のICと組み合わせて第1スロット11、第2スロット12、第3スロット13に挿入されたメモリーカードに対する読み書きが同時に行なえ、或いは、第1スロット11、第2スロット12、第3スロット13に挿入されたメモリーカード間のデータ交換及び保存が行なえる。
例えば、本考案の全体のアダプタが取り付けられる電気装置がノートブック型コンピュータであり、且つ第1スロット11にCFメモリーカードが挿入され、第2スロット12にSDメモリーカードが挿入され、第3スロット13にMS(登録商標)メモリーカードが挿入される時、該ノートブック型コンピュータが挿入されたCFメモリーカード、SDメモリーカード、MS(登録商標)メモリーカードにデータ交換、読み書きが行なえ、或いはCFメモリーカード、SDメモリーカード、MS(登録商標)メモリーカードの間のデータの相互交換と保存を行なえる。
さらに、全体アダプタは別にカートリッジ10の上方が金属カバー30で被覆され、該金属カバー30は接地手段32と電子回路50と組み合わされて接地効果を形成し、且つ金属カバー30にあってカートリッジ10の側辺、上側に対応する位置に、接触弾性片31が設けられ、該接触弾性片31によりメモリーカードに対する位置決めと接続作用を形成し、これによりメモリーカードと電子回路が接続され運転する時に、金属カバー30の接地作用により電磁波防止のシールド作用を達成する。
上述の本考案のファイブインワンメモリーカードアダプタは、3C電気装置に実行可能なアダプタ構造を提供し、実用性、進歩性、新規性及び産業上の利用価値を有している。なお、以上の実施例は本考案の実施範囲を限定するものではなく、本考案に基づきなしうる細部の修飾或いは改変は、いずれも本考案の請求範囲に属するものとする。
10 カートリッジ 31 接触弾性片
11 第1スロット 32 接地手段
12 第2スロット 41 CFメモリーカード
13 第3スロット 42 SDメモリーカード
14 溝部 43 MS(登録商標)メモリーカード
20 接触端子 50 電子回路
30 金属カバー
11 第1スロット 32 接地手段
12 第2スロット 41 CFメモリーカード
13 第3スロット 42 SDメモリーカード
14 溝部 43 MS(登録商標)メモリーカード
20 接触端子 50 電子回路
30 金属カバー
Claims (3)
- プラスチック製のカートリッジを主体とし、該カートリッジに下層に位置する第1スロットと、該第1スロットの上方に平行に設置された第2スロット及び第3スロットを具え、
該第1スロットが寸法規格のほぼ同じ第1及び第2の種類のメモリーカードの共用とされ、そのスロットの内縁に第1及び第2の種類のメモリーカードの長さと幅及び厚さに合わせてメモリーカードの誤挿入を防止するための溝部が設けられ、
該第2スロットが第1及び第2の種類のメモリーカードと寸法規格の異なる第3及び第4の種類のメモリーカードの共用とされ、そのスロットの内縁に第3及び第4の種類のメモリーカードの長さと幅及び厚さに合わせてメモリーカードの誤挿入を防止するための溝部が設けられ、
該第3スロットが第1、第2及び第3、第4の種類のメモリーカードと寸法規格の異なる第5のメモリーカードの挿入に供され、
各スロットにメモリーカードの回路設定に対応し接続可能な接触端子が設けられ、各接触端子がカートリッジの底側及び後側に向けて延伸され、接触端子と電気装置の電子回路の接続により、電気装置が少なくとも5種類のメモリーカードに対して読み書きが行なえると共に、三種類の異なる規格のメモリーカードの挿入可能とされたことを特徴とする、ファイブインワンメモリーカードアダプタ。 - 請求項1記載のファイブインワンメモリーカードアダプタにおいて、カートリッジの上方を金属カバーが被覆し、該金属カバーに接地手段が電子回路が組み合わされて接地が形成されることを特徴とする、ファイブインワンメモリーカードアダプタ。
- 請求項1記載のファイブインワンメモリーカードアダプタにおいて、カートリッジの側辺、上側にメモリーカードに対する位置決めと接続を形成する接触弾性片が設けられたことを特徴とする、ファイブインワンメモリーカードアダプタ。
Priority Applications (1)
| Application Number | Priority Date | Filing Date | Title |
|---|---|---|---|
| JP2003271062U JP3100313U (ja) | 2003-09-08 | 2003-09-08 | ファイブインワンメモリーカードアダプタ |
Applications Claiming Priority (1)
| Application Number | Priority Date | Filing Date | Title |
|---|---|---|---|
| JP2003271062U JP3100313U (ja) | 2003-09-08 | 2003-09-08 | ファイブインワンメモリーカードアダプタ |
Publications (1)
| Publication Number | Publication Date |
|---|---|
| JP3100313U true JP3100313U (ja) | 2004-05-13 |
Family
ID=43253956
Family Applications (1)
| Application Number | Title | Priority Date | Filing Date |
|---|---|---|---|
| JP2003271062U Expired - Lifetime JP3100313U (ja) | 2003-09-08 | 2003-09-08 | ファイブインワンメモリーカードアダプタ |
Country Status (1)
| Country | Link |
|---|---|
| JP (1) | JP3100313U (ja) |
-
2003
- 2003-09-08 JP JP2003271062U patent/JP3100313U/ja not_active Expired - Lifetime
Similar Documents
| Publication | Publication Date | Title |
|---|---|---|
| JP4913726B2 (ja) | 2つの規格の接点セットを有するメモリカード | |
| JP3129616U (ja) | マルチプレックス・マイクロ・メモリー・カード・エンベッド・コネクター | |
| CN101377828B (zh) | 卡式外围设备 | |
| US6524137B1 (en) | Integral multiplex adapter card | |
| US6612492B1 (en) | Four-in-one memory card insertion port | |
| US6976624B2 (en) | 7-in-1 card reader for PCMCIA interface | |
| US20090137137A1 (en) | Portable memory device supporting a plurality of interfaces | |
| US6776653B1 (en) | 5-in-1 connector | |
| US20050136744A1 (en) | Memory card connector | |
| US7525807B2 (en) | Semiconductor memory device | |
| US20030133270A1 (en) | Embedding type signal adapter for memory cards | |
| JP3100313U (ja) | ファイブインワンメモリーカードアダプタ | |
| US6957983B1 (en) | Monitoring module of multi-card connector | |
| JP4349637B2 (ja) | インターフェイス規格を自動補正可能なメモリカード | |
| CN201440262U (zh) | Usb界面的读卡装置 | |
| JP3125881U (ja) | マルチインターフェース・メモリカード | |
| JP3149967U (ja) | Usbプラグのカードリーダー | |
| US20060189213A1 (en) | Pin system for 5-in-1 connector for memory cards | |
| JP3100182U (ja) | Pcmciaインタフェースのセブンインワンカードリーダー | |
| JP3079263U (ja) | メモリカードホルダ装置 | |
| JP3115296U (ja) | ダブル接続インタフェイスメモリカード | |
| JP3109143U (ja) | ファイブインワンメモリカードコネクタ | |
| JP3110943U (ja) | ファイブインワンメモリカードコネクタの端子装置 | |
| JP2007041986A (ja) | カードリーダライタ | |
| EP1693776A1 (en) | Pin system for 5-in-1 connector for memory cards |
Legal Events
| Date | Code | Title | Description |
|---|---|---|---|
| R250 | Receipt of annual fees |
Free format text: JAPANESE INTERMEDIATE CODE: R250 |
|
| EXPY | Cancellation because of completion of term | ||
| FPAY | Renewal fee payment (event date is renewal date of database) |
Free format text: PAYMENT UNTIL: 20091224 Year of fee payment: 6 |