JP2024528126A - 外科用器具 - Google Patents
外科用器具 Download PDFInfo
- Publication number
- JP2024528126A JP2024528126A JP2024505542A JP2024505542A JP2024528126A JP 2024528126 A JP2024528126 A JP 2024528126A JP 2024505542 A JP2024505542 A JP 2024505542A JP 2024505542 A JP2024505542 A JP 2024505542A JP 2024528126 A JP2024528126 A JP 2024528126A
- Authority
- JP
- Japan
- Prior art keywords
- load unit
- response
- electrical
- load
- sliding member
- Prior art date
- Legal status (The legal status is an assumption and is not a legal conclusion. Google has not performed a legal analysis and makes no representation as to the accuracy of the status listed.)
- Pending
Links
Images
Classifications
-
- A—HUMAN NECESSITIES
- A61—MEDICAL OR VETERINARY SCIENCE; HYGIENE
- A61B—DIAGNOSIS; SURGERY; IDENTIFICATION
- A61B17/00—Surgical instruments, devices or methods
- A61B17/11—Surgical instruments, devices or methods for performing anastomosis; Buttons for anastomosis
- A61B17/115—Staplers for performing anastomosis, e.g. in a single operation
-
- A—HUMAN NECESSITIES
- A61—MEDICAL OR VETERINARY SCIENCE; HYGIENE
- A61B—DIAGNOSIS; SURGERY; IDENTIFICATION
- A61B17/00—Surgical instruments, devices or methods
- A61B17/00234—Surgical instruments, devices or methods for minimally invasive surgery
-
- A—HUMAN NECESSITIES
- A61—MEDICAL OR VETERINARY SCIENCE; HYGIENE
- A61B—DIAGNOSIS; SURGERY; IDENTIFICATION
- A61B17/00—Surgical instruments, devices or methods
- A61B17/068—Surgical staplers, e.g. containing multiple staples or clamps
- A61B17/072—Surgical staplers, e.g. containing multiple staples or clamps for applying a row of staples in a single action, e.g. the staples being applied simultaneously
- A61B17/07207—Surgical staplers, e.g. containing multiple staples or clamps for applying a row of staples in a single action, e.g. the staples being applied simultaneously the staples being applied sequentially
-
- A—HUMAN NECESSITIES
- A61—MEDICAL OR VETERINARY SCIENCE; HYGIENE
- A61B—DIAGNOSIS; SURGERY; IDENTIFICATION
- A61B90/00—Instruments, implements or accessories specially adapted for surgery or diagnosis and not covered by any of the groups A61B1/00 - A61B50/00, e.g. for luxation treatment or for protecting wound edges
- A61B90/08—Accessories or related features not otherwise provided for
-
- A—HUMAN NECESSITIES
- A61—MEDICAL OR VETERINARY SCIENCE; HYGIENE
- A61B—DIAGNOSIS; SURGERY; IDENTIFICATION
- A61B90/00—Instruments, implements or accessories specially adapted for surgery or diagnosis and not covered by any of the groups A61B1/00 - A61B50/00, e.g. for luxation treatment or for protecting wound edges
- A61B90/90—Identification means for patients or instruments, e.g. tags
-
- A—HUMAN NECESSITIES
- A61—MEDICAL OR VETERINARY SCIENCE; HYGIENE
- A61B—DIAGNOSIS; SURGERY; IDENTIFICATION
- A61B17/00—Surgical instruments, devices or methods
- A61B2017/00017—Electrical control of surgical instruments
-
- A—HUMAN NECESSITIES
- A61—MEDICAL OR VETERINARY SCIENCE; HYGIENE
- A61B—DIAGNOSIS; SURGERY; IDENTIFICATION
- A61B17/00—Surgical instruments, devices or methods
- A61B17/00234—Surgical instruments, devices or methods for minimally invasive surgery
- A61B2017/00353—Surgical instruments, devices or methods for minimally invasive surgery one mechanical instrument performing multiple functions, e.g. cutting and grasping
-
- A—HUMAN NECESSITIES
- A61—MEDICAL OR VETERINARY SCIENCE; HYGIENE
- A61B—DIAGNOSIS; SURGERY; IDENTIFICATION
- A61B17/00—Surgical instruments, devices or methods
- A61B2017/00367—Details of actuation of instruments, e.g. relations between pushing buttons, or the like, and activation of the tool, working tip, or the like
- A61B2017/00398—Details of actuation of instruments, e.g. relations between pushing buttons, or the like, and activation of the tool, working tip, or the like using powered actuators, e.g. stepper motors, solenoids
-
- A—HUMAN NECESSITIES
- A61—MEDICAL OR VETERINARY SCIENCE; HYGIENE
- A61B—DIAGNOSIS; SURGERY; IDENTIFICATION
- A61B17/00—Surgical instruments, devices or methods
- A61B2017/0046—Surgical instruments, devices or methods with a releasable handle; with handle and operating part separable
-
- A—HUMAN NECESSITIES
- A61—MEDICAL OR VETERINARY SCIENCE; HYGIENE
- A61B—DIAGNOSIS; SURGERY; IDENTIFICATION
- A61B17/00—Surgical instruments, devices or methods
- A61B2017/0046—Surgical instruments, devices or methods with a releasable handle; with handle and operating part separable
- A61B2017/00473—Distal part, e.g. tip or head
-
- A—HUMAN NECESSITIES
- A61—MEDICAL OR VETERINARY SCIENCE; HYGIENE
- A61B—DIAGNOSIS; SURGERY; IDENTIFICATION
- A61B17/00—Surgical instruments, devices or methods
- A61B2017/00477—Coupling
- A61B2017/00482—Coupling with a code
-
- A—HUMAN NECESSITIES
- A61—MEDICAL OR VETERINARY SCIENCE; HYGIENE
- A61B—DIAGNOSIS; SURGERY; IDENTIFICATION
- A61B17/00—Surgical instruments, devices or methods
- A61B2017/00982—General structural features
-
- A—HUMAN NECESSITIES
- A61—MEDICAL OR VETERINARY SCIENCE; HYGIENE
- A61B—DIAGNOSIS; SURGERY; IDENTIFICATION
- A61B17/00—Surgical instruments, devices or methods
- A61B17/068—Surgical staplers, e.g. containing multiple staples or clamps
- A61B17/072—Surgical staplers, e.g. containing multiple staples or clamps for applying a row of staples in a single action, e.g. the staples being applied simultaneously
- A61B2017/07214—Stapler heads
- A61B2017/07285—Stapler heads characterised by its cutter
-
- A—HUMAN NECESSITIES
- A61—MEDICAL OR VETERINARY SCIENCE; HYGIENE
- A61B—DIAGNOSIS; SURGERY; IDENTIFICATION
- A61B90/00—Instruments, implements or accessories specially adapted for surgery or diagnosis and not covered by any of the groups A61B1/00 - A61B50/00, e.g. for luxation treatment or for protecting wound edges
- A61B90/08—Accessories or related features not otherwise provided for
- A61B2090/0803—Counting the number of times an instrument is used
-
- A—HUMAN NECESSITIES
- A61—MEDICAL OR VETERINARY SCIENCE; HYGIENE
- A61B—DIAGNOSIS; SURGERY; IDENTIFICATION
- A61B90/00—Instruments, implements or accessories specially adapted for surgery or diagnosis and not covered by any of the groups A61B1/00 - A61B50/00, e.g. for luxation treatment or for protecting wound edges
- A61B90/08—Accessories or related features not otherwise provided for
- A61B2090/0807—Indication means
- A61B2090/0808—Indication means for indicating correct assembly of components, e.g. of the surgical apparatus
-
- A—HUMAN NECESSITIES
- A61—MEDICAL OR VETERINARY SCIENCE; HYGIENE
- A61B—DIAGNOSIS; SURGERY; IDENTIFICATION
- A61B90/00—Instruments, implements or accessories specially adapted for surgery or diagnosis and not covered by any of the groups A61B1/00 - A61B50/00, e.g. for luxation treatment or for protecting wound edges
- A61B90/08—Accessories or related features not otherwise provided for
- A61B2090/0807—Indication means
- A61B2090/0811—Indication means for the position of a particular part of an instrument with respect to the rest of the instrument, e.g. position of the anvil of a stapling instrument
-
- A—HUMAN NECESSITIES
- A61—MEDICAL OR VETERINARY SCIENCE; HYGIENE
- A61B—DIAGNOSIS; SURGERY; IDENTIFICATION
- A61B90/00—Instruments, implements or accessories specially adapted for surgery or diagnosis and not covered by any of the groups A61B1/00 - A61B50/00, e.g. for luxation treatment or for protecting wound edges
- A61B90/90—Identification means for patients or instruments, e.g. tags
- A61B90/98—Identification means for patients or instruments, e.g. tags using electromagnetic means, e.g. transponders
Landscapes
- Health & Medical Sciences (AREA)
- Surgery (AREA)
- Life Sciences & Earth Sciences (AREA)
- Heart & Thoracic Surgery (AREA)
- Engineering & Computer Science (AREA)
- Biomedical Technology (AREA)
- Nuclear Medicine, Radiotherapy & Molecular Imaging (AREA)
- Medical Informatics (AREA)
- Molecular Biology (AREA)
- Animal Behavior & Ethology (AREA)
- General Health & Medical Sciences (AREA)
- Public Health (AREA)
- Veterinary Medicine (AREA)
- Pathology (AREA)
- Oral & Maxillofacial Surgery (AREA)
- Surgical Instruments (AREA)
Abstract
Description
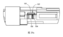
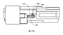
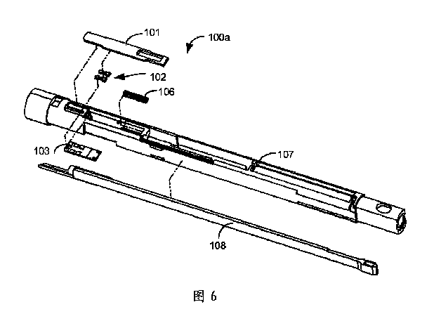
図6に示すように、負荷ユニットの型を識別するための認識部100aは、長尺体アセンブリ100の外側シェル105内に摺動可能なように配置された第1の摺動部材101と、第1の摺動部材101と共に摺動するように作動され得る、第1の摺動部材101上に配置された第1のトリガ部材102と、長尺体アセンブリ100の外側シェル105内に取り付けられ、当該長尺体アセンブリ100に対して固定された第1の回路基板103と、第1の回路基板103からのフィードバック信号によって負荷ユニット200の型を判定するように構成されたコントローラと、を備える。第1の摺動部材101および第1の回路基板103の具体的な取り付け位置は固有のものではなく、第1の摺動部材および第1の回路基板は、長尺体アセンブリ100の外側シェル105に、または長尺体アセンブリ100の外側シェル105の内側のフレーム107に選択的に接続され得る。
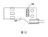
図17に示すように、第1のトリガ部材102は第1の摺動部材101に配置された絶縁突出102bであり、第1の摺動部材101が絶縁突出102bを駆動して、2つの弾性導電片104bの間の位置まで摺動させるとき、2つの弾性導電片104bが位置する第1の電気分岐A1が切断される。
Claims (25)
- 各種の型を有することができる負荷ユニットに取り付けられるように適合されたハンドルアセンブリを備え、
前記ハンドルアセンブリはハンドル部と長尺体アセンブリとを備え、
前記長尺体アセンブリは、前記負荷ユニットの型を識別するための認識部を備え、
前記認識部は、
前記長尺体アセンブリの外側シェル内に摺動可能に配置された第1の摺動部材であって、所定の位置に移動するために、前記負荷ユニットの組み立て中に前記負荷ユニットによって作動するように構成される第1の摺動部材と、
前記第1の摺動部材とともに前記所定の位置に移動されるように適合され、前記第1の摺動部材上に配置された第1のトリガ部材と、
前記長尺体アセンブリの外側シェル内に配置された第1の回路基板であって、少なくとも2つの第1の応答部材が前記第1の回路基板上に配置され、当該第1の応答部材の各々が前記第1のトリガ部材と協働して、1つの第1の電気分岐を導通または切断するように構成され、前記第1の電気分岐の各々が異なる負荷値を有する第1の回路基板と、
前記第1の回路基板からのフィードバック信号によって前記負荷ユニットの型を判定するように構成されたコントローラと、を有する、外科用器具。 - 少なくとも2つの第1の応答部材が、前記第1の摺動部材の摺動方向に前記第1の回路基板上に離間して配置され、前記第1のトリガ部材が前記所定の位置に移動するときに、前記第1のトリガ部材と係合するように適合される、請求項1に記載の外科用器具。
- 少なくとも2つの第1のトリガ部材が、前記第1の摺動部材の摺動方向に前記第1の摺動部材上に離間して配置され、
前記第1のトリガ部材が前記所定の位置に移動したときに係合するように、前記第1の回路基板上に少なくとも2つの第1の応答部材が離間して配置されている、請求項1に記載の外科用器具。 - 前記第1の摺動部材は前記負荷ユニットの挿入または回転により摺動するように作動できるため、前記第1のトリガ部材は、前記所定の位置において前記第1の応答部材と係合される、請求項1に記載の外科用器具。
- 前記第1の電気分岐は、前記第1のトリガ部材が前記第1の応答部材と係合され、前記第1のトリガ部材が前記第1の応答部材と面接触または線接触しているときに導通される、請求項1に記載の外科用器具。
- 前記第1の応答部材は、前記第1の回路基板上に配置された導電片として構成され、前記第1のトリガ部材は弾性導電シートとして構成され、前記第1のトリガ部材の一端は、前記第1の摺動部材に接続され、前記第1のトリガ部材の他端は前記第1の回路基板に当接し、
前記第1の摺動部材が前記弾性導電シートを駆動して、前記弾性導電シートが前記導電片に当接するように摺動すると、前記導電片が配置された前記第1の電気分岐が導通する、請求項5に記載の外科用器具。 - 前記第1のトリガ部材が前記第1の応答部材と係合されるとき、前記第1の電気分岐が切断され、前記第1のトリガ部材の長さが、隣接する第1の応答部材間の距離と一致するように構成されるため、前記第1のトリガ部材が前記所定の位置に移動するとき、1つの第1の電気分岐が切断される、請求項1に記載の外科用器具。
- 前記第1のトリガ部材が前記第1の応答部材と係合されるとき、前記第1の電気分岐が切断され、前記第1のトリガ部材の長さが、隣接する第1の応答部材間の距離と一致するように構成されるため、前記第1のトリガ部材が前記所定の位置に移動するとき、複数の第1の電気分岐が切断される、請求項1に記載の外科用器具。
- 前記第1の応答部材は互いに当接する2つの弾性導電片を備え、該2つの弾性導電片は1つの第1の電気分岐を形成するように電気的に接続され、前記第1のトリガ部材は前記第1の摺動部材に配置された絶縁突出であり、前記絶縁突出は前記第1の摺動部材の作動下で前記2つの弾性導電片の間の位置に移動して、前記第1の電気分岐の電気的接続を切断する、請求項7または8に記載の外科用器具。
- 前記第1の摺動部材を、前記負荷ユニットに適合するための初期位置に付勢するように適合された第1の付勢部材をさらに備える、請求項1に記載の外科用器具。
- 前記長尺体アセンブリの外側シェル内にフレームが配置され、前記フレームに摺動溝が配置され、前記第1の回路基板は前記摺動溝の底部に固定配置され、前記第1の摺動部材は前記摺動溝に摺動可能に接続され、前記第1の付勢部材は前記摺動溝と前記第1の摺動部材との間に位置している、請求項7に記載の外科用器具。
- 表示ユニットをさらに備え、前記表示ユニットは、前記コントローラからの信号によって、前記負荷ユニットの前記型を表示するための第1の表示信号を提供するように構成されている、請求項1に記載の外科用器具。
- 前記負荷ユニットの近位側には前記負荷ユニットの型を識別するための前記認識部と協働するように適合された認識作用面を備える特徴部が配置され、
前記認識作用面の位置は前記負荷ユニットの型を表す、請求項1に記載の外科用器具。 - 前記認識作用面は、前記第1の摺動部材と係合して、前記第1の摺動部材を前記長尺体アセンブリの長手方向または前記長尺体アセンブリの周方向に摺動させるように適合される、請求項13に記載の外科用器具。
- 前記負荷ユニットが良好に組み立てられているかどうかを判定するための判定部をさらに備え、
前記判定部は
長尺体アセンブリの外側シェル内にそれぞれ摺動可能に配置された第2の摺動部材および第3の摺動部材であって、前記第2の摺動部材は前記負荷ユニットの係合ナブと協働するように構成され、前記第3の摺動部材は前記負荷ユニットの近位部と協働するように構成され、前記負荷ユニットが良好に組み立てられたときに、前記第2の摺動部材は前記負荷ユニットの型に対応する設定位置まで移動するように作動され、前記第3の摺動部材は設定位置に移動するように作動される、第2の摺動部材および第3の摺動部材と、
前記第2の摺動部材と接続される第2のトリガ部材および前記第3の摺動部材と接続される第3のトリガ部材と、
前記長尺体アセンブリの外側シェル内に固定して配置された第2の回路基板であって、前記第2の回路基板は、第2の応答部材および第3の応答部材を備え、前記第2の応答部材は前記第2のトリガ部材と協働して第1の状態と第2の状態との間で第2の電気的分岐を切り替えるように構成され、前記第3の応答部材は前記第3のトリガ部材と協働して第3の状態と第4の状態との間で第3の電気的分岐を切り替えるように構成され、少なくとも2つの状態を表す信号が前記第2の回路基板によって提供され、当該2つの状態を表す信号は、前記負荷ユニットが所定の位置に挿入され、所定の位置で回転されることをそれぞれ示す、第2の回路基板と、
前記負荷ユニットが前記第2の回路基板からのフィードバック信号によって良好に組み立てられているかどうかを判定するように構成されたコントローラと、を備える、請求項1に記載の外科用器具。 - 前記第2の摺動部材と前記長尺体アセンブリの外側シェルとの間に第2の付勢部材が配置され、
前記負荷ユニットが所定の位置に挿入されたとき、前記負荷ユニットの係合ナブが第2の摺動部材に当接し、前記第2のトリガ部材が前記第2の応答部材と係合して、前記第2の電気分岐を前記第1の状態に切り替え、前記負荷ユニットが所定の位置で回転されるとき、前記第2の摺動部材は、前記第2の付勢部材の作用により前記長尺体アセンブリの遠位部に付勢され、前記第2のトリガ部材は前記第2の電気分岐を前記第2の状態に切り替えるために、前記第2の応答部材から係合解除されている、請求項15に記載の外科用器具。 - 前記長尺体アセンブリの前記第3の摺動部材と前記外側シェルとの間に第3の付勢部材が配置され、前記負荷ユニットが所定の位置に挿入された位置および所定の位置に回転された位置にあるとき、前記第3のトリガ部材は前記第3の応答部材をトリガして、前記第3の電気分岐を前記第3の状態に切り替え、前記負荷ユニットが挿入されていない位置にあるとき、前記第3の摺動部材は前記第3の付勢部材の作用により前記長尺体アセンブリの遠位部に付勢され、前記第3のトリガ部材は第3の応答部材から係合解除されて、前記第3の電気分岐を前記第4の状態に切り替える、請求項15に記載の外科用器具。
- 前記第2の応答部材および前記第3の応答部材は、それぞれ電気スイッチであり、前記第2のトリガ部材および前記第3のトリガ部材は、前記第2の電気分岐および前記第3の電気分岐の状態を切り替えるように前記電気スイッチと係合するように構成される、請求項15に記載の外科用器具。
- 前記第2の応答部材/前記第3の応答部材は電気接点として構成され、前記第2のトリガ部材は前記第2の応答部材と協働して、前記第2の電気分岐を導通または切断するためのスイッチを形成し、前記第3のトリガ部材は前記第3の応答部材と協働して、前記第2の電気分岐を導通または切断するためのスイッチを形成する、請求項15に記載の外科用器具。
- 複数の前記第1の電気分岐が並列に接続されて負荷ユニット型認識回路を形成し、前記第2の電気分岐と前記第3の電気分岐とが直列に接続されて認識回路が良好に組み立てられた負荷ユニットを形成し、前記負荷ユニット型認識回路および前記認識回路が良好に組み立てられた負荷ユニットは、コントローラに直列に接続される、請求項18に記載の外科用器具。
- 前記負荷ユニット型認識回路は、前記第1の電気分岐と並列に接続された第1の負荷分岐をさらに備え、
前記認識回路が良好に組み立てられた負荷ユニットにおいて、前記第2の電気分岐の、前記第1の状態および前記第2の状態は、異なる負荷値を有する2つの電気分岐に対応し、前記第3の電気分岐の、前記第3の状態および前記第4の状態は前記電気分岐の接続および前記電気分岐の切断に対応し、
前記負荷ユニットが挿入されていない位置および、所定の位置で回転される位置にあるとき、前記負荷ユニット型認識回路および前記認識回路が良好に組み立てられた負荷ユニットは導通状態にあり、前記2つの状態における前記負荷値は異なり、
前記負荷ユニットが所定の位置に挿入された位置にあるとき、前記負荷ユニット型認識回路および前記認識回路が良好に組み立てられた負荷ユニットは、非導通状態にある、請求項20に記載の外科用器具。 - 前記負荷ユニット型認識回路は前記第1の電気分岐と並列に接続された第1の負荷分岐をさらに備え、
前記認識回路が良好に組み立てられた負荷ユニットにおいて、前記第2の電気分岐の前記第1の状態および前記第2の状態は、異なる負荷値を有する2つの電気分岐に対応し、前記第3の電気分岐の前記第3の状態および前記第4の状態は異なる負荷値を有する2つの電気分岐に対応し、
前記負荷ユニットが挿入されていない位置にあるとき、前記負荷ユニットが所定の位置に挿入されている位置にあるとき、および前記負荷ユニットが所定の位置に回転される位置にあるとき、
前記負荷ユニット型認識回路および前記認識回路が良好に組み立てられた負荷ユニットは導通状態にあり、前記2つの状態における負荷値は異なる、請求項20に記載の外科用器具。 - 表示ユニットをさらに備え、前記表示ユニットは、前記コントローラからの信号によって、良好に組み立てられた前記負荷ユニットを表示するための第2の表示信号を提供するように構成される、請求項15に記載の外科用器具。
- 前記負荷ユニットの端部は、遠位端から近位端に順次接続された第1の挿入区間および第2の挿入区間を備え、
前記第1の挿入区間の外径は前記第2の挿入区間の外径よりも大きく、前記係合ナブは前記第1の挿入区間上に配置され、前記第1の挿入区間と前記第2の挿入区間との間に形成された段差は、前記第1の摺動部材と係合されるように適合され、前記第2の挿入区間の端面は、前記第3の摺動部材と係合されるように適合され、前記第2の挿入は前記負荷ユニットの型に関連する長さを有する、請求項15に記載の外科用器具。 - 前記負荷ユニットの係合ナブは、前記負荷ユニットの端部に配置された係止突出として構成され、係止摺動溝は、前記長尺体アセンブリの外側シェルの内側に配置され、前記係止突出は、前記係止摺動溝と係合することにより、前記負荷ユニットを回転から係止するように構成される、請求項15に記載の外科用器具。
Priority Applications (1)
| Application Number | Priority Date | Filing Date | Title |
|---|---|---|---|
| JP2025175208A JP2026016484A (ja) | 2021-07-29 | 2025-10-17 | 外科用器具 |
Applications Claiming Priority (3)
| Application Number | Priority Date | Filing Date | Title |
|---|---|---|---|
| CN202110865511.XA CN113397616B (zh) | 2021-07-29 | 2021-07-29 | 一种外科器械 |
| CN202110865511.X | 2021-07-29 | ||
| PCT/CN2022/106013 WO2023005693A1 (zh) | 2021-07-29 | 2022-07-15 | 一种外科器械 |
Related Child Applications (1)
| Application Number | Title | Priority Date | Filing Date |
|---|---|---|---|
| JP2025175208A Division JP2026016484A (ja) | 2021-07-29 | 2025-10-17 | 外科用器具 |
Publications (1)
| Publication Number | Publication Date |
|---|---|
| JP2024528126A true JP2024528126A (ja) | 2024-07-26 |
Family
ID=77687879
Family Applications (2)
| Application Number | Title | Priority Date | Filing Date |
|---|---|---|---|
| JP2024505542A Pending JP2024528126A (ja) | 2021-07-29 | 2022-07-15 | 外科用器具 |
| JP2025175208A Pending JP2026016484A (ja) | 2021-07-29 | 2025-10-17 | 外科用器具 |
Family Applications After (1)
| Application Number | Title | Priority Date | Filing Date |
|---|---|---|---|
| JP2025175208A Pending JP2026016484A (ja) | 2021-07-29 | 2025-10-17 | 外科用器具 |
Country Status (5)
| Country | Link |
|---|---|
| US (1) | US12490987B2 (ja) |
| EP (1) | EP4378397B1 (ja) |
| JP (2) | JP2024528126A (ja) |
| CN (2) | CN115670539B (ja) |
| WO (1) | WO2023005693A1 (ja) |
Families Citing this family (4)
| Publication number | Priority date | Publication date | Assignee | Title |
|---|---|---|---|---|
| CN115670539B (zh) * | 2021-07-29 | 2025-11-28 | 天津瑞奇外科器械股份有限公司 | 一种外科器械 |
| CN113729524B (zh) * | 2021-09-18 | 2025-11-21 | 浙江田螺云厨科技有限公司 | 刀具识别机构、电烹饪器、可更换部件识别机构 |
| CN116849742B (zh) * | 2023-07-31 | 2025-11-04 | 无锡贝恩外科器械有限公司 | 一种能够识别至少四款钉匣组件的电动吻合器 |
| CN121287216A (zh) * | 2024-07-08 | 2026-01-09 | 江苏风和医疗器材股份有限公司 | 外科器械 |
Citations (5)
| Publication number | Priority date | Publication date | Assignee | Title |
|---|---|---|---|---|
| JPS5940603U (ja) * | 1982-09-08 | 1984-03-15 | 三菱重工業株式会社 | 油圧シリンダ |
| JP2000046502A (ja) * | 1998-07-24 | 2000-02-18 | Honda Motor Co Ltd | 相対変位量検出装置 |
| JP2008064208A (ja) * | 2006-09-07 | 2008-03-21 | Tokutake Seisakusho:Kk | ストローク検出機能付シリンダ装置 |
| JP2011019904A (ja) * | 2009-07-14 | 2011-02-03 | Tyco Healthcare Group Lp | 機械的特徴によるエンドエフェクター識別 |
| JP2015537187A (ja) * | 2012-12-20 | 2015-12-24 | オリンパス株式会社 | 位置検出センサおよびマニピュレータ |
Family Cites Families (19)
| Publication number | Priority date | Publication date | Assignee | Title |
|---|---|---|---|---|
| US20090090763A1 (en) * | 2007-10-05 | 2009-04-09 | Tyco Healthcare Group Lp | Powered surgical stapling device |
| US20110006101A1 (en) * | 2009-02-06 | 2011-01-13 | EthiconEndo-Surgery, Inc. | Motor driven surgical fastener device with cutting member lockout arrangements |
| US7464849B2 (en) * | 2006-01-31 | 2008-12-16 | Ethicon Endo-Surgery, Inc. | Electro-mechanical surgical instrument with closure system and anvil alignment components |
| US7753246B2 (en) * | 2007-01-31 | 2010-07-13 | Tyco Healthcare Group Lp | Surgical instrument with replaceable loading unit |
| US7793812B2 (en) * | 2008-02-14 | 2010-09-14 | Ethicon Endo-Surgery, Inc. | Disposable motor-driven loading unit for use with a surgical cutting and stapling apparatus |
| US7913891B2 (en) * | 2008-02-14 | 2011-03-29 | Ethicon Endo-Surgery, Inc. | Disposable loading unit with user feedback features and surgical instrument for use therewith |
| US9421014B2 (en) * | 2012-10-18 | 2016-08-23 | Covidien Lp | Loading unit velocity and position feedback |
| US10478182B2 (en) * | 2012-10-18 | 2019-11-19 | Covidien Lp | Surgical device identification |
| US9867612B2 (en) * | 2013-04-16 | 2018-01-16 | Ethicon Llc | Powered surgical stapler |
| US10175127B2 (en) * | 2014-05-05 | 2019-01-08 | Covidien Lp | End-effector force measurement drive circuit |
| US10251725B2 (en) * | 2014-06-09 | 2019-04-09 | Covidien Lp | Authentication and information system for reusable surgical instruments |
| US10561418B2 (en) * | 2014-06-26 | 2020-02-18 | Covidien Lp | Adapter assemblies for interconnecting surgical loading units and handle assemblies |
| US10729435B2 (en) * | 2015-11-06 | 2020-08-04 | Covidien Lp | Adapter assemblies for interconnecting surgical loading units and handle assemblies |
| US10338259B2 (en) * | 2015-12-14 | 2019-07-02 | Covidien Lp | Surgical adapter assemblies and wireless detection of surgical loading units |
| US10314579B2 (en) * | 2016-01-07 | 2019-06-11 | Covidien Lp | Adapter assemblies for interconnecting surgical loading units and handle assemblies |
| US10420551B2 (en) * | 2017-05-30 | 2019-09-24 | Covidien Lp | Authentication and information system for reusable surgical instruments |
| US11806015B2 (en) * | 2018-12-21 | 2023-11-07 | Intuitive Surgical Operations, Inc. | Surgical instruments having mechanisms for identifying and/or deactivating stapler cartridges |
| CN111759385B (zh) * | 2020-07-17 | 2021-11-30 | 天津瑞奇外科器械股份有限公司 | 一种电动吻合器及其装载单元 |
| CN115670539B (zh) * | 2021-07-29 | 2025-11-28 | 天津瑞奇外科器械股份有限公司 | 一种外科器械 |
-
2021
- 2021-07-29 CN CN202210905155.4A patent/CN115670539B/zh active Active
- 2021-07-29 CN CN202110865511.XA patent/CN113397616B/zh active Active
-
2022
- 2022-07-15 WO PCT/CN2022/106013 patent/WO2023005693A1/zh not_active Ceased
- 2022-07-15 JP JP2024505542A patent/JP2024528126A/ja active Pending
- 2022-07-15 EP EP22848298.0A patent/EP4378397B1/en active Active
-
2024
- 2024-01-26 US US18/424,494 patent/US12490987B2/en active Active
-
2025
- 2025-10-17 JP JP2025175208A patent/JP2026016484A/ja active Pending
Patent Citations (5)
| Publication number | Priority date | Publication date | Assignee | Title |
|---|---|---|---|---|
| JPS5940603U (ja) * | 1982-09-08 | 1984-03-15 | 三菱重工業株式会社 | 油圧シリンダ |
| JP2000046502A (ja) * | 1998-07-24 | 2000-02-18 | Honda Motor Co Ltd | 相対変位量検出装置 |
| JP2008064208A (ja) * | 2006-09-07 | 2008-03-21 | Tokutake Seisakusho:Kk | ストローク検出機能付シリンダ装置 |
| JP2011019904A (ja) * | 2009-07-14 | 2011-02-03 | Tyco Healthcare Group Lp | 機械的特徴によるエンドエフェクター識別 |
| JP2015537187A (ja) * | 2012-12-20 | 2015-12-24 | オリンパス株式会社 | 位置検出センサおよびマニピュレータ |
Also Published As
| Publication number | Publication date |
|---|---|
| WO2023005693A1 (zh) | 2023-02-02 |
| EP4378397C0 (en) | 2025-12-31 |
| CN113397616A (zh) | 2021-09-17 |
| CN113397616B (zh) | 2022-09-06 |
| EP4378397B1 (en) | 2025-12-31 |
| US12490987B2 (en) | 2025-12-09 |
| CN115670539A (zh) | 2023-02-03 |
| EP4378397A1 (en) | 2024-06-05 |
| EP4378397A4 (en) | 2024-11-13 |
| CN115670539B (zh) | 2025-11-28 |
| US20240164781A1 (en) | 2024-05-23 |
| JP2026016484A (ja) | 2026-02-03 |
Similar Documents
| Publication | Publication Date | Title |
|---|---|---|
| JP2024528126A (ja) | 外科用器具 | |
| US12029427B2 (en) | Methods and systems for performing circular stapling | |
| US9775607B2 (en) | Indicators for surgical staplers | |
| US11446025B2 (en) | Firing circuit for surgical stapler | |
| US11147559B2 (en) | Staple height indicator for powered surgical stapler | |
| US10265066B2 (en) | Surgical stapler with incomplete firing indicator | |
| JP6395289B2 (ja) | 外科手術吻合を実施するための方法およびデバイス | |
| CN106999189B (zh) | 具有击发指示器的外科吻合装置 | |
| US7963431B2 (en) | Grasping jaw mechanism | |
| US11116508B2 (en) | Electrical potential shifting circuit for powered surgical stapler | |
| JP2012000457A (ja) | ステープル位置センサーシステム | |
| CN113518592B (zh) | 圆形外科缝合器 | |
| US20200281592A1 (en) | Timer circuit to control firing of powered surgical stapler | |
| CN113543729B (zh) | 用于电动外科缝合器的功率控制电路 | |
| CN111789651A (zh) | 外科缝合装置 |
Legal Events
| Date | Code | Title | Description |
|---|---|---|---|
| A521 | Request for written amendment filed |
Free format text: JAPANESE INTERMEDIATE CODE: A523 Effective date: 20240329 |
|
| A621 | Written request for application examination |
Free format text: JAPANESE INTERMEDIATE CODE: A621 Effective date: 20240329 |
|
| A977 | Report on retrieval |
Free format text: JAPANESE INTERMEDIATE CODE: A971007 Effective date: 20241120 |
|
| A131 | Notification of reasons for refusal |
Free format text: JAPANESE INTERMEDIATE CODE: A131 Effective date: 20241210 |
|
| A521 | Request for written amendment filed |
Free format text: JAPANESE INTERMEDIATE CODE: A523 Effective date: 20250307 |
|
| A02 | Decision of refusal |
Free format text: JAPANESE INTERMEDIATE CODE: A02 Effective date: 20250617 |
