JP2022017597A - 光ファイバを利用した太陽光発電ユニット、及びそれを適用した発電システム - Google Patents
光ファイバを利用した太陽光発電ユニット、及びそれを適用した発電システム Download PDFInfo
- Publication number
- JP2022017597A JP2022017597A JP2021185902A JP2021185902A JP2022017597A JP 2022017597 A JP2022017597 A JP 2022017597A JP 2021185902 A JP2021185902 A JP 2021185902A JP 2021185902 A JP2021185902 A JP 2021185902A JP 2022017597 A JP2022017597 A JP 2022017597A
- Authority
- JP
- Japan
- Prior art keywords
- power generation
- optical fiber
- solar panel
- photovoltaic power
- generation unit
- Prior art date
- Legal status (The legal status is an assumption and is not a legal conclusion. Google has not performed a legal analysis and makes no representation as to the accuracy of the status listed.)
- Granted
Links
Images
Classifications
-
- H—ELECTRICITY
- H02—GENERATION; CONVERSION OR DISTRIBUTION OF ELECTRIC POWER
- H02S—GENERATION OF ELECTRIC POWER BY CONVERSION OF INFRARED RADIATION, VISIBLE LIGHT OR ULTRAVIOLET LIGHT, e.g. USING PHOTOVOLTAIC [PV] MODULES
- H02S40/00—Components or accessories in combination with PV modules, not provided for in groups H02S10/00 - H02S30/00
- H02S40/20—Optical components
- H02S40/22—Light-reflecting or light-concentrating means
-
- G—PHYSICS
- G02—OPTICS
- G02B—OPTICAL ELEMENTS, SYSTEMS OR APPARATUS
- G02B6/00—Light guides; Structural details of arrangements comprising light guides and other optical elements, e.g. couplings
- G02B6/0001—Light guides; Structural details of arrangements comprising light guides and other optical elements, e.g. couplings specially adapted for lighting devices or systems
- G02B6/0005—Light guides; Structural details of arrangements comprising light guides and other optical elements, e.g. couplings specially adapted for lighting devices or systems the light guides being of the fibre type
- G02B6/001—Light guides; Structural details of arrangements comprising light guides and other optical elements, e.g. couplings specially adapted for lighting devices or systems the light guides being of the fibre type the light being emitted along at least a portion of the lateral surface of the fibre
-
- G—PHYSICS
- G02—OPTICS
- G02B—OPTICAL ELEMENTS, SYSTEMS OR APPARATUS
- G02B6/00—Light guides; Structural details of arrangements comprising light guides and other optical elements, e.g. couplings
- G02B6/0001—Light guides; Structural details of arrangements comprising light guides and other optical elements, e.g. couplings specially adapted for lighting devices or systems
- G02B6/0011—Light guides; Structural details of arrangements comprising light guides and other optical elements, e.g. couplings specially adapted for lighting devices or systems the light guides being planar or of plate-like form
- G02B6/0065—Manufacturing aspects; Material aspects
-
- G—PHYSICS
- G02—OPTICS
- G02B—OPTICAL ELEMENTS, SYSTEMS OR APPARATUS
- G02B6/00—Light guides; Structural details of arrangements comprising light guides and other optical elements, e.g. couplings
- G02B6/02—Optical fibres with cladding with or without a coating
- G02B6/02395—Glass optical fibre with a protective coating, e.g. two layer polymer coating deposited directly on a silica cladding surface during fibre manufacture
-
- G—PHYSICS
- G02—OPTICS
- G02B—OPTICAL ELEMENTS, SYSTEMS OR APPARATUS
- G02B6/00—Light guides; Structural details of arrangements comprising light guides and other optical elements, e.g. couplings
- G02B6/04—Light guides; Structural details of arrangements comprising light guides and other optical elements, e.g. couplings formed by bundles of fibres
- G02B6/06—Light guides; Structural details of arrangements comprising light guides and other optical elements, e.g. couplings formed by bundles of fibres the relative position of the fibres being the same at both ends, e.g. for transporting images
-
- H—ELECTRICITY
- H02—GENERATION; CONVERSION OR DISTRIBUTION OF ELECTRIC POWER
- H02S—GENERATION OF ELECTRIC POWER BY CONVERSION OF INFRARED RADIATION, VISIBLE LIGHT OR ULTRAVIOLET LIGHT, e.g. USING PHOTOVOLTAIC [PV] MODULES
- H02S40/00—Components or accessories in combination with PV modules, not provided for in groups H02S10/00 - H02S30/00
- H02S40/40—Thermal components
- H02S40/42—Cooling means
- H02S40/425—Cooling means using a gaseous or a liquid coolant, e.g. air flow ventilation, water circulation
-
- H—ELECTRICITY
- H10—SEMICONDUCTOR DEVICES; ELECTRIC SOLID-STATE DEVICES NOT OTHERWISE PROVIDED FOR
- H10F—INORGANIC SEMICONDUCTOR DEVICES SENSITIVE TO INFRARED RADIATION, LIGHT, ELECTROMAGNETIC RADIATION OF SHORTER WAVELENGTH OR CORPUSCULAR RADIATION
- H10F77/00—Constructional details of devices covered by this subclass
- H10F77/40—Optical elements or arrangements
- H10F77/42—Optical elements or arrangements directly associated or integrated with photovoltaic cells, e.g. light-reflecting means or light-concentrating means
- H10F77/484—Refractive light-concentrating means, e.g. lenses
-
- H—ELECTRICITY
- H10—SEMICONDUCTOR DEVICES; ELECTRIC SOLID-STATE DEVICES NOT OTHERWISE PROVIDED FOR
- H10F—INORGANIC SEMICONDUCTOR DEVICES SENSITIVE TO INFRARED RADIATION, LIGHT, ELECTROMAGNETIC RADIATION OF SHORTER WAVELENGTH OR CORPUSCULAR RADIATION
- H10F77/00—Constructional details of devices covered by this subclass
- H10F77/40—Optical elements or arrangements
- H10F77/42—Optical elements or arrangements directly associated or integrated with photovoltaic cells, e.g. light-reflecting means or light-concentrating means
- H10F77/488—Reflecting light-concentrating means, e.g. parabolic mirrors or concentrators using total internal reflection
-
- G—PHYSICS
- G02—OPTICS
- G02B—OPTICAL ELEMENTS, SYSTEMS OR APPARATUS
- G02B19/00—Condensers, e.g. light collectors or similar non-imaging optics
- G02B19/0033—Condensers, e.g. light collectors or similar non-imaging optics characterised by the use
- G02B19/0038—Condensers, e.g. light collectors or similar non-imaging optics characterised by the use for use with ambient light
- G02B19/0042—Condensers, e.g. light collectors or similar non-imaging optics characterised by the use for use with ambient light for use with direct solar radiation
-
- G—PHYSICS
- G02—OPTICS
- G02B—OPTICAL ELEMENTS, SYSTEMS OR APPARATUS
- G02B6/00—Light guides; Structural details of arrangements comprising light guides and other optical elements, e.g. couplings
- G02B6/24—Coupling light guides
- G02B6/36—Mechanical coupling means
- G02B6/3608—Fibre wiring boards, i.e. where fibres are embedded or attached in a pattern on or to a substrate, e.g. flexible sheets
-
- G—PHYSICS
- G02—OPTICS
- G02B—OPTICAL ELEMENTS, SYSTEMS OR APPARATUS
- G02B6/00—Light guides; Structural details of arrangements comprising light guides and other optical elements, e.g. couplings
- G02B6/24—Coupling light guides
- G02B6/36—Mechanical coupling means
- G02B6/3628—Mechanical coupling means for mounting fibres to supporting carriers
- G02B6/3632—Mechanical coupling means for mounting fibres to supporting carriers characterised by the cross-sectional shape of the mechanical coupling means
- G02B6/3636—Mechanical coupling means for mounting fibres to supporting carriers characterised by the cross-sectional shape of the mechanical coupling means the mechanical coupling means being grooves
-
- G—PHYSICS
- G02—OPTICS
- G02B—OPTICAL ELEMENTS, SYSTEMS OR APPARATUS
- G02B6/00—Light guides; Structural details of arrangements comprising light guides and other optical elements, e.g. couplings
- G02B6/24—Coupling light guides
- G02B6/36—Mechanical coupling means
- G02B6/3628—Mechanical coupling means for mounting fibres to supporting carriers
- G02B6/3664—2D cross sectional arrangements of the fibres
-
- G—PHYSICS
- G02—OPTICS
- G02B—OPTICAL ELEMENTS, SYSTEMS OR APPARATUS
- G02B6/00—Light guides; Structural details of arrangements comprising light guides and other optical elements, e.g. couplings
- G02B6/24—Coupling light guides
- G02B6/42—Coupling light guides with opto-electronic elements
- G02B6/4201—Packages, e.g. shape, construction, internal or external details
- G02B6/4204—Packages, e.g. shape, construction, internal or external details the coupling comprising intermediate optical elements, e.g. lenses, holograms
- G02B6/4214—Packages, e.g. shape, construction, internal or external details the coupling comprising intermediate optical elements, e.g. lenses, holograms the intermediate optical element having redirecting reflective means, e.g. mirrors, prisms for deflecting the radiation from horizontal to down- or upward direction toward a device
-
- Y—GENERAL TAGGING OF NEW TECHNOLOGICAL DEVELOPMENTS; GENERAL TAGGING OF CROSS-SECTIONAL TECHNOLOGIES SPANNING OVER SEVERAL SECTIONS OF THE IPC; TECHNICAL SUBJECTS COVERED BY FORMER USPC CROSS-REFERENCE ART COLLECTIONS [XRACs] AND DIGESTS
- Y02—TECHNOLOGIES OR APPLICATIONS FOR MITIGATION OR ADAPTATION AGAINST CLIMATE CHANGE
- Y02E—REDUCTION OF GREENHOUSE GAS [GHG] EMISSIONS, RELATED TO ENERGY GENERATION, TRANSMISSION OR DISTRIBUTION
- Y02E10/00—Energy generation through renewable energy sources
- Y02E10/50—Photovoltaic [PV] energy
- Y02E10/52—PV systems with concentrators
Landscapes
- Physics & Mathematics (AREA)
- General Physics & Mathematics (AREA)
- Optics & Photonics (AREA)
- Engineering & Computer Science (AREA)
- Manufacturing & Machinery (AREA)
- Health & Medical Sciences (AREA)
- Life Sciences & Earth Sciences (AREA)
- Sustainable Development (AREA)
- Toxicology (AREA)
- Photovoltaic Devices (AREA)
- Light Guides In General And Applications Therefor (AREA)
Abstract
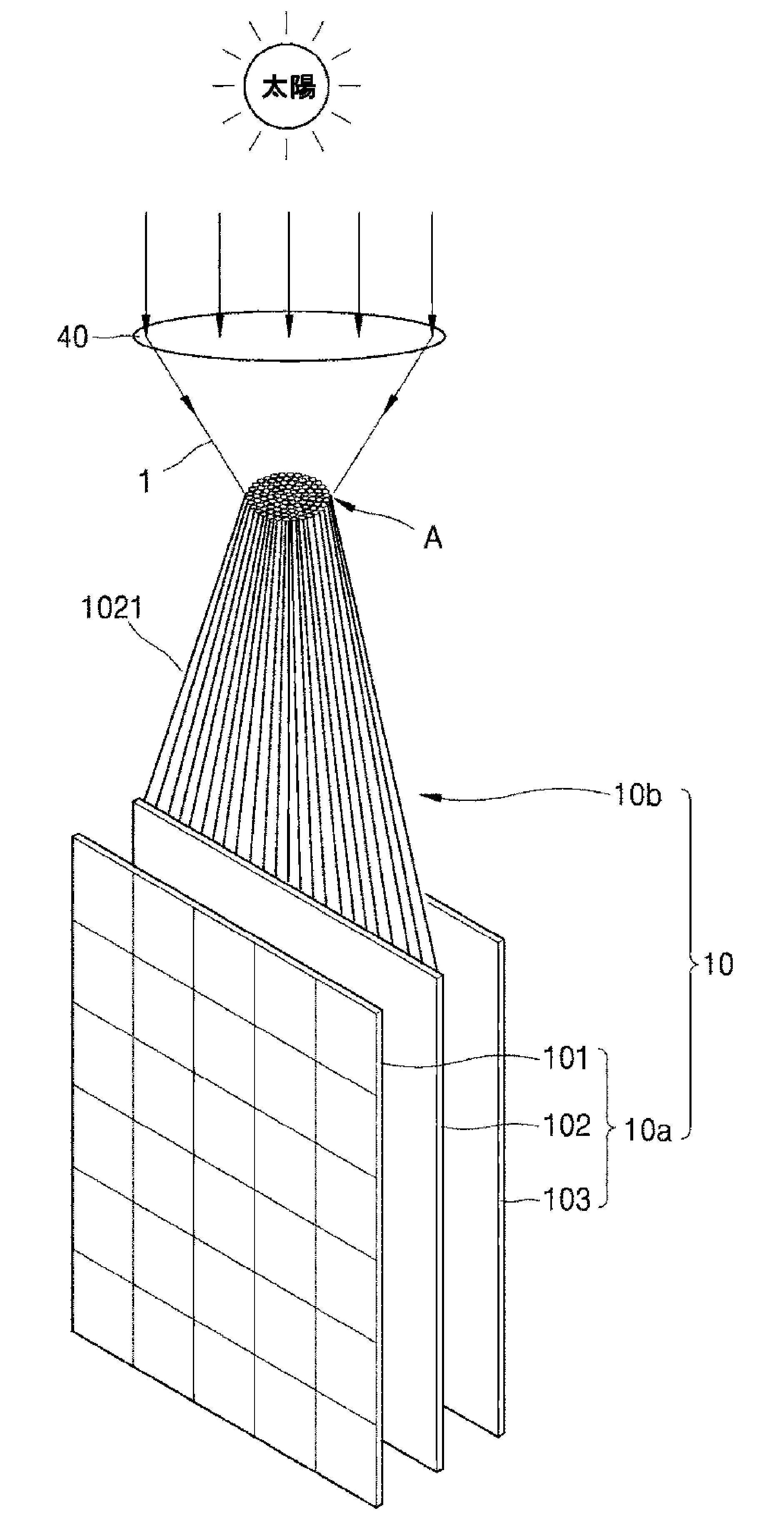
【解決手段】光波を多数の光ファイバ1021によって輸送する輸送部10b、そして輸送部10bからの光ファイバ1021によって入射する光波を利用して電気を発生させる発電部10aを具備し、発電部10aは、ソーラーパネル101の光入射面に対面するように、多数の光ファイバ1021を、平面状またはシート状に配列させている光ガイド部102を具備し、多数光ファイバ1021の外周面には、内部進行光波を屈折させ、ソーラーパネル101にフォワーディングさせるウィンドウが多数形成されている。
【選択図】図1
Description
太陽光発電システムのソーラーパネルユニットは、太陽光をソーラーパネルの平面に直接到逹させ、ソーラーパネルを直接照光させる直下方式と、ソーラーパネルに反射鏡または集光レンズなどを活用する集光方式とに分けられる。建物屋上や地上に設ける太陽光発電施設は、直下方式が主に適用されるが、それは、レンズや鏡を利用する集光方式に比べて効率が落ちる。そのような直下方式の欠点を補う集光方式は、複雑な光学構造、及びそれを支持する構造体を含むことになる。従って、それら従来のソーラーパネルは、製造コスト高くて、また高集光(high condensation of light)によるソーラーパネルの寿命短縮を避けることができない。
本発明が解決しようとする課題は、また、熱衝撃からソーラーパネルを効果的に保護し、ソーラーパネルの寿命を延ばすことができる太陽光発電ユニット、及びそれを適用する発電システムを含むことである
太陽からの光波を多数の光ファイバ(optical fiber)によって輸送する輸送部と、
前記輸送部からの光ファイバによって入射する光波を利用して電気を発生させる発電部と、を具備し、
前記発電部は、
前記光波によって電気を発生させるソーラーパネルと、
前記ソーラーパネルの光入射面に対面するように、前記多数の光ファイバを、平面状またはシート状に配列させている光ガイド部と、を具備し、
前記ソーラーパネルの光入射面に対向する前記多数の光ファイバの外周面に、内部を進行する光波を屈折させ、前記ソーラーパネルにフォワーディングさせるウィンドウが多数形成されている太陽光発電ユニットが提供される。
多数太陽光発電ユニットの発電部が一つに集積されている多重発電部と、
前記多数太陽光発電ユニットの輸送部が一つに集積されている多重輸送部と、
前記多重輸送部に太陽光を集中させる光学系と、を含み、
前記太陽光発電ユニットは、
太陽からの光波を一方向に輸送する多数の光ファイバを含む光波輸送部と、
前記光波輸送部の光ファイバを介して入射する光波を利用して発電する発電部と、を含み、
前記発電部は、
前記光波によって電気を発生させるソーラーパネルと、
前記ソーラーパネルの光入射面に対面するように、前記多数の光ファイバを、平面状またはシート状に配列させている光ガイド部と、を具備し、
前記多数光ファイバの外周面に、内部を進行する光波を屈折させ、前記ソーラーパネルにフォワーディングさせるウィンドウが多数形成されている太陽光発電システムが提供される。
Claims (7)
- 光波を多数の光ファイバによって輸送する輸送部と、
前記輸送部からの光ファイバによって入射する光波を利用して電気を発生させる発電部と、を具備し、
前記発電部は、
前記光波によって電気を発生させるソーラーパネルと、
前記ソーラーパネルの光入射面に対面するように、前記多数の光ファイバを、平面状またはシート状に配列させている光ガイド部と、を具備し、
前記ソーラーパネルの光入射面に対向する前記多数の光ファイバの外周面に、内部を進む光波を屈折させ、前記ソーラーパネルにフォワーディングさせるウィンドウが多数形成されており、
前記ソーラーパネルに対する前記光波の局所的集中によるソーラーパネルの局所的欠陥を防止するように、前記ソーラーパネルと光ファイバは、任意に設定された距離dをおいて相互離隔されており、
前記光ファイバのうち少なくとも一つはU字形に曲げられて前記光波が進む2つの経路を提供する相互並んだ第1部分及び第2部分を含み、
前述の第1部分及び第2部分の同方向の両先端部には前記光波が入射し、
前記光ファイバ上の第1部分及び第2部分には、前記ウィンドウが多数形成されている太陽光発電ユニット。 - 前記ソーラーパネルと光ファイバは、0.8mm~1.4mmの距離dをおいて相互離隔されている請求項1に記載の太陽光発電ユニット。
- 前記光ファイバは、コア、及びコアを覆うクラッドを含み、前記クラッドには、前記ウィンドウが形成されており、前記ウィンドウの底に、前記コアの表面が露出されている請求項1に記載の太陽光発電ユニット。
- 前記光ガイド部は、光ファイバを固定する固定プレートをさらに含み、
前記固定プレートには、前記光ファイバが挿入される溝型チャネルが形成されている請求項1に記載の太陽光発電ユニット。 - 前記固定プレートは、前記光ファイバからの光波を、前記ソーラーパネルに反射させる反射機能を有する請求項4に記載の太陽光発電ユニット。
- 請求項1~5のいずれか一項に記載の太陽光発電ユニットの多数からなる多数太陽光発電ユニットが一つの集積されている多重発電部と、
前記多数太陽光発電ユニットの輸送部が一つに集積されている多重輸送部と、
前記多重輸送部に太陽光を集中させる光学系とを具備する太陽光発電システム。 - 光波が入射する光入射部を含む多重輸送部を冷却するクーリングシステムをさらに具備する請求項6に記載の太陽光発電システム。
Applications Claiming Priority (12)
| Application Number | Priority Date | Filing Date | Title |
|---|---|---|---|
| KR10-2017-0061730 | 2017-05-18 | ||
| KR20170061730 | 2017-05-18 | ||
| KR10-2017-0076827 | 2017-06-16 | ||
| KR1020170076827A KR101902374B1 (ko) | 2017-05-18 | 2017-06-16 | 광섬유사를 이용한 태양광 발전 유니트 및 이를 적용한 발전 시스템 |
| KR10-2017-0159691 | 2017-11-27 | ||
| KR1020170159691A KR101902376B1 (ko) | 2017-05-18 | 2017-11-27 | 광섬유사를 이용한 태양광 발전 유니트 및 이를 적용한 발전 시스템 |
| KR10-2017-0159692 | 2017-11-27 | ||
| KR1020170159690A KR101902375B1 (ko) | 2017-05-18 | 2017-11-27 | 광섬유사를 이용한 태양광 발전 유니트 및 이를 적용한 발전 시스템 |
| KR1020170159692A KR101902377B1 (ko) | 2017-05-18 | 2017-11-27 | 광섬유사를 이용한 태양광 발전 유니트 및 이를 적용한 발전 시스템 |
| KR10-2017-0159690 | 2017-11-27 | ||
| JP2019561761A JP6980032B2 (ja) | 2017-05-18 | 2017-12-18 | 光ファイバを利用した太陽光発電ユニット、及びそれを適用した発電システム |
| PCT/KR2017/014915 WO2018212424A1 (ko) | 2017-05-18 | 2017-12-18 | 광 섬유를 이용한 태양광 발전 유니트 및 이를 적용한 발전 시스템 |
Related Parent Applications (1)
| Application Number | Title | Priority Date | Filing Date |
|---|---|---|---|
| JP2019561761A Division JP6980032B2 (ja) | 2017-05-18 | 2017-12-18 | 光ファイバを利用した太陽光発電ユニット、及びそれを適用した発電システム |
Publications (2)
| Publication Number | Publication Date |
|---|---|
| JP2022017597A true JP2022017597A (ja) | 2022-01-25 |
| JP7282860B2 JP7282860B2 (ja) | 2023-05-29 |
Family
ID=63721630
Family Applications (2)
| Application Number | Title | Priority Date | Filing Date |
|---|---|---|---|
| JP2019561761A Active JP6980032B2 (ja) | 2017-05-18 | 2017-12-18 | 光ファイバを利用した太陽光発電ユニット、及びそれを適用した発電システム |
| JP2021185902A Active JP7282860B2 (ja) | 2017-05-18 | 2021-11-15 | 光ファイバを利用した太陽光発電ユニット、及びそれを適用した発電システム |
Family Applications Before (1)
| Application Number | Title | Priority Date | Filing Date |
|---|---|---|---|
| JP2019561761A Active JP6980032B2 (ja) | 2017-05-18 | 2017-12-18 | 光ファイバを利用した太陽光発電ユニット、及びそれを適用した発電システム |
Country Status (6)
| Country | Link |
|---|---|
| US (1) | US20190131921A1 (ja) |
| EP (1) | EP3627038A4 (ja) |
| JP (2) | JP6980032B2 (ja) |
| KR (4) | KR101902374B1 (ja) |
| CN (1) | CN110998177A (ja) |
| MX (1) | MX2019013306A (ja) |
Families Citing this family (20)
| Publication number | Priority date | Publication date | Assignee | Title |
|---|---|---|---|---|
| KR101902374B1 (ko) * | 2017-05-18 | 2018-09-28 | 배석만 | 광섬유사를 이용한 태양광 발전 유니트 및 이를 적용한 발전 시스템 |
| DE112018004929T5 (de) * | 2017-09-08 | 2020-06-18 | The Regents Of The University Of Michigan | Elektromagnetischer energiewandler |
| US11038073B2 (en) * | 2018-07-02 | 2021-06-15 | Suk Man BAE | Solar power generation unit and system |
| CN109541741A (zh) * | 2018-12-13 | 2019-03-29 | 云南电网有限责任公司电力科学研究院 | 一种空心光纤 |
| KR102310962B1 (ko) * | 2019-01-29 | 2021-10-12 | 배석만 | 섬유사형 태양광 발전기 및 이를 이용한 태양광 발전 시스템 |
| CN109962676A (zh) * | 2019-04-30 | 2019-07-02 | 浙江正泰新能源开发有限公司 | 高发电量双玻组件系统 |
| CN110034723B (zh) * | 2019-05-20 | 2024-08-09 | 浙江正泰新能源开发有限公司 | 具有可移动光导板的双玻组件系统 |
| US10930800B2 (en) * | 2019-07-10 | 2021-02-23 | Carrick J. Pierce | Modular photovoltaic system |
| KR102511065B1 (ko) * | 2019-08-08 | 2023-03-21 | 주식회사 빛고운 | 태양광 발전 유닛 및 시스템 |
| DE112020004027T5 (de) | 2019-08-30 | 2022-05-12 | Maruyama Frosting Co., Ltd. | Optische Faser |
| US11929707B2 (en) * | 2019-10-13 | 2024-03-12 | Nasir Sharaf | System for maximizing solar insolation utilization in power generation |
| KR102370129B1 (ko) * | 2021-06-28 | 2022-03-08 | 주식회사 엘앤피 농업회사법인 | 태양광 유도조명을 이용한 스마트 식물공장 시스템 |
| US12308789B2 (en) * | 2021-07-29 | 2025-05-20 | Eduardo Gomez | System, apparatus, and method for harnessing energy from the sun without occupying a large surface area |
| JP7043105B1 (ja) | 2021-09-10 | 2022-03-29 | イーグル設計株式会社 | 太陽光を利用した発電方法及び発電装置 |
| CN116068776A (zh) * | 2021-10-29 | 2023-05-05 | 华为技术有限公司 | 一种分光方法以及相关设备 |
| US12276786B2 (en) * | 2021-12-14 | 2025-04-15 | Gm Cruise Holdings Llc | Self-illuminating distortion harp |
| WO2023112014A1 (en) * | 2021-12-14 | 2023-06-22 | Solarspace Ltd | A system for generating energy from hidden solar panels |
| CN115027632B (zh) * | 2022-06-22 | 2025-01-28 | 中国华能集团有限公司南方分公司 | 一种漂浮式光伏发电装置和光伏发电系统 |
| DE102022121760B4 (de) | 2022-08-29 | 2025-07-10 | Cariad Se | Solarstromerzeugungsvorrichtung und Kraftfahrzeug mit einer solchen Solarstromerzeugungsvorrichtung |
| DE102023111453A1 (de) * | 2023-05-03 | 2024-11-07 | Technische Universität Braunschweig, Körperschaft des öffentlichen Rechts | Kraftfahrzeug mit lichtleitender Außenhaut sowie Verfahren zur Lichtsammlung oder Lichtleitung mit einer solchen Außenhaut |
Citations (10)
| Publication number | Priority date | Publication date | Assignee | Title |
|---|---|---|---|---|
| JPS6326803U (ja) * | 1986-08-07 | 1988-02-22 | ||
| JPH0167603U (ja) * | 1987-10-23 | 1989-05-01 | ||
| US5042892A (en) * | 1990-08-03 | 1991-08-27 | David Chiu | Fiber optic light panel |
| JPH0435102U (ja) * | 1990-07-18 | 1992-03-24 | ||
| JPH04111475A (ja) * | 1990-08-31 | 1992-04-13 | Suzuki Motor Corp | 車載用太陽電池装置 |
| JP2003248142A (ja) * | 2001-07-12 | 2003-09-05 | Ngk Insulators Ltd | 二次元光学部材アレイ及び二次元導波路装置 |
| KR101090640B1 (ko) * | 2011-08-23 | 2011-12-08 | 김태환 | 광섬유 활용 태양광 발전장치 |
| JP2013149879A (ja) * | 2012-01-23 | 2013-08-01 | Toyota Body Research & Development Co Ltd | 太陽光発電システム |
| KR20150040410A (ko) * | 2013-10-07 | 2015-04-15 | 김종성 | 광섬유 유도형 태양광 발전시스템 |
| JP6980032B2 (ja) * | 2017-05-18 | 2021-12-15 | ▲裴▼ 錫晩BAE Suk Man | 光ファイバを利用した太陽光発電ユニット、及びそれを適用した発電システム |
Family Cites Families (16)
| Publication number | Priority date | Publication date | Assignee | Title |
|---|---|---|---|---|
| JPS632003A (ja) * | 1986-06-23 | 1988-01-07 | Komei Tei | 薄いシ−ト状の面光源板 |
| US6950583B2 (en) * | 2001-12-21 | 2005-09-27 | Ngk Insulators, Ltd. | Two-dimensional optical element array, two dimensional waveguide apparatus and methods for manufacturing the same |
| JP4945107B2 (ja) * | 2005-09-15 | 2012-06-06 | ゲットナー・ファンデーション・エルエルシー | 光源装置及びその製造方法、表示装置及びその製造方法、並びに表示装置の駆動方法 |
| JP2010027432A (ja) * | 2008-07-22 | 2010-02-04 | Toricon:Kk | 発光装置 |
| WO2011008811A1 (en) * | 2009-07-14 | 2011-01-20 | Agc Flat Glass North America, Inc. | Photovoltaic device with patterned glass concentrator |
| JP2013526008A (ja) * | 2010-03-24 | 2013-06-20 | ユニバーシティ オブ ノース カロライナ アット シャルロット | 導波路を利用した太陽エネルギーハーベスティング |
| CN103050550A (zh) * | 2011-10-14 | 2013-04-17 | 黄雨旸 | 集光型太阳能电池及其封装体结构 |
| CN102800732B (zh) * | 2012-08-21 | 2015-10-28 | 江苏盎华光伏工程技术研究中心有限公司 | 舱式光伏发电装置 |
| US9575244B2 (en) * | 2013-01-04 | 2017-02-21 | Bal Makund Dhar | Light guide apparatus and fabrication method thereof |
| KR101468714B1 (ko) * | 2013-05-07 | 2014-12-09 | 최병철 | 고효율 집광용 태양광 발전장치 |
| JP2015106684A (ja) * | 2013-12-02 | 2015-06-08 | 三菱電機株式会社 | 太陽光発電システム |
| KR102522197B1 (ko) * | 2015-09-11 | 2023-04-13 | 엘지이노텍 주식회사 | 면 조명 장치 |
| CN105763138A (zh) * | 2016-03-10 | 2016-07-13 | 南京熊猫电子股份有限公司 | 集成导光板式光伏发电装置 |
| CN106024961A (zh) * | 2016-06-16 | 2016-10-12 | 昆山诃德新能源科技有限公司 | 一种密集阵列式聚光太阳能光伏装置 |
| CN206259741U (zh) * | 2016-10-25 | 2017-06-16 | 佳律通信设备(上海)有限公司 | 一种平层屋顶用多功能自发电直放站 |
| CN106908891A (zh) * | 2017-03-02 | 2017-06-30 | 张模辉 | 一种玻璃导光板及应用其的叠层大功率太阳能电池板 |
-
2017
- 2017-06-16 KR KR1020170076827A patent/KR101902374B1/ko active Active
- 2017-11-27 KR KR1020170159691A patent/KR101902376B1/ko active Active
- 2017-11-27 KR KR1020170159692A patent/KR101902377B1/ko active Active
- 2017-11-27 KR KR1020170159690A patent/KR101902375B1/ko active Active
- 2017-12-18 US US16/306,543 patent/US20190131921A1/en not_active Abandoned
- 2017-12-18 MX MX2019013306A patent/MX2019013306A/es unknown
- 2017-12-18 CN CN201780090937.4A patent/CN110998177A/zh active Pending
- 2017-12-18 EP EP17910440.1A patent/EP3627038A4/en active Pending
- 2017-12-18 JP JP2019561761A patent/JP6980032B2/ja active Active
-
2021
- 2021-11-15 JP JP2021185902A patent/JP7282860B2/ja active Active
Patent Citations (10)
| Publication number | Priority date | Publication date | Assignee | Title |
|---|---|---|---|---|
| JPS6326803U (ja) * | 1986-08-07 | 1988-02-22 | ||
| JPH0167603U (ja) * | 1987-10-23 | 1989-05-01 | ||
| JPH0435102U (ja) * | 1990-07-18 | 1992-03-24 | ||
| US5042892A (en) * | 1990-08-03 | 1991-08-27 | David Chiu | Fiber optic light panel |
| JPH04111475A (ja) * | 1990-08-31 | 1992-04-13 | Suzuki Motor Corp | 車載用太陽電池装置 |
| JP2003248142A (ja) * | 2001-07-12 | 2003-09-05 | Ngk Insulators Ltd | 二次元光学部材アレイ及び二次元導波路装置 |
| KR101090640B1 (ko) * | 2011-08-23 | 2011-12-08 | 김태환 | 광섬유 활용 태양광 발전장치 |
| JP2013149879A (ja) * | 2012-01-23 | 2013-08-01 | Toyota Body Research & Development Co Ltd | 太陽光発電システム |
| KR20150040410A (ko) * | 2013-10-07 | 2015-04-15 | 김종성 | 광섬유 유도형 태양광 발전시스템 |
| JP6980032B2 (ja) * | 2017-05-18 | 2021-12-15 | ▲裴▼ 錫晩BAE Suk Man | 光ファイバを利用した太陽光発電ユニット、及びそれを適用した発電システム |
Also Published As
| Publication number | Publication date |
|---|---|
| JP6980032B2 (ja) | 2021-12-15 |
| KR101902376B1 (ko) | 2018-11-13 |
| KR101902375B1 (ko) | 2018-09-28 |
| US20190131921A1 (en) | 2019-05-02 |
| KR101902374B1 (ko) | 2018-09-28 |
| JP2020520216A (ja) | 2020-07-02 |
| CN110998177A (zh) | 2020-04-10 |
| EP3627038A4 (en) | 2021-03-17 |
| KR101902377B1 (ko) | 2018-11-13 |
| EP3627038A1 (en) | 2020-03-25 |
| JP7282860B2 (ja) | 2023-05-29 |
| MX2019013306A (es) | 2020-02-05 |
Similar Documents
| Publication | Publication Date | Title |
|---|---|---|
| JP6980032B2 (ja) | 光ファイバを利用した太陽光発電ユニット、及びそれを適用した発電システム | |
| US7910392B2 (en) | Method and system for assembling a solar cell package | |
| US20140159636A1 (en) | Solar energy harvesting skylights and windows with integrated illumination | |
| JP5624064B2 (ja) | 誘導放出ルミネッセンス光導波路太陽光集光器 | |
| US20140158197A1 (en) | Tri-functional light and energy generating panel system | |
| JP6960963B2 (ja) | 太陽発電ユニット及びそのシステム | |
| CN101164172A (zh) | 具有不晕成像系统和耦合非成像光集能器的多结太阳能电池 | |
| JP2012507884A (ja) | 薄膜半導体光起電装置 | |
| US20130240037A1 (en) | Solar cell module and solar generator | |
| US7763840B2 (en) | Radiant energy collector | |
| JP7522772B2 (ja) | 遠隔パワービーム分割 | |
| JP2014112571A (ja) | 太陽電池モジュール、太陽光発電装置および太陽電池モジュールの設置方法 | |
| WO2018212424A1 (ko) | 광 섬유를 이용한 태양광 발전 유니트 및 이를 적용한 발전 시스템 | |
| WO2012026572A1 (ja) | 集光装置、光発電装置及び光熱変換装置 | |
| WO2015173924A1 (ja) | 縦置き型太陽電池ユニット | |
| CN110382973B (zh) | 具有反射表面的太阳能收集器 | |
| US20140326298A1 (en) | Heat rejecting optic | |
| KR102511072B1 (ko) | 태양광 발전 유닛 및 시스템 | |
| JP2012156445A (ja) | 太陽電池モジュールおよび太陽光発電装置 | |
| KR20200083408A (ko) | 광 수송 매체 및 이를 적용하는 태양 발전 시스템 | |
| Fennig et al. | Planar Light Guide Concentrators for Building Integrated Photovoltaics | |
| KR20080102884A (ko) | 태양광 모듈장치 | |
| Hossain et al. | Enhancing PV efficiency of planar micro optic solar concentrator cell using micro hole and TIR | |
| HU231408B1 (hu) | Változó törésmutatójú, hullámos fényvezető, napenergia koncentrátorral, végtelenített cső fénycsapdával | |
| Adib et al. | Enhancing C-Si base PV-cell absorption efficiency using micro-hole architecture |
Legal Events
| Date | Code | Title | Description |
|---|---|---|---|
| A621 | Written request for application examination |
Free format text: JAPANESE INTERMEDIATE CODE: A621 Effective date: 20211115 |
|
| A977 | Report on retrieval |
Free format text: JAPANESE INTERMEDIATE CODE: A971007 Effective date: 20221026 |
|
| A131 | Notification of reasons for refusal |
Free format text: JAPANESE INTERMEDIATE CODE: A131 Effective date: 20221115 |
|
| A521 | Request for written amendment filed |
Free format text: JAPANESE INTERMEDIATE CODE: A523 Effective date: 20230116 |
|
| TRDD | Decision of grant or rejection written | ||
| A01 | Written decision to grant a patent or to grant a registration (utility model) |
Free format text: JAPANESE INTERMEDIATE CODE: A01 Effective date: 20230418 |
|
| A61 | First payment of annual fees (during grant procedure) |
Free format text: JAPANESE INTERMEDIATE CODE: A61 Effective date: 20230517 |
|
| R150 | Certificate of patent or registration of utility model |
Ref document number: 7282860 Country of ref document: JP Free format text: JAPANESE INTERMEDIATE CODE: R150 |
