JP2021171663A - ステージ装置および印刷装置 - Google Patents

ステージ装置および印刷装置 Download PDF

Info

Publication number
JP2021171663A
JP2021171663A JP2020074247A JP2020074247A JP2021171663A JP 2021171663 A JP2021171663 A JP 2021171663A JP 2020074247 A JP2020074247 A JP 2020074247A JP 2020074247 A JP2020074247 A JP 2020074247A JP 2021171663 A JP2021171663 A JP 2021171663A
Authority
JP
Japan
Prior art keywords
scale
stage
fixed position
holding member
fixed
Prior art date
Legal status (The legal status is an assumption and is not a legal conclusion. Google has not performed a legal analysis and makes no representation as to the accuracy of the status listed.)
Granted
Application number
JP2020074247A
Other languages
English (en)
Other versions
JP7417939B2 (ja
Inventor
信 岡崎
Makoto Okazaki
隆史 井上
Takashi Inoue
Current Assignee (The listed assignees may be inaccurate. Google has not performed a legal analysis and makes no representation or warranty as to the accuracy of the list.)
Panasonic Intellectual Property Management Co Ltd
Original Assignee
Panasonic Intellectual Property Management Co Ltd
Priority date (The priority date is an assumption and is not a legal conclusion. Google has not performed a legal analysis and makes no representation as to the accuracy of the date listed.)
Filing date
Publication date
Application filed by Panasonic Intellectual Property Management Co Ltd filed Critical Panasonic Intellectual Property Management Co Ltd
Priority to JP2020074247A priority Critical patent/JP7417939B2/ja
Priority to CN202110386204.3A priority patent/CN113524906B/zh
Publication of JP2021171663A publication Critical patent/JP2021171663A/ja
Application granted granted Critical
Publication of JP7417939B2 publication Critical patent/JP7417939B2/ja
Active legal-status Critical Current
Anticipated expiration legal-status Critical

Links

Images

Classifications

    • BPERFORMING OPERATIONS; TRANSPORTING
    • B41PRINTING; LINING MACHINES; TYPEWRITERS; STAMPS
    • B41JTYPEWRITERS; SELECTIVE PRINTING MECHANISMS, i.e. MECHANISMS PRINTING OTHERWISE THAN FROM A FORME; CORRECTION OF TYPOGRAPHICAL ERRORS
    • B41J2/00Typewriters or selective printing mechanisms characterised by the printing or marking process for which they are designed
    • B41J2/005Typewriters or selective printing mechanisms characterised by the printing or marking process for which they are designed characterised by bringing liquid or particles selectively into contact with a printing material
    • B41J2/01Ink jet
    • BPERFORMING OPERATIONS; TRANSPORTING
    • B41PRINTING; LINING MACHINES; TYPEWRITERS; STAMPS
    • B41JTYPEWRITERS; SELECTIVE PRINTING MECHANISMS, i.e. MECHANISMS PRINTING OTHERWISE THAN FROM A FORME; CORRECTION OF TYPOGRAPHICAL ERRORS
    • B41J3/00Typewriters or selective printing or marking mechanisms characterised by the purpose for which they are constructed
    • B41J3/407Typewriters or selective printing or marking mechanisms characterised by the purpose for which they are constructed for marking on special material
    • B41J3/4073Printing on three-dimensional objects not being in sheet or web form, e.g. spherical or cubic objects
    • BPERFORMING OPERATIONS; TRANSPORTING
    • B41PRINTING; LINING MACHINES; TYPEWRITERS; STAMPS
    • B41JTYPEWRITERS; SELECTIVE PRINTING MECHANISMS, i.e. MECHANISMS PRINTING OTHERWISE THAN FROM A FORME; CORRECTION OF TYPOGRAPHICAL ERRORS
    • B41J3/00Typewriters or selective printing or marking mechanisms characterised by the purpose for which they are constructed
    • B41J3/54Typewriters or selective printing or marking mechanisms characterised by the purpose for which they are constructed with two or more sets of type or printing elements
    • B41J3/543Typewriters or selective printing or marking mechanisms characterised by the purpose for which they are constructed with two or more sets of type or printing elements with multiple inkjet print heads

Landscapes

  • Engineering & Computer Science (AREA)
  • Manufacturing & Machinery (AREA)
  • Coating Apparatus (AREA)
  • Ink Jet (AREA)
  • Details Of Measuring And Other Instruments (AREA)

Abstract

【課題】印刷位置精度の低下を抑制できるステージ装置を提供すること。
【解決手段】ステージ装置は、ステージと、架台と、リニアスケールと、第1のインクヘッドを保持する第1のインクヘッド保持部材と、第2のインクヘッドを保持する第2のインクヘッド保持部材と、を備え、リニアスケールは、ステージの移動方向に延びるように、架台に固定されたスケールと、ステージに設けられ、スケールに基づく位置情報を検出する検出部と、を備え、第1のインクヘッド保持部材は、架台の第1の固定位置に固定され、第2のインクヘッド保持部材は、架台における第1の固定位置からステージの移動方向に離れた第2の固定位置に固定され、スケールにおける第1の固定位置と第2の固定位置との間に位置する第1の部分が、架台に固定されており、スケールにおける第1の部分以外の第2の部分が、架台に固定されていない。
【選択図】図1

Description

本開示は、ステージ装置および印刷装置に関する。
近年、インクジェット装置を用いてデバイスを製造する方法が注目されている。インクジェット装置は、液滴を吐出する複数のノズルを有する。インクジェット装置は、ノズルと印刷対象物との位置関係を制御しながら、ノズルから液滴を吐出することで、印刷対象物に液滴を塗布する。この種のインクジェット装置の1つとして、ラインヘッドと呼ばれる、印刷対象物の幅方向に並設された複数のモジュールヘッド(複数の吐出口を有する液滴吐出ヘッド)を備えているものがある(例えば、特許文献1参照)。
特許文献1に記載のインクジェット装置について、図5に基づいて説明する。図5に示すインクジェット装置9は、ステージ装置91と、第1の吐出部ユニット92と、第2の吐出部ユニット93と、メインコントローラ94と、を備える。ステージ装置91は、ステージ911と、架台912と、第1のユニット保持部材913と、第2のユニット保持部材914と、アライメントカメラ915と、を備える。ステージ装置91は、さらに、図示しないリニアスケールを備える。
ステージ911は、架台912に対して搬送方向Dに移動可能に設けられている。ステージ911は、載置部911Aと、X調整機構911Bと、θ調整機構911Cと、を備える。載置部911Aには、印刷対象物90が載置される。X調整機構911Bは、載置部911Aを搬送方向Dと直交し、かつ、水平面と平行な方向に移動させる。θ調整機構911Cは、載置部911Aを上下方向に延びる軸を中心に回転させる。
第1のユニット保持部材913および第2のユニット保持部材914は、架台912に固定されている。第1のユニット保持部材913は、第1の吐出部ユニット92を、X調整機構911Bによる載置部911Aの移動方向と同じ方向に移動させるための第1のユニット移動軸913Aを備える。第2のユニット保持部材914は、第2の吐出部ユニット93を第1の吐出部ユニット92と同じ方向に移動させるための第2のユニット移動軸914Aを備える。
アライメントカメラ915は、4個設けられている。各アライメントカメラ915は、印刷対象物90のアライメントマークを読み取り、読み取り結果をメインコントローラ94に出力する。
リニアスケールは、スケールと、検出部と、を備える。スケールは、搬送方向Dに延びるように、架台912に固定されている。検出部は、スケールと対向するように、ステージ911に固定されている。検出部は、スケールに基づく位置情報を検出して、検出結果をメインコントローラ94に出力する。
このようなインクジェット装置9で印刷対象物90に印刷を行う際には、載置部911Aに、印刷対象物90を固定する。メインコントローラ94は、アライメントカメラ915の読み取り結果に基づいて、X調整機構911Bおよびθ調整機構911Cを制御し、印刷対象物90を所定の位置に位置決めする。メインコントローラ94は、第1のユニット移動軸913Aの所定位置に、第1の吐出部ユニット92を移動させるとともに、第2のユニット移動軸914Aの所定位置に。第2の吐出部ユニット93を移動させる。
その後、メインコントローラ94は、ステージ911の移動によって印刷対象物90を搬送方向Dに搬送する。リニアスケールは、印刷対象物90の搬送中に、ステージ911の位置に応じた吐出タイミングパルスをメインコントローラ94に送る。メインコントローラ94は、吐出タイミングパルスに基づいて、第1の吐出部ユニット92および第2の吐出部ユニット93からのインクの吐出タイミングを制御し、印刷対象物90の意図した位置にインクを吐出する。
特開2009−131789号公報
図5に示すインクジェット装置9において、リニアスケールのスケールが、上面から見たときにおける4個のアライメントカメラ915の中央で固定されており、それ以外の部分で固定されていない場合、つまり、スケールの固定位置と第2のユニット保持部材914の固定位置との間に、第1のユニット保持部材913の固定位置が存在している場合、温度変化があった場合のスケールの歪み量と、架台912の歪み量との間には、以下のような関係がある。
スケールにおけるスケールの固定位置から第1のユニット保持部材913の固定位置までの測定部分の歪み量と、架台912におけるスケールの固定位置から第1のユニット保持部材913の固定位置までの部分の歪み量との差を、第1の歪み量差とする。スケールにおけるスケールの固定位置から第2のユニット保持部材914の固定位置までの測定部分の歪み量と、架台912におけるスケールの固定位置から第2のユニット保持部材914の固定位置までの部分の歪み量との差を、第2の歪み量差とする。スケールおよび架台912の歪み量はスケールの固定位置から離れるほど大きくなり、かつ、上述のように、スケールの固定位置と第2のユニット保持部材914の固定位置との間に、第1のユニット保持部材913の固定位置が存在しているため、温度変化に伴いスケールおよび架台912に歪みが発生すると、第1の歪み量差と第2の歪み量差との差が大きくなる。第1の歪み量差は、リニアスケールによる第1の吐出部ユニット92に対する印刷対象物90の位置検出の誤差に影響を与え、第2の歪み量差は、第2の吐出部ユニット93に対する印刷対象物90の位置検出の誤差に影響を与える。このことから、第1の歪み量差と第2の歪み量差との差が大きくなると、印刷位置精度が低下してしまう。
本開示は、印刷位置精度の低下を抑制できるステージ装置および印刷装置を提供することを目的とする。
本開示のステージ装置は、印刷対象物が載置されるステージと、前記ステージを往復移動可能に支持する架台と、リニアスケールと、第1のインクヘッドを前記印刷対象物に対向するように保持する第1のインクヘッド保持部材と、第2のインクヘッドを前記印刷対象物に対向するように保持する第2のインクヘッド保持部材と、を備え、前記リニアスケールは、前記ステージの移動方向に延びるように、前記架台に固定されたスケールと、前記ステージに設けられ、前記スケールに基づく位置情報を検出する検出部と、を備え、前記第1のインクヘッド保持部材は、前記架台の第1の固定位置に固定され、前記第2のインクヘッド保持部材は、前記架台における前記第1の固定位置から前記ステージの移動方向に離れた第2の固定位置に固定され、前記スケールにおける前記第1の固定位置と前記第2の固定位置との間に位置する第1の部分が、前記架台に固定されており、前記スケールにおける前記第1の部分以外の第2の部分が、前記架台に固定されていない。
本開示の印刷装置は、上述のステージ装置と、前記ステージ装置の第1のインクヘッド保持部材で保持された第1のインクヘッドと、前記ステージ装置の第2のインクヘッド保持部材で保持された第2のインクヘッドと、を備える。
本開示のステージ装置および印刷装置によれば、印刷位置精度の低下を抑制できる。
本開示の第1の実施の形態におけるインクジェット装置を上方から見た模式図である。 本開示の第1の実施の形態におけるインクジェット装置を正面から見た模式図である。 本開示の第2の実施の形態におけるインクジェット装置を上方から見た模式図であり、一部を切り欠いた模式図である。 本開示の第2の実施の形態におけるインクジェット装置を正面から見た模式図である。 特許文献1に記載されたインクジェット装置の全体図である。
以下、本開示の実施の形態について、図面を参照しながら説明する。
(第1の実施の形態)
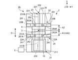
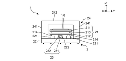
まず、第1の実施の形態について説明する。図1は、本開示の第1の実施の形態におけるインクジェット装置を上方から見た模式図である。図2は、本開示の第1の実施の形態におけるインクジェット装置を正面から見た模式図である。なお、インクジェット装置の各種構成の位置や方向等を説明するにあたり、図1および図2に示すX軸に沿う方向を前後方向または搬送方向D、Y軸に沿う方向を左右方向、Z軸に沿う方向を上下方向という場合がある。
<構成>
まず、インクジェット装置の構成について説明する。図1および図2に示すように、インクジェット装置1は、ステージ装置2と、第1のラインヘッド3と、第2のラインヘッド4と、コントローラ5と、を備える。インクジェット装置1は、印刷装置の一例である。
ステージ装置2は、ステージ21と、架台22と、リニアスケール23と、第1のラインヘッド保持部材24と、第2のラインヘッド保持部材25と、図示しない搬送部と、を備える。
ステージ21は、載置部211と、被支持部212と、移動部213と、を備える。
載置部211の上面には、印刷対象物10が載置される。載置部211は、吸着によって、印刷対象物10を保持できるように構成されている。
被支持部212の下面には、架台22の後述する一対のガイド221でそれぞれ支持される一対の空気軸受け214が設けられている。
移動部213は、載置部211と被支持部212との間に設けられている。移動部213は、載置部211を被支持部212に対して左右方向に移動させるとともに、上下方向に延びる軸を中心に回転させる。移動部213による載置部211の移動および回転によって、印刷対象物10が所定の位置に位置決めされる。
架台22は、例えば、石材によって構成されている。架台22は、一対のガイド221と、スケール設置部材222と、が設けられている。一対のガイド221およびスケール設置部材222は、架台22の前端(図1における下端)から後端(図1における上端)にかけて、搬送方向Dに延びるように設けられている。
一対のガイド221は、それぞれ空気軸受け214を支持する。搬送部の駆動によって、ステージ21は、空気軸受け214がガイド221の上方に位置する状態を維持したまま、搬送方向Dに移動する。
スケール設置部材222は、一対のガイド221の間に設けられている。
リニアスケール23は、スケール231と、検出部232と、を備える。
スケール231は、例えば、低熱膨張硬質マルテンサイトステンレスで構成されている。スケール231は、スケール設置部材222を介して架台22に固定されている。スケール231は、架台22の前端から後端にかけて設けられている。スケール231は、架台22の左右方向のほぼ中心に位置するように設けられている。スケール231は、前後方向の中央に位置する第1の部分231A(図1に黒い四角で示す部分)が、スケール設置部材222の左面(図1および図2における左側の面)に固定されている。スケール231をスケール設置部材222に固定する方法としては、スケール設置部材222におけるスケール231の上面および下面とほぼ同じ高さ位置から左側に水平方向に延びるステンレス製のプレートを、スケール設置部材222に固定し、当該プレートによってスケール231を上下から挟む方法が例示できる。スケール231における第1の部分231A以外の第2の部分231B、つまり第1の部分231Aに対して前側および後側にそれぞれ位置する第2の部分231Bは、スケール設置部材222に固定されていない。第2の部分231Bは、前後方向に並んで配置された図示しない複数のクランプによって、スケール設置部材222とともに挟持されている。このように、第1の部分231Aが固定されるとともに、第2の部分231Bが固定されない構成とすることによって、スケール231は、熱の影響により、第1の部分231Aを中心にして第2の部分231Bが搬送方向Dに膨張したり収縮したりする。
検出部232は、ステージ21の被支持部212における下面に固定されている。検出部232は、スケール231と対向するように設けられている。検出部232は、スケール231に基づく位置情報を検出して、検出結果をコントローラ5に出力する。
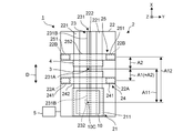
第1のラインヘッド保持部材24は、例えば、架台22と同じ石材によって構成されている。第1のラインヘッド保持部材24は、上下に延びる一対の第1の脚部241と、一対の第1の脚部241の上端を接続する第1の架橋部242と、によって構成されている。一対の第1の脚部241は、架台22の上面の第1の固定位置22Aに固定されている。第1の脚部241を架台22に固定する方法としては、第1の脚部241および架台22のうち一方を貫通し、他方に螺合されるボルトによって固定する方法が例示できる。このような固定によって、第1のラインヘッド保持部材24は、第1の架橋部242が搬送方向Dと直交する左右方向に延び、かつ、第1の架橋部242の下をステージ21が移動できるように設けられている。第1のラインヘッド保持部材24は、上方から見たときに、リニアスケール23の第1の部分231Aよりも前側に位置するように設けられている。
第2のラインヘッド保持部材25は、例えば、第1のラインヘッド保持部材24と同じ構成を有している。第1の脚部241と同様の方法により一対の第2の脚部251が架台22の上面の第2の固定位置22Bに固定されることによって、第2のラインヘッド保持部材25は、第2の架橋部252が搬送方向Dと直交する左右方向に延び、かつ、第2の架橋部252の下をステージ21が移動できるように設けられている。第2のラインヘッド保持部材25は、上方から見たときに、リニアスケール23の第1の部分231Aよりも後側に位置するように設けられている。第2のラインヘッド保持部材25は、上方から見たときに、第1の部分231Aの前後方向の中心位置から第2の固定位置22Bの前後方向の中心位置まで(以下、「スケール231の固定位置から第2の固定位置22Bまで」という場合がある)の距離A2が、第1の部分231Aの前後方向の中心位置から第1の固定位置22Aの前後方向の中心位置まで(以下、「スケール231の固定位置から第1の固定位置22Aまで」という場合がある)の距離A1と等しくなるように、設けられている。なお、第1の固定位置22Aおよび第2の固定位置22Bの大きさは、それぞれ第1の脚部241および第2の脚部251の底面と同じ大きさであるが、第1の固定位置22Aおよび第2の固定位置22Bを理解しやすくするために、若干小さく図示している。
搬送部は、コントローラ5の制御によって駆動し、ステージ21を搬送方向Dに往復移動させる。
第1のラインヘッド3は、複数の図示しないモジュールヘッドを備えている。モジュールヘッドは、インクを吐出する第1のインクヘッドを備えている。第1のラインヘッド3は、印刷対象物10の印刷の際、第1の色のインクを吐出する。第1のラインヘッド3は、第1のラインヘッド保持部材24の第1の架橋部242における後側に固定されている。
第2のラインヘッド4は、複数の図示しないモジュールヘッドを備えている。モジュールヘッドは、インクを吐出する第2のインクヘッドを備えている。第2のラインヘッド4は、印刷対象物10の印刷の際、第1の色とは異なる第2の色のインクを吐出する。第2のラインヘッド4は、第2のラインヘッド保持部材25の第2の架橋部252における前側に固定されている。つまり、第1のラインヘッド3および第2のラインヘッド4は、互いに対向するように設けられている。
コントローラ5は、インクジェット装置1を制御する。コントローラ5は、本開示の制御部としても機能する。なお、コントローラ5の制御の詳細については後述する。
<印刷プロセス>
次に、インクジェット装置1の印刷プロセスについて説明する。まず、図1に示すように、ステージ21の載置部211が第1のラインヘッド保持部材24よりも前側に位置する状態において、印刷対象物10が吸着によって載置部211に保持されると、コントローラ5は、搬送部を制御して、ステージ21全体を搬送方向Dに沿って後側に移動させる。リニアスケール23の検出部232は、スケール231に基づく位置情報の検出結果をコントローラ5に出力する。コントローラ5は、検出部232からの検出結果に基づいて、ステージ21の搬送方向Dの位置を検出するとともに、第1のラインヘッド3および第2のラインヘッド4と印刷対象物10との位置関係を検出する。コントローラ5は、第1のラインヘッド3および第2のラインヘッド4と印刷対象物10との位置関係に基づいて、第1のラインヘッド3および第2のラインヘッド4を制御して、第1の色のインクおよび第2の色のインクを所定のタイミングで吐出する。第1の色のインクおよび第2の色のインクの印刷対象物10への吐出によって、印刷対象物10に所定のパターンが印刷される。
コントローラ5は、第2のラインヘッド保持部材25の後側の所定位置にステージ21が到達すると、搬送部を制御して、ステージ21を停止させる。その後、コントローラ5は、搬送部を制御して、ステージ21全体を搬送方向Dに沿って前側に移動させ、ステージ21が図1に示す位置に到達したら、ステージ21を停止させる。コントローラ5は、載置部211による印刷対象物10の吸着を解除する。以上により、1枚の印刷対象物10に対する印刷が終了する。
<第1の実施の形態の作用効果>
第1のラインヘッド保持部材24を架台22の第1の固定位置22Aに固定し、第2のラインヘッド保持部材25を架台22の第2の固定位置22Bに固定している。スケール231における第1の固定位置22Aと第2の固定位置22Bとの間に位置する第1の部分231Aを、スケール設置部材222を介して架台22に固定し、第2の部分231Bを、スケール設置部材222を介して架台22に固定していない。スケール231および架台22は、温度変化に伴い歪む。スケール231におけるスケール231の固定位置から第1の固定位置22Aまでの測定部分の歪み量と、架台22におけるスケール231の固定位置から第1の固定位置22Aまでの部分の歪み量との差を、第1の歪み量差とする。スケール231におけるスケール231の固定位置から第2の固定位置22Bまでの測定部分の歪み量と、架台22におけるスケール231の固定位置から第2の固定位置22Bまでの部分の歪み量との差を、第2の歪み量差とする。スケール231および架台22の歪み量はスケール231の固定位置から離れるほど大きくなるが、第1の固定位置22Aと第2の固定位置22Bとの間に、スケール231の固定位置が存在しているため、第1の歪み量差と、第2の歪み量差との差を、上記従来技術の場合と比べて小さくすることができる。したがって、リニアスケール23による第1のラインヘッド3に対する印刷対象物10の位置検出の誤差と、第2のラインヘッド4に対する印刷対象物10の位置検出の誤差との差を、上記従来技術の場合と比べて小さくすることができ、印刷位置精度の低下を抑制できる。
上方から見たときのスケール231の固定位置から第1の固定位置22Aまでの距離A1と、スケール231の固定位置から第2の固定位置22Bまでの距離A2とを等しくしている。このため、第1のラインヘッド3に対する印刷対象物10の位置検出の誤差と第2のラインヘッド4に対する印刷対象物10の位置検出の誤差との差をなくすことができる。したがって、印刷位置精度の低下をさらに抑制できる。特に、大型の印刷対象物10に対する印刷位置精度の低下を抑制できる。
例えば、G8サイズ(2500mm×2200mm)の印刷対象物10に印刷を行う場合、上記従来技術のように、図1に示す投入位置に位置する印刷対象物10の中心10Cの真下において、スケール231がスケール設置部材222に固定され、スケール231のそれ以外の部分がスケール設置部材222に固定されていない場合、スケール231の固定位置から第1の固定位置22Aまでの距離(上方から見たときの中心10Cから第1の固定位置22Aまでの距離)A11は、1750mmとなる。また、スケール231の固定位置から第2の固定位置22Bまでの距離(上方から見たときの中心10Cから第2の固定位置22Bまでの距離)A12は、3750mmとなる。
架台22を構成する石材の熱膨張係数を、10.8μm/m/℃とした場合、温度が1℃変化すると、架台22におけるスケール231の固定位置から第1の固定位置22Aまでの部分の歪み量(以下、「比較例の第1の架台歪み量」という場合がある)は、18.9μm(=10.8×1.75×1)となる。スケール231を構成する低熱膨張硬質マルテンサイトステンレスの熱膨張係数を、6.3μm/m/℃とした場合、温度が1℃変化すると、スケール231におけるスケール231の固定位置から第1の固定位置22Aまでの測定部分の歪み量(以下、「比較例の第1のスケール歪み量」という場合がある)は、11.025μm(=6.3×1.75×1)となる。したがって、比較例の第1の架台歪み量と、比較例の第1のスケール歪み量との差(以下、「比較例の第1の歪み量差」という場合がある)は、7.875μm(=18.9−11.025)となる。
また、温度が1℃変化すると、架台22におけるスケール231の固定位置から第2の固定位置22Bまでの部分の歪み量(以下、「比較例の第2の架台歪み量」という場合がある)は、40.5μm(=10.8×3.75×1)となる。スケール231におけるスケール231の固定位置から第2の固定位置22Bまでの測定部分の歪み量(以下、「比較例の第2のスケール歪み量」という場合がある)は、23.625μm(=6.3×3.75×1)となる。したがって、比較例の第2の架台歪み量と、比較例の第2のスケール歪み量との差(以下、「比較例の第2の歪み量差」という場合がある)は、16.875μm(=18.9−11.025)となる。
一方、第1の実施の形態の構成によれば、G8サイズの印刷対象物10に印刷を行う場合、上方から見たときのスケール231の固定位置から第1の固定位置22Aまでの距離A1と、スケール231の固定位置から第2の固定位置22Bまでの距離A2とを、ともに1000mmにすることができる。温度が1℃変化すると、架台22におけるスケール231の固定位置から第1の固定位置22Aまでの部分の歪み量(以下、「実施例の第1の架台歪み量」という場合がある)は、10.8μm(=10.8×1.00×1)となる。スケール231におけるスケール231の固定位置から第1の固定位置22Aまでの測定部分の歪み量(以下、「実施例の第1のスケール歪み量」という場合がある)は、6.3μm(=6.3×1.00×1)となる。したがって、実施例の第1の架台歪み量と、実施例の第1のスケール歪み量との差(以下、「実施例の第1の歪み量差」という場合がある)は、4.5μm(=10.8−6.3)となる。また、架台22におけるスケール231の固定位置から第2の固定位置22Bまでの部分の変化量歪み量(以下、「実施例の第2の架台歪み量」という場合がある)と、スケール231におけるスケール231の固定位置から第2の固定位置22Bまでの測定部分の歪み量(以下、「実施例の第2のスケール歪み量」という場合がある)との差(以下、「実施例の第2の歪み量差」という場合がある)も、4.5μmとなる。
以上のことから、実施例の第1の歪み量差は、比較例の第1の歪み量差と比べて、3.375μm(=7.875−4.5)小さくなる。また、実施例の第2の歪み量差は、比較例の第2の歪み量差と比べて、12.385μm(=16.875−4.5)小さくなる。つまり、第1の実施の形態における第1の歪み量差に影響を受ける第1のラインヘッド3に対する印刷対象物10の位置検出の誤差、および、第2の歪み量差に影響を受ける第2のラインヘッド4に対する印刷対象物10の位置検出の誤差は、上記従来技術の構成と比べて小さくなる。その結果、大型の印刷対象物10に対する印刷位置精度の低下を抑制できる。
(第2の実施の形態)
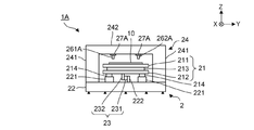
次に、第2の実施の形態について説明する。第1の実施の形態と同じ構成や動作については、説明を省略または簡略にする。図3は、本開示の第2の実施の形態におけるインクジェット装置を上方から見た模式図であり、一部を切り欠いた模式図である。図4は、本開示の第2の実施の形態におけるインクジェット装置を正面から見た模式図である。
<構成>
まず、インクジェット装置の構成について説明する。図3および図4に示すように、第2の実施の形態のインクジェット装置1Aは、第1,第2,第3,第4のアライメントカメラ261A,262A,263A,264Aが設けられている点が第1の実施の形態と異なる。第1,第2,第3,第4のアライメントカメラ261A,262A,263A,264Aは、読取部の一例である。第1,第2のアライメントカメラ261A,262Aは、第1のラインヘッド保持部材24の第1の架橋部242の下面に、左右方向に並ぶように設けられている。第3,第4のアライメントカメラ263A,264Aは、第2のラインヘッド保持部材25の第2の架橋部252の下面に、左右方向に並ぶように設けられている。各アライメントカメラ261A〜264Aは、カメラ移動機構27Aを介して、第1の架橋部242または第2の架橋部252に設けられている。カメラ移動機構27Aは、各アライメントカメラ261A〜264Aを搬送方向Dまたは左右方向に移動させる。
<印刷プロセス>
次に、インクジェット装置1Aの印刷プロセスについて説明する。なお、第2の実施の形態では、印刷対象物10の印刷面における四隅の近傍に、それぞれアライメントマークが設けられている場合について説明する。まず、コントローラ5は、ユーザによる図示しない入力部の入力操作に基づいて、印刷対象物10のアライメントマークの位置を認識する。コントローラ5は、図3に示すように、印刷対象物10が吸着によって載置部211に保持されると、印刷対象物10のアライメントマークの位置に基づいて、カメラ移動機構27Aを制御して、各アライメントカメラ261A〜264Aで1個ずつのアライメントマークを読み取れるように、各アライメントカメラ261A〜264Aの相対位置を調整する。
コントローラ5は、搬送部を制御して、ステージ21全体を搬送方向Dに沿って後側に移動させ、各アライメントカメラ261A〜264Aの下方にアライメントマークが位置する状態になったら、ステージ21を停止させる。各アライメントカメラ261A〜264Aは、印刷対象物10のアライメントマークを読み取り、読み取り結果をコントローラ5に出力する。コントローラ5は、各アライメントカメラ261A〜264Aの読み取り結果に基づいて、移動部213を制御し、印刷対象物10が所定の位置に位置するように、載置部211を回転させたり、左右方向に移動させたりして、印刷対象物10の位置決めを行う。コントローラ5は、印刷対象物10の位置決めが終了すると、載置部211を図3に示す位置に戻す。コントローラ5は、各アライメントカメラ261A〜264Aの読み取り結果に基づいて、第1のラインヘッド3および第2のラインヘッド4からのインクの吐出タイミングを設定する。その後、コントローラ5は、第1の実施の形態と同様の制御を行い、印刷対象物10に所定のパターンを印刷する。
<第2の実施の形態の作用効果>
第2の実施の形態によれば、第1の実施の形態と同様の作用効果に加えて、以下のような作用効果がある。第1,第2のアライメントカメラ261A,262Aを第1のラインヘッド保持部材24に設け、第3,第4のアライメントカメラ263A,264Aを第2のラインヘッド保持部材25に設けている。
ここで、各アライメントカメラ261A〜264Aを設ける方法としては、各アライメントカメラ261A〜264Aを保持するためのカメラ保持部材を、架台22の上面における第1の固定位置22Aおよび第2の固定位置22Bとは異なる位置に固定する方法が考えられる。しかし、この場合、温度変化に伴う、架台22におけるスケール231の固定位置から第1の固定位置22Aまたは第2の固定位置22Bまでの部分の歪み量と、架台22におけるスケール231の固定位置からカメラ保持部材の固定位置までの部分の歪み量とが大きく異なってしまう。このため、リニアスケール23による第1のラインヘッド3または第2のラインヘッド4に対する印刷対象物10の位置検出結果に、誤差が発生してしまい、印刷位置精度が低下してしまう。
一方、第2の実施の形態では、各アライメントカメラ261A〜264Aを第1のラインヘッド3が固定された第1のラインヘッド保持部材24、または、第2のラインヘッド4が固定された第2のラインヘッド保持部材25に設けているため、温度変化に伴う、架台22におけるスケール231の固定位置から第1の固定位置22Aまたは第2の固定位置22Bまでの部分の歪み量と、架台22におけるスケール231の固定位置から各アライメントカメラ261A〜264Aの固定位置までの部分の歪み量との差を小さくすることができる。したがって、リニアスケール23による第1のラインヘッド3または第2のラインヘッド4に対する印刷対象物10の位置検出結果に、誤差が発生することを抑制でき、印刷位置精度の低下を抑制できる。
各アライメントカメラ261A〜264Aを、カメラ移動機構27Aを介して、第1のラインヘッド保持部材24または第2のラインヘッド4に設けている。このため、印刷対象物10が切り替えられても、カメラ移動機構27Aの駆動によって、各アライメントカメラ261A〜264Aをアライメントマークを読み取り可能な位置に移動させることができる。したがって、各アライメントカメラ261A〜264Aの読み取り結果に基づいて、第1のラインヘッド3および第2のラインヘッド4からのインクの吐出タイミングを、印刷対象物10に応じた適切なタイミングに設定することができ、印刷位置精度の低下をより抑制できる。特に、大型の印刷対象物10に対して印刷位置精度の低下を抑制できる。
[変形例]
本開示は、これまでに説明した実施の形態に示されたものに限られないことは言うまでもなく、その趣旨を逸脱しない範囲内で、種々の変形を加えることができる。
例えば、第1,第2の実施の形態において、スケール231の固定位置から第1の固定位置22Aまでの距離A1と、スケール231の固定位置から第2の固定位置22Bまでの距離A2とを等しくしなくてもよい。
第2の実施の形態において、アライメントカメラを第1のラインヘッド保持部材24または第2のラインヘッド保持部材25のみに設けてもよい。この場合、印刷対象物10の2個のアライメントマークを、第1のラインヘッド保持部材24または第2のラインヘッド保持部材25のみに設けた1個または2個のアライメントカメラで読み取ってもよいし、3個以上のアライメントマークを、第1のラインヘッド保持部材24または第2のラインヘッド保持部材25のみに設けた1個または3個以上のアライメントカメラで読み取ってもよい。
第1,第2の実施の形態において、第1のラインヘッド3を第1のラインヘッド保持部材24の前側に固定する等、第1のラインヘッド3と第2のラインヘッド4とを、互いに対向しないように設けてもよい。
本開示のステージ装置および印刷装置は、印刷対象物にインク等を塗布する装置に有効であり、特に、大型の印刷対象物にインク等を塗布する装置に有効である。本開示のステージ装置および印刷装置は、有機ELの発光体、ホール輸送層、電子輸送層の印刷や、カラーフィルターの印刷等であって、大型の印刷対象物に効率よくインク等の材料を塗布する装置に適用することができる。
1,1A,9 インクジェット装置
2,91 ステージ装置
3 第1のラインヘッド
4 第2のラインヘッド
5 コントローラ
10,90 印刷対象物
10C 中心
21,911 ステージ
22,912 架台
22A 第1の固定位置
22B 第2の固定位置
23 リニアスケール
24 第1のラインヘッド保持部材
25 第2のラインヘッド保持部材
27A カメラ移動機構
92 第1の吐出部ユニット
93 第2の吐出部ユニット
94 メインコントローラ
211,911A 載置部
212 被支持部
213 移動部
221 ガイド
222 スケール設置部材
231 スケール
231A 第1の部分
231B 第2の部分
232 検出部
241 第1の脚部
242 第1の架橋部
251 第2の脚部
252 第2の架橋部
261A 第1のアライメントカメラ
262A 第2のアライメントカメラ
263A 第3のアライメントカメラ
264A 第4のアライメントカメラ
911 ステージ
911B X調整機構
911C θ調整機構
913 第1のユニット保持部材
913A 第1のユニット移動軸
914 第2のユニット保持部材
914A 第2のユニット移動軸
915 アライメントカメラ
D 搬送方向

Claims (5)

  1. 印刷対象物が載置されるステージと、
    前記ステージを往復移動可能に支持する架台と、
    リニアスケールと、
    第1のインクヘッドを前記印刷対象物に対向するように保持する第1のインクヘッド保持部材と、
    第2のインクヘッドを前記印刷対象物に対向するように保持する第2のインクヘッド保持部材と、を備え、
    前記リニアスケールは、前記ステージの移動方向に延びるように、前記架台に固定されたスケールと、前記ステージに設けられ、前記スケールに基づく位置情報を検出する検出部と、を備え、
    前記第1のインクヘッド保持部材は、前記架台の第1の固定位置に固定され、
    前記第2のインクヘッド保持部材は、前記架台における前記第1の固定位置から前記ステージの移動方向に離れた第2の固定位置に固定され、
    前記スケールにおける前記第1の固定位置と前記第2の固定位置との間に位置する第1の部分が、前記架台に固定されており、前記スケールにおける前記第1の部分以外の第2の部分が、前記架台に固定されていない、ステージ装置。
  2. 前記印刷対象物に設けられたマークを読み取る読取部と、
    制御部と、をさらに備え、
    前記ステージは、前記印刷対象物が載置される載置部と、前記載置部を移動させる移動部と、を備え、
    前記制御部は、前記読取部の読み取り結果に基づいて、前記印刷対象物が所定の位置に位置するように、前記載置部を移動させる、請求項1に記載のステージ装置。
  3. 前記読取部は、前記第1のインクヘッド保持部材および前記第2のインクヘッド保持部材のうち少なくとも一方に設けられている、請求項2に記載のステージ装置。
  4. 前記第1の部分から前記第1の固定位置までの距離と、前記第1の部分から前記第2の固定位置までの距離とは等しい、請求項1から3のいずれか一項に記載のステージ装置。
  5. 請求項1から4のいずれか一項に記載のステージ装置と、
    前記ステージ装置の第1のインクヘッド保持部材で保持された第1のインクヘッドと、
    前記ステージ装置の第2のインクヘッド保持部材で保持された第2のインクヘッドと、を備える、印刷装置。
JP2020074247A 2020-04-17 2020-04-17 ステージ装置および印刷装置 Active JP7417939B2 (ja)

Priority Applications (2)

Application Number Priority Date Filing Date Title
JP2020074247A JP7417939B2 (ja) 2020-04-17 2020-04-17 ステージ装置および印刷装置
CN202110386204.3A CN113524906B (zh) 2020-04-17 2021-04-09 工作台装置及印刷装置

Applications Claiming Priority (1)

Application Number Priority Date Filing Date Title
JP2020074247A JP7417939B2 (ja) 2020-04-17 2020-04-17 ステージ装置および印刷装置

Publications (2)

Publication Number Publication Date
JP2021171663A true JP2021171663A (ja) 2021-11-01
JP7417939B2 JP7417939B2 (ja) 2024-01-19

Family

ID=78124305

Family Applications (1)

Application Number Title Priority Date Filing Date
JP2020074247A Active JP7417939B2 (ja) 2020-04-17 2020-04-17 ステージ装置および印刷装置

Country Status (2)

Country Link
JP (1) JP7417939B2 (ja)
CN (1) CN113524906B (ja)

Cited By (1)

* Cited by examiner, † Cited by third party
Publication number Priority date Publication date Assignee Title
US20240092094A1 (en) * 2022-09-19 2024-03-21 Semes Co., Ltd. Substrate processing apparatus and method

Families Citing this family (1)

* Cited by examiner, † Cited by third party
Publication number Priority date Publication date Assignee Title
CN116552143B (zh) * 2023-07-12 2023-09-12 苏州优备精密智能装备股份有限公司 一种十字龙门式打印调节装置及其检测调节方法

Citations (4)

* Cited by examiner, † Cited by third party
Publication number Priority date Publication date Assignee Title
JP2002346452A (ja) * 2001-05-25 2002-12-03 Hitachi Industries Co Ltd ペースト塗布機
JP2006021104A (ja) * 2004-07-07 2006-01-26 Seiko Epson Corp 液滴吐出装置
JP2009131789A (ja) * 2007-11-30 2009-06-18 Toppan Printing Co Ltd インキ吐出印刷装置
JP2010094614A (ja) * 2008-10-17 2010-04-30 Seiko Epson Corp 液滴吐出装置

Family Cites Families (7)

* Cited by examiner, † Cited by third party
Publication number Priority date Publication date Assignee Title
JP2000193815A (ja) * 1998-12-25 2000-07-14 Canon Inc カラ―フィルタの製造方法およびカラ―フィルタ
JP4320559B2 (ja) * 2003-05-14 2009-08-26 セイコーエプソン株式会社 液滴吐出装置
JP4708178B2 (ja) * 2004-12-22 2011-06-22 オセ−テクノロジーズ・ベー・ヴエー 往復するプリントヘッドキャリッジを備えたプリンタ
CN100360320C (zh) * 2005-05-17 2008-01-09 肖鑫 一种在玻璃量器上加工刻度标记的方法
JP2007190683A (ja) * 2006-01-17 2007-08-02 Funai Electric Co Ltd プリンタ装置
CN203623165U (zh) * 2013-10-31 2014-06-04 天津英硕电子科技有限公司 具有刻度标识的喷码定位器
CN109760418B (zh) * 2017-11-10 2020-12-11 松下知识产权经营株式会社 搬运台和使用该搬运台的喷墨装置

Patent Citations (4)

* Cited by examiner, † Cited by third party
Publication number Priority date Publication date Assignee Title
JP2002346452A (ja) * 2001-05-25 2002-12-03 Hitachi Industries Co Ltd ペースト塗布機
JP2006021104A (ja) * 2004-07-07 2006-01-26 Seiko Epson Corp 液滴吐出装置
JP2009131789A (ja) * 2007-11-30 2009-06-18 Toppan Printing Co Ltd インキ吐出印刷装置
JP2010094614A (ja) * 2008-10-17 2010-04-30 Seiko Epson Corp 液滴吐出装置

Cited By (1)

* Cited by examiner, † Cited by third party
Publication number Priority date Publication date Assignee Title
US20240092094A1 (en) * 2022-09-19 2024-03-21 Semes Co., Ltd. Substrate processing apparatus and method

Also Published As

Publication number Publication date
CN113524906B (zh) 2024-08-13
CN113524906A (zh) 2021-10-22
JP7417939B2 (ja) 2024-01-19

Similar Documents

Publication Publication Date Title
JP5620878B2 (ja) 印刷ヘッドをアライメント調整してインクジェット式プリンタ内の媒体内の寸法変化を補償する方法およびシステム
US8757758B2 (en) Multiple sided media pattern registration system
CN101484248A (zh) 缺陷修复装置、缺陷修复方法、程序及计算机可读记录介质
US8931877B1 (en) Method and apparatus for controlling printhead motion with a friction track ball
JP2011126204A (ja) 記録位置補正装置、及び記録装置
US8974034B2 (en) Ink-jet recording apparatus and method of detecting inclination of nozzle row of ink-jet head
JP2023115277A (ja) 記録装置
JP7417939B2 (ja) ステージ装置および印刷装置
US20140267496A1 (en) Recording device
JP7169812B2 (ja) 記録装置及びその補正方法
US20130050329A1 (en) Registering patterns on multiple media sides
JP2011037235A (ja) 画像形成装置、液体吐出ヘッドユニット及び液体吐出装置の組立方法
US8662623B2 (en) Printing registered patterns on multiple media sides
JP6390958B2 (ja) 記録手段吐出位置調整装置及び画像形成装置
JP5444838B2 (ja) 記録位置補正装置、記録装置、及び記録位置補正方法
JP5495528B2 (ja) インクジェット記録装置及びインクジェット記録方法
JP6991804B2 (ja) 印刷装置
US8632153B2 (en) Printing system having multiple sided pattern registration
CN112549774B (zh) 喷墨装置
KR20110061270A (ko) 잉크젯 프린터의 노즐과 인쇄대상물의 간격조절장치 및 이를 이용한 인쇄 방법
KR101164480B1 (ko) 인쇄 보정 장치가 구비된 잉크젯 프린터 및 이를 이용한 인쇄 보정 방법
TWI878341B (zh) 噴墨裝置
JP2013176871A (ja) インクジェットヘッドのヘッドモジュール取付位置調整方法
JP2011126203A (ja) 記録位置補正装置、及び記録装置
KR102895586B1 (ko) 잉크젯 장치

Legal Events

Date Code Title Description
A621 Written request for application examination

Free format text: JAPANESE INTERMEDIATE CODE: A621

Effective date: 20230208

TRDD Decision of grant or rejection written
A977 Report on retrieval

Free format text: JAPANESE INTERMEDIATE CODE: A971007

Effective date: 20231130

A01 Written decision to grant a patent or to grant a registration (utility model)

Free format text: JAPANESE INTERMEDIATE CODE: A01

Effective date: 20231205

A61 First payment of annual fees (during grant procedure)

Free format text: JAPANESE INTERMEDIATE CODE: A61

Effective date: 20231225

R151 Written notification of patent or utility model registration

Ref document number: 7417939

Country of ref document: JP

Free format text: JAPANESE INTERMEDIATE CODE: R151