JP2020519327A - 手術用器具ホルダ - Google Patents

手術用器具ホルダ Download PDF

Info

Publication number
JP2020519327A
JP2020519327A JP2019558765A JP2019558765A JP2020519327A JP 2020519327 A JP2020519327 A JP 2020519327A JP 2019558765 A JP2019558765 A JP 2019558765A JP 2019558765 A JP2019558765 A JP 2019558765A JP 2020519327 A JP2020519327 A JP 2020519327A
Authority
JP
Japan
Prior art keywords
arm
lever
surgical instrument
instrument holder
adapter
Prior art date
Legal status (The legal status is an assumption and is not a legal conclusion. Google has not performed a legal analysis and makes no representation as to the accuracy of the status listed.)
Granted
Application number
JP2019558765A
Other languages
English (en)
Other versions
JP6955032B2 (ja
Inventor
ジュード, エス. サウアー,
ジュード, エス. サウアー,
Original Assignee
エルエスアイ ソルーションズ インコーポレーテッド
エルエスアイ ソルーションズ インコーポレーテッド
Priority date (The priority date is an assumption and is not a legal conclusion. Google has not performed a legal analysis and makes no representation as to the accuracy of the date listed.)
Filing date
Publication date
Priority claimed from PCT/US2018/030846 external-priority patent/WO2018204612A1/en
Application filed by エルエスアイ ソルーションズ インコーポレーテッド, エルエスアイ ソルーションズ インコーポレーテッド filed Critical エルエスアイ ソルーションズ インコーポレーテッド
Priority claimed from PCT/US2018/033288 external-priority patent/WO2018204937A2/en
Publication of JP2020519327A publication Critical patent/JP2020519327A/ja
Application granted granted Critical
Publication of JP6955032B2 publication Critical patent/JP6955032B2/ja
Active legal-status Critical Current
Anticipated expiration legal-status Critical

Links

Images

Landscapes

  • Endoscopes (AREA)
  • Surgical Instruments (AREA)

Abstract

手術用器具ホルダが開示されている。手術用器具ホルダは、ベースに対して回動可能な第1アーム、第1アームに回動可能に連結された第2アーム、および第2アームに対して回動可能なエンドエフェクタを備えている。手術用器具ホルダはまた、手術用器具ホルダの洗浄性を向上させるように構成された第1アームおよび第2アームにおけるフィーチャを含むことができる。手術用器具ホルダは、操作者が片手でロック位置とロック解除位置の間で動作するように構成されたレバーも含む。手術用器具ホルダのエンドエフェクタは、手術中に任意の数の手術用付属品の位置を支持し、微調節するように構成されている。

Description

本発明は、手術用機器に関し、より具体的には、手術用器具のための調節可能なホルダに関する。
腹腔鏡下、内視鏡下、その他の種類の低侵襲外科手術においては、手術器具が、手術の対象となる患者の内部領域に経皮挿入される場合が多い。外傷を最小限にとどめ、患者の回復時間を短縮するために、外科医は、なるべく小さなアクセス切開を利用することが望ましいと考え続けている。外科医はしばしば、手術の助けとなる、観察スコープ等の手術器具を通す小さな切開を追加で行う。観察スコープの場合、助手がスコープを操作し、及び/又は外科医のためにスコープを固定位置に保持し、これにより、外科医がスコープによって得られた画像をモニタースクリーンで見て、低侵襲手術を行うことができる。助手の代わりに、観察スコープ等(それに限定されない)の手術器具を位置付けし保持するために、図1に示すようなホルダを用いてもよい。
図1は、従来の器具ホルダ20の概略図である。器具ホルダ20はベース22を有している。このベース22は概略的に示されているが、器具ホルダ20が安定するように、保持対象と比較してかなりの質量を有する物体であってよい。あるいは、ベース22は、クランプ、吸引装置、磁石であってよく、又は、器具ホルダ20を手術室の手術台等の設備に取り付け、又は連結するための取付機構を有していてよい。このようなベースは当業者には公知である。
ボールコネクタ24がベース22に連結されている。第1アーム26が、第1アーム26の一端にあるソケット28によって、ボールコネクタ24に回動可能に連結されている。ソケット28はボールコネクタ24から外れないサイズになっているが、ボールコネクタ24の周りを全方向に自由に回動可能である。第1アーム26の他端には、ネジ穴(図1に図示せず)を有する受部30が設けられている。このネジ穴は、操作ノブ32に取り付けられたネジ(図1に図示せず)を受け入れるサイズを有している。操作ノブ32に取り付けられたネジ34は図2に示されている。
図2は、図1の従来の器具ホルダ20の部分分解図である。組立時には、ネジ34は、第2アーム40の第1端部38のクリアランス穴36を貫通し、受部30のネジ穴42にネジ込まれる。ロッド44が第1アーム26内においてスライド可能である。このロッド44はカップ状端部46を有している。このカップ状端部46は、ロッド44をボールコネクタ24に押し付けた時に、ボールコネクタ24対する摩擦の生成を助けるように設計されている。ロッド44はまた、カップ状端部46の反対側にテーパ状端部48を有している。ネジ34が受部30のネジ穴42に完全に締め込まれていない時は、ネジ50の端部は、ロッド44のテーパ状端部48に対して、ロッド44をボールコネクタ24に押し付けるほど十分な力を加えない。また、ネジ34が受部30のネジ穴42に完全に締め込まれていない時は、第2アーム40は、ネジ34によって画定された軸線の周りを自由に回動可能である。そのため、ネジ34が締め付けられていない時、外科医は片手を使って、第2アーム40及び第2アーム40に連結された第1アーム26を位置付けることができる。それから外科医は、その片手を使ってアームを所望の位置に維持しながら、もう片方の手を使って操作ノブ32を締め付け、器具ホルダ20の第1、第2アームをその位置にロックすることができる。操作ノブ32が締め付けられると、ネジ50の端部がロッド44のテーパ状端部48に当たることにより、ロッド44は軸方向にボールコネクタ24に押しつけられ、第1アーム26の向きが固定される。加えて、操作ノブ32を締め付けると、第2アーム40の第1端部38が操作ノブ32と受部30の間に把持され、それにより、図1に示すように第2アーム40の向きが固定される。残念ながら、この所望位置への位置決めとロックには2つの手が必要である。
さらに、この2つの手を用いた調節では、第2アーム40の第2端部53に連結されたエンドエフェクタ52の調節は行われない。従来の機器ホルダ20の多くが、保持される手術器具とのインターフェイスを提供するように構成された、アダプタないしはエンドエフェクタ52を有している。観察スコープの場合、エンドエフェクタ52は、観察スコープを保持するクランプ、止めネジ、その他の取付フィーチャを有する。図1、図2において、エンドエフェクタ52は単にブロックとして示されている。しかし、ある種のエンドエフェクタは、別体の操作ノブを有し、それにより、エンドエフェクタ52に保持された器具の第2アーム40に対する角度を変えることができる。このような調節は、位置決めの柔軟性を提供するが、一組の手を必要とし、同時に2人の人が関わらない限り、第1アーム26と第2アーム40の位置調節を同時に行うことはできない。そのため、改良された手術用器具ホルダ、特に調節が簡単な手術用器具ホルダが求められている。
手術用器具ホルダが開示される。この手術用器具ホルダは、ベースに対して回動可能な第1アームと、第1アームに回動可能に連結された第2アームと、第2アームに対して回動可能なエンドエフェクタと、ロック位置とロック解除位置との間を移動可能なレバーとを有している。このレバーは、レバーがロック位置にある時、第1アームがベースに対して回動せず、第2アームが第1アームに対して回動せず、エンドエフェクタが第2アームに対して回動しないように構成されている。また、レバーがロック解除位置にある時、第1アームがベースに対して回動可能であり、第2アームが第1アームに対して回動可能であり、エンドエフェクタが第2アームに対して回動可能であるように構成されている。
別の手術用器具ホルダも開示される。この手術用器具ホルダは、ベースに対して回動可能な第1アームと、第1アームに回動可能に連結された第2アームと、第2アームに対して回動可能なエンドエフェクタと、ロック位置とロック解除位置との間を移動可能なレバーとを有している。このレバーは、レバーがロック位置にある時、第1アームがベースに対して回動せず、第2アームが第1アームに対して回動せず、エンドエフェクタが第2アームに対して回動可能であるように構成されている。このレバーはまた、レバーがロック解除位置にある時、第1アームがベースに対して回動可能であり、第2アームが第1アームに対して回動可能であり、エンドエフェクタが第2アームに対して回動可能であるように構成されている。
別の手術用器具ホルダも開示される。この手術用器具ホルダは、ベースに対して回動可能な第1アームと、第1アームに回動可能に連結された第2アームと、第2アームに対して回動可能なエンドエフェクタとを有している。このエンドエフェクタは、内視鏡、リブリトラクタ、縫合(縫合糸)管理のための装置、及びそれらの組合せを含む群のうちの1つに連結されている。この手術用器具ホルダはまた、ロック位置とロック解除位置との間を移動可能なレバーを有している。このレバーは、レバーがロック位置にある時、第1アームがベースに対して回動せず、第2アームが第1アームに対して回動せず、エンドエフェクタが第2アームに対して回動しないように構成されている。このレバーはまた、レバーがロック解除位置にある時、第1アームがベースに対して回動可能であり、第2アームが第1アームに対して回動可能であり、エンドエフェクタが第2アームに対して回動可能であるように構成されている。この手術用器具ホルダはさらに、第1アーム、第2アーム及びレバーと連携する、球状の停止端部を有するテンションロッドと、凸面状の外面を有するスペーシングワッシャを含む。この外面は、スペーシングワッシャが、テンションロッドの球状の停止端部の中心とほぼ一致する組立中心点を共有するように構成されている。手術用器具ホルダのロック機構は、レバーに連結されたラッチと、第2アームに連結されたキャッチを含む。このロック機構は、レバーを第2アームに向かって動かすことによって係合し、ロック位置にある時にレバーを第2アームに向かって動かすことによって係合が解除されるように構成されている。
先行技術の器具ホルダの概略図である。
図1に示す従来の器具ホルダの部分分解斜視図である。
手術用器具ホルダの改良された実施形態の一部をロック解除位置にある状態で示す側面図である。
図3Aの手術用器具ホルダの一部をロック位置にある状態で示す側面図である。
手術用器具ホルダの実施形態の側面図であり、内視鏡を保持した状態で示す。
図4の手術用器具ホルダの組み立て方法を示す一連の分解斜視図の1つであり、ベースを省いて示す。 同手術用器具ホルダの組み立て方法を示す一連の分解斜視図の1つである。 同手術用器具ホルダの組み立て方法を示す一連の分解斜視図の1つである。 同手術用器具ホルダの組み立て方法を示す一連の分解斜視図の1つである。
図5A〜図5Dに示す手術用器具ホルダを、組み立てられた状態でかつ内視鏡を取り付けた状態で示す斜視図である。
図5Eの手術用器具ホルダのレバーの動作を示す側面図であり、ロック位置にある状態で示す。 同手術用器具ホルダのレバーの動作を示す側面図であり、ロック解除位置にある状態で示す。
手術用器具ホルダに用いることのできるアームの実施形態の斜視図である。
手術用器具ホルダの別の実施形態の側面図である。
図8の手術用器具ホルダの調節可能なアームの組み立てを示す一連の分解斜視図の1つである。 同アームの組み立てを示す一連の分解斜視図の1つである。 同アームの組み立てを示す一連の分解斜視図の1つである。 同アームの組み立てを示す一連の分解斜視図の1つである。 同アームの組み立てを示す一連の分解斜視図の1つである。 同アームの組み立てを示す一連の分解斜視図の1つである。
図8の手術用器具ホルダの調節可能なアームを組み立てられた状態で示す斜視図である。
図8の手術用器具ホルダにおけるレバーラッチとキャッチのシステムの一実施形態の動作を示す部分断面図である。 同レバーラッチとキャッチのシステムの動作での異なる状態を示す部分断面図である。 同レバーラッチとキャッチのシステムの動作でのさらに異なる状態を示す部分断面図である。 同レバーラッチとキャッチのシステムの動作でのさらに異なる状態を示す部分断面図である。
図8の手術用器具ホルダの一部の側断面図であり、レバーをロック解除位置で示す。
図12Aの手術用器具ホルダにおける第1アームと第2アームとの間の中間ジョイントインターフェイスの拡大側断面図であり、ロック解除状態で示す。
図12Bの中間ジョイントインターフェイスの側断面図であり、テンションロッドの停止端部とスペーシングワッシャとの空間的関係を強調して示す。
図8の手術用器具ホルダの一部の側断面図であり、レバーをロック位置で示す。
図13Aの手術用器具ホルダにおける第1アームと第2アームとの間の中間ジョイントインターフェイスの拡大側断面図であり、ロック状態で示す。
手術用器具ホルダのさらに改良された実施形態の側面図であり、内視鏡を保持した状態で示す。
図14の手術用器具ホルダの調節可能なアームの組み立てを示す一連の分解斜視図の1つである。 同アームの組み立てを示す一連の分解斜視図の1つである。 同アームの組み立てを示す一連の分解斜視図の1つである。 同アームの組み立てを示す一連の分解斜視図の1つである。 同アームの組み立てを示す一連の分解斜視図の1つである。
図14の手術用器具ホルダの調節可能なアームの斜視図である。
図14の手術用器具ホルダの調節可能なアームの斜視図であり、レバーがロック位置にある状態で示す。 同アームの斜視図であり、レバーがロック解除位置にある状態で示す。 同アームの斜視図であり、レバーが洗浄位置にある状態で示す。
手術用器具ホルダのための器具アダプタの一実施形態の組み立てを示す分解図である。
図17の器具アダプタを組み立てられた状態で示す斜視図である。
図17の器具アダプタの斜視図であり、図14の手術用器具ホルダへの器具アダプタのラッチ機構を示す。
図15Fの調節可能なアームの端部に焦点を当てた斜視図であり、図18Aの器具アダプタの実施形態が、いかにして図14の手術用器具ホルダに接続するかを示す。
手術用器具ホルダのための器具アダプタの別の実施形態の分解図である。
図20の器具アダプタを組み立てられた状態で示す斜視図である。
図21の器具アダプタの部分断面図であり、ロック解除状態で示す。 図21の器具アダプタの部分断面図であり、ロック状態で示す。
図20の器具アダプタへのカニューレの挿入を詳しく示す斜視図である。
図23の器具アダプタ及びカニューレの上端部の平面図である。
図23のカニューレ及び器具アダプタへのオブチュレータの挿入を詳しく示す斜視図である。
図23のカニューレ及び器具アダプタに挿入された図24Bのオブチュレータの頂部の側面図である。
図23のカニューレ及び器具アダプタへの内視鏡の挿入を詳しく示す斜視図である。
図23のカニューレ及び器具アダプタに挿入されロックされた内視鏡の斜視図である。
図27の器具アダプタ及び内視鏡を示すとともに回転ダイヤルの機能を詳しく示す斜視図である。 同回転ダイヤルの機能を詳しく示す斜視図である。
手術用器具ホルダのさらに改良された実施形態の側面図であり、内視鏡を保持した状態で示す。
図29の手術用器具ホルダの調節可能なアームの組み立てを示す一連の分解斜視図の1つである。 同調節可能なアームの組み立てを示す一連の分解斜視図の1つである。 同調節可能なアームの組み立てを示す一連の分解斜視図の1つである。 同調節可能なアームの組み立てを示す一連の分解斜視図の1つである。 同調節可能なアームの組み立てを示す一連の分解斜視図の1つである。
図29の手術用器具ホルダの調節可能なアームの斜視図である。
図29の手術用器具ホルダにおける第1アームと第2アーム間の中間ジョイントインターフェイスの拡大側断面図であり、ロック解除状態で示す。 同中間ジョイントインターフェイスの拡大側断面図であり、ロック状態で示す。
図29の手術用器具ホルダ(ベースを除く)の側断面図であり、ロック解除状態で示す。
図29の手術用器具ホルダにおける第2アームとクイック接続ポストのボールとの間のインターフェイスを示す拡大側断面図であり、ロック解除状態で示す。
図29の手術用器具ホルダ(ベースを除く)の側断面図であり、ロック状態で示す。
図29の手術用器具ホルダにおける第2アームとクイックコネクトポストのボールとの間のインターフェイスを示す拡大側断面図であり、ロック状態で示す。
図4、図8、図14、図18及び図29の手術用器具ホルダに用いるためのベースの実施形態の右側面図である。
図34のベースの正面図である。 図34のベースの右側面図である。 図34のベースの左側面図である。 図34のベースの背面図である。 図34のベースの上面図である。 図34のベースの底面図である。
図29の手術用器具ホルダの斜視図であり、手術台に取り付けられる状態で示す。 図29の手術用器具ホルダの斜視図であり、手術台に取り付けられる状態で示す。
図29の手術用器具ホルダとともに用いられる器具アダプタの別の実施例の斜視図である。 図29の手術用器具ホルダとともに用いる器具アダプタのさらに別の実施例の斜視図である。
図29の手術用器具ホルダとともに用いられる縫合管理システム及びリブリトラクタの斜視図である。
図29の手術用器具ホルダとともに用いるディスプレイマウントアダプタの斜視図である。
図39のディスプレイマウントアダプタに取り付けられたディスプレイの斜視図である。 図39のディスプレイマウントアダプタに取り付けられたディスプレイの斜視図である。
手術台に取り付けられた3つの手術用器具ホルダ(図29)の斜視図であり、異なるアダプタ及び器具を装備した状態で示す。
図3Aは、手術用器具ホルダ56の改良された実施形態を示す。第1アーム58と第2アーム60が示されている。第1アーム58はその中でスライド可能なロッド62を有し、ロッド62は一端にテーパ状端部64を有している。ロッド62の他端は図示されていないが、図1の装置のボールコネクタ24のようなボールコネクタと接合するように構成されている。このボールコネクタはベースと連結することができる。第2アーム60はその中でスライド可能なロッド66を有し、ロッド66は一端にテーパ状端部68を有している。ロッド66の他端は図示されていないが、別のボールコネクタと接合するように構成されている。このボールコネクタはエンドエフェクタと連結することができる。レバー70は一方のアーム(本実施形態においては第2アーム60)にアライメント(配置)されているが、レバー70の大部分は、スプリング要素72によって、アーム60から離れる方向に付勢されている。図3Aの例においてはスプリング要素72として特殊なタイプのスプリングが示されているが、当業者は図示されたスプリング要素72の代わりに使用し得る多種多様なスプリングに精通していることを理解されたい。
レバー70はウエッジ74(楔)に連結されている。レバー70が図3Aに示す位置にある時、ウエッジ74は第2アーム60内のロッド66のテーパ状端部68に押し付けられる。これにより、第2アーム60の他端にあるボールコネクタ(図示せず)が位置保持される。レバー70が図3Bに示す位置に絞られると、ウエッジ74が第2アーム60のロッド66のテーパ状端部68から引き離される。これにより、第2アーム60の他端にあるボールコネクタ(図示せず)は、第2アーム60に対して相対移動可能となる。
レバー70はさらに、ウエッジ74の開口を通るポスト76に連結されている。このポスト76にはウエッジ78が連結されている。レバー70が図3Aに示す位置(ロック位置)にある時、ウエッジ78は第1アーム58のロッド62のテーパ状端部64に向かって引き上げられている。これにより、第1アーム58の他端にあるボールコネクタ(図示せず)が位置保持される。レバー70が図3Bに示す位置(ロック解除位置)に絞られると、ポスト76がレバーとともに押し下げられ、ウエッジ78が第1アーム58のロッド62のテーパ状端部64から押し離される。これにより、第1アーム58の他端にあるボールコネクタ(図示せず)は、ベース(図示せず)に対して相対移動可能となる。
さらに、レバー70が図3Aに示す位置にある時、レバー70のクランプ端部80が第2アーム60の端部に押し付けられ、ポスト76とウエッジ78も、第2アーム60に対する第1アーム58の相対的位置を保持するクランプ力の生成を助ける。レバー70が図3Bに示す位置へと絞られると、レバー70のクランプ端部80が第2アームから持ち上げられ、ポスト76とウエッジ78がクランプ力を解放する。これにより、第1アーム58と第2アーム60は互いに対して相対的に動くことができる。その結果、この1つの操作フィーチャであるレバー70を片手で絞り、3つの異なるロックポイントを同時に解除できることが分かる。これにより、外科医は、片手でレバーを握り(レバーを絞り)、もう片方の手で、エンドエフェクタによって保持されたスコープを位置決めすることができる。位置決めの際、外科医はすべての自由度を利用でき、スコープの位置決めを容易に行うことができる。所望のスコープ位置が確定したら、外科医がレバー70を放すだけで、3つの全てのロックポイントは再び位置ロックされる。例えば、1)ボールコネクタに対する第1アームの相対的位置、2)第2アームに対する第1アームの相対的位置、3)ボールコネクタに対する第2アームの相対的位置である。従来の装置においては、これをするには少なくとも2人の人間と4つの手が必要となったであろう。したがって、本実施形態は、従来技術よりも明らかに利点を有している。
図4は、別の実施形態をなす手術用器具ホルダ82を示す。ここでは、内視鏡84を保持している。この手術用器具ホルダ82はベース86を有している。この実施形態において、このベース86は、手術台の側部にクランプするよう構成されている。ベースのクランプアームの1つを上げ下げするベース内のネジを調節するため、着脱可能なキー88が提供される。他の実施形態においては、当業者に公知の、他の種類の着脱可能なキー、ベース、及びクランプベースを用いてよい。ベース86は前述したボールコネクタに類似のボールコネクタ90を有している。第1アーム92と第2アーム94が示されている。第1アーム92はその中でスライド可能なロッド(図示せず)を有し、このロッドはテーパ状端部(図示せず)を有している。第1アーム92内のスライド可能なロッドはボールコネクタ90と接合するように構成されている。同様に、第2アーム94はその中でスライド可能なロッド(図示せず)を有し、このロッドはテーパ状端部を有している。第2アーム94内のスライド可能なロッド(図示せず)は、第2のボールコネクタ96と接合するように構成されている。このボールコネクタ96はエンドエフェクタ98と連結されている。本実施形態においては、エンドエフェクタ98が内視鏡84を保持し、位置付けるように構成されている。レバー100は一方のアーム(本実施形態においては第2アーム94)にアライメント(配置)されている。レバー100の大部分は、スプリング要素102によって、第2アーム94から離れる方向に付勢されている。図4の例においては特殊なタイプのスプリングが示されているが、当業者は図示されたスプリング要素102の代わりに使用し得る多種多様なスプリングに精通していることを理解されたい。
図5A〜図5Dは、図4の手術用器具ホルダ82の組み立て方法を示す一連の分解図である。簡潔にするために、ベース86のボールコネクタ90のみを示す。前述のとおり、当業者に公知の利用可能なベースの構成は多種多様である。使用されるベースの種類に関わりなく、主たる要件は、ボールコネクタ90を有することである。図5Aに示すとおり、第1アーム92の先端105の収容部104(receiver;受部)内にウエッジ103が配置されている。第1ロッド106がソケット108の開口107内に滑り込み、第1アーム92の内部空洞に滑り込む。ソケット108は第1アーム92の基端110にあり、開口107は第1アーム92の長手軸とアライメントされている。ロッド106はテーパ状端部106Tを有している。このテーパ状端部106Tはウエッジ103に押し付けられ、ウエッジ103を収容部104内に保持することができる。ボールコネクタ90は、第2開口114を通ってソケット108に挿入されている。第2開口114は第1開口107よりも大きく、ボールコネクタ90全体がそこを通ってソケット108内に入り込めるほど大きい。ボールコネクタ90が第2開口114を通って挿入される際、ボールコネクタ90の取付部116が第1開口107を通って外に出される。第1開口107はボールコネクタ90の全体が第1開口107を通り抜けないようなサイズにされている。ロッドの基端106Pはボールコネクタ90に乗り、ボールコネクタ90をソケット108内に保持するのを助ける。スペーサ118は穴120を有し、この穴120は、ウエッジ103の穴122とアライメントされている。2つの穴120、122は、必ずしも同じ寸法である必要はない。ボールコネクタ90の取付部116はベース(図示せず)に取り付けることができる。
図5Bに示すように、第2ロッド124がソケット128の開口126内に滑り込み、第2アーム94の内部空洞に滑り込む。ソケット128は第2アーム94の先端130にあり、第1開口126は第2アーム94の長手軸132とアライメントされている。第2ロッド124はテーパ状端部124Tを有している。このテーパ状端部124Tは収容部134(receiver;受部)内にアクセス可能である。ボールコネクタ96が、第2開口138を通ってソケット128に挿入される。第2開口138は第1開口126よりも大きく、ボールコネクタ96全体がそこを通ってソケット128内に入り込めるほど大きい。ボールコネクタ96が開口部138を通って挿入される際、ボールコネクタ96の取付部140が第1開口126を通って外に出される。第1開口126の穴は、ボールコネクタ96の全体が第1開口126を通り抜けないようなサイズにされている。ロッドの先端124Dはボールコネクタ96に乗り、ボールコネクタ96をソケット128内に保持するのを助ける。第2アーム94の基端142にある収容部134の開口は、第2アーム94を貫通し、スペーサ118及びその穴120とアライメントすることができる。
図5Cに示すように、ポスト146にヒンジ受け144が連結されている。このポスト146は、レバーブロック150のクリアランス穴148を貫通する。ウエッジ152がレバーブロック150から外側に延びている。ポストの下端146Lが、レバーブロック150のクリアランス穴148を通り、ウエッジ152を通り、その下まで延びる。部分的に組立されたヒンジ受け144、ポスト146、レバーブロック150及びウエッジ152が一緒に移動され、ポストの下端146Lとウエッジ152が収容部134に挿入される。これにより、ポストの下端146Lがウエッジ103(図5Cには図示せず)の穴122に連結され、ウエッジ152が第2ロッド124のテーパ状端部124Tに着座する。
スプリング154は、レバーブロック150のノッチ156に入るようにアライメントされ、レバー158の穴162及び対応するスプリング154の穴164を貫通するピン160により、レバー158に取り付けられる。レバー158の基端は、ヒンジ受け144及びレバーブロック150に被さるように配置される。レバー158の第1穴168はヒンジ受け144のタップ穴170とアライメントされる。第1ピボットネジ172が第1穴168を貫通し、タップ穴170にネジ込まれる。第2ピボットネジ174が同様に、レバー158とヒンジ受け144の反対側の左右対称の穴にネジ込まれる(これらの左右対称の穴は図示せず)。
レバー158の別の穴176は、レバーブロック150の穴178、ヒンジ受け144の穴180、レバーブロック150の別の穴182、及びレバー158の反対側の左右対称の穴(図示せず)と、アライメントされている。これら全ての穴を通ってピン184が配置され、もう1つの回動軸線を提供する。
図5Dは、第2ボールコネクタ96(この図5Dには図示せず)に連結されたアダプタないしはエンドエフェクタ98の分解図である。下部ヨーク186は、開口190を画成する円形のポスト188を有している。ポスト188の外側には、スプリングラッチ192を受け入れる凹部(図示せず)がある。このスプリングラッチ192はラッチ192Lを有し、このラッチ192Lは、スプリングラッチ192が凹部に入り込んでいる時、ポスト188の外面を超えて突出している。ポスト188に被さるようにカニューレ回転ダイヤル194が配置される。このカニューレ回転ダイヤルの内周に溝が形成されている。図5Dではこの溝のごく一部しか見えない。スプリングラッチ192のラッチ192Lがこの溝と係合し、カニューレ回転ダイヤル194を定位置に保持するのを助ける。ラッチ192Lは回転ダイヤル194の内側の全周を通る溝196に乗ることができるため、カニューレ回転ダイヤル194はこの位置で自由に回転できるが、ダイヤルの軸方向の動きはラッチ192Lによって妨げられる。カニューレラッチ198は上部ヨーク202のスロット200内にアライメントされ、回動点204がピン208によって、上部ヨーク202の穴206にアライメントされてピン止めされる。カニューレラッチ198はスプリング210を有し、このスプリング210が、ラッチ198を上部ヨーク202によって画成された開口212内へ押す。カニューレラッチ198はまた解放部214を有している。この解放部214を押すと、ラッチがピン208を中心に回動して開口212から退く。解放部214から圧力を解除すると、カニューレラッチ198は開口212に押し戻される。
回転防止ピン216が上部ヨーク202の穴218に挿入されている。この回転防止ピン216は、上部ヨーク202の下面を越えて下方に延びる。上部ヨーク202は下部ヨーク186に連結されている。カニューレ回転ダイヤル194の内側の溝196は下部ヨーク186に向かって押されていてラッチ192Lと係合していない時は、カニューレ回転ダイヤル194は自由に回動可能である。回転ダイヤル194をロックすることが所望される時は、回転ダイヤル194を上部ヨーク202に向かって軸方向に動かす。すると、回転ダイヤル194の周りに配置された複数のピン受部220の1つが、上部ヨーク202から下方に延びる回転防止ピン216に係合する。ほぼ同時に、ラッチ192Lがカニューレ回転ダイヤル194の内側の溝196と係合し、ダイヤルの軸方向の動きの防止を助ける。ダイヤルが軸方向に動けば、回転ダイヤル194が再び回転することが許容されるであろう。回転ダイヤル194がこの位置にとどまる限り、回転ダイヤル194は保持される。回転ダイヤル194を再度回転させるためには、回転ダイヤル194を下部ヨーク186に向けて軸方向に動かし、回転防止ピン216がピン受部220から外れるようにする必要がある。
スコープポートカニューレ222が装備される。スコープポートカニューレ222は基端側開口224を有し、この基端側開口224は先端側開口226と連通している。基端側開口224は、内視鏡の光源取付部を収容するためのノッチ228を含んでいてもよい。保持リング230がスコープポートカニューレの保持溝232にスナップ留めされる。保持リング230は、1)内視鏡84がスコープポートカニューレ222に挿入された時に、内視鏡84の光源取付部234がノッチ228内に入ることを許容する向きから、2)内視鏡84がスコープポートカニューレ222から外れるのを防ぐ向きへ、回動可能である。ノッチ228はまた、内視鏡84とスコープポートカニューレ222との間の既知の回動位置を維持する役割をも担う。スコープポートカニューレ222は、その外部に1つ以上のキーの役割をなす歯236を有している。使用に際し、カニューレ222の1つ以上のキー歯236が、カニューレ回転ダイヤル194の内側の1つ以上の対応するキーフィーチャ238と係合するまで、スコープポートカニューレ222の先端が、上部ヨークの開口212に挿入され、カニューレ回転ダイヤル194を通り、下部ヨーク186の開口190を通る。ラッチ198はカニューレ222の溝240に係合し、スコープポートカニューレ222の望ましくない外れを防ぐが、上述のとおり、カニューレ回転ダイヤル194が回転防止ピン216と係合していない時は、スコープポートカニューレ222はカニューレ回転ダイヤル194によって(相互に噛み合うキー236と対応するキーフィーチャ238を介して)所望の回動が可能である。
上部ヨーク202と下部ヨーク186が連結されると、対応する取付部242A、242Bがスタブを形成する。このスタブは、上述のボールコネクタ90の取付部140と連結することができる。
図5Eは図5A〜図5Dに示す手術用器具ホルダ82を組み立てた状態で示しており、内視鏡が組み込まれている。上述の理由でベースは示されていないが、容易に取り付け可能である。
図6A及び図6Bはレバー158の作用を示している。レバー158はヒンジ受け144を介して、ウエッジ152の開口を貫通するポスト146に連結されている。ウエッジ103もまたポスト146に連結されている。レバー158が図6Aに示す位置(ロック位置)にある時、ウエッジ103は、第1アーム92内のロッド106のテーパ状端部106Tに向かって引き上げられている。これにより、ボールコネクタ(図示せず)が第1アーム92の他端に位置固定される。同様に、図6Aに示す位置において、ウエッジ152は、第2アーム94内のロッド124のテーパ状端部124Tに対して押し下げられている。これにより、ボールコネクタ(図示せず)が第2アーム94の他端に位置固定される。レバー158が図6Bに示す位置(解放位置ないしはロック解除位置)に絞られると、ポスト146がレバーと共に押し下げられ、それにより、ウエッジ103が第1アーム92内のロッド106のテーパ状端部106Tから押し離される。これにより、第1アーム92の他端にあるボールコネクタ(図示せず)は、第1アーム92に対して相対的な動きが可能となる。図6Bの絞られたレバーはまた、テーパ状端部124Tからウエッジ152への圧力を解放するのに十分な量だけ、レバーブロック150を上方に回動させる。これにより、第2アーム94の他端にあるボールコネクタ(図示せず)は、第2アームに対して相対的な動きが可能となる。
さらに、レバーブロック158が図6Aに示す位置にある時、レバー158のクランプ端部244が第2アーム94の端部に押し付けられ、ポスト146とウエッジ103も、第2アーム94に対する第1アーム92の相対的位置を保持するクランプ力の生成を助ける。レバー158が図6Bに示す位置に絞られると、レバー158のクランプ端部244が第2アームから持ち上げられ、ポスト146とウエッジ103がクランプ力を解放する。それにより、第1アーム92と第2アーム94は互いに対して相対的に動くことができるようになる。その結果、この1つの操作フィーチャ(レバー158)を片手で絞り、3つの異なるロックポイントを同時に外すことができる。これにより、外科医は片手でレバーを握り(レバーを絞り)、もう片方の手で、エンドエフェクタによって保持されたスコープを位置決めすることができる。位置決めの際、外科医はすべての自由度を利用でき、スコープの位置決めを容易に行うことができる。所望のスコープ位置が確定したら、外科医がレバー158を放すだけで、3つのロックポイントは全て再びその位置でロックされる例えば、1)ボールコネクタに対する第1アームの相対的位置、2)第2アームに対する第1アームの相対的位置、3)ボールコネクタに対する第2アームの相対的位置である。図1の従来の装置においては、同時に行うには少なくとも2人の人間と4つの手が必要であろう。したがって、本実施形態は、従来技術よりも明らかに利点を有している。
図7は、手術用器具ホルダに用いることのできるアーム246の別の実施形態の斜視図である。アーム246は上述のアームと類似であるが、アームに沿って1以上のスロット248が追加されている。スロット248は、その中でスライドする必要のあるロッドの動作に影響を与えることはないが、手術用器具ホルダを用いた部位の外科的処置の終了後、アームをより簡単に洗浄できるようにする。スロット付きアームの別の利点は、求められる機能と構造的完全性を維持しながら、組み立てられたアームの軽量化が図れることであろう。
図8は手術用器具ホルダ250の別の実施形態を示している。図4の実施形態と同様に、手術用器具ホルダ250は、取り外し可能なキー88を受け入れるように構成されたベース86を有している。その詳細は上述のとおりである。ボールコネクタ90は上述のようにベース86に連結される。また、図4の実施形態のように、手術用器具ホルダ250は、エンドエフェクタ98に連結された第2のボールコネクタ96を有している。その詳細も上述のとおりである。この実施形態において、エンドエフェクタ98は、内視鏡84を保持し位置付けるように構成されている。ボールコネクタ90、96は調節可能なアーム252に連結されている。この実施形態の調節可能なアームは、図9A〜図9F及び図10にさらに詳しく示されている。
図9A〜図9Fは、調節可能なアーム252の組み立て方法を示す一連の分解図である。図9Aに示すように、接続端部264Cと停止端部264Sとを有するテンションロッド264が、接続端部264Cの方から第1ウエッジ266に通される。テンションロッド264の停止端部264Sの寸法は、テンションロッド264がウエッジ266を貫通するのを防ぐような寸法を有している。本実施形態においては、停止端部264Sは丸みを帯び、事実上球形である。組み立てられたテンションロッド264とウエッジ266は、第1アーム254の収容部268の下面の穴(図示せず)を通って、上方に通される。テンションロッド264の接続端部264Cは、収容部268から突出する。収容部268から突出する接続端部264Cの上からスペーシングワッシャ270が配置される。本実施形態においては、スペーシングワッシャ270は凸面状の外面を有し、この外面は、理想的には、球状の停止端部264Sの中心とほぼ一致する組立中心点を共有する。スペーシングワッシャの開口は、テンションロッド264の回動を許容する寸法を有し、これにより、第1アーム254が第2アームに対して、テンションロッドによって連結される部品間の相対的間隔を変えることなく複数の平面において相対運動することを許容している。第1ロッド258はソケット276内の開口274に滑り込み、第1アーム254の内部空洞に滑り込む。ソケット276は第1アーム254の基端278にあり、開口274は第1アーム254の長手軸280とアライメントされている。ロッド258はテーパ状端部258Tを有している。このテーパ状端部258Tはウエッジ266を押し付けることができ、ウエッジ266を収容部268内に保持することができる。ボールコネクタ90は、ロッド258の基端258Pに対峙して、ソケット276に挿入されている。ボールコネクタ90をソケット276内に保持するために、リテイナー282がボールコネクタ90を覆うようにしてソケット276に取り付けられる。ボールコネクタ90に乗るロッドの基端258Pは凹形状にすることができ、ロッドの基端258Pの周縁がボールコネクタ90に実際に接する。リテイナー282は開口284を有し、この開口を通って取付部116が突出する。前記の実施形態と同様に、取付部はベース(図示せず)に取り付けることができる。
図9Bに示すように、第2ロッド260がソケット288の開口286に滑り込み、第2アーム256の内部空洞に滑り込む。ソケット288は第2アーム256の先端290にあり、開口286は第2アーム256の長手軸292とアライメントされている。本実施形態においては、ロッド260は細い部分260Nを有しており、装置全体の重量軽減に供している。ロッド260はまた、第2アーム256の収容部294内にアクセス可能なテーパ状端部260Tを有している。ボールコネクタ96が、第2開口296を通ってソケット288に挿入される。第2開口296は、第1開口286よりも大きく、取付部298が第1開口286を通って外に出る間に、ボールコネクタ96全体が第2開口296を通ってソケット288内に入り込めるほど大きい。第1開口286はボールコネクタ96の全体が第1開口286を通り抜けないような寸法を有している。ロッドの先端260Dはボールコネクタ96に乗り、ボールコネクタ96がソケット288内に保持されるのを助ける。レバーアライメントガイド300も第2アーム256に連結される。さらに、レバーキャッチ302も、例えばピン304等の当業者には公知の取付方法で、第2アーム256に連結される。
図9Cに示すように、収容部開口294(第2アーム256の収容部306を貫通する)がテンションロッド264とアライメントされる。図9Dは図9Cに示す部材を組み立てた状態を示す。
図9Eは、ウエッジ310を有するレバーブロック308の周りの別の部分組立体を示す。レバー312は、レバーブロック308の穴316、レバー312の穴318、及びレバーブロック308の穴320に挿入されたレバーピボットピン314によって、レバーブロック308に回動可能に連結されている。レバーラッチ322が、例えばピン324等の当業者には公知の適切な方法で、レバー312に連結されている。
図9Fに示すように、図9Eのレバーアーム組立体を図9Dの組立体と合体させることができる。図9Eで部分的に見えるように、レバーブロック308とウエッジ310は、それらを貫通するチャンネル326を有している。図9Fを参照すると、このチャンネル326は、テンションロッド264がウエッジ310を通ることを許容する。この挿通状態で、ウエッジ310は第2ロッド260のテーパ状端部260T(この図には図示せず)に着座することができる。レバー312の底部のテンションクリアランス開口328は、接続端部264Cがレバー312の中に入ることを許容する。レバー312をアライメントし、これによりテンションピボットピン330が、レバーブロック308の貫通穴332を貫通し、穴334(図9Eに図示)に入り、テンションロッド264の穴336を通り、穴334に対応するレバー312の穴(この図には図示せず)に入ることができる。いったん組み込まれれば、テンションピボットピン330は、レバーブロック308と干渉せず、テンションロッド264をレバー312に対して回動させることができる。
図10に示す組み立てられた調節可能なアーム252は、ボールコネクタ90、96に連結されている。第1アーム254と第2アーム256が示されている。第1アーム254はロッド258を有し、このロッドは第1アーム254の中をスライド可能で、テーパ状端部(テーパ状端部はこの図には図示せず)を有している。第1アーム254内のスライド可能な第1ロッド258は、第1ボールコネクタ90と接合可能に構成されている。同様に、第2アーム256はロッド260を有し、そのロッドは第2アーム256内をスライド可能で、テーパ状端部(テーパ状端部はこの図には図示せず)を有している。第2アーム256内のスライド可能な第2ロッド260は、第2ボールコネクタ96と接合可能に構成されている。レバー262が一方のアーム、この実施形態においては第2アーム256とアライメントされている。
設置された時に、レバー312の長い部分が第2アーム256から離れて上方に回動するように、テンションロッド264は構成されている。図11Aの部分断面図に示すように、レバー312の上方への回動により、レバーラッチ322は、レバーキャッチ302から離れたロック解除位置にある。図11Bの矢印338で示すように、レバー312を第2アーム256に向けて押す又は絞ると、レバーラッチ322がレバーキャッチ302と接することができる。あと少し絞ると、レバーラッチ322はレバーキャッチ302を乗り超え、押圧を解除すると、図11Cに示すように、ラッチ322とキャッチ302は係合する。この状態において、レバーラッチ322とレバーキャッチ302は通常の位置からやや偏倚しており、レバー312は押圧された状態(ロック位置)で保持され、これにより、テンションロッド(この図には図示せず)は引張状態(テンション状態)にある。テンションロッド264が引張状態にない時(図12A、図12B)と引張状態にある時(図13A、図13B)の動作の違いについては、後述する。張力を解放するには、図11Dの矢印340で示すように、レバー312をさらに、第2アーム256に向けて絞る。これにより、レバーラッチ322とレバーキャッチ302は互いを解放し、非偏倚位置に弾性復帰ことを許容する。この非偏倚位置において、レバーキャッチ302がレバーラッチ322より上にある間は、ラッチ322とキャッチ302は互いを噛み合うことはない。しかし、レバー312を絞る力が解放されると、テンションロッド264(この図には図示せず)の張力によって、レバー312が再び図11Aに示すロック解除位置に戻る。このように、ラッチ322とキャッチ302の機構は、調節可能なアーム252を、張力のかからない(ロック解除)状態(図12A)にしたり、張力下の(ロック)状態(図13A)に保持することができる。操作者は、片手だけで、所望の位置決めと、ロック状態又はロック解除状態の選択を行なうことができる。
図12Aは、調節可能なアームの一部の部分断面図である。図12Aの状態において、テンションロッド264は引張状態(テンション状態)ではない。レバー312はレバーピボットピン314を中心に回動可能であり、図12Aの位置において、レバー312は取り付けられたテンションロッド264を押し下げている(図示の方向)。これにより、ウエッジ266はロッド258のテーパ状端部258Tを少し解放することが許容され、それにより、ボールコネクタ90(この図には図示せず)に対してロッド258のグリップを緩める。この位置において、レバー312はウエッジ310を押し下げておらず、そのためウエッジ310とテーパ状端部260Tとの間の圧力もまた減じられており、それによりボールコネクタ96に対するロッド260のグリップも緩んでいる。第1アーム254と第2アーム256との間のスペーシングワッシャ270の圧縮も減少し、それにより、第1アーム254の第2アーム256に対する回動が許容される。本実施形態においては、スペーシングワッシャ270が湾曲しているため、アーム254、256は同一平面、又は異なる平面において、互いに対して回動可能である。これにより、操作者は、アームと、ボールコネクタ96に接続されたエンドエフェクタを、容易にいかなる所望の位置にも位置付けることができる。本実施形態のロック解除状態又は開き状態のより詳細な断面を、図12Bに示す。
図12Cは、テンションロッド264のさらに詳しい断面図であり、第1アーム254の収容部268内での位置、及び、図10Aに示すスペーシングワッシャ270との相対的位置関係を詳しく示す。本図は、テンションロッド264の停止端部264Sとスペーシングワッシャ270との空間的関係の一態様を示している。図12Cの内側の同心円265の寸法は、テンションロッド264の停止端部264の球形部分に対応する円と同じ寸法であり、外側の同心円265Eの寸法は、スペーシングワッシャ270の凸曲面状の外面に対応する弧に一致する。さらに、スペーシングワッシャは、テンションロッドの球状の停止端部の中心とほぼ一致する組立中心点267を共有する。このテンションロッドの停止端部264とスペーシングワッシャ270との幾何学的及び空間的関係により、手術用器具ホルダ250のロック位置(図13A、図13B)を係合するためにレバー312を絞る際、第1アーム254の第2アーム256に対する相対的角度又は位置とは無関係に、一定の力を与えることができる。
所望の位置に達したら、レバー312を絞って、図13Aの部分的断面図に示すように、張力を与えられた状態(ロック状態)にすることができる。ここでも、レバー312はレバーピボットピン314を中心に回動し、図13Aの位置において、レバー312はテンションロッド264を引き上げ、テンションロッド264を引張り状態にする。テンションロッド264の停止端部264Sは、ウエッジ266をテーパ状端部258Tに向かって引き上げる。これにより、ロッド258はボールコネクタ90に押し付けられ、ボールコネクタ90、ひいてはベース(この図には図示せず)に対して第1アーム254の位置がロックされる。図13Aの位置において、レバー312はウエッジ310を押し下げ、それにより、ウエッジ310と第2ロッド260のテーパ状端部260Tとの間に圧力を生じさせる。これにより、ロッド260はボールコネクタ96に押し付けられ、第2アーム256に対して、ボールコネクタ96に連結されたエンドエフェクタ(この図には図示せず)の位置が固定される。図13Aの位置において、第1アーム254と第2アーム256がスペーシングワッシャ270をクランプし、これにより、第2アーム256に対して第1アーム254を固定する。この実施形態のロック状態での詳細な断面図が図13Bに示されている。この1つのレバー312は、レバー312を片手で絞るだけで、エンドエフェクタをベースに対して効果的にロックすることができる。片手でレバーを再度絞ると、3つの異なるジョイント(ボールコネクタ90、第1アームと第2アームの接合部およびボールコネクタ96)が一緒に解放され、もう一方の手を自由にしてエンドエフェクタを位置づける。これは、従来技術に対して非常に有効な改善である。また、従来技術に比べて自由度が高くなり、装置全体をロックまたはロック解除するために必要なのは単一の絞りだけである。
図14は、手術用器具ホルダ342の第3の実施形態を示している。図4、図8の実施形態と同様に、手術用器具ホルダ342は、取り外し可能なキー88を受け入れるように構成されたベース86を有する。前述のように、ボールコネクタ90をベース86に連結することができる。手術用器具ホルダ342は、エンドエフェクタ345に連結される第2のボールコネクタ366を有する。このエンドエフェクタ345は、ボールコネクタ366の端部のクイック接続ポート(この図には示されていない)に解放可能に保持されるように構成されている。この実施形態では、エンドエフェクタ345は、内視鏡84を保持するスコープポートカニューレ222を保持し位置決めするように構成される。ボールコネクタ90、366は、調節可能なアーム344に連結されている。この実施形態の調節可能なアームの組立体は、図15A〜図15Fにおいて詳細に示されている。
図15A〜図15Fは、図14に示されている調節可能なアーム344がどのように組み込まれるかを示す分解図である。図15Aに示すように、接続端部354Cおよび停止端部354Sを有するテンションロッド354は、最初に接続端部354Cが第1ウエッジ266に通される。テンションロッド354の停止端部354Sは、テンションロッド354がウエッジ266を完全に通過するのを防止するようなサイズになっている。この実施形態では、停止端部354Sは、本質的に丸みを帯びているか、または球形である。組み立てられたテンションロッド354とウエッジ266は、第1アーム254の収容部268の底部の穴を通り、上方に挿通可能である。テンションロッド354の接続端部354Cは、収容部268から突き出る。スペースワッシャ270は、収容部268から突出する接続端部354Cの上から配置することができる。この実施形態では、前述のように、スペースワッシャ270は、凸面状の外面を有し、この外面は、理想的には、球状の停止端部354Sの中心とほぼ一致する組立中心点を共有する。スペーシングワッシャの開口は、テンションロッド264の回動を許容する寸法を有し、これにより、第1アーム254が第2アーム256に対して、テンションロッドによって連結される部品間の相対的間隔を変えることなく複数の平面において相対運動することを許容している。第1ロッド355はソケット276内の開口274に滑り込み、第1アーム254の内部空洞に滑り込む。ソケット276は第1アーム254の基端278にあり、開口274は第1アーム254の長手軸280とアライメントされている。ロッド355はテーパ状端部355Tを有している。このテーパ状端部355Tはウエッジ266を押し付けることができ、ウエッジ266を収容部268内に保持することができる。ロッド355は細い中間部355Nを有しており、この中間部355Nは、重量を減じるとともに、第1アーム254の内径とロッド355の外径との間に、洗浄と滅菌を改善するための間隔を提供する。ソケットストップ350は、ソケット276に螺合されているが、別の取り付け手段を用いてもよい。ボールコネクタ90は、ロッド355の基端355Pに対峙して、ソケット276に挿入されている。ボールコネクタ90をソケット276内に保持するために、リテイナー282がボールコネクタ90を覆うようにしてソケットストップ350に取り付けられる。この実施形態では、リテイナー346が、ボールコネクタ90をソケットストップ350に対して保持するため、ボールはソケット276内で回動可能である。調節可能なアーム344の組立およびセットアップ中に、ソケットストップ350をネジ付きソケット276に締め付けて、ボールコネクタ90、第1ロッド355、およびウエッジ266の間に、所望量のロック解除時のテンションを提供する。リテイナー346は、ソケットストップ350のネジ穴351に固定される数個の止めネジ348により、ソケットストップ350に固定される。ソケット276に対するソケットストップ350の調節可能性は、調節可能アーム344がロック位置またはロック解除位置にある時に、第1アーム254と第2アーム254との間の動き易さを調節可能にする。リテイナー346は開口349を有し、この開口349を通って取付部116が突出する。前の実施形態と同様に、取付部116はベース(図示せず)に取り付けられる。
図15Bに示すように、第2ロッド364は、ソケット288の開口部286および第2アーム256の内部空洞に滑り込む。ソケット288は、第2アーム256の先端290にあり、開口部286は、第2アーム256の長手軸292とアライメントしている。ロッド364は、第2アーム256の収容部306内にアクセス可能なテーパ状端部364Tを有する。ボールコネクタ366と取付部を有するクイック接続ポート392が提供される。取付部390は、中心に沿うギャップ390Gと穴396を有する。この穴396に、ピン394が、溶接、圧入、または当業者に知られている他の方法で、挿入固定される。ピン394は、取付部390のギャップ390Gを横切っている。クイック接続ポート392は、ソケット288の第2の開口296に挿入される。第2の開口296は、第1の開口286よりも大きく、取付部390が第1の開口286を通って出る間に、ボールコネクタ366全体がソケット288に入るのに十分な大きさを有している。第1の開口286は、ボールコネクタ366の全体が第1の開口286を通過することを防止するようなサイズである。ロッドの先端364Dは、ボールコネクタ366に乗り、ボールコネクタ366をソケット288に保持するのを助ける。
レバーアライメントガイド356が第2アーム256に連結されている。さらに、レバーキャッチ358は、ネジ362で第2アーム256に固定することにより、キャッチシールド360内で第2のアーム256に連結される。キャッチ358およびキャッチシールド360は、他の方法、例えば、当業者に知られているピンまたは他の取り付け技術を用いて、第2アーム256に固定することができる。 キャッチシールド360は、手術用器具ホルダ342の操作中に手袋、衣類、または皮膚がキャッチ358に引っかかる可能性を低減するために、キャッチ358の両側を覆う。
図15Cに示すように、第2アーム256の収容部306を完全に貫通する収容部開口294は、テンションロッド354とアライメントされる。図15Dは、図15Cから得られた構成要素の組立体を示している。レバーブロック368は、ウエッジ370と、それを貫通するチャンネル371を有する。このチャネル371は、ウエッジ370をテンションロッド354が通ることを可能にし、これによりウエッジ370が第2ロッド354のテーパ状端部364T(この図では見えない)に着座するようにする。レバー352の基端352Pの底部のテンションクリアランス開口387は、接続端部354Cがレバー352内に入ることを可能にする。
図15Eは、図14の手術用器具ホルダ342のさらなる部分組立体の分解斜視図である。レバーラッチシールド376とラッチ374は、ネジ378によってレバー352に連結されるが、当業者に知られている他の適切な方法によって取り付けられてもよい。レバーラッチシールド376およびキャッチシールドは、手術用器具ホルダ342の操作中に手袋、衣類、または皮膚がラッチ374およびキャッチ358の機構に引っ掛かることを防ぐのに役立つように協働する。この実施形態のラッチ374およびキャッチ358の機構は、図11A〜図11Dについて説明したラッチ322およびキャッチ302と同様に機能する。この実施形態のレバー352は、クリーニングリリース380をさらに含む。このクリーニングリリース380には、スプリング381が部分的に挿入される。クリーニングリリース380を従えたスプリング381は、レバー352の基端352Pのマッチングスロット383に挿入される。クリーニングリリース380は、内側に押されてスプリング381を圧縮し、これにより、レバー352の基端352Pがテンションロッド354を越えてレバーブロック368内にセットされるようになる。クリーニングリリース380が解放されると、スプリング381がクリーニングリリース380のポスト385をレバーブロックのスロット375内に押し込む。 ポスト385がスロット375にある間、組み立てられた装置のレバー352は、ロック解除位置とロック位置との間で移動できる。レバー352を洗浄位置に移動させるために、クリーニングリリース380を押して、スプリング381をさらに圧縮し、レバーが通常のロック解除位置よりもアーム256から離れて開かれた時に、ポスト385がスロット375から凹部377に飛ぶことができるようにする。クリーニングリリース380の動作は、図16A〜図16Cでさらに説明する。
レバー352がアライメントされ、これにより、テンションピボットピン386は、レバーブロック368の貫通穴372Tを通り、レバー352の穴382を通り、テンションロッド354の穴354Hを通り、穴382に対向するレバー352の反対側の穴に挿入することができる。組み立てられたとき、ピン386は、レバーブロック368と係合せず、レバー352の基端352Pをテンションロッド354に回動可能に連結する。レバー352は、レバーピボットピン388によってレバーブロック368に回動可能に連結される。このレバーピボットピン388は、レバーブロック368の穴372L、レバー352の穴384、およびレバーブロック368の穴373Lに挿入される。この連結は、図15Dに示すアーム部分組立体をレバー352に連結するためにも提供される。
図15Fは、完全に組み立てられた調節可能なアーム344をレバー352がロック位置にある状態で示す図である。
図16A〜16Cは、いくつかのレバー352の動作位置を示し、図14に示される手術用器具ホルダ342の実施形態の洗浄性を強調している。図16Aは、レバー352が閉じ位置またはロック位置にある状態を示している。 ロック位置およびロック解除位置のメカニズム、および様々な器具ホルダの連結要素に対するそれらの相対的な影響は、例えば図11A〜図11D、図12A〜12C、図13A〜13Bで以前に議論されている。
図16Bは、レバー352が開き位置またはロック解除位置にある状態を示す。レバー352は、第2アーム256に対して幾分開いているが、外科処置または手術の後に完全な洗浄をするためには、第2アーム256および第2アーム256内の第2ロッド364へのアクセスが制限される場合がある。クリーニングリリース380のポストは、手術用器具ホルダ342の通常のロックおよびロック解除操作中に、レバーブロック368のスロット375内に拘束される。レバー352の基端352Pに位置するクリーニングリリース380は、方向379に移動してスプリング381を圧縮し、レバーがさらに図16Cに示す洗浄位置へと持ち上げられると、クリーニングリリース380のポスト385がスロット375から凹部377に飛ぶことができる。これにより、手術用器具ホルダ342のアクセスが改善され、洗浄性が強化される。このメカニズムは、図15Eについて詳述された組み立て工程において説明している。
図17は、図5Dで説明したものと同様のスコープポートカニューレ222のための器具アダプタ402の組立体を示す分解図である。
下部ヨーク404は、開口458を画成する円形ポスト406を有する。ポスト406の外側には、スプリングラッチ480を受け入れるサイズの凹部(この図では見えない)がある。スプリングラッチ408はラッチ480Lを有する。スプリングラッチ408が凹部にあるときにラッチ480Lはポスト406の外面を越えて突出している。カニューレ回転ダイヤル424は、ポスト406を囲うように配置される。溝428は、カニューレ回転ダイヤル424の内周に沿って形成されている。スプリングラッチ480のラッチ480Lは、この溝と係合し、カニューレ回転ダイヤル424を所定の位置に保持する。ラッチ480Lが、回転ダイヤル424の内側の全周に形成された溝428に乗ることができるため、カニューレ回転ダイヤル424はこの位置で自由に回転することができる。しかし、ダイヤルの軸方向の動きはラッチ480Lによって禁じられる。
アダプタリリース414は下部ヨーク404の凹部448にアライメントされ、これにより、器具アダプタ402が組み立てられた時に、ピボット点416を、ネジ410によって下部ヨーク404の穴412とアライメントされた状態で保持できるようになる。ネジ410は、下部ヨーク404の穴412を通り、アダプタリリース414のピボット点416を通り、上部ヨーク434の対応するネジ穴436へと入る。器具アダプタ402が組み立てられる時、アダプタリリース414のスロット418に入る制限ピン462は、下部ヨーク404の穴466に配置され、アダプタリリース414のスロット418を通って、上部ヨーク434の対応する穴464に保持される。アダプタリリース414は、より詳細に後述するように、手術用器具ホルダ342の取付部390に器具アダプタ402を解放可能に保持するように構成されたスプリング422とラッチ420を有している。
カニューレラッチ450は、上部ヨーク434のスロット438にアライメントされており、これにより、ピボット点454がピン444によって上部ヨーク434の穴440とアライメントされてピン留めされる。カニューレラッチ450はスプリング456を有しており、このスプリング456は、ラッチ450を上部ヨーク434に形成された開口460内へ押す。カニューレラッチ450はまた、押圧可能な解放部452を有しており、これによりラッチをピン444の周りに回動させ、開口460から後退させる。解放部452から圧力が除去されると、カニューレラッチ450は開口460へ押し戻される。
回転防止ピン446は、上部ヨーク434の穴442に挿入される。回転防止ピン446は、上部ヨーク434の下側を越えて下方に突出している。上部ヨーク434は、上述したネジ410により下部ヨーク404に連結される。カニューレ回転ダイヤル424の内側の溝428が下部ヨーク404に向かって押され、ラッチ480Lと係合していない間は、カニューレ回転ダイヤル424は自由に回転することができる。回転ダイヤル424をロックすることが望まれる場合には、回転ダイヤル424は、上部ヨーク434に向かって軸方向に移動することができる。そうすることで、回転ダイヤル424の周りに配置された複数のピン受け430(この図には示されていないが、図5Dでは同様の受け220が示されている)の1つが、上部ヨークから下方に突出する回転防止ピン446と係合する。ほぼ同時に、ラッチ480Lが、カニューレ回転ダイヤル424の内側の溝428に係合し、ダイヤルの軸方向の動きを防ぎ、回転ダイヤル424が再び回転できるようにするのを助ける。回転ダイヤル424がこの位置にある限り、回転ダイヤル424は保持される。回転ダイヤル424を再び回転させるには、回転ダイヤル424を下部ヨーク404に向かって軸方向に動かして、回転防止ピン446をピン受け430から外す必要がある。この動作は、カニューレアダプタの別の実施形態を示す図28Aおよび図28Bでさらに詳細に説明される。
図18Aは、図17の器具アダプタ402が組み立てられた状態を斜視図である。図18Bは、図15Fの調節可能アーム344の端部の斜視図であり、図14の手術用器具ホルダ342の取付部390と接続するためにアライメント状態にある器具アダプタ402を示している。器具アダプタ402は、次のようにして手術用器具ホルダ342に接続される。すなわち、器具アダプタ402を調節可能なアーム344に向かって長手軸470に沿う方向468に移動させ、取付部390をアダプタチャネル432とアライメントして、ピン394がアダプタリリースラッチ(この図には示されていないが、前述および以下の図19にも記載されている)に係合するまで挿入する。この実施形態は、スコープポートカニューレ222のための器具アダプタ402を示しているが、他の器具アダプタを同様の方法で手術用器具ホルダ342に取り付けることができる。アダプタ402をアーム344に着脱可能に連結することを可能にするこの実施形態の構成要素は、マウントである。この実施形態では、マウントは、上部ヨーク434、下部ヨーク404、カニューレラッチ450、回転ダイヤル424、アダプタリリース414およびチャネル432を含む。また、ボールコネクタ366を有するクイック接続ポート392、ピン394を有する取付部390、レバー352を含む調節可能なアーム344のセットを含むことができ、システム全体が取り外されり場合には取り外し可能なキー88を備えたベース86を含むことができる。他のタイプのマウントが本明細書に開示されており、これらの実施形態およびそれらの均等物は、特許請求の範囲内に含まれることが意図されている。
図19は、図18Bの器具アダプタの平断面図であり、取付部390への器具アダプタ402の取り付けを示している。第2のボールコネクタ366に接続された取付部390がアダプタチャネル432に挿入されると、ピン394はアダプタリリースラッチ420の先端縁420Lと係合する。リリースラッチ420は、ピボット点416を中心に回動しながらピン394に乗り上げる。取付部390がアダプタチャネル432にさらに挿入されると、取付部のピン394は、先端縁420Lを越えてラッチ420のノッチ420Nに至る。スプリング422はアダプタリリース414への圧力を維持し、これにより、ラッチのノッチ420Nがピン394と係合し続け、アダプタ402が取付部390に保持される。アダプタチャネル432から取付部390を取り外し、それにより取付部390から器具アダプタ402を取り外すには、アダプタ解放部414を押し下げ、これによりラッチ420のノッチ420Nを取付部のピン394から離れるように回動させる。この状態で、アダプタ402を取付部390から引き抜くことができる。ラッチ420が取付部390から離れた後、アダプタ解放部414を解放することができる。スプリング422は再びラッチ420を回動させるが、制限ピン462はラッチ420の先端縁420Lをアライメント状態に保ち、そこで次の挿入時に取付部のピン394に有利に接することができる。
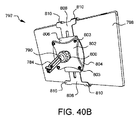
図20は、器具アダプタ472の改良された実施形態の分解図である。下部ヨーク474は、開口482を画成する円形ポスト476を有する。ポスト476の両側の外側には凹部478がある。各凹部478はスプリングラッチ480を受け入れるサイズを有している。この図では、1つの凹部のみが表示されている。各スプリングラッチ480はラッチ480Lを有する。このラッチ480Lは、スプリングラッチ480が凹部478内にある時に、ポスト476の外面を越えて突出する。カニューレ回転ダイヤル488は、ポスト476を覆うように配置される。カニューレ回転ダイヤル488の内面は、いくつかのキーフィーチャ489と、カニューレ回転ダイヤル488の内周を走る溝492とを有する。溝492のわずかな部分とキーフィーチャのみが図20に示されている。各スプリングラッチ480のラッチ480Lは、溝492と係合し、カニューレ回転ダイヤル488の意図しない動きを制限する。両方のラッチ480Lが回転ダイヤル488の内側を一周する溝492に乗ることができるため、カニューレ回転ダイヤル488はこの位置で自由に回転できるが、回転ダイヤル488の軸方向の動きはラッチ480Lの抵抗を受ける。カニューレラッチ500は、上部ヨーク502のスロット516内にアライメントされ、これにより、ピボットピボット点498が上部ヨーク502の穴508とアライメントされて、ピン514によりピン付けされるようになっている。カニューレラッチ500はスプリング496を有する。このスプリング496は、ラッチ500を上部ヨーク502に形成された開口510内へ回動させる。カニューレラッチ500は解放部494を有し、この開放部494は押されることにより、ラッチ500をピン514の周りに回動させて開口510から後退させることができる。解放部494から圧力が除去されると、スプリング496はカニューレラッチ500を回動させて開口510に戻す。平坦面520Fとキー穴524Aを有するカム520は、上部ヨーク502の凹部517Aに挿入される。アタッチメントレバー526の対応するキー524は、穴517を通ってキー穴524Aと係合する。アタッチメントレバー526は回動することができ、これにより、アダプタ472内においてカム520をロック位置とロック解除位置との間で回動させることができる。アタッチメントレバー526の操作については、本明細書で後述する。
回転防止ピン512は、上部ヨーク502の穴506に挿入される。回転防止ピン512は、上部ヨーク502の下側から下方に突出する。上部ヨーク502はネジ484により下部ヨーク474に連結される。ネジ484は、下部ヨーク474の穴486を通り、上部ヨーク502の対応するネジ穴518に螺合される。他の態様では、上部ヨーク502は、限定されないが、溶接または圧入などの他の技術を使用して下部ヨーク474に固定することができる。カニューレ回転ダイヤル488の内側溝492が下部ヨーク474に向かって押されるため内側溝492はラッチ480Lと係合しないが、カニューレ回転ダイヤル488は自由に回転することができる。回転ダイヤル488をロックすることが望まれるとき、回転ダイヤル488を上部ヨーク502に向かって軸方向に動かすことができる。そうすることで、回転ダイヤル488の周りに配置された複数のピン受け490のうちの1つが、上部ヨーク502から下方に突出する回転防止ピン512と係合する。ほぼ同時に、ラッチ480Lが、カニューレ回転ダイヤル488の内側の内側溝492と係合し、これにより回転ダイヤル488が再び回転可能となるダイヤルの軸方向の動きを防ぐ。回転ダイヤル488がこの位置にある限り、回転ダイヤル488は保持される。回転ダイヤル488を再び回転させるには、回転ダイヤル488を下部ヨーク474に向かって軸方向に移動させて、回転防止ピン512をピン受け490から外す必要がある。
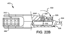
図21は、図20の器具アダプタの組み立てられた状態を示す斜視図である。上部ヨーク502と下部ヨーク474が一緒に連結されると、アダプタチャネル528が形成される。手術用器具ホルダの取付部は、アダプタチャネル528内に嵌るように構成されている。適切な取付部624の一例が図30Cに示されており、図22A、図22Bに断面で示されている。
図22Aおよび図22Bは、図21の器具アダプタを、アダプタチャネル528に挿入された取付部624に対して、それぞれロック解除状態とロック状態で示す部分断面図である。図22Aでは、アタッチメントレバー526は、カム520を回転させてカム面520Fをチャネル528にアライメントさせた位置にあり、手術用器具ホルダの取付部624を器具アダプタ472のアダプタチャネル528に挿入できる位置にある。図22Bは、レバー526が、カム520を矢印533方向に回転させて取付部624の凹部532に入り込ませた位置にある状態を示す。これによりアダプタ472が取付部624にロックされる。この実施形態では、取付部624はその両側に凹部532を有しており、これによりアダプタ472を複数の向きで取り付けることができる。
図23は、図21の器具アダプタ472に挿入できるカニューレ534の向きを示す斜視図である。器具アダプタ472は、カニューレ534を開口510に受け入れるように構成される。カニューレ534は、先端開口536と連通する基端開口535を有する。カニューレ534には、基端開口535と連通するノッチ541が形成されており、このノッチ541は、内視鏡の光源アタッチメントやオブチュレータ(obturator;閉塞具)の深さ規制ストップ、またはカニューレに挿入され得る他の器具のフィーチャを収容する。保持リング538は、カニューレ534の保持溝539にカチッとはまる。保持リング538は、保持リングハンドル540を用いて回転可能である。すなわち、ノッチ541が基端開口535からアクセス可能なある位置と、ノッチ541が基端開口からアクセスできない別の位置との間で、回転可能である。カニューレ534はまた、その外側に1つ以上のキー歯543を有する。使用に際し、カニューレ534の先端537は、1つ以上のキー歯543がカニューレ回転ダイヤル488の内側の1つ以上のキーフィーチャと係合するまで、カニューレ回転ダイヤル488を通る軸544に沿って、器具アダプタ472の開口510に挿入される。カニューレラッチ500(この図では示さないが、図20に関して記述している)は、カニューレ534の溝542と係合し、アダプタ472に対するカニューレ534の望ましくない軸方向の動きを防止するが、カニューレ回転ダイヤル488が回転防止ピン512に係合していない時には、カニューレ534は、カニューレ回転ダイヤル488により(噛み合ったキー歯543および対応するキーフィーチャ489を介して)所望通りに回転することができる。この点については、図28A,図28Bに関して詳述することにする。
図24Aは、器具アダプタ472に挿入されたカニューレ534の平面図である。この図は、キー開口548Aを画成する数個の長手方向に延びる凸部547および凹部548を示す。キー開口548Aは、カニューレ534に通されている観察スコープ(この図には示されていない)が凹部548と接触しないように、維持する。凹部548は、内視鏡と共に使用される時に、望ましくない流体がスコープレンズに接触したり汚したりしないように、この流体を蓄積することができる領域を提供する。いくつかの実施形態では、凹部548は、カニューレに挿入されたスコープから流体を引き離すための親水性コーティングを含むことができる。突出部547は、実質的に長手方向の突出部とすることができるが、必ずしもカニューレ534の全長にわたって延びている必要はない。
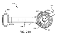
図24Bは、カニューレ534に挿入可能なオブチュレータ552と図23の器具アダプタとを示す斜視図である。オブチュレータ552の先端552Dは、カニューレの開口535に挿入されるように構成されている。オブチュレータ552はまた、基端552Pに深さ制限ストップ553を有し、先端552Dに数個のキーフィーチャ551を有する。キーフィーチャ551は、図5に示される凸部547および凹部548に対応するように構成される。キーフィーチャは、オブチュレータ552のアダプタ組立体546への挿入をアライメントし、垂直軸550に沿ったオブチュレータ552の挿入により、深さ制限ストップ553をカニューレ534のノッチ541とアライメントさせる。
図25は、カニューレ534に挿入された図24Bのオブチュレータ552の上部と、図23の器具アダプタ472の側面図である。保持リング539は閉じた位置に回転されており、挿入状態において、オブチュレータ552の深さ制限ストップ553が閉じたカニューレの保持リング539に乗っている。これにより、オブチュレータ552がカニューレ534内の第1の挿入深さに制限される。オブチュレータ552の先端552Dの近傍部は、深さ制限ストップ553がリング539に乗っている時にカニューレ534の先端開口部536から突出せず、吸収性のレースやカバーなどの洗浄材で覆うことができる。保持リング539が開いている場合、オブチュレータの深さ制限ストップ553をノッチ541により深い挿入深さまで挿入することができる。これにより、洗浄材(この図には示されていない)をカニューレ534の先端開口536から突出させることができ、オブチュレータ552を取り外した後にカニューレ534内に配置されるスコープの邪魔になるデブリ及び/又は流体を、拭き取ることができる。
図26は内視鏡554を示す斜視図である。内視鏡554は、基端554Pと、カニューレの開口535に挿入されるように構成された先端554Dとを有する。内視鏡554はまた、基端554Pの近くのライトポート555を有する。ライトポートは、内視鏡554に光を送達するように構成されている。スコープのライトポート555は、有利には、カニューレ534のノッチ541に嵌り、アダプタの回転ダイヤル488が回転すると、内視鏡554がカニューレ534と共に回転する。
図27は、器具アダプタ472によって保持されたカニューレ534に、内視鏡554が挿入されロックされた状態を示す斜視図である。回転ダイヤル488の上部に数個のピン受け490が見える。 これらのピン受490については、図28A,図28Bについてさらに説明するが、この図でも見ることができる。この図では、組み立てられた内視鏡エンドエフェクタ556も示している。内視鏡の先端554Dがカニューレ534の先端開口536から突出している。保持リング539は、ロック位置または閉位置で示されており、図23に関して説明したように、内視鏡をカニューレ534から取り外すことができないようにしている。
図28A、図28Bは、器具アダプタ472の回転ダイヤル488の機能を詳細に示す概略図である。内視鏡554は、上述のようにカニューレ534に挿入される。図28Aに示されるカニューレ回転ダイヤル488は、器具アダプタ472の下部ヨーク474に向かって(方向557へ)軸方向に移動されており、器具アダプタ472の回転防止ピン512が露出している。この位置では、カニューレ回転ダイヤル488は自由に回転できる。図28Bに示されるように、回転ダイヤル488をロックして内視鏡554の回転を防止することが望まれる場合、回転ダイヤル488は、器具アダプタ472の上部ヨーク502に向かって(方向558へ)軸方向に移動することができる。そうすることで、回転ダイヤル488の周りに配置された複数のピン受け490(この図には示されていないが、図27に示されている)の1つが、上部ヨーク502から下方に突出する回転防止ピン512と係合する。ほぼ同時に、ラッチ480L(この図では見えない)が、カニューレ回転ダイヤル488の内側の溝492(この図では見えない)と係合し、ダイヤル488の軸方向の動きを防ぐ。これにより、回転ダイヤル488はピン512によって回転しないように維持されている。回転ダイヤル488を再び回転させるには、回転ダイヤル488を下部ヨーク474に向かって(方向557へ)軸方向に移動させて、回転防止ピン512をピン受け490から外す必要がある。
図29は、手術用器具ホルダ570のさらなる実施形態を概略的に示す。図4、図8、図14の実施形態と同様に、手術用器具ホルダ570は、取り外し可能なキー572を受け入れるように構成されたベース574を有する。ボールコネクタ586がベース574に連結され、ベース574と第1アーム598との間にベースジョイント580Bを形成する。第2アーム654は、中間ジョイント580Mで第1アーム598およびレバー660に連結される。前述の実施形態のように、手術用器具ホルダ570は、第2アーム654の端部に連結された第2のボールコネクタ622を有し、このボールコネクタ622は端部ジョイント580Eでアダプタ578に連結される。この実施形態では、アダプタ578は、内視鏡554を受け入れるカニューレ534を保持および位置決めするように構成される。ボールコネクタ586、622は、調節可能なアーム576にその端部で連結される。この実施形態の調節可能なアーム576は、レバー660がロック解除位置ないしは解放位置にある時、ベースジョイント580B、中間ジョイント580M、および端部ジョイント580Eの周りで回動可能である。図29に示されるレバー660は、ロック位置にある。この実施形態の追加の利点は、レバー660がロック位置または閉じ位置にある時、調節可能なアーム576はベースジョイント580Bおよび中間ジョイント580Mの周りで回動可能ではないが、アダプタ578は締められているものの微調整のために依然として回動可能である点である。この実施形態の調節可能なアーム576、ならびにそれらの組み立ておよび動作は、図30A〜図30F、図31A〜図31B、図32A〜図32B、図33A〜図33Bにおいてさらに詳細に説明される。
図30A〜30Fは、調節可能なアーム576がどのように組み立てられるかを示す一連の分解斜視図である。 図30Aに示すように、接続端部608Cと停止端部608Sを有するテンションロッド608は、最初に接続端部608Cがウエッジ606を通過する。テンションロッド608の停止端部608Sは、テンションロッド608がウエッジ606を完全に通過するのを防ぐような大きさになっている。この実施形態では、停止端部608Sは、本質的に丸みを帯びているか、または球形である。組み立てられたテンションロッド608とウエッジ606は、第1アーム598の先端598Dにおいて収容部600の穴604を上方へと通る。テンションロッド608の接続端608Cは、収容部600から突出する。スペーシングワッシャ602は、収容部600から突出する接続端部608Cの上から配置される。この実施形態では、スペーシングワッシャ602は凸曲面をなす外面603を有する。この外面603は理想的には、球状の停止端部608Sの中心とほぼ一致する組立中心点を共有する。スペーシングワッシャ602の開口は、テンションロッド608が回動できるサイズを有しており、そのため、テンションロッド608によって連結された部品間の相対間隔を変えることなく、第1アーム598が第2アーム654に対して複数の平面において回動できるようになっている。第1ロッド594は、ソケット610の開口596および第1アーム598の内部空洞に滑り込む。ソケット610はネジ切りされており、第1アーム598の基端598Pにある。開口596は第1アーム598の長手軸590とアライメントしている。ロッド594はテーパ状端部594Tを有する。このテーパ状端部594Tは、ウエッジ606を収容部600内に保持するためにウエッジ606に押し付けられる。第1ロッドの基端594Pにはフランジ592がある。ロッド594は、重量軽減と装置全体の改善された洗浄能力を提供する細い部分594Nも有している。ネジ付きソケット610は、リングナット588、ボールコネクタ586、およびリテイナー582を受け入れるように構成されている。ジャムナット588はソケット610に螺合され、これにより、リテイナー582を締め付けることができる範囲が制限される。ボールコネクタ586は、ロッド594の基端594Pに固定されたフランジ592に対峙してソケット610内に配置される。ボールコネクタ586をソケット610内で保持するために、リテイナー582はボールコネクタ586を覆うようにしてソケット610に取り付けられる。リングナット588およびリテーナ582は、ボールコネクタ586をフランジ592に対して保持するために、互いに逆回転し、これにより、ボール596がロッド594に対して所望の圧力を付与された状態でソケット610内で回動できるようにする。ジャムナット588およびリテーナ582の調節の能力は、調節可能なアーム576がロック解除位置にある時に、第1アーム598と第2アーム654との間の調節可能な動き易さを提供する。リテイナー582は、取付部584を通して突出させる開口583を有する。前の実施形態と同様に、取付部584は、ベース(この図には示されていない)に取り付けることができる。
図30Bは、第2ロッド612を示すとともに、それが第2アーム654(図30Cに関して説明する)に挿入される前の事前組み立て工程を示している。 第2ロッド612はテーパ状端部612Tを有する。テーパ状端部612Tには、制限ピン646(図30Cで示す)を受け入れるための穴612Hが形成されている。第2ロッド612は先端612Dにおいて、第2アーム654の最終組立前に、長手方向軸620に沿って皿バネ614のスタック(重ね)、シム616のスタック(重ね)、およびロッドキャップ618を受けるように、構成されている。皿バネ614のスタック、シム616のスタック、およびロッドキャップ618は、図30C〜図30Fに示される後続の組立工程では、緩く保持されるが、かしめや溶接などの他の方法によって、第2ロッド612に固定されてもよい。
図30Cに示すように、図30Bの完全に組み立てられた第2ロッド612が、第2アーム654の先端630に位置する開口628に滑り込み、第2アーム654の内部空洞に滑り込む。開口628は、第2アーム654の長手軸634とアライメントしている。第2ロッド612のテーパ状端部612Tは第2アーム654に十分に深く滑り込み、これにより、ボールコネクタ622と取付部624を有するクイック接続ポート625を、第2アーム654の先端630の底部の穴626内で、開口628の外に配置できるようにする。穴626は、ボールコネクタ622部分を通過させるのに十分大きいが、開口628は、第2ボールコネクタ622が完全に通過するのを制限するのに十分小さい。テーパを有するロッド612は、その先端612Dが、第2アーム654の先端630に向かって移動し、アーム654の穴647を第2ロッド612のテーパ状端部612Tの穴612Hとアライメントする。次に、ピン646を穴647に挿入し、次に第2ロッド612のテーパ状端部612Tの穴612Hに挿入する。穴647は、アーム654にピン646を保持するが、穴612Hの直径はピン646の直径よりも大きいため、テーパをなすロッド612の長手軸634に対する動きが、穴612Hの制限内で可能である。この点については、図31A,31Bに関してさらに詳細に説明するであろう。図30Cに示すように、第2ロッド612の先端612Dは、ボールコネクタ622に乗り、ボールコネクタ622を先端630に保持するのを助ける。レバーアライメントガイド648は、ネジ652を用いて第2アームに連結され、レバーアライメントガイド648を第2アーム654の穴650に固定する。キャッチシールド658に連結されたキャッチ656も、別のネジ652を用いて第2アーム654に取り付けられ、キャッチシールド658を穴651に固定する。この実施形態ではネジが使用されているが、他の固定方法を使用してもよい。ウエッジ640を有するレバーブロック642は、軸645に沿って第2アーム654の穴643内に配置され、ウエッジ640は第2ロッド612のテーパ状端部612Tに乗るように構成される。レバーブロック642は、テンションロッド608の接続端部608Cを受け入れるように構成されたチャネル644を有する。接続端部608Cは、図30Dに示すように、調節可能なアーム576の最終組立前にレバーブロック642の上に突出する。
図30Dは、図29の手術用器具ホルダ570の調節可能なアーム576にレバー660が取り付けられる組立工程を示す。ラッチ670がネジ672でレバー660に取り付けられる。ボールスプリング要素662が、レバー660の穴664に挿入される。レバー660は、レバーピボットピン667および反対側の対応するピンによりレバーブロック642に回動可能に連結される。レバー660は、レバーブロック642のチャンネル644から突出するテンションロッド608の接続端608Cを覆うように配置される。レバーピボットピン667に対向する反対側のレバーピボットピンは、レバーブロック642の凹部671に保持され、図示されているピン667はレバーブロックプレート674(この図には示されていない)の対応する凹部に保持される。穴664および穴668の近傍においてレバー660の下側に位置する開口665は、テンションロッド608の接続端部608Cと嵌合するように構成されている。テンションピボットピン666は、レバー660の穴668を通し、テンションロッド608の接続端部608Cの穴608Hを通して挿入され、レバーブロック642の背部673に当たって保持される。設置されると、テンションピボットピン666は、テンションロッド608がレバー660に対して回動するのを可能にする
図30Eは、レバー660の最終組立工程を示す斜視図である。レバーブロックプレート674がネジ676で取り付けられ、これにより、レバー660を所定の位置に保持し、レバーピボットピン667、テンションピボットピン666、およびボールスプリング要素662を覆う。レバーブロック642およびブロックプレート674の内側は、ガイドスロット642Sを有する。このガイドスロット642Sは、レバー660のロックおよびロック解除の際に、ボールスプリング要素662の端部がガイドスロット642S内を自由に移動できるように構成されている。レバー660を第2のアーム654からさらに離して洗浄位置まで移動させるには、ボールスプリング要素662によって設定される最小の力に打ち勝って、ボールスプリング要素662を圧縮させ、レバーブロック642の背板673とブロックプレート674の内側に位置する洗浄位置凹部669へと移さなければならない。ボールスプリング要素が洗浄位置凹部669にある間、レバー660は、通常のロック解除位置にあるよりも第2アーム654から遠く離れて開かれる。
図30Fは、図30A〜図30Eまでの工程の結果としてのアーム組立体576を、レバー660がロック位置にある状態で示す。ロック位置およびロック解除位置のメカニズム、および様々な器具ホルダのジョイント要素に対する相対的な影響は、例えば図11A〜図11D、図12A〜図12C、図13A〜図13Bにおいて既に記述している。図30Fの実施形態も同様に動作する。図31A〜図31Bは、図30Fの中間ジョイント580Mの一部の断面図であり、レバー660と第2アーム654の間のロック機構がそれぞれロック解除位置およびロック位置にある時の、レバー660、テンションロッド608および第2ロッド612のテーパ状端部612Tの位置を比較する。
図31Aは、調節可能なアーム576の中間ジョイント580Mの断面図であり、第2のアーム654に対するレバー660の位置がロック解除位置ないしは解放位置にある状態を示す。図31Aの状態では、テンションロッド608に張力がかかっていない。レバー660は、レバーピボットピン667の周りを回動する。図31Aの状態では、テンションピボットピン666は、テンションロッド608を下方に押している。これにより、ウエッジ606をロッド594のテーパ状端部594Tからわずかに外すことができ、それにより、ボールコネクタ586(この図には示されていない)へのロッド594のグリップが緩和される。この位置では、レバー660はウエッジ640を押し下げていないため、ウエッジ640とテーパ状端部612Tとの間の圧力も減じられている。それによりボールコネクタ622へのロッド612のグリップが緩和される。また、第1アーム598と第2アーム654との間のスペーシングワッシャ602の圧縮が減じられ、それにより、第1アーム598を第2アーム654に対して回動させることができる。この実施形態では、スペーシングワッシャ602が湾曲面を有しているため、アーム598、654は、同じ平面内または異なる平面内で互いに対して回動することができる。このことから、操作者は、アームおよびボールコネクタ622に連結されたエンドエフェクタを任意の所望の位置に簡単に配置することができる。このロック解除位置では、制限ピン646が第2ロッド612の穴612Hの先端612D側に当たるように、第2ロッド612が方向684に移動しており、ロッド612の端部からの皿バネ614のスタックの圧縮力が減じられている(この図には示されていないが、図32Bに関してさらに説明される)。
図31Bは、調節可能なアーム576の中間ジョイント580Mの断面図であり、第2アーム654に対するレバー660の位置がロック位置ないしは閉じ位置にある状態を示す。アダプタ578および調節可能なアーム576の所望の位置が確立された時に、レバー660は、図31Bの部分断面図に示されるロック状態なるまで絞ることができる。再びレバー660は、レバーピボットピン667の周りで回動し、図31Bの位置では、テンションピボットピン666がテンションロッド608を上方に引っ張り、テンションロッド608を張力が付与された状態にする。テンションロッド608の停止端部608Sが、ウエッジ606をテーパ状端部594Tに向けて引き上げる。これにより、ロッド594を基端側へボールコネクタ586に向けて押し、ボールコネクタ586ひいてはベース574(この図には示されていない)に対して、第1アーム598の位置をロックする。図31Bの位置では、レバー660はウエッジ640を押し下げており、それによりウエッジ640と第2ロッド612のテーパ状端部612Tとの間に圧力を生じさせる。このロック位置では、第2ロッド612は方向680でボールコネクタ622に押し付けられ、制限ピン646はロッド612のテーパ状端部612T側に当たる。第2ロッド612が第2ボールコネクタ622に向かって押され、これにより、第2アーム654に対するアダプタ578(この図には示されていない)の位置を固定するが、動きが前の実施形態と同じ力で制限されるわけではない。制限ピン646のこの制限機能は、第2ロッド612の反対側の端部の皿バネ614のスタック(図32A〜図32Bおよび図33A〜図33Bに示す)と組み合わせることにより、第2アーム654構成要素への圧力を、第1アーム598構成要素への圧力に比べて低減させる。これにより、第1アーム598と第2アーム654が互いに対してロックされる時、アダプタ578(図31Bには図示せず)のいくらかの微調節を可能にする。この1つのレバー660は、第2アームに対するアダプタ578の若干の微調節を可能にしつつ、レバー660を片手で絞るだけでベースに対してアダプタ578を効果的にロックすることができる。再び片手でレバーを絞ると、3つの異なるジョイント(ベースジョイント580B、第1アームと第2アーム間の中間ジョイント580M、および端部ジョイント580E)が一緒に開放され、もう一方の手でアダプタ578を自由に位置決めできる。これは、従来技術に対する極めて有効な改善である。また、従来技術に比べて自由度が高くなり、装置全体をロックまたはロック解除するために必要なのは単一の絞りだけである。
図32A〜図32Bは、レバー660がロック解除位置にある時の皿バネ614のスタックの位置を示している。図32Aは、調節可能なアーム576の側断面図であり、レバー660が開き位置ないしはロック解除位置にある状態を示している。 図32Bは、ロック解除位置における皿バネ614のスタックの状態を拡大して示す要部の側断面図である。レバー660がロック解除位置にあるとき、第2ロッド612は端部ジョイント580Eに向かって押されず、したがって、ロッドキャップ618および第2ロッド612の先端612Dは、皿バネ614をロッドキャップ618に向かって押していない。これにより、皿バネ614のスタックが弛緩した自由状態にある。そのため、第2ボールコネクタ622の自由な動きが可能になり、手術用器具ホルダ570に取り付けられたアダプタ578を第2アーム654に対して自由に動かすことができる。
図33A〜図33Bは、レバー660がロック位置にある時の皿バネ614のスタックの位置を示している。図33Aは、調節可能なアーム576の側断面図であり、レバー660が閉じ位置ないしはロック位置にある状態を示している。図33Bは、皿バネ614のスタックの状態を拡大して示す要部の側断面図である。レバー660がロック位置にあるとき、第2ロッド612は端部ジョイント580Eに向かって押され、そのため、ロッド612は、先端側へ方向680へ、皿バネ614を押す。皿バネ614は、ロッドキャップ618を押し、ロッドキャップ618をボールコネクタ622に押し付ける。この状態では、皿バネ614のスタックは圧縮状態にある。皿バネのこの圧縮状態は、第2ボールコネクタ622の動きを制限するが、第2ボールコネクタ622の動きは、皿バネ614のスタックを含まない実施形態ほど制限されない。これにより、手術用器具ホルダ570がロック状態にある間に、第2アーム654に対して第2ボールコネクタ622に取り付けられたアダプタ578を微調節可能に動かすことができる。微調節の容易さは、皿バネ614によって決定できる。より硬いバネは微調節のためにより大きな力を必要とし、柔らかいバネ614はより少ない力での微調節を可能にする。いったん移動すると、アダプタ578は操作者が望む位置に維持される。皿バネ614のスタック内の個々の皿バネの剛性は、ロック位置で所望の力の力を提供し、調節可能なアームにおけるレバー660がロック位置にある時に、アダプタ578とベース574との間の制限された相対運動を許容する。
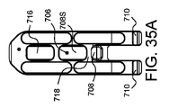
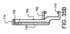
図34は、図4、図8、図14、図18、図29の手術用具ホルダと共に使用するためのベースの実施形態の右側面図である。ベース574は、ベース本体704と取り外し可能なキー572を有する。取り外し可能なキーは、ベース本体704のスクリュードライブ714と接合するギア712を有する。スクリュードライブ714は、上部クランプシャフト708S(この図には示されていない)内のスクリューネジを駆動させて、ベース本体704に連結された一対の下部クランプジョー710に対して上部クランプジョー708を上下させる。ストップピン706が上部クランプジョー708に取り付けられており、これによりストップピン706が干渉フィーチャ(図35Aに示される)と相互作用して、ベース本体704に沿うスクリュードライブ716の移動を制限する。
図35A〜図35Fは、図34のベースの正面図、右側面図、左側面図、背面図、平面図、および底面図である。図35Aの平面図に示されるように、ベース574は上部ジョーシャフト708Sを有する。この上部ジョーシャフト708Sは、上部クランプジョー708に連結され、スクリューネジ(この図には示されていない)に取り付けられている。上部クランプジョー708と上部ジョーシャフト708Sは、下部クランプジョー710に向かったり離れたりスライド可能に移動する。図34に示される取り外し可能なキー572のギア712は、スクリュードライブ714(図34Eに示す)に挿入されており、スクリューネジを回すことにより、ベース本体704に連結された下部クランプジョー710に対して上部クランプジョー708を上下させるようになっている。ベースは、干渉フィーチャ718を有する。干渉フィーチャ718は、上部ジョー708の移動を制限することによって、ジョー708、710の開き可能な範囲を制限する。干渉フィーチャは、ストップピン706とも接触し、ジョー708、710の閉じ可能な範囲を制限する。図35B、図35Cは、ベース本体704の右側および左側の両方にあるアームマウント722を示しており、このアームマウント722に調節可能なアーム576のセットが取り付けられる。ベース574は、手術台の付属レールにクランプされる。この実施形態ではネジ式クランプが使用されるが、本明細書に記載の手術用器具ホルダでは、ベースを固定または取り付ける他の方法を用いてもよい。
図36A〜図36Bは、図34、図35A〜図35Fのベース574に取り付けられる図29の手術用器具ホルダ570の斜視図である。ベース574は手術台728に取り付けられる。図36Aは、図29の手術用器具ホルダ570のベース574が、手術用ドレープ729で覆われた手術台728の付属レール726に、どのように取り付けられるかを示す。下部クランプジョー710は、付属レール726の下に引っ掛けられ、上部クランプジョー708が下部クランプジョー710と垂直にアライメントして付属レールに引っかかる位置になるまで、方向730に回動する。図36Aに示す実施形態は、図29に関して説明したように調節可能なアーム576を有する。調節可能なアーム576は、第1アーム598、第2アーム654、レバー660を有するとともに、外科処置のためのアダプタおよび手術用器具を接続し位置決めするための取付部624またはアダプタ578(この図には示されていない)を有する。この手術用器具ホルダ570と共にこのベース574を利用する利点は、手術用ドレープ729を取り外したり再配置したりすることなく、ドレープ729の上から付属レール726に直接クランプできることである。これは、器具ホルダや類似の装置の他の方法よりも改善されている。上部クランプジョー708および下部クランプジョー710が付属レール726の所望の水平位置に配置されると、取り外し可能なキー572を時計回り方向742に回してスクリューネジ716と係合し、上部クランプジョー708を下部クランプジョー710に近づける。これにより、図36Bに示すように、ベース574ひいては外科手術用器具ホルダ570全体が、付属レールにしっかりと取り付けられる。ベースがクランプされると、ノブまたはキー572は、手術用器具ホルダ570の取り外しが必要になるまで、無菌の場所に保管することができる。クランプするベースを図示しているが、ベース574を手術台728の付属レール726にクランプまたは取り付ける他の方法も採用可能である。
図37A〜図37Bは、図29の手術用器具ホルダと共に使用するための器具アダプタ744、762の他の実施形態の斜視図である。図37Aは、本体746を備えたアダプタ744を示す。本体746はチャンネル(この図では図示せず)を有し、このチャンネルは、クイック接続ポート625(ここでは図示せず)にスライド可能に係合でき、図21で説明した器具アダプタ472と同様のレバー748でロックすることができる。上部アーム754および下部アーム756が所望の位置に調節されると、ノブ750を用いて関節ヒンジ752を締め付けることにより、さらなる位置調節を達成することができる。上部アクセサリ取付点758は上部アーム754の端部に位置し、下部アクセサリ取付点760は下部アーム756の端部に位置する。このタイプのアダプタは、例えば、図38に鏡像744Mとして示されるように、上アーム754と下アーム756の代替配置で構成されていてもよい。図37Bは、図37Aに示されるアダプタ744と同様のアダプタ762を示す。アダプタ762は本体766を備え、この本体766には、アダプタ762の先端766Dにおいてロックレバー764が設けられ、アダプタ766の基端766Pにおいて単一のアクセサリ取付点768が設けられている。
図38は、図29の手術用器具ホルダ570と共に用いられる縫合(縫合糸)管理システム772とリブリトラクタ(肋骨開創器)776の斜視図である。適切な縫合糸管理システムは、ニューヨーク州ビクターのLSI Solutions、Inc.(lsisolutions.com)のRAM(登録商標)Ringである。図27Aのアダプタ744の鏡像として示されるアダプタ744Mは、手術用器具ホルダ570に接続されるように構成されている。外科用リブリトラクタ776は、アダプタ744の上部アクセサリ取付点758に取り付けられる。適切なリブリトラクタは、ニューヨーク州ビクターのLSI Solutions、Inc.(lsisolutions.com)の3D(登録商標)Retractorである。外科用リブリトラクタ776は2つの調節可能なアームユニット782を有する。アームユニット782の各々は、肋骨を受け肋骨を広げ、最小侵襲性外科処置中に、患者の胸腔へのより多くのアクセスを提供する。縫合糸管理のための装置772は、ボルト774によってアダプタ744の下部アクセサリ取付点760(この図では見えない)に取り付けられている。縫合糸管理のための装置772は3つのセグメント780を含み、これらセグメント780は、外科手術中に縫合糸(ここでは図示せず)を保持し管理するように構成されている。サポート778がセグメント780のそれぞれに連結されている。このサポート778は、低侵襲外科手術中に縫合糸管理のための装置772を支持する。アダプタ744、762と組み合わされた手術用器具ホルダの回動可能な関節は、低侵襲外科処置中において切開部位の周りの手術器具の正確な位置のための微調節可能な位置決めシステムを、外科チームに提供する。これらのアダプタには、機械的ヒンジとボルト締めされた機械的接続が示されているが、他のタイプのヒンジ、ファスナー、または取り付け方法を使用することもできる。
図39は、図29の手術用器具ホルダ570と共に使用するためのディスプレイマウントアダプタ784の斜視図である。ディスプレイマウントアダプタ784は、ネジ(ここでは図示せず)により互いに固定された上部ヨーク794と下部ヨーク796を有する。ディスプレイマウントアダプタ784は、クイック接続ポート625(ここでは図示せず)にスライド可能に係合し、図21に関して説明した器具アダプタ472と同様にレバー786でロックされる。上部ヨーク794と下部ヨーク796は、チャンネル788を画成する。このチャンネル788は、手術用器具ホルダ570に連結されたクイック接続ポート625を受け入れる。ネジ付きポスト(ここでは図示せず)を有するディスプレイボールコネクタ790は、ディスプレイマウントアダプタ784に取り付けられ、ナット792を用いて締め付けられるが、溶接、かしめなどの他の固定方法を用いてもよい。
図40A〜図40Bは、図39のディスプレイマウントアダプタに取り付けられたディスプレイの斜視図である。ディスプレイアダプタ797は、ディスプレイボールコネクタ790に事前に組み付けられたピボットナット800を備えている。このピボットナット800は、マウントプレート802の背面に配置されたネジ部材(この図では示さない)に固定されている。このピボットナット800が締め付けられるまでは、マウントプレート802ひいてはディスプレイ798全体が、ディスプレイボールコネクタ790において、自由に回動できる。マウントプレート802は、いくつかのマウントボルト803を用いてディスプレイマウント804に取り付けられている。ディスプレイマウント804は、ディスプレイホルダ806を有する。ディスプレイホルダ806は、2つの調節可能なディスプレイアーム808を有する。ディスプレイアーム808の終端には、ディスプレイ798を確実に保持するように構成されたディスプレイグリップ810が配置されている。調節可能なディスプレイアーム808は、互いに反対側において移動可能かつロック可能に構成されており、これにより、タブレット、デバイス、またはモニターなどの搭載ディスプレイ798を確実に保持するようになっている。搭載ディスプレイ798は、外科手術中に内視鏡または他のビデオ取得装置からの出力を見るために用いられる。ディスプレイアダプタ797とディスプレイ798を手術用器具ホルダ570と共に使用することにより、低侵襲性外科処置中に便利で望ましい場所にディスプレイ798を配置するための多くの自由度を提供することができる。
図41は、3つの図29の手術用器具ホルダ570の斜視図である。これら手術用器具ホルダは、手術台728に取り付けられ、患者812に対する低侵襲外科手術中に使用するために異なるアダプタおよびこのアダプタに取り付けられた器具を装備している。1つの手術用器具ホルダ570は、図29に関して記述したものと似たカニューレ534および内視鏡を保持するように構成されている。別の手術用器具ホルダ570は、図38に示た縫合糸管理のための装置772と外科用リブリトラクタ776を保持するように構成される。3番目の手術用器具ホルダ570は、図40A、図40Bに関して記述したディスプレイマウントアダプタ784とディスプレイ798を保持するように構成される。3つの手術用器具ホルダ570は、手術台728の付属レール726に取り付けられ、各手術用器具ホルダ570のベース574は、それぞれの器具ホルダ570を手術用ドレープ729上からクランプする。
手術用器具ホルダのさまざまな利点については述べた。本明細書で説明した実施形態は、例として説明されている。前述の詳細な開示は、例としてのみ提示することを意図しており限定するものではないことは、当業者には明らかであろう。 ほんの一例として説明したエンドエフェクタはスコープの使用に焦点を合わせていることが多かったが、そのようなシステムは、他の種類の手術器具を位置決めするために用いることができる。本明細書では明示的に述べられていないが、様々な変更、改善、および修正が当業者に意図されるが、これらの変更、改善、および修正は、本明細書に示唆されており、請求される発明の精神および範囲内にある。本明細書に含まれる図面は必ずしも縮尺通りに描かれていない。加えて、要素またはシーケンスの記述順序、または数字、文字、またはその他の指定の使用は、特許請求の範囲で指定されている場合を除き、いかなる順序に限定することを意図しない。本発明は、特許請求の範囲およびその均等物によってのみ制限される。

Claims (38)

  1. ベースに対して回動可能な第1アームと、
    第1アームに対して回動可能に連結された第2アームと、
    第2アームに対して回動可能なエンドエフェクタと、
    ロック位置とロック解除位置との間で動くことができるレバーと、
    を備え、前記レバーは、
    a)前記レバーがロック位置にある時に、前記第1アームが前記ベースに対して回転せず、前記第2アームが前記第1アームに対して回転せず、
    b)前記レバーがロック解除位置にある時に、前記第1アームが前記ベースに対して回動することができ、前記第2アームが前記第1アームに対して回動することができ、前記エンドエフェクタが前記第2アームに対して回動することができるように、
    構成されている、手術用器具ホルダ。
  2. 前記レバーがロック位置にある時に、前記エンドエフェクタが前記第2アームに対して回動しない、請求項1に記載の手術用器具ホルダ。
  3. 前記レバーがロック位置にある時、前記エンドエフェクタが前記第2アームに対して回動することができる、請求項1に記載の手術用器具ホルダ。
  4. 前記レバーに連結されたスプリングをさらに備える、請求項1に記載の手術用器具ホルダ。
  5. 前記レバーは、前記レバーが前記第2アームに向かって押された時にロック解除位置になるように構成される、請求項4に記載の手術用器具ホルダ。
  6. 前記レバーは、前記レバーが押されていない時にロック位置になるように構成されている、請求項4に記載の手術用器具ホルダ。
  7. さらに、前記第1アーム、前記第2アーム、および前記レバーと連携するテンションロッドと、
    凸面状の外面を有するスペーシングワッシャと、
    を備える、請求項1に記載の手術用器具ホルダ。
  8. 前記テンションロッドは、球状の停止端部をさらに備え、前記スペーシングワッシャは、前記テンションロッドの前記球状の停止端部の中心とほぼ一致する組立中心点を共有する、請求項7に記載の手術用器具ホルダ。
  9. 前記テンションロッドの前記球状の停止端部は、前記第1アーム内のウェッジに圧力を加えるように構成されている、請求項8に記載の手術用器具ホルダ。
  10. 前記レバーに連結されたラッチと前記第2アームに連結されたキャッチとを含むロック機構をさらに備える、請求項1に記載の手術用器具ホルダ。
  11. 前記レバーを前記第2アームに向かって動かすことにより、前記ロック機構が係合するように構成されている、請求項10に記載の手術用器具ホルダ。
  12. 前記ロック位置にある時に、前記レバーを前記第2アームに向かって動かすことにより、前記ロック機構が係合解除されるように構成されている、請求項10に記載の手術用器具ホルダ。
  13. 前記レバーに回動可能に連結されたウェッジを有するレバーブロックをさらに備える、請求項10に記載の手術用器具ホルダ。
  14. 前記第1アームおよび前記第2アームは、洗浄のためのアクセスを提供するように構成された1つ以上のスロットをさらに有する、請求項1に記載の手術用器具ホルダ。
  15. 前記レバーは、スプリング要素の作用によって洗浄位置に移動可能である、請求項1に記載の手術用器具ホルダ。
  16. .
    前記第1アームがジャムナットをさらに備える、請求項1に記載の手術用器具ホルダ。
  17. 前記第1アームが保持リングをさらに備える、請求項1に記載の手術用器具ホルダ。
  18. 前記第1アームが内部ロッドをさらに備える、請求項1に記載の手術用器具ホルダ。
  19. 前記内部ロッドが細い部分をさらに備える、請求項18に記載の手術用器具ホルダ。
  20. 前記内部ロッドがテーパ状端部をさらに備える、請求項18に記載の手術用器具ホルダ。
  21. 前記第2アームが内側ロッドをさらに備える、請求項1に記載の手術用器具ホルダ。
  22. 前記内側ロッドが細い部分をさらに備える、請求項21に記載の手術用器具ホルダ。
  23. 前記内側ロッドがテーパ状端部をさらに備える、請求項21に記載の手術用器具ホルダ。
  24. 前記第2アームの前記内側ロッドの基端に制限ピンをさらに備える、請求項23に記載の手術用器具ホルダ。
  25. 前記第2アームの前記内側ロッドの先端に皿バネのスタックをさらに備える、請求項23に記載の手術用器具ホルダ。
  26. 前記ベースは、取り外し可能なキー、上部ジョー、および下部ジョーをさらに備える、請求項1に記載の手術用器具ホルダ。
  27. 前記ベースが手術台の付属レールにクランプ可能である、請求項26に記載の手術用器具ホルダ。
  28. 前記エンドエフェクタに連結される器具アダプタをさらに備える、請求項1に記載の手術用器具ホルダ。
  29. 回転ダイヤルをさらに備える、請求項28に記載の器具アダプタ。
  30. ラッチとバネを有するラッチ機構をさらに備える、請求項28に記載の器具アダプタ。
  31. レバーとカムを有するロック機構をさらに備える、請求項28に記載の器具アダプタ。
  32. 前記器具アダプタに連結されたスコープポートカニューレをさらに備える、請求項28に記載の手術用器具ホルダ。
  33. 前記スコープポートカニューレに挿入される内視鏡をさらに備える、請求項32に記載の手術用器具ホルダ。
  34. 前記スコープポートカニューレに挿入されるオブチュレータをさらに備える、請求項32に記載の手術用器具ホルダ。
  35. 前記器具アダプタに連結されるリブリトラクタをさらに備える、請求項28に記載の手術用器具ホルダ。
  36. 前記器具アダプタに連結される縫合糸管理のための装置をさらに備える、請求項28に記載の手術用器具ホルダ。
  37. 前記器具アダプタに連結されるディスプレイをさらに備える、請求項28に記載の手術用器具ホルダ。
  38. a)ベースに対して回動可能な第1アームと、
    b)第1アームに回動可能に連結された第2アームと、
    c)第2のアームに対して回動可能なエンドエフェクタであって、内視鏡、リブリトラクタ、縫合糸管理装置、ディスプレイおよびそれらの組み合わせからなる群の1つに連結されるエンドエフェクタと、
    d)ロック位置とロック解除位置の間で移動可能なレバーであって、
    i)前記ロック位置にある時に、前記第1アームが前記ベースに対して回動せず、前記第2アームが前記第1アームに対して回動せず、前記エンドエフェクタが前記第2アームに対して回動せず、
    ii)前記ロック解除位置にある時に、前記第1アームが前記ベースに対して回動でき、前記第2アームが前記第1アームに対して回動でき、前記エンドエフェクタが第2アームに対して回動できるように構成されたレバーと、
    e)前記第1アーム、前記第2アームおよび前記レバーと連携し球状の停止端部を有するテンションロッドと、
    f)凸面形状の外面を有し、この外面が前記テンションロッドの前記球状の停止端部の中心とほぼ一致する組立中心点を共有するように構成されたスペーシングワッシャと、
    g)前記レバーに連結されたラッチと、前記第2アームに連結されたキャッチとを有するロック機構と、
    を備え、前記ロック機構が、
    i)前記レバーを前記第2アームに向かって動かすことにより、係合され、
    ii)前記ロック位置にある時に、前記レバーを前記第2アームに向かって動かすことにより、係合解除されるように構成されている、手術用器具ホルダ。
JP2019558765A 2017-05-17 2018-05-17 手術用器具ホルダ Active JP6955032B2 (ja)

Applications Claiming Priority (7)

Application Number Priority Date Filing Date Title
US201762507724P 2017-05-17 2017-05-17
US62/507,724 2017-05-17
US201762526329P 2017-06-28 2017-06-28
US62/526,329 2017-06-28
USPCT/US2018/030846 2018-05-03
PCT/US2018/030846 WO2018204612A1 (en) 2017-05-03 2018-05-03 Surgical equipment holder
PCT/US2018/033288 WO2018204937A2 (en) 2017-05-03 2018-05-17 Surgical equipment holder

Publications (2)

Publication Number Publication Date
JP2020519327A true JP2020519327A (ja) 2020-07-02
JP6955032B2 JP6955032B2 (ja) 2021-10-27

Family

ID=71140157

Family Applications (1)

Application Number Title Priority Date Filing Date
JP2019558765A Active JP6955032B2 (ja) 2017-05-17 2018-05-17 手術用器具ホルダ

Country Status (1)

Country Link
JP (1) JP6955032B2 (ja)

Cited By (3)

* Cited by examiner, † Cited by third party
Publication number Priority date Publication date Assignee Title
JP2022109478A (ja) * 2021-01-15 2022-07-28 三鷹光器株式会社 マウススイッチの取付構造
JP2024501320A (ja) * 2020-12-29 2024-01-11 アイシス メディツィンテクニック ゲーエムベーハー 位置決めアーム
JP2024106947A (ja) * 2023-01-27 2024-08-08 アイエムジーティー カンパニー リミテッド 超音波ヘッド用ポジショニングアーム装置

Citations (2)

* Cited by examiner, † Cited by third party
Publication number Priority date Publication date Assignee Title
JP2843507B2 (ja) * 1994-08-09 1999-01-06 三鷹光器株式会社 関節式器具保持アーム
WO2016160272A1 (en) * 2015-03-27 2016-10-06 Sonitrack Systems, Inc. Rapidly repositionable powered support arm

Patent Citations (2)

* Cited by examiner, † Cited by third party
Publication number Priority date Publication date Assignee Title
JP2843507B2 (ja) * 1994-08-09 1999-01-06 三鷹光器株式会社 関節式器具保持アーム
WO2016160272A1 (en) * 2015-03-27 2016-10-06 Sonitrack Systems, Inc. Rapidly repositionable powered support arm

Cited By (8)

* Cited by examiner, † Cited by third party
Publication number Priority date Publication date Assignee Title
JP2024501320A (ja) * 2020-12-29 2024-01-11 アイシス メディツィンテクニック ゲーエムベーハー 位置決めアーム
JP7789399B2 (ja) 2020-12-29 2025-12-22 アイシス メディツィンテクニック ゲーエムベーハー 位置決めアーム
JP2022109478A (ja) * 2021-01-15 2022-07-28 三鷹光器株式会社 マウススイッチの取付構造
JP7523798B2 (ja) 2021-01-15 2024-07-29 三鷹光器株式会社 マウススイッチの取付構造
JP2024106947A (ja) * 2023-01-27 2024-08-08 アイエムジーティー カンパニー リミテッド 超音波ヘッド用ポジショニングアーム装置
JP7554440B2 (ja) 2023-01-27 2024-09-20 アイエムジーティー カンパニー リミテッド 超音波ヘッド用ポジショニングアーム装置
US12109067B2 (en) 2023-01-27 2024-10-08 Imgt Co., Ltd. Positioning arm apparatus for ultrasound head
US12564376B2 (en) 2023-01-27 2026-03-03 Imgt Co., Ltd. Positioning arm apparatus for ultrasound head

Also Published As

Publication number Publication date
JP6955032B2 (ja) 2021-10-27

Similar Documents

Publication Publication Date Title
CA3062332C (en) Surgical equipment holder
EP2163216B1 (en) Medical instrument
US10624671B2 (en) Trocar attachment devices and methods
US20160113732A1 (en) Surgical tool
JP5058165B2 (ja) 骨構造を最小侵襲で安定させるための器具
US10702257B2 (en) Positioning device for use with surgical instruments
JP6955032B2 (ja) 手術用器具ホルダ
US20080103491A1 (en) Manipulator for medical use
KR20100071978A (ko) 외과 수술용 기구
JP7528190B2 (ja) 手術機器ホルダー用ドック
WO1998027860A2 (en) Suture needle grasping and manipulating device
WO2017011042A1 (en) Surgical tool
JP2020025857A (ja) 回転ノブアセンブリおよびそれを含む外科用器具
JP2018535751A (ja) 外科用デバイスと使用するためのマルチヘッドレポジトリ
US20180177499A1 (en) Surgical rib retractor
US9480466B2 (en) Surgical device and linkage system for same
US20060079864A1 (en) Instrument support apparatus
US11103126B2 (en) Surgical equipment holder
HK1150525A (en) Surgical instrument
HK1145430A (en) Surgical instrument

Legal Events

Date Code Title Description
A521 Request for written amendment filed

Free format text: JAPANESE INTERMEDIATE CODE: A523

Effective date: 20200106

A621 Written request for application examination

Free format text: JAPANESE INTERMEDIATE CODE: A621

Effective date: 20200513

A131 Notification of reasons for refusal

Free format text: JAPANESE INTERMEDIATE CODE: A131

Effective date: 20210406

A601 Written request for extension of time

Free format text: JAPANESE INTERMEDIATE CODE: A601

Effective date: 20210702

A521 Request for written amendment filed

Free format text: JAPANESE INTERMEDIATE CODE: A523

Effective date: 20210721

TRDD Decision of grant or rejection written
A01 Written decision to grant a patent or to grant a registration (utility model)

Free format text: JAPANESE INTERMEDIATE CODE: A01

Effective date: 20210928

A61 First payment of annual fees (during grant procedure)

Free format text: JAPANESE INTERMEDIATE CODE: A61

Effective date: 20210930

R150 Certificate of patent or registration of utility model

Ref document number: 6955032

Country of ref document: JP

Free format text: JAPANESE INTERMEDIATE CODE: R150

R250 Receipt of annual fees

Free format text: JAPANESE INTERMEDIATE CODE: R250

R250 Receipt of annual fees

Free format text: JAPANESE INTERMEDIATE CODE: R250