JP2020134871A - 表示装置及び表示装置の製造方法 - Google Patents
表示装置及び表示装置の製造方法 Download PDFInfo
- Publication number
- JP2020134871A JP2020134871A JP2019031717A JP2019031717A JP2020134871A JP 2020134871 A JP2020134871 A JP 2020134871A JP 2019031717 A JP2019031717 A JP 2019031717A JP 2019031717 A JP2019031717 A JP 2019031717A JP 2020134871 A JP2020134871 A JP 2020134871A
- Authority
- JP
- Japan
- Prior art keywords
- liquid crystal
- light
- substrate
- crystal display
- display panel
- Prior art date
- Legal status (The legal status is an assumption and is not a legal conclusion. Google has not performed a legal analysis and makes no representation as to the accuracy of the status listed.)
- Pending
Links
Images
Classifications
-
- G—PHYSICS
- G02—OPTICS
- G02F—OPTICAL DEVICES OR ARRANGEMENTS FOR THE CONTROL OF LIGHT BY MODIFICATION OF THE OPTICAL PROPERTIES OF THE MEDIA OF THE ELEMENTS INVOLVED THEREIN; NON-LINEAR OPTICS; FREQUENCY-CHANGING OF LIGHT; OPTICAL LOGIC ELEMENTS; OPTICAL ANALOGUE/DIGITAL CONVERTERS
- G02F1/00—Devices or arrangements for the control of the intensity, colour, phase, polarisation or direction of light arriving from an independent light source, e.g. switching, gating or modulating; Non-linear optics
- G02F1/01—Devices or arrangements for the control of the intensity, colour, phase, polarisation or direction of light arriving from an independent light source, e.g. switching, gating or modulating; Non-linear optics for the control of the intensity, phase, polarisation or colour
- G02F1/13—Devices or arrangements for the control of the intensity, colour, phase, polarisation or direction of light arriving from an independent light source, e.g. switching, gating or modulating; Non-linear optics for the control of the intensity, phase, polarisation or colour based on liquid crystals, e.g. single liquid crystal display cells
- G02F1/1306—Details
- G02F1/1309—Repairing; Testing
-
- G—PHYSICS
- G02—OPTICS
- G02F—OPTICAL DEVICES OR ARRANGEMENTS FOR THE CONTROL OF LIGHT BY MODIFICATION OF THE OPTICAL PROPERTIES OF THE MEDIA OF THE ELEMENTS INVOLVED THEREIN; NON-LINEAR OPTICS; FREQUENCY-CHANGING OF LIGHT; OPTICAL LOGIC ELEMENTS; OPTICAL ANALOGUE/DIGITAL CONVERTERS
- G02F1/00—Devices or arrangements for the control of the intensity, colour, phase, polarisation or direction of light arriving from an independent light source, e.g. switching, gating or modulating; Non-linear optics
- G02F1/01—Devices or arrangements for the control of the intensity, colour, phase, polarisation or direction of light arriving from an independent light source, e.g. switching, gating or modulating; Non-linear optics for the control of the intensity, phase, polarisation or colour
- G02F1/13—Devices or arrangements for the control of the intensity, colour, phase, polarisation or direction of light arriving from an independent light source, e.g. switching, gating or modulating; Non-linear optics for the control of the intensity, phase, polarisation or colour based on liquid crystals, e.g. single liquid crystal display cells
- G02F1/133—Constructional arrangements; Operation of liquid crystal cells; Circuit arrangements
- G02F1/1333—Constructional arrangements; Manufacturing methods
- G02F1/133305—Flexible substrates, e.g. plastics, organic film
-
- G—PHYSICS
- G02—OPTICS
- G02F—OPTICAL DEVICES OR ARRANGEMENTS FOR THE CONTROL OF LIGHT BY MODIFICATION OF THE OPTICAL PROPERTIES OF THE MEDIA OF THE ELEMENTS INVOLVED THEREIN; NON-LINEAR OPTICS; FREQUENCY-CHANGING OF LIGHT; OPTICAL LOGIC ELEMENTS; OPTICAL ANALOGUE/DIGITAL CONVERTERS
- G02F1/00—Devices or arrangements for the control of the intensity, colour, phase, polarisation or direction of light arriving from an independent light source, e.g. switching, gating or modulating; Non-linear optics
- G02F1/01—Devices or arrangements for the control of the intensity, colour, phase, polarisation or direction of light arriving from an independent light source, e.g. switching, gating or modulating; Non-linear optics for the control of the intensity, phase, polarisation or colour
- G02F1/13—Devices or arrangements for the control of the intensity, colour, phase, polarisation or direction of light arriving from an independent light source, e.g. switching, gating or modulating; Non-linear optics for the control of the intensity, phase, polarisation or colour based on liquid crystals, e.g. single liquid crystal display cells
- G02F1/133—Constructional arrangements; Operation of liquid crystal cells; Circuit arrangements
- G02F1/1333—Constructional arrangements; Manufacturing methods
- G02F1/1335—Structural association of cells with optical devices, e.g. polarisers or reflectors
- G02F1/133509—Filters, e.g. light shielding masks
- G02F1/133512—Light shielding layers, e.g. black matrix
-
- G—PHYSICS
- G02—OPTICS
- G02F—OPTICAL DEVICES OR ARRANGEMENTS FOR THE CONTROL OF LIGHT BY MODIFICATION OF THE OPTICAL PROPERTIES OF THE MEDIA OF THE ELEMENTS INVOLVED THEREIN; NON-LINEAR OPTICS; FREQUENCY-CHANGING OF LIGHT; OPTICAL LOGIC ELEMENTS; OPTICAL ANALOGUE/DIGITAL CONVERTERS
- G02F1/00—Devices or arrangements for the control of the intensity, colour, phase, polarisation or direction of light arriving from an independent light source, e.g. switching, gating or modulating; Non-linear optics
- G02F1/01—Devices or arrangements for the control of the intensity, colour, phase, polarisation or direction of light arriving from an independent light source, e.g. switching, gating or modulating; Non-linear optics for the control of the intensity, phase, polarisation or colour
- G02F1/13—Devices or arrangements for the control of the intensity, colour, phase, polarisation or direction of light arriving from an independent light source, e.g. switching, gating or modulating; Non-linear optics for the control of the intensity, phase, polarisation or colour based on liquid crystals, e.g. single liquid crystal display cells
- G02F1/133—Constructional arrangements; Operation of liquid crystal cells; Circuit arrangements
- G02F1/135—Liquid crystal cells structurally associated with a photoconducting or a ferro-electric layer, the properties of which can be optically or electrically varied
-
- G—PHYSICS
- G02—OPTICS
- G02F—OPTICAL DEVICES OR ARRANGEMENTS FOR THE CONTROL OF LIGHT BY MODIFICATION OF THE OPTICAL PROPERTIES OF THE MEDIA OF THE ELEMENTS INVOLVED THEREIN; NON-LINEAR OPTICS; FREQUENCY-CHANGING OF LIGHT; OPTICAL LOGIC ELEMENTS; OPTICAL ANALOGUE/DIGITAL CONVERTERS
- G02F1/00—Devices or arrangements for the control of the intensity, colour, phase, polarisation or direction of light arriving from an independent light source, e.g. switching, gating or modulating; Non-linear optics
- G02F1/01—Devices or arrangements for the control of the intensity, colour, phase, polarisation or direction of light arriving from an independent light source, e.g. switching, gating or modulating; Non-linear optics for the control of the intensity, phase, polarisation or colour
- G02F1/13—Devices or arrangements for the control of the intensity, colour, phase, polarisation or direction of light arriving from an independent light source, e.g. switching, gating or modulating; Non-linear optics for the control of the intensity, phase, polarisation or colour based on liquid crystals, e.g. single liquid crystal display cells
- G02F1/133—Constructional arrangements; Operation of liquid crystal cells; Circuit arrangements
- G02F1/136—Liquid crystal cells structurally associated with a semi-conducting layer or substrate, e.g. cells forming part of an integrated circuit
- G02F1/1362—Active matrix addressed cells
- G02F1/136259—Repairing; Defects
-
- G—PHYSICS
- G02—OPTICS
- G02F—OPTICAL DEVICES OR ARRANGEMENTS FOR THE CONTROL OF LIGHT BY MODIFICATION OF THE OPTICAL PROPERTIES OF THE MEDIA OF THE ELEMENTS INVOLVED THEREIN; NON-LINEAR OPTICS; FREQUENCY-CHANGING OF LIGHT; OPTICAL LOGIC ELEMENTS; OPTICAL ANALOGUE/DIGITAL CONVERTERS
- G02F1/00—Devices or arrangements for the control of the intensity, colour, phase, polarisation or direction of light arriving from an independent light source, e.g. switching, gating or modulating; Non-linear optics
- G02F1/01—Devices or arrangements for the control of the intensity, colour, phase, polarisation or direction of light arriving from an independent light source, e.g. switching, gating or modulating; Non-linear optics for the control of the intensity, phase, polarisation or colour
- G02F1/13—Devices or arrangements for the control of the intensity, colour, phase, polarisation or direction of light arriving from an independent light source, e.g. switching, gating or modulating; Non-linear optics for the control of the intensity, phase, polarisation or colour based on liquid crystals, e.g. single liquid crystal display cells
- G02F1/133—Constructional arrangements; Operation of liquid crystal cells; Circuit arrangements
- G02F1/135—Liquid crystal cells structurally associated with a photoconducting or a ferro-electric layer, the properties of which can be optically or electrically varied
- G02F1/1351—Light-absorbing or blocking layers
-
- G—PHYSICS
- G02—OPTICS
- G02F—OPTICAL DEVICES OR ARRANGEMENTS FOR THE CONTROL OF LIGHT BY MODIFICATION OF THE OPTICAL PROPERTIES OF THE MEDIA OF THE ELEMENTS INVOLVED THEREIN; NON-LINEAR OPTICS; FREQUENCY-CHANGING OF LIGHT; OPTICAL LOGIC ELEMENTS; OPTICAL ANALOGUE/DIGITAL CONVERTERS
- G02F2201/00—Constructional arrangements not provided for in groups G02F1/00 - G02F7/00
- G02F2201/50—Protective arrangements
- G02F2201/506—Repairing, e.g. with redundant arrangement against defective part
Landscapes
- Physics & Mathematics (AREA)
- Nonlinear Science (AREA)
- Chemical & Material Sciences (AREA)
- Crystallography & Structural Chemistry (AREA)
- General Physics & Mathematics (AREA)
- Optics & Photonics (AREA)
- Mathematical Physics (AREA)
- Liquid Crystal (AREA)
- Engineering & Computer Science (AREA)
- Microelectronics & Electronic Packaging (AREA)
- Devices For Indicating Variable Information By Combining Individual Elements (AREA)
Abstract
【課題】視野角内から観察された場合に輝点欠陥となる画素が目立たず、輝点欠陥となる画素に隣接する画素が隠されにくく、高い表示品位を有する表示装置を提供する。【解決手段】表示パネルは、光が出射する複数の画素領域を有する。第2の基板は、表示媒体層を挟んで第1の基板に対向し、透明であり、0.3mm未満の厚さを有する部分を備え、第1の基板が配置される側と反対の側にある主面を有する。遮光膜は、上述した主面上に配置され、上述した部分上に配置され、表示パネルの厚さ方向から平面視された場合に欠陥画素領域と重なり欠陥画素領域から幅Wだけはみ出す。幅Wは、視野角内から表示パネルが観察された場合に欠陥画素領域から出射する光が視認されなくなる幅W1以上である。【選択図】図5
Description
本発明は、表示装置及び表示装置の製造方法に関する。
表示装置は、複数の画素を有する。複数の画素に含まれる各画素においては、各画素から出射する光の輝度が制御される。これにより、表示装置は、複数の画素から出射する光の輝度に応じた画像を表示する。
近年においては、表示装置の大型化及び高精細化に伴い、表示装置の画素数が増加している。一方で、表示装置が製造される場合は、表示装置の画素数が増加するほど、製造された表示装置に占める、欠陥となる画素を有する表示装置の割合も増加する。このため、近年において表示装置の画素数が増加していることは、製造の歩留りの向上を阻害している。
欠陥となる画素は、画素から出射する光の輝度を制御するための電極の短絡等により当該輝度を制御することができなくなることにより生じる。欠陥となる画素は、常に発光状態となっている輝点欠陥となる画素等である。輝点欠陥となる画素は、黒色の背景中で目立ち、容易に認識され、表示装置の表示品位を低下させる。
輝点欠陥となる画素を目立たなくする加工を表示装置に対して行うことにより、表示装置を出荷可能な品質とすることができる場合がしばしばある。そして、当該加工を表示装置に対して行うことにより表示装置を出荷可能な品質とすることができた場合は、表示装置の良品率を向上することができ、表示装置の価格を低下させることができる。
特許文献1に記載された技術においては、常に光が透過するという欠陥を生じている絵素の位置が特定される(第3頁 左上欄 第2行目−第3行目)。遮光性材料が欠陥絵素に対応する基板の偏光板側に塗布される(第3頁 左上欄 第5行目−第6行目)。遮光性材料によって遮光膜が形成される(第3頁 左上欄 第7行目−第8行目)。これにより、輝点の修正が行われる(第3頁 右上欄 第20行目)。
特許文献2に記載された技術においては、偏光板における輝点欠陥に対応する部位に凹部又は貫通孔が形成される(段落0022)。凹部又は貫通孔に対して遮光材料が充填される(段落0024)。これにより、輝点欠陥が修復される(段落0027)。
特許文献3に記載された技術においては、第2基板の外表面の欠陥画素領域に対応する位置に遮光膜が形成される(段落0024)。遮光膜のサイズは、画素領域のサイズより大きい(段落0024)。遮光膜は、第1の領域及び第2の領域を覆うように形成される(段落0026)。第1の領域は、欠陥画素領域の外形を第2基板の表面に投影した領域である(段落0026)。第2領域は、第1領域の周辺の領域である(段落0026)。遮光膜は、第1領域に比べて第2領域において、透過率が大きくなっている(段落0027)。これにより、画素欠陥を目立たなくすることができる(段落0029)。また、遮光膜が大きな黒点として認識される度合いを低下させることができる(段落0029)。欠陥画素領域から出射して斜めに進行する光は、遮光膜の第2領域によって適度に遮断されるので、斜めから見た観察者にとっても輝点として認識されにくい(段落0030)。一方、画素領域から正面に向かって進行する光は、遮光膜の第2領域をある程度透過することができるので、完全に遮断されるわけではない(段落0030)。
表示装置は、視野角を有する。このため、表示装置には、正面から観察された場合に輝点欠陥となる画素が目立たないことだけでなく、視野角内において斜めから観察された場合にも輝点欠陥となる画素が目立たないことが望まれる。
しかし、従来の技術においては、表示装置が視野角内において斜めから観察された場合に輝点欠陥となる画素が目立つ場合がある。また、輝点欠陥となる画素に隣接する画素が隠される場合がある。
例えば、特許文献1に記載された技術においては、欠陥絵素から斜め方向に出射する光が遮光されない。このため、液晶表示装置が視野角内において斜めから観察された場合に欠陥絵素が目立つ。
また、特許文献2に記載された技術においては、輝点欠陥から斜め方向に出射する光が遮光されない。このため、液晶表示装置が視野角内において斜めから観察された場合に輝点欠陥が目立つ。
また、特許文献3に記載された技術においては、遮光膜のサイズ及び光が出射する方向によっては、欠陥画素領域から斜め方向に出射する光が遮光されない場合がある。このため、表示装置が視野角内において斜めから観察された場合に欠陥画素領域が目立つ場合がある。また、特許文献3に記載された技術においては、遮光膜のサイズによっては、欠陥画素領域に隣接する画素領域が隠される場合がある。
この問題は、横電界方式の液晶表示パネルを備える液晶表示装置等の広い視野角を有する表示装置において特に問題となる。
本発明は、これらの問題に鑑みてなされた。本発明が解決しようとする課題は、視野角内から観察された場合に輝点欠陥となる画素が目立たず、輝点欠陥となる画素に隣接する画素が隠されにくく、高い表示品位を有する表示装置を提供することである。
本発明は、表示装置に向けられる。
表示装置は、表示パネル及び遮光膜を備える。
表示パネルは、光が出射する複数の画素領域を有する。複数の画素領域は、輝点欠陥が生じた欠陥画素領域を含む。
表示パネルは、第1の基板、表示媒体層及び第2の基板を備える。第2の基板は、表示媒体層を挟んで第1の基板に対向する。第2の基板は、透明である。第2の基板は、0.3mm未満の厚さを有する部分を備える。第2の基板は、第1の基板が配置される側と反対の側にある主面を有する。
遮光膜は、上述した主面上に配置され、上述した部分上に配置される。遮光膜は、表示パネルの厚さ方向から平面視された場合に、欠陥画素領域と重なり、欠陥画素領域から幅Wだけはみ出す。幅Wは、視野角内から表示パネルが観察された場合に欠陥画素領域から出射する光が視認されなくなる幅W1以上である。
本発明は、表示装置の製造方法にも向けられる。
本発明によれば、視野角内から表示パネルが観察された場合に欠陥画素領域から出射する光が視認されない。このため、視野角内から表示パネルが観察された場合に輝点欠陥となる画素が目立たない。また、遮光膜を著しく大きくしなくても視野角内から表示パネルが観察された場合に欠陥画素領域から出射する光が視認されない。このため、輝点欠陥となる画素に隣接する画素が隠されにくい。これにより、高い表示品位を有する表示装置を提供することができる。
本発明の目的、特徴、局面及び利点は、以下の詳細な説明と添付図面とによって、より明白となる。
1 輝点欠陥の修正が行われる表示装置
図1は、実施の形態1及び2の液晶表示装置に行われる輝点欠陥の修正と同様の輝点欠陥の修正が行われる表示装置の主要部を模式的に図示する分解斜視図である。
図1は、実施の形態1及び2の液晶表示装置に行われる輝点欠陥の修正と同様の輝点欠陥の修正が行われる表示装置の主要部を模式的に図示する分解斜視図である。
図1に表示される表示装置1は、第1の基板130及び第2の基板150を備える。また、表示装置1は、図示されない第1の層及び第2の層を備える。
第2の基板150は、第1の基板130に対向する。第1の基板130は、内側主面130iを有する。内側主面130iは、第2の基板150が配置される側にある。内側主面130iは、表示領域DRを有する。表示領域DRは、複数の画素領域PRに区画される。複数の画素領域PRは、規則的に配列される。複数の画素領域PRには、欠陥画素領域DPRが混入している。
第1の層は、第1の基板130上に配置される。第2の層は、第2の基板150上に配置される。
2 輝点欠陥の修正が行われる液晶表示装置
2.1 液晶表示装置
図2は、実施の形態1及び2の液晶表示装置に行われる輝点欠陥の修正と同様の輝点欠陥の修正が行われる液晶表示装置の主要部を模式的に図示する拡大断面図である。図2は、ふたつの画素を構成する部分を図示する。
2.1 液晶表示装置
図2は、実施の形態1及び2の液晶表示装置に行われる輝点欠陥の修正と同様の輝点欠陥の修正が行われる液晶表示装置の主要部を模式的に図示する拡大断面図である。図2は、ふたつの画素を構成する部分を図示する。
図2に図示される液晶表示装置2は、図1に図示される表示装置1の例である。表示装置1が、液晶表示装置2以外の表示装置であってもよい。
液晶表示装置2は、液晶表示パネル10を備える。また、液晶表示装置2は、図示されないバックライトを備える。
液晶表示パネル10は、広い視野角を有する横電界方式の液晶表示パネルである。液晶表示パネル10が広い視野角を有する横電界方式の液晶表示パネルである場合は、下述する輝点欠陥の修正が液晶表示パネル10に行われた場合に当該欠陥の修正の効果が顕著に現れる。ただし、液晶表示パネル10が縦電界方式の液晶表示パネルであってもよい。例えば、液晶表示パネル10が、比較的に広い視野角を有する垂直配向(VA)方式の液晶表示パネルであってもよい。また、液晶表示パネル10が、一般的には広い視野角を有しないが視野角補正用(ワイドビュ)フィルム等が追加されることにより広い視野角を有するように改良されたねじれネマティック(TN)方式の液晶表示パネルであってもよい。
液晶表示パネル10は、横電界方式のひとつであるフリンジ電界スイッチング(FFS)方式の液晶表示パネルである。ただし、液晶表示パネル10がFFS方式以外の方式の液晶表示パネルであってもよい。例えば、液晶表示パネル10が面内スイッチング(IPS(登録商標))方式の液晶表示パネルであってもよい。
バックライトは、光を発する。液晶表示パネル10は、発せられた光の一部を透過させる。また、液晶表示パネル10は、入力された信号に応じた光透過率の面内分布を有する。これにより、液晶表示装置2は、液晶表示パネル10に入力された信号に応じた映像を表示する。
2.2 液晶表示パネル
液晶表示パネル10は、図2に図示されるように、表示領域DRを有する。また、液晶表示パネル10は、図示されない額縁領域を有する。表示領域DRには、映像が表示される。額縁領域は、表示領域DRの外側に配置され、表示領域DRを囲む。
液晶表示パネル10は、図2に図示されるように、表示領域DRを有する。また、液晶表示パネル10は、図示されない額縁領域を有する。表示領域DRには、映像が表示される。額縁領域は、表示領域DRの外側に配置され、表示領域DRを囲む。
液晶表示パネル10は、図2に図示されるように、液晶セル100を備える。液晶セル100は、図2に図示されるように、アレイ基板110、対向基板111及び液晶層112を備える。また、液晶セル100は、図示されないシール材及びスペーサを備える。
対向基板111は、アレイ基板110に対向する。液晶層112、シール材及びスペーサは、アレイ基板110と対向基板111とに挟まれる。液晶層112及びスペーサは、表示領域DRに配置される。シール材は、額縁領域に配置される。シール材は、アレイ基板110及び対向基板111を互いに貼り合わせ、アレイ基板110と対向基板111との間の間隙に液晶層112を封止する。スペーサは、当該間隙の幅を特定の幅に維持する。
アレイ基板110は、図2に図示されるように、第1の透明基板130を備える。
第1の透明基板130は、基体となる。第1の透明基板130は、透明であり絶縁性を有する材料からなる。透明であり絶縁性を有する材料は、ガラス、石英、プラスチック等である。
第1の透明基板130は、内側主面130i及び外側主面130eを有する。内側主面130iは、下述する第2の透明基板150が配置される側にある。外側主面130eは、下述する第2の透明基板150が配置される側と反対の側にある。
アレイ基板110は、図2に図示されるように、画素電極132、電極間絶縁膜139、共通電極134及び配向膜136を備える。また、アレイ基板110は、図示されない層を備える。
画素電極132、電極間絶縁膜139、共通電極134及び配向膜136は、第1の透明基板130の内側主面130i上に配置される。
画素電極132は、第1の透明基板130の内側主面130i上に配置される。画素電極132は、透明であり導電性を有する材料からなる。透明であり導電性を有する材料は、酸化インジウムスズ(ITO:Indium Tin Oxide)、インジウム亜鉛酸化物(IZO:Indium Zinc Oxide なお、「IZO」は出光興産株式会社の登録商標)等である。
電極間絶縁膜139は、画素電極132に重ねて第1の透明基板130の内側主面130i上に配置され、画素電極132を覆う。電極間絶縁膜139は、透明であり絶縁性を有する材料からなる。透明であり絶縁性を有する材料は、窒化ケイ素、酸化ケイ素等である。電極間絶縁膜139は、画素電極132及び共通電極134を互いに隔て、画素電極132及び共通電極134を互いに電気的に絶縁する。
共通電極134は、電極間絶縁膜139上に配置される。共通電極134は、スリット電極140を備える。スリット電極140は、複数の開口部140oを有する。スリット電極140は、アレイ基板110の厚さ方向から平面視された場合に画素電極132に重なり、電極間絶縁膜139を挟んで画素電極132に対向する。複数の開口部140oの各々は、スリット状の形状を有する。共通電極134は、透明であり導電性を有する材料からなる。透明であり導電性を有する材料は、ITO、IZO等である。
配向膜136は、共通電極134に重ねて電極間絶縁膜139上に配置され、共通電極134を覆う。配向膜136は、ポリイミド等からなる。配向膜136には、分子配向処理が行われている。分子配向処理は、ラビング、光照射等である。配向膜136は、液晶層112に含まれる液晶分子を配向させる。
対向基板111は、図2に図示されるように、第2の透明基板150を備える。
第2の透明基板150は、基体となる。第2の透明基板150は、液晶層112を挟んで第1の透明基板130に対向する。第2の透明基板150は、透明であり絶縁性を有する材料からなる。透明であり絶縁性を有する材料は、ガラス、石英、プラスチック等である。
第2の透明基板150は、内側主面150i及び外側主面150eを有する。内側主面150iは、第1の透明基板130が配置される側にある。外側主面150eは、第1の透明基板130が配置される側と反対の側にある。
対向基板111は、図2に図示されるように、遮光層151、着色層152、オーバーコート(OC)層153及び配向膜154を備える。また、対向基板111は、図示されない層を備える。
遮光層151、着色層152、OC層153及び配向膜154は、第2の透明基板150の内側主面150i上に配置される。
遮光層151は、第2の透明基板150の内側主面150i上に配置される。遮光層151は、光を遮光する。遮光層151は、複数の開口部151oを有する。
着色層152は、第2の透明基板150の内側主面150i上に配置され、遮光層151の開口部151oを塞ぐ。着色層152は、特定の色を有する光を選択的に透過させる。
OC層153は、遮光層151及び着色層152上に配置される。OC層153は、透明である樹脂からなる。透明である樹脂は、フォトレジスト等である。OC層153は、遮光層151及び着色層152により形成される段差を覆って平坦面を提供し、遮光層151及び着色層152から液晶層112への不純物の流出を遮断する。
配向膜154は、OC層153上に配置される。配向膜154は、ポリイミド等からなる。配向膜154には、分子配向処理が行われている。分子配向処理は、ラビング、光照射等である。配向膜154は、配向膜136が液晶層112に含まれる液晶分子を配向させる方位と同じ方位に液晶層112に含まれる液晶分子を配向させる。
対向基板111は、図示されない透明導電膜を備える。
透明導電膜は、第2の透明基板150の外側主面150e上に配置される。透明導電膜は、画素電極132及び共通電極134と同様に、透明であり導電性を有する材料からなる。透明であり導電性を有する材料は、ITO、IZO等である。透明導電膜は、電気的に接地される。透明導電膜は、静電気による帯電、外部電界による表示不良等を防止する。
液晶表示パネル10は、図示されない第1の偏光板、第1の粘着層、第2の偏光板及び第2の粘着層を備える。
第1の偏光板及び第1の粘着層は、第1の透明基板130の外側主面130e上に配置される。第2の偏光板及び第2の粘着層は、第2の透明基板150の外側主面150e上に配置される。第1の偏光板及び第2の偏光板は、表示領域DRの全体に配置される。
第1の粘着層は、第1の偏光板を第1の透明基板130の外側主面130eに貼り付ける。第2の粘着層は、第2の偏光板を第2の透明基板150の外側主面150eに貼り付ける。
第1の偏光板は、特定の偏光方向を有する偏光を選択的に透過させる。液晶セル100は、液晶表示パネル10に入力された信号に応じて透過する光の偏光方向を変調する。第2の偏光板は、特定の偏光方向を有する偏光を選択的に透過させる。これにより、液晶表示パネル10は、入力された信号に応じた光透過率の面内分布を有する。
液晶表示パネル10に信号が入力された場合は、液晶表示パネル10に入力された信号に応じた画素電位が画素電極132に与えられる。また、共通電位が共通電極134に与えられる。これにより、液晶表示パネル10に入力された信号に応じた電位差が画素電極132と共通電極134との間に与えられる。また、与えられた電位差に応じた電界が画素電極132と画素電極132に対向するスリット電極140との間に生じる。生じた電界は、スリット電極140の開口部140o及び液晶層112を通る。液晶層112を通る電界は、第1の透明基板130の内側主面130iと平行をなす横電界を含む。横電界は、液晶層112に含まれる液晶分子の配向状態を変化させる。これにより、液晶セル100は、液晶表示パネル10に入力された信号に応じて透過する光の偏光方向を変調する。
液晶層112は、液晶層112に含まれる液晶分子の配向状態が変化させられることにより潜像が形成される表示媒体層となる。形成された潜像は、第1の偏光板及び第2の偏光板により顕像化される。
液晶セル100に入射した光は、アレイ基板110、液晶層112、配向膜154及びOC層153を順次に透過して遮光層151及び遮光層151の開口部151oに到達する。遮光層151に到達した光は、遮光層151に遮光される。開口部151oに到達した光は、着色層152及び第2の透明基板150を順次に透過して液晶セル100から出射する。したがって、遮光層151が配置される領域は、映像を構成する光が出射しない黒色領域となる。また、複数の開口部151oが配置される領域は、映像を構成する光が出射する複数の画素領域となる。黒色領域は、複数の画素領域に含まれる隣接する画素領域を互いに隔てる。
3 実施の形態1
3.1 液晶表示装置
図3は、実施の形態1の液晶表示装置を模式的に図示する断面図である。図4は、実施の形態1の液晶表示装置に備えられる液晶表示パネルの主要部を模式的に図示する斜視図である。
3.1 液晶表示装置
図3は、実施の形態1の液晶表示装置を模式的に図示する断面図である。図4は、実施の形態1の液晶表示装置に備えられる液晶表示パネルの主要部を模式的に図示する斜視図である。
図3に図示される実施の形態1の液晶表示装置3には、下述する輝点欠陥の修正が行われている。
液晶表示装置3は、湾曲型の液晶表示装置である。
液晶表示装置3は、図3に図示されるように、液晶表示パネル10、透明保護カバー11及び透明粘着シート12を備える。また、液晶表示装置3は、図示されないバックライト、光学シート及び筐体を備える。
液晶表示パネル10、透明保護カバー11、透明粘着シート12、バックライト及び光学シートは、湾曲形状を有する。湾曲形状を有する液晶表示パネル10は、平坦形状を有する液晶表示パネル10を変形させて元々湾曲形状を有する透明保護カバー11に固定することにより得られる。液晶表示パネル10、透明保護カバー11、透明粘着シート12、バックライト及び光学シートは、湾曲方向CDに湾曲している。
液晶表示パネル10は、正面10f及び正面10bを有する。正面10fは、表示面10dを有する。表示面10dには、映像が表示される。表示面10dは、湾曲方向CDに湾曲した湾曲形状を有する。
透明保護カバー11は、透明粘着シート12を挟んで液晶表示パネル10の正面10fに対向する。バックライトは、光学シートを挟んで液晶表示パネル10の背面10bに対向する。
液晶表示パネル10、透明保護カバー11、透明粘着シート12、バックライト及び光学シートは、筐体に収容される。筐体は、開口部を有する。開口部には、透明保護カバー11及び透明粘着シート12を介して液晶表示パネル10の表示面10dが対向させられる。
液晶表示パネル10は、横電界方式の液晶表示パネルである。横電界方式の液晶表示パネルは、広い視野角を有する。このため、下述する輝点欠陥の修正が液晶表示パネル10に行われた場合は、当該輝点欠陥の修正の効果が顕著に現れる。
液晶表示パネル10は、横電界方式のひとつであるFFS方式の液晶表示パネルである。
透明保護カバー11は、保持面11hを有する。保持面11hは、湾曲方向CDに湾曲し、特定の曲率を有する。透明保護カバー11は、液晶表示パネル10を覆う。
透明粘着シート12は、液晶表示パネル10を透明保護カバー11の保持面11hに貼り付ける。これにより、液晶表示パネル10は、変形されて湾曲形状を有する状態で透明保護カバー11に固定される。
液晶表示装置3が透明保護カバー11及び透明粘着シート12を備えることにより、液晶表示パネル10の正面10f側から加えられる外圧に対する液晶表示装置3の耐性、及び液晶表示装置3の耐湿性が向上する。
バックライトは、光を発する。光学シートは、発せられた光を透過させる。光学シートは、透過する光の偏光状態、指向性等を制御する。液晶表示パネル10は、偏光状態、指向性等が制御された光の一部を透過させる。また、液晶表示パネル10は、入力された信号に応じた光透過率の面内分布を有する。これにより、液晶表示装置3は、液晶表示パネル10に入力された信号に応じた映像を表示する。表示された映像は、透明保護カバー11及び透明粘着シート12越しに筐体の開口部を経由して視認される。
3.2 液晶表示パネル
液晶表示パネル10は、図3及び図4に図示されるように、液晶表示パネル10の厚さ方向から平面視された場合に、表示領域DR及び額縁領域FRを有する。表示領域DRには、映像が表示される。額縁領域FRは、表示領域DRの外側に配置され、表示領域DRを囲む。液晶表示パネル10は、複数の画素を有する。複数の画素は、表示領域DRに配置される。
液晶表示パネル10は、図3及び図4に図示されるように、液晶表示パネル10の厚さ方向から平面視された場合に、表示領域DR及び額縁領域FRを有する。表示領域DRには、映像が表示される。額縁領域FRは、表示領域DRの外側に配置され、表示領域DRを囲む。液晶表示パネル10は、複数の画素を有する。複数の画素は、表示領域DRに配置される。
液晶表示パネル10は、図3及び図4に図示されるように、液晶セル100を備える。液晶セル100は、図3及び図4に図示されるように、アレイ基板110、対向基板111、液晶層112及びシール材113を備える。また、液晶セル100は、図示されない柱状スペーサを備える。
対向基板111は、アレイ基板110に対向する。アレイ基板110は、液晶表示パネル10の背面10b側に配置される。対向基板111は、液晶表示パネル10の正面10f側に配置される。液晶層112、シール材113及び柱状スペーサは、アレイ基板110と対向基板111とに挟まれる。液晶層112及び柱状スペーサは、表示領域DRに配置される。シール材113は、額縁領域FRに配置される。シール材113は、アレイ基板110及び対向基板111を互いに貼り合わせ、アレイ基板110と対向基板111との間の間隙に液晶層112を封止する。柱状スペーサは、当該間隙の幅を特定の幅に維持する。
アレイ基板110は、TFT131を備えるTFTアレイ基板である。対向基板111は、カラーフィルタ152を備えるカラーフィルタ基板である。
アレイ基板110は、内側主面110i及び外側主面110eを有する。内側主面110iは、対向基板111が配置される側にある。外側主面110eは、対向基板111が配置される側と反対の側にある。対向基板111は、内側主面111i及び外側主面111eを有する。内側主面111iは、アレイ基板110が配置される側にある。外側主面111eは、アレイ基板110が配置される側と反対の側にある。
アレイ基板110及び対向基板111は、矩形状の平面形状等を有する。アレイ基板110は、対向基板111の平面形状より大きい平面形状を有する。このため、アレイ基板110は、図3及び図4に図示されるように、重ね合わせ部120及び突出部121を備える。重ね合わせ部120は、対向基板111に重ね合わされる。突出部121は、対向基板111の端部から突出する。突出部121は、図3及び図4に図示されるように、突出部121X及び突出部121Yを含む。突出部121Xは、対向基板111の右端部から突出し、アレイ基板110の右端部に備えられる。突出部121Yは、対向基板111の下端部から突出し、アレイ基板110の下端部に備えられる。アレイ基板110の右端部及び下端部は、互いに隣接する。対向基板111の右端部及び下端部は、互いに隣接する。
対向基板111の外側主面111eは、表示面111dを有する。表示面111dは、表示領域DRに配置される。液晶表示パネル10は、対向基板111の外側主面111e及び表示面111dが凹面となり特定の曲率を有するように湾曲する。液晶表示装置3の用途によっては、対向基板111の外側主面111e及び表示面111dが凸面となるように液晶表示パネル10が湾曲してもよい。
湾曲方向CDは、最大の曲率を有する方向である。湾曲方向CDは、液晶セル100の長手方向と平行をなす。アレイ基板110及び対向基板111が矩形状の平面形状を有する場合は、液晶セル100の長手方向は、矩形状の平面形状を構成する長辺が延びる方向である。
シール材113は、樹脂等からなる。
柱状スペーサは、望ましくは、デュアルスペーサ構造を有する。デュアルスペーサ構造を有する柱状スペーサは、互いに異なる2種類の柱状スペーサを含む。互いに異なる2種類の柱状スペーサは、メインスペーサ及びサブスペーサからなる。メインスペーサ及びサブスペーサは、混在する。メインスペーサは、相対的に高い高さを有するスペーサ、又はアレイ基板110の内側主面110i及び対向基板111の内側主面111iと垂直をなす方向について相対的に長い長さを有するスペーサである。サブスペーサは、相対的に低い高さを有するスペーサ、又はアレイ基板110の内側主面110i及び対向基板111の内側主面111iと垂直をなす方向について相対的に短い長さを有するスペーサである。柱状スペーサが対向基板111に固定されている場合は、通常時には、メインスペーサが、アレイ基板110に当たり、間隙の幅の維持に寄与する。しかし、サブスペーサは、アレイ基板110に当たらず、間隙の幅の維持に寄与しない。サブスペーサは、外力等により間隙の幅が狭められた場合のみ、アレイ基板110に当たり、間隙の幅の維持に寄与する。
3.3 アレイ基板
アレイ基板110は、図3に図示されるように、第1の透明基板130を備える。
アレイ基板110は、図3に図示されるように、第1の透明基板130を備える。
第1の透明基板130は、基体となる。第1の透明基板130は、透明であり絶縁性を有する材料からなる。透明であり絶縁性を有する材料は、ガラス、石英、プラスチック等である。以下では、透明であり絶縁性を有する材料がガラスであり、第1の透明基板130が第1のガラス基板であるとする。
第1のガラス基板130は、内側主面130i及び外側主面130eを有する。内側主面130iは、下述する第2のガラス基板150が配置される側にある。外側主面130eは、下述する第2のガラス基板150が配置される側と反対の側にある。
アレイ基板110は、図3に図示されるように、スイッチング素子131、画素電極132、共通電極134、絶縁膜135及び配向膜136を備える。また、アレイ基板110は、図示されない複数の走査信号線及び複数の映像信号線を備える。
スイッチング素子131、画素電極132、共通電極134、絶縁膜135及び配向膜136は、第1のガラス基板130の内側主面130i上に配置される。スイッチング素子131、画素電極132、共通電極134、絶縁膜135及び配向膜136は、表示領域DRに配置される。
走査信号線、映像信号線及びスイッチング素子131は、第1のガラス基板130の内側主面130i上に配置される。走査信号線は、液晶表示パネル10に入力された信号に応じた走査信号を伝送する。映像信号線は、液晶表示パネル10に入力された信号に応じた映像信号を伝送する。スイッチング素子131は、伝送されてきた走査信号にしたがって伝送された映像信号をスイッチングし、スイッチングされた映像信号に応じた画素電位を画素電極132に与える。これにより、液晶表示パネル10に入力された信号に応じた画素電位が画素電極132に与えられる。走査信号線及び映像信号線は、金属膜からなる。したがって、走査信号線及び映像信号線は、遮光層となる。以下では、走査信号線がゲート配線であり、映像信号線がソース配線であり、スイッチング素子131がTFTであるとする。
TFT131は、図示されない半導体層、ゲート電極、ソース電極及びドレイン電極を備える。
半導体層は、能動層となる。ゲート電極、ソース電極及びドレイン電極は、半導体層に重ねられる。ゲート電極は、ゲート配線に電気的に接続される。ゲート電極がゲート配線の一部であってもよい。ソース電極は、ソース配線に電気的に接続される。ドレイン電極は、画素電極132に電気的に接続される。図3においては、ドレイン電極と画素電極132との間の電気的な接続が、TFT131と画素電極132とを結ぶ線により概念的に描かれている。ゲート電極、ソース電極及びドレイン電極は、金属膜からなる。したがって、ゲート電極、ソース電極及びドレイン電極は、遮光層となる。
画素電極132は、第1のガラス基板130の内側主面130i上に配置される。画素電極132は、平板形状を有する平板電極である。画素電極132は、透明であり導電性を有する材料からなる。透明であり導電性を有する材料は、ITO、IZO等である。
絶縁膜135は、ゲート配線、ソース配線、TFT131及び画素電極132に重ねて第1のガラス基板130の内側主面130i上に配置され、ゲート配線、ソース配線、TFT131及び画素電極132を覆う。絶縁膜135は、透明であり絶縁性を有する材料からなる。
絶縁膜135は、TFT131を構成する半導体層、ゲート電極、ソース電極及びドレイン電極を互いに隔て半導体層、ゲート電極、ソース電極及びドレイン電極を互いに電気的に絶縁する絶縁膜を含む。また、絶縁膜135は、TFT131を覆う絶縁膜を含む。また、絶縁膜135は、画素電極132及び共通電極134を互いに隔て画素電極132及び共通電極134を互いに電気的に絶縁する電極間絶縁膜を含む。図3においては、これらの絶縁膜の集合がひとつの絶縁膜で描かれている。これらの絶縁膜の各々は、ひとつの絶縁膜からなる単層膜であってもよいし、複数の絶縁膜からなる積層膜であってもよい。
共通電極134は、絶縁膜135上に配置される。このため、共通電極134は、画素電極132より上層に配置される。共通電極134は、スリット電極140を備える。スリット電極140は、複数の開口部140oを有する。スリット電極140は、アレイ基板110の厚さ方向から平面視された場合に画素電極132と重なり、絶縁膜135を挟んで画素電極132に対向する。複数の開口部140oの各々は、スリット状の形状を有する。共通電極134が、アレイ基板110の厚さ方向から平面視された場合にTFT115と重なる開口部を有してもよい。共通電極134は、透明であり導電性を有する材料からなる。透明であり導電性を有する材料は、ITO、IZO等である。
画素電極132及び共通電極134の両方が、横電界方式の液晶表示パネルに一般的に備えられる、櫛歯状の形状を有する櫛歯電極であってもよい。画素電極132が共通電極134より上層に配置され、画素電極132がスリット電極であり、共通電極134が平板電極を備えてもよい。
配向膜136は、共通電極134に重ねて絶縁膜135上に配置され、共通電極134を覆う。配向膜136は、ポリイミド等からなる。配向膜136には、分子配向処理が行われている。分子配向処理は、ラビング、光照射等である。配向膜136は、液晶層112に含まれる液晶分子を配向させる。
3.4 対向基板
対向基板111は、図3に図示されるように、第2の透明基板150を備える。
対向基板111は、図3に図示されるように、第2の透明基板150を備える。
第2の透明基板150は、基体となる。第2の透明基板150は、液晶層112を挟んで第1の透明基板130に対向する。第2の透明基板150は、透明であり絶縁性を有する材料からなる。透明であり絶縁性を有する材料は、ガラス、石英、プラスチック等である。以下では、透明であり絶縁性を有する材料がガラスであり、第2の透明基板150が第2のガラス基板であるとする。
第2のガラス基板150は、内側主面150i及び外側主面150eを有する。内側主面150iは、第1のガラス基板130が配置される側にある。外側主面150eは、第1のガラス基板130が配置される側と反対の側にある。
対向基板111は、図3に図示されるように、遮光層151、着色層152、OC層153及び配向膜154を備える。
遮光層151、着色層152、OC層153及び配向膜154は、第2のガラス基板150の内側主面150i上に配置される。着色層152及び配向膜154は、表示領域DRに配置される。遮光層151及びOC層153は、表示領域DR及び額縁領域FRに配置される。
遮光層151は、第2のガラス基板150の内側主面150i上に配置される。遮光層151は、光を遮る。遮光層151は、隣接する着色層152が配置される領域の間の領域、及び額縁領域FRを遮光する。遮光層151は、ブラックマトリックスとも呼ばれる。ブラックマトリックス151は、複数の開口部151oを有する。
着色層152は、第2のガラス基板150の内側主面150i上に配置され、ブラックマトリックス151の開口部151oを塞ぐ。着色層152は、特定の色を有する光を選択的に透過させる。着色層152は、カラーフィルタとも呼ばれる。カラーフィルタ152は、3原色である赤色(R)、緑色(G)及び青色(B)をそれぞれ選択的に透過させる3種類のカラーフィルタを含む。3種類のカラーフィルタは、直線的に配列される。
OC層153は、ブラックマトリックス151及びカラーフィルタ152上に配置される。OC層153は、透明である樹脂からなる。透明である樹脂は、フォトレジスト等である。OC層153は、ブラックマトリックス151及びカラーフィルタ152により形成される段差を覆って平坦面を提供し、遮光層151及びカラーフィルタ152から液晶層112への不純物の流出を遮断する。
配向膜154は、OC層153上に配置される。配向膜154は、ポリイミド等からなる。配向膜154には、分子配向処理が行われている。分子配向処理は、ラビング、光照射等である。配向膜154は、配向膜136が液晶層112に含まれる液晶分子を配向させる方位と同じ方位に液晶層112に含まれる液晶分子を配向させる。
上述した柱状スペーサは、対向基板111の内側主面111iに固着され、OC層153の表面に固着される。
対向基板111は、図3に図示されるように、透明導電膜155を備える。
透明導電膜155は、第2のガラス基板150の外側主面150e上に配置される。透明導電膜155は、表示領域DRの全体に配置される。透明導電膜155は、透明であり導電性を有する材料からなる。透明であり導電性を有する材料は、ITO、IZO等である。透明導電膜155は、電気的に接地される。透明導電膜155は、「裏面ITO」等とも呼ばれ、静電気による帯電、外部電界による表示不良等を防止する。
3.5 ガラス基板の厚さ
第1のガラス基板130及び第2のガラス基板150は、望ましくは、0.2mm未満の厚さを有する。これにより、第1のガラス基板130及び第2のガラス基板150の可撓性が向上し、平坦形状を有する液晶表示パネル10を変形させることにより湾曲形状を有する液晶表示パネル10を得ることが容易になる。0.2mm未満の厚さを有する第1のガラス基板130及び第2のガラス基板150は、ガラス基板を薄板化すること等により得ることができる。第1のガラス基板130及び第2のガラス基板150は、さらに望ましくは、約0.15mmの厚さを有する。この場合は、中心値が0.15mmでありばらつきが中心値の±20%の範囲内に収まるように第1のガラス基板130及び第2のガラス基板150の厚さが管理される。第1のガラス基板130及び第2のガラス基板150がこのように極めて薄い厚さを有することにより、平坦形状を有する液晶表示パネル10を容易に変形させることができ、下述する輝点欠陥の効果を効果的に発揮させることができる。
第1のガラス基板130及び第2のガラス基板150は、望ましくは、0.2mm未満の厚さを有する。これにより、第1のガラス基板130及び第2のガラス基板150の可撓性が向上し、平坦形状を有する液晶表示パネル10を変形させることにより湾曲形状を有する液晶表示パネル10を得ることが容易になる。0.2mm未満の厚さを有する第1のガラス基板130及び第2のガラス基板150は、ガラス基板を薄板化すること等により得ることができる。第1のガラス基板130及び第2のガラス基板150は、さらに望ましくは、約0.15mmの厚さを有する。この場合は、中心値が0.15mmでありばらつきが中心値の±20%の範囲内に収まるように第1のガラス基板130及び第2のガラス基板150の厚さが管理される。第1のガラス基板130及び第2のガラス基板150がこのように極めて薄い厚さを有することにより、平坦形状を有する液晶表示パネル10を容易に変形させることができ、下述する輝点欠陥の効果を効果的に発揮させることができる。
3.6 走査信号及び映像信号の供給
液晶表示パネル10は、図3及び図4に図示されるように、制御基板13及びフレキシブルフラットケーブル(FFC)14を備える。アレイ基板110は、図3及び図4に図示されるように、信号端子137を備える。また、アレイ基板110は、図示されない駆動集積回路(IC)チップ及び引き出し配線を備える。制御基板13は、図示されない制御ICチップを備える。制御基板13は、図4に図示されるように、制御基板13X及び制御基板13Yを含む。FFC14は、図4に図示されるように、FFC14X及びFFC14Yを含む。信号端子137は、図4に図示されるように、信号端子137X及び信号端子137Yを含む。駆動ICチップは、図示されないゲート配線用の駆動ICチップ及びソース配線用の駆動ICチップを含む。引き出し配線は、図示されないゲート配線用の引き出し配線及びソース配線用の引き出し配線を含む。
液晶表示パネル10は、図3及び図4に図示されるように、制御基板13及びフレキシブルフラットケーブル(FFC)14を備える。アレイ基板110は、図3及び図4に図示されるように、信号端子137を備える。また、アレイ基板110は、図示されない駆動集積回路(IC)チップ及び引き出し配線を備える。制御基板13は、図示されない制御ICチップを備える。制御基板13は、図4に図示されるように、制御基板13X及び制御基板13Yを含む。FFC14は、図4に図示されるように、FFC14X及びFFC14Yを含む。信号端子137は、図4に図示されるように、信号端子137X及び信号端子137Yを含む。駆動ICチップは、図示されないゲート配線用の駆動ICチップ及びソース配線用の駆動ICチップを含む。引き出し配線は、図示されないゲート配線用の引き出し配線及びソース配線用の引き出し配線を含む。
信号端子137、駆動ICチップ及び引き出し配線は、第1のガラス基板130の内側主面130i上に配置される。信号端子137及び駆動ICチップは、額縁領域FRに配置され、突出部121に備えられる。信号端子137は、複数のパッドを備える。複数のパッドは、アレイ基板110の端面が延びる方向に配列される。複数のパッドの各々は、矩形状の平面形状を有する。
信号端子137X及びゲート配線用の駆動ICチップは、突出部121Xに備えられる。信号端子137Y及びソース配線用の駆動ICチップは、突出部121Yに備えられる。
制御基板13Xは、FFC14Xを介して信号端子137Xに備えられる複数のパッドに電気的に接続される。信号端子137Xに備えられる複数のパッドは、ゲート配線用の駆動ICチップの入力側に電気的に接続される。ゲート配線用の駆動ICチップの出力側は、ゲート配線用の引き出し配線を介してゲート配線に電気的に接続される。制御基板13Yは、FFC14Yを介して信号端子137Yに備えられる複数のパッドに電気的に接続される。信号端子137Yに備えられる複数のパッドは、ソース配線用の駆動ICチップの入力側に電気的に接続される。ソース配線用の駆動ICチップの出力側は、ソース配線用の引き出し配線を介してソース配線に電気的に接続される。
制御基板13Xに備えられる制御ICチップは、互いに異なる複数の信号を含む制御信号を生成する。FFC14Xは、生成された制御信号を制御基板13Xから信号端子137Xまで伝送する。ゲート配線用の駆動ICチップは、伝送されてきた制御信号に応じた走査信号を生成する。ゲート配線用の引き出し配線は、生成された走査信号をゲート配線用の駆動ICチップからゲート配線まで伝送する。これにより、ゲート配線に走査信号が供給される。制御基板13Yに備えられる制御ICチップは、互いに異なる複数の信号を含む制御信号を生成する。FFC14Yは、生成された制御信号を制御基板13Yから信号端子137Yまで伝送する。ソース配線用の駆動ICチップは、伝送されてきた制御信号に応じた映像信号を生成する。ソース配線用の引き出し配線は、生成された映像信号をソース配線用の駆動ICチップからソース配線まで伝送する。これにより、ソース配線に映像信号が供給される。
FFC14が他の種類の接続配線に置き換えられてもよい。
走査信号を供給するための制御基板13X、FFC14X及び信号端子137Xからなる要素群、並びに映像信号を供給するための制御基板13Y、FFC14Y及び信号端子137Yからなる要素群からなる2種類の要素群が、走査信号及び映像信号を供給するための制御基板、FFC及び信号端子からなる1種類の要素群に置き換えられてもよい。当該1種類の要素群を構成する信号端子は、突出部121X及び突出部121Yのいずれに備えられてもよい。
3.7 透明導電膜の接地
液晶表示パネル10は、図示されない導電テープを備える。アレイ基板110は、図示されないアースパッドを備える。アースパッドは、突出部121に備えられる。
液晶表示パネル10は、図示されない導電テープを備える。アレイ基板110は、図示されないアースパッドを備える。アースパッドは、突出部121に備えられる。
導電テープの一端は、アースパッドに貼り付けられる。導電テープの他端は、透明導電膜155に貼り付けられる。これにより、透明導電膜155は、導電テープを介してアースパッドに電気的に接続される。これにより、透明導電層155が接地される。
導電テープは、母材及び導電接着剤層を備える。母材は、金属箔からなる。金属箔は、アルミニウム(Al)箔、銅(Cu)箔等である。導電接着剤層は、母材上に配置される。導電接着剤層は、導電接着剤を母材上に塗布することにより形成される。導電テープは、市販されている一般的な導電テープであってもよい。
導電テープが、導電ペースト膜に置き換えられてもよい。導電ペースト膜は、透明導電層155及びアースパッドに跨って設置される。導電ペースト膜は、導電ペーストを透明導電層155からアースパッドに渡って塗布することにより形成される。導電ペーストは、銀ペースト等の一般的な導電ペーストであってもよい。
3.8 偏光板
液晶表示パネル10は、第1の偏光板101及び第2の偏光板102を備える。また、液晶表示パネル10は、図示されない第1の粘着層及び第2の粘着層を備える。
液晶表示パネル10は、第1の偏光板101及び第2の偏光板102を備える。また、液晶表示パネル10は、図示されない第1の粘着層及び第2の粘着層を備える。
第1の偏光板101及び第1の粘着層は、第1の透明基板130の外側主面130e上に配置される。第2の偏光板102及び第2の粘着層は、第2のガラス基板150の外側主面150e上に配置される。第1の偏光板101及び第2の偏光板102は、表示領域DRの全体に配置される。
第1の粘着層は、第1の偏光板101を第1の透明基板130の外側主面130eに貼り付ける。第2の粘着層は、第2の偏光板102を第2のガラス基板150の外側主面150eに貼り付ける。
第1の偏光板101及び第2の偏光板102の各々は、ひとつの光学部材からなる単板であってもよいし、複数の光学部材からなる積層板であってもよい。複数の光学部材は、互いに貼り合わされる。複数の光学部材は、偏光板(偏光フィルム層)を含む。複数の光学部材が保護層(TAC層)、位相差板、視野角補正用(ワイドビュ)フィルム等を含んでもよい。
3.9 光の偏光方向の変調
第1の偏光板101は、特定の偏光方向を有する偏光を選択的に透過させる。液晶セル100は、液晶表示パネル10に入力された信号に応じて透過する光の偏光方向を変調する。第2の偏光板102は、特定の偏光方向を有する偏光を選択的に透過させる。これにより、液晶表示パネル10は、液晶表示パネル10に入力された信号に応じた光透過率の面内分布を有する。
第1の偏光板101は、特定の偏光方向を有する偏光を選択的に透過させる。液晶セル100は、液晶表示パネル10に入力された信号に応じて透過する光の偏光方向を変調する。第2の偏光板102は、特定の偏光方向を有する偏光を選択的に透過させる。これにより、液晶表示パネル10は、液晶表示パネル10に入力された信号に応じた光透過率の面内分布を有する。
制御基板132から液晶セル100に制御信号が入力された場合は、液晶セル100に入力された制御信号に応じた画素電位が画素電極132に与えられる。また、共通電位が共通電極134に与えられる。これにより、液晶表示パネル10に入力された信号に応じた電位差が画素電極132と共通電極134との間に与えられる。また、与えられた電位差に応じた強さを有する電界が画素電極132とスリット電極140との間に生じる。生じた電界は、スリット電極140の開口部140o及び液晶層112を通る。液晶層112を通る電界は、第1のガラス基板130の内側主面130iと平行をなす横電界を含む。横電界は、液晶層112に含まれる液晶分子の配向状態を変化させる。これにより、液晶セル100は、液晶表示パネル10に入力された信号に応じて透過する光の偏光方向を変調する。
3.10 画素領域及び黒色領域
液晶セル100に入射した光は、アレイ基板110、液晶層112、配向膜154及びOC層153を順次に透過してブラックマトリクス151及びブラックマトリクス151の開口部151oに到達する。ブラックマトリクス151に到達した光は、ブラックマトリクス151に遮光される。開口部151oに到達した光は、カラーフィルタ152及び第2のガラス基板150を順次に透過して液晶セル100から出射する。したがって、ブラックマトリクス151が配置される領域は、映像を構成する光が出射しない黒色領域となる。また、複数の開口部151oが配置される領域は、映像を構成する光が出射する複数の画素領域となる。黒色領域は、複数の画素領域に含まれる隣接する画素領域を互いに隔てる。
液晶セル100に入射した光は、アレイ基板110、液晶層112、配向膜154及びOC層153を順次に透過してブラックマトリクス151及びブラックマトリクス151の開口部151oに到達する。ブラックマトリクス151に到達した光は、ブラックマトリクス151に遮光される。開口部151oに到達した光は、カラーフィルタ152及び第2のガラス基板150を順次に透過して液晶セル100から出射する。したがって、ブラックマトリクス151が配置される領域は、映像を構成する光が出射しない黒色領域となる。また、複数の開口部151oが配置される領域は、映像を構成する光が出射する複数の画素領域となる。黒色領域は、複数の画素領域に含まれる隣接する画素領域を互いに隔てる。
3.11 表示媒体層
液晶層112は、液晶層112に含まれる液晶分子の配向状態が変化させられることにより潜像が形成される表示媒体層となる。形成された潜像は、バックライト、第1の偏光板101及び第2の偏光板102により顕像化される。
液晶層112は、液晶層112に含まれる液晶分子の配向状態が変化させられることにより潜像が形成される表示媒体層となる。形成された潜像は、バックライト、第1の偏光板101及び第2の偏光板102により顕像化される。
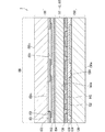
3.12 輝点欠陥の修復により得られる構造
図5は、実施の形態1の液晶表示装置の主要部を模式的に図示する拡大断面図である。図5は、ふたつの画素を構成する部分を図示する。
図5は、実施の形態1の液晶表示装置の主要部を模式的に図示する拡大断面図である。図5は、ふたつの画素を構成する部分を図示する。
液晶表示装置3は、図5に図示されるように、液晶表示パネル10及び遮光膜15を備える。
液晶表示パネル10は、図5に図示されるように、複数の画素領域PR及び黒色領域BRを有する。複数の画素領域PRからは、映像を構成する光が出射する。黒色領域BRからは、映像を構成する光が出射しない。複数の画素領域PRは、上述したように、ブラックマトリクス151の複数の開口部151oが配置される領域である。黒色領域BRは、上述したように、ブラックマトリクス151が配置される領域である。
複数の画素領域PRは、図5に図示されるように、欠陥画素領域DPR及び隣接画素領域APRを含む。欠陥画素領域DPRには、輝点欠陥が生じている。隣接画素領域APRには、輝点欠陥が生じていない。隣接画素領域APRは、欠陥画素領域DPRに隣接する。黒色領域BRは、欠陥画素領域DPRと隣接画素領域APRとを互いに隔て、幅W2を有する。
欠陥画素領域DPRは、液晶表示パネル10に入力される信号にかかわらず常に光が出射する、正常でない画素領域である。欠陥画素領域DPRにおいては、欠陥画素領域DPRを有する画素に備えられるTFT131等の異常により当該TFT131に備えられるゲート電極又はソース電極に与えられた電位がそのまま当該画素に備えられる画素電極132に与えられる。このため、欠陥画素領域DPRにおいては、液晶表示パネル10に入力される信号にかかわらず、当該画素に備えられる画素電極132と当該画素に備えられるスリット電極140との間に電位差が与えられ、液晶層112を通る横電界が生じ、当該画素が常に高い光透過率を有する。他の原因により当該画素が常に高い光透過率を有する場合もある。
隣接画素領域APRは、液晶表示パネル10に入力される信号に応じた輝度を有する光が出射する、正常な画素領域である。
液晶表示パネル10は、保証された視野角を有する。このため、液晶表示パネル10は、正面から観察されるだけでなく、斜めからも観察される。このため、液晶表示装置3には、正面から観察された場合に輝点欠陥となる画素が目立たないことが求められるだけでなく、斜めから観察された場合に輝点欠陥となる画素が目立たないことも求められる。また、液晶表示パネル10は、広い視野角を有する横電界方式の液晶表示パネルである。このため、液晶表示装置3は、広い視野角内において優れたコントラスト特性及びカラーバランス特性を有し、広い視野角内において高い表示品位を有する。このため、液晶表示パネル10は、広い視野角内において斜めから観察される。このため、液晶表示装置3には、広い視野角内において斜めから観察された場合に輝点欠陥となる画素が目立たないことが求められる。
遮光膜15は、輝点欠陥となる画素を目立なくする輝点欠陥の修正のために設けられる。遮光膜15は、第2のガラス基板150の外側主面150e上に配置される。遮光膜15は、液晶表示パネル10の厚さ方向から平面視された場合に、欠陥画素領域DPRと重なり、欠陥画素領域DPRから幅Wだけはみ出す。このため、遮光膜15は、液晶表示パネル10の厚さ方向から平面視された場合に、欠陥画素領域DPRと重なり、欠陥画素領域DPRに隣接し欠陥画素領域DPRを囲み幅Wを有する周辺領域PERとも重なる。また、遮光膜15は、液晶表示パネル10の厚さ方向から平面視された場合に、輝点欠陥となる画素内のブラックマトリクス151の開口部151oと重なり、輝点欠陥となる画素内のブラックマトリクス151とも重なる。液晶表示パネル10の厚さ方向から平面視された場合に遮光膜15が欠陥画素領域DPRと重なることにより、欠陥画素領域DPRから正面方向に出射した光は、遮光膜15により遮光される。これにより、正面から液晶表示パネル10が観察された場合に輝点欠陥となる画素が目立たなくなる。また、液晶表示パネル10が厚さ方向から平面視された場合に遮光膜15が周辺領域PERと重なることにより、欠陥画素領域DPRから斜め方向に出射した光は、遮光膜15により遮光又は減光される。これにより、斜めから液晶表示パネル10が観察された場合に輝点欠陥となる画素が目立たなくなる。
遮光膜15は、遮光性を有する材料からなる。遮光性を有する材料は、黒インク、黒色レジスト等である。遮光性を有する材料が、第2のガラス基板150の外側主面150e上に配置される要素の一部を変質させることにより得られる材料であってもよい。例えば、遮光性を有する材料が、第2の偏光板102の一部を変質させることにより得られる材料であってもよい。変質させられる要素は、望ましくは、第2のガラス基板150の外側主面150eに近い要素であり、さらに望ましくは、偏光板142を構成する保護層(TAC層)、粘着層等である。
欠陥画素領域DPRから斜め方向に出射する光は、周辺領域PERの幅Wが大きくなるほど、強く遮光又は減光される。このため、欠陥画素領域DPRから斜め方向に出射する光は、周辺領域PERの幅Wが大きくなるほど、視認されにくくなる。そこで、周辺領域PERの幅Wは、視野角内から液晶表示パネル10が観察された場合に欠陥画素領域DPRから出射する光が視認されなくなる下限値の幅W1以上にされる。遮光膜15が形成される際には、遮光膜15を形成するプロセスにおいて生じる遮光膜15の位置精度及び寸法精度が考慮され、周辺領域PERの幅Wが下限値の幅W1より小さくならない範囲内において周辺領域PERの幅Wの狙い値が最小の狙い値に設定される。
一方、周辺領域PERの幅Wが著しく大きくなった場合は、隣接画素領域APRから出射する光が遮光又は減光される。このため、周辺領域PERの幅Wが著しく大きくなった場合は、隣接画素領域APRから出射する光が視認されにくくなる。そこで、周辺領域PERの幅Wは、望ましくは、隣接画素領域APRから出射する光が視認されにくくならない上限値の幅以下にされる。そして、上限値の幅を黒色領域BRの幅W2とすることにより、液晶表示パネル10が厚さ方向から平面視された場合に遮光膜15が隣接画素領域APRと重ならず、液晶表示パネル10が厚さ方向から平面視された場合に遮光膜15が輝点欠陥とならない画素内のブラックマトリクス151の開口部151oと重ならず、輝点欠陥とならない画素を視認することが阻害されなくなる。
下限値の幅W1が計算される際に用いられる視野角θは、望ましくは、液晶表示装置3が出荷される前に行われる点灯検査において採用される観察角度を目安にして設定される。当該観察角度は、見込み角とも呼ばれる。例えば、点灯検査において、検査者が、視野角に応じて設定される観察角度から液晶表示パネル10を観察し、輝点欠陥となる画素の有無を判定する場合は、視野角θは、当該観察角度を目安にして設定される。また、下限値の幅W1が計算される際に行われる、視野角θ内から観察された場合に欠陥画素領域DPRから出射する光が視認されるか否かの判定は、望ましくは、液晶表示装置3が出荷される前に行われる点灯検査における液晶表示パネル10の良否判定の基準にしたがって行われる。例えば、点灯検査において、検査者が、減光(ND)フィルタを介して液晶表示パネル10を観察し、輝点欠陥となる画素の有無を判定する場合は、NDフィルタを介して視野角θ内から観察された場合に欠陥画素領域DPRから出射する光が視認されるか否かの判定が行われる。当該NDフィルタは、例えば、透過光量を入射光量の1/10以下に減じるNDフィルタである。この場合は、下限値の幅W1は、透過光量を入射光量の1/10以下に減じるNDフィルタを介して視野角内から液晶表示パネル10が観察された場合に欠陥画素領域DPRから出射する光が視認されなくなる幅である。これらにより、視野角の仕様、輝点欠陥の観察条件、観察者等の影響を抑制することができる。
第2のガラス基板150は、図5に図示されるように、遮光膜15が配置される部分160及び残余部分161を備える。部分160は、液晶表示パネル10の厚さ方向から平面視された場合に、欠陥画素領域DPR及び周辺領域PERと重なり、遮光膜15と重なる。残余部分161は、部分160以外であり、液晶表示パネル10の厚さ方向から平面視された場合に、欠陥画素領域DPR及び周辺領域PERと重ならず、遮光膜15と重ならない。遮光膜15は、部分160上に配置される。第2のガラス基板150の厚さは、均一である。このため、部分160は、残余部分161の厚さと同じ厚さtを有する。
下限値の幅W1は、望ましくは、設定された視野角θ、第2のガラス基板150の遮光膜15が配置される部分160の厚さt、及び第2のガラス基板150の屈折率nを用いて式(1)により計算される下限値の幅W1である。
W1=t×tan{sin−1(sinθ/n)}・・・(1)
周辺領域PERの幅Wが式(1)により計算される下限値の幅W1である場合は、図5に図示されるように、最も視認されやすい欠陥画素領域DPRの端部から正面方向と角度θをなす斜め方向に出射する光Lの光路上に遮光膜15の端部が配置される。このため、欠陥画素領域DPRの端部から当該斜め方向に出射し遮光膜15に遮光されない光の光量は0になり、当該光は視認されない。加えて、欠陥画素領域DPRの端部以外から当該斜め方向に出射する光の光路上にも遮光膜15が配置される。このため、欠陥画素領域DPRの端部以外から当該斜め方向に出射し遮光膜15に遮光されない光の光量も0になり、当該光も視認されない。これらにより、欠陥画素領域DPRから当該斜め方向に出射し遮光膜15に遮光されない光の光量が0になり、当該光が視認されない。
したがって、式(1)により計算される下限値の幅W1によれば、視野角θ内から液晶表示パネル10が観察された場合に欠陥画素領域DPRから出射する光が視認されなくなるように過不足なく当該光を斜光することができる周辺領域PERの幅Wを得ることができる。
式(1)からは、視野角θが大きくなるほど、下限の幅W1が大きくなり、周辺領域PERの幅Wを大きくしなければならないことを理解することができる。一方で、周辺領域PERの幅Wが黒色領域の幅W2より大きい場合は、隣接画素領域APRから出射する光が遮光膜15により遮光又は減光され、液晶表示装置3の表示品位が低下する。したがって、周辺領域PERの幅Wは、視野角θ、周辺領域PERの幅Wと黒色領域BRの幅W2との大小関係、並びに下限値の幅W1が依存する視野角θ、遮光膜15が配置される部分160の厚さt、及び第2のガラス基板150の屈折率nを考慮して最適に決定される。
視野角θが液晶表示パネル10の保障された視野角と同じに設定された場合は、周辺領域PERの幅Wを視野角θを用いて計算される幅W1以上とすることにより、保障された視野角内から液晶表示パネル10が観察されたときに欠陥画素領域DPRから出射する光が完全に遮光される。このため、欠陥画素領域DPRから出射する光が視認されなくなる。
一方、視野角θが液晶表示パネル10の保障された視野角より若干小さく設定された場合は、周辺領域PERの幅Wを視野角θを用いて計算される幅W1以上としても、保障された視野角内から液晶表示パネル10が観察されたときに欠陥画素領域DPRから出射する光が減光されるが完全に遮光されないことがある。しかし、欠陥画素領域DPRから出射する光が完全に遮光されない場合であっても、欠陥画素領域DPRから出射する光が十分に減光され、欠陥画素領域DPRから出射する光が視認されない。
欠陥画素領域DPRから出射する光が完全に遮光されることは望ましいことであるから、厳しい基準が採用される場合は、視野角θが液晶表示パネル10の保障された視野角と同じに設定される。しかし、緩やかな基準が採用される場合は、視野角θが液晶表示パネル10の保障された視野角より若干小さく設定される。この場合は、設定された視野角θ内から液晶表示パネル10が観察されたときには、欠陥画素領域DPRから出射する光が完全に遮光される。このため、欠陥画素領域DPRから出射する光が視認されない。また、設定された視野角θ外であって保障された視野角内から液晶表示パネル10が観察されたときには、欠陥画素領域DPRから出射する光が十分に減光される。このため、欠陥画素領域DPRから出射する光が視認されない。これにより、周辺領域PERの幅Wを視野角θを用いて計算される下限値の幅W1以上とすること、及び周辺領域PRの幅Wを上限値の幅W2以下にすることを両立することが容易になる。
液晶表示パネル10は、上述したように、横電界方式の液晶表示パネルである。また、横電界方式の液晶表示パネルは、多くの場合は、左右方向について視野角45°内から観察された場合に輝点欠陥となる画素が概ね視認されなければ良品であると判定される。このため、視野角θは、望ましくは、45°に設定される。
式(1)からは、遮光膜が配置される部分160の厚さtが小さくなるほど、視野角θに対する下限の幅W1の比が小さくなることを理解することができる。このため、厚さtが小さくなるほど、視野角θに対する周辺領域PERの幅Wの比を小さくすることができる。これにより、厚さtが小さくなった場合は、周辺領域PERの幅Wを黒色領域BRの幅W2以下にすること、又は周辺領域PERの幅Wを黒色領域BRの幅W2より大きくせざるを得ない場合に周辺領域PERの幅Wと黒色領域BRの幅W2との差を小さくすることが容易になる。したがって、隣接画素領域APRから出射する光が視認されにくくなることを抑制することができ、液晶表示装置3の表示品位が低下することを抑制することができる。この効果は、厚さtが0.3mm未満である場合に得ることができる。このため、厚さtが上述したように0.2mm未満である場合又は約0.15mmである場合は、隣接画素領域APRから出射する光が視認されにくくなることを効果的に抑制することができ、液晶表示装置3の表示品位が低下することを効果的に抑制することができる。
3.13 液晶表示装置の製造
図6及び図7は、実施の形態1の液晶表示装置の製造方法を示すフローチャートである。
図6及び図7は、実施の形態1の液晶表示装置の製造方法を示すフローチャートである。
液晶表示装置3が製造される際には、図6及び図7に図示されるステップS111からS114までにおいて液晶表示装置3が組み立てられる、また、図7に図示されるステップSTSにおいて、液晶表示パネル10の中間品に対して点灯検査が行われる。また、図7に図示されるステップSREにおいて、輝点欠陥となる画素を有する液晶表示パネル10の中間品に輝点欠陥となる画素を目立たなくする輝点欠陥の修正が行われる。
液晶表示装置3が製造される際には、マザーアレイ基板の中間品及びマザー対向基板の中間品が作製される。マザーアレイ基板の中間品が作製される際には、マザーガラス基板の一方の主面上にゲート配線、ソース配線、TFT131、画素電極132、共通電極134、絶縁膜135、信号端子137等が一般的な方法により形成される。マザー対向基板の中間品が作製される際には、マザーガラス基板の一方の主面上にブラックマトリックス151、カラーフィルタ152、OC層153、柱状スペーサ等が一般的な方法により形成される。ただし、マザー対向基板の中間品が作製される際には、一般的な横電界方式の液晶表示パネルを備える液晶表示装置が作製される場合と異なり、マザーガラス基板の他方の主面上に透明導電膜155が形成されない。その理由については、下述する。
また、ステップS101からS103までが順次に実行されて、作製されたマザーアレイ基板の中間品及びマザー対向基板の中間品からそれぞれマザーアレイ基板及びマザー対向基板が作製される。作製されるマザーアレイ基板及びマザー対向基板は、それぞれアレイ基板110及び対向基板111の平面形状より大きな平面形状を有する。作製されるマザーアレイ基板及びマザー対向基板には、それぞれ少なくともひとつのアレイ基板110の中間品及び少なくともひとつの対向基板111の中間品が面付けされている。
また、ステップS104からS110までが順次に実行されて、作製されたマザーアレイ基板及びマザー対向基板からマザーセル基板が作製される。作製されるマザーセル基板は、液晶セル100の平面形状より大きな平面形状を有する。作製されるマザーセル基板には、少なくともひとつの液晶セル100が面付けされている。
また、ステップS111が実行されて、作製されたマザーセル基板から少なくともひとつの液晶セル100が切り出される。多くの場合は、マザーセル基板からから複数の液晶セル100が切り出される。マザーセル基板から複数の液晶セル100を切り出すことは、液晶セル100の「多面取り」とも呼ばれる。
また、ステップS112からS114までが順次に実行されて、切り出された液晶セル100から液晶表示パネル10が作製され、作製された液晶表示パネル10を備える液晶表示装置3が組み立てられる。
ステップS101においては、作製されたマザーアレイ基板の中間品及びマザー対向基板の中間品が洗浄される。
続くステップS102においては、洗浄されたマザーアレイ基板の中間品の一方の主面上に配向膜136が形成される。また、洗浄されたマザー対向基板の中間品の一方の主面上に配向膜154が形成される。配向膜136及び配向膜154が形成される際には、それぞれ配向膜136及び配向膜154が形成される主面上に配向膜136及び配向膜154を構成する配向膜材料及び溶剤を含む塗布液が塗布されて塗布膜が形成され、形成された塗布膜から溶剤が揮発させられて塗布膜が乾燥させられる。配向膜材料は、有機材料等である。有機材料は、ポリイミド等である。塗布液は、フレキソ印刷法により塗布液を主面上に転写塗布すること等により主面上に塗布される。塗布液がフレキソ印刷法により主面上に転写塗布される際には、転写ローラの表面に塗布液が塗布され、塗布液が塗布された転写ローラが主面に接触させられた状態で転写ローラが主面に対して特定の転写方向に移動させられる。塗布膜は、ホットプレート等により加熱することにより乾燥させられる。塗布液が乾燥させられる際の温度は、約200℃である。
続くステップS103においては、形成された配向膜136及び配向膜154に分子配向処理が行われる。分子配向処理は、ラビング、光照射等である。これにより、互いに貼り合わされるマザーアレイ基板及びマザー対向基板が作製される。
続くステップS104においては、作製されたマザーアレイ基板及びマザー対向基板の一方の基板の一方の主面上にシール材113が形成される。シール材113が形成される際には、シール材113が形成される主面上にペースト状のシール剤が塗布される。シール剤は、シールディスペンサ装置等により塗布される。シール剤がシールディスペンサ装置により塗布される場合は、シールディスペンサ装置のディスペンサノズルからシール材113が形成される主面に向かってシール剤が吐出される。シール剤は、表示領域DRを囲む領域に塗布され、枠状のパターンを有する。
続くステップS105においては、シール材113が形成された主面上に液晶が滴下される。液晶は、シール材113が形成された領域に囲まれる領域に滴下される。
続くステップS106においては、マザーアレイ基板及びマザー対向基板が互いに貼り合わされる。マザーアレイ基板及びマザー対向基板は、真空下で互いに貼り合わされる。
続くステップS107においては、形成されたシール材103が仮硬化させられる。シール材103は、シール材103に紫外線を照射することにより仮硬化させられる。
続くステップS108においては、仮硬化したシール材103にアフターキュアが行われる。シール材103にアフターキュアが行われる際には、シール材103が加熱される。これにより、シール材103が完全に硬化させられる。
続くステップS109においては、マザーアレイ基板及びマザー対向基板に備えられるマザーガラス基板が薄板化される。例えば、約0.5mmの厚さを有するマザーガラス基板がそれらの厚さが約0.15mmになるまで研磨されて薄板化される。この場合は、中心値が0.15mmでありばらつきが中心値の±20%の範囲内に収まるようにマザーガラス基板の厚さが管理される。マザーガラス基板は、薬液を用いて化学研磨を行うウエットエッチング、研磨剤により擦る物理研磨等によりマザーガラス基板の他方の主面を削ることにより薄板化される。薄板化は、スリミングとも呼ばれる。これにより、下述するステップ114において平坦形状を有する液晶表示パネル10を変形させて湾曲形状を有する液晶表示パネル10を得ることが容易になる。
続くステップS110においては、薄板化された、マザー対向基板に備えられるマザーガラス基板の他方の主面上に透明導電膜155が形成される。これにより、マザーセル基板が作製される。透明導電膜155は、スパッタリング等により形成される。マザー対向基板の中間品が作製される途上ではなくステップS110において透明導電膜155が形成されるのは、ステップS109において薄板化されたマザーガラス基板の他方の主面上に透明導電膜155を形成する必要があるためである。
続くステップS111においては、作製されたマザーセル基板が複数の液晶セル100に分断される。マザーセル基板が分断される際には、マザーセル基板がスクライブラインに沿って切断される。
続くステップS112においては、得られた液晶セル100に第1の偏光板101及び第2の偏光板102が貼り付けられる。これにより、液晶表示パネル10の中間品が作製される。
続くステップSTSにおいては、作製された液晶表示パネル10の中間品に対して点灯検査が行われる。
点灯検査が行われる際には、得られた液晶表示パネル10の中間品が良品及び不良品のいずれであるのかが判定される。
点灯検査が行われる際には、点欠陥、線欠陥、表示ムラ等の検査が順次に行われる。点欠陥には、輝点欠陥が含まれる。線欠陥は、配線の断線、配線間の短絡等により生じる。これらの検査のすべてについて良品であると判定された液晶表示パネル10の中間品は、良品であると判定される。
ステップSTSにおいて点灯検査が行われた後にステップS112において第1の偏光板101及び第2の偏光板102が貼り付けられてもよい。この場合は、第1の偏光板101と同様の機能を有する点灯検査用の第1の偏光板、及び第2の偏光板102と同様の機能を有する点灯検査用の第2の偏光板が点灯検査に用いる装置に設けられ、点灯検査用の第1の偏光板が第1のガラス基板130の外側主面130e上に配置され、点灯検査用の第2の偏光板が第2のガラス基板150の外側主面150e上に配置された状態で点灯検査が行われる。
検査者は、輝点欠陥の検査を行った際に輝点欠陥であると判定すべきか否かに迷う弱い輝点を発見した場合は、上述したNDフィルタを介して液晶表示パネル10の中間品を観察する。また、検査者は、NDフィルタを介して液晶表示パネル10の中間品を観察した場合でも輝点を視認することができるときは、輝点を輝点欠陥であると判定する。
また、検査者は、輝点欠陥の検査について、液晶表示パネル10の中間品が輝点欠陥を有しない場合は、当該液晶表示パネル10の中間品が良品であると判定し、液晶表示パネル10の中間品が輝点欠陥を有する場合は、当該液晶表示パネル10の中間品が不良品であると判定する。また、検査者は、点欠陥の検査について不良品であると判定した液晶表示パネル10の中間品について、輝点欠陥となる画素の位置等を記録する。これにより、欠陥画素領域DPRが特定される。
ステップSREにおいては、輝点欠陥の検査について不良品であると判定された液晶表示パネル10の中間品に輝点欠陥の修正が行われる。
輝点欠陥の修正が行われる際には、上述した遮光膜15が第2のガラス基板150の外側主面150e上に形成される。遮光膜15は、液晶表示パネル10の厚さ方向から平面視された場合に、欠陥画素領域DPRと重なり、欠陥画素領域DPRからはみ出す。このため、遮光膜15は、液晶表示パネル10の厚さ方向から平面視された場合に、欠陥画素領域DPRと重なり、欠陥画素領域DPRに隣接する周辺領域PERとも重なる。また、遮光膜15は、液晶表示パネル10の厚さ方向から平面視された場合に、輝点欠陥となる画素内のブラックマトリクス151の開口部151oと重なり、輝点欠陥となる画素内のブラックマトリクス151とも重なる。
遮光膜15は、遮光性を有する材料からなる。遮光性を有する材料は、黒インク、黒色レジスト等である。遮光性を有する材料が、第2のガラス基板150の外側主面150e上に配置される要素の一部を変質させることにより得られる材料であってもよい。例えば、遮光性を有する材料が、偏光板142の一部を変質させることにより得られる材料であってもよい。変質させられる要素は、望ましくは、第2のガラス基板150の外側主面150eに近い要素であり、さらに望ましくは、第2の偏光板102を構成する保護層(TAC層)、粘着層等である。
遮光性を有する材料が黒インク、黒色レジスト等であり、ステップS112において第1の偏光板101及び第2の偏光板102が貼り付けられた後に、ステップSTSにおいて点灯検査が行われ、ステップSREにおいて輝点欠陥の修正が行われる場合は、第2の偏光板102がいったん剥離され、遮光膜15が形成され、第2の偏光板102が再び貼り付けられる。上述したようにステップSTSにおいて点灯検査が行われた後にステップS112において第1の偏光板101及び第2の偏光板102が貼り付けられる場合は、ステップSREにおいて輝点欠陥の修正が行われた後にステップS112において第1の偏光板101及び第2の偏光板102が貼り付けられることにより、第2の偏光板102をいったん剥離する工程を省略することができる。これにより、第2の偏光板102を剥離する工程により第2のガラス基板150が損傷することを抑制することができる。この利点は、第2のガラス基板150が小さな厚さしか有しない場合、特に第2のガラス基板150が約0.15mmの厚さしか有さず第2のガラス基板150が損傷しやすい場合に特に顕著になる。
遮光性を有する材料が第2の偏光板102の一部を変質させることにより得られる材料である場合は、第2のガラス基板150の外側主面150eに第2の偏光板102を配置したまま遮光膜15を形成することができる。これにより、第2の偏光板102を剥離する工程により第2のガラス基板150が損傷することを抑制することができる。この利点は、第2のガラス基板150が小さな厚さしか有しない場合、特に第2のガラス基板150が約0.15mmの厚さしか有さず第2のガラス基板150が損傷しやすい場合に特に顕著になる。また、ステップS112において第1の偏光板101及び第2の偏光板102が貼り付けられた後にステップSREにおいて輝点欠陥の修正が行われなければならないが、ステップS112における第1の偏光板101及び第2の偏光板102の貼り付け、及びステップSTSにおける点灯検査のいずれを先に実行するかは任意である。
遮光性を有する材料が黒インク、黒色レジスト等である場合、及び遮光性を有する材料が第2の偏光板102の一部を変質させることにより得られる材料である場合のいずれにおいても、遮光膜15は、液晶表示パネル10の厚さ方向から平面視された場合に、欠陥画素領域DPRと重なり、周辺領域PERとも重ならなければならない。このため、遮光膜15は、高い位置精度及び高い寸法精度を有しなければならない。
したがって、遮光性を有する材料が黒インク、黒色レジスト等である場合は、望ましくは、欠陥画素領域DPR及び周辺領域PERを含む領域に重なる遮光膜が形成され、形成された遮光膜がフォトリソグラフィーによりパターニングされ、欠陥画素領域DPR及び周辺領域PERに重なる部分が選択的に残される。遮光膜が形成される際には、感光性を有する遮光性材料を含む塗布液が塗布されて塗布膜が形成され、形成された塗布膜が乾燥させられる。塗布液は、印刷、スピン塗布等により塗布される。印刷は、インクジェット方式の印刷等である。遮光性材料がポジ型の材料である場合は、遮光膜がパターニングされる際に、欠陥画素領域DPR及び周辺領域PERの平面形状と同様の平面形状を有する開口を有するマスクが準備され、準備されたマスクの開口を介して塗布膜に光が照射されて塗布膜に含まれる遮光性材料が感光させられる。また、感光されなかった遮光性材料が除去される。遮光性材料がネガ型の材料である場合は、遮光膜がパターニングされる際に、欠陥画素領域DPR及び周辺領域PERの平面形状と同様の平面形状を有する遮光部を有するマスクが準備され、準備されたマスクの開口を介して塗布膜に光が照射されて塗布膜に含まれる遮光性材料が感光させられる。また、感光された遮光性材料が除去される。照射される光は、紫外線、レーザ光等である。
また、遮光性を有する材料が第2の偏光板102の一部を変質させることにより得られる材料である場合は、欠陥画素領域DPR及び周辺領域PERの平面形状と同様の平面形状を有する開口を有するマスクが準備され、準備されたマスクの開口を介して第2の偏光板102に光が照射されて第2の偏光板102の一部が光により変質させられる。照射される光は、紫外線、レーザ光等である。
ステップSREにおいて輝点欠陥の修正が行われた後には、ステップSTSにおいて、輝点欠陥の修正が行われた液晶表示パネル10の中間品に対して点灯検査が再び行われる。
点灯検査が再び行われる際には、輝点欠陥の修正が行われて液晶表示パネル10の中間品が良品になったか否かを確認するために、液晶表示パネル10の中間品が良品及び不良品のいずれであるのかが再び判定される。
点灯検査が再び行われる際には、上述した点欠陥、線欠陥、表示ムラ等の検査の全部が行われてもよいし、輝点欠陥の修正の適否を確認することが重視されて輝点欠陥の検査が行われてもよい。また、輝点欠陥の検査が行われる際には、斜めから液晶表示パネル10の中間品が観察された場合に欠陥画素領域DPRから出射する光が視認されるか否かが検査されてもよい。例えば、左右方向45°から液晶表示パネル10の中間品が観察された場合に欠陥画素領域DPRから出射する光が視認されるか否かが検査されてもよい。欠陥画素領域DPRから出射する光が視認される程度が検査されてもよい。その際には、NDフィルタを介して液晶表示パネル10の中間品が観察される。
続くステップS113においては、最初から良品であると判定された、又は輝点欠陥の修正が行われた後に良品であると判定された液晶表示パネル10の中間品に制御基板13及びFFC14が実装される。これにより、液晶表示パネル10が完成する。
続くステップS114においては、完成した液晶表示パネル10が透明粘着シート12により透明保護カバー11に貼り付けられる。これにより、平坦形状を有する液晶表示パネル10が変形させられ湾曲形状を有する液晶表示パネル10が得られる。また、液晶表示パネル10の背面10bに光学シートを挟んでバックライトが対向させられた状態で液晶表示パネル10、透明保護カバー11、透明粘着シート12、制御基板13、FFC14、バックライト及び光学シートが筐体に収容される。これにより、液晶表示装置3が完成する。
3.14 実施の形態1の発明の効果
実施の形態1の発明によれば、視野角内から液晶表示パネル10が観察された場合に欠陥画素領域DPRから出射する光が視認されない。このため、視野角内から液晶表示パネル10が観察された場合に輝点欠陥となる画素が目立たない。また、遮光膜15を著しく大きくしなくても視野角内から液晶表示パネル10が観察された場合に欠陥画素領域DPRから出射する光が視認されない。このため、輝点欠陥となる画素に隣接する画素が隠されにくい。これにより、高い表示品位を有する表示装置3を提供することができる。
実施の形態1の発明によれば、視野角内から液晶表示パネル10が観察された場合に欠陥画素領域DPRから出射する光が視認されない。このため、視野角内から液晶表示パネル10が観察された場合に輝点欠陥となる画素が目立たない。また、遮光膜15を著しく大きくしなくても視野角内から液晶表示パネル10が観察された場合に欠陥画素領域DPRから出射する光が視認されない。このため、輝点欠陥となる画素に隣接する画素が隠されにくい。これにより、高い表示品位を有する表示装置3を提供することができる。
4 実施の形態2
4.1 液晶表示装置
図8は、実施の形態2の液晶表示装置を模式的に図示する断面図である。図9は、実施の形態2の液晶表示装置の主要部を模式的に図示する拡大断面図である。図9は、ふたつの画素を構成する部分を図示する。
4.1 液晶表示装置
図8は、実施の形態2の液晶表示装置を模式的に図示する断面図である。図9は、実施の形態2の液晶表示装置の主要部を模式的に図示する拡大断面図である。図9は、ふたつの画素を構成する部分を図示する。
以下では、図8及び図9に図示される実施の形態2の液晶表示装置4が、図3及び図5に図示される実施の形態1の液晶表示装置3と異なる点に着目して説明を進める。説明されない点については、実施の形態1の液晶表示装置3において採用された構成と同様の構成が実施の形態2の液晶表示装置4においても採用される。
実施の形態1においては、液晶表示装置3は、湾曲型の液晶表示装置である。このため、液晶表示パネル10の表示面10dは、湾曲している。また、平坦形状を有する液晶表示パネル10を変形させて湾曲形状を有する液晶表示パネル10を得る必要があるため、第1のガラス基板130及び第2のガラス基板150は、望ましくは0.2mm未満の厚さを有する。また、液晶表示パネル10を湾曲形状を有するように変形させた状態で固定する必要があるため、液晶表示装置3が、元々湾曲形状を有する透明保護カバー11、及び透明粘着シート12を備える。
これに対して、実施の形態2においては、液晶表示装置4は、平坦型の液晶表示装置である。このため、液晶表示パネル10の表示面10dは、平坦である。また、平坦形状を有する液晶表示パネル10を変形させる必要がないため、第1のガラス基板130及び第2のガラス基板150は、0.2mm以上の厚さを有してもよい。ただし、第1のガラス基板130及び第2のガラス基板150は、望ましくは、0.3mm未満の厚さを有し、さらに望ましくは、約0.25mmの厚さを有する。この場合は、中心値が0.25mmでありばらつきが中心値の±20%の範囲内に収まるように第1のガラス基板130及び第2のガラス基板150の厚さが管理される。一般的な液晶表示装置に備えられるガラス基板は0.3mmから0.5mm程度の厚さを有する。このため、第1のガラス基板130及び第2のガラス基板150は、一般的な液晶表示装置に備えられるガラス基板の厚さより薄い厚さを有する。これにより、液晶表示装置4は、一般的な液晶表示装置よりも薄型化及び軽量化されている。また、液晶表示パネル10を湾曲形状を有するように変形させた状態で固定する必要がないため、液晶表示装置4は、湾曲形状を有する透明保護カバー11、及び透明粘着シート12を備えない。ただし、液晶表示装置4が平坦形状を有する透明保護カバー、及び透明粘着シート12を備えてもよい。平坦形状を有する透明保護カバーが他の種類の前面カバーに置き換えられてもよい。例えば、平坦形状を有する透明保護カバーがタッチパネルに置き換えられてもよい。液晶表示装置4がタッチパネルを備える場合は、タッチパネル付きの液晶表示装置4が得られる。液晶表示装置4が前面カバー及び透明粘着シート12を備えることにより、液晶表示パネル10の正面10f側から加えられる外圧に対する液晶表示装置4の耐性、及び液晶表示装置4の耐湿性が向上する。
実施の形態1においては、第2のガラス基板150の厚さは、均一である。このため、遮光膜15が配置される部分160は、残余部分161の厚さと同じ厚さtを有する。
これに対して、実施の形態2においては、第2のガラス基板150の厚さは、不均一であり、遮光膜15が配置される領域において局所的に小さくなっている。このため、遮光膜が配置される部分160は、残余部分161の厚さより薄い厚さtを有する。また、部分160は、第2のガラス基板150の外側主面150eに凹部160dを有する。遮光膜15は、凹部160d内に収容される。
上述したように、遮光膜15が配置される部分160の厚さtが小さくなるほど、視野角θに対する周辺領域PERの幅Wの比を小さくすることができる。したがって、残余部分161の厚さより薄い厚さを有する部分160上に遮光膜15が配置された場合は、残余部分161の厚さと同じ厚さを有する部分160上に遮光膜15が配置された場合と比較して、視野角θに対する周辺領域PERの幅Wの比を小さくすることができる。例えば、残余部分161の厚さ0.25mmより0.1mm薄い0.15mmの厚さを有する部分160上に遮光膜15が配置された場合は、残余部分161の厚さ0.25mmと同じ厚さ0.25mmを有する部分160上に遮光膜15が配置された場合と比較して、視野角θに対する周辺領域PERの幅Wの比を小さくすることができる。また、残余部分161の厚さ0.25mmより0.1mm薄い0.15mmの厚さを有する部分160上に遮光膜15が配置された場合は、均一な厚さ0.15mmを有する第2の基板150の部分160上に遮光膜15が配置された場合と同様に、視野角θに対する周辺領域PERの幅Wの比を小さくすることができる。
したがって、遮光膜15が凹部160d内に収容されることにより、周辺領域PERの幅Wを黒色領域BRの幅W2以下にすること、又は周辺領域PERの幅Wを黒色領域BRの幅W2より大きくせざるを得ない場合に周辺領域PERの幅Wと黒色領域BRの幅W2との差を小さくすることがより容易になる。したがって、隣接画素領域APRから出射する光が視認されにくくなることをより抑制することができ、液晶表示装置3の表示品位が低下することをより抑制することができる。
輝点欠陥の修正の効果は、遮光膜15が配置される部分160が0.3mm未満の厚さtを有する限り、残余部分161が0.3mm以上の厚さを有する場合においても生じる。したがって、液晶表示装置4の製造上の都合により0.3mm以上の厚さを有する残余部分161を備える第2の基板150を用いる必要がある場合においても、輝点欠陥の修正の効果を得ることができる。
実施の形態1の液晶表示装置3に備えられる遮光膜15が配置される部分160が凹部160dを有してもよい。実施の形態1の液晶表示装置3に備えられる部分160が凹部160dを有する場合も、遮光膜15が凹部160d内に収容されることにより、周辺領域PERの幅Wを黒色領域BRの幅W2以下にすること、又は周辺領域PERの幅Wを黒色領域BRの幅W2より大きくせざるを得ない場合に周辺領域PERの幅Wと黒色領域BRの幅W2との差を小さくすることがより容易になる。したがって、隣接画素領域APRから出射する光が視認されにくくなることをより抑制することができ、液晶表示装置3の表示品位が低下することをより抑制することができる。
遮光膜15は、望ましくは凹部160dの深さと同じ厚さを有する。これにより、第2のガラス基板150及び遮光膜15からなる要素の外側主面の平坦性が向上する。これにより、第2のガラス基板150の外側主面150e上に第2の粘着層により第2の偏光板102が貼り付けられる際に、第2のガラス基板150と第2の粘着層との間、又は第2の粘着層と第2の偏光板102との間に気泡が混入することを抑制することができる。
第2の基板150が0.3mm未満の均一な厚さを有する場合は、遮光膜15が配置される部分160が凹部160dを有さないときであっても、部分160は0.3mm未満の厚さを有する。このため、第2の基板150が0.3mm未満の均一な厚さを有する場合は、部分160が凹部160dを有さないときであっても、上述した輝点欠陥の修正の効果が生じる。
4.2 液晶表示装置の製造
以下では、実施の形態2の液晶表示装置4の製造方法が図6及び図7に示される実施の形態1の液晶表示装置3の製造方法と異なる点に着目して説明を進める。説明されない点については、実施の形態1の液晶表示装置3の製造において採用された工程と同様の工程が実施の形態2の液晶表示装置4の製造においても採用される。
以下では、実施の形態2の液晶表示装置4の製造方法が図6及び図7に示される実施の形態1の液晶表示装置3の製造方法と異なる点に着目して説明を進める。説明されない点については、実施の形態1の液晶表示装置3の製造において採用された工程と同様の工程が実施の形態2の液晶表示装置4の製造においても採用される。
実施の形態1の液晶表示装置3の製造においては、ステップS109において、例えば、約0.5mmの厚さを有するマザーガラス基板がそれらの厚さが約0.15mmになるまで研磨されて薄板化される。この場合は、中心値が0.15mmでありばらつきが中心値の±20%の範囲内に収まるようにマザーガラス基板の厚さが管理される。
これに対して、実施の形態2の液晶表示装置4の製造においては、ステップS109において、例えば、約0.5mmの厚さを有するマザーガラス基板がそれらの厚さが約0.25mmになるまで研磨されて薄板化される。この場合は、中心値が0.25mmでありばらつきが中心値の±20%の範囲内に収まるようにマザーガラス基板の厚さが管理される。
また、実施の形態1の液晶表示装置3の製造においては、ステップSREにおいて輝点欠陥の修正が行われる際に、第2のガラス基板150の平坦な外側主面150e上に遮光膜15が形成される。
これに対して、実施の形態2の液晶表示装置4の製造においては、ステップSREにおいて輝点欠陥の修正が行われる際に、第2のガラス基板150の外側主面150eに凹部160dが形成される。また、凹部160dが形成された後に、第2のガラス基板150の外側主面150e上に遮光膜15が形成される。遮光膜15は、凹部160d内に形成される。
ステップS112において第1の偏光板101及び第2の偏光板102が貼り付けられた後に、ステップSTSにおいて点灯検査が行われ、ステップSREにおいて輝点欠陥の修正が行われる場合は、ステップSREにおいて、第2の偏光板102がいったん剥離され、凹部160d及び遮光膜15が形成され、第2の偏光板102が再び貼り付けられる。上述したようにステップSTSにおいて点灯検査が行われた後にステップS112において第1の偏光板101及び第2の偏光板102が貼り付けられる場合は、ステップSREにおいて輝点欠陥の修正が行われた後にステップS112において第1の偏光板101及び第2の偏光板102が貼り付けられることにより、第2の偏光板102をいったん剥離する工程を省略することができる。これにより、第2の偏光板102を剥離する工程により第2のガラス基板150が損傷することを抑制することができる。
凹部150eは、第2のガラス基板150の外側主面150eに第2の偏光板102が貼り付けられておらず第2のガラス基板150の外側主面150eが露出している状態下で形成される。凹部150eは、ガラス加工技術により形成される。ガラス加工技術は、ウエットエッチング、ドライエッチング、レーザエッチング、触刻等である。レーザエッチングには、炭酸ガスレーザ、エキシマレーザ等が用いられる。触刻には、ダイヤモンド製の針、超硬合金製の針等が用いられる。
凹部150eは、望ましくは、高い位置精度及び高い寸法精度を有するガラス加工技術により形成される。これにより、凹部150eの側面が隣接画素領域APRに重なり隣接画素領域APRから出射する光が視認されにくくなることを抑制することができる。例えば、凹部150eは、凹部150eが形成される領域の平面形状と同じ平面形状を有する開口を有するレジストマスクを介してウエットエッチング又はドライエッチングを行うことにより形成される。又は、凹部150eは、凹部150eが形成される領域の平面形状と同じ平面形状を有する開口を有するフォトマスクを介してレーザエッチングを行うことにより形成される。
凹部150eがレジストマスクを介してウエットエッチング又はドライエッチングを行うことにより形成される場合は、望ましくは、ステップS109におけるマザー対向基板に備えられるマザーガラス基板の薄板化、及びステップSREにおける凹部150eの形成が連続的に行われる。例えば、レジストマスクを介してウエットエッチング又はドライエッチングが行われた後にレジストマスクが除去され、レジストマスクが除去された後にウエットエッチング又はドライエッチングが再び行われる。これにより、凹部150eを形成するための追加の薬液、処理装置等が不要になり、凹部150eが効率的に形成される。
ステップS109におけるマザー対向基板に備えられるマザーガラス基板の薄板化、及びステップSREにおける凹部150eの形成が連続的に行われる場合は、ステップS109においてマザー対向基板に備えられるマザーガラス基板が薄板化されステップSREにおいて凹部150eが形成される前に欠陥画素領域DPRが特定されなければならない。しかし、ステップS111においてマザーセル基板が複数の液晶セル100に分断される前においては液晶セル100に信号を入力することが困難であるため、ステップS109においてマザー対向基板に備えられるマザーガラス基板が薄板化されステップSREにおいて凹部150eが形成される前には点灯検査を行うことが困難である。このため、ステップS109においてマザー対向基板に備えられるマザーガラス基板が薄板化されステップSREにおいて凹部150eが形成される前には点灯検査により欠陥画素領域DPRを特定することが困難である。そこで、ステップS109におけるマザー対向基板に備えられるマザーガラス基板の薄板化、及びステップSREにおける凹部150eの形成が連続的に行われる場合は、点灯検査以外の点欠陥検査により欠陥画素領域DPRが特定される。点灯検査以外の点欠陥検査においては、例えば、蓄積容量に保持される電荷のリーク量を検出することにより点欠陥が検出され、欠陥画素領域DPRが特定される。
ステップS109においてマザーガラス基板を薄板化することに代えて、ステップS111においてマザーセル基板が複数の液晶セル100に分断された後にステップSTSにおいて点灯検査が行われ、ステップSTSにおいて点灯検査が行われた後に液晶表示パネル10の中間品に備えられるガラス基板を薄板化することが行われてもよい。これにより、ガラス基板の薄板化、及びステップSREにおける凹部150eの形成を連続的に行うことができる。
凹部160dの内部に形成される遮光膜15を構成する遮光性を有する材料は、望ましくは黒インク、黒色レジスト等である。
この場合は、実施の形態1の液晶表示装置3が製造される場合と同様に、欠陥画素領域DPR及び周辺領域PERを含む領域に重なる遮光膜が形成され、形成された遮光膜がフォトリソグラフィーによりパターニングされ、欠陥画素領域DPR及び周辺領域PERに重なる部分が選択的に残されることにより、凹部160dの内部に高い位置精度及び高い寸法精度を有する遮光膜15が形成される。
高い位置精度及び高い寸法精度を有する凹部160dが形成されている場合は、凹部160dを利用して高い位置精度及び高い寸法精度を有する遮光膜15が自己整合的に形成されてもよい。例えば、黒インク等を含むペーストが凹部160dの内部にインクジェット方式の印刷等により印刷されて印刷膜が形成され、形成された印刷膜の粘度が加熱処理等により低下させられて印刷膜が凹部160dの内部の全体に拡げられてもよい。又は、黒インク等を含むペーストが凹部160dの内部及びその周辺に塗布されて塗布膜が形成され、凹部160dの周辺に形成された不要な塗布膜が第2のガラス基板150の外側主面150eにスキージ等を走らせることにより拭き取られ、凹部160dの内部のみに塗布膜が残されてもよい。
実施の形態1の液晶表示装置3の製造においては、ステップS114において、完成した液晶表示パネル10が透明粘着シート12により元々湾曲形状を有する透明保護カバー11に貼り付けられる。これにより、平坦形状を有する液晶表示パネル10が変形させられて湾曲形状を有する液晶表示パネル10が得られる。また、液晶表示パネル10の背面10bに光学シートを挟んでバックライトが対向させられた状態で液晶表示パネル10、透明保護カバー11、透明粘着シート12、制御基板13、FFC14、バックライト及び光学シートが筐体に収容される。
これに対して、実施の形態2の液晶表示装置4の製造においては、液晶表示装置4が前面カバーを備えない場合は、ステップS114において、完成した液晶表示パネル10が透明粘着シートにより前面カバーに貼り付けられることなく、液晶表示パネル10の背面10bに光学シートを挟んでバックライトが対向させられた状態で液晶表示パネル10、制御基板13、FFC14、バックライト及び光学シートが筐体に収容される。液晶表示装置4が平坦形状を有する前面カバーを備える場合は、完成した液晶表示パネル10が透明粘着シートにより平坦形状を有する前面カバーに貼り付けられる。また、液晶表示パネル10の背面10bに光学シートを挟んでバックライトが対向させられた状態で液晶表示パネル10、前面カバー、透明粘着シート、制御基板13、FFC14、バックライト及び光学シートが筐体に収容される。
4.3 実施の形態2の発明の効果
実施の形態2の発明によれば、実施の形態1の発明と同様に、視野角内から液晶表示パネル10が観察された場合に欠陥画素領域DPRから出射する光が視認されない。このため、視野角内から液晶表示パネル10が観察された場合に輝点欠陥となる画素が目立たない。また、遮光膜15を著しく大きくしなくても視野角内から液晶表示パネル10が観察された場合に欠陥画素領域DPRから出射する光が視認されない。このため、輝点欠陥となる画素に隣接する画素が隠されにくい。これにより、高い表示品位を有する表示装置4を提供することができる。
実施の形態2の発明によれば、実施の形態1の発明と同様に、視野角内から液晶表示パネル10が観察された場合に欠陥画素領域DPRから出射する光が視認されない。このため、視野角内から液晶表示パネル10が観察された場合に輝点欠陥となる画素が目立たない。また、遮光膜15を著しく大きくしなくても視野角内から液晶表示パネル10が観察された場合に欠陥画素領域DPRから出射する光が視認されない。このため、輝点欠陥となる画素に隣接する画素が隠されにくい。これにより、高い表示品位を有する表示装置4を提供することができる。
5 有機EL表示装置における表示媒体層、画素領域及び黒色領域
輝点欠陥の修正が行われる表示装置1は、第2の基板150が透明基板であり、複数の画素領域PRに欠陥画素領域DPRが含まれる可能性がある限り、液晶表示装置2以外の表示装置であってもよい。液晶表示装置2以外の表示装置は、自発光方式の表示装置であってもよい。自発光方式の表示装置は、有機エレクトロルミネッセンス(EL)表示装置であってもよい。表示装置1が自発光方式の表示装置である場合は、顕像が形成される発光層が表示媒体層となる。また、画素中の光を発する領域が、光が出射する画素領域PRになり、隣接する光が発する領域の間の光を発しない領域が、光が出射しない黒色領域BRになる。
輝点欠陥の修正が行われる表示装置1は、第2の基板150が透明基板であり、複数の画素領域PRに欠陥画素領域DPRが含まれる可能性がある限り、液晶表示装置2以外の表示装置であってもよい。液晶表示装置2以外の表示装置は、自発光方式の表示装置であってもよい。自発光方式の表示装置は、有機エレクトロルミネッセンス(EL)表示装置であってもよい。表示装置1が自発光方式の表示装置である場合は、顕像が形成される発光層が表示媒体層となる。また、画素中の光を発する領域が、光が出射する画素領域PRになり、隣接する光が発する領域の間の光を発しない領域が、光が出射しない黒色領域BRになる。
なお、本発明は、その発明の範囲内において、各実施の形態を自由に組み合わせたり、各実施の形態を適宜、変形、省略することが可能である。
この発明は詳細に説明されたが、上記した説明は、すべての局面において、例示であって、この発明がそれに限定されるものではない。例示されていない無数の変形例が、この発明の範囲から外れることなく想定され得るものと解される。
1 表示装置、2,3,4 液晶表示装置、10 液晶表示パネル、15 遮光膜、112 液晶層、130 第1の基板(第1の透明基板、第1のガラス基板)、150 第2の基板(第2の透明基板、第2のガラス基板)、160 部分、161 残余部分、160d 凹部、PR 画素領域、DPR 欠陥画素領域、APR 隣接画素領域、BR 黒色領域。
Claims (9)
- 光が出射する複数の画素領域を有し、前記複数の画素領域に輝点欠陥が生じた欠陥画素領域が含まれ、第1の基板と、表示媒体層と、前記表示媒体層を挟んで前記第1の基板に対向し、透明であり、0.3mm未満の厚さを有する部分を備え、前記第1の基板が配置される側と反対の側にある主面を有する第2の基板と、を備える表示パネルと、
前記主面上に配置され、前記部分上に配置され、前記表示パネルの厚さ方向から平面視された場合に前記欠陥画素領域と重なり前記欠陥画素領域から幅Wだけはみ出し、前記幅Wが視野角内から前記表示パネルが観察された場合に前記欠陥画素領域から出射する光が視認されなくなる幅W1以上である遮光膜と、
を備える表示装置。 - 前記複数の画素領域は、前記欠陥画素領域に隣接する隣接画素領域を含み、
前記表示パネルは、前記欠陥画素領域と前記隣接画素領域とを互いに隔て幅W2を有し光が出射しない黒色領域をさらに有し、
前記幅Wは、前記幅W2以下である
請求項1の表示装置。 - 前記幅W1は、設定された視野角θ、前記部分の厚さt、前記第2の基板の屈折率nを用いて式(1)により計算される幅である
W1=t×tan{sin−1(sinθ/n)}・・・(1)
請求項1又は2の表示装置。 - 前記設定された視野角θは、45°である
請求項1から3までのいずれかの表示装置。 - 前記幅W1は、透過光量を入射光量の1/10以下に減じる減光フィルタを介して視野角内から前記表示パネルが観察された場合に前記欠陥画素領域から出射する光が視認されなくなる幅である
請求項1から4までの表示装置。 - 前記第2の基板は、前記部分以外である残余部分を備え、
前記部分は、前記残余部分の厚さより薄い厚さを有し、前記主面に凹部を有し、
前記遮光膜は、前記凹部内に収容される
請求項1から5までのいずれかの表示装置。 - 前記第1の基板及び前記第2の基板の各々は、0.2mm未満の厚さを有するガラス基板であり、
前記表示パネルは、湾曲形状を有する
請求項1から6までのいずれかの表示装置。 - 前記表示パネルは、横電界方式の液晶表示パネルである
請求項1から7までのいずれかの表示装置。 - a) 光が出射する複数の画素領域を有し、前記複数の画素領域に輝点欠陥が生じた欠陥画素領域が含まれ、第1の基板と、表示媒体層と、前記表示媒体層を挟んで前記第1の基板に対向し、透明であり、0.3mm未満の厚さを有する部分を備え、前記第1の基板が配置される側と反対の側にある主面を有する第2の基板と、を備える表示パネルを準備する工程と、
b) 前記部分上にあり、前記表示パネルの厚さ方向から平面視された場合に前記欠陥画素領域と重なり前記欠陥画素領域から幅Wだけはみ出し、前記幅Wが視野角内から前記表示パネルが観察された場合に前記欠陥画素領域から出射する光が視認されなくなる幅W1以上である遮光膜を前記主面上に形成する工程と、
を備える表示装置の製造方法。
Priority Applications (2)
| Application Number | Priority Date | Filing Date | Title |
|---|---|---|---|
| JP2019031717A JP2020134871A (ja) | 2019-02-25 | 2019-02-25 | 表示装置及び表示装置の製造方法 |
| US16/798,262 US20200271986A1 (en) | 2019-02-25 | 2020-02-21 | Display device and method of manufacturing display device |
Applications Claiming Priority (1)
| Application Number | Priority Date | Filing Date | Title |
|---|---|---|---|
| JP2019031717A JP2020134871A (ja) | 2019-02-25 | 2019-02-25 | 表示装置及び表示装置の製造方法 |
Publications (1)
| Publication Number | Publication Date |
|---|---|
| JP2020134871A true JP2020134871A (ja) | 2020-08-31 |
Family
ID=72142465
Family Applications (1)
| Application Number | Title | Priority Date | Filing Date |
|---|---|---|---|
| JP2019031717A Pending JP2020134871A (ja) | 2019-02-25 | 2019-02-25 | 表示装置及び表示装置の製造方法 |
Country Status (2)
| Country | Link |
|---|---|
| US (1) | US20200271986A1 (ja) |
| JP (1) | JP2020134871A (ja) |
Families Citing this family (2)
| Publication number | Priority date | Publication date | Assignee | Title |
|---|---|---|---|---|
| CN112164331B (zh) * | 2020-10-14 | 2022-05-31 | 武汉华星光电半导体显示技术有限公司 | 多曲面显示装置 |
| CN117148612B (zh) * | 2023-08-30 | 2025-02-07 | 长沙惠科光电有限公司 | 阵列基板及其显示面板 |
-
2019
- 2019-02-25 JP JP2019031717A patent/JP2020134871A/ja active Pending
-
2020
- 2020-02-21 US US16/798,262 patent/US20200271986A1/en not_active Abandoned
Also Published As
| Publication number | Publication date |
|---|---|
| US20200271986A1 (en) | 2020-08-27 |
Similar Documents
| Publication | Publication Date | Title |
|---|---|---|
| US10989967B2 (en) | Display device | |
| KR100422567B1 (ko) | 액정표시장치 | |
| US10823999B2 (en) | Display apparatus and related manufacturing method | |
| JP5523864B2 (ja) | 液晶表示装置 | |
| US20180173033A1 (en) | Method of producing display device, and display device | |
| US10520761B2 (en) | Method of producing substrate having alignment mark | |
| CN115236902A (zh) | 阵列基板、液晶显示面板及液晶显示装置 | |
| KR100397019B1 (ko) | 액정 표시 장치 및 그 검사 방법 | |
| KR102487877B1 (ko) | 액정 표시 장치 및 그의 제조 방법 | |
| JP2020134871A (ja) | 表示装置及び表示装置の製造方法 | |
| JPH1164882A (ja) | 反射型液晶パネルおよびその製造方法 | |
| US8040477B2 (en) | Array substrate, liquid crystal display panel, and method of manufacturing the same | |
| KR20170063308A (ko) | 액정 표시장치 | |
| US20130293801A1 (en) | Display panel and display device with same | |
| US20200363687A1 (en) | Circuit substrate and display apparatus | |
| US20150338710A1 (en) | Array structure, method for manufacturing the same and array substrate | |
| US7656466B2 (en) | Substrate for a liquid crystal display panel, method of manufacturing the same and liquid crystal display device having the same | |
| KR20150137278A (ko) | 어레이 기판 및 이를 포함하는 액정 표시 장치 | |
| KR20150136339A (ko) | 어레이 기판 및 이를 포함하는 액정 표시 장치 | |
| WO2016157399A1 (ja) | 液晶パネル及び液晶表示装置 | |
| CN112213894B (zh) | 显示面板用阵列基板的制造方法 | |
| KR101328848B1 (ko) | 액정표시장치 및 그 제조 방법 | |
| CN114144723B (zh) | 液晶显示装置的制造方法以及液晶显示装置 | |
| KR20070079821A (ko) | 액정표시장치 및 그 제조방법 | |
| JP2005084087A (ja) | 液晶表示装置及びその製造方法 |