JP2019166316A - 組織採取用オフセット装置を備えたカテーテルアセンブリ、システム、及び組織の標的領域を採取する方法 - Google Patents

組織採取用オフセット装置を備えたカテーテルアセンブリ、システム、及び組織の標的領域を採取する方法 Download PDF

Info

Publication number
JP2019166316A
JP2019166316A JP2019043727A JP2019043727A JP2019166316A JP 2019166316 A JP2019166316 A JP 2019166316A JP 2019043727 A JP2019043727 A JP 2019043727A JP 2019043727 A JP2019043727 A JP 2019043727A JP 2019166316 A JP2019166316 A JP 2019166316A
Authority
JP
Japan
Prior art keywords
catheter
needle
stylet
tissue
lumen
Prior art date
Legal status (The legal status is an assumption and is not a legal conclusion. Google has not performed a legal analysis and makes no representation as to the accuracy of the status listed.)
Granted
Application number
JP2019043727A
Other languages
English (en)
Other versions
JP7338994B2 (ja
Inventor
ジェイソン・ティー・パンゼンベック
T Panzenbeck Jason
マシュー・イー・ニクソン
E Nickeson Matthew
マデリン・シー・グラハム
C Graham Madeline
Current Assignee (The listed assignees may be inaccurate. Google has not performed a legal analysis and makes no representation or warranty as to the accuracy of the list.)
Spiration Inc
Original Assignee
Spiration Inc
Priority date (The priority date is an assumption and is not a legal conclusion. Google has not performed a legal analysis and makes no representation as to the accuracy of the date listed.)
Filing date
Publication date
Priority claimed from US15/920,966 external-priority patent/US20190282218A1/en
Application filed by Spiration Inc filed Critical Spiration Inc
Publication of JP2019166316A publication Critical patent/JP2019166316A/ja
Application granted granted Critical
Publication of JP7338994B2 publication Critical patent/JP7338994B2/ja
Active legal-status Critical Current
Anticipated expiration legal-status Critical

Links

Images

Classifications

    • AHUMAN NECESSITIES
    • A61MEDICAL OR VETERINARY SCIENCE; HYGIENE
    • A61BDIAGNOSIS; SURGERY; IDENTIFICATION
    • A61B10/00Instruments for taking body samples for diagnostic purposes; Other methods or instruments for diagnosis, e.g. for vaccination diagnosis, sex determination or ovulation-period determination; Throat striking implements
    • A61B10/02Instruments for taking cell samples or for biopsy
    • A61B10/0233Pointed or sharp biopsy instruments
    • AHUMAN NECESSITIES
    • A61MEDICAL OR VETERINARY SCIENCE; HYGIENE
    • A61BDIAGNOSIS; SURGERY; IDENTIFICATION
    • A61B10/00Instruments for taking body samples for diagnostic purposes; Other methods or instruments for diagnosis, e.g. for vaccination diagnosis, sex determination or ovulation-period determination; Throat striking implements
    • A61B10/02Instruments for taking cell samples or for biopsy
    • A61B10/04Endoscopic instruments, e.g. catheter-type instruments
    • AHUMAN NECESSITIES
    • A61MEDICAL OR VETERINARY SCIENCE; HYGIENE
    • A61BDIAGNOSIS; SURGERY; IDENTIFICATION
    • A61B10/00Instruments for taking body samples for diagnostic purposes; Other methods or instruments for diagnosis, e.g. for vaccination diagnosis, sex determination or ovulation-period determination; Throat striking implements
    • A61B10/02Instruments for taking cell samples or for biopsy
    • A61B10/0233Pointed or sharp biopsy instruments
    • A61B10/0283Pointed or sharp biopsy instruments with vacuum aspiration, e.g. caused by retractable plunger or by connected syringe
    • AHUMAN NECESSITIES
    • A61MEDICAL OR VETERINARY SCIENCE; HYGIENE
    • A61BDIAGNOSIS; SURGERY; IDENTIFICATION
    • A61B17/00Surgical instruments, devices or methods
    • A61B17/34Trocars; Puncturing needles
    • A61B17/3417Details of tips or shafts, e.g. grooves, expandable, bendable; Multiple coaxial sliding cannulas, e.g. for dilating
    • A61B17/3421Cannulas
    • A61B17/3431Cannulas being collapsible, e.g. made of thin flexible material
    • AHUMAN NECESSITIES
    • A61MEDICAL OR VETERINARY SCIENCE; HYGIENE
    • A61BDIAGNOSIS; SURGERY; IDENTIFICATION
    • A61B10/00Instruments for taking body samples for diagnostic purposes; Other methods or instruments for diagnosis, e.g. for vaccination diagnosis, sex determination or ovulation-period determination; Throat striking implements
    • A61B10/02Instruments for taking cell samples or for biopsy
    • A61B10/04Endoscopic instruments, e.g. catheter-type instruments
    • A61B2010/045Needles

Landscapes

  • Health & Medical Sciences (AREA)
  • Life Sciences & Earth Sciences (AREA)
  • Surgery (AREA)
  • Heart & Thoracic Surgery (AREA)
  • Pathology (AREA)
  • Engineering & Computer Science (AREA)
  • Biomedical Technology (AREA)
  • Medical Informatics (AREA)
  • Molecular Biology (AREA)
  • Animal Behavior & Ethology (AREA)
  • General Health & Medical Sciences (AREA)
  • Public Health (AREA)
  • Veterinary Medicine (AREA)
  • Nuclear Medicine, Radiotherapy & Molecular Imaging (AREA)
  • Radiology & Medical Imaging (AREA)
  • Media Introduction/Drainage Providing Device (AREA)

Abstract

【課題】体腔の中に同心円状にまたは偏心して位置する組織の標的領域を採取するためのカテーテルアセンブリ、システム、及び組織の標的領域を採取するための方法を提供する。【解決手段】開示される実施形態は、組織の標的領域を採取するためのカテーテルアセンブリ、システム、及び組織の標的領域を採取するための方法を含む。例示的で非限定的な実施形態では、カテーテルアセンブリは、内部に管腔が画定されているカテーテルであって、カテーテルの壁は、カテーテルの遠位端でカテーテルに開口部を画定している、カテーテルと、管腔内に配置可能であり、カテーテルの遠位端の開口部から管腔の軸線から分岐する角度で延ばすことが可能である、湾曲可撓性針と、を備える。【選択図】図1B

Description

開示される実施形態は、組織採取のためのカテーテルに関する。
(優先権の主張)
本出願は、2018年3月14日に出願された「CATHETER ASSEMBLY WITH OFFSET DEVICE FOR TISSUE SAMPLING」と題された米国特許出願第15/920,966号の一部継続出願であり、その内容をここに援用する。
このセクションにおける記述は、単に、本開示に関する背景情報を提供し、先行技術を構成しない場合もある。
病変は、典型的には、カテーテル内に画定される管腔に配置される針によって採取される。針が採取される組織の領域に到達すると、針はカテーテルの管腔の遠位端から延ばされる。従来のカテーテルにおいて、針は、カテーテルの管腔の遠位端から軸線方向に延びている。
従来のカテーテル及び針による組織領域採取では、採取される組織がカテーテルの遠位端の真っ直ぐ前方に位置する場合には、困難が存在しない。
しかし、カテーテルの管腔の遠位端から直線的に針を延ばす様式では、偏心的な(eccentric)組織領域、つまり、カテーテルの遠位端の真っ直ぐ前方に位置しないか、又は、カテーテルが配置されている体腔(気道など)の外に位置する組織領域の採取が困難な場合がある。このような場合、ユーザは偏心組織領域を採取するために従来のカテーテル及び針を角度付けしようと試みる場合がある。しかしながら、そのような角度付けを正確かつ制御可能に達成するための既知の道具は存在しない。よって、所望の角度付けを達成することは困難である場合がある。その結果、採取時に複数回の試み(各々について、体腔壁の貫通が伴う場合もある)が行われる場合もある。複数の試みは、処置のための時間量を増加させ、不正確で制御できない採取は意図された標的からの低い収率をもたらし得る。また、これらの余分な又は不正確な採取の試みにより、血管を針で突き刺す可能性を増大させることもあり得る。
開示される実施形態は、組織の標的領域を採取するためのカテーテルアセンブリ、システム、及び組織の標的領域を採取するための方法を含む。組織の標的領域は、体腔の中に同心円状に位置してもよく、偏心して位置してもよい(すなわち、体腔に隣接していてもよい)ことが理解されるであろう。
例示的な非限定的な実施形態では、カテーテルアセンブリは、内部に管腔が画定されているカテーテルであって、カテーテルの壁は、カテーテルの遠位端でカテーテルに開口部を画定している、カテーテルと、管腔内に配置可能な(disposable)可撓性の針と、カテーテルの遠位端の開口部から管腔の軸線から分岐する(diverge)角度で延びるように、針を付勢するように構成されたオフセット機構と、を含む。
別の例示的な非限定的実施形態では、組織の標的領域を採取するためのシステムは、ハンドルアセンブリと、ハンドルアセンブリに動作可能に結合されたカテーテルアセンブリであって、採取される組織の標的領域に向けて体腔内に挿入可能に構成されている、カテーテルアセンブリと、を備え、ここで、カテーテルアセンブリは、内部に管腔が画定されているカテーテルであって、カテーテルの壁は、カテーテルの遠位端でカテーテルに開口部を画定している、カテーテルと、管腔内に配置可能な可撓性の針と、カテーテルの遠位端の開口部から管腔の軸線から分岐する角度で延びるように、針を付勢するように構成されたオフセット機構と、を含む。
別の例示的な非限定的実施形態では、組織の標的領域を採取する方法は、採取される組織の標的領域に向けてカテーテルを体腔内に挿入することと、カテーテルの軸線から分岐する角度で、カテーテルの遠位端から、採取される組織の標的領域に向けて、可撓性針を延ばすことと、針を組織に突き刺すことと、組織を採取することと、を含む。
別の例示的で非限定的な実施形態では、カテーテルアセンブリは、内部に管腔が画定されているカテーテルであって、カテーテルの壁は、カテーテルの遠位端でカテーテルに開口部を画定している、カテーテルと、管腔内に配置可能であり、カテーテルの遠位端の開口部から管腔の軸線から分岐する角度で延ばすことが可能である、湾曲可撓性針と、を備える。
別の例示的で非限定的な実施形態では、組織の標的領域を採取するためのシステムは、ハンドルアセンブリと、ハンドルアセンブリに動作可能に結合されたカテーテルアセンブリであって、採取される組織の標的領域に向けて体腔内に挿入可能に構成されている、カテーテルアセンブリと、を備え、ここで、カテーテルアセンブリは、内部に管腔が画定されているカテーテルであって、カテーテルの壁は、カテーテルの遠位端でカテーテルに開口部を画定している、カテーテルと、管腔内に配置可能であり、カテーテルの遠位端の開口部から管腔の軸線から分岐する角度で延ばすことが可能である、湾曲可撓性針と、を備える。
別の例示的な非限定的実施形態では、組織の標的領域を採取する方法は、採取される組織の標的領域に向けてカテーテルを体腔内に挿入することと、カテーテルの軸線から分岐する角度で、カテーテルの遠位端から、採取される組織の標的領域に向けて、湾曲可撓性針を延ばすことと、針を組織に突き刺すことと、組織を採取することと、を含む。
更なる特徴、利点、及び適用分野は、本明細書に提供される説明から明らかになるであろう。説明及び具体的な例は、単に例示目的のために意図され、本開示の範囲を限定する意図はないことを理解されたい。
本明細書に説明される図面は、単に例示目的のためであり、決して本開示の範囲を制限することは意図されない。図面における構成要素は、必ずしも一定の縮尺ではなく、開示された実施形態の原理を例示することに重点を置かれる。
例示的なカテーテルアセンブリを含むシステムの部分的概略図における側平面図である。 図1Aのカテーテルアセンブリの例示的な実施形態の詳細の部分的な概略図及び部分的な切り取りにおける側平面図である。 図1Aのカテーテルアセンブリの別の例示的な実施形態の詳細の部分的な概略図及び部分的な切り取りにおける側平面図である。 図1Aのカテーテルアセンブリの別の例示的な実施形態の詳細の部分的な概略図及び部分的な切り取りにおける側平面図である。 図2Aのカテーテルアセンブリの実施形態の一部分の側面図であって、可撓性針は、カテーテルの遠位端を越えて延びている。 図2Bのカテーテルアセンブリの実施形態の一部の側面図であって、カテーテルの遠位端を越えて延びる針の中に可撓性針及び湾曲スタイレットが配置されている。 図1Bのカテーテルアセンブリの実施形態の一部の側面図であって、カテーテルの遠位端を過ぎて延びる針の中に可撓性針及び湾曲スタイレットが配置されている。 組織の標的領域を採取する例示的な方法のフロー図である。 図4Aの方法の詳細のフロー図である。 図4Aの方法の詳細のフロー図である。 図4Aの方法の詳細のフロー図である。 図4Aの方法の詳細のフロー図である。 図4Aの方法の詳細のフロー図である。 湾曲可撓性針の実施形態の部分的な切り取りにおける側面図である。 湾曲可撓性針と、針の中に配置された直線スタイレットの実施形態の部分的な切り取りにおける側面図である。 湾曲可撓性針と、針の中に配置された直線スタイレットの実施形態の部分的な切り取りにおける側面図である。 図5の湾曲可撓性針を用いた図1Aのカテーテルアセンブリの例示的な実施形態の詳細の部分的な概略図及び部分的な切り取りにおける側平面図である。 図6A及び図6Bの湾曲可撓性針及び直線スタイレットを用いた図1Aのカテーテルアセンブリの例示的な実施形態の詳細の部分的な概略図及び部分的な切り取りにおける側平面図である。 図6A及び図6Bの湾曲可撓性針及び直線スタイレットを用いた図1Aのカテーテルアセンブリの例示的な実施形態の詳細の部分的な概略図及び部分的な切り取りにおける側平面図である。 図7又は図8Aのカテーテルアセンブリの一実施形態の一部の側平面図である。 図8Aのカテーテルアセンブリの一実施形態の一部の側平面図である。 図8Bのカテーテルアセンブリの一実施形態の一部の側平面図である。 図5、図6A、及び図6Bの湾曲可撓性針を用いて組織の標的領域を採取する例示的な方法のフロー図である。 図10Aの方法の詳細のフロー図である。 図10Aの方法の詳細のフロー図である。 図10Aの方法の詳細のフロー図である。
以下の説明は、本質的に単に例示的なものであり、本開示、適用、又は使用を限定することは意図されない。
組織の標的領域を採取するためのカテーテルアセンブリ、システム、及び組織の標的領域を採取するための方法の様々な実施形態を添付の図面を参照して説明する。本明細書に提示される説明に使用される用語は、限定又は制限するために理解されることを意図しない。むしろ、用語は、アセンブリ、システム、方法及び関連する構成要素の実施形態の詳細な説明と共に単に使用されている。更に、実施形態はいくつかの新規な特徴を含んでもよく、そのうち、単独で望ましい属性を付与するもの、又は本明細書に記載の開示された実施形態を実施するのに不可欠であると考えられるものはない。例えば、「肺」、「気道」、「結節」などの用語と共に、本明細書に記載の実施形態の使用について、本明細書で言及される場合があるが、これらの用語は広義であり、説明した実施形態は、限定されず使用されてもよく、特に示されていない限り、人間及び動物に存在する他の血管、経路、内腔、体腔、組織、及び気管へのアクセスに使用することができる。例えば、胃腸系(すなわち腸)におけるような内腔には、本明細書に記載の実施形態を用いてアクセスすることができる。
概観として並びに図形1A及び図1Bを参照すると、カテーテルアセンブリ10の例示的で非限定的な実施形態が示される。本明細書で議論されることになるように、カテーテルアセンブリ10の実施形態、並びに本明細書に記載の他の実施形態は、関心のある偏心組織領域(例えば、肺小結節、リンパ節)及び関心のある同心組織領域の位置を特定し、ナビゲートし、そして生検する(すなわち採取する)ための既存のシステム及び方法と共に使用され得る。いくつかの開示された実施形態は、偏心組織領域の採取を可能とし得ることが理解されるであろう。すなわち、開示されるこのような実施形態によれば、カテーテルの遠位端の真っ直ぐ前方に位置していない領域、又はカテーテルアセンブリ10が配置されている体腔(気道など)の外側に位置する領域にある組織の採取が可能となり得る。したがって、開示される実施形態は、ユーザによる、偏心組織領域を採取するためのカテーテル及び針の角度付けが容易になり、これにより、従来のカテーテルよりも容易に所望の角度付けが達成しやすくなるような道具(つまり、カテーテルアセンブリ及びシステム)及び方法を提供することができる。結果として、そのような開示された実施形態は、ユーザが採取を複数回試みる(各々について、体腔壁の貫通が伴う場合がある)可能性を減らすのを助け、それによって針が血管を突き刺す確率を減らすのを助ける。また、いくつかの開示される実施形態は、同心組織領域の採取を可能とし得ることが理解されるであろう。開示される様々な実施形態に関する詳細は、非限定的な例として、以下に記載されるであろう。
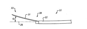
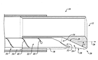
図1A及び図1Bを更に参照すると、カテーテル10の例示的で非限定的な実施形態では、カテーテルアセンブリ12は内部において管腔14を画定する。カテーテル12の壁16は、カテーテル12の遠位端20において、開口部18を画定する。可撓性針22は、管腔14内に配置可能である。オフセット機構24は、カテーテル12の遠位端20にある開口部18から、管腔14の軸線26から分岐する角度で延びるように、針22を付勢するように構成されている。
オフセット機構24は、様々な様式で具現化されてもよいことが理解されるであろう。いくつかの実施形態において、オフセット機構24は、カテーテル12の遠位端20においてカテーテル12内に画定されたランプ28を含んでもよい。いくつかの他の実施形態では、オフセット機構24は、針22内に同軸的に配置された、形状設定(shape-set)された、湾曲スタイレット30を含んでもよい。いくつかの他の実施形態では、オフセット機構24は、ランプ28及びスタイレット30を含んでもよい。これらの実施形態のそれぞれは、下記に議論される。
上述したように、また、追加的に図2Aを参照すると、いくつかの実施形態において、オフセット機構24は、カテーテル12の遠位端20においてカテーテル12内に画定されたランプ28を含んでもよい。このような実施形態では、湾曲スタイレット30(図1B)は、針22内に配置されず、又はスタイレット30がカテーテル12の遠位端20を超えて延びないように針22の遠位端から十分に後退させられることが理解されるであろう。しかし、いくつかの実施形態では、所望により、針22を硬化させる(stiffen)ために、針22の中に直線スタイレットが配置されてもよい。その結果、軸線26からの針22のオフセットは、ランプ28によってのみ付与される。そのような実施形態において達成可能なオフセット角度の範囲(後述する)のために、そのような実施形態は、組織の同心領域を採取する用途にも、組織の偏心領域を採取する用途にも好適となり得る。
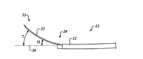
このような実施形態では、ランプ28は、管腔14の軸線26から分岐する(divergent with)傾斜面を有する。このような実施形態においては、また、更に図3Aを参照すると、ランプ28は、管腔14の軸線26からのオフセット角αを約5度〜約25度の範囲内で画定する。いくつかの実施形態では、オフセット角αは、約10度であってもよい。いくつかの実施形態では、オフセット角αは、約20度〜約25度の範囲内であってもよい。いくつかのこのような実施形態では、オフセット角αは、約20度であってもよい。角度αの数値に関わらず、針22がカテーテル12の遠位端20に向かって延びるとき、針22はカテーテル12の遠位端20にあるランプ28(すなわち傾斜面)に到達し、開口部18に向かって付勢される。針22は、ほぼオフセット角αで開口部18から出る(そして、延び続ける)。いくつかの実施形態では、ランプ28は、ポリカーボネートなどの任意の好適な硬質プラスチックからなっていてもよい。
上述されてもいるように、また、追加的に図2Bを参照すると、いくつかの実施形態では、オフセット機構24は、針22内に同軸的に配置された、形状設定された湾曲スタイレット30を含んでもよい。このような実施形態において、ランプ28(図1B及び図2A)は、カテーテル12の遠位端20に配置されていないことが理解されるであろう。その結果、軸線26からの針22のオフセットは、スタイレット30の湾曲によってのみ付与される。スタイレット30に設定される湾曲量に応じて、そのような実施形態は、組織の同心領域を採取する用途にも、組織の偏心領域を採取する用途にも好適となり得る。
このような実施形態では、形状設定された湾曲スタイレット30は、カテーテル12の遠位端20における開口部18から、針22内にて(針22と共に)延ばされるように構成されている。このような実施形態においては、また、更に図3Bを参照すると、スタイレット30は、管腔14の軸線26から分岐する角度βで、カテーテル12の遠位端20における開口部18から(針22内に同軸的に配置された状態で)延びるように構成されている。
様々な実施形態において、この形状設定された湾曲スタイレット30は可撓性針22に挿入される。スタイレット30により、針22は、スタイレット30の湾曲に追従させられる。針22、及び針22の中に同軸的に配置されたスタイレット30の複合ユニット(本明細書において、針/スタイレットアセンブリ34と称される)がカテーテル12内に収容される場合、針/スタイレットアセンブリ34は直線状であり、これにより、針/スタイレットアセンブリ34はカテーテル12を通って移動することが可能となる。針/スタイレットアセンブリ34がカテーテル12の遠位端20における開口部18を通って延ばされると、スタイレット30及び結果として、針/スタイレットアセンブリ34は、再度湾曲することができる。
スタイレット30の湾曲量は、スタイレットがカテーテル12の遠位端20を越えて延びる長さに応じることが理解されるであろう。そのため、針/スタイレットアセンブリ34が開口部18を通って延ばされると、スタイレット30、及び、その結果、針/スタイレットアセンブリ34が湾曲し、これにより針22は、体腔から軸ずれした状態となる。スタイレット30の湾曲は、変化する傾きを有しているため、スタイレット30は、スタイレット30がカテーテル12の遠位端20を越えて遠くへ延びるほど、より湾曲させられ得る。よって、針/スタイレットアセンブリ34の湾曲量は、部分的には、針22の先端32からの、スタイレット30の先端42の後退量に依存すること理解されるであろう。先端32からの、先端42の後退が小さいほど、軸線26からのオフセット角度が大きくなる。逆に、先端32からの、先端42の後退が大きいほど、軸線26からのオフセット角度が小さくなる。(スタイレット30がカテーテルの遠位端20を越えて著しく延び得ないように)先端32からの先端42の後退量が十分であると、結果として著しいオフセット角度が生じない。
スタイレット30に十分な湾曲量が設定されると、その湾曲により、針22は気道のような体腔から軸ずれさせられ、針22が気道壁などの体腔壁に突き刺さることが可能となり、これにより、針22により、偏心的に位置する標的を採取することができる。しかし、湾曲により、針22を体腔から軸ずれさせる一方で、針22を体腔内に保ち、これにより、針22によって同心的に位置する標的を採取することができるように、スタイレット30に適切な湾曲量を設定してもよいことが理解されるであろう。
図3Bに示されるように、角度βは、針/スタイレットアセンブリ34が開口部18から延びる初期角度であることが理解されるであろう。図3Bに示すように、スタイレット30の湾曲は変化する傾きを有しているため、スタイレット30が開口部18から遠くに延びるにつれて、針/スタイレットアセンブリ34が軸線26から分岐する角度が大きくなり得る。例えば、また、図2Bに示されるように、針/スタイレットアセンブリ34の遠位端は、角度χで軸線26から分岐する。この角度χは、開口部18に近接して達成される角度βより大きいことが理解されるであろう。
上述されてもいるように、また、図1Bに示されるように、いくつかの実施形態では、オフセット機構24は、ランプ28及び(針22内に同軸的に配置された)スタイレット30を含んでもよい。このような実施形態では、針/スタイレットアセンブリ34がカテーテル12の遠位端20に向かって延びると、針22は、カテーテル12の遠位端20にあるランプ28(すなわち傾斜面)に到達し、針/スタイレットアセンブリ34は、開口部18に向かって付勢される。
更に図3Cを参照すると、針/スタイレットアセンブリ34は、開口部18をオフセット角度δで出ている。開口部18を通って出る前に、針/スタイレットアセンブリ34は角度αでランプ28に沿って付勢されており、そして、スタイレット30により、針/スタイレットアセンブリ34は、軸線26から角度βだけ追加的に分岐させられていることから、角度δは、角度βよりも大きいことが理解されるであろう。図3Cに示し、図3Bを参照して上述したように、針/スタイレットアセンブリ34が開口部18から遠くに延びるにつれて、針/スタイレットアセンブリ34が軸線26から分岐する角度が大きくなり得る。例えば、また、図3Cに示されるように、針/スタイレットアセンブリ34の遠位端は、角度εで軸線26から分岐する。この角度εは、スタイレット30の湾曲のために、開口部18に近接して達成される角度δより大きいことが理解されるであろう。
このような実施形態では、針/スタイレットアセンブリ34が開口部18を出ると、ランプ28は針/スタイレットアセンブリ34を開口部18に向けて配向させるのを助けることができることが理解されるであろう。この配向の補助は、様々な実施形態において、スタイレット30が円形であり、特定の方向で管腔14へ進入することに制限されないことから、生じている。例えば、スタイレット30は、(開口部18に対して)上、下、左、右のいずれか1つの配向で、針22内に同軸的にフィットすることができる。スタイレット30の湾曲(すなわち、配向)が誤った方向を向いている場合(例えば、ランプ28が上の場合に下を向くなど)、ランプ28は、スタイレット30の湾曲がランプ28と配向を合わせ、ランプ28の角度αに偏りを加えるように、スタイレット30を正しい向きに向け直すように強制する。スタイレット30の湾曲部がランプ28を通過すると、スタイレット30は強制的にランプ28の方向に湾曲する。このため、このような実施形態では、湾曲スタイレット30は常にランプ28の角度を増加する。
湾曲スタイレット30はカテーテル12の形状に適合し(conform)、スタイレット30は管腔14内に配置されていることが理解されるであろう。以上のように、湾曲スタイレット30、結果として、針/スタイレットアセンブリ34は、針/スタイレットアセンブリ34が開口部18を通って延ばされた後に湾曲する。結果として、及び以下で更に論じられるように、湾曲スタイレット30は、管腔14から引き抜かれ、それによって針22の栓を抜き、そして針22を介して組織が採取されることを可能にするように構成される。
様々な実施形態において、例示的なシステム50(図1A)は、組織の標的領域を採取するために提供される。限定するわけではないが、組織は、気道のような体腔に隣接して位置する病変を含んでもよく、体腔内(つまり、同心組織)又は体腔外(つまり、偏心組織)のいずれかに位置してもよいことが理解されるであろう。このような実施形態において、システム50は、ハンドルアセンブリ60(図1A)を含む。カテーテルアセンブリ10は、ハンドルアセンブリ60に動作可能に結合され、カテーテルアセンブリ10は、採取される組織の標的領域に向けて体腔内に挿入可能に構成されている。上述したように、カテーテルアセンブリ10は、カテーテル12を含む。上述されてもいるように、カテーテル12は内部に管腔14を画定し、カテーテル12の壁16はカテーテル12の遠位端20において開口部18を画定する。可撓性針22は、管腔14の中に配置可能であり、オフセット機構24は、カテーテル12の遠位端20の開口部18から、管腔14の軸線26から分岐する角度で延びるように、可撓性針22を付勢するように構成されている。
また、上で論じたように、いくつかの実施形態において、オフセット機構24は、カテーテル12の遠位端20においてカテーテル12内に画定されたランプ28を含んでもよい。いくつかの他の実施形態では、オフセット機構24は、針22内に同軸的に配置された、湾曲スタイレット30を含んでもよい。いくつかの他の実施形態では、オフセット機構24は、ランプ28及び湾曲スタイレット30を含んでもよい。これらの全ての実施形態の詳細は、上で検討されており、開示された主題の理解のために繰り返される必要はない。
様々な実施形態において、ハンドルアセンブリ60は、複数の機能を行う。例えば、いくつかの実施形態では、ユーザは、ハンドルアセンブリ60を使用してカテーテル12にトルクを与えて開口部18を、結果として、針22を、偏心して位置する組織に向けて回転させることができる。また、いくつかの実施形態では、スタイレット30は、ハンドルアセンブリ60の近位端68に配置されたルアコネクタ66を通じてカテーテルアセンブリ10から取り除かれてもよい。更に、いくつかの実施形態では、注射器(syringe)のような真空装置(図示せず)が、スタイレット30が管腔から引き抜かれた状態で、ハンドルアセンブリ60のルアコネクタ66を介して、針22に動作可能に結合されてもよい。
システム50の様々な実施形態は、次のように動作する。特定の用途に適した内視鏡(図示せず)気管支鏡(図示せず)は、目標位置までの体腔の中で駆動される。標的は、撮像システム(超音波プローブ、光学チャネル、蛍光透視法、光干渉断層法、X線コンピュータ断層撮影支援可視化、及び磁気共鳴画像法など)によって可視化される。カテーテルアセンブリ10は、内視鏡(又は気管支鏡)に装着され、ハンドルアセンブリ60を使用してカテーテル12にトルクを与えて開口部18と標的とを位置合わせする。
オフセット機構がランプ28のみを含む実施形態において、針22は、開口部18を通って、カテーテル12の遠位端20を越えて、標的組織に向けて延ばされる。いくつかの場合において、針22は体腔の壁に突き刺さってもよい。針22は標的組織に突き刺さる。所望により、針22は組織内で繰り返し前後に移動することにより組織をかき混ぜ(agitate)てもよい。標的に針22がある状態で、ハンドルアセンブリ60のルアコネクタ66を介して、注射器のような真空装置(図示せず)が、針22に動作可能に結合される。直線スタイレットが針22内に配置された実施形態では、直線スタイレットは、真空装置がルアコネクタ66を介して針22に動作可能に結合される前に、ルアコネクタ66を通じて取り外される。真空装置は、真空引きすることにより、針22を介して組織を採取する。
オフセット機構24が湾曲スタイレット30のみを含む実施形態、及び、オフセット機構がランプ28及び湾曲スタイレット30を含む実施形態では、針/スタイレットアセンブリ34は、開口部18を通り、カテーテル12の遠位端20を越え、標的に向かって延ばされる。いくつかの場合において、針/スタイレットアセンブリ34は、体腔の壁に突き刺さってもよい。針/スタイレットアセンブリ34は、標的に突き刺さる。所望により、針/スタイレットアセンブリ34は組織内で繰り返し前後に移動することにより組織をかき混ぜてもよい。スタイレット30は、ハンドルアセンブリ60のルアコネクタ66を通じて管腔14から取り外され、組織は針22を組織内にて定位置に保持する。スタイレット30が管腔14から取り外された状態で、注射器のような真空装置(図示せず)が、ハンドルアセンブリ60のルアコネクタ66を介して針22に動作可能に結合される。真空装置は、真空引きすることにより、針22を介して組織を採取する。
以下は、実装(implementation)を表す一連のフロー図である。理解を容易にするために、フロー図は、最初のフロー図が例示的な実装を介して実装を提示し、その後、続くフロー図は、最初のフロー図の代替の実装、及び/又は拡張を、1つ以上の以前に提示されたフロー図に基づく、サブ構成操作又は追加の構成操作として提示するように編成されている。当業者は、本明細書で利用される提示様式(すなわち、例示的な実装を提示するフロー図の提示で始まり、その後、後続のフロー図において、追加及び/又は更なる詳細を提供すること)により、様々なプロセス実装の迅速かつ容易な理解が、概ね可能となっていることを理解するであろう。
図4Aを参照すると、組織の標的領域を採取する例示的な方法100が提供されている。限定するわけではないが、方法100の実施形態は、カテーテルアセンブリ10及びシステム50の様々な実施形態を使用するのに好適となり得ることが理解されるであろう。標的領域は、方法100が開始する前に位置決めされていることも理解されるであろう。
方法100は、ブロック102で開始する。ブロック104では、カテーテルは採取される組織の標的領域に向けて体腔内に挿入される。ブロック106では、カテーテルの軸線から分岐する角度で、カテーテルの遠位端から、採取される組織の標的領域に向けて、可撓性針が延ばされる。ブロック108において、針を組織に突き刺す。ブロック110では、組織が採取される。方法100は、ブロック112で停止する。
図4Bを参照すると、また、いくつかの実施形態では、ブロック104において、採取される組織の標的領域に向けて、カテーテルが体腔内に挿入された後であって、ブロック106において、採取される組織の標的領域に向けて、カテーテルの軸線から分岐する角度で、カテーテルの遠位端から、可撓性針が延ばされる前に、ブロック114において、カテーテルの遠位端に画定された開口部が、採取される組織の標的領域に向けて配向されるように、カテーテルにトルクが与えられてもよい。
図4Cを参照すると、また、いくつかの実施形態では、ブロック106において、採取される組織の標的領域に向けて、カテーテルの軸線から分岐する角度で、カテーテルの遠位端から、可撓性針を延ばすことは、ブロック116において、カテーテルの遠位端において画定される開口部から延びるように、カテーテルの遠位端において画定されたランプによって、針を付勢することを含んでいてもよく、ここで、ランプは、カテーテルの軸線から分岐している傾斜面を有する。
図4Dを参照すると、また、いくつかの実施形態では、ブロック106において、採取される組織の標的領域に向けて、カテーテルの軸線から分岐する角度で、カテーテルの遠位端から、可撓性針を延ばすことは、ブロック118において、針、及び針内に同軸的に配置された湾曲スタイレットをカテーテルの遠位端に画定される開口部から延ばすことを含んでいてもよく、ここで、湾曲スタイレットは、カテーテルから出ると、カテーテルの軸線から分岐する角度で曲がり、湾曲スタイレットは、カテーテル内に配置されている間、カテーテルの形状に適合する。
図4Eを参照すると、また、いくつかの実施形態では、ブロック108において針を組織に突き刺した後であって、ブロック110において組織を採取する前に、ブロック120において、湾曲スタイレットは、カテーテルから除去され、真空装置が針に動作可能に結合される。
図4Fを参照すると、また、いくつかの実施形態では、ブロック106において、採取される組織の標的領域に向けて、カテーテルの軸線から分岐する角度で、カテーテルの遠位端から、可撓性針を延ばすことは、ブロック122において、カテーテルの遠位端において画定される開口部から延びるように、カテーテルの遠位端において画定されたランプによって、針、及び針内に同軸的に配置された湾曲スタイレットを付勢することであって、ランプは、カテーテルの軸線から分岐している傾斜面を有する、ことと、ブロック124において、針、及び針内に同軸的に配置された湾曲スタイレットをカテーテルの遠位端に画定される開口部から延ばすことであって、湾曲スタイレットは、カテーテルから出ると、カテーテルの軸線から分岐する角度で曲がり、湾曲スタイレットは、カテーテル内に配置されている間、カテーテルの形状に適合する、ことと、を含んでもよい。
他の例示的な非限定的実施形態では、異なる形態の湾曲可撓性針が所望の採取位置で組織を採取するために使用されてもよい。前述のように、カテーテル器具(又はそれを使用するシステム又は方法)は、可撓性針を通して湾曲スタイレットを延ばすことにより、針を管腔の軸線から分岐させるように、カテーテルの遠位端のランプ及び/又は湾曲スタイレットを使用して所望の採取位置に方向付けることができる可撓性針を含んでもよい。対照的に、別の例示的実施形態では、カテーテル器具(又はそれを採用するシステム又は方法)は、所望の採取位置に方向付けられ得る、概ね直線状の本体部及び湾曲した端部を含み得る、湾曲可撓性針を含んでもよい。カテーテルに対する湾曲可撓性針のオフセットは、カテーテルの遠位端にあるランプ及び/又は直線スタイレットを使用して制御されてもよい。直線スタイレットを湾曲可撓性針を通して延ばすことにより、湾曲可撓性針をその湾曲した構成から偏向させる(deflect)ことができ、これにより、湾曲可撓性針を偏向させてその湾曲を直線状にするか又は減少させる。したがって、湾曲可撓性針が延ばされているか、又は湾曲可撓性針が管腔の遠位端を越えて延ばされた後に(カテーテル内のランプによって偏向されているか、カテーテルから真っ直ぐに延ばされているかに関わらず)、湾曲可撓性針の湾曲の程度は、湾曲可撓性針を通して直線スタイレットを選択的に延ばすことによって変化させ得る。
器具及びシステムの実施形態は、前述の器具及びシステムと多数の共通要素を共有する。以下の説明では、これまでの説明で説明した図面を参照して使用した参照番号と同じものを使用する。異なる構成要素を記述するために、異なる参照番号が使用される。
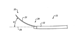
図5を参照すると、湾曲可撓性針23の例示的な、非限定的実施形態は、本体軸線61に沿って延びる概ね直線状の本体部53、及び針23の遠位端63において開口部65を含む湾曲した端部55を含む。湾曲可撓性針23が管腔12内に延びるとき、本体軸線61は、管腔14の軸線26に沿っている。目標軸線67は、開口部65から延びる。目標軸線67は、採取される組織の標的領域に向けて延びてもよい(図示せず)。目標軸線67の本体軸線61からの分岐は、管腔14の軸線26からの、湾曲可撓性針23の分岐を表す。後述するように、目標軸線67の姿勢(attitude)は、開口部65を、採取される組織の標的領域に方向付けるように調整され得る。湾曲部55が初期の変形していない構成にあるとき、目標軸線67は、本体軸線61及び管腔14の軸線26から角度θで分岐する。湾曲可撓性針23は、更に後述するように、カテーテル12の管腔14内に配置されている間、カテーテルの形状に適合するように構成されている。
図6Aを参照すると、針/スタイレットアセンブリ35の例示的な非限定的実施形態は、針23及びスタイレット31を含む。針23は、湾曲可撓性針である。針23は形状設定され、湾曲した針である。例示的な、非限定的実施形態では、針23は、本体軸線61に沿って延びる、概ね直線状の本体部53を含む。針23はまた、針23の遠位端63に開口部65を含む湾曲した端部55を含む。図1A、図2A、図3A、及び図3Bを参照して前述した針/スタイレットアセンブリ34の実施形態と同様に、スタイレット31は、針23の近位端(図示せず)で受け入れられ、針23を通って針23の遠位端における先端63に向けて同軸的に延び得る。湾曲可撓性針23は、更に後述するように、カテーテルの管腔内に配置されている間、カテーテルの形状に適合するように構成されている。
スタイレット31が端部55内に延びていない場合、端部55はデフォルトの湾曲形状となる。端部55は、針23の先端63に形成された開口部65で終端している。目標軸線67は、開口部65から延びる。目標軸線67は、採取される組織の標的領域に向けて延びてもよい(図示せず)。後述するように、目標軸線67の姿勢は、開口部65を、採取される組織の標的領域に方向付けるように調整され得る。湾曲部55が初期の変形していない構成にあるとき、目標軸線67は、本体軸線61及び管腔14の軸線26から角度θで分岐する。
図6Bを参照すると、スタイレット31を針23の端部55に延ばすと、結果として針23の端部55には、目標軸線67に対して横方向の力が作用する。この力は、図1B、図2A及び図2Bを参照して説明したように、曲がったスタイレット30と針22の両方がカテーテル12の端部を越えて延びているときに、曲がったスタイレット30によって、針22に対して、外向きに加えられる力に類似している。スタイレット31は、端部55へと距離69だけ延ばされ、これにより、端部55は、目標軸線67に対して横方向の力を受ける。この力は、端部55の部分に作用し、本体軸線61に向かって偏向するように、端部55を付勢する。換言すれば、スタイレット31を端部55に延ばすと端部55が真っ直ぐになり、端部がその自然な湾曲構成から変形する。その結果、目標軸線67端部55が延びる角度は、角度θから角度ωまで減少する。スタイレット31を遠位端63に向かって端部55内に更に延ばすことによって距離69を増加させることは、端部55を更に真っ直ぐにし、目標軸線67が本体軸線61から偏向する角度を減少させ、それにより管腔14の軸線26からの、湾曲可撓性針23の全体的な分岐を減少させることを理解されたい。逆に、スタイレット31を端部55から部分的又は完全に引き抜くことによって距離69を減少させることは、端部55が元の形状をとることを可能にし、目標軸線67が本体軸線61から偏向する角度を大きくし、それにより管腔14の軸線61からの、湾曲可撓性針23の全体的な分岐を大きくする。
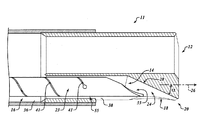
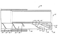
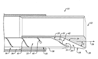
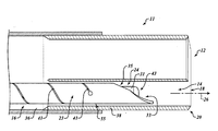
図7、図8A、及び図8Bを参照すると、カテーテルアセンブリ11の例示的で非限定的な実施形態では、カテーテル12は内部に管腔14を画定する。カテーテル12の壁16は、カテーテル12の遠位端20において、開口部18を画定する。可撓性針23は、管腔14内に配置可能である。
図7を参照すると、オフセット機構24は、カテーテル12の遠位端20の開口部18から、管腔14の軸線26から分岐する角度αで延びるように、針23を付勢するように構成されている。オフセット機構24は、様々な様式で具現化されてもよいことが理解されるであろう。図7の実施形態のようないくつかの実施形態において、オフセット機構24は、カテーテル12の遠位端20においてカテーテル12内に画定されたランプ28を含んでもよい。図8Aの実施形態のようないくつかの他の実施形態では、ランプ28に加えて、オフセット機構24は、針23内に同軸的に配置された直線スタイレット31を含んでもよい。図8Bの実施形態のようないくつかの他の実施形態では、オフセット機構24は、直線スタイレット31のみを含んでもよい。これらの実施形態のそれぞれは、下記に議論される。
上述したように、また、追加的に図7を参照すると、いくつかの実施形態において、オフセット機構24は、カテーテル12の遠位端20においてカテーテル12内に画定されたランプ28を含んでもよい。湾曲可撓性針23は、内部に挿入されるとカテーテル12に適合するように構成されている。針23がカテーテル12の遠位端20を越えて延びているとき、管腔14の軸線26からの針23のオフセットは、ランプ28及び針23の端部55の湾曲によって付与される。そのような実施形態において達成可能なオフセット角度の範囲(後述する)のために、そのような実施形態は、組織の同心領域を採取する用途にも、組織の偏心領域を採取する用途にも好適となり得る。
図7及び図8Aの実施形態のような、このような実施形態では、ランプ28は、管腔14の軸線26から分岐する傾斜面を有する。いくつかの実施形態では、ランプ28は、管腔14の軸線26からのオフセットを約5度〜約25度の範囲内の角度αで画定する。いくつかの実施形態では、オフセット角αは、約10度であってもよい。いくつかの実施形態では、オフセット角αは、約20度〜約25度の範囲内であってもよい。いくつかのこのような実施形態では、オフセット角αは、約20度であってもよい。角度αの数値に関わらず、針23がカテーテル12の遠位端20に向かって延びるとき、針23はカテーテル12の遠位端20にあるランプ28(すなわち傾斜面)に到達し、開口部18に向かって付勢される。針23は、ほぼオフセット角αで開口部18から出る(そして、延び続ける)。いくつかの実施形態では、ランプ28は、ポリカーボネートなどの任意の好適な硬質プラスチックからなっていてもよい。
上述されてもいるように、また、追加的に図8Aを参照すると、いくつかの実施形態では、オフセット機構24は、図6A及び図6Bの参照と共に説明されるように、針23内に同軸的に配置された直線スタイレット31を含んでもよい。針23の先端33がカテーテル12の遠位端20を越えて延びると、スタイレット31を選択的に延ばすことにより、針23の先端33の更なるオフセットを制限し得る。スタイレット31が針23の端部55を通って、針23の先端33まで、又は針23の先端33を通って完全に延ばされると、スタイレット31は針23の端部55を真っ直ぐにする。その結果、図9Bを参照して更に説明されるように、針の先端33のオフセットは、ランプ28によって付与されるものに限定される。しかし、図9Aを参照して更に説明されるように、針23の先端33がカテーテル12の遠位端20を越えて延び、スタイレット31が針23の端部55から部分的に又は完全に後退されると、端部55は、その湾曲した形状設定構成に戻って先端33に追加のオフセットを付与し得る。
カテーテルアセンブリ11の例示的で非限定的な実施形態である図8Bを参照すると、オフセット機構24は、カテーテルの遠位端20においてランプを含まない。したがって、針23の先端33は、カテーテル12の遠位端20から真っ直ぐ外に延びる。この構成において、針23の先端33への唯一のオフセットは、針23の端部55の湾曲した形状設定構成から生じるものであり、スタイレット31を針23の端部55へ選択的に延ばすことによって付与される制御を受ける。針23の端部55に設定される湾曲量に応じて、そのような実施形態は、組織の同心領域を採取する用途にも、組織の偏心領域を採取する用途にも好適となり得る。
様々な実施形態において、この形状設定され、湾曲した針23はカテーテル12に挿入される。カテーテル12による閉じ込めにより、管腔軸線26と整列するように、針23の端部55を拘束する。スタイレット31の挿入により、針23の端部55に更なる力を加えると、針23の端部55は、湾曲した形状設定構成に戻ることを妨げられ得、それにより、カテーテル12を通して針23の端部55を延ばしやすくし得る。
上述したように、針23の先端33がカテーテル12から延ばされると、針23の先端33の湾曲又はオフセットの量は、オフセット機構24が、ランプ28、及び/又は、針23の端部55の湾曲を制御するための、スタイレット31が針23の端部55内に延びる距離69(図6B)を含んでいるかどうかにより、もたらされる。
図9Aを参照すると、湾曲可撓性針23の遠位端33のオフセットは、図7及び図8Aのようなカテーテルアセンブリ11に示されるように、湾曲可撓性針23の湾曲を限定する直線スタイレット31なしで、ランプ28によって付与されたオフセットを用いて示されている。湾曲可撓性針23は、カテーテル12の遠位端20を越えて延ばされている。湾曲可撓性針23の先端33は、シース12の遠位端20から角度τでオフセットされる。湾曲可撓性針23は、カテーテル12の遠位端20から出るときに、ランプ28によって角度αだけオフセットされる。また、湾曲可撓性針23がカテーテル12の遠位端20から出ると、湾曲可撓性針23は、湾曲した形状に戻り、追加的なオフセット(図5を参照すると、最大で角度θとなり得る)を付与してτの総オフセット角に達することができる。
図9Bを参照すると、総オフセット角は、直線スタイレット31を針/スタイレットアセンブリ35の端部まで延ばすことによって角度αまで低減される。湾曲可撓性針23内に直線スタイレット31を挿入すると、湾曲可撓性針23は、直線スタイレット31に適合させられ、湾曲可撓性針23の湾曲によって引き起こされる更なるオフセットが取り除かれるか、又は低減させられる。その結果、オフセット角は、湾曲可撓性針23がカテーテル12から出るときに、ランプ28によって付与される角度αまで減少する。
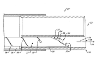
図9Cを参照すると、図8Bに示すような、カテーテル12内にランプ28がないカテーテルアセンブリ11の一実施形態における湾曲可撓性針23のオフセット角が示されている。ランプ28によってオフセットが付与されないとき、湾曲可撓性針23の遠位端33のオフセット角は、図6A及び図6Bを参照して説明したように直線スタイレット31の使用によって制限され得る、湾曲可撓性針23の湾曲から生じたものである。湾曲可撓性針23の湾曲は、湾曲可撓性針23からスタイレット31を部分的又は全体的に引き抜くことによって増大させることができ、又は湾曲可撓性針23の湾曲は、シース12の遠位端を越えて湾曲可撓性針23の部分内に直線スタイレット31を少なくとも部分的に延ばすことによって減少させることができる。例えば、湾曲可撓性針23は、管腔軸線26に対してオフセット角μで示されている。
様々な実施形態において、カテーテル12はシース36及びシースライナー38を含む。非限定的な例として挙げると、シース36は、編まれて(braided)いてもよく、熱可塑性エラストマーなどの任意の好適な医療用ポリマー材料からなっていてもよい。シース36に対して編まれた材料を使用すれば、カテーテル12にトルクを与えて開口部18を回転させ、これにより、湾曲可撓性針23を標的組織へと回転させ得るように、十分な剛性を提供できることが理解されるであろう。更に非限定的な例を挙げると、シースライナー38は、ポリテトラフルオロエチレン(PTFE)などの任意の好適な材料からなってもよい。
様々な実施形態において、湾曲可撓性針23は、部分的には、湾曲可撓性針23に所望の可撓性及び組織に突き刺さるのに十分な柱強度(column strength)を提供することができる任意の好適な材料からなってもよい。湾曲可撓性針23が変形していない構成にあるとき、湾曲可撓性針23は、湾曲可撓性針23の端部55に所望の形状及び湾曲特性を与える、形状記憶合金(「SMA」)などの任意の好適な材料からなってもよい。非限定的な例として挙げると、様々な実施形態において、湾曲可撓性針23は、ニチノールなどのSMAからなってもよい。
湾曲可撓性針23が金属又は金属合金からなるような実施形態では、図1Bに示されるように、レーザ切断などによって、湾曲可撓性針23に画定された切り込み40を介して可撓性が湾曲可撓性針23に付与される。また、非限定的な例として、湾曲可撓性針23は、皮下チューブ(「ハイポチューブ(hypotube)」)からなっていてもよい。いくつかのそのような実施形態では、湾曲可撓性針23は、具体的な用途のサイズ及び可撓性の制約に応じて、24ゲージのハイポチューブなどであってもよい。そのような実施形態では、ハイポチューブは、少なくとも近位部分に沿って比較的滑らかになるように好適に構成され、これにより、例えば、限定的ではなく、カテーテル12の管腔14などの装置内に導入されたときに、ハイポチューブが、管腔14に沿って比較的自由にスライド、回転、又は他の様式で移動することができるようになる。限定的でない単なる例としては、湾曲可撓性針23が上述のように切り込み40を有するように寸法決めされ構成されているとき、様々な実施形態において、湾曲可撓性針23は、短い空間で約45度程度曲がることが可能となり得ることが理解されるであろう。
このように、直線スタイレット31は、任意の好適な材料からなってもよい。非限定的な例として挙げると、いくつかの実施形態では、スタイレット31は、PEEK、ウルテム(登録商標)などのようなプラスチックからなってもよい。更なる非限定的な例としては、いくつかの実施形態では、スタイレット31は、米国鉄鋼協会(「AISI」)タイプ304ステンレス鋼のようなステンレス鋼、ニチノール、コバルトクロムなどの金属又は金属合金からなってもよい。
様々な実施形態では、スタイレット31は、スタイレットが針23内に同軸的に配置されているときに、スタイレット31が湾曲可撓性針23を塞ぐように寸法決めされ、それによって湾曲可撓性針23が所望の関心領域に位置する前における、湾曲可撓性針23による採取の防止を容易にする。
様々な実施形態において、例示的なシステム50(図1A)は、組織の標的領域を採取するために提供される。限定するわけではないが、組織は、気道のような体腔に隣接して位置する病変を含んでもよく、体腔内(つまり、同心組織)又は体腔外(つまり、偏心組織)のいずれかに位置してもよいことが理解されるであろう。このような実施形態において、システム50は、ハンドルアセンブリ60(図1A)を含む。このシステムは、図1Aに示すような、カテーテルアセンブリ10の代わりに、カテーテルアセンブリ11を備えてもよい。カテーテルアセンブリ11は、ハンドルアセンブリ60に動作可能に結合され、カテーテルアセンブリ11は、採取される組織の標的領域に向けて体腔内に挿入可能に構成されている。上述したように、カテーテルアセンブリ11は、カテーテル12を含む。上述されてもいるように、カテーテル12は内部に管腔14を画定し、カテーテル12の壁16はカテーテル12の遠位端20において開口部18を画定する。湾曲可撓性針23は、管腔14の中に配置可能であり、オフセット機構24は、カテーテル12の遠位端20の開口部18から、管腔14の軸線26から分岐する角度で延びるように、湾曲可撓性針23を付勢するように構成されている。
また、上で論じたように、いくつかの実施形態において、オフセット機構24は、カテーテル12の遠位端20においてカテーテル12内に画定されたランプ28を含んでもよい。いくつかの他の実施形態では、オフセット機構24は、上述したように、針の端部55の湾曲を制御するために、針23内に同軸的に配置された直線スタイレット31を有する湾曲可撓性針23を含んでもよい。いくつかの他の実施形態では、オフセット機構24は、ランプ28と、湾曲可撓性針23と共に作動する直線スタイレット31とを含んでもよい。これらの全ての実施形態の詳細は、上で検討されており、開示された主題の理解のために繰り返される必要はない。
様々な実施形態において、ハンドルアセンブリ60は、複数の機能を行う。例えば、いくつかの実施形態では、ユーザは、ハンドルアセンブリ60を使用してカテーテル12にトルクを与えて開口部18を、結果として、湾曲可撓性針23を、同心的又は偏心的に位置する組織に向けて回転させることができる。また、いくつかの実施形態では、スタイレット31は、ハンドルアセンブリ60の近位端68に配置されたルアコネクタ66を通じてカテーテルアセンブリ11から取り除かれてもよい。更に、いくつかの実施形態では、注射器のような真空装置(図示せず)が、スタイレット31が管腔から引き抜かれた状態で、ハンドルアセンブリ60のルアコネクタ66を介して、湾曲可撓性針23に動作可能に結合されてもよい。
システム50の様々な実施形態は、次のように動作する。特定の用途に適した内視鏡(図示せず)気管支鏡(図示せず)は、目標位置までの体腔の中で駆動される。標的は、撮像システム(超音波プローブ、光学チャネル、蛍光透視法、光干渉断層法、X線コンピュータ断層撮影支援可視化、及び磁気共鳴画像法など)によって可視化される。カテーテルアセンブリ11は、内視鏡(又は気管支鏡)に装着され、ハンドルアセンブリ60を使用してカテーテル12にトルクを与えて開口部18と標的とを位置合わせする。
オフセット機構24がランプ28のみを含む実施形態において、湾曲可撓性針23は、開口部18を通って、カテーテル12の遠位端20を越えて、標的組織に向けて延ばされる。いくつかの場合において、湾曲可撓性針23は体腔の壁に突き刺さってもよい。湾曲可撓性針23は標的組織に突き刺さる。標的に湾曲可撓性針23がある状態で、注射器のような真空装置(図示せず)が、ハンドルアセンブリ60のルアコネクタ66を介して湾曲可撓性針23に動作可能に結合される。直線スタイレット31が針23内に配置された実施形態では、直線スタイレット31は、真空装置がルアコネクタ66を介して湾曲可撓性針23に動作可能に結合される前に、ルアコネクタ66を通じて取り外される。所望により、湾曲可撓性針23は組織内で繰り返し前後に移動することにより組織をかき混ぜてもよい。真空装置は、真空引きすることにより、湾曲可撓性針23を介して組織を採取する。
オフセット機構24が湾曲可撓性針23及び直線スタイレット31のみを含む実施形態、及び、オフセット機構がランプ28及び湾曲可撓性針23及び直線スタイレット31を含む実施形態では、針/スタイレットアセンブリ35は、開口部18を通り、カテーテル12の遠位端20を越え、標的に向かって延ばされる。いくつかの場合において、針/スタイレットアセンブリ35は、体腔の壁に突き刺さってもよい。針/スタイレットアセンブリ35は、標的に突き刺さる。スタイレット31は、ハンドルアセンブリ60のルアコネクタ66を通じて管腔14から取り外され、組織は湾曲可撓性針23を組織内にて定位置に保持する。スタイレット31が管腔14から取り外された状態で、注射器のような真空装置(図示せず)が、ハンドルアセンブリ60のルアコネクタ66を介して湾曲可撓性針23に動作可能に結合される。所望により、針/スタイレットアセンブリ35は組織内で繰り返し前後に移動することにより組織をかき混ぜてもよい。真空装置は、真空引きすることにより、湾曲可撓性針23を介して組織を採取する。
以下は、実装を表す一連のフロー図である。理解を容易にするために、フロー図は、最初のフロー図が例示的な実装を介して実装を提示し、その後、続くフロー図は、最初のフロー図の代替の実装、及び/又は拡張を、1つ以上の以前に提示されたフロー図に基づく、サブ構成操作又は追加の構成操作として提示するように編成されている。当業者は、本明細書で利用される提示様式(すなわち、例示的な実装を提示するフロー図の提示で始まり、その後、後続のフロー図において、追加及び/又は更なる詳細を提供すること)により、様々なプロセス実装の迅速かつ容易な理解が、概ね可能となっていることを理解するであろう。
図10Aを参照すると、組織の標的領域を採取する例示的な方法1000が提供されている。限定するわけではないが、方法1000の実施形態は、カテーテルアセンブリ11及びシステム50の様々な実施形態を使用するのに好適となり得ることが理解されるであろう。標的領域は、方法1000が開始する前に位置決めされていることも理解されるであろう。
方法1000は、ブロック1002で開始する。ブロック1004では、カテーテルは採取される組織の標的領域に向けて体腔内に挿入される。ブロック1006では、カテーテルの軸線から分岐する角度で、カテーテルの遠位端から、採取される組織の標的領域に向けて、湾曲可撓性針が延ばされる。ブロック1008において、湾曲可撓性針で組織を突き刺す。ブロック1010では、組織が採取される。方法1000は、ブロック1012で停止する。
図10Bを参照すると、また、いくつかの実施形態では、ブロック1004において、採取される組織の標的領域に向けて、カテーテルが体腔内に挿入された後であって、ブロック1006において、採取される組織の標的領域に向けて、カテーテルの軸線から分岐する角度で、カテーテルの遠位端から、湾曲可撓性針が延ばされる前に、ブロック1014において、カテーテルの遠位端に画定された開口部が、採取される組織の標的領域に向けて配向されるように、カテーテルにトルクが与えられてもよい。
図10Cを参照すると、また、いくつかの実施形態では、ブロック1006において、採取される組織の標的領域に向けて、カテーテルの軸線から分岐する角度で、カテーテルの遠位端から、湾曲可撓性針を延ばすことは、ブロック1016において、カテーテルの遠位端においてカテーテル内に画定されているランプを越えて湾曲可撓性針を延ばすことであって、ランプは、カテーテルの軸線から分岐している傾斜面を有する、ことを含んでいてもよい。
図10Dを参照すると、ブロック1014に対して代替的又は追加的に、また、いくつかの実施形態では、ブロック1006において、採取される組織の標的領域に向けて、カテーテルの軸線から分岐する角度で、カテーテルの遠位端から、湾曲可撓性針を延ばすことは、ブロック1018において、湾曲可撓性針内に同軸的に配置可能な直線スタイレットを移動させ、湾曲可撓性針を直線スタイレットの形状に適合させることを含んでもよい。
肺及び肺結節に使用されるものとして本明細書に記載される生検システム、器具、及び方法の本説明は限定的なものではなく、これらの実施形態は、胃、内視鏡、又は他の好適な箇所を含む患者の他の箇所における、関心領域の生検、ナビゲート及び位置特定に使用されてもよいことが理解されるであろう。同様に、気管支鏡は必要ではなく、様々な内視鏡又は腹腔鏡カニューレを含むがこれらに限定されない、本明細書に記載の実施形態を収容することができる他の好適な装置も使用されてよい。
上記の詳細な説明は本質的に単なる例示であり、請求項の主題の要旨及び/又は趣旨から逸脱しない変更は、特許請求の範囲内にあることが意図されていることも理解されるであろう。かかる変更は、請求項にかかる主題の趣旨及び範囲から逸脱するものとしてみなされない。
10 カテーテル
12 カテーテル
14 管腔
18 開口部
20 遠位端
22 可撓性針
23 湾曲可撓性針
24 オフセット機構
26 軸線
28 ランプ
30 スタイレット
31 直線スタイレット
36 シース
50 システム
53 本体部
55 端部
55 湾曲部
60 ハンドルアセンブリ
61 軸線
65 開口部
66 ルアコネクタ
67 目標軸線

Claims (20)

  1. 内部に管腔が画定されているカテーテルであって、前記カテーテルの壁は、前記カテーテルの遠位端で前記カテーテルに開口部を画定している、カテーテルと、
    管腔内に配置可能であり、前記カテーテルの前記遠位端の前記開口部から前記管腔の軸線から分岐する角度で延ばすことが可能である、湾曲可撓性針と、を備える、カテーテルアセンブリ。
  2. 前記湾曲可撓性針は、前記管腔内に配置されている間に前記カテーテルの形状に適合するように構成されている、請求項1に記載のカテーテルアセンブリ。
  3. 前記湾曲可撓性針は、形状記憶合金からなる、請求項1に記載のカテーテルアセンブリ。
  4. 前記針が前記管腔の前記軸線から分岐する角度を制御するように構成されたオフセット機構を更に含む、請求項1に記載のカテーテルアセンブリ。
  5. 前記オフセット機構は、前記カテーテルの前記遠位端において前記カテーテル内に画定されているランプを含み、前記ランプは、前記管腔の前記軸線から分岐している傾斜面を有する、請求項4に記載のカテーテルアセンブリ。
  6. 前記ランプは、前記管腔の前記軸線からのオフセットを約5度〜約25度の範囲で画定している、請求項5に記載のカテーテルアセンブリ。
  7. 前記オフセット機構は、前記針内に同軸的に配置可能な直線スタイレットを含み、前記直線スタイレットは、前記湾曲可撓性針を通って延びて、前記湾曲可撓性針を前記直線スタイレットの形状に適合させるように構成されている、請求項4に記載のカテーテルアセンブリ。
  8. 前記湾曲可撓性針が前記直線スタイレットの前記形状に適合する程度は、前記直線スタイレットが前記針の先端に向かって延びる距離に応じる、請求項7に記載のカテーテルアセンブリ。
  9. 前記直線スタイレットは、前記管腔から引き抜かれるように更に構成されている、請求項7に記載のカテーテルアセンブリ。
  10. 前記オフセット機構は、
    前記カテーテルの前記遠位端において前記カテーテル内に画定されているランプであって、前記ランプは、前記管腔の前記軸線から分岐している傾斜面を有する、ランプと、
    前記湾曲可撓性針内に同軸的に配置可能な直線スタイレットであって、前記直線スタイレットは、前記湾曲可撓性針を通って延びて、前記湾曲可撓性針を前記直線スタイレットの形状に適合させるように構成されている、直線スタイレットと、を含む、請求項1に記載のカテーテルアセンブリ。
  11. 組織の標的領域を採取するためのシステムであって、前記システムは、
    ハンドルアセンブリと、
    前記ハンドルアセンブリに動作可能に結合されたカテーテルアセンブリであって、前記カテーテルアセンブリは、採取される組織の標的領域に向けて体腔内に挿入可能に構成されている、カテーテルアセンブリと、を備え、前記カテーテルアセンブリは、
    内部に管腔が画定されているカテーテルであって、前記カテーテルの壁は、前記カテーテルの遠位端で前記カテーテルに開口部を画定している、カテーテルと、
    管腔内に配置可能であり、前記カテーテルの前記遠位端の前記開口部から前記管腔の軸線から分岐する角度で延ばすことが可能である、湾曲可撓性針と、を備える、システム。
  12. 前記針が前記管腔の前記軸線から分岐する角度を制御するように構成されたオフセット機構を更に含む、請求項11に記載のシステム。
  13. 前記オフセット機構は、前記カテーテルの前記遠位端において前記カテーテル内に画定されているランプを含み、前記ランプは、前記管腔の前記軸線から分岐している傾斜面を有する、請求項12に記載のシステム。
  14. 前記オフセット機構は、前記針内に同軸的に配置可能な直線スタイレットを含み、前記直線スタイレットは、前記湾曲可撓性針を通って延びて、前記湾曲可撓性針を前記直線スタイレットの形状に適合させるように構成されている、請求項12に記載のシステム。
  15. 前記オフセット機構は、
    前記カテーテルの前記遠位端において前記カテーテル内に画定されているランプであって、前記ランプは、前記管腔の前記軸線から分岐している傾斜面を有する、ランプと、
    前記針内に同軸的に配置可能な直線スタイレットであって、前記直線スタイレットは、前記湾曲可撓性針を通って延びて、前記湾曲可撓性針を前記直線スタイレットの形状に適合させるように構成されている、直線スタイレットと、を含む、請求項12に記載のシステム。
  16. 前記スタイレットは、前記ハンドルアセンブリによって前記管腔から引き抜かれるように更に構成され、前記システムは、
    前記スタイレットを前記管腔から引き抜いた状態で、前記ハンドルアセンブリを介して前記針に動作可能に結合可能な真空装置を更に含む、請求項15に記載のシステム。
  17. 前記ハンドルアセンブリは、前記カテーテルにトルクを与えるように構成されている、請求項11に記載のシステム。
  18. 組織の標的領域を採取する方法であって、前記方法は、
    採取される組織の標的領域に向けてカテーテルを体腔内に挿入することと、
    前記カテーテルの軸線から分岐する角度で、前記カテーテルの遠位端から、採取される組織の前記標的領域に向けて、湾曲可撓性針を延ばすことと、
    前記針を前記組織に突き刺すことと、
    前記組織を採取することと、を含む、方法。
  19. 前記カテーテルの前記遠位端において前記カテーテル内に画定されているランプを越えて前記湾曲可撓性針を延ばすことであって、前記ランプは、前記カテーテルの前記軸線から分岐している傾斜面を有する、ことと、
    前記湾曲可撓性針内に同軸的に配置可能な直線スタイレットを移動させ、前記湾曲可撓性針を前記直線スタイレットの形状に適合させることと、
    の少なくとも一方によって前記湾曲可撓性針が前記カテーテルの前記軸線から分岐する角度を制御することを更に含む、請求項18に記載の方法。
  20. 採取される組織の前記標的領域に向けて前記カテーテルを前記体腔内に挿入した後、かつ前記カテーテルの前記軸線から分岐する角度で、前記カテーテルの前記遠位端から、採取される組織の前記標的領域に向けて、前記湾曲可撓性針を延ばす前に、前記カテーテルの前記遠位端に画定された開口部が、採取される組織の前記標的領域に向けて配向されるように、前記カテーテルにトルクを与えることを更に含む、請求項18に記載の方法。
JP2019043727A 2018-03-14 2019-03-11 組織採取用オフセット装置を備えたカテーテルアセンブリ、システム、及び組織の標的領域を採取する方法 Active JP7338994B2 (ja)

Applications Claiming Priority (4)

Application Number Priority Date Filing Date Title
US15/920,966 US20190282218A1 (en) 2018-03-14 2018-03-14 Catheter Assembly With Offset Device For Tissue Sampling
US15/920,966 2018-03-14
US15/933,372 US10912542B2 (en) 2018-03-14 2018-03-22 Catheter assembly with offset device for tissue sampling
US15/933,372 2018-03-22

Publications (2)

Publication Number Publication Date
JP2019166316A true JP2019166316A (ja) 2019-10-03
JP7338994B2 JP7338994B2 (ja) 2023-09-05

Family

ID=66380446

Family Applications (1)

Application Number Title Priority Date Filing Date
JP2019043727A Active JP7338994B2 (ja) 2018-03-14 2019-03-11 組織採取用オフセット装置を備えたカテーテルアセンブリ、システム、及び組織の標的領域を採取する方法

Country Status (5)

Country Link
US (1) US10912542B2 (ja)
JP (1) JP7338994B2 (ja)
CN (2) CN118614966A (ja)
DE (1) DE102019105316A1 (ja)
GB (1) GB2572861B (ja)

Families Citing this family (1)

* Cited by examiner, † Cited by third party
Publication number Priority date Publication date Assignee Title
AU2019448614B2 (en) 2019-05-24 2025-04-17 Becton, Dickinson And Company Needle-tract assistant including components and methods thereof

Citations (4)

* Cited by examiner, † Cited by third party
Publication number Priority date Publication date Assignee Title
JP2013516292A (ja) * 2010-01-07 2013-05-13 リリーバント メドシステムズ、インコーポレイテッド 骨を通して器具を誘導するシステム及び方法
JP2013176559A (ja) * 2012-02-28 2013-09-09 Spiration Inc 肺生検針
US20160000415A1 (en) * 2013-03-04 2016-01-07 Rambam Health Corporation Multiple-tissue fna sampling
JP2017515620A (ja) * 2014-04-02 2017-06-15 ザ ボード オブ トラスティーズ オブ ザ リーランド スタンフォード ジュニア ユニバーシティーThe Board Of Trustees Of The Leland Stanford Jr.University 生検デバイス、システム及びその使用方法

Family Cites Families (17)

* Cited by examiner, † Cited by third party
Publication number Priority date Publication date Assignee Title
US6283951B1 (en) * 1996-10-11 2001-09-04 Transvascular, Inc. Systems and methods for delivering drugs to selected locations within the body
US6203524B1 (en) * 1997-02-10 2001-03-20 Emx, Inc. Surgical and pharmaceutical site access guide and methods
JP4125814B2 (ja) * 1998-03-04 2008-07-30 Hoya株式会社 超音波内視鏡
WO2002055130A2 (en) * 2000-12-11 2002-07-18 Pharmaspec Corporation Transluminal drug delivery catheter
US8613744B2 (en) * 2002-09-30 2013-12-24 Relievant Medsystems, Inc. Systems and methods for navigating an instrument through bone
US20050159676A1 (en) * 2003-08-13 2005-07-21 Taylor James D. Targeted biopsy delivery system
US8088072B2 (en) * 2007-10-12 2012-01-03 Gynesonics, Inc. Methods and systems for controlled deployment of needles in tissue
US9782565B2 (en) * 2008-10-01 2017-10-10 Covidien Lp Endoscopic ultrasound-guided biliary access system
EP2501297B1 (en) * 2009-11-17 2021-04-07 Cook Medical Technologies LLC Deflectable biopsy device
US20120053485A1 (en) * 2010-09-01 2012-03-01 Salient Surgical Technologies, Inc. Catheter Having Needle And Expandable Support Member And Methods Of Use
US20140180164A1 (en) * 2012-12-21 2014-06-26 Cook Medical Technologies Llc Targetable biopsy needle set and method of using same
US10433821B2 (en) * 2013-01-08 2019-10-08 Sanovas Intellectual Property, Llc Precision directed medical instruments
EP2946732B1 (en) * 2013-01-21 2019-04-17 FUJIFILM Corporation Tissue sampling device
US20180116645A1 (en) * 2015-04-28 2018-05-03 Michael NOSLER Stylet and Needle Combinations Used to Collect Tissue Samples During Endoscopic Procedures
US10524864B2 (en) * 2015-08-17 2020-01-07 Albert J. Sinusas Real-time molecular imaging and minimally-invasive detection in interventional cardiology
US10327791B2 (en) * 2015-10-07 2019-06-25 Medtronic Vascular, Inc. Occlusion bypassing apparatus with a re-entry needle and a distal stabilization balloon
US10835327B2 (en) * 2017-09-05 2020-11-17 Acclarent, Inc. Sensor guided instrument with penetrating feature

Patent Citations (4)

* Cited by examiner, † Cited by third party
Publication number Priority date Publication date Assignee Title
JP2013516292A (ja) * 2010-01-07 2013-05-13 リリーバント メドシステムズ、インコーポレイテッド 骨を通して器具を誘導するシステム及び方法
JP2013176559A (ja) * 2012-02-28 2013-09-09 Spiration Inc 肺生検針
US20160000415A1 (en) * 2013-03-04 2016-01-07 Rambam Health Corporation Multiple-tissue fna sampling
JP2017515620A (ja) * 2014-04-02 2017-06-15 ザ ボード オブ トラスティーズ オブ ザ リーランド スタンフォード ジュニア ユニバーシティーThe Board Of Trustees Of The Leland Stanford Jr.University 生検デバイス、システム及びその使用方法

Also Published As

Publication number Publication date
JP7338994B2 (ja) 2023-09-05
CN110269646B (zh) 2024-07-16
GB2572861A (en) 2019-10-16
US10912542B2 (en) 2021-02-09
CN110269646A (zh) 2019-09-24
GB201903410D0 (en) 2019-04-24
DE102019105316A1 (de) 2019-09-19
US20190282217A1 (en) 2019-09-19
CN118614966A (zh) 2024-09-10
GB2572861B (en) 2022-09-21

Similar Documents

Publication Publication Date Title
CN110602994B (zh) 超弹性医疗器械
JP4874259B2 (ja) 標的部位にアクセスするための操縦可能な装置
US7918819B2 (en) Variable curve catheter
US10143448B2 (en) Medical device comprising a curved needle
JP2024014942A (ja) 組織サンプリングのためのオフセットデバイスを備えるカテーテルアセンブリ
US20220054763A1 (en) Variable pitch flexible needle
JP2012513286A (ja) 超音波視覚化内視鏡用アクセス装置
US20220347394A1 (en) Sheaths for needle delivery
US11950805B2 (en) Sharp turning steerable needle
JP7338994B2 (ja) 組織採取用オフセット装置を備えたカテーテルアセンブリ、システム、及び組織の標的領域を採取する方法
CN209450624U (zh) 带推送杆的定位穿刺套件
US20190328371A1 (en) Ramped biopsy needle device

Legal Events

Date Code Title Description
A711 Notification of change in applicant

Free format text: JAPANESE INTERMEDIATE CODE: A712

Effective date: 20201005

A621 Written request for application examination

Free format text: JAPANESE INTERMEDIATE CODE: A621

Effective date: 20220311

A977 Report on retrieval

Free format text: JAPANESE INTERMEDIATE CODE: A971007

Effective date: 20221214

A131 Notification of reasons for refusal

Free format text: JAPANESE INTERMEDIATE CODE: A131

Effective date: 20221219

A521 Request for written amendment filed

Free format text: JAPANESE INTERMEDIATE CODE: A523

Effective date: 20230307

A131 Notification of reasons for refusal

Free format text: JAPANESE INTERMEDIATE CODE: A131

Effective date: 20230417

A521 Request for written amendment filed

Free format text: JAPANESE INTERMEDIATE CODE: A523

Effective date: 20230718

TRDD Decision of grant or rejection written
A01 Written decision to grant a patent or to grant a registration (utility model)

Free format text: JAPANESE INTERMEDIATE CODE: A01

Effective date: 20230731

A61 First payment of annual fees (during grant procedure)

Free format text: JAPANESE INTERMEDIATE CODE: A61

Effective date: 20230824

R150 Certificate of patent or registration of utility model

Ref document number: 7338994

Country of ref document: JP

Free format text: JAPANESE INTERMEDIATE CODE: R150