JP2018528811A - 分岐部での血管の処置のためのバルーンカテーテル - Google Patents

分岐部での血管の処置のためのバルーンカテーテル Download PDF

Info

Publication number
JP2018528811A
JP2018528811A JP2018509918A JP2018509918A JP2018528811A JP 2018528811 A JP2018528811 A JP 2018528811A JP 2018509918 A JP2018509918 A JP 2018509918A JP 2018509918 A JP2018509918 A JP 2018509918A JP 2018528811 A JP2018528811 A JP 2018528811A
Authority
JP
Japan
Prior art keywords
balloon
shaft
wall portion
balloon catheter
proximal end
Prior art date
Legal status (The legal status is an assumption and is not a legal conclusion. Google has not performed a legal analysis and makes no representation as to the accuracy of the status listed.)
Granted
Application number
JP2018509918A
Other languages
English (en)
Other versions
JP7086842B2 (ja
JP2018528811A5 (ja
Inventor
イシンガー,トーマス
Current Assignee (The listed assignees may be inaccurate. Google has not performed a legal analysis and makes no representation or warranty as to the accuracy of the list.)
Individual
Original Assignee
Individual
Priority date (The priority date is an assumption and is not a legal conclusion. Google has not performed a legal analysis and makes no representation as to the accuracy of the date listed.)
Filing date
Publication date
Application filed by Individual filed Critical Individual
Publication of JP2018528811A publication Critical patent/JP2018528811A/ja
Publication of JP2018528811A5 publication Critical patent/JP2018528811A5/ja
Priority to JP2021142637A priority Critical patent/JP2021192807A/ja
Application granted granted Critical
Publication of JP7086842B2 publication Critical patent/JP7086842B2/ja
Active legal-status Critical Current
Anticipated expiration legal-status Critical

Links

Images

Classifications

    • AHUMAN NECESSITIES
    • A61MEDICAL OR VETERINARY SCIENCE; HYGIENE
    • A61MDEVICES FOR INTRODUCING MEDIA INTO, OR ONTO, THE BODY; DEVICES FOR TRANSDUCING BODY MEDIA OR FOR TAKING MEDIA FROM THE BODY; DEVICES FOR PRODUCING OR ENDING SLEEP OR STUPOR
    • A61M25/00Catheters; Hollow probes
    • A61M25/10Balloon catheters
    • A61M25/104Balloon catheters used for angioplasty
    • AHUMAN NECESSITIES
    • A61MEDICAL OR VETERINARY SCIENCE; HYGIENE
    • A61FFILTERS IMPLANTABLE INTO BLOOD VESSELS; PROSTHESES; DEVICES PROVIDING PATENCY TO, OR PREVENTING COLLAPSING OF, TUBULAR STRUCTURES OF THE BODY, e.g. STENTS; ORTHOPAEDIC, NURSING OR CONTRACEPTIVE DEVICES; FOMENTATION; TREATMENT OR PROTECTION OF EYES OR EARS; BANDAGES, DRESSINGS OR ABSORBENT PADS; FIRST-AID KITS
    • A61F2/00Filters implantable into blood vessels; Prostheses, i.e. artificial substitutes or replacements for parts of the body; Appliances for connecting them with the body; Devices providing patency to, or preventing collapsing of, tubular structures of the body, e.g. stents
    • A61F2/95Instruments specially adapted for placement or removal of stents or stent-grafts
    • A61F2/954Instruments specially adapted for placement or removal of stents or stent-grafts for placing stents or stent-grafts in a bifurcation
    • AHUMAN NECESSITIES
    • A61MEDICAL OR VETERINARY SCIENCE; HYGIENE
    • A61FFILTERS IMPLANTABLE INTO BLOOD VESSELS; PROSTHESES; DEVICES PROVIDING PATENCY TO, OR PREVENTING COLLAPSING OF, TUBULAR STRUCTURES OF THE BODY, e.g. STENTS; ORTHOPAEDIC, NURSING OR CONTRACEPTIVE DEVICES; FOMENTATION; TREATMENT OR PROTECTION OF EYES OR EARS; BANDAGES, DRESSINGS OR ABSORBENT PADS; FIRST-AID KITS
    • A61F2/00Filters implantable into blood vessels; Prostheses, i.e. artificial substitutes or replacements for parts of the body; Appliances for connecting them with the body; Devices providing patency to, or preventing collapsing of, tubular structures of the body, e.g. stents
    • A61F2/95Instruments specially adapted for placement or removal of stents or stent-grafts
    • A61F2/958Inflatable balloons for placing stents or stent-grafts
    • AHUMAN NECESSITIES
    • A61MEDICAL OR VETERINARY SCIENCE; HYGIENE
    • A61MDEVICES FOR INTRODUCING MEDIA INTO, OR ONTO, THE BODY; DEVICES FOR TRANSDUCING BODY MEDIA OR FOR TAKING MEDIA FROM THE BODY; DEVICES FOR PRODUCING OR ENDING SLEEP OR STUPOR
    • A61M25/00Catheters; Hollow probes
    • A61M25/10Balloon catheters
    • A61M25/1002Balloon catheters characterised by balloon shape
    • AHUMAN NECESSITIES
    • A61MEDICAL OR VETERINARY SCIENCE; HYGIENE
    • A61MDEVICES FOR INTRODUCING MEDIA INTO, OR ONTO, THE BODY; DEVICES FOR TRANSDUCING BODY MEDIA OR FOR TAKING MEDIA FROM THE BODY; DEVICES FOR PRODUCING OR ENDING SLEEP OR STUPOR
    • A61M25/00Catheters; Hollow probes
    • A61M25/10Balloon catheters
    • A61M2025/1043Balloon catheters with special features or adapted for special applications
    • A61M2025/1045Balloon catheters with special features or adapted for special applications for treating bifurcations, e.g. balloons in y-configuration, separate balloons or special features of the catheter for treating bifurcations
    • AHUMAN NECESSITIES
    • A61MEDICAL OR VETERINARY SCIENCE; HYGIENE
    • A61MDEVICES FOR INTRODUCING MEDIA INTO, OR ONTO, THE BODY; DEVICES FOR TRANSDUCING BODY MEDIA OR FOR TAKING MEDIA FROM THE BODY; DEVICES FOR PRODUCING OR ENDING SLEEP OR STUPOR
    • A61M25/00Catheters; Hollow probes
    • A61M25/10Balloon catheters
    • A61M2025/1043Balloon catheters with special features or adapted for special applications
    • A61M2025/1079Balloon catheters with special features or adapted for special applications having radio-opaque markers in the region of the balloon

Landscapes

  • Health & Medical Sciences (AREA)
  • Heart & Thoracic Surgery (AREA)
  • Life Sciences & Earth Sciences (AREA)
  • Engineering & Computer Science (AREA)
  • Biomedical Technology (AREA)
  • General Health & Medical Sciences (AREA)
  • Animal Behavior & Ethology (AREA)
  • Veterinary Medicine (AREA)
  • Public Health (AREA)
  • Vascular Medicine (AREA)
  • Child & Adolescent Psychology (AREA)
  • Hematology (AREA)
  • Pulmonology (AREA)
  • Anesthesiology (AREA)
  • Biophysics (AREA)
  • Cardiology (AREA)
  • Oral & Maxillofacial Surgery (AREA)
  • Transplantation (AREA)
  • Media Introduction/Drainage Providing Device (AREA)

Abstract

分岐部での血管を処置するための形状をもつバルーンを有するバルーンカテーテルは、バルーンの傾斜基端部と、バルーンの中心軸線に対して少なくとも部分的に偏心したカテーテルシャフトとを含む。カテーテルシャフトには、長手方向及び回転方向の整合に使用されるマーカーが含まれる。トルク伝達要素が、カテーテルの剛性基端側セグメントからカテーテルの先端側の可撓性バルーンセグメントまでトルクを伝達するために使用されてよい。【選択図】図1A

Description

本発明は、分岐部での血管を処置するのに使用するためのバルーンカテーテルに関する。
主枝から延びる側枝の口部あるいは分岐部の主枝におけるような、血管の分岐点又はその近傍に位置する病変は、バルーンカテーテル又はステントを備えるカテーテルを用いて処置することができる。しかし、そのような病変の処置は困難である。バルーンを使用して側枝の口部の病変を処置する場合、アテローム性動脈硬化性プラークは、バルーンの拡張によって、又は主枝に向かうステント又は足場(scaffold)の注入によって置換され、それにより「プラークシフト」による新たな障害が生じ得る。特に、この合併症は、病変が血管の接合点ないし分岐点であるカリナ(carina)に位置する場合、すなわち、分岐部を形成する2つの血管の先端側分岐点に位置する場合に、起こり易い。
この合併症を回避するために、「キスバルーン」(kissing balloon)技術として知られている技術がしばしば使用され、主枝と側枝の同時拡張が行われる。この技術では、2つのバルーンを血管の各々に別々に導入し、同時に膨張させる。しかし、これにより、主枝内で2つの膨張したバルーンが互いに平行になり、主枝に非円形の拡張体が形成され、血管の外傷及び血管壁に非均一に分布する拡張力が生じる可能性がある。さらに、ステント又は足場が既に主枝に配置されている場合、ステント又は足場内で互いに平行に特定の長さにわたって位置する2つのバルーンを備えるキスバルーン技術は、非円形の拡張体及び血管壁からのステントの部分的な分離のために、ステント又は足場の歪みを生じさせる。これは、血管血栓症、再狭窄又は閉塞、及び薬物溶出ステントの場合にステントから血管壁への均質な薬物溶出の中断などの初期及び後期合併症のリスクをもたらすことが知られている。
同様に、1つ又は複数のステント又は足場が使用される場合、ステントの重なり又は側枝の口部から主枝へのステントの突出もまた、血管の外傷又は望ましくないプラークのシフトを生じさせたり、主枝のバルーン拡張が行われる場合や、第2のステントが側枝の口部を橋渡しする主枝に後で導入される場合に、流れの閉塞、血栓形成、及びステント材料の潜在的な歪み又は破砕をもたらす可能性がある。
米国特許出願公開第2014/0277,377A1号として公開されたイシンガー(Ischinger)の米国特許出願第13/826,399号は、分岐した解剖学的構造をより緊密に適合させて、側枝から主枝に又はその逆にステント材料の一部の突出を最小限に抑えるように設計された傾斜ステントを開示している。傾斜形状のステントを使用すると、小さな金属突起及び歪みが生じるが、プラークのシフト及び/又は主血管の妥協の問題が依然として存在し得る。
イシンガー(Ischinger)の米国特許第6,682,556号は、側枝に傾斜ステントをより正確に配置するためのバルーンカテーテルを開示している。しかし、ここに開示されたバルーンカテーテルは、膨張した状態において本体部分を有する従来の血管形成バルーンを含むとともに、対称円錐形状を示す基端側部分及び先端側部分をさらに含む。2つの端部分の円錐形状は、バルーン先端と、バルーン本体に合流する対称バルーンショルダーとを含む。
従って、分岐した解剖学的構造及び/又は傾斜ステント又は足場の形状をよりよく適合させるように具体的に成形されたバルーンは、外傷の少ない且つ有害の少ないキスバルーン技術を含む、より良好な分岐部処置をもたらす。
従って、分岐した解剖学的構造に一層良く適合し、側枝の口部又は罹患した血管分岐部における従来のステント又は足場及び傾斜ステント又は傾斜足場の展開を可能にし、さらに、主枝の流れを妨げたり、ステント又は足場の材料の歪みを引き起こすことなく、キスバルーン技術をその現在の危険性を最小限にしながら、口部の病変又は血管分岐部のバルーン拡張を提供する、トルクを与え得るバルーンが必要とされる。
本発明の実施例によると、長手方向軸線に沿ってシャフト先端部及びシャフト基端部を有するシャフトと、シャフト上に配置され、長手方向軸線に沿ってバルーン先端部及びバルーン基端部を有するバルーンであって、バルーン基端部が長壁部分及び長壁部分に対向する短壁部分を有する、バルーンとを備え、長壁部分は、バルーンが拡張状態にあるときにバルーン基端部が長手方向軸線に垂直な平面に対して実質的に傾斜角となるように、長手方向軸線に沿って基端側方向に短壁部分を越えて延びる、バルーンカテーテルが提供されている。従って、本発明の実施例では、バルーン基端部及び場合によってはバルーン先端部は、非対称形状を呈する。
本発明の実施例における更なる特徴によると、シャフトは、ガイドワイヤを内部に保持するように構成されたガイドワイヤ内腔を有するガイドワイヤシャフトであってよい。
本発明の実施例によると、シャフトは、少なくとも部分的にハイポチューブなどの比較的剛性のセグメントから構成されてよく、ステンレス鋼、チタン、ニチノールなどの金属、又は他の適切な比較的剛性の材料から構成されてもよい。幾つかの実施例では、回転安定性すなわちトルク特性を維持しながら長手方向の可撓性を高めるために、ハイポチューブは、例えばレーザー切断によって部分的にスリットを入れられる。シャフトは、曲がりくねった血管を通る動きを容易にするために、より可撓性の先端側部分を含んでよく、可撓性先端側部分は、バルーンセグメントを含んでよい。幾つかの実施例では、先端側セグメントすなわちバルーンと基端側の剛性セグメントすなわちハイポチューブとの遷移領域は、ポリマーチューブで構成されてよく、さらにシャフトの基端部から先端部へのトルク伝達を強化するために、編組又はメッシュ要素、螺旋ワイヤ要素、あるいは、固定又は可動のトルク補強外部シースを含んでよい。
本発明の実施例における更なる特徴によると、ガイドワイヤは、シャフトを通って自由に移動可能であっても、シャフトと一体化されてもよく、あるいは代わりとして、ガイドワイヤはシャフトの先端部に固定され、すなわち固定ワイヤシステムでもよい。幾つかの実施例では、ガイドワイヤシャフトは、カテーテルの全長すなわちワイヤシステムにわたって延びてよく、また他の実施例では、ガイドワイヤシャフトは、カテーテルの長さに沿ってカテーテルの先端部からカテーテルの出口点まで延び、すなわち迅速交換システムでよい。幾つかの実施例では、ガイドワイヤ内腔がカテーテルの全長にわたって延びているが、少なくとも1つの出口ポートがカテーテルの先端部と基端部との間に配置される、ワイヤ及び迅速交換の組合わせを使用してよい。
更なる実施例によると、シャフトは、バルーンを通りバルーン基端部における長壁部分に隣接して配置されて、バルーン基端部において、バルーンが展開状態すなわち拡張状態にあるとき、シャフトがバルーンの中心軸線に対して偏心する。更なる実施例によると、バルーン先端部において、シャフトはバルーンの中心軸線に実質的に配置されて、バルーンが展開状態にあるとき、シャフトがバルーンの中心軸線に対して部分的に偏心するとともに、バルーンの中心軸線に対して部分的に同心である。幾つかの実施例では、シャフトはバルーンの本体内で傾斜する。
本発明の実施例における更なる特徴によると、バルーンカテーテルは、カテーテルを視覚化するためのマーカーを含んでよい。本明細書で開示されるマーカーは、放射線不透過性であってよく、又は、X線以外の異なる様式をもつ別のタイプの材料撮像で構成されてもよい。マーカーは、長壁部分の基端部におけるシャフト上の第1の基端側マーカーと、短壁部分の基端部におけるシャフト上の第2の基端側マーカーとを含む。カテーテルの回転位置決めのX線撮像又は他の撮像様式による視覚化を可能にするために、第1の基端側マーカーは、バルーン端部の傾斜角に近似する角度を有する三角形の形状を有しても、あるいは、傾斜リング形態又は他の適切な形態を有してもよい。第1及び第2の基端側マーカーは、放射線可視要素が互いに偏心すなわち対向する位置でシャフト上に配置されて、シャフト又はバルーンの回転位置が撮像により視覚化できるようにしてよい。あるいは、マーカーは、シャフト上に配置される代わりに、又はシャフト上に配置されることに加えて、バルーンに適用されても、バルーン材料内に組み込まれてもよい。
本発明の実施例において、バルーンカテーテルは、バルーン上に配置される傾斜ステント又は足場をさらに含み、傾斜ステントの基端部が、シャフトの長手方向軸線に垂直な平面に対して傾斜角で構成されてよい。幾つかの実施例では、バルーン端部の傾斜角及びステント端部の傾斜角はほぼ同じである。本明細書で使用される用語「ステント」は、ステント、足場、及び例えば血管又は他の内腔臓器を処置するために使用されるステントグラフトのすべての変形を含み、例えば、従来のベアメタル又は薬剤溶出ステントも含むとともに、例えば、金属、織物、ポリマー、永久又は生体吸収性材料、バルーン拡張可能又は自己拡張可能又はハイブリッド材料などの、ステント、ステントグラフト又は足場に使用するのに適した材料をも含む。
本発明の更なる特徴によると、幾つかの実施例では、バルーンが拡張状態にあるとき、バルーン基端部の直径はバルーン先端部の直径よりも大きい。幾つかの実施例では、バルーン先端部は、先端側長壁部分及び先端側長壁部分に対向する先端側短壁部分を有し、先端側長壁部分は、バルーンが拡張状態にあるときにバルーン先端部が長手方向軸線に垂直な平面に対して実質的に傾斜角となるように、長手方向軸線に沿って先端側方向に先端側短壁部分を越えて延びる。
本発明の実施例における更なる特徴によると、バルーンカテーテルは、ガイドワイヤとガイドワイヤシャフトとの摩擦を増加させることによってシャフトの基端部からバルーンに回転トルクを伝達するためのトルク伝達機構を含む。この機構は、より詳細に後述するように、キーロック機構又は他のトルク伝達機構でよい。
本発明の実施例によると、長手方向軸線に沿ってシャフト先端部及びシャフト基端部を有するシャフトと、シャフト上に配置され、長手方向軸線に沿ってバルーン第1端部及びバルーン第2端部を有するバルーンとを備え、バルーン第1端部において、シャフトがバルーンを通りバルーンの縁部に隣接して配置され、バルーン第2端部において、シャフトがバルーンの中心軸線に実質的に配置されて、バルーンが拡張状態にあるとき、バルーン第1端部においてシャフトがバルーンの中心軸線に対して偏心するとともに、バルーン第2端部においてシャフトがバルーンの中心軸線に対して実質的に同心である、バルーンカテーテルが提供される。幾つかの実施例では、バルーン第1端部はバルーン基端部であり、バルーン第2端部はバルーン先端部である。幾つかの実施例では、バルーンは従来のバルーン形状である。他の実施例では、バルーン基端部は、長壁部分及び長壁部分に対向する短壁部分を有し、長壁部分は、バルーンが拡張状態にあるときにバルーン基端部が長手方向軸線に垂直な平面に対して実質的に傾斜角となるように、長手方向軸線に沿って基端側方向に短壁部分を越えて延びる。
本発明によると、分岐部での血管を処置する方法が提供される。この方法は、第1のバルーンカテーテルを血管、例えば側枝内に導入するステップであって、第1のバルーンカテーテルが、その基端部に長壁部分及び短壁部分を有する第1のバルーンを含む、ステップと、長壁部分が主枝に突き出ることなく側枝の基端側分岐点に位置するとともに、短壁部分がカリナすなわち側枝の先端側分岐点に位置するように、第1のバルーンカテーテルを配置するステップと、第1のバルーンを血管内で拡張させるステップとを包含する。幾つかの実施例では、第2のバルーン長壁部分及び第2のバルーン短壁部分を有する第2のバルーンカテーテルは、主血管内に導入されて、第1のバルーンカテーテルが第1の枝血管内に延び且つ第2のバルーンカテーテルが主枝から第2の枝血管内に延びるように配置され、第2のバルーンは、第1のバルーン及び第2のバルーンが同時に膨張されたとき第1及び第2のバルーンが主枝の重要な領域に平行なバルーンをもたらすことなく軽く触れる接触位置となるように、血管内で膨張される。他の実施例では、従来型のバルーンを有する第2のバルーンは、第2のバルーンカテーテルがカリナを横切って第1の枝血管を橋渡しするように、主血管内に導入される。従来型のバルーンは、第1のバルーンと同時又は非同期のいずれかで血管内で拡張されてよい。他の実施例では、第1の傾斜ステントは、第1のバルーン上に配置され、傾斜ステントの長い部分が主枝に最も近い分岐点に位置し且つ傾斜ステントの短い部分が分岐部のカリナに位置して主枝へのステント材料の突出を実質的に生じないように、枝血管内で展開される。幾つかの実施例では、バルーンは、ステント展開バルーンの膨張と同時に側枝を橋渡しする主枝内で膨張されて、主枝内の金属又は他の材料の粉砕あるいはバルーンの外傷なしにカリナが保護される。幾つかの実施例では、2つの傾斜バルーン又は2つの枝血管の各々で展開するステントを備える2つの傾斜バルーンは、同時に展開される。
他に定義されない限り、本明細書で使用される全ての技術用語及び科学用語は、本発明が属する技術分野の当業者によって一般的に理解されるのと同じ意味を有する。本明細書に記載された方法及び材料と類似又は同等の方法及び材料を本発明の実施例の実施又は試験に使用することができるが、適切な方法及び材料を以下に記載する。紛争の場合、定義を含む特許明細書が支配する。その上、材料、方法及び実施例は例示的なものにすぎず、限定することを意図するものではない。
本発明は、添付図面を参照して、単なる例としてここに記載される。次に図面を詳細に参照すると、示された詳細は、単に例として本発明の様々な実施例の説明のためであり、本発明の原理及び概念的様相の最も有用で容易に理解される記載であると考えられるものを提供するために提示されることが強調される。この点に関して、本発明の基本的な理解のために必要である以上には、本発明の構造的詳細をより詳細に示す試みはなされておらず、図面を用いた説明は、本発明の幾つかの実施例がどのようにして実際に実施され得るかを当業者に明らかにしている。
本発明の実施例によるバルーンカテーテルの概略図である。 図1Aのカテーテルの断面図である。 図1Bのカテーテルの断面図である。 本発明の実施例による、基端部及び先端部に傾斜端部を有するバルーンの縦断面図である。 本発明の実施例による、バルーン上に配置された傾斜ステント又は足場をさらに含む、図1A又は1Bのバルーンカテーテルの図である。 本発明の実施例によるバルーンカテーテルの縦断面図である。 バルーンの直径がバルーン先端部よりもバルーン基端部において大きい、本発明の実施例によるバルーンの縦断面図である。 血管内のバルーンカテーテルを視覚化するためのマーカーを備えた、図1A及び1Bのバルーンカテーテルを示す断面図である。 本発明の一実施例によるトルク伝達機構の斜視図及び断面図である。 本発明の別の実施例によるトルク伝達機構の斜視図である。 本発明のさらに別の実施例によるトルク伝達機構の斜視図である。 本発明の実施例による、分岐部にバルーンを備える方法の図である。 本発明の実施例による、分岐部にバルーン及びステントを備える方法の図である。
説明を簡潔かつ明確にするために、図面に示された要素は、必ずしも正確に又は縮尺通りに描かれていないことを理解されたい。例えば、幾つかの要素の寸法は、明瞭化のために他の要素に対して誇張されてもよく、又は、幾つかの物理的構成要素が1つの機能ブロック又は要素に含まれてもよい。さらに、適切であると考えられる場合には、対応する又は類似の要素を示すために図面の間で参照番号を繰り返してもよい。その上、図面に示されるブロックの幾つかは、単一の機能に結合されてもよい。
以下の詳細な説明では、本発明の完全な理解を提供するために、多数の特定の詳細が記載されている。当業者であれば、本発明の実施例がこれらの特定の詳細なしで実施され得ることが理解されるであろう。他の例では、本発明を不明瞭にしないために、周知の方法、手順、構成要素及び構造を詳細に説明していないことがある。
本発明は、分岐部の病変を処置するためのバルーンカテーテルに関する。本発明のバルーンカテーテルの設計の更なる利点を以下に説明する。
本発明の少なくとも1つの実施例を詳細に説明する前に、本発明は、その適用において、以下の説明又は図面に記載される、構成の詳細及び構成要素の配置に限定されないことを理解されたい。本発明は、他の実施例が可能であり、又は、様々な方法で実施又は実行可能である。また、本明細書で使用される表現及び用語は、説明のためのものであり、限定的であるとみなされるべきではないことを理解されたい。
次に、本発明の実施例によるバルーンカテーテル10の概略図である図1A及び図1Bを参照する。カテーテル10は、長手方向軸線30に沿ってシャフト先端部14及びシャフト基端部16を有するシャフト12を含む。幾つかの実施例では、シャフト12は、その中にガイドワイヤ18を保持するのに適したガイドワイヤ内腔を有するガイドワイヤシャフトである。ガイドワイヤ内腔は、シャフト先端部14からシャフト基端部16までシャフト12の長さに沿って延在し、「オーバーワイヤ」形態とすることができる。代りとして、ガイドワイヤ出口点は、「迅速交換」形態のために、シャフト12に沿った点に位置されてもよい。別の実施例では、シャフト12はガイドワイヤ内腔を含まず、その代わりに、固定ワイヤがシャフト12に、例えばシャフト先端部14に取り付けられる。
拡張可能なバルーン20がシャフト12上に配置される。幾つかの実施例では、バルーン20は、シャフト先端部14又はその近傍に位置される。シャフト12は、バルーン20に近い点からシャフト基端部16まで延びる剛性セグメント17と、バルーン20を配置した可撓性セグメント19とを含む。剛性セグメント17は、ハイポチューブ、比較的剛性のワイヤ、又は、一端から他端へトルク力を伝達するのに十分な剛性を有する任意の他の材料で構成されてよい。可撓性セグメント19は、柔らかいポリマーのような実質的に可撓性の材料、又は、血管内のねじれ及び旋回を補償するに十分に屈曲できる任意の材料で構成される。バルーン20は、可撓性セグメント19上に配置される。シャフト12の剛性は、遷移セグメント53にわたって低下してよく、この遷移セグメントは、例えば、剛性の低下が徐々に生じるシャフト12の延長部分であっても、剛性の低下が材料の変化に伴って急激に生じるシャフト12に沿った点であってもよい。バルーン20は、膨張可能なバルーンであっても、例えばシースの除去などの他の手段によって拡張可能であってもよい。バルーン20は、実質的に管状であって、長手方向軸線30に沿ってバルーン先端部22及びバルーン基端部24を有してよい。バルーン20は、バルーン内部空間23を囲むバルーン壁21を含む。バルーン内部空間23は、バルーン20を膨張させるために、当該技術分野で知られているように、膨張流体で満たされてよい。バルーン基端部24において、バルーン壁21は長壁部分26及び短壁部分28を含み、長壁部分26は、バルーン20が膨張状態にあるときにバルーン基端部24が長手方向軸線30に垂直な平面に対して実質的に傾斜角となるように、基端側方向に短壁部分28を越えて延びる。傾斜角は、図1Aに矢印25で概略的に示されている。傾斜角は、90度未満の範囲内の任意の角度であってよく、本発明の実施例では、例えば、30度〜70度の範囲内であってよい。基端部に傾斜角を有するバルーンは、特に分岐部の解剖学に関する現在のバルーンの設計以上の或る利点を提供する。例えば、本発明の実施例による、基端部に傾斜角を有するバルーンの使用は、プラークの実質的な変位又は主枝に並んで配置される2つの丸形のバルーンの使用に関連する他の合併症なしに2つのバルーンが分岐点で軽く触れる、キスバルーン技術を可能にする。その上、本発明の実施例による、基端部に傾斜角を有するバルーンの使用は、参照として全体が本明細書に組み込まれる、米国特許出願公開第2014/0277,377A1号として公開された米国特許出願第13/826,399号に開示されているような、傾斜ステントの配送のためのプラットフォームを提供する。
次に、図1Aのカテーテル10の断面図である図2A−2B、及び図1Bのカテーテル10の断面図である図3A−3Bを参照する。バルーン20は、バルーン20の断面の中心に中心軸線32を有する。幾つかの実施例では、図1A及び対応する図2A−2Bに示すように、シャフト12は、バルーン20の長さに沿ってバルーン20の長壁部分26に隣接して位置される。このように、シャフト12は、バルーン20の全長に沿って中心軸線32に対して偏心している。シャフト12は、図2Aにおいて線A−Aに沿ったバルーン基端部24における中心軸線32に対して偏心して示される。シャフト12は、図2Bにおいて線B−Bに沿ったバルーン先端部22における中心軸線32に対して偏心して示される。他の実施例では、図1B及び対応する図3A−3Bに示すように、シャフト12は、バルーン基端部24においてシャフト12が中心軸線32に対して偏心するように、バルーン基端部24でバルーン20の長壁部分26に隣接して位置される。しかし、バルーン先端部22においては、シャフト12は中心軸線32と同心である。これは、例えば、バルーン20の内部空間23内でシャフト12を折り曲げることによって達成できる。シャフト12は、図3Aにおいて線C−Cに沿ったバルーン基端部24における中心軸線32に対して偏心して示される。シャフト12は、図3Bにおいて線D−Dに沿ったバルーン先端部22における中心軸線32と同心で示される。
次に、長手方向軸線30に沿って示すバルーン20の断面図である図4を参照し、ここでは、バルーン基端部24及びバルーン先端部22の両方が、長手方向軸線30に垂直な平面に対して傾斜角にある。この実施例では、バルーン先端部22において、バルーン壁21は先端側長壁部分27及び先端側短壁部分29を含み、先端側長壁部分27は、バルーン20が膨張状態にあるときにバルーン先端部22が長手方向軸線30に垂直な平面に対して実質的に傾斜角となるように、先端側方向に先端側短壁部分29を越えて延びる。先端側傾斜角は、図4に矢印75で概略的に示されている。先端側傾斜角は、矢印25で示される基端部における角度と同じであっても異なっていてもよい。
次に、バルーン20上に配置された傾斜ステント又は足場40を有するバルーンカテーテル10の図である図5を参照する。傾斜ステント又は足場40は、ステント基端部41及びステント先端部43を有する。傾斜ステント40の形状はバルーン20の形状に近似しており、ステント基端部41は、矢印25で示すように、長手方向軸線30に垂直な平面に対して傾斜角にある。マーカーが傾斜ステント40に含まれてよく、これについては以下でさらに説明する。
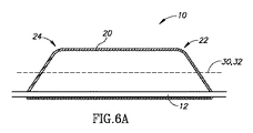
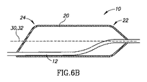
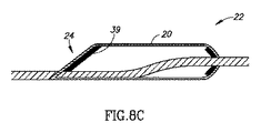
次に、本発明の実施例による、バルーン20とシャフト12との関係を示す概略図である図6A−6Cを参照する。図6Aに示すように、一実施例では、バルーン20は2つの傾斜端部を有し、バルーン基端部24は一方向の角度を有する傾斜であり、バルーン先端部22は反対方向の角度を有する傾斜である。シャフト12は、直線形状を有し、シャフト12がバルーン基端部24及びバルーン先端部22の両方においてバルーン20の中心軸線32に対して偏心するように、バルーン基端部24及びバルーン先端部22の長壁部分に沿って延びる。中心軸線32は、バルーン20の中心点で長手方向軸線30に沿って延びる。図6Bに示すように、別の実施例では、バルーン基端部24は傾斜し、バルーン先端部22は従来のバルーンの設計と同様に対称である。この実施例では、シャフト12は、シャフト12がバルーン基端部24の長壁部分に沿って延び且つバルーン20の中心軸線32と同心の点で実質的に出るように、折り曲げた形態を有する。図6Cに示すように、さらに別の実施例では、バルーン基端部24は傾斜し、バルーン先端部22は、バルーン基端部24の角度と実質的に同じ方向に角度を有する傾斜であり、近似平行四辺形を形成する。この実施例では、シャフト12は、バルーン基端部24において中心軸線32に対して偏心するとともに、バルーン先端部において中心軸32に対して偏心するが中心軸線32の反対側にある。シャフト12は、このシャフトがバルーン基端部24で中心軸線32の一方の端からバルーン先端部22で中心軸線32のほぼ反対の端を通って延びることができるように、折り曲げた形態を有する。
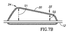
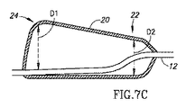
幾つかの実施例では、縦断面図で図7A−7Dに示すように、バルーン基端部24でのバルーン20の直径D1は、バルーン先端部22での直径D2よりも大きい。バルーン基端部24とバルーン先端部22との直径の差D1−D2は、例えば、0.25mm−1.5mmの範囲内であってよいが、これに限定されない。例えば、バルーン基端部24でのバルーン20の直径D1は3.25mm−3.5mmの範囲にある一方、バルーン先端部22でのバルーン20の直径D2は2.75mm−3.0mmの範囲内であってよい。代りとして、バルーン基端部24でのバルーン20の直径D1は3.0mm−3.25mmの範囲にある一方、バルーン先端部22でのバルーン20の直径D2は2.25mm−2.75mmの範囲であってよい。これらの例は、単に説明のためのものであり、バルーン基端部24とバルーン先端部22とのバルーンの直径の差は、本発明の範囲内に含まれる。図7Aでは、バルーン20が従来の形状、すなわち傾斜端部がない形状を有し、D1がD2よりも大きい例が示される。追加の例が、図6A、6B及び6Cにおけるバルーン20の説明に対応する図7B、7C及び7Dに示されるが、バルーン基端部24の直径D1はバルーン先端部22の直径D2よりも大きい。
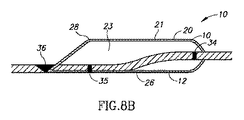
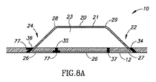
次に、血管内のカテーテル10を視覚化するためにシャフト12又はバルーン20上にマーカーを備えたバルーンカテーテル10を示す断面図である図8A−8Cを参照する。マーカーは、放射線不透過性マーカーであっても、他の撮像様式に使用される他の材料から構成されてもよい。示されているようなマーカーの使用は、カテーテル10の回転位置がX線撮像又は他の撮像手段によって観察されることを可能にする。本明細書に示すマーカーの形態は、カテーテル10の長手方向及び回転方向の両方の位置決めにとって重要である。分岐部へ前進されるとき、バルーンの縁部が処置される血管と整合するように、バルーンをどの方向に向けるかをユーザが知ることは重要である。このように、幾つかの実施例では、図8Aに示すように、カテーテル10は、バルーン20に沿った特定の位置を示す複数のマーカーをシャフト12に沿って含む。図8Aに示す実施例では、第1の先端側マーカー34が、先端側長壁部分27と整合してバルーン先端部22に位置され、第2の先端側マーカー37が先端側短壁部分29と整合され、第1の基端側マーカー36が、長壁部分26と整合してバルーン基端部24に位置され、第2の基端側マーカー35がバルーン20の短壁部分28と整合される。
本発明の実施例では、第1の基端側マーカー36のみがバルーン20の基端部に使用され、この場合、第1の基端側マーカー36はバルーン基端部24の角度に近似する。従って、例えば、第1の基端側マーカー36は、図8Aに示すような傾斜リング形態を有してよい。幾つかの実施例では、第1及び第2の基端側マーカー36及び35は、それぞれ、長壁部分26及び短壁部分28の回転位置決めを示すようにシャフト12の反対側にある偏心要素部分77を含む。同様に、第1の先端側マーカー34は、図8Aに示すような傾斜リング形態を有してよく、幾つかの実施例では、使用される唯一の先端側マーカーであってもよい。第1の先端側マーカー34及び第2の先端側マーカー37は、先端側長壁部分27及び先端側短壁部分29の回転位置決めを示すように偏心要素部分(図示せず)を含んでよい。
代りとして、第1の基端側マーカー36及び/又は第1の先端側マーカー34は、図8Bの断面図に示すような三角形の形態を有してよい。図8Bでは、この形態が第1の基端側マーカー36についてのみ示されているが、同様の設計が第1の先端側マーカー34に対して使用され得ることは容易に明らかである。この三角形の設計は、例えば、幅広部及び狭窄部を有するリングを用いることによって達成され、幅広部と狭窄部とで形成される角度は、例えば図1Aに矢印25で示されるバルーン基端部24の角度に近似する。幾つかの実施例では、バルーン20の先端部が、図8Bに示すように、斜めではなく対称である場合、第1の先端側マーカー34は、リング形態を有してよいし、バルーン先端部22においてシャフト12を完全に又は部分的に取り囲んでもよい。その上、少なくとも2つの基端側マーカーは、マーカーの可視要素が互いに対向するように、シャフト又はバルーン上に偏心し互いに対向して適切に構成及び配置され、それにより、例えば図8Aに示すように、カテーテル/バルーンの回転位置の制御を可能にする。
幾つかの実施例では、図8Cに示すように、マーカーは、シャフト12上のマーカーの代わりに又はこれに加えて、バルーン20上に配置されるか、バルーン20の材料内に組み込まれてよい。例えば、バルーン20が拡張されていない状態にあるとき、傾斜したマーカー39は、バルーン基端部24に位置されてよい。同様に、バルーン先端部22に追加のマーカーを配置してよい。
再び図5を参照すると、傾斜ステントがバルーン20上に配置される実施例では、ステント40は、1つ又は複数の先端側ステントマーカー42、少なくとも第1の基端側ステントマーカー44、及び第2の基端側ステントマーカー45をさらに含んでよい。ステント40は、ステント先端部43及びステント基端部41を有して示される。ステント基端部41において、ステント40は、傾斜ステント40の長壁部分47が基端側方向に傾斜ステント40の短壁部分49を越えて延びるように、拡張時に傾斜形状を有し、ステントの基端部41は、ステント40が拡張状態にあるときに、長手方向軸線30に垂直な平面に対して実質的に傾斜角にある。傾斜角は、図5に矢印25で概略的に示される。
本発明の実施例では、第1の基端側ステントマーカー44は、傾斜ステント40の長壁部分47の基端部に配置され、第2の基端側ステントマーカー45は、傾斜ステント40の短壁部分49の基端部に配置される。この形態は、血管内へのカテーテル10の導入の間、ステント40が非拡張状態にあるときでさえ、視覚化を可能にする。これにより、適切な整合と位置決めが可能になる。
本発明のようにバルーンカテーテルの配送を可能にするために、トルクの力がシャフト基端部16からシャフト先端部14に伝達可能でなければならない。典型的には、図1Aを参照して上述したように、例えば、シャフト12は、シャフト基端部16から、シャフト先端部14に近接する領域又は点である遷移セグメント53までトルクを与え得る剛性セグメント17で構成される。シャフト先端部14は、典型的には、バルーン20が血管のねじれ及び旋回に適合できるように可撓性である。従って、形状を枝の口部と整合させるためにバルーン20を回転しようとする場合、バルーン20はねじれて容易に回転できない。このように、以下でより詳細に説明するように、少なくとも180°且つ少なくとも1つの回転方向に、シャフト12の剛性セグメント17から可撓性のシャフト先端部14にトルクを伝達するためのトルク伝達機構50を含むことが有利である。
次に、一実施例によるトルク伝達機構50、ここではシャフト12の少なくとも一部分とガイドワイヤ18との間のキーロック機構52であるトルク伝達機構50の斜視図及び2つの断面図である図9A−9Cを参照する。キーロック機構52は、シャフト12及びガイドワイヤ18が互いに対して位置決めされ互いにかみ合ったときにシャフト12とガイドワイヤ18との間に摩擦が生じるように、遷移セグメント53又はその先端側でシャフト12の少なくとも一部分を成形し、及び/又はガイドワイヤ18の少なくとも一部分を成形することによって構成される。一実施例では、図9A−図9Cに示すように、シャフト12の内壁部13の少なくとも一部分及びガイドワイヤ18の少なくとも一部分は、例えば実質的に三角形の形状を有する。卵形、菱形、又は任意の他の適切な形状のような他の形状が使用されてよいことは容易に明らかである。シャフト12の外壁部分15は、必ずしも必要はないが、内壁部分13と同じ形状であってもよく、シャフト12が外側から実質的に丸い直径を有するように丸みを帯びていてもよい。ガイドワイヤ18は、その特定の部分又はその長さに沿って成形部分70を有してよい。シャフト12はまた、その特定の部分又はその長さに沿って成形部分72を有してよい。シャフト12は、図9Bに断面で示すように、ガイドワイヤ18の成形部分70がシャフト12の成形部分72内に位置されるまで、最初にガイドワイヤ18上を長手方向に前進できる。これにより、ガイドワイヤ18は、シャフト12とかみ合ってもよく、又は、図9Cに示すように、ガイドワイヤ18及びシャフト12の形状が整合しなくなるまで、矢印60で示すように回転されてもよい。従って、ガイドワイヤ18とシャフト12とのかみ合いが生じ、カテーテル10の基端部すなわち剛性セグメント17及びガイドワイヤ18の基端部に加えられるトルクは、トルク伝達機構なしにバルーンカテーテル10にトルクが加えられる場合よりも、遷移セグメント53を通りバルーンカテーテル10の先端部に伝達される。幾つかの実施例では、内壁部分13の成形部分72は、シャフト12の全長に沿って延びてよい。他の実施例では、内壁部分の成形部分72は、剛性セグメント17と可撓性セグメント19との間の遷移セグメント53、遷移セグメント53の近傍又は先端側などの、シャフト12の一部分にのみ含まれる。さらに別の実施例では、内壁部分の成形部分72は、バルーン20の先端部又はその近傍に含まれる。幾つかの実施例では、ガイドワイヤ18の成形部分70は、ガイドワイヤ18の全長に沿って延びる。他の実施例では、ガイドワイヤ18の成形部分70は、ガイドワイヤ18の先端側セグメントなどのガイドワイヤ18の一部分に含まれる。
次に、別の実施例によるキーロック機構50の図である図10を参照する。この実施例では、シャフト12に外力を加えて、シャフト12を、所定の位置にガイドワイヤ18をロックする形状にすることにより、ロックを行ってよい。例えば、シャフト12は、膨張内腔64によって取り囲まれた局部的に圧縮可能な区域62を含んでよい。膨張流体又は他の媒体は膨張内腔64に導入されて、矢印65で示されるように、圧縮可能な区域62を膨張圧力によって圧縮させる。幾つかの実施例では、膨張内腔64は、バルーン20を膨張させるためのバルーン膨張内腔としても機能する。圧縮可能な区域62は、バルーン20を膨張させるのに必要な圧力よりも低い膨張圧力が圧縮可能な区域62を圧縮させるように、設計されてよい。圧縮可能な区域62が圧縮されると、ガイドワイヤ18は、圧縮のためにシャフト12内で自由に回転しない。幾つかの実施例では、内壁部分13の圧縮可能な区域62は、シャフト12の全長に沿って延びてよい。他の実施例では、内壁部分の圧縮可能な区域62は、剛性セグメント17と可撓性セグメント19との間の遷移セグメント53又はその近傍にのみ含まれる。さらに別の実施例では、内壁部分の圧縮可能な区域62は、可撓性セグメント19、バルーン20の先端又はその近傍に含まれる。別の実施例(図示せず)では、シャフトを取り囲み、少なくとも遷移セグメントからバルーン又はその近傍まで延びる固定又は可動シースが、剛性セグメント17からバルーンへトルクを伝達し補強するために使用される。
次に、さらに別の実施例によるトルク伝達機構50の図である図11を参照する。この実施例では、シャフト12に外力を加えることによって、トルク伝達が改善される。例えば、シャフト12は、螺旋プルワイヤ76によって囲まれたトルク伝達区域63を含んでよい。螺旋プルワイヤ76を基端側方向に引っ張ると、トルク伝達区域63が機械的引っ張り力によって回転される。幾つかの実施例では、螺旋プルワイヤ76は、剛性セグメント17と可撓性セグメント19との間の遷移セグメント53又はその先端側にのみ含まれる。さらに別の実施例では、螺旋プルワイヤ76は、可撓性セグメント19、バルーン20の先端部又はその近傍に含まれる。
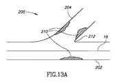
次に、本発明の実施例による、分岐部にバルーンを備える方法の図である図12A−12Eを参照する。最初に、図12Aに示すように、ガイドワイヤ18が血管200内に導入される血管200は分岐した血管であり、例えばY形態を有してよい。血管200は、主血管202、第1の枝血管204及び第2の枝血管206を有する。病変210が、第1の枝血管204と第2の枝血管206との接合点ないし分岐点212に位置する。ガイドワイヤ18は、例えば、主血管202を通って第1の枝血管204に導入されてよい。次に、図12Bに示すように、バルーン20が配置されたカテーテル10は、ガイドワイヤ18上を第1の枝血管204内へ前進される。幾つかの実施例では、カテーテル10は、その先端部に固定ワイヤを有し、別個のガイドワイヤ18なしで前進される。図12Cに示すように、バルーン20は拡張され、傾斜形状をとる。バルーン20を血管200内で正確に位置させるため、バルーン20の長壁部分26が第1の枝血管204の最も基端側の分岐点に留まり実質的に主血管202内に延在しないように、カテーテル10は、回転可能又はトルクを与え得るものでなければならない一方、短壁部分は、接合点ないし分岐点212、すなわちカリナを越えて延びていない。カテーテル10上のマーカーは、血管202,204及び206を含む血管200内のバルーン20の位置を導くのを助けることができる。図12Dに示すように、第2のカテーテル110が、主血管202を通り、第2のガイドワイヤ118上を第2の枝血管206内へ導入されてよい。第2のバルーン120は膨張されて、病変210がプラークのシフトなしで処置され得るように、第1のバルーン20と接触し得る。これは、図12Dに示すように、第2のバルーン120が従来のバルーンである場合に行うことができる。代りとして、第2のバルーン120は、図12Eに示すように、別の傾斜バルーンであってよい。
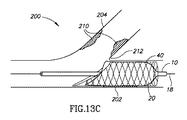
次に、本発明の実施例による、分岐部に傾斜ステントを備える方法の図である図13A−13Eを参照する。図13Aに示すように、ガイドワイヤ18が、主枝202及び側枝204を有する血管200内に導入され、病変210が主枝202及び側枝204の接合点ないし分岐点212にある。図13Bに示すように、バルーン20及び傾斜ステント40が配置されたカテーテル10は、接合点ないし分岐点212すなわちカリナを越えて主枝202内に導入され、バルーン20の基端部の短辺及びステント40の基端側傾斜端部の短辺は接合点ないし分岐点212に位置される。図13Cに示すように、傾斜バルーン20が拡張され、血管200内に傾斜ステント40を実質的に突出させることなく、主枝202内で傾斜ステント40を展開する。図13Dに示すように、バルーン及び第2の傾斜ステント140が配置された第2のカテーテルは、側枝204内に導入される。バルーンを有する第2のカテーテルは、第2のガイドワイヤ118上を前進され得る。第2のバルーンは拡張され、従って、第2の傾斜ステント140を側枝204内で展開する。その後、1つ又は複数のバルーン20が収縮され、1つ又は複数のカテーテル10を血管200,202及び204から取り出し、1つ又は複数のステント40,140を定位置に残す。代りとして、図13Eに示すように、ステント40が主枝202又は側枝204のいずれかに展開された後、従来のカテーテル及び従来のステント150が、分岐部の領域を橋渡しするように他の血管に配置されてよい。
別個の実施例に関連して明瞭のために記載された本発明の特定の特徴は、単一の実施例において組み合わせて提供され得ることが理解される。逆に、単一の実施例に関連して簡略のために記載された本発明の様々な特徴は、別々に又は任意の適切なサブコンビネーションでも提供され得る。
本発明は、その特定の実施例に関連して記載されているが、当業者には様々な代替、変更及び変形が明らかであることは明白である。従って、添付の特許請求の範囲の精神及び範囲内にある代替、変更及び変形の全てを包含することが意図される。例えば、バルーン20は、限定されるものではないが、スコアリングバルーンすなわちケージ内のバルーン、あらゆるタイプの薬剤溶出バルーン、冠状動脈及び末梢動脈バルーン、脳動脈バルーン又は他の体内管腔器官用バルーン、任意のタイプの冠状動脈又は末梢動脈ステントを持つバルーン、あるいは、ベアメタルステント、薬物溶出ステント、生分解性又は生体吸収性足場、ステントグラフト、被覆ステント、任意の他のステント、自己拡張性、バルーン拡張性又は任意の他のタイプなどの管腔足場タイプのインプラントを含む他の管腔器官用ステントを持つバルーンを含む、任意のタイプのバルーン及び適切な材料であり得る。本発明におけるステント及び足場という用語は、上記の全ての変形及び変更、全てのタイプのステント、足場及び足場装置、並びに、これらの装置に単独又は組み合わせて使用される全ての材料を包含するために使用される。
本明細書に記載された全ての刊行物、特許及び特許出願は、個々の刊行物、特許及び特許出願が参照として本明細書に組み込まれ具体的かつ個々に述べると同じ程度に、本明細書中に参考として全体的に組み込まれている。さらに、本出願における任意の参考文献の引用又は同定は、そのような参照文献が本発明の先行技術として利用可能であることを認めるものと解釈されてはならない。

Claims (20)

  1. バルーンカテーテルであって、
    長手方向軸線に沿ってシャフト先端部及びシャフト基端部を有するシャフトと、
    前記シャフト上に配置され、前記長手方向軸線に沿ってバルーン先端部及びバルーン基端部を有するバルーンであって、前記バルーン基端部が長壁部分及び前記長壁部分に対向する短壁部分を有する、バルーンと、
    を備え、前記長壁部分は、前記バルーンが拡張状態にあるときに前記バルーン基端部が前記長手方向軸線に垂直な平面に対して実質的に傾斜角となるように、前記長手方向軸線に沿って基端側方向に前記短壁部分を越えて延びる、バルーンカテーテル。
  2. 前記シャフトが、少なくとも部分的に、ガイドワイヤを内部に保持するように構成されたガイドワイヤシャフトである、請求項1に記載のバルーンカテーテル。
  3. 前記シャフトが、前記バルーンを通り前記バルーン基端部における前記長壁部分に隣接して配置されて、前記バルーン基端部において、前記バルーンが拡張状態にあるとき、前記シャフトが前記バルーンの中心軸線に対して偏心する、請求項1に記載のバルーンカテーテル。
  4. 前記バルーン先端部において、前記シャフトが前記バルーンの前記中心軸線に実質的に配置されて、前記バルーンが拡張状態にあるとき、前記シャフトが前記バルーンの前記中心軸線に対して部分的に偏心するとともに、前記バルーンの前記中心軸線に対して部分的に同心である、請求項3に記載のバルーンカテーテル。
  5. 前記シャフトが、前記バルーンの本体内で傾斜する、請求項4に記載のバルーンカテーテル。
  6. 前記長壁部分の基端部における前記シャフト上の第1の基端側マーカーと、前記短壁部分の基端部における前記シャフト上の第2の基端側マーカーとをさらに備える、請求項1に記載のバルーンカテーテル。
  7. 前記第1の基端側マーカーが、前記傾斜角に近似する角度を有する三角形の形状を有する、請求項6に記載のバルーンカテーテル。
  8. 前記第1の基端側マーカーが、前記傾斜角に近似する傾斜リング形態を有する、請求項6に記載のバルーンカテーテル。
  9. 前記第1の基端側マーカーの少なくとも一部分が、前記第2の基端側マーカーの少なくとも一部分から前記シャフトの反対側に配置される、請求項6に記載のバルーンカテーテル。
  10. 前記バルーン上に配置される傾斜ステント又は足場をさらに備え、前記傾斜ステント又は足場の基端部が、前記長手方向軸線に垂直な前記平面に対して傾斜角で構成される、請求項1に記載のバルーンカテーテル。
  11. 前記バルーンが拡張状態にあるとき、前記バルーン基端部の直径が前記バルーン先端部の直径よりも大きい、請求項1に記載のバルーンカテーテル。
  12. 前記バルーン先端部が、先端側長壁部分及び前記先端側長壁部分に対向する先端側短壁部分を有し、前記先端側長壁部分は、前記バルーンが拡張状態にあるときに前記バルーン先端部が前記長手方向軸線に垂直な平面に対して実質的に傾斜角となるように、前記長手方向軸線に沿って先端側方向に前記先端側短壁部分を越えて延びる、請求項1に記載のバルーンカテーテル。
  13. トルク伝達機構をさらに備える、請求項1に記載のバルーンカテーテル。
  14. 前記トルク伝達機構が、ガイドワイヤと前記シャフトをかみ合わせるためのキーロック機構である、請求項13に記載のバルーンカテーテル。
  15. バルーンカテーテルであって、
    長手方向軸線に沿ってシャフト先端部及びシャフト基端部を有するシャフトと、
    前記シャフト上に配置され、前記長手方向軸線に沿ってバルーン第1端部及びバルーン第2端部を有するバルーンと、
    を備え、前記バルーン第1端部において、前記シャフトが前記バルーンを通り前記バルーンの縁部に隣接して配置され、前記バルーン第2端部において、前記シャフトが前記バルーンの中心軸線に実質的に配置されて、前記バルーンが拡張状態にあるとき、前記バルーン第1端部において前記シャフトが前記バルーンの中心軸線に対して偏心するとともに、前記バルーン第2端部において前記シャフトが前記バルーンの中心軸線に対して実質的に同心である、バルーンカテーテル。
  16. 前記バルーン基端部が、長壁部分及び前記長壁部分に対向する短壁部分を有し、前記長壁部分は、前記バルーンが拡張状態にあるときに前記バルーン基端部が前記長手方向軸線に垂直な平面に対して実質的に傾斜角となるように、前記長手方向軸線に沿って基端側方向に前記短壁部分を越えて延びる、請求項15に記載のバルーンカテーテル。
  17. トルク伝達機構をさらに備える、請求項15に記載のバルーンカテーテル。
  18. 前記トルク伝達機構がキーロック機構である、請求項17に記載のバルーンカテーテル。
  19. 分岐部で枝血管を処置する方法であって、
    第1のバルーンカテーテルを主枝を通して第1の枝血管内に導入するステップであって、前記第1のバルーンカテーテルが、その基端部に第1のバルーン長壁部分及び第1のバルーン短壁部分を有する第1のバルーンを含む、ステップと、
    前記第1のバルーン長壁部分が前記主枝に最も近い分岐点に位置するように、前記第1のバルーンカテーテルを前記第1の枝血管内に配置するステップであって、前記第1のバルーン短壁部分が前記分岐部のカリナに位置する、ステップと、
    前記主枝を通して第2のバルーンカテーテルを導入するステップと、
    前記第1のバルーン及び第2のバルーンを前記血管内で同時に拡張させるステップと、
    を包含する方法。
  20. 前記第2のバルーンが従来型のバルーンであり、前記第2のバルーンカテーテルを導入するステップは、前記従来型のバルーンが前記カリナを横切って前記第1の枝血管を橋渡しするように、前記第2のバルーンカテーテルを前記主枝内に配置するステップを含むか、あるいは、
    前記第2のバルーンが、その基端部に第2のバルーン長壁部分及び第2のバルーン短壁部分を有する傾斜バルーンであり、前記第2のバルーンカテーテルを導入するステップは、前記第2のバルーン長壁部分が前記分岐部の前記主枝に最も近い第2の枝血管の分岐点に位置し且つ前記第2のバルーン短壁部分が前記分岐部の前記カリナに位置するように、前記第2のバルーンカテーテルを前記主枝内に配置するステップを含み、前記第1及び第2のバルーンが拡張したときに、前記第1のバルーン及び前記第2のバルーンが軽く触れる接触位置にある、請求項19に記載の方法。
JP2018509918A 2015-09-01 2016-08-31 分岐部での血管の処置のためのバルーンカテーテル Active JP7086842B2 (ja)

Priority Applications (1)

Application Number Priority Date Filing Date Title
JP2021142637A JP2021192807A (ja) 2015-09-01 2021-09-01 分岐部での血管の処置のためのバルーンカテーテル

Applications Claiming Priority (3)

Application Number Priority Date Filing Date Title
US14/841,835 2015-09-01
US14/841,835 US9937333B2 (en) 2015-09-01 2015-09-01 Balloon catheter for treatment of a vessel at a bifurcation
PCT/IB2016/055202 WO2017037632A2 (en) 2015-09-01 2016-08-31 Balloon catheter for treatment of a vessel at a bifurcation

Related Child Applications (1)

Application Number Title Priority Date Filing Date
JP2021142637A Division JP2021192807A (ja) 2015-09-01 2021-09-01 分岐部での血管の処置のためのバルーンカテーテル

Publications (3)

Publication Number Publication Date
JP2018528811A true JP2018528811A (ja) 2018-10-04
JP2018528811A5 JP2018528811A5 (ja) 2019-09-26
JP7086842B2 JP7086842B2 (ja) 2022-06-20

Family

ID=58098076

Family Applications (2)

Application Number Title Priority Date Filing Date
JP2018509918A Active JP7086842B2 (ja) 2015-09-01 2016-08-31 分岐部での血管の処置のためのバルーンカテーテル
JP2021142637A Pending JP2021192807A (ja) 2015-09-01 2021-09-01 分岐部での血管の処置のためのバルーンカテーテル

Family Applications After (1)

Application Number Title Priority Date Filing Date
JP2021142637A Pending JP2021192807A (ja) 2015-09-01 2021-09-01 分岐部での血管の処置のためのバルーンカテーテル

Country Status (5)

Country Link
US (1) US9937333B2 (ja)
EP (1) EP3344324B1 (ja)
JP (2) JP7086842B2 (ja)
ES (1) ES2900260T3 (ja)
WO (1) WO2017037632A2 (ja)

Families Citing this family (3)

* Cited by examiner, † Cited by third party
Publication number Priority date Publication date Assignee Title
US11077288B2 (en) * 2018-11-15 2021-08-03 Biosense Webster (Israel) Ltd. Flushing balloon catheter for observation and removal of clots under vessel bifurcation conditions
US20240139006A1 (en) * 2021-03-10 2024-05-02 Skw Cardiovascular Technologies, Inc. Systems and methods for deploying stents
BR202022017534U2 (pt) * 2022-08-31 2024-03-12 Luiz Alberto Rolla Maneschy Disposição construtiva aplicada em dispositivo catéter balão e stent dedicado para bifurcação

Citations (6)

* Cited by examiner, † Cited by third party
Publication number Priority date Publication date Assignee Title
US4892519A (en) * 1987-12-03 1990-01-09 Advanced Cardiovascular Systems, Inc. Steerable perfusion dilatation catheter
JPH1157019A (ja) * 1997-08-13 1999-03-02 Advanced Cardeovascular Syst Inc ステント及びステント送出組立体
JP2003522590A (ja) * 2000-02-18 2003-07-29 イー・ブイ・アール・エンドバスキュラー・リサーチイズ・エス・エー 管腔内で膨張可能なプロテーゼを運んで膨張させるための管腔内装置
US20070021685A1 (en) * 2005-05-04 2007-01-25 Abbott Laboratories Abbott Vascular Devices Guidewire apparatus with an expandable portion and methods of use
JP2010502411A (ja) * 2006-09-11 2010-01-28 プルーロームド インコーポレイテッド 非外傷性閉塞バルーン及びスカート並びにその使用方法
JP2015509436A (ja) * 2012-03-09 2015-03-30 クリアストリーム・テクノロジーズ・リミテッド 作用表面を正確に識別するためのx線不透過性の識別子を備える医療用バルーン

Family Cites Families (30)

* Cited by examiner, † Cited by third party
Publication number Priority date Publication date Assignee Title
AR246020A1 (es) * 1990-10-03 1994-03-30 Hector Daniel Barone Juan Carl Un dispositivo de balon para implantar una protesis intraluminal aortica para reparar aneurismas.
US5413557A (en) 1993-08-24 1995-05-09 Pameda N.V. Dilatation catheter with eccentric balloon
US5520647A (en) 1993-07-02 1996-05-28 Pameda N.V. Rapid withdrawal catheter
EP0813397A4 (en) 1995-03-10 1999-10-06 Cardiovascular Concepts Inc TUBULAR ENDOLUMINAR PROSTHESIS WITH BEVELED ENDS
US5662608A (en) * 1995-07-26 1997-09-02 Intelliwire, Inc. Low profile balloon catheter and method
US8211167B2 (en) * 1999-12-06 2012-07-03 Boston Scientific Scimed, Inc. Method of using a catheter with attached flexible side sheath
EP0891751A1 (en) 1997-07-18 1999-01-20 Thomas Prof. Dr. Ischinger Vascular stent for bifurcations, sidebranches and ostial lesions and an application catheter and method for implantation
US5893887A (en) 1997-10-14 1999-04-13 Iowa-India Investments Company Limited Stent for positioning at junction of bifurcated blood vessel and method of making
US6475226B1 (en) * 1999-02-03 2002-11-05 Scimed Life Systems, Inc. Percutaneous bypass apparatus and method
EP1164968A1 (en) 1999-03-30 2002-01-02 Angiolink Corporation Angular vascular stent
US6383213B2 (en) 1999-10-05 2002-05-07 Advanced Cardiovascular Systems, Inc. Stent and catheter assembly and method for treating bifurcations
US7101391B2 (en) * 2000-09-18 2006-09-05 Inflow Dynamics Inc. Primarily niobium stent
US7252679B2 (en) 2001-09-13 2007-08-07 Cordis Corporation Stent with angulated struts
US8014849B2 (en) 2003-11-21 2011-09-06 Stryker Corporation Rotational markers
US20050154447A1 (en) 2004-01-09 2005-07-14 Medtronic Vascular, Inc. Ostium stent system
US20050209673A1 (en) * 2004-03-04 2005-09-22 Y Med Inc. Bifurcation stent delivery devices
US7766951B2 (en) * 2004-03-04 2010-08-03 Y Med, Inc. Vessel treatment devices
US20050222672A1 (en) 2004-04-01 2005-10-06 Cappella, Inc. Ostial stent
US20060064064A1 (en) * 2004-09-17 2006-03-23 Jang G D Two-step/dual-diameter balloon angioplasty catheter for bifurcation and side-branch vascular anatomy
US20070021816A1 (en) 2005-07-21 2007-01-25 The Research Foundation Of State University Of New York Stent vascular intervention device and methods for treating aneurysms
US20070118200A1 (en) * 2005-11-18 2007-05-24 Boston Scientific Scimed, Inc. Bifurcation stent delivery system
US8414611B2 (en) * 2006-11-03 2013-04-09 Boston Scientific Scimed, Inc. Main vessel constraining side-branch access balloon
US8313687B2 (en) 2007-09-20 2012-11-20 Kimberly-Clark Worldwide, Inc. Method of making an improved balloon cuff tracheostomy tube
US8470021B2 (en) 2007-12-28 2013-06-25 Cook Medical Technologies Llc Radially expandable stent
WO2009140719A1 (en) 2008-05-23 2009-11-26 Neustent Pty Ltd Fabricating a stent
US8152840B2 (en) 2008-07-31 2012-04-10 Boston Scientific Scimed, Inc. Bifurcation catheter assembly and methods
RU2491038C2 (ru) 2008-09-12 2013-08-27 Александр Григорьевич ВИЛЛЕР Двухбалонная система доставки усеченного стента
CN102462563B (zh) 2010-11-12 2015-11-11 上海微创医疗器械(集团)有限公司 一种分叉血管支架
US9254208B2 (en) 2013-03-14 2016-02-09 Thomas Ischinger Oblique stent
US20140276585A1 (en) * 2013-03-15 2014-09-18 Abbott Cardiovascular Systems Inc. Length adjustable balloon catheter for multiple indications

Patent Citations (6)

* Cited by examiner, † Cited by third party
Publication number Priority date Publication date Assignee Title
US4892519A (en) * 1987-12-03 1990-01-09 Advanced Cardiovascular Systems, Inc. Steerable perfusion dilatation catheter
JPH1157019A (ja) * 1997-08-13 1999-03-02 Advanced Cardeovascular Syst Inc ステント及びステント送出組立体
JP2003522590A (ja) * 2000-02-18 2003-07-29 イー・ブイ・アール・エンドバスキュラー・リサーチイズ・エス・エー 管腔内で膨張可能なプロテーゼを運んで膨張させるための管腔内装置
US20070021685A1 (en) * 2005-05-04 2007-01-25 Abbott Laboratories Abbott Vascular Devices Guidewire apparatus with an expandable portion and methods of use
JP2010502411A (ja) * 2006-09-11 2010-01-28 プルーロームド インコーポレイテッド 非外傷性閉塞バルーン及びスカート並びにその使用方法
JP2015509436A (ja) * 2012-03-09 2015-03-30 クリアストリーム・テクノロジーズ・リミテッド 作用表面を正確に識別するためのx線不透過性の識別子を備える医療用バルーン

Also Published As

Publication number Publication date
EP3344324A2 (en) 2018-07-11
WO2017037632A2 (en) 2017-03-09
US9937333B2 (en) 2018-04-10
US20170056626A1 (en) 2017-03-02
JP2021192807A (ja) 2021-12-23
EP3344324B1 (en) 2021-10-13
EP3344324A4 (en) 2019-04-24
JP7086842B2 (ja) 2022-06-20
WO2017037632A3 (en) 2017-04-20
ES2900260T3 (es) 2022-03-16

Similar Documents

Publication Publication Date Title
JP3825044B2 (ja) 膨張型分岐ステント
US7963987B2 (en) Sequential implant delivery system
US6258116B1 (en) Bifurcated axially flexible stent
CN102137643B (zh) 定向扩张的腔内设备
US6436104B2 (en) Bifurcated axially flexible stent
US20070270935A1 (en) Dual balloon catheter and deployment of same
CA2934664C (en) Balloon catheters and systems and methods for delivering stents using such catheters
JP6376535B2 (ja) ステントシステム、配置装置及び二股に分かれた病変のための方法
CN115501024B (zh) 用于使支架张开的设备
JP2013017835A (ja) 血管治療装置
US9050437B2 (en) Positioning device for ostial lesions
JP5208757B2 (ja) 捩れ分岐給送システム
EP1267751A2 (en) Guidewire introducer sheath
JP2003525065A (ja) 分岐ステント送達システム
US20070288081A1 (en) Stent delivery system having a stent stopper
JP2021192807A (ja) 分岐部での血管の処置のためのバルーンカテーテル
US8617231B2 (en) Dual guidewire exchange catheter system
JP2009509622A (ja) 血管治療装置
JP2010528802A (ja) 二股バルーン&ステント送達システム
CN110251284B (zh) 扩张支架
US10123893B2 (en) Prewire channel stent
CN118382478A (zh) 分叉式球囊导管和使用方法
EP4351486A1 (en) Ductus arteriosus and septal conduit implants and related delivery systems and methods

Legal Events

Date Code Title Description
A521 Request for written amendment filed

Free format text: JAPANESE INTERMEDIATE CODE: A523

Effective date: 20190808

A621 Written request for application examination

Free format text: JAPANESE INTERMEDIATE CODE: A621

Effective date: 20190808

A711 Notification of change in applicant

Free format text: JAPANESE INTERMEDIATE CODE: A711

Effective date: 20200721

A977 Report on retrieval

Free format text: JAPANESE INTERMEDIATE CODE: A971007

Effective date: 20200731

A521 Request for written amendment filed

Free format text: JAPANESE INTERMEDIATE CODE: A821

Effective date: 20200721

A131 Notification of reasons for refusal

Free format text: JAPANESE INTERMEDIATE CODE: A131

Effective date: 20200825

A521 Request for written amendment filed

Free format text: JAPANESE INTERMEDIATE CODE: A523

Effective date: 20201119

A521 Request for written amendment filed

Free format text: JAPANESE INTERMEDIATE CODE: A821

Effective date: 20201119

A02 Decision of refusal

Free format text: JAPANESE INTERMEDIATE CODE: A02

Effective date: 20210506

RD02 Notification of acceptance of power of attorney

Free format text: JAPANESE INTERMEDIATE CODE: A7422

Effective date: 20210628

RD04 Notification of resignation of power of attorney

Free format text: JAPANESE INTERMEDIATE CODE: A7424

Effective date: 20210628

A521 Request for written amendment filed

Free format text: JAPANESE INTERMEDIATE CODE: A523

Effective date: 20210901

C60 Trial request (containing other claim documents, opposition documents)

Free format text: JAPANESE INTERMEDIATE CODE: C60

Effective date: 20210901

A911 Transfer to examiner for re-examination before appeal (zenchi)

Free format text: JAPANESE INTERMEDIATE CODE: A911

Effective date: 20210907

C21 Notice of transfer of a case for reconsideration by examiners before appeal proceedings

Free format text: JAPANESE INTERMEDIATE CODE: C21

Effective date: 20210914

A912 Re-examination (zenchi) completed and case transferred to appeal board

Free format text: JAPANESE INTERMEDIATE CODE: A912

Effective date: 20211203

C211 Notice of termination of reconsideration by examiners before appeal proceedings

Free format text: JAPANESE INTERMEDIATE CODE: C211

Effective date: 20211207

C22 Notice of designation (change) of administrative judge

Free format text: JAPANESE INTERMEDIATE CODE: C22

Effective date: 20220208

C22 Notice of designation (change) of administrative judge

Free format text: JAPANESE INTERMEDIATE CODE: C22

Effective date: 20220412

C23 Notice of termination of proceedings

Free format text: JAPANESE INTERMEDIATE CODE: C23

Effective date: 20220419

C03 Trial/appeal decision taken

Free format text: JAPANESE INTERMEDIATE CODE: C03

Effective date: 20220531

C30A Notification sent

Free format text: JAPANESE INTERMEDIATE CODE: C3012

Effective date: 20220531

A61 First payment of annual fees (during grant procedure)

Free format text: JAPANESE INTERMEDIATE CODE: A61

Effective date: 20220608

R150 Certificate of patent or registration of utility model

Ref document number: 7086842

Country of ref document: JP

Free format text: JAPANESE INTERMEDIATE CODE: R150

R250 Receipt of annual fees

Free format text: JAPANESE INTERMEDIATE CODE: R250