JP2018190890A - 圧電膜を有する積層基板、圧電膜を有する素子および圧電膜を有する積層基板の製造方法 - Google Patents

圧電膜を有する積層基板、圧電膜を有する素子および圧電膜を有する積層基板の製造方法 Download PDF

Info

Publication number
JP2018190890A
JP2018190890A JP2017093959A JP2017093959A JP2018190890A JP 2018190890 A JP2018190890 A JP 2018190890A JP 2017093959 A JP2017093959 A JP 2017093959A JP 2017093959 A JP2017093959 A JP 2017093959A JP 2018190890 A JP2018190890 A JP 2018190890A
Authority
JP
Japan
Prior art keywords
film
piezoelectric
thin film
piezoelectric thin
substrate
Prior art date
Legal status (The legal status is an assumption and is not a legal conclusion. Google has not performed a legal analysis and makes no representation as to the accuracy of the status listed.)
Granted
Application number
JP2017093959A
Other languages
English (en)
Other versions
JP6934746B2 (ja
Inventor
柴田 憲治
Kenji Shibata
憲治 柴田
渡辺 和俊
Kazutoshi Watanabe
和俊 渡辺
文正 堀切
Fumimasa Horikiri
文正 堀切
Current Assignee (The listed assignees may be inaccurate. Google has not performed a legal analysis and makes no representation or warranty as to the accuracy of the list.)
Sumitomo Chemical Co Ltd
Sciocs Co Ltd
Original Assignee
Sumitomo Chemical Co Ltd
Sciocs Co Ltd
Priority date (The priority date is an assumption and is not a legal conclusion. Google has not performed a legal analysis and makes no representation as to the accuracy of the date listed.)
Filing date
Publication date
Application filed by Sumitomo Chemical Co Ltd, Sciocs Co Ltd filed Critical Sumitomo Chemical Co Ltd
Priority to JP2017093959A priority Critical patent/JP6934746B2/ja
Publication of JP2018190890A publication Critical patent/JP2018190890A/ja
Application granted granted Critical
Publication of JP6934746B2 publication Critical patent/JP6934746B2/ja
Active legal-status Critical Current
Anticipated expiration legal-status Critical

Links

Images

Landscapes

  • Physical Vapour Deposition (AREA)

Abstract

【課題】汎用性を高めた圧電膜およびその関連技術を提供する。【解決手段】基板と、基板上に製膜された電極膜と、電極膜上に製膜された圧電膜と、を備え、圧電膜は、第1圧電薄膜と、第1圧電薄膜とは異なる材料で形成される第2圧電薄膜と、が積層されてなり、第1圧電薄膜の比誘電率と第2圧電薄膜の比誘電率との間の比誘電率を有する。【選択図】図1

Description

本発明は、圧電膜を有する積層基板、圧電膜を有する素子および圧電膜を有する積層基板の製造方法に関する。
圧電体は、センサやアクチュエータ等の機能性電子部品に広く利用されている。圧電体の材料としては、例えばニオブ酸カリウムナトリウム(KNN)が用いられている(例えば特許文献1,2参照)。近年、より汎用性が高い圧電体が強く求められるようになっている。
特開2007−184513号公報 特開2008−159807号公報
本発明の目的は、汎用性を高めた圧電膜およびその関連技術を提供することにある。
本発明の一態様によれば、
基板と、前記基板上に製膜された電極膜と、前記電極膜上に製膜された圧電膜と、を備え、
前記圧電膜は、
第1圧電薄膜と、前記第1圧電薄膜とは異なる材料で形成される第2圧電薄膜と、が積層されてなり、
前記第1圧電薄膜の比誘電率と前記第2圧電薄膜の比誘電率との間の比誘電率を有する、圧電膜を有する積層基板およびその関連技術が提供される。
本発明によれば、汎用性を高めた圧電膜およびその関連技術を提供することが可能となる。
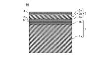
本発明の一実施形態にかかる積層基板10の断面構造の一例を示す図である。 本発明の一実施形態にかかる積層基板10の断面構造の変形例を示す図である。 本発明の一実施形態にかかる圧電膜デバイス30の概略構成図である。
<本発明の一実施形態>
以下、本発明の一実施形態について図面を参照しながら説明する。
(1)積層基板の構成
図1に示すように、本実施形態にかかる積層基板10は、基板1と、基板1上に製膜さ
れた下部電極膜2と、下部電極膜2上に製膜された圧電膜(圧電薄膜)3と、圧電膜3上に製膜された上部電極膜4と、を備えた積層体として構成されている。
基板1としては、熱酸化膜やCVD(Chemical Vapor Deposition)酸化膜等の表面酸
化膜(SiO膜)1bが形成された単結晶シリコン(Si)基板1a、すなわち、表面酸化膜を有するSi基板を好適に用いることができる。また、基板1としては、図2に示すように、その表面にSiO以外の絶縁性材料により形成された絶縁膜1dを有するSi基板1aを用いることもできる。また、基板1としては、表面にSi(100)面やSi(111)面等が露出したSi基板1a、すなわち、表面酸化膜1bや絶縁膜1dを有さないSi基板を用いることもできる。また、基板1としては、SOI(Silicon On Insulator)基板、石英ガラス(SiO)基板、ガリウム砒素(GaAs)基板、サファイア(Al)基板、ステンレス(SUS)等の金属材料により形成された金属基板を用いることもできる。単結晶Si基板1aの厚さは例えば300〜1000μm、表面酸化膜1bの厚さは例えば5〜3000nmとすることができる。
下部電極膜2は、例えば、白金(Pt)を用いて製膜することができる。下部電極膜2は、単結晶膜や多結晶膜(以下、これらをPt膜とも称する)となる。Pt膜を構成する結晶は、基板1の表面に対して(111)面方位に優先配向していることが好ましい。すなわち、Pt膜の表面(圧電膜3の下地となる面)は、主にPt(111)面により構成されていることが好ましい。Pt膜は、スパッタリング法、蒸着法等の手法を用いて製膜することができる。下部電極膜2は、Pt以外に、金(Au)やルテニウム(Ru)やイリジウム(Ir)等の各種金属、これらを主成分とする合金、ルテニウム酸ストロンチウム(SrRuO)やニッケル酸ランタン(LaNiO)等の金属酸化物等を用いて製膜することもできる。なお、基板1と下部電極膜2との間には、これらの密着性を高めるため、例えば、チタン(Ti)、タンタル(Ta)、酸化チタン(TiO)、ニッケル(Ni)等を主成分とする密着層6が設けられている。密着層6は、スパッタリング法、蒸着法等の手法を用いて製膜することができる。下部電極膜2の厚さは例えば100〜400nm、密着層6の厚さは例えば1〜200nmとすることができる。
圧電膜3は、圧電材料で形成される第1圧電薄膜3aと、第1圧電薄膜3aとは異なる圧電材料で形成される第2圧電薄膜3bと、が積層されてなる積層体(複合膜)である。本実施形態では、圧電膜3は、最下層が第1圧電薄膜3aとなるように形成されている。すなわち、下部電極膜2上には、第1圧電薄膜3aが配されている。また、本実施形態では、下部電極膜2(基板1)の側から、第1圧電薄膜3a、第2圧電薄膜3b、第1圧電薄膜3aがこの順に積層されている。すなわち、圧電膜3は、第2圧電薄膜3b(の上下)が第1圧電薄膜3aによって挟まれている。圧電膜3の厚さ(第1圧電薄膜3aと第2圧電薄膜3bとの合計厚さ)は例えば0.5〜5μmとすることができる。
第1圧電薄膜3aは、例えば窒化アルミニウム(AlN)を用いて製膜することができる。第1圧電薄膜3aは、AlNの単結晶膜や多結晶膜(以下、これらをAlN膜3aとも称する)となる。AlN膜3aは、周波数1kHzの条件下で±1Vの電圧を印加して測定した際の比誘電率が例えば10程度であり、圧電定数の絶対値|d31|が例えば5pm/V程度である。以下、本明細書では、「周波数1kHzの条件下で±1Vの電圧を印加して測定した際の比誘電率」を、単に「比誘電率」ともいう。
AlN膜3aを構成する結晶は、基板1の表面に対して(001)面方位に優先配向していることが好ましい。すなわち、AlN膜3aの表面(第2圧電薄膜3b、上部電極膜4の下地となる面)は、主にAlN(001)面により構成されていることが好ましい。基板1の表面に対して(111)面方位に優先配向させたPt膜(下部電極膜2)上や、後述のように基板1の表面に対して(001)面方位に優先配向させたKNN膜3b上に
AlN膜3aを直接製膜することで、AlN膜3aを構成する結晶を、基板1の表面に対して(001)面方位に優先配向させることが容易となる。AlN膜3aは、スパッタリング法等の手法を用いて製膜することができる。
AlN膜3aの厚さは例えば5〜500nmとすることができる。なお、圧電膜3が複数のAlN膜3aを有する場合、各AlN膜3aの厚さは、同一の厚さであってもよいし、異なる厚さであってもよい。以下では、圧電膜3において、KNN膜3bの下面(下部電極膜2側)に配されるAlN膜3aを下部AlN膜とも称し、KNN膜3bの上面(上部電極膜4側)に配されるAlN膜3aを上部AlN膜とも称する。
第2圧電薄膜3bは、例えば、カリウム(K)、ナトリウム(Na)、ニオブ(Nb)を含み、組成式(K1−xNa)NbOで表されるアルカリニオブ酸化物、すなわち、ニオブ酸カリウムナトリウム(KNN)を用いて製膜することができる。上述の組成式中の係数x[=Na/(K+Na)]は、0<x<1、好ましくは0.4≦x≦0.7の範囲内の大きさとする。第2圧電薄膜3bは、KNNの多結晶膜(以下、KNN膜3bとも称する)となる。KNNの結晶構造は、ペロブスカイト構造となる。KNN膜3bは、周波数1kHzの条件下で±1Vの電圧を印加して測定した際の比誘電率が例えば350〜2000程度であり、圧電定数の絶対値|d31|が例えば100〜200pm/V程度である。
KNN膜3bは、銅(Cu)、マンガン(Mn)、リチウム(Li)、Ta、アンチモン(Sb)等のK、Na、Nb以外の元素を、5at%以下の範囲内で含んでいてもよい。
KNN膜3bを構成する結晶は、基板1の表面に対して(001)面方位に優先配向していることが好ましい。すなわち、KNN膜3bの表面(AlN膜3a(上部AlN膜)の下地となる面)は、主にKNN(001)面により構成されていることが好ましい。基板1の表面に対して(001)面方位に優先配向させたAlN膜3a(下部AlN膜)上にKNN膜3bを直接製膜することで、KNN膜3bを構成する結晶を、基板1の表面に対して(001)面方位に優先配向させることが容易となる。例えば、KNN膜3bを構成する結晶群のうち80%以上の結晶を基板1の表面に対して(001)面方位に配向させ、KNN膜3bの表面のうち80%以上の領域をKNN(001)面とすることが可能となる。KNN膜3bは、スパッタリング法、PLD(Pulsed Laser Deposition)法、
ゾルゲル法等の手法を用いて製膜することができる。
上述のように、圧電膜3は、AlN膜3aとKNN膜3bとの積層体である。このため、圧電膜3全体では、AlN膜3aの特性とKNN膜3bの特性との間(中間帯)の特性を有することとなる。
具体的には、圧電膜3は、AlN膜3aとKNN膜3bとのそれぞれの膜厚比に応じて、AlN膜3aの比誘電率とKNN膜3bの比誘電率との間の範囲内(中間帯)の所定の比誘電率を有している。すなわち、圧電膜3は、例えば10以上2000以下の範囲内の所定の比誘電率を有している。
また、圧電膜3は、AlN膜3aとKNN膜3bとのそれぞれの膜厚比に応じて、AlN膜3aの圧電定数の絶対値|d31|とKNN膜3bの圧電定数の絶対値|d31|との間の範囲内(中間帯)の所定の圧電定数の絶対値|d31|を有している。すなわち、圧電膜3の圧電定数の絶対値|d31|は、例えば5pm/V以上200pm/V以下の範囲内の所定の値である。
なお、圧電膜3の圧電定数は、圧電膜3の比誘電率を用いて導き出されることから、圧電定数と比誘電率とは一定の相関がある。例えば、圧電膜3の比誘電率が高くなると、圧電膜3の圧電定数の絶対値|d31|も高くなり、圧電膜3の比誘電率が低くなると、圧電膜3の圧電定数の絶対値|d31|も低くなるという相関がある。
上部電極膜4は、例えば、Pt、Au、アルミニウム(Al)、Cu等の各種金属やこれらの合金を用いて製膜することができる。上部電極膜4は、スパッタリング法、蒸着法、メッキ法、金属ペースト法等の手法を用いて製膜することができる。上部電極膜4は、下部電極膜2のように圧電膜3の結晶構造に大きな影響を与えるものではない。そのため、上部電極膜4の材料、結晶構造、製膜手法は特に限定されない。なお、圧電膜3と上部電極膜4との間には、これらの密着性を高めるため、例えば、Ti、Ta、TiO、Ni等を主成分とする密着層が設けられていてもよい。上部電極膜4の厚さは例えば100〜5000nm、密着層を設ける場合にはその厚さは例えば1〜200nmとすることができる。
(2)圧電膜デバイスの構成
図3に、本実施形態における圧電膜を有するデバイス30(以下、圧電膜デバイス30とも称する)の概略構成図を示す。圧電膜デバイス30は、上述の積層基板10を所定の形状に成形して得られる圧電膜を有する素子20(以下、圧電膜素子20とも称する)と、圧電膜素子20に接続される電圧検出手段11aまたは電圧印加手段11bと、を少なくとも備えて構成される。
電圧検出手段11aを、圧電膜素子20の下部電極膜2と上部電極膜4との間に接続することで、圧電膜デバイス30をセンサとして機能させることができる。圧電膜3が何らかの物理量の変化に伴って変形すると、その変形によって下部電極膜2と上部電極膜4との間に電圧が発生する。この電圧を電圧検出手段11aによって検出することで、圧電膜3に印加された物理量の大きさを測定することができる。この場合、圧電膜デバイス30の用途としては、例えば、角速度センサ、超音波センサ、圧カセンサ、加速度センサ等が挙げられる。
電圧印加手段11bを、圧電膜素子20の下部電極膜2と上部電極膜4との間に接続することで、圧電膜デバイス30をアクチュエータとして機能させることができる。電圧印加手段11bにより下部電極膜2と上部電極膜4との間に電圧を印加することで、圧電膜3を変形させることができる。この変形動作により、圧電膜デバイス30に接続された各種部材を作動させることができる。この場合、圧電膜デバイス30の用途としては、例えば、インクジェットプリンタ用のヘッド、スキャナー用のMEMSミラー、超音波発生装置用の振動子等が挙げられる。
(3)積層基板、圧電膜素子、圧電膜デバイスの製造方法
続いて、上述の積層基板10の製造方法について説明する。まず、基板1のいずれかの主面上に下部電極膜2を製膜する。なお、いずれかの主面上に下部電極膜2が予め製膜された基板1を用意してもよい。続いて、下部電極膜2上に、AlN膜3a(下部AlN膜)と、KNN膜3bと、AlN膜3a(上部AlN膜)と、をこの順に例えばスパッタリング法を用いて製膜し、AlN膜3aとKNN膜3bとが積層されてなる圧電膜3を形成する。KNN膜3bの厚さT2に対するAlN膜3aの厚さT1の比率(T1/T2)を調整することで、圧電膜3の比誘電率、さらには圧電膜3の圧電定数の絶対値|d31|を所定の値に設定することができる。なお、本実施形態のように圧電膜3が複数のAlN膜3aを有する場合、AlN膜3aの厚さT1とは、圧電膜3が有する全てのAlN膜3aの合計厚さを意味する。その後、圧電膜3(上部AlN膜)上に上部電極膜4を製膜することで、積層基板10が得られる。そして、この積層基板10を所定の形状に成形する
ことで、圧電膜素子20が得られ、圧電膜素子20に電圧検出手段11aまたは電圧印加手段11bを接続することで、圧電膜デバイス30が得られる。
(4)本実施形態により得られる効果
本実施形態によれば、以下に示す1つまたは複数の効果が得られる。
(a)本実施形態では、AlN膜3aとKNN膜3bとを積層して圧電膜3を形成し、圧電膜3を、AlN膜3aの特性とKNN膜3bの特性との間の特性を有する膜としている。具体的には、圧電膜3を、AlN膜3aの比誘電率とKNN膜3bの比誘電率との間の比誘電率を有する膜、例えば、周波数1kHzの条件下で±1Vの電圧を印加して測定した際の比誘電率が例えば10以上2000以下の範囲内の所定の値である膜としている。また、圧電膜3を、AlN膜3aの圧電定数とKNN膜3bの圧電定数との間の圧電定数を有する膜、例えば、圧電膜3を、圧電定数の絶対値|d31|が5pm/V以上200pm/Vの範囲内の所定の値である膜としている。このため、上述の積層基板10を加工することで作製される圧電膜デバイス30の汎用性を高めることができる。例えば、上述の積層基板10を用いて作製した圧電膜デバイス30を、センサやフィルタ、アクチュエータ等、広範囲な用途に適用することができる。
(b)圧電膜3をAlN膜3aとKNN膜3bとの複合膜で構成することで、すなわち、圧電膜3が鉛(Pb)を含む膜を有さないことで、公害防止の点からも有利である。本実施形態では、このようにPbを含まない圧電膜(鉛フリーな圧電膜)を達成しつつ、圧電膜デバイス30の汎用性を高めることができる。
(c)下部電極膜2上にAlN膜3aを設けることで、KNN膜3bを(001)面方位に優先配向させることが容易となる。というのも、AlN膜3aは、その下地となる面や製膜温度等の製膜条件を、KNN膜3bの製膜条件よりも緩い条件とした場合であっても、(001)面方位に優先配向させることができる。例えば、AlN膜3aは、SUS等の表面上に製膜したり、室温条件下で製膜したりする場合であっても、(001)面方位に優先配向させることができる。このため、本実施形態のように、下部電極膜2上にAlN膜3a(下部AlN膜)を設け、このAlN膜3aをKNN膜3bの下地(シード層)としても機能させることで、下部電極膜2上にKNN膜3bを直接製膜する場合よりも、KNN膜3bを(001)面方位に優先配向させることが容易となる。
(d)KNN膜3bの上下をAlN膜3aで挟むことで、KNN膜3bを含む圧電膜3の耐圧を高めることができ、圧電膜3の絶縁性(リーク耐性)を高めることができる。圧電膜3の絶縁性を向上させることで、圧電膜デバイス30の性能を高め、汎用性をさらに高めることができる。
本実施形態では、例えば、圧電膜に対してその厚さ方向に300kV/cmの電界を印加した際におけるリーク電流密度を、例えば1μA/cm以下とすることが可能となる。このため、本実施形態にかかる積層基板10は、高耐圧が要求されるアクチュエータ等の用途に特に好適に用いることができる。
(e)KNN膜3bの厚さT2に対するAlN膜3aの厚さT1の比率(T1/T2)を調整することで、上述の効果を得ながら、圧電膜3の比誘電率、圧電定数を所定の値に設定することが可能となる。例えば、上述の比率(T1/T2)を小さくすることで、すなわちKNN膜3bの厚さを厚くすることで、圧電膜3の圧電定数を高くすることができる。また、上述の比率を大きくすることで、すなわちAlN膜3aの厚さを厚くすることで、圧電膜3の比誘電率を低くすることができる。
なお、圧電膜デバイス30をアクチュエータとして作用させる場合、上述の比率が0.2以下となるように、AlN膜3aの厚さT1、KNN膜3bの厚さT2をそれぞれ調整することが好ましい。というのも、上述の比率が0.2を超える、すなわちAlN膜3aの厚さT1が厚くなると、圧電膜3の圧電定数の絶対値|d31|が低くなるため、アクチュエータの高速駆動が困難となることがあるからである。
(f)AlN膜3a、KNN膜3bはともに、一般的なスパッタ装置を用い、スパッタリング法により製膜することができる膜である。このため、本実施形態にかかる圧電膜3を製膜する際、一つのスパッタ装置の製膜室内にAlNターゲットとKNNターゲットとをセット(設置)することにより、AlN膜3a、KNN膜3bを一つの装置内で連続して製膜することができる。その結果、圧電膜3の生産性を向上させることができる。
(g)上述のように、本実施形態にかかる積層基板10を用いて作製した圧電膜デバイス30は、高い圧電定数、高耐圧が要求されるアクチュエータ等の幅広い用途に好適に用いることができる。
ここで、上述の本実施形態の手法に対し、第2圧電薄膜を、組成式Pb(ZrTi1−x)O(0<x<1)で表されるチタン酸ジルコン酸鉛(PZT)を用いて製膜する手法も考えられる。しかしながら、この手法により製膜した圧電膜(PZT膜)は、鉛を60〜70wt%程度含有しているため、公害防止の面等から好ましくないという課題がある。
また、第2圧電薄膜を、酸化亜鉛(ZnO)を用いて製膜する手法も考えられる。しかしながらこの手法により製膜した圧電膜(ZnO膜)は、圧電定数の絶対値|d31|が低く、例えば10pm/V程度である。このように、ZnO膜の圧電定数の絶対値|d31|は、第1圧電薄膜としてのAlN膜の絶対値|d31|とほぼ同程度であることから、圧電膜を、AlN膜とZnO膜との積層体で構成するメリットが殆どない。
(5)変形例
本実施形態は上述の態様に限定されず、例えば以下のように変形することもできる。
(変形例1)
第1圧電薄膜としてのAlN膜3aは、KNN膜3bの下面または上面の少なくともいずれかに設けられていればよい。すなわち、圧電膜3は、上部AlN膜および下部AlN膜のうち少なくともいずれかを有していればよい。これによっても、上述の少なくとも(a)(b)等の効果を得ることができる。但し、少なくともKNN膜3bの下面にAlN膜3aを設ける方が上述の(c)の効果を得ることができる点で、好ましい。また、KNN膜3bの上下にそれぞれAlN膜3aを設ける方が、上述の(d)の効果を得ることができる点で、好ましい。
(変形例2)
圧電膜3の最下層を第2圧電薄膜(すなわちKNN膜3b)としてもよい。すなわち、下部電極膜2上にKNN膜3bを製膜し、このKNN膜3b上に第1圧電薄膜としてのAlN膜3aを製膜してもよい。KNN膜3bを製膜する際の条件を厳しくすることで、下部電極膜2上に(001)面方位に優先配向させたKNN膜3bを製膜することができ、これによっても、上述の少なくとも(a)(b)等の効果を得ることができる。但し、上述の実施形態のように圧電膜3の最下層をAlN膜3aとし、このAlN膜3a上にKNN膜を製膜した方が、上述の(c)の効果を得ることができる点で、好ましい。
(変形例3)
第1圧電薄膜を、水晶、ニオブ酸リチウム(LiNbO)、タンタル酸リチウム(LiTaO)を用いて形成してもよい。これによっても、上述の実施形態とほぼ同様の効果が得られる。但し、水晶、LiNbOおよびLiTaOからなる膜は、AlN膜3aのようにスパッタリング法による製膜が難しく、貼り合わせ等の方法により製膜が行われることが多い。このため、第1圧電薄膜の厚さが厚くなることで圧電膜の厚さが厚くなる等の課題が生じることがある。また、第1圧電薄膜の製膜と第2圧電薄膜の製膜とを同一の装置内で連続して行うことができず、圧電膜の生産性が低下することもある。したがって、第1圧電薄膜としてAlN膜を製膜する方が、製膜処理の簡便化、圧電膜の薄膜化(圧電膜素子20の小型化)等の点から、好ましい。
(変形例4)
第2圧電薄膜を、PZTを用いて製膜してもよい。これによっても、少なくとも上述の(b)以外の効果が得られる。但し、上述のように第2圧電薄膜としてKNN膜を製膜する方が、公害防止の点、製膜処理の簡便化を図る点、圧電膜の生産性を向上させる点等から、好ましい。
(変形例5)
上述の積層基板10を圧電膜素子20に成形する際、積層基板10(圧電膜素子20)を用いて作製した圧電膜デバイス30をセンサやアクチュエータ等の所望の用途に適用することができる限り、積層基板10から基板1を除去してもよい。
<他の実施形態>
以上、本発明の実施形態を具体的に説明した。但し、本発明は上述の実施形態に限定されるものではなく、その要旨を逸脱しない範囲で種々変更可能である。
<本発明の好ましい態様>
以下、本発明の好ましい態様について付記する。
(付記1)
本発明の一態様によれば、
基板と、前記基板上に製膜された電極膜と、前記電極膜上に製膜された圧電膜と、を備え、
前記圧電膜は、
第1圧電薄膜と、前記第1圧電薄膜とは異なる材料で形成される第2圧電薄膜と、が積層されてなり、
前記第1圧電薄膜の比誘電率と前記第2圧電薄膜の比誘電率との間の比誘電率を有する、圧電膜を有する積層基板が提供される。
(付記2)
本発明の他の態様によれば、
基板と、前記基板上に製膜された電極膜と、前記電極膜上に製膜された圧電膜と、を備え、
前記圧電膜は、
第1圧電薄膜と、前記第1圧電薄膜とは異なる材料で形成される第2圧電薄膜と、が積層されてなり、
前記第1圧電薄膜の圧電定数の絶対値|d31|と前記第2圧電薄膜の圧電定数の絶対値|d31|との間の圧電定数の絶対値|d31|を有する、圧電膜を有する積層基板が提供される。
(付記3)
付記1または2の基板であって、好ましくは、
前記第1圧電薄膜は、前記第2圧電薄膜よりも耐電圧が高い膜である。
(付記4)
付記1〜3のいずれかの基板であって、好ましくは、
前記第1圧電薄膜は、AlNからなる膜であり、
前記第2圧電薄膜は、組成式(K1−xNa)NbO(0<x<1)で表されるペロブスカイト構造のアルカリニオブ酸化物からなる膜である。
(付記5)
付記1〜4のいずれかの基板であって、好ましくは、
前記圧電膜は、前記電極膜上に前記第1圧電薄膜が配されてなる。
(付記6)
付記1〜5のいずれかの基板であって、好ましくは、
前記圧電膜は、
前記電極膜(基板)の側から、前記第1圧電薄膜と、前記第2圧電薄膜と、前記第1圧電薄膜と、がこの順に積層されてなる。
(付記7)
付記1〜6のいずれかの基板であって、好ましくは、
前記圧電膜は、周波数1kHzの条件下で±1Vの電圧を印加して測定した際の比誘電率が10以上2000以下の範囲内の所定の値であり、
前記圧電膜の圧電定数の絶対値|d31|が5pm/V以上200pm/V以下の範囲内の所定の値である。
(付記8)
本発明の他の態様によれば、
下部電極膜と、前記下部電極膜上に製膜された圧電膜と、前記圧電膜上に製膜された上部電極膜と、を備え、
前記圧電膜は、
第1圧電薄膜と、前記第1圧電薄膜とは異なる材料で形成される第2圧電薄膜と、が積層されてなり、
前記第1圧電薄膜の比誘電率(または圧電定数の絶対値|d31|)と前記第2圧電薄膜の比誘電率(または圧電定数の絶対値|d31|)との間の比誘電率(または圧電定数の絶対値|d31|)を有する、圧電膜を有する素子が提供される。
(付記9)
本発明の他の態様によれば、
基板と、前記基板上に製膜された下部電極膜と、前記下部電極膜上に製膜された圧電膜と、前記圧電膜上に製膜された上部電極膜と、を備え、
前記圧電膜は、
第1圧電薄膜と、前記第1圧電薄膜とは異なる材料で形成される第2圧電薄膜と、が積層されてなり、
前記第1圧電薄膜の比誘電率(または圧電定数の絶対値|d31|)と前記第2圧電薄膜の比誘電率(または圧電定数の絶対値|d31|)との間の比誘電率(または圧電定数の絶対値|d31|)を有する、圧電膜を有する素子が提供される。
(付記10)
本発明のさらに他の態様によれば、
いずれかの主面上に電極膜が製膜された基板を用意し、前記電極膜上に、第1圧電薄膜と、前記第1圧電薄膜とは異なる材料で形成される第2圧電薄膜と、を積層し、前記第1圧電薄膜の比誘電率(または圧電定数の絶対値|d31|)と前記第2圧電薄膜の比誘電率(または圧電定数の絶対値|d31|)との間の比誘電率(または圧電定数の絶対値|d31|)を備える圧電膜を製膜する工程を有する、圧電膜を有する積層基板の製造方法が提供される。
(付記11)
付記10の方法であって、好ましくは、
前記圧電膜を製膜する工程では、
前記第2圧電薄膜の厚さ(T2)に対する前記第1圧電薄膜の厚さ(T1)の比率(T1/T2)を調整することで、前記圧電膜の比誘電率(または圧電定数の絶対値|d31|)を調整する。
(付記12)
本発明のさらに他の態様によれば、
第1圧電薄膜と、前記第1圧電薄膜とは異なる材料で形成される第2圧電薄膜と、を積層し、前記第1圧電薄膜の比誘電率(または圧電定数の絶対値|d31|)と前記第2圧電薄膜の比誘電率(または圧電定数の絶対値|d31|)との間の比誘電率(または圧電定数の絶対値|d31|)を有する圧電膜を備える積層基板を用意する工程を有する、圧電膜を有する素子の製造方法が提供される。
1 基板
2 下部電極膜
3 圧電膜
10 積層基板

Claims (7)

  1. 基板と、前記基板上に製膜された電極膜と、前記電極膜上に製膜された圧電膜と、を備え、
    前記圧電膜は、
    第1圧電薄膜と、前記第1圧電薄膜とは異なる材料で形成される第2圧電薄膜と、が積層されてなり、
    前記第1圧電薄膜の比誘電率と前記第2圧電薄膜の比誘電率との間の比誘電率を有する、圧電膜を有する積層基板。
  2. 前記第1圧電薄膜は、AlNからなる膜であり、
    前記第2圧電薄膜は、組成式(K1−xNa)NbO(0<x<1)で表されるペロブスカイト構造のアルカリニオブ酸化物からなる膜である請求項1に記載の圧電膜を有する積層基板。
  3. 前記圧電膜は、前記電極膜上に前記第1圧電薄膜が配されてなる請求項1または2に記載の圧電膜を有する積層基板。
  4. 前記圧電膜は、前記電極膜の側から、前記第1圧電薄膜と、前記第2圧電薄膜と、前記第1圧電薄膜と、がこの順に積層されてなる請求項1〜3のいずれかに記載の圧電膜を有する積層基板。
  5. 下部電極膜と、前記下部電極膜上に製膜された圧電膜と、前記圧電膜上に製膜された上部電極膜と、を備え、
    前記圧電膜は、
    第1圧電薄膜と、前記第1圧電薄膜とは異なる材料で形成される第2圧電薄膜と、が積層されてなり、
    前記第1圧電薄膜の比誘電率と前記第2圧電薄膜の比誘電率との間の比誘電率を有する、圧電膜を有する素子。
  6. いずれかの主面上に電極膜が製膜された基板を用意し、前記電極膜上に、第1圧電薄膜と、前記第1圧電薄膜とは異なる材料で形成される第2圧電薄膜と、を積層し、前記第1圧電薄膜の比誘電率と前記第2圧電薄膜の比誘電率との間の比誘電率を備える圧電膜を製膜する工程を有する、圧電膜を有する積層基板の製造方法。
  7. 前記圧電膜を製膜する工程では、
    前記第2圧電薄膜の厚さに対する前記第1圧電薄膜の厚さの比率を調整することで、前記圧電膜の比誘電率を調整する請求項6に記載の圧電膜を有する積層基板の製造方法。
JP2017093959A 2017-05-10 2017-05-10 圧電膜を有する積層基板、圧電膜を有する素子および圧電膜を有する積層基板の製造方法 Active JP6934746B2 (ja)

Priority Applications (1)

Application Number Priority Date Filing Date Title
JP2017093959A JP6934746B2 (ja) 2017-05-10 2017-05-10 圧電膜を有する積層基板、圧電膜を有する素子および圧電膜を有する積層基板の製造方法

Applications Claiming Priority (1)

Application Number Priority Date Filing Date Title
JP2017093959A JP6934746B2 (ja) 2017-05-10 2017-05-10 圧電膜を有する積層基板、圧電膜を有する素子および圧電膜を有する積層基板の製造方法

Publications (2)

Publication Number Publication Date
JP2018190890A true JP2018190890A (ja) 2018-11-29
JP6934746B2 JP6934746B2 (ja) 2021-09-15

Family

ID=64480404

Family Applications (1)

Application Number Title Priority Date Filing Date
JP2017093959A Active JP6934746B2 (ja) 2017-05-10 2017-05-10 圧電膜を有する積層基板、圧電膜を有する素子および圧電膜を有する積層基板の製造方法

Country Status (1)

Country Link
JP (1) JP6934746B2 (ja)

Cited By (2)

* Cited by examiner, † Cited by third party
Publication number Priority date Publication date Assignee Title
JP7338082B1 (ja) 2023-01-10 2023-09-04 住友精密工業株式会社 圧電体膜基板の製造方法および圧電体膜基板
EP4255160A1 (en) 2022-03-30 2023-10-04 Oki Electric Industry Co., Ltd. Piezoelectric-body film joint substrate and manufacturing method thereof

Citations (3)

* Cited by examiner, † Cited by third party
Publication number Priority date Publication date Assignee Title
JP2004104106A (ja) * 2002-08-21 2004-04-02 Matsushita Electric Ind Co Ltd 圧電アクチュエータ及びその製造方法並びにインクジェットヘッド及びインクジェット式記録装置
JP2015137405A (ja) * 2014-01-23 2015-07-30 スタンレー電気株式会社 成膜方法及び強誘電体膜
WO2016175013A1 (ja) * 2015-04-30 2016-11-03 株式会社村田製作所 圧電デバイス、圧電トランスおよび圧電デバイスの製造方法

Patent Citations (3)

* Cited by examiner, † Cited by third party
Publication number Priority date Publication date Assignee Title
JP2004104106A (ja) * 2002-08-21 2004-04-02 Matsushita Electric Ind Co Ltd 圧電アクチュエータ及びその製造方法並びにインクジェットヘッド及びインクジェット式記録装置
JP2015137405A (ja) * 2014-01-23 2015-07-30 スタンレー電気株式会社 成膜方法及び強誘電体膜
WO2016175013A1 (ja) * 2015-04-30 2016-11-03 株式会社村田製作所 圧電デバイス、圧電トランスおよび圧電デバイスの製造方法

Cited By (4)

* Cited by examiner, † Cited by third party
Publication number Priority date Publication date Assignee Title
EP4255160A1 (en) 2022-03-30 2023-10-04 Oki Electric Industry Co., Ltd. Piezoelectric-body film joint substrate and manufacturing method thereof
JP7338082B1 (ja) 2023-01-10 2023-09-04 住友精密工業株式会社 圧電体膜基板の製造方法および圧電体膜基板
WO2024150452A1 (ja) * 2023-01-10 2024-07-18 住友精密工業株式会社 圧電体膜基板の製造方法および圧電体膜基板
JP2024098404A (ja) * 2023-01-10 2024-07-23 住友精密工業株式会社 圧電体膜基板の製造方法および圧電体膜基板

Also Published As

Publication number Publication date
JP6934746B2 (ja) 2021-09-15

Similar Documents

Publication Publication Date Title
US9136459B2 (en) Piezoelectric device and method of manufacturing piezoelectric device
JP5836755B2 (ja) 圧電体素子及び液体吐出ヘッド
US20210359195A1 (en) Laminated substrate with piezoelectric thin film, piezoelectric thin film element and method for manufacturing this element
US8994251B2 (en) Piezoelectric device having first and second non-metal electroconductive intermediate films
EP3637486B1 (en) Laminated substrate with potassium sodium niobate piezoelectric film and manufacturing method thereof
US11744159B2 (en) Piezoelectric laminate, method of manufacturing piezoelectric laminate and piezoelectric element
JP6196797B2 (ja) 圧電体薄膜積層基板及び圧電体薄膜素子
TW202505987A (zh) 壓電積層體、壓電積層體的製造方法、及壓電元件
US11557713B2 (en) Laminated substrate having piezoelectric film, element having piezoelectric film and method for manufacturing this laminated substrate
JP7044600B2 (ja) 圧電積層体、圧電積層体の製造方法および圧電デバイス
JP6934746B2 (ja) 圧電膜を有する積層基板、圧電膜を有する素子および圧電膜を有する積層基板の製造方法
JP2021088773A (ja) スパッタリングターゲット材、スパッタリングターゲット材の製造方法、および圧電薄膜付き積層基板の製造方法
JP2019114732A (ja) 圧電積層体、圧電積層体の製造方法および圧電素子
JP6502460B2 (ja) 圧電薄膜付き積層基板および圧電薄膜素子
US20250083957A1 (en) Nitride, piezoelectric body, piezoelectric element, ferroelectric body, and ferroelectric element
JP2018190891A (ja) 圧電膜を有する積層基板の製造方法、圧電膜を有する素子の製造方法および圧電膜を有する積層体
JP6961770B2 (ja) 圧電薄膜付き積層基板および圧電薄膜素子
EP4318619B1 (en) Piezoelectric film, piezoelectric element and method for producing piezoelectric film
TWI901657B (zh) 壓電積層體的製造方法
JP6758444B2 (ja) 圧電薄膜付き積層基板および圧電薄膜素子
JP6804615B2 (ja) 圧電膜を有する積層基板、圧電膜を有する素子および圧電膜を有する積層基板の製造方法
TW202439963A (zh) 壓電積層體、壓電積層體的製造方法、及壓電元件
TW202139493A (zh) 壓電積層體、壓電積層體的製造方法及壓電元件

Legal Events

Date Code Title Description
A711 Notification of change in applicant

Free format text: JAPANESE INTERMEDIATE CODE: A711

Effective date: 20191219

A521 Request for written amendment filed

Free format text: JAPANESE INTERMEDIATE CODE: A821

Effective date: 20191219

A621 Written request for application examination

Free format text: JAPANESE INTERMEDIATE CODE: A621

Effective date: 20200205

A977 Report on retrieval

Free format text: JAPANESE INTERMEDIATE CODE: A971007

Effective date: 20201225

A131 Notification of reasons for refusal

Free format text: JAPANESE INTERMEDIATE CODE: A131

Effective date: 20210105

A521 Request for written amendment filed

Free format text: JAPANESE INTERMEDIATE CODE: A523

Effective date: 20210303

TRDD Decision of grant or rejection written
A01 Written decision to grant a patent or to grant a registration (utility model)

Free format text: JAPANESE INTERMEDIATE CODE: A01

Effective date: 20210803

A61 First payment of annual fees (during grant procedure)

Free format text: JAPANESE INTERMEDIATE CODE: A61

Effective date: 20210824

R150 Certificate of patent or registration of utility model

Ref document number: 6934746

Country of ref document: JP

Free format text: JAPANESE INTERMEDIATE CODE: R150

S531 Written request for registration of change of domicile

Free format text: JAPANESE INTERMEDIATE CODE: R313531

R350 Written notification of registration of transfer

Free format text: JAPANESE INTERMEDIATE CODE: R350