JP2017508338A - Hevcマルチレイヤ拡張における非hevcベースレイヤのサポート - Google Patents
Hevcマルチレイヤ拡張における非hevcベースレイヤのサポート Download PDFInfo
- Publication number
- JP2017508338A JP2017508338A JP2016544788A JP2016544788A JP2017508338A JP 2017508338 A JP2017508338 A JP 2017508338A JP 2016544788 A JP2016544788 A JP 2016544788A JP 2016544788 A JP2016544788 A JP 2016544788A JP 2017508338 A JP2017508338 A JP 2017508338A
- Authority
- JP
- Japan
- Prior art keywords
- video
- layer
- bitstream
- picture
- reference layer
- Prior art date
- Legal status (The legal status is an assumption and is not a legal conclusion. Google has not performed a legal analysis and makes no representation as to the accuracy of the status listed.)
- Granted
Links
Images
Classifications
-
- H—ELECTRICITY
- H04—ELECTRIC COMMUNICATION TECHNIQUE
- H04N—PICTORIAL COMMUNICATION, e.g. TELEVISION
- H04N19/00—Methods or arrangements for coding, decoding, compressing or decompressing digital video signals
- H04N19/10—Methods or arrangements for coding, decoding, compressing or decompressing digital video signals using adaptive coding
- H04N19/102—Methods or arrangements for coding, decoding, compressing or decompressing digital video signals using adaptive coding characterised by the element, parameter or selection affected or controlled by the adaptive coding
- H04N19/103—Selection of coding mode or of prediction mode
- H04N19/105—Selection of the reference unit for prediction within a chosen coding or prediction mode, e.g. adaptive choice of position and number of pixels used for prediction
-
- H—ELECTRICITY
- H04—ELECTRIC COMMUNICATION TECHNIQUE
- H04N—PICTORIAL COMMUNICATION, e.g. TELEVISION
- H04N19/00—Methods or arrangements for coding, decoding, compressing or decompressing digital video signals
- H04N19/10—Methods or arrangements for coding, decoding, compressing or decompressing digital video signals using adaptive coding
- H04N19/134—Methods or arrangements for coding, decoding, compressing or decompressing digital video signals using adaptive coding characterised by the element, parameter or criterion affecting or controlling the adaptive coding
- H04N19/136—Incoming video signal characteristics or properties
-
- H—ELECTRICITY
- H04—ELECTRIC COMMUNICATION TECHNIQUE
- H04N—PICTORIAL COMMUNICATION, e.g. TELEVISION
- H04N19/00—Methods or arrangements for coding, decoding, compressing or decompressing digital video signals
- H04N19/10—Methods or arrangements for coding, decoding, compressing or decompressing digital video signals using adaptive coding
- H04N19/169—Methods or arrangements for coding, decoding, compressing or decompressing digital video signals using adaptive coding characterised by the coding unit, i.e. the structural portion or semantic portion of the video signal being the object or the subject of the adaptive coding
- H04N19/17—Methods or arrangements for coding, decoding, compressing or decompressing digital video signals using adaptive coding characterised by the coding unit, i.e. the structural portion or semantic portion of the video signal being the object or the subject of the adaptive coding the unit being an image region, e.g. an object
- H04N19/172—Methods or arrangements for coding, decoding, compressing or decompressing digital video signals using adaptive coding characterised by the coding unit, i.e. the structural portion or semantic portion of the video signal being the object or the subject of the adaptive coding the unit being an image region, e.g. an object the region being a picture, frame or field
-
- H—ELECTRICITY
- H04—ELECTRIC COMMUNICATION TECHNIQUE
- H04N—PICTORIAL COMMUNICATION, e.g. TELEVISION
- H04N19/00—Methods or arrangements for coding, decoding, compressing or decompressing digital video signals
- H04N19/10—Methods or arrangements for coding, decoding, compressing or decompressing digital video signals using adaptive coding
- H04N19/169—Methods or arrangements for coding, decoding, compressing or decompressing digital video signals using adaptive coding characterised by the coding unit, i.e. the structural portion or semantic portion of the video signal being the object or the subject of the adaptive coding
- H04N19/187—Methods or arrangements for coding, decoding, compressing or decompressing digital video signals using adaptive coding characterised by the coding unit, i.e. the structural portion or semantic portion of the video signal being the object or the subject of the adaptive coding the unit being a scalable video layer
-
- H—ELECTRICITY
- H04—ELECTRIC COMMUNICATION TECHNIQUE
- H04N—PICTORIAL COMMUNICATION, e.g. TELEVISION
- H04N19/00—Methods or arrangements for coding, decoding, compressing or decompressing digital video signals
- H04N19/20—Methods or arrangements for coding, decoding, compressing or decompressing digital video signals using video object coding
- H04N19/29—Methods or arrangements for coding, decoding, compressing or decompressing digital video signals using video object coding involving scalability at the object level, e.g. video object layer [VOL]
-
- H—ELECTRICITY
- H04—ELECTRIC COMMUNICATION TECHNIQUE
- H04N—PICTORIAL COMMUNICATION, e.g. TELEVISION
- H04N19/00—Methods or arrangements for coding, decoding, compressing or decompressing digital video signals
- H04N19/30—Methods or arrangements for coding, decoding, compressing or decompressing digital video signals using hierarchical techniques, e.g. scalability
-
- H—ELECTRICITY
- H04—ELECTRIC COMMUNICATION TECHNIQUE
- H04N—PICTORIAL COMMUNICATION, e.g. TELEVISION
- H04N19/00—Methods or arrangements for coding, decoding, compressing or decompressing digital video signals
- H04N19/30—Methods or arrangements for coding, decoding, compressing or decompressing digital video signals using hierarchical techniques, e.g. scalability
- H04N19/33—Methods or arrangements for coding, decoding, compressing or decompressing digital video signals using hierarchical techniques, e.g. scalability in the spatial domain
-
- H—ELECTRICITY
- H04—ELECTRIC COMMUNICATION TECHNIQUE
- H04N—PICTORIAL COMMUNICATION, e.g. TELEVISION
- H04N19/00—Methods or arrangements for coding, decoding, compressing or decompressing digital video signals
- H04N19/30—Methods or arrangements for coding, decoding, compressing or decompressing digital video signals using hierarchical techniques, e.g. scalability
- H04N19/39—Methods or arrangements for coding, decoding, compressing or decompressing digital video signals using hierarchical techniques, e.g. scalability involving multiple description coding [MDC], i.e. with separate layers being structured as independently decodable descriptions of input picture data
-
- H—ELECTRICITY
- H04—ELECTRIC COMMUNICATION TECHNIQUE
- H04N—PICTORIAL COMMUNICATION, e.g. TELEVISION
- H04N19/00—Methods or arrangements for coding, decoding, compressing or decompressing digital video signals
- H04N19/42—Methods or arrangements for coding, decoding, compressing or decompressing digital video signals characterised by implementation details or hardware specially adapted for video compression or decompression, e.g. dedicated software implementation
-
- H—ELECTRICITY
- H04—ELECTRIC COMMUNICATION TECHNIQUE
- H04N—PICTORIAL COMMUNICATION, e.g. TELEVISION
- H04N19/00—Methods or arrangements for coding, decoding, compressing or decompressing digital video signals
- H04N19/44—Decoders specially adapted therefor, e.g. video decoders which are asymmetric with respect to the encoder
-
- H—ELECTRICITY
- H04—ELECTRIC COMMUNICATION TECHNIQUE
- H04N—PICTORIAL COMMUNICATION, e.g. TELEVISION
- H04N19/00—Methods or arrangements for coding, decoding, compressing or decompressing digital video signals
- H04N19/50—Methods or arrangements for coding, decoding, compressing or decompressing digital video signals using predictive coding
- H04N19/59—Methods or arrangements for coding, decoding, compressing or decompressing digital video signals using predictive coding involving spatial sub-sampling or interpolation, e.g. alteration of picture size or resolution
-
- H—ELECTRICITY
- H04—ELECTRIC COMMUNICATION TECHNIQUE
- H04N—PICTORIAL COMMUNICATION, e.g. TELEVISION
- H04N19/00—Methods or arrangements for coding, decoding, compressing or decompressing digital video signals
- H04N19/50—Methods or arrangements for coding, decoding, compressing or decompressing digital video signals using predictive coding
- H04N19/597—Methods or arrangements for coding, decoding, compressing or decompressing digital video signals using predictive coding specially adapted for multi-view video sequence encoding
-
- H—ELECTRICITY
- H04—ELECTRIC COMMUNICATION TECHNIQUE
- H04N—PICTORIAL COMMUNICATION, e.g. TELEVISION
- H04N19/00—Methods or arrangements for coding, decoding, compressing or decompressing digital video signals
- H04N19/70—Methods or arrangements for coding, decoding, compressing or decompressing digital video signals characterised by syntax aspects related to video coding, e.g. related to compression standards
Landscapes
- Engineering & Computer Science (AREA)
- Multimedia (AREA)
- Signal Processing (AREA)
- Compression Or Coding Systems Of Tv Signals (AREA)
- Two-Way Televisions, Distribution Of Moving Picture Or The Like (AREA)
Abstract
Description
[0029]ビデオ画像、TV画像、静止画像、またはビデオレコーダもしくはコンピュータによって生成された画像などの、デジタル画像は、水平ラインおよび垂直ラインで構成されたピクセルまたはサンプルからなり得る。単一の画像中のピクセルの数は一般に数万個である。各ピクセルは、一般に、ルミナンス情報とクロミナンス情報とを含む。圧縮がなければ、画像エンコーダから画像デコーダに搬送されるべき情報の量は、リアルタイム画像伝送を不可能にさせるほど非常に大きい。送信されるべき情報の量を低減するために、JPEG、MPEGおよびH.263規格など、いくつかの異なる圧縮方法が開発された。
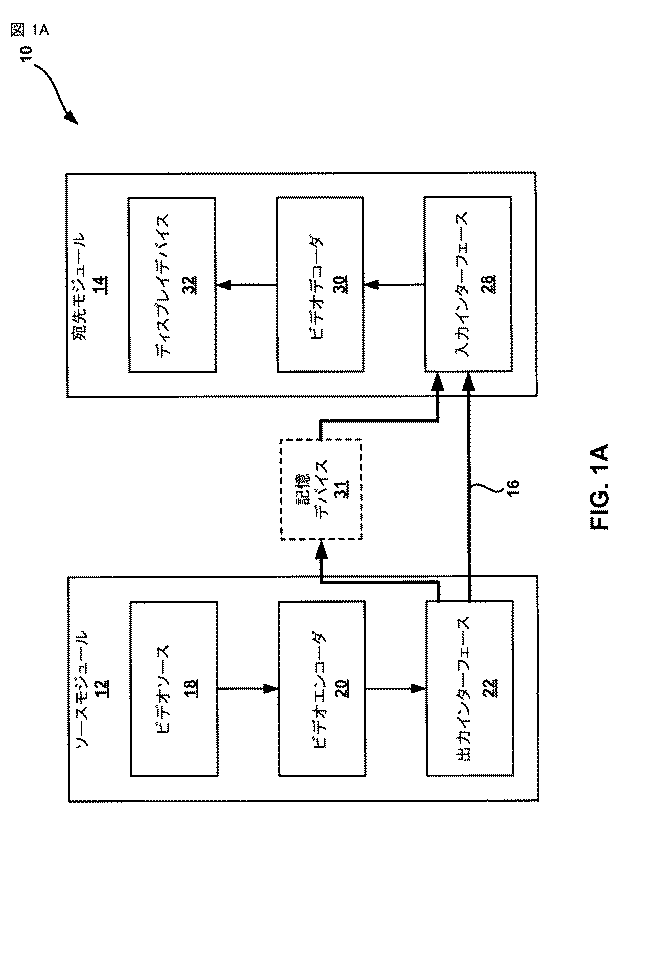
[0035]図1Aは、本開示で説明する態様による技法を利用し得る例示的なビデオコーディングシステム10を示すブロック図である。本明細書で使用し説明する「ビデオコーダ」という用語は、総称的にビデオエンコーダとビデオデコーダの両方を指す。本開示では、「ビデオコーディング」または「コーディング」という用語は、ビデオ符号化とビデオ復号とを総称的に指すことがある。ビデオエンコーダおよびビデオデコーダに加えて、本出願に記載される態様は、トランスコーダ(たとえば、ビットストリームを復号し別のビットストリームを再符号化することができるデバイス)およびミドルボックス(たとえば、ビットストリームを修正、変換、および/または別のやり方で操作することができるデバイス)などの、他の関係するデバイスに拡張され得る。
[0049]上記で簡略に述べられたように、ビデオエンコーダ20はビデオデータを符号化する。ビデオデータは、1つまたは複数のピクチャを備え得る。ピクチャの各々は、ビデオの一部を形成する静止画像である。いくつかの事例では、ピクチャは、ビデオ「フレーム」と呼ばれることがある。ビデオエンコーダ20がビデオデータを符号化するとき、ビデオエンコーダ20は、ビットストリームを生成し得る。ビットストリームは、ビデオデータのコーディングされた表現を形成するビットのシーケンスを含み得る。ビットストリームは、コード化ピクチャと、関連するデータとを含み得る。コード化ピクチャは、ピクチャのコーディングされた表現である。
[0073]図2Aは、本開示で説明する態様による技法を実装し得るビデオエンコーダの一例を示すブロック図である。ビデオエンコーダ20は、HEVCの場合など、ビデオフレームの単一のレイヤを処理するように構成され得る。さらに、ビデオエンコーダ20は、本開示の技法のいずれかまたはすべてを実行するように構成され得る。一例として、予測処理ユニット100は、本開示で説明する技法のいずれかまたはすべてを実行するように構成され得る。別の実施形態では、ビデオエンコーダ20は、本開示で説明する技法のいずれかまたはすべてを実行するように構成された随意のレイヤ間予測ユニット128を含む。他の実施形態では、レイヤ間予測は、予測処理ユニット100(たとえば、インター予測ユニット121および/またはイントラ予測ユニット126)によって実行され得、その場合、レイヤ間予測ユニット128は省略され得る。しかしながら、本開示の態様はそのように限定されない。いくつかの例では、本開示で説明する技法は、ビデオエンコーダ20の様々な構成要素間で共有され得る。いくつかの例では、追加または代替として、プロセッサ(図示せず)が、本開示で説明する技法のいずれかまたはすべてを実行するように構成され得る。
[00106]図2Bは、本開示で説明する態様による技法を実装し得るマルチレイヤビデオエンコーダ23の一例を示すブロック図である。ビデオエンコーダ23は、SHVCおよびマルチビューコーディングの場合など、マルチレイヤビデオフレームを処理するように構成され得る。さらに、ビデオエンコーダ23は、本開示の技法のいずれかまたはすべてを実行するように構成され得る。
[00113]図3Aは、本開示で説明する態様による技法を実装し得るビデオデコーダの一例を示すブロック図である。ビデオデコーダ30は、HEVCの場合など、ビデオフレームの単一のレイヤを処理するように構成され得る。さらに、ビデオデコーダ30は、本開示の技法のいずれかまたはすべてを実行するように構成され得る。一例として、動き補償ユニット162および/またはイントラ予測ユニット164は、本開示で説明する技法のうちのいずれかまたはすべてを実行するように構成され得る。一実施形態では、ビデオデコーダ30は、本開示で説明する技法のいずれかまたはすべてを実行するように構成されたレイヤ間予測ユニット166を随意に含み得る。他の実施形態では、レイヤ間予測は、予測処理ユニット152(たとえば、動き補償ユニット162および/またはイントラ予測ユニット164)によって実行され得、その場合、レイヤ間予測ユニット166は省略され得る。しかしながら、本開示の態様はそのように限定されない。いくつかの例では、本開示で説明する技法は、ビデオデコーダ30の様々な構成要素の間で共有され得る。いくつかの例では、追加または代替として、プロセッサ(図示せず)が、本開示で説明する技法のいずれかまたはすべてを実行するように構成され得る。
[00129]図3Bは、本開示で説明する態様による技法を実装し得るマルチレイヤビデオデコーダ33の一例を示すブロック図である。ビデオデコーダ33は、SHVCおよびマルチビューコーディングの場合など、マルチレイヤビデオフレームを処理するように構成され得る。さらに、ビデオデコーダ33は、本開示の技法のいずれかまたはすべてを実行するように構成され得る。
[00135]いくつかのビデオコーディング方式は、ビットストリームが、ビットストリームの中でそれらのランダムアクセスポイントに先行するいかなるピクチャも復号する必要なく、それらのランダムアクセスポイントのいずれかから始めて復号され得るような、様々なランダムアクセスポイントをビットストリーム全体にわたって提供し得る。そのようなビデオコーディング方式では、出力順序においてランダムアクセスポイントに追従するすべてのピクチャ(たとえば、ランダムアクセスポイントを提供するピクチャと同じアクセスユニットの中にあるピクチャを含む)は、ランダムアクセスポイントに先行するいかなるピクチャも使用することなく正しく復号され得る。たとえば、ビットストリームの一部分が送信の間または復号の間に失われても、デコーダは、次のランダムアクセスポイントから始めてビットストリームの復号を再開することができる。ランダムアクセスのサポートは、たとえば、動的なストリーミングサービス、シーク動作、チャネル切替えなどを容易にし得る。
[00138]いくつかの例示的な実装形態(たとえば、MV−HEVCおよびSHVC)では、特定のレイヤについて、どの1つまたは複数のレイヤが特定のレイヤのレイヤ間予測のために使用され得るかを指定する、direct_dependency_flagと呼ばれるシンタックス要素がある。一実施形態では、direct_dependency_flagは、ビデオデータのあるレイヤがビデオデータの別のレイヤに基づいて(またはそれに依存して)コーディングされるかどうかを指定する2次元アレイである。そのような2次元アレイは値direct_dependency_flag[i][j]の形態をとり得、ここで、iは、コーディングされるべきレイヤ(たとえば、現在レイヤ)に対応し、jは、参照されるべきレイヤ(たとえば、参照レイヤ)に対応する。この例では、参照レイヤが現在レイヤの直接参照レイヤでない場合、direct_dependency_flagは0であり得、参照レイヤが現在レイヤの直接参照レイヤである場合、direct_dependency_flagは1であり得る。一実施形態では、direct_dependency_flagが省略されるかまたは未定義である場合、値は0であると推定される。別の実施形態では、direct_dependency_flagが省略されるかまたは未定義である場合、値は1であると推定される。一実施形態では、レイヤAがレイヤBの直接参照レイヤである場合、そのことは、レイヤBがレイヤAの中に含まれる情報に少なくとも部分的に基づいてコーディングされ得ることを意味する。別の実施形態では、レイヤAがレイヤBの直接参照レイヤである場合、そのことは、レイヤBがレイヤAの中に含まれる情報に少なくとも部分的に基づいてコーディングされることを意味する。いくつかの実施形態では、より小さいレイヤIDを有するすべてのレイヤ(たとえば、下位レイヤ)は、特定のレイヤの直接参照レイヤである。他の実施形態では、下位レイヤのうちの一部だけが特定のレイヤの直接参照レイヤであり得る。たとえば、エンコーダは、計算量を低減するために、下位レイヤのうちの一部だけを特定のレイヤの直接依存性レイヤとして選定し得る。適用可能なコーディング方式(たとえば、HEVC)は、特定のレイヤがいくつの直接参照レイヤを有し得るかに関する限界を有することがある(たとえば、空間スケーラビリティの場合、1つ以下の参照レイヤ)。一実施形態では、direct_dependency_flagフラグは、ビデオパラメータセット(VPS)の中でシグナリングされ、コード化ビデオシーケンス(CVS:coded video sequence)全体に適用される。
[00139]現在レイヤをコーディングするために使用される情報は、参照レイヤのテクスチャ情報(たとえば、ピクセル値)、参照レイヤの動き情報(たとえば、動きベクトル、参照インデックス、予測方向など)を含み得る。しかしながら、現在レイヤをコーディングするために使用され得る参照レイヤの情報は、本明細書で説明するものに限定されず、参照レイヤの中に含まれるか、または参照レイヤの一部である、任意の情報であり得る。
[00142]いくつかの既存のコーディング方式では、参照レイヤまたはベースレイヤのコーデックは、任意の数のコーデックであり得る。たとえば、HEVCコーデックが参照レイヤ向けに使用されてよく、またはH.264/AVCが使用されてよく、もしくは一般的な非HEVCコーデックが使用されてよい。加えて、使用されるべきコーデックを示すパラメータセットの中にフラグがあってよい。たとえば、ビデオパラメータセット(VPS)の中のフラグは、参照レイヤをコーディングするためにHEVCコーデックが使用されるのか、それとも非HEVC(たとえば、AVC)コーデックが使用されるのかを示し得る。一例では、フラグavc_base_layer_flagは、参照レイヤコーデックが勧告ITU−T H.264|国際規格ISO/IEC14496−10に従うビデオコーディング規格に適合することを示す、1に等しい値を有し得、代替的に、参照レイヤコーデックがHEVC仕様に適合することを示す、0に等しい値を有し得る。したがって、エンハンスメントレイヤを符号化または復号するように構成されたコーディングデバイスは、参照レイヤに関してAVCコーデックが使用されるのか、HEVCコーデックが使用されるのか(それとも、何らかの他の非HEVCコーデックが使用されるのか)に関する情報を有し得る。
[00144]いくつかの設計は、H.264/AVC(または、他の非HEVC)ベースレイヤの、SHVCベースのエンハンスメントレイヤを用いたサポートを可能にし得る。したがって、2つ以上のデコーダが、これらの技法を使用してビデオを復号するために使用され得る。たとえば、1つのデコーダが、当技術分野で既知であるような非HEVCベースレイヤを復号し得る。1つまたは複数のSHVCベースのエンハンスメントレイヤを復号するために、HEVCデコーダなどの別のデコーダが使用され得る。いくつかの態様では、非HEVCベースレイヤが使用されるとき、HEVCデコーダがこれらのレイヤを復号することを可能にし得る、エンハンスメントレイヤ向けの設計を提供することが有益であり得る。HEVCデコーダの観点からすれば、これらのベースレイヤは、外部ソースまたは外部の手段によって復号され得る。したがって、HEVCデコーダは、ベースレイヤからのいかなる情報も受信しなくてよく、または、ベースレイヤからの各フレームのための画像情報などの、ベースレイヤからの情報の限定されたサブセットのみを受信してよい。
[00151]上述されたように、SHVCベースのエンハンスメントレイヤは、H.264/AVCコーデックなどの非HEVCコーデックを使用したベースレイヤとともに使用され得る。しかしながら、これらのSHVCベースのエンハンスメントレイヤは、SHVCベースのエンハンスメントレイヤと非HEVCベースレイヤの組合せに起因するいくつかの問題に遭遇することがある。いくつかの課題は、HEVCベースレイヤを使用するときに起こり得ず、復号ピクチャがAVCコーダなどの外部ソースによってSHVCコーダに提供されるときのような、非HEVCベースレイヤを使用するときにのみ起こり得る。
[00156]いくつかの態様では、非HEVCベースレイヤと1つまたは複数のSVHCベースのエンハンスメントレイヤとを使用するとき、DPBパラメータの何らかのシグナリングは非効率であり得る。たとえば、ベースレイヤが非HEVCベースレイヤであるとき、いくつかのパラメータは制約された値を有し得る。たとえば、ベースレイヤが非HEVCレイヤであるときはいつも、所与のパラメータは単一の特定の値を有し得る。したがって、これらの値はベースレイヤが非HEVCレイヤであると示すことに基づいて推定され得、または他の情報に基づいて推定され得るので、アレイ(または、他のデータ構造)の中の各要素に対してこれらの値をシグナリングすることは冗長であり得る。
[00169]図4は、本開示の一実施形態による、ビデオ情報をコーディングするための方法400を示すフローチャートである。図4に示すステップは、エンコーダ(たとえば、図2Aまたは図2Bに示すようなビデオエンコーダ)、デコーダ(たとえば、図3Aまたは図3Bに示すようなビデオデコーダ)、または任意の他の構成要素によって実行され得る。便宜上、方法400について、エンコーダ、デコーダ、または別の構成要素であり得る、コーダによって実行されるものとして説明する。方法は、復号の方法または符号化の方法であり得る。
[00174]いくつかの態様では、ベースレイヤが非HEVCベースレイヤであるとき、VPSビデオ有用性情報(VUI:video usability information)メタデータを含む、VPS拡張の中でのベースレイヤのための不必要なシグナリングを避けることが望ましくあり得る。たとえば、VPS VUIは、ベースレイヤが非HEVCコーデックを使用して符号化されているという知識に基づいて簡単に推定され得るいくつかの値を含み得、したがって、この冗長な情報をビデオの中でシグナリングし続けることが不必要であり得る。
[00187]図5は、本開示の一実施形態による、ビデオ情報をコーディングするための方法500を示すフローチャートである。図5に示すステップは、エンコーダ(たとえば、図2Aまたは図2Bに示すようなビデオエンコーダ)、デコーダ(たとえば、図3Aまたは図3Bに示すようなビデオデコーダ)、または任意の他の構成要素によって実行され得る。便宜上、方法500について、エンコーダ、デコーダ、または別の構成要素であり得る、コーダによって実行されるものとして説明する。方法は、復号の方法または符号化の方法であり得る。
[00193]いくつかの態様では、アクセスユニットに対して外部ソース(ベースレイヤデコーダなどの)によって提供される復号ベースレイヤピクチャはDPBに記憶されず、けれどもそれは「長期の参照用に使用される」としてマークされ、レイヤ間予測参照のために後で使用される。したがって、そのような復号ピクチャは、DPBの中にない限りレイヤ間予測参照などの参照のために使用され得ないので、このことが問題となり得る。
[00197]図6は、本開示の一実施形態による、ビデオ情報を復号するための方法600を示すフローチャートである。図6に示すステップは、デコーダ(たとえば、図3Aまたは図3Bに示すビデオデコーダ)、または任意の他の構成要素によって実行され得る。いくつかの態様では、方法は、参照レイヤがビットストリームの中に含まれるかどうかを、ビデオパラメータセット、シーケンスパラメータセット、ピクチャパラメータセット、または適応パラメータセットのうちの1つの中に含まれる値などの、フラグまたは変数の値に基づいて決定する。そのようなフラグまたは他のインジケータは、外部ソースから受信され得、または方法によって決定され得る。いくつかの態様では、決定するための手段はプロセッサを含み得る。
[00203]いくつかの態様では、1つまたは複数のエンハンスメントレイヤ上で動作しているSHVCデコーダのようなデコーダが、非HVECベースレイヤのいくつかの特性を知っていることが有益であり得る。たとえば、所与のベースレイヤピクチャがIRAPピクチャであるか否かを外部ソースがシグナリングすることを、デコーダが要求することが望ましくあり得る。ベースレイヤピクチャがIRAPピクチャである場合、IDRピクチャ、CRAピクチャ、またはBLAピクチャを規定し得るIRAP NALユニットタイプを、外部ソースがさらにシグナリングすれば望ましくあり得る。
[00212]図7は、本開示の一実施形態による、ビデオ情報をコーディングするための方法700を示すフローチャートである。図7に示すステップは、エンコーダ(たとえば、図2Aまたは図2Bに示すようなビデオエンコーダ)、デコーダ(たとえば、図3Aまたは図3Bに示すようなビデオデコーダ)、または任意の他の構成要素によって実行され得る。便宜上、方法700について、エンコーダ、デコーダ、または別の構成要素であり得る、コーダによって実行されるものとして説明する。
[00217]概して、現在のアクセスユニットに対して、ベースレイヤ情報が外部ソースによって提供されないか、または外部ソースが情報の少なくとも差し止められた(proscribed)セットを提供しなければならないかのいずれかである。情報が提供されない場合、ベースレイヤピクチャがベースレイヤビットストリームにおけるアクセスユニットの中で提供されたかどうかにかかわらず、ベースレイヤピクチャは現在のアクセスユニットに対するレイヤ間予測のために使用されない。あるいは、外部ソースは、(1)ベースレイヤ復号ピクチャの復号されたサンプル値、(2)ルーマサンプルにおける幅および高さ、カラーフォーマット、個別カラープレーンフラグ、ルーマビット深度、ならびにクロマビット深度を含むベースレイヤ復号ピクチャの表現フォーマット、(3)ベースレイヤピクチャがIRAPピクチャであるか否かについての情報、および、はいの場合、IDRピクチャ、CRAピクチャ、またはBLAピクチャを規定し得るIRAP NALユニットタイプ、ならびに随意に、(4)ピクチャがフレームであるのかそれともフィールドであるのか、および、フィールドのとき、フィールドパリティ(トップフィールドまたはボトムフィールド)であるのか、を提供することを差し止められ得る。ピクチャがフレームであるのかそれともフィールドであるのかについての情報が提供されないとき、復号ピクチャはフレームピクチャであると推定され得る。
[00223]以下の例示的なコードセグメントは、VPS VUIシンタックスの一部として使用され得、ベースレイヤがHEVCレイヤであるかどうかに少なくとも部分的に基づいて、いくつかのフラグを設定すること、または設定しないことを定め得る。
[00230]概して、general_profile_spaceの値が提供されないとき、その値は0であると推定される。ただし、general_profile_spaceの値が1に等しい場合、0に等しいbase_layer_codec_typeの値は、ベースレイヤが勧告ITU−T H.264|ISO/IEC14496−10に適合することを規定し得る。両端値を含む1〜63としての範囲の中のbase_layer_codec_typeの他の値は、将来の使用のためにITU−T|ISO/IECによって予約済みであり得る。
[00233]概して、ビデオのベースレイヤがAVCベースレイヤであるとき(すなわち、AvcBaseLayerFlagが1に等しいとき)、以下のことが適用される。
[00238]本明細書で開示された情報および信号は、多種多様な技術および技法のいずれかを使用して表され得る。たとえば、上記の説明全体にわたって参照され得るデータ、命令、コマンド、情報、信号、ビット、シンボル、およびチップは、電圧、電流、電磁波、磁場もしくは磁性粒子、光場もしくは光学粒子、またはそれらの任意の組合せによって表され得る。
Claims (28)
- ビデオ情報をコーディングする方法であって、
参照レイヤがビットストリームの中に含まれるかどうかを決定することと、
復号ピクチャバッファのための1つまたは複数のパラメータの表示を、前記参照レイヤが前記ビットストリームの中に含まれるかどうかに基づいて決定することと、
前記復号ピクチャバッファのための前記1つまたは複数のパラメータの前記決定された表示に少なくとも部分的に基づいて、前記ビデオ情報をコーディングすることと
を備える方法。 - 前記参照レイヤが、非HEVC(高効率ビデオコーディング)コーデックに従ってコーディングされる、請求項1に記載の方法。
- 前記参照レイヤが、アドバンストビデオコーディング(AVC)コーデックに従ってコーディングされる、請求項1に記載の方法。
- 前記参照レイヤが前記ビットストリームの中に含まれるかどうかを決定することは、前記参照レイヤが前記ビットストリームの中に含まれるかどうかを、ビデオパラメータセット、シーケンスパラメータセット、ピクチャパラメータセット、または適応パラメータセットのうちの1つの中に含まれる値に基づいて決定することを備える、請求項1に記載の方法。
- 前記1つまたは複数のパラメータが、復号されるべき最上位の時間サブレイヤ用の前記復号ピクチャバッファの最大サイズをシグナリングするパラメータを備える、請求項1に記載の方法。
- 前記最上位の時間サブレイヤ用の前記復号ピクチャバッファの前記最大サイズをシグナリングする前記パラメータの前記表示を、前記参照レイヤが前記ビットストリームの中に含まれるかどうかに基づいて決定することは、前記参照レイヤが前記ビットストリームの中に含まれない場合、前記最上位の時間サブレイヤ用の前記復号ピクチャバッファの前記最大サイズをシグナリングする前記パラメータの前記表示が0の値を有するべきと決定することを備える、請求項5に記載の方法。
- 前記1つまたは複数のパラメータが、最大レイテンシをシグナリングするパラメータを備える、請求項1に記載の方法。
- 前記1つまたは複数のパラメータが、出力ピクチャの最大リオーダーをシグナリングするパラメータを備える、請求項1に記載の方法。
- 1つまたは複数のパラメータの前記表示を備える1つまたは複数のシンタックス要素を前記ビットストリームの中で生成することをさらに備え、ここにおいて、ビデオ情報をコーディングすることが、ビデオ情報を符号化することのうちの少なくとも1つを備える、請求項1に記載の方法。
- 1つまたは複数のパラメータの前記表示を決定することが、1つまたは複数のシンタックス要素を前記ビットストリームから復号することを備え、ここにおいて、ビデオ情報をコーディングすることが、前記ビデオ情報を復号することを備える、請求項1に記載の方法。
- ビデオ情報をコーディングするように構成された装置であって、
ビットストリームに関連付けられたビデオ情報を記憶するように構成されたメモリと、
前記メモリと通信しているプロセッサとを備え、前記プロセッサは、
参照レイヤが前記ビットストリームの中に含まれるかどうかを決定することと、
復号ピクチャバッファのための1つまたは複数のパラメータの表示を、前記参照レイヤが前記ビットストリームの中に含まれるかどうかに基づいて決定することと、
前記復号ピクチャバッファのための前記1つまたは複数のパラメータの前記決定された表示に少なくとも部分的に基づいて、前記ビデオ情報をコーディングすることとを行うように構成される、
装置。 - 前記参照レイヤが、非HEVC(高効率ビデオコーディング)コーデックに従ってコーディングされる、請求項11に記載の装置。
- 前記参照レイヤが、アドバンストビデオコーディング(AVC)コーデックに従ってコーディングされる、請求項11に記載の装置。
- 前記プロセッサは、前記参照レイヤが前記ビットストリームの中に含まれるかどうかを、ビデオパラメータセット、シーケンスパラメータセット、ピクチャパラメータセット、または適応パラメータセットのうちの1つの中に含まれる値に基づいて決定することを介して、前記参照レイヤが前記ビットストリームの中に含まれるかどうかを決定するように構成される、請求項11に記載の装置。
- 前記1つまたは複数のパラメータが、復号されるべき最上位の時間サブレイヤ用の前記復号ピクチャバッファの最大サイズをシグナリングするパラメータを備える、請求項11に記載の装置。
- 前記プロセッサは、前記参照レイヤが前記ビットストリームの中に含まれない場合、前記最上位の時間サブレイヤ用の前記復号ピクチャバッファの前記最大サイズをシグナリングする前記パラメータの前記表示が0の値を有するべきと決定することを介して、前記最上位の時間サブレイヤ用の前記復号ピクチャバッファの前記最大サイズをシグナリングする前記パラメータの前記表示を、前記参照レイヤが前記ビットストリームの中に含まれるかどうかに基づいて決定するように構成される、請求項15に記載の装置。
- 前記1つまたは複数のパラメータが、最大レイテンシをシグナリングするパラメータを備える、請求項11に記載の装置。
- 前記1つまたは複数のパラメータが、出力ピクチャの最大リオーダーをシグナリングするパラメータを備える、請求項11に記載の装置。
- 前記プロセッサは、1つまたは複数のパラメータの前記表示を備える1つまたは複数のシンタックス要素を前記ビットストリームの中で生成するように構成されたビデオエンコーダを備え、ここにおいて、前記プロセッサが、前記ビデオ情報を符号化するように構成される、請求項11に記載の装置。
- 前記プロセッサは、1つまたは複数のパラメータの前記表示を、1つまたは複数のシンタックス要素を前記ビットストリームから復号することによって決定するように構成されたビデオデコーダを備え、ここにおいて、ビデオ情報をコーディングすることが、前記ビデオ情報を復号することを備え、ここにおいて、前記プロセッサが、前記ビデオ情報を復号するように構成される、請求項11に記載の装置。
- 実行されたとき、装置に、
参照レイヤがビットストリームの中に含まれるかどうかを決定することと、
復号ピクチャバッファのための1つまたは複数のパラメータの表示を、前記参照レイヤが前記ビットストリームの中に含まれるかどうかに基づいて決定することと、
前記復号ピクチャバッファのための前記1つまたは複数のパラメータの前記決定された表示に少なくとも部分的に基づいて、前記ビデオ情報をコーディングすることと
を備えるプロセスを実行させるコードを備える非一時的コンピュータ可読媒体。 - 前記参照レイヤが、非HEVC(高効率ビデオコーディング)コーデックまたはアドバンストビデオコーディング(AVC)コーデックのうちの少なくとも1つにおいてコーディングされる、請求項21に記載の非一時的コンピュータ可読媒体。
- 実行されたとき、前記装置に、前記参照レイヤが前記ビットストリームの中に含まれないかどうかを、ビデオパラメータセット、シーケンスパラメータセット、ピクチャパラメータセット、または適応パラメータセットのうちの1つの中に含まれる値に基づいて決定することを介して、前記参照レイヤが前記ビットストリームの中に含まれるかどうかを決定させるコードをさらに備える請求項21に記載の非一時的コンピュータ可読媒体。
- 前記1つまたは複数のパラメータが、復号されるべき最上位の時間サブレイヤ用の前記復号ピクチャバッファの最大サイズをシグナリングするパラメータ、最大レイテンシをシグナリングするパラメータ、または出力ピクチャの最大リオーダーをシグナリングするパラメータを備える、請求項21に記載の非一時的コンピュータ可読媒体。
- ビデオ情報をコーディングするように構成されたビデオコーディングデバイスであって、
参照レイヤがビットストリームの中に含まれるかどうかを決定するための手段と、
復号ピクチャバッファのための1つまたは複数のパラメータの表示を、前記参照レイヤが前記ビットストリームの中に含まれるかどうかに基づいて決定するための手段と、
前記復号ピクチャバッファのための前記1つまたは複数のパラメータの前記決定された表示に少なくとも部分的に基づいて、前記ビデオ情報をコーディングするための手段と
を備えるビデオコーディングデバイス。 - 前記参照レイヤが、非HEVC(高効率ビデオコーディング)コーデックおよびアドバンストビデオコーディング(AVC)コーデックのうちの少なくとも1つにおいてコーディングされる、請求項25に記載のビデオコーディングデバイス。
- 前記参照レイヤが前記ビットストリームの中に含まれるかどうかを決定するための手段は、前記参照レイヤが前記ビットストリームの中に含まれないかどうかを、ビデオパラメータセット、シーケンスパラメータセット、ピクチャパラメータセット、または適応パラメータセットのうちの1つの中に含まれる値に基づいて決定するための手段を備える、請求項25に記載のビデオコーディングデバイス。
- 前記1つまたは複数のパラメータが、最上位の時間サブレイヤ用の前記復号ピクチャバッファの最大サイズをシグナリングするパラメータ、最大レイテンシをシグナリングするパラメータ、または出力ピクチャの最大リオーダーをシグナリングするパラメータを備える、請求項25に記載のビデオコーディングデバイス。
Applications Claiming Priority (5)
| Application Number | Priority Date | Filing Date | Title |
|---|---|---|---|
| US201461925149P | 2014-01-08 | 2014-01-08 | |
| US61/925,149 | 2014-01-08 | ||
| US14/590,897 | 2015-01-06 | ||
| US14/590,897 US12177417B2 (en) | 2014-01-08 | 2015-01-06 | Support of non-HEVC base layer in HEVC multi-layer extensions |
| PCT/US2015/010472 WO2015105868A1 (en) | 2014-01-08 | 2015-01-07 | Support of non-hevc base layer in hevc multi-layer extensions |
Publications (3)
| Publication Number | Publication Date |
|---|---|
| JP2017508338A true JP2017508338A (ja) | 2017-03-23 |
| JP2017508338A5 JP2017508338A5 (ja) | 2018-01-25 |
| JP6453347B2 JP6453347B2 (ja) | 2019-01-16 |
Family
ID=53496191
Family Applications (4)
| Application Number | Title | Priority Date | Filing Date |
|---|---|---|---|
| JP2016544806A Active JP6591424B2 (ja) | 2014-01-08 | 2015-01-07 | Hevcマルチレイヤ拡張における非hevcベースレイヤのサポート |
| JP2016544809A Active JP6517219B2 (ja) | 2014-01-08 | 2015-01-07 | Hevcマルチレイヤ拡張における非hevcベースレイヤのサポート |
| JP2016544788A Active JP6453347B2 (ja) | 2014-01-08 | 2015-01-07 | Hevcマルチレイヤ拡張における非hevcベースレイヤのサポート |
| JP2016544807A Active JP6591425B2 (ja) | 2014-01-08 | 2015-01-07 | Hevcマルチレイヤ拡張における非hevcベースレイヤのサポート |
Family Applications Before (2)
| Application Number | Title | Priority Date | Filing Date |
|---|---|---|---|
| JP2016544806A Active JP6591424B2 (ja) | 2014-01-08 | 2015-01-07 | Hevcマルチレイヤ拡張における非hevcベースレイヤのサポート |
| JP2016544809A Active JP6517219B2 (ja) | 2014-01-08 | 2015-01-07 | Hevcマルチレイヤ拡張における非hevcベースレイヤのサポート |
Family Applications After (1)
| Application Number | Title | Priority Date | Filing Date |
|---|---|---|---|
| JP2016544807A Active JP6591425B2 (ja) | 2014-01-08 | 2015-01-07 | Hevcマルチレイヤ拡張における非hevcベースレイヤのサポート |
Country Status (8)
| Country | Link |
|---|---|
| US (5) | US9794558B2 (ja) |
| EP (4) | EP3092810B1 (ja) |
| JP (4) | JP6591424B2 (ja) |
| KR (4) | KR102321238B1 (ja) |
| CN (4) | CN105900430B (ja) |
| BR (2) | BR112016015988B1 (ja) |
| CA (4) | CA2932508A1 (ja) |
| WO (4) | WO2015105868A1 (ja) |
Families Citing this family (24)
| Publication number | Priority date | Publication date | Assignee | Title |
|---|---|---|---|---|
| US9787966B2 (en) * | 2012-09-04 | 2017-10-10 | Industrial Technology Research Institute | Methods and devices for coding interlaced depth data for three-dimensional video content |
| US10085017B2 (en) * | 2012-11-29 | 2018-09-25 | Advanced Micro Devices, Inc. | Bandwidth saving architecture for scalable video coding spatial mode |
| US10212437B2 (en) * | 2013-07-18 | 2019-02-19 | Qualcomm Incorporated | Device and method for scalable coding of video information |
| US9794558B2 (en) | 2014-01-08 | 2017-10-17 | Qualcomm Incorporated | Support of non-HEVC base layer in HEVC multi-layer extensions |
| US9402083B2 (en) * | 2014-04-24 | 2016-07-26 | Vidyo, Inc. | Signaling conformance points using profile space |
| US10455242B2 (en) | 2015-03-04 | 2019-10-22 | Qualcomm Incorporated | Signaling output indications in codec-hybrid multi-layer video coding |
| WO2016204481A1 (ko) * | 2015-06-16 | 2016-12-22 | 엘지전자 주식회사 | 미디어 데이터 전송 장치, 미디어 데이터 수신 장치, 미디어 데이터 전송 방법, 및 미디어 데이터 수신 방법 |
| JP2020515169A (ja) * | 2017-03-20 | 2020-05-21 | シャープ株式会社 | メディアアプリケーションフォーマットでスケーラブル動画像をシグナリングするためのシステム及び方法 |
| US20190141320A1 (en) * | 2017-11-07 | 2019-05-09 | Qualcomm Incorporated | Enhanced reference picture management in video coding |
| KR102553150B1 (ko) * | 2018-03-23 | 2023-07-10 | 삼성전자주식회사 | 외부 전자 장치와 이미지를 처리하는 전자 장치 및 그 동작 방법 |
| GB201814693D0 (en) * | 2018-09-10 | 2018-10-24 | Crayonano As | Semiconductor devices |
| WO2020185923A1 (en) | 2019-03-11 | 2020-09-17 | Futurewei Technologies, Inc. | Mixed nal unit type picture constraints |
| GB2617304B (en) | 2019-03-20 | 2024-04-03 | V Nova Int Ltd | Residual filtering in signal enhancement coding |
| GB2618719B (en) * | 2019-03-20 | 2024-03-13 | V Nova Int Ltd | Low complexity enhancement video coding |
| US11153583B2 (en) * | 2019-06-07 | 2021-10-19 | Qualcomm Incorporated | Spatial scalability support in video encoding and decoding |
| WO2021005348A1 (en) * | 2019-07-05 | 2021-01-14 | V-Nova International Ltd | Quantization of residuals in video coding |
| US12003786B2 (en) | 2019-08-06 | 2024-06-04 | Hyundai Motor Company | Entropy-coding for video encoding and decoding |
| KR20250093594A (ko) * | 2019-10-07 | 2025-06-24 | 후아웨이 테크놀러지 컴퍼니 리미티드 | 서브 비트스트림 추출의 오류 방지 |
| CN113395460B (zh) * | 2020-03-11 | 2022-07-19 | 浙江宇视科技有限公司 | 一种视频解码方法、装置、设备及可读存储介质 |
| JP7529795B2 (ja) * | 2020-04-20 | 2024-08-06 | バイトダンス インコーポレイテッド | 参照ピクチャリスト上の制約 |
| KR102377449B1 (ko) * | 2020-07-31 | 2022-03-22 | 이화여자대학교 산학협력단 | 다중 코덱 기반의 전방위 몰입형 비디오에 대한 디코딩 방법 및 디코딩 장치 |
| US11770498B2 (en) | 2020-09-29 | 2023-09-26 | Lemon Inc. | Supplemental enhancement information for multi-layer video streams |
| US20240179345A1 (en) * | 2021-03-30 | 2024-05-30 | Interdigital Ce Patent Holdings, Sas | Externally enhanced prediction for video coding |
| US12160610B2 (en) * | 2022-08-26 | 2024-12-03 | Adeia Guides Inc. | Systems and methods for encoding three-dimensional media content |
Citations (1)
| Publication number | Priority date | Publication date | Assignee | Title |
|---|---|---|---|---|
| WO2015054059A2 (en) * | 2013-10-07 | 2015-04-16 | Teikoku Pharma Usa, Inc. | Methods and compositions for treating attention deficit hyperactivity disorder, anxiety and insomnia using dexmedetomidine transdermal compositions |
Family Cites Families (104)
| Publication number | Priority date | Publication date | Assignee | Title |
|---|---|---|---|---|
| US5510840A (en) * | 1991-12-27 | 1996-04-23 | Sony Corporation | Methods and devices for encoding and decoding frame signals and recording medium therefor |
| JP2000333163A (ja) | 1999-05-24 | 2000-11-30 | Sony Corp | 復号装置及び方法、符号化装置及び方法、画像処理システム、画像処理方法 |
| JP2003319391A (ja) | 2002-04-26 | 2003-11-07 | Sony Corp | 符号化装置および方法、復号装置および方法、記録媒体、並びにプログラム |
| US8995536B2 (en) | 2003-07-23 | 2015-03-31 | Broadcom Corporation | System and method for audio/video synchronization |
| US7724827B2 (en) | 2003-09-07 | 2010-05-25 | Microsoft Corporation | Multi-layer run level encoding and decoding |
| US7133046B2 (en) | 2003-10-31 | 2006-11-07 | Broadcom Corporation | System, method, and apparatus for display manager |
| CN1890974B (zh) | 2003-12-03 | 2012-05-16 | 皇家飞利浦电子股份有限公司 | 用于mpeg-2系统中的改进缩放性支持的系统和方法 |
| US8619860B2 (en) * | 2005-05-03 | 2013-12-31 | Qualcomm Incorporated | System and method for scalable encoding and decoding of multimedia data using multiple layers |
| US8976858B2 (en) | 2005-05-13 | 2015-03-10 | Qualcomm Incorporated | Error resilience using out of band directory information |
| EP1742476A1 (en) | 2005-07-06 | 2007-01-10 | Thomson Licensing | Scalable video coding streaming system and transmission mechanism of the same system |
| MY147530A (en) | 2005-10-11 | 2012-12-31 | Nokia Corp | System and method for efficient scalable stream adaptation |
| US8270496B2 (en) * | 2005-10-12 | 2012-09-18 | Thomson Licensing | Region of interest H.264 scalable video coding |
| US9131247B2 (en) * | 2005-10-19 | 2015-09-08 | Thomson Licensing | Multi-view video coding using scalable video coding |
| US7777812B2 (en) * | 2005-11-18 | 2010-08-17 | Sharp Laboratories Of America, Inc. | Methods and systems for picture resampling |
| EP1806930A1 (en) | 2006-01-10 | 2007-07-11 | Thomson Licensing | Method and apparatus for constructing reference picture lists for scalable video |
| WO2007107170A1 (en) * | 2006-03-22 | 2007-09-27 | Fraunhofer-Gesellschaft zur Förderung der angewandten Forschung e.V. | Coding scheme enabling precision-scalability |
| US8165196B2 (en) | 2006-09-28 | 2012-04-24 | Broadcom Corporation | System, method, and apparatus for display manager |
| RU2419245C2 (ru) * | 2006-11-14 | 2011-05-20 | Квэлкомм Инкорпорейтед | Системы и способы для переключения каналов |
| US7890986B2 (en) | 2007-06-19 | 2011-02-15 | Broadcom Corporation | System and method for reducing channel change time |
| JP5383674B2 (ja) * | 2007-06-27 | 2014-01-08 | トムソン ライセンシング | ビット深さスケーラビリティのために向上層残差予測を使ってビデオ・データをエンコードおよび/またはデコードする方法および装置 |
| KR101365596B1 (ko) | 2007-09-14 | 2014-03-12 | 삼성전자주식회사 | 영상 부호화장치 및 방법과 그 영상 복호화장치 및 방법 |
| US8432968B2 (en) | 2007-10-15 | 2013-04-30 | Qualcomm Incorporated | Scalable video coding techniques for scalable bitdepths |
| KR101365597B1 (ko) | 2007-10-24 | 2014-02-20 | 삼성전자주식회사 | 영상 부호화장치 및 방법과 그 영상 복호화장치 및 방법 |
| EP2210420A2 (en) * | 2007-11-05 | 2010-07-28 | Thomson Licensing | A scalable video coding method for fast channel change and increased error resilience |
| KR101635235B1 (ko) | 2008-07-26 | 2016-06-30 | 톰슨 라이센싱 | 스케일러블 비디오 코딩(svc)을 이용한 고속 채널 변경 응용을 위한 실시간 전송 프로토콜(rtp) 패킷화 방법 |
| US20100189182A1 (en) | 2009-01-28 | 2010-07-29 | Nokia Corporation | Method and apparatus for video coding and decoding |
| US8705624B2 (en) | 2009-11-24 | 2014-04-22 | STMicroelectronics International N. V. | Parallel decoding for scalable video coding |
| US20120075436A1 (en) | 2010-09-24 | 2012-03-29 | Qualcomm Incorporated | Coding stereo video data |
| RU2014105292A (ru) * | 2011-07-13 | 2015-08-20 | Телефонактиеболагет Л М Эрикссон (Пабл) | Кодер, декодер и способы их работы для управления опорными изображениями |
| US20130089152A1 (en) | 2011-10-05 | 2013-04-11 | Qualcomm Incorporated | Signaling picture identification for video coding |
| US8787688B2 (en) | 2011-10-13 | 2014-07-22 | Sharp Laboratories Of America, Inc. | Tracking a reference picture based on a designated picture on an electronic device |
| US8768079B2 (en) | 2011-10-13 | 2014-07-01 | Sharp Laboratories Of America, Inc. | Tracking a reference picture on an electronic device |
| US9451252B2 (en) | 2012-01-14 | 2016-09-20 | Qualcomm Incorporated | Coding parameter sets and NAL unit headers for video coding |
| US20130194585A1 (en) | 2012-01-27 | 2013-08-01 | David R. Cowles | Proper installation determination based on arbitrary pattern identification |
| US20130195172A1 (en) | 2012-01-30 | 2013-08-01 | Qualcomm Incorporated | Method of coding video and storing video content |
| CN104396240B (zh) * | 2012-01-31 | 2018-02-02 | Vid拓展公司 | 用于可缩放的高效视频编码(hevc)的参考图片集(rps)信令 |
| US9565431B2 (en) | 2012-04-04 | 2017-02-07 | Qualcomm Incorporated | Low-delay video buffering in video coding |
| US9402082B2 (en) | 2012-04-13 | 2016-07-26 | Sharp Kabushiki Kaisha | Electronic devices for sending a message and buffering a bitstream |
| US9532055B2 (en) * | 2012-04-16 | 2016-12-27 | Microsoft Technology Licensing, Llc | Constraints and unit types to simplify video random access |
| US9979958B2 (en) * | 2012-04-20 | 2018-05-22 | Qualcomm Incorporated | Decoded picture buffer processing for random access point pictures in video sequences |
| JP2013232775A (ja) | 2012-04-27 | 2013-11-14 | Sharp Corp | 動画像復号装置、および動画像符号化装置 |
| US10979703B2 (en) | 2012-06-15 | 2021-04-13 | Intel Corporation | Adaptive filtering for scalable video coding |
| US8432808B1 (en) | 2012-06-15 | 2013-04-30 | Viasat Inc. | Opportunistically delayed delivery in a satellite network |
| KR101752149B1 (ko) | 2012-06-26 | 2017-07-11 | 미쓰비시덴키 가부시키가이샤 | 동화상 부호화·복호 장치 및 방법 |
| WO2014009603A1 (en) | 2012-07-02 | 2014-01-16 | Nokia Corporation | Method and apparatus for video coding |
| JP6050489B2 (ja) * | 2012-07-06 | 2016-12-21 | サムスン エレクトロニクス カンパニー リミテッド | 多階層ビデオ符号化方法及びその装置、並びに多階層ビデオ復号化方法及びその装置 |
| WO2014007590A1 (ko) | 2012-07-06 | 2014-01-09 | 삼성전자 주식회사 | 랜덤 억세스를 위한 멀티 레이어 비디오 부호화 방법 및 그 장치, 랜덤 억세스를 위한 멀티 레이어 비디오 복호화 방법 및 그 장치 |
| WO2014028838A1 (en) | 2012-08-16 | 2014-02-20 | Vid Scale, Inc. | Slice based skip mode signaling for multiple layer video coding |
| US20150229967A1 (en) | 2012-08-21 | 2015-08-13 | Samsung Electronics Co., Ltd. | Inter-layer video coding method and device for predictive information based on tree structure coding unit, and inter-layer video decoding method and device for predictive informationbased on tree structure coding unit |
| KR102477476B1 (ko) * | 2012-09-13 | 2022-12-14 | 엘지전자 주식회사 | 영상 부호화/복호화 방법 및 장치 |
| EP2898696B1 (en) * | 2012-09-19 | 2022-09-07 | Qualcomm Incorporated | Selection of pictures for disparity vector derivation |
| US9374583B2 (en) * | 2012-09-20 | 2016-06-21 | Qualcomm Incorporated | Video coding with improved random access point picture behaviors |
| JP6787667B2 (ja) * | 2012-09-21 | 2020-11-18 | ノキア テクノロジーズ オサケユイチア | ビデオコーディングのための方法と装置 |
| US9241158B2 (en) | 2012-09-24 | 2016-01-19 | Qualcomm Incorporated | Hypothetical reference decoder parameters in video coding |
| EP2901689A1 (en) | 2012-09-27 | 2015-08-05 | Dolby Laboratories Licensing Corporation | Inter-layer reference picture processing for coding standard scalability |
| US20140085415A1 (en) * | 2012-09-27 | 2014-03-27 | Nokia Corporation | Method and apparatus for video coding |
| US20150288970A1 (en) | 2012-09-28 | 2015-10-08 | Samsung Electronics Co., Ltd. | Video encoding method and apparatus for parallel processing using reference picture information, and video decoding method and apparatus for parallel processing using reference picture information |
| KR101775250B1 (ko) * | 2012-09-28 | 2017-09-05 | 노키아 테크놀로지스 오와이 | 비디오 코딩 및 디코딩을 위한 장치, 방법 및 컴퓨터 프로그램 |
| AU2013321315C1 (en) * | 2012-09-28 | 2015-06-18 | Sony Corporation | Image processing device and method |
| US20140092995A1 (en) | 2012-09-28 | 2014-04-03 | Sharp Laboratories Of America, Inc. | Electronic devices for signaling a random access point picture message |
| KR20150035667A (ko) | 2012-09-28 | 2015-04-07 | 삼성전자주식회사 | 랜덤 액세스를 위한 비디오 부호화 방법 및 장치, 비디오 복호화 방법 및 장치 |
| US20140092976A1 (en) * | 2012-09-30 | 2014-04-03 | Sharp Laboratories Of America, Inc. | System for signaling idr and bla pictures |
| WO2014072571A1 (en) * | 2012-10-01 | 2014-05-15 | Nokia Corporation | Method and apparatus for scalable video coding |
| EP2904804A1 (en) * | 2012-10-04 | 2015-08-12 | VID SCALE, Inc. | Reference picture set mapping for standard scalable video coding |
| US20140098883A1 (en) * | 2012-10-09 | 2014-04-10 | Nokia Corporation | Method and apparatus for video coding |
| US20150245063A1 (en) * | 2012-10-09 | 2015-08-27 | Nokia Technologies Oy | Method and apparatus for video coding |
| HK1210559A1 (en) | 2012-10-10 | 2016-04-22 | 中兴通讯股份有限公司 | Method and apparatus for encapsulation of random access information for media transport and storage |
| KR102338919B1 (ko) | 2012-11-21 | 2021-12-13 | 엘지전자 주식회사 | 영상 디코딩 방법 및 이를 이용하는 장치 |
| KR102232250B1 (ko) | 2012-11-27 | 2021-03-25 | 인텔렉추얼디스커버리 주식회사 | 깊이 정보를 이용한 영상 부보화 및 복호화 방법, 그를 이용한 장치 및 영상 시스템 |
| RU2667719C1 (ru) | 2012-12-18 | 2018-09-24 | Сони Корпорейшн | Устройство обработки изображения и способ обработки изображения |
| CN104885466A (zh) | 2012-12-26 | 2015-09-02 | 索尼公司 | 图像处理装置和方法 |
| WO2014103529A1 (ja) * | 2012-12-28 | 2014-07-03 | シャープ株式会社 | 画像復号装置、およびデータ構造 |
| US10116931B2 (en) * | 2013-01-03 | 2018-10-30 | Texas Instruments Incorporated | Hierarchical inter-layer prediction in multi-loop scalable video coding |
| US9900609B2 (en) * | 2013-01-04 | 2018-02-20 | Nokia Technologies Oy | Apparatus, a method and a computer program for video coding and decoding |
| US9521393B2 (en) * | 2013-01-07 | 2016-12-13 | Qualcomm Incorporated | Non-nested SEI messages in video coding |
| US9402076B2 (en) | 2013-01-07 | 2016-07-26 | Qualcomm Incorporated | Video buffering operations for random access in video coding |
| US20140218473A1 (en) | 2013-01-07 | 2014-08-07 | Nokia Corporation | Method and apparatus for video coding and decoding |
| CN105027567A (zh) * | 2013-01-07 | 2015-11-04 | 诺基亚技术有限公司 | 用于视频编码和解码的方法和装置 |
| US20150373354A1 (en) * | 2013-01-07 | 2015-12-24 | Samsung Electronics Co., Ltd. | Method and device for encoding/decoding image so that image is compatible with multiple codecs |
| US10129550B2 (en) * | 2013-02-01 | 2018-11-13 | Qualcomm Incorporated | Inter-layer syntax prediction control |
| US9351009B2 (en) | 2013-04-05 | 2016-05-24 | Sharp Kabushiki Kaisha | Marking pictures for inter-layer prediction |
| US9532067B2 (en) | 2013-04-05 | 2016-12-27 | Sharp Kabushiki Kaisha | Decoding of inter-layer reference picture set and reference picture list construction |
| US9807421B2 (en) | 2013-04-05 | 2017-10-31 | Sharp Kabushiki Kaisha | NAL unit type restrictions |
| US8958477B2 (en) * | 2013-04-05 | 2015-02-17 | Vidyo, Inc. | Multiple reference layer prediction signaling techniques |
| US10708605B2 (en) * | 2013-04-05 | 2020-07-07 | Vid Scale, Inc. | Inter-layer reference picture enhancement for multiple layer video coding |
| US9591321B2 (en) * | 2013-04-07 | 2017-03-07 | Dolby International Ab | Signaling change in output layer sets |
| US20140301477A1 (en) | 2013-04-07 | 2014-10-09 | Sharp Laboratories Of America, Inc. | Signaling dpb parameters in vps extension and dpb operation |
| CA2908853C (en) * | 2013-04-08 | 2019-01-15 | Arris Technology, Inc. | Signaling for addition or removal of layers in video coding |
| US9516080B2 (en) * | 2013-05-31 | 2016-12-06 | Western Digital Technologies, Inc. | Methods and apparatuses for streaming content |
| JP2016523483A (ja) | 2013-06-18 | 2016-08-08 | ヴィド スケール インコーポレイテッド | Hevc拡張のためのレイヤ間パラメータセット |
| US10212437B2 (en) * | 2013-07-18 | 2019-02-19 | Qualcomm Incorporated | Device and method for scalable coding of video information |
| KR20150026927A (ko) | 2013-09-03 | 2015-03-11 | 주식회사 케이티 | 스케일러블 비디오 신호 인코딩/디코딩 방법 및 장치 |
| WO2015047162A1 (en) * | 2013-09-26 | 2015-04-02 | Telefonaktiebolaget L M Ericsson (Publ) | Hybrid codec scalable video |
| CN105612745A (zh) * | 2013-10-08 | 2016-05-25 | 夏普株式会社 | 图像解码装置、图像编码装置以及编码数据 |
| US9819941B2 (en) | 2013-10-10 | 2017-11-14 | Qualcomm Incorporated | Signaling for sub-decoded picture buffer (sub-DPB) based DPB operations in video coding |
| MY178305A (en) | 2013-10-11 | 2020-10-07 | Vid Scale Inc | High level syntax for hevc extensions |
| HK1224468A1 (zh) * | 2013-10-11 | 2017-08-18 | 夏普株式会社 | 信令告知用於编码的信息 |
| KR20150043222A (ko) * | 2013-10-12 | 2015-04-22 | 삼성전자주식회사 | 멀티 레이어 비디오 부호화 방법 및 그 장치, 멀티 레이어 비디오 복호화 방법 및 그 장치 |
| KR102246545B1 (ko) | 2013-10-12 | 2021-04-30 | 삼성전자주식회사 | 멀티 레이어 비디오 부호화 방법 및 장치, 멀티 레이어 비디오 복호화 방법 및 장치 |
| MX364032B (es) | 2013-10-22 | 2019-04-11 | Kt Corp | Metodo y dispositivo para codificar/descodificar una señal de video de multicapa. |
| CN104754358B (zh) | 2013-12-27 | 2019-02-19 | 中兴通讯股份有限公司 | 码流的生成和处理方法、装置及系统 |
| US9832481B2 (en) | 2014-01-03 | 2017-11-28 | Qualcomm Incorporated | Support of base layer of a different codec in multi-layer video coding |
| WO2015104451A1 (en) * | 2014-01-07 | 2015-07-16 | Nokia Technologies Oy | Method and apparatus for video coding and decoding |
| US9794558B2 (en) | 2014-01-08 | 2017-10-17 | Qualcomm Incorporated | Support of non-HEVC base layer in HEVC multi-layer extensions |
-
2015
- 2015-01-06 US US14/590,922 patent/US9794558B2/en active Active
- 2015-01-06 US US14/590,924 patent/US9826232B2/en active Active
- 2015-01-06 US US14/590,914 patent/US10547834B2/en active Active
- 2015-01-06 US US14/590,897 patent/US12177417B2/en active Active
- 2015-01-07 CA CA2932508A patent/CA2932508A1/en not_active Abandoned
- 2015-01-07 KR KR1020167021425A patent/KR102321238B1/ko active Active
- 2015-01-07 KR KR1020167021428A patent/KR102333537B1/ko active Active
- 2015-01-07 CN CN201580003845.9A patent/CN105900430B/zh active Active
- 2015-01-07 CN CN201580003836.XA patent/CN105900429B/zh active Active
- 2015-01-07 EP EP15701074.5A patent/EP3092810B1/en active Active
- 2015-01-07 WO PCT/US2015/010472 patent/WO2015105868A1/en not_active Ceased
- 2015-01-07 BR BR112016015988-8A patent/BR112016015988B1/pt active IP Right Grant
- 2015-01-07 KR KR1020167021419A patent/KR102082031B1/ko active Active
- 2015-01-07 CA CA2932885A patent/CA2932885C/en active Active
- 2015-01-07 WO PCT/US2015/010500 patent/WO2015105890A1/en not_active Ceased
- 2015-01-07 EP EP15701073.7A patent/EP3092809B1/en active Active
- 2015-01-07 CA CA2932648A patent/CA2932648A1/en not_active Abandoned
- 2015-01-07 JP JP2016544806A patent/JP6591424B2/ja active Active
- 2015-01-07 JP JP2016544809A patent/JP6517219B2/ja active Active
- 2015-01-07 CA CA2932651A patent/CA2932651A1/en not_active Abandoned
- 2015-01-07 CN CN201580003809.2A patent/CN105900427B/zh active Active
- 2015-01-07 WO PCT/US2015/010476 patent/WO2015105872A1/en not_active Ceased
- 2015-01-07 CN CN201580003825.1A patent/CN105900428B/zh active Active
- 2015-01-07 WO PCT/US2015/010495 patent/WO2015105885A1/en not_active Ceased
- 2015-01-07 EP EP15701070.3A patent/EP3092807B1/en active Active
- 2015-01-07 BR BR112016015893-8A patent/BR112016015893B1/pt active IP Right Grant
- 2015-01-07 JP JP2016544788A patent/JP6453347B2/ja active Active
- 2015-01-07 EP EP15701071.1A patent/EP3092808B1/en active Active
- 2015-01-07 KR KR1020167021429A patent/KR102119296B1/ko active Active
- 2015-01-07 JP JP2016544807A patent/JP6591425B2/ja active Active
-
2024
- 2024-11-11 US US18/943,104 patent/US20250071262A1/en active Pending
Patent Citations (1)
| Publication number | Priority date | Publication date | Assignee | Title |
|---|---|---|---|---|
| WO2015054059A2 (en) * | 2013-10-07 | 2015-04-16 | Teikoku Pharma Usa, Inc. | Methods and compositions for treating attention deficit hyperactivity disorder, anxiety and insomnia using dexmedetomidine transdermal compositions |
Non-Patent Citations (6)
| Title |
|---|
| MISKA M. HANNUKSELA: "MV-HEVC/SHVC HLS: On non-HEVC base layer", JOINT COLLABORATIVE TEAM ON VIDEO CODING (JCT-VC) OF ITU-T SG 16 WP 3 AND ISO/IEC JTC 1/SC 29/WG 11, vol. JCTVC-O0166, JPN6018044913, October 2013 (2013-10-01), pages 1 - 3, ISSN: 0003918640 * |
| MISKA M. HANNUKSELA: "MV-HEVC/SHVC HLS: On non-HEVC base layer", JOINT COLLABORATIVE TEAM ON VIDEO CODING (JCT-VC) OF ITU-T SG 16 WP 3 AND ISO/IEC JTC 1/SC 29/WG 11, vol. JCTVC-P0140, JPN6018044915, January 2014 (2014-01-01), pages 1 - 4, ISSN: 0003918642 * |
| SACHIN DESHPANDE: "On Inter-layer Reference Picture Set", JOINT COLLABORATIVE TEAM ON VIDEO CODING (JCT-VC) OF ITU-T SG 16 WP 3 AND ISO/IEC JTC 1/SC 29/WG 11, vol. JCTVC-O0120, JPN6018044912, October 2013 (2013-10-01), pages 1 - 8, ISSN: 0003918639 * |
| SAM NARASIMHAN ET AL.: "AHG20: Multilayer HRD Management", JOINT COLLABORATIVE TEAM ON VIDEO CODING (JCT-VC) OF ITU-T SG 16 WP 3 AND ISO/IEC JTC 1/SC 29/WG 11, vol. JCTVC-O0234_r1, JPN6018044914, November 2013 (2013-11-01), pages 1 - 5, ISSN: 0003918641 * |
| SAM NARASIMHAN ET AL.: "Consideration of buffer management issues HEVC scalability", JOINT COLLABORATIVE TEAM ON VIDEO CODING (JCT-VC) OF ITU-T SG 16 WP 3 AND ISO/IEC JTC 1/SC 29/WG 11, vol. JCTVC-N0049-rev1, JPN6018044911, July 2013 (2013-07-01), pages 1 - 6, ISSN: 0003918638 * |
| SHUO LU AND KAZUSHI SATO: "AHG9: Inter-layer RPS Prediction", JOINT COLLABORATIVE TEAM ON VIDEO CODING (JCT-VC) OF ITU-T SG 16 WP 3 AND ISO/IEC JTC 1/SC 29/WG 11, vol. JCTVC-M0140r1, JPN6018044910, April 2013 (2013-04-01), pages 1 - 9, ISSN: 0003918637 * |
Also Published As
Similar Documents
| Publication | Publication Date | Title |
|---|---|---|
| US20250071262A1 (en) | Support of non-hevc base layer in hevc multi-layer extensions | |
| JP6608395B2 (ja) | スケーラブルビデオコード化におけるビットストリーム適合制約 | |
| JP6580576B2 (ja) | ビデオ情報のスケーラブルコーディングのためのデバイスおよび方法 | |
| JP6513684B2 (ja) | マルチレイヤビデオコーディングにおける異なるコーデックのベースレイヤのサポート | |
| JP2017517185A (ja) | マルチレイヤコーディングにおける適合ウィンドウ情報 | |
| JP6434044B2 (ja) | ビデオ情報のスケーラブルコード化のための機器及び方法 | |
| JP6312838B2 (ja) | マルチレイヤコード化においてレイヤ間参照ピクチャセット(RPS)をコード化し、ビットストリーム終端(EoB)ネットワークアクセスレイヤ(NAL)単位をコード化するための方法 | |
| JP2016539545A (ja) | ビデオ情報のスケーラブルコーディングのためのデバイスおよび方法 | |
| JP2017522793A (ja) | マルチレイヤコーデックのためのピクチャ順序カウントリセット |
Legal Events
| Date | Code | Title | Description |
|---|---|---|---|
| A521 | Request for written amendment filed |
Free format text: JAPANESE INTERMEDIATE CODE: A523 Effective date: 20171211 |
|
| A621 | Written request for application examination |
Free format text: JAPANESE INTERMEDIATE CODE: A621 Effective date: 20171211 |
|
| A977 | Report on retrieval |
Free format text: JAPANESE INTERMEDIATE CODE: A971007 Effective date: 20181107 |
|
| TRDD | Decision of grant or rejection written | ||
| A01 | Written decision to grant a patent or to grant a registration (utility model) |
Free format text: JAPANESE INTERMEDIATE CODE: A01 Effective date: 20181113 |
|
| A61 | First payment of annual fees (during grant procedure) |
Free format text: JAPANESE INTERMEDIATE CODE: A61 Effective date: 20181212 |
|
| R150 | Certificate of patent or registration of utility model |
Ref document number: 6453347 Country of ref document: JP Free format text: JAPANESE INTERMEDIATE CODE: R150 |
|
| R250 | Receipt of annual fees |
Free format text: JAPANESE INTERMEDIATE CODE: R250 |
|
| R250 | Receipt of annual fees |
Free format text: JAPANESE INTERMEDIATE CODE: R250 |
|
| R250 | Receipt of annual fees |
Free format text: JAPANESE INTERMEDIATE CODE: R250 |
|
| R250 | Receipt of annual fees |
Free format text: JAPANESE INTERMEDIATE CODE: R250 |
|
| R250 | Receipt of annual fees |
Free format text: JAPANESE INTERMEDIATE CODE: R250 |
