JP6050488B2 - ランダムアクセスのためのマルチレイヤビデオ符号化方法及びその装置、並びにランダムアクセスのためのマルチレイヤビデオ復号化方法及びその装置 - Google Patents

ランダムアクセスのためのマルチレイヤビデオ符号化方法及びその装置、並びにランダムアクセスのためのマルチレイヤビデオ復号化方法及びその装置 Download PDF

Info

Publication number
JP6050488B2
JP6050488B2 JP2015520071A JP2015520071A JP6050488B2 JP 6050488 B2 JP6050488 B2 JP 6050488B2 JP 2015520071 A JP2015520071 A JP 2015520071A JP 2015520071 A JP2015520071 A JP 2015520071A JP 6050488 B2 JP6050488 B2 JP 6050488B2
Authority
JP
Japan
Prior art keywords
video
layer
enhancement layer
unit
base layer
Prior art date
Legal status (The legal status is an assumption and is not a legal conclusion. Google has not performed a legal analysis and makes no representation as to the accuracy of the status listed.)
Expired - Fee Related
Application number
JP2015520071A
Other languages
English (en)
Other versions
JP2015526017A (ja
Inventor
チェー,ビョン−ドゥ
キム,ジェ−ヒョン
パク,ジョン−フン
Current Assignee (The listed assignees may be inaccurate. Google has not performed a legal analysis and makes no representation or warranty as to the accuracy of the list.)
Samsung Electronics Co Ltd
Original Assignee
Samsung Electronics Co Ltd
Priority date (The priority date is an assumption and is not a legal conclusion. Google has not performed a legal analysis and makes no representation as to the accuracy of the date listed.)
Filing date
Publication date
Application filed by Samsung Electronics Co Ltd filed Critical Samsung Electronics Co Ltd
Publication of JP2015526017A publication Critical patent/JP2015526017A/ja
Application granted granted Critical
Publication of JP6050488B2 publication Critical patent/JP6050488B2/ja
Expired - Fee Related legal-status Critical Current
Anticipated expiration legal-status Critical

Links

Images

Classifications

    • HELECTRICITY
    • H04ELECTRIC COMMUNICATION TECHNIQUE
    • H04NPICTORIAL COMMUNICATION, e.g. TELEVISION
    • H04N19/00Methods or arrangements for coding, decoding, compressing or decompressing digital video signals
    • HELECTRICITY
    • H04ELECTRIC COMMUNICATION TECHNIQUE
    • H04NPICTORIAL COMMUNICATION, e.g. TELEVISION
    • H04N19/00Methods or arrangements for coding, decoding, compressing or decompressing digital video signals
    • H04N19/30Methods or arrangements for coding, decoding, compressing or decompressing digital video signals using hierarchical techniques, e.g. scalability
    • HELECTRICITY
    • H04ELECTRIC COMMUNICATION TECHNIQUE
    • H04NPICTORIAL COMMUNICATION, e.g. TELEVISION
    • H04N19/00Methods or arrangements for coding, decoding, compressing or decompressing digital video signals
    • H04N19/44Decoders specially adapted therefor, e.g. video decoders which are asymmetric with respect to the encoder
    • HELECTRICITY
    • H04ELECTRIC COMMUNICATION TECHNIQUE
    • H04NPICTORIAL COMMUNICATION, e.g. TELEVISION
    • H04N19/00Methods or arrangements for coding, decoding, compressing or decompressing digital video signals
    • H04N19/50Methods or arrangements for coding, decoding, compressing or decompressing digital video signals using predictive coding
    • HELECTRICITY
    • H04ELECTRIC COMMUNICATION TECHNIQUE
    • H04NPICTORIAL COMMUNICATION, e.g. TELEVISION
    • H04N19/00Methods or arrangements for coding, decoding, compressing or decompressing digital video signals
    • H04N19/50Methods or arrangements for coding, decoding, compressing or decompressing digital video signals using predictive coding
    • H04N19/503Methods or arrangements for coding, decoding, compressing or decompressing digital video signals using predictive coding involving temporal prediction
    • H04N19/51Motion estimation or motion compensation
    • H04N19/513Processing of motion vectors

Landscapes

  • Engineering & Computer Science (AREA)
  • Multimedia (AREA)
  • Signal Processing (AREA)
  • Compression Or Coding Systems Of Tv Signals (AREA)

Description

本発明は、インター予測、イントラ予測及びインターレイヤ予測に基づくマルチレイヤ予測構造を利用する、ビデオ符号化及びビデオ復号化に関する。
高解像度または高画質のビデオコンテンツを再生、保存することができるハードウェアの開発及び普及により、高解像度または高画質のビデオコンテンツを効果的に符号化/復号化するビデオコーデックの必要性が増大している。既存のビデオコーデックによれば、ビデオは、所定サイズのマクロブロックに基づいて、制限された符号化方式によって符号化されている。
周波数変換を利用して、空間領域の映像データは、周波数領域の係数に変換される。ビデオコーデックは、周波数変換の先立つ演算のために、映像を、所定サイズのブロックに分割し、ブロックごとにDCT(discrete cosine transformation)変換を行い、ブロック単位の周波数係数を符号化する。空間領域の映像データに比べ、周波数領域の係数が、圧縮しやすい形態を有する。特に、ビデオコーデックのインター予測またはイントラ予測を介して、空間領域の映像画素値は、予測誤差で表現されるので、予測誤差に対して周波数変換が行われれば、多くのデータが0に変換される。ビデオコーデックは、連続して反復して発生するデータを、小サイズのデータに置き換えることにより、データ量を節減している。
マルチレイヤ・ビデオコーデックは、基本レイヤビデオと、一つ以上の向上レイヤビデオとを符号化/復号化する。基本レイヤビデオと向上レイヤビデオとの時間的/空間的重複性(redundancy)と、レイヤ間の重複性とを除去する方式により、基本レイヤビデオと向上レイヤビデオとのデータ量が節減される。
本発明の一実施形態によるマルチレイヤビデオ符号化方法及びその装置、並びにマルチレイヤビデオ復号化方法及びその装置は、新たなマルチレイヤビデオ予測構造を提案し、多視点ビデオ復元過程で、ランダムアクセスがレイヤごとに同期化されて行われる方法を提案する。
本発明の一実施形態によるマルチレイヤ(multi-layer)ビデオ復号化方法は、基本レイヤストリームに対して、動き補償及びイントラ復号化を行い、基本レイヤ映像を復元する段階と、向上レイヤストリームから、前記基本レイヤ映像のうち、ランダムアクセスが可能な基本レイヤRAP映像(random access point picture)に対応する同種の向上レイヤRAP映像を復元し、前記復元された向上レイヤRAP映像を含む向上レイヤ映像に対して、動き補償、及び前記基本レイヤ映像を利用するインターレイヤ復号化を行い、向上レイヤ映像を復元する段階と、を含む。
本発明の一実施形態によるマルチレイヤビデオ予測構造によれば、基本レイヤ映像シーケンス及び向上レイヤ映像シーケンスの間に、互いに同じ再生順序POC(picture order count)が割り当てられた基本レイヤ映像と向上レイヤ映像との間のインターレイヤ符号化またはインターレイヤ復号化が行われることにより、基本レイヤ映像と向上レイヤ映像との間の同期化された出力が保証される。
本発明の一実施形態によるマルチレイヤビデオ符号化装置のブロック図である。 図1Aのマルチレイヤビデオ符号化装置のマルチレイヤビデオ符号化方法のフローチャートである。 本発明の一実施形態によるマルチレイヤビデオ復号化装置のブロック図である。 図2Aのインターレイヤビデオ復号化装置のインターレイヤビデオ復号化方法のフローチャートである。 一実施形態によるインターレイヤ予測構造を図示する図面である。 マルチレイヤ映像のマルチレイヤ予測構造を図示する図面である。 時間階層的符号化/復号化方式によるマルチレイヤ予測構造を図示する図面である。 一実施形態による、IDR(instantaneous decoding refresh)映像の再生順序と復元順序とを図示する図面である。 一実施形態による、IDR(instantaneous decoding refresh)映像の再生順序と復元順序とを図示する図面である。 一実施形態による、CRA(clear random access)映像の再生順序と復元順序とを図示する図面である。 一実施形態による、CRA(clear random access)映像の再生順序と復元順序とを図示する図面である。 一実施形態によるBLA(broken link access)映像の再生順序と復元順序とを図示する図面である。 一実施形態によるBLA(broken link access)映像の再生順序と復元順序とを図示する図面である。 一実施形態による、ツリー構造による符号化単位に基づいたビデオ符号化装置のブロック図である。 一実施形態による、ツリー構造による符号化単位に基づいたビデオ復号化装置のブロック図である。 本発明の一実施形態による符号化単位の概念を図示する図面である。 本発明の一実施形態による、符号化単位に基づいた映像符号化部のブロック図である。 本発明の一実施形態による、符号化単位に基づいた映像復号化部のブロック図である。 本発明の一実施形態による、深度別符号化単位及びパーティションを図示する図面である。 本発明の一実施形態による、符号化単位及び変換単位の関係を図示する図面である。 本発明の一実施形態による深度別符号化情報を図示する図面である。 本発明の一実施形態による深度別符号化単位を図示する図面である。 本発明の一実施形態による、符号化単位、予測単位及び変換単位の関係を図示する図面である。 本発明の一実施形態による、符号化単位、予測単位及び変換単位の関係を図示する図面である。 本発明の一実施形態による、符号化単位、予測単位及び変換単位の関係を図示する図面である。 表1の符号化モード情報による、符号化単位、予測単位及び変換単位の関係を図示する図面である。 一実施形態による、プログラムが保存されたディスクの物理的構造を例示する図面である。 ディスクを利用して、プログラムを記録して判読するためのディスクドライブを図示する図面である。 コンテンツ流通サービス(content distribution service)を提供するためのコンテンツ供給システム(content supply system)の全体的構造を図示する図面である。 一実施形態による、本発明のビデオ符号化方法及びビデオ復号化方法が適用される携帯電話の外部構造を図示する図面である。 一実施形態による、本発明のビデオ符号化方法及びビデオ復号化方法が適用される携帯電話の内部構造を図示する図面である。 本発明による通信システムが適用されたデジタル放送システムを図示する図面である。 本発明の一実施形態による、ビデオ符号化装置及びビデオ復号化装置を利用するクラウドコンピューティングシステムのネットワーク構造を図示する図面である。
本発明の一実施形態によるマルチレイヤ(multi-layer)ビデオ復号化方法は、基本レイヤストリームに対して、動き補償及びイントラ復号化を行い、基本レイヤ映像を復元する段階と、向上レイヤストリームから、前記基本レイヤ映像のうち、ランダムアクセスが可能な基本レイヤRAP映像(random access point picture)に対応する同種の向上レイヤRAP映像を復元し、前記復元された向上レイヤRAP映像を含む向上レイヤ映像に対して、動き補償、及び前記基本レイヤ映像を利用するインターレイヤ復号化を行い、向上レイヤ映像を復元する段階と、を含む。
一実施形態による、前記向上レイヤ映像を復元する段階は、前記第1基本レイヤIDR(instantaneous decoding refresh)映像に対応する第1向上レイヤ映像を、前記第1向上レイヤIDR映像と決定し、前記第1基本レイヤIDR映像を参照し、前記第1向上レイヤIDR映像に対して、インターレイヤ復号化を行う段階と、前記第1向上レイヤIDR映像を参照し、少なくとも1つの向上レイヤ映像に対する動き補償を行う段階と、を含んでもよい。
一実施形態による、前記向上レイヤ映像を復元する段階は、前記第1基本レイヤCRA(clear random access)映像に対応する第1向上レイヤ映像を、前記第1向上レイヤCRA映像と決定し、前記第1基本レイヤCRA映像を参照し、前記第1向上レイヤCRA映像に対して、インターレイヤ復号化を行う段階と、前記第1向上レイヤCRA映像を参照し、少なくとも1つの向上レイヤ映像に対する動き補償を行う段階と、を含んでもよい。
一実施形態による、前記向上レイヤ映像を復元する段階は、前記第1基本レイヤBLA(broken link access)映像に対応する第1向上レイヤ映像を、前記第1向上レイヤBLA映像と決定し、前記第1基本レイヤBLA映像を参照し、前記第1向上レイヤBLA映像に対して、インターレイヤ復号化を行う段階と、前記第1向上レイヤBLA映像を参照し、少なくとも1つの向上レイヤ映像に対する動き補償を行う段階と、を含んでもよい。
一実施形態による、前記向上レイヤ映像を復元する段階は、前記第1基本レイヤRASL(random access skipped leading)映像に対応する第1向上レイヤ映像を、前記第1向上レイヤRASL映像と決定し、前記第1向上レイヤRASL映像に対して、前記第1基本レイヤRASL映像を参照するインターレイヤ復号化、及び前記第1向上レイヤRAP映像と、前記第1向上レイヤRAP映像より復元順序が先立つ向上レイヤRAP映像とを参照する動き補償を行う段階を含んでもよい。
一実施形態による、前記向上レイヤ映像を復元する段階は、前記第1基本レイヤ映像に対応する第1向上レイヤ映像を、前記第1向上レイヤCRA映像、第1向上レイヤRASL映像及び第1向上レイヤノーマル映像のうち一つに決定し、前記第1向上レイヤノーマル映像に対して、前記第1基本レイヤノーマル映像を参照するインターレイヤ復号化、及び向上レイヤRAP映像を参照する動き補償を行う段階を含んでもよい。
一実施形態による、前記向上レイヤ映像を復元する段階は、視点変換要請に基づいて、RAP映像及び非RAP映像のうち1つである第1基本レイヤ映像に対応する第1向上レイヤVLA(view layer access)映像を決定し、前記第1基本レイヤ映像を参照し、前記第1向上レイヤVLA映像に対して、インターレイヤ復号化を行う段階と、前記第1向上レイヤVLA映像より復元順序が後になる向上レイヤ映像に対して、前記第1向上レイヤBLA映像に対して、復元順序及び再生順序が後になるか、あるいはそれと同じである向上レイヤ映像のうち少なくとも一つを参照し、動き補償を行う段階と、を含んでもよい。
一実施形態による前記基本レイヤ映像を復元する段階は、前記第1基本レイヤRAP映像より復元順序が先立つ基本レイヤRASL映像のうち少なくとも一つに対する復号化を省略する段階を含み、前記向上レイヤ映像を復元する段階は、前記復号化が省略された基本レイヤ映像に対応する向上レイヤ映像に対する復号化を省略する段階を含んでもよい。
一実施形態による、前記向上レイヤ映像を復元する段階は、基本レイヤストリーム及び向上レイヤストリームに対する時間階層的復号化(temporal hierarchical decoding)のために、第1向上レイヤ映像の時間階層識別番号より下位階層の時間階層識別番号が割り当てられた第1基本レイヤ映像を参照し、前記第1向上レイヤ映像に対するインターレイヤ復号化を行う段階を含んでもよい。
本発明の一実施形態によるマルチレイヤビデオ符号化方法は、基本レイヤ映像に対して、インター予測及びイントラ予測を行う段階と、前記基本レイヤ映像のうち、ランダムアクセスが可能な基本レイヤRAP映像に対応する向上レイヤ映像を、前記RAP映像と同種の向上レイヤRAP映像と決定し、前記向上レイヤRAP映像を含む向上レイヤ映像に対して、インター予測、及び前記基本レイヤ映像を利用するインターレイヤ予測を行う段階と、を含む。
一実施形態による前記インター予測及びインターレイヤ予測を行う段階は、前記第1基本レイヤIDR映像に対応する第1向上レイヤ映像を、前記第1向上レイヤIDR映像と決定し、前記第1基本レイヤIDR映像を参照し、前記第1向上レイヤIDR映像に対して、インターレイヤ予測を行う段階と、前記第1向上レイヤIDR映像を参照し、少なくとも1つの向上レイヤ映像に対するインター予測を行う段階と、を含んでもよい。
一実施形態による前記インター予測及びインターレイヤ予測を行う段階は、前記第1基本レイヤCRA映像に対応する第1向上レイヤ映像を、前記第1向上レイヤCRA映像と決定し、前記第1基本レイヤCRA映像を参照し、前記第1向上レイヤCRA映像に対して、インターレイヤ予測を行う段階と、前記第1向上レイヤCRA映像を参照し、少なくとも1つの向上レイヤ映像に対するインター予測を行う段階と、を含んでもよい。
一実施形態による前記インター予測及びインターレイヤ予測を行う段階は、前記第1基本レイヤBLA映像に対応する第1向上レイヤ映像を、前記第1向上レイヤBLA映像と決定し、前記第1基本レイヤBLA映像を参照し、前記第1向上レイヤBLA映像に対して、インターレイヤ予測を行う段階と、前記第1向上レイヤBLA映像を参照し、少なくとも1つの向上レイヤ映像に対するインター予測を行う段階と、を含んでもよい。
一実施形態による前記インター予測及びインターレイヤ予測を行う段階は、前記第1基本レイヤRASL映像に対応する第1向上レイヤ映像を、前記第1向上レイヤRASL映像と決定し、前記第1向上レイヤRASL映像に対して、前記第1基本レイヤRASL映像を参照するインターレイヤ予測、及び前記第1向上レイヤRAP映像と、前記第1向上レイヤRAP映像より復元順序が先立つ向上レイヤRAP映像とを参照するインター予測を行うことができる。
一実施形態による前記インター予測及びインターレイヤ予測を行う段階は、前記第1基本レイヤ映像に対応する第1向上レイヤ映像を、前記第1向上レイヤCRA映像、第1向上レイヤRASL映像及び第1向上レイヤノーマル映像のうち一つに決定し、前記第1向上レイヤノーマル映像に対して、前記第1基本レイヤノーマル映像を参照するインターレイヤ予測、及び向上レイヤRAP映像を参照するインター予測を行う段階を含んでもよい。
一実施形態による前記インター予測及びインターレイヤ予測を行う段階は、RAP映像及び非RAP映像のうち1つである第1基本レイヤ映像に対応する第1向上レイヤVLA映像を決定し、前記第1基本レイヤ映像を参照し、前記第1向上レイヤVLA映像に対して、インターレイヤ予測を行う段階と、前記第1向上レイヤVLA映像より復元順序が後になる向上レイヤ映像に対して、前記第1向上レイヤBLA映像に対して、復元順序及び再生順序が後になるか、あるいはそれと同じである向上レイヤ映像のうち少なくとも一つを参照し、インター予測を行う段階と、を含んでもよい。
一実施形態による前記インター予測及びインターレイヤ予測を行う段階は、基本レイヤストリーム及び向上レイヤストリームに対する時間階層的符号化のために、第1向上レイヤ映像の時間階層識別番号より下位階層の時間階層識別番号が割り当てられた第1基本レイヤ映像を参照し、前記第1向上レイヤ映像に対するインターレイヤ予測を行う段階を含んでもよい。
本発明の一実施形態によるマルチレイヤビデオ復号化装置は、基本レイヤストリームに対して、動き補償及びイントラ復号化を行い、基本レイヤ映像を復元する基本レイヤ復号化部;及び向上レイヤストリームから、前記基本レイヤ映像のうち、ランダムアクセスが可能な基本レイヤRAP映像に対応して同種である向上レイヤRAP映像を復元し、前記復元された向上レイヤRAP映像を含む向上レイヤ映像に対して、インター予測、及び前記基本レイヤ映像を利用するインターレイヤ復号化を行い、向上レイヤ映像 を復元する向上レイヤ復号化部;を含む。
本発明の一実施形態によるマルチレイヤビデオ符号化装置は、基本レイヤ映像に対して、インター予測及びイントラ予測を行う基本レイヤ符号化部;及び前記基本レイヤ映像のうち、ランダムアクセスが可能な基本レイヤRAP映像に対応する向上レイヤ映像を、前記基本レイヤRAP映像と同種の向上レイヤRAP映像と決定し、前記向上レイヤRAP映像を含む向上レイヤ映像に対して、インター予測、及び前記基本レイヤ映像を利用するインターレイヤ予測を行う向上レイヤ符号化部を含む。
本発明は、一実施形態によるマルチレイヤビデオ符号化方法を具現するためのプログラムが記録されたコンピュータで読み取り可能な記録媒体を含む。本発明の一実施形態によるマルチレイヤビデオ復号化方法を具現するためのプログラムが記録されたコンピュータで読み取り可能な記録媒体を含む。
以下、図1Aないし図7Bを参照し、一実施形態による、マルチレイヤビデオ符号化装置及びマルチレイヤビデオ復号化装置、並びにマルチレイヤビデオ符号化方法及びマルチレイヤビデオ復号化方法を開示する。また、図8ないし図20を参照し、一実施形態によるツリー構造の符号化単位に基づく一実施形態による、マルチレイヤビデオ符号化装置及びマルチレイヤビデオ復号化装置、並びにマルチレイヤビデオ符号化方法及びマルチレイヤビデオ復号化方法を開示する。また、図21ないし図27を参照し、一実施形態による、マルチレイヤビデオ符号化方法、マルチレイヤビデオ復号化方法、ビデオ符号化方法、ビデオ復号化方法が適用可能な多様な実施形態を開示する。以下、「映像」は、ビデオの静止映像や動画、すなわち、ビデオそのものを示す。
まず、図1Aないし図7Bを参照し、一実施形態による、マルチレイヤビデオ符号化装置及びマルチレイヤビデオ符号化方法、並びにマルチレイヤビデオ復号化装置及びマルチレイヤビデオ復号化方法を開示する。
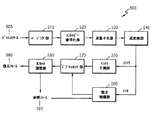
図1Aは、本発明の一実施形態によるマルチレイヤビデオ符号化装置10のブロック図を図示している。図1Bは、図1Aのマルチレイヤビデオ符号化装置10のマルチレイヤビデオ符号化方法11のフローチャートを図示している。
一実施形態によるマルチレイヤビデオ符号化装置10は、基本レイヤ符号化部12及び向上レイヤ符号化部14を含む。
一実施形態によるマルチレイヤビデオ符号化装置10は、スケーラブル・ビデオコーディング(scalable video coding)方式により、多数のビデオストリームをレイヤ別に分類し、それぞれ符号化することができる。一実施形態によるマルチレイヤビデオ符号化装置10は、基本レイヤ映像及び向上レイヤ映像を符号化する。
例えば、多視点ビデオが、スケーラブル・ビデオコーディング方式によって符号化される。中央視点映像、左視点映像及び右視点映像がそれぞれ符号化され、そのうち中央視点映像は、基本レイヤ映像として符号化され、左視点映像は、第1向上レイヤ映像、右視点映像は、第2向上レイヤ映像として符号化される。基本レイヤ映像の符号化結果が基本レイヤストリームとして出力され、第1向上レイヤ映像及び第2向上レイヤ映像の符号化結果が、それぞれ第1向上レイヤストリーム及び第2向上レイヤストリームとして出力される。
他の例として、時間階層的予測により、スケーラブル・ビデオコーディング方式が遂行される。基本フレームレートの映像を符号化して生成された符号化情報を含む基本レイヤストリームが出力される。基本フレームレートの映像を参照し、高速フレームレートの映像をさらに符号化し、高速フレームレートの符号化情報を含む向上レイヤストリームが出力される。時間階層的予測方式によるスケーラブル・ビデオコーディング方式は、図4Bを参照して後述する。
また、基本レイヤ及び多数の向上レイヤで、スケーラブル・ビデオコーディングが行われる。向上レイヤが3以上である場合、基本レイヤ映像、及び最初の向上レイヤ映像,2番目の向上レイヤ映像,…,K番目の向上レイヤ映像が符号化されてもよい。それにより、基本レイヤ映像の符号化結果が、基本レイヤストリームとして出力され、最初,2番目,…,K番目の向上レイヤ映像の符号化結果が、それぞれ最初,2番目,…,K番目の向上レイヤストリームとして出力される。
一実施形態によるマルチレイヤビデオ符号化装置10は、各レイヤごとに、ビデオのそれぞれの映像のブロック別に符号化する。ブロックのタイプは、正方形または長方形でもあり、任意の幾何学的形態でもある。一定サイズのデータ単位に制限されるものではない。一実施形態によるブロックは、ツリー構造による符号化単位のうち、最大符号化単位、符号化単位、予測単位、変換単位などでもある。ツリー構造による符号化単位に基づいたビデオ符号化/復号化方式は、図8ないし図20を参照して後述する。
一実施形態によるマルチレイヤビデオ符号化装置10は、同一レイヤの映像を相互参照して予測するインター予測(inter prediction)を行うことができる。インター予測を介して、現在映像と参照映像との動き情報を示すモーションベクトル(motion vector)、及び現在映像と参照映像との残差成分(residual)が生成される。
また、一実施形態によるマルチレイヤビデオ符号化装置10は、基本レイヤ映像を参照して向上レイヤ映像を予測するインターレイヤ予測(inter-layer prediction)を行うことができる。一実施形態によるマルチレイヤビデオ符号化装置10は、最初の向上レイヤ映像を参照し、2番目の向上レイヤ映像を予測するインターレイヤ予測を行うこともできる。インターレイヤ予測を介して、現在映像と、それと異なるレイヤの参照映像との位置差成分、及び現在映像と、それと異なるレイヤの参照映像との残差成分が生成される。
一実施形態によるマルチレイヤビデオ符号化装置10が、2以上の向上レイヤを許容する場合には、マルチレイヤ予測構造によって、1つの基本レイヤ映像と、2以上の向上レイヤ映像とのインターレイヤ予測を行うこともできる。
インター予測及びインターレイヤ予測は、符号化単位、予測単位または変換単位のデータ単位を基に行われる。
一実施形態による基本レイヤ符号化部12は、基本レイヤ映像を符号化し、基本レイヤストリームを生成する。基本レイヤ符号化部12は、基本レイヤ映像間のインター予測を行うことができる。一実施形態による基本レイヤ符号化部12は、基本レイヤ映像のうち、ランダムアクセスが可能なRAP(random access point)映像は、他の映像を全く参照せずに符号化することができる。
I−タイプであるRAP映像は、IDR(instanteneous decoding refresh)映像、CRA(clean random access)映像、BLA(broken link access)映像、TSA(temporal sublayer access)映像、STSA(stepwise temporal sublayer access)映像のうちいずれか一つでもある。
また、RAP映像は、リーディング映像(leading pictures)とトレーリング映像(trailing pictures)によって参照される。リーディング映像とトレーリング映像は、RAP映像より復元順序は後になるが、リーディング映像は、RAP映像より再生順序が先立ち、トレーリング映像は、RAP映像より復元順序も後になる。トレーリング映像は、ノーマル映像(normal picture)とも呼ばれる。
リーディング映像は、RADL(random access decodable leading)映像、RASL映像に分類されてもよい。リーディング映像より再生順序がさらに後になるRAP映像でランダムアクセスが発生するとき、RADL映像は、復元可能な映像であるが、RASL映像は、復元されない。
一実施形態による基本レイヤ符号化部12は、基本レイヤ映像のうち、基本レイヤRAP映像を除いた非RAP(non−RAP)映像に対して、インター予測を行うことができる。基本レイヤRAP映像については、映像内周辺ピクセルを参照するイントラ予測(intra prediction)が行われる。一実施形態による基本レイヤ符号化部12は、インター予測またはイントラ予測を行った結果として生成される結果データに対して、符号化を行い、符号化データを生成することができる。例えば、インター予測またはイントラ予測を行って生成された結果データを収録する映像ブロックに対して、変換、量子化、エントロピー符号化などが行われる。
一実施形態による基本レイヤ符号化部12は、基本レイヤRAP映像の符号化データと、残りの基本レイヤ映像の符号化データとを含む基本レイヤストリームを生成することができる。基本レイヤ符号化部12は、基本レイヤ映像間のインター予測を介して生成されたモーションベクトルも、基本レイヤストリームと共に出力することができる。
一実施形態による向上レイヤ符号化部14は、向上レイヤ映像を符号化し、向上レイヤストリームを生成する。一実施形態による向上レイヤ符号化部14は、多数の向上レイヤ映像を符号化する場合には、各レイヤ別に、向上レイヤ映像を符号化し、各レイヤ別に、向上レイヤストリームを生成する。以下、説明の便宜のために、一実施形態による向上レイヤ符号化部14の符号化動作は、1レイヤの向上レイヤ映像に対する動作として記述する。ただし、向上レイヤ符号化部14の動作が、ただ1レイヤの向上レイヤ映像に対してのみ遂行される動作ではなく、他のレイヤの向上レイヤ映像それぞれについても、同一の動作が適用される。
一実施形態による向上レイヤ符号化部14は、向上レイヤ映像を符号化するために、基本レイヤ映像を参照するインターレイヤ予測と、同一レイヤ映像を参照するインター予測と、を行うことができる。
インター予測やインターレイヤ予測は、参照される映像が、先に復元されていてこそ可能である。従って、現在レイヤにおいて、第1映像が最初に復号化されるのおいて、同一レイヤの他の映像が参照されなければならないのであるならば、第1映像の復号化が不可能である。従って、ランダムアクセスが可能なRAP映像は、同一レイヤの他の映像を参照せずに符号化されなければならない。一実施形態によって、RAP映像で、ランダムアクセスが発生する場合、同一レイヤで先に復元された映像がないとしても、RAP映像は、直ちに復号化されて出力される。
一実施形態によるマルチレイヤビデオ符号化装置10のマルチレイヤ予測構造により、第1レイヤ映像が復号化されている最中、レイヤ変換によって、第2レイヤ映像が復号化されもする。例えば、多視点映像構造で、視点(view)変換が発生したり、あるいは時間階層的予測構造で、時間階層の変換が発生したりする場合、マルチレイヤ予測構造でレイヤ変換が行われる。その場合にも、レイヤ変換地点では、先に復元された同一レイヤ映像が存在しないので、インター予測が不可能である。
以下、レイヤ変換地点で、レイヤ変換地点の映像が直ちに復号化されるようにするために、一実施形態によるマルチレイヤビデオ符号化装置10が、各レイヤごとに、レイヤ変換地点が特定されるマルチレイヤ予測構造によって、スケーラブルビデオ符号化を行う動作について詳細に説明する。
一実施形態によるマルチレイヤ予測構造では、基本レイヤ映像のうちRAP映像が存在すれば、向上レイヤ映像のうち基本レイヤRAP映像に対応する向上レイヤ映像を、基本レイヤRAP映像と同種のRAP映像と決定することができる。例えば、基本レイヤRAP映像がIDR映像であるならば、それに対応する向上レイヤ映像も、IDR映像と決定することができる。基本レイヤCRA映像に対応する向上レイヤ映像も、CRA映像と決定することができる。基本レイヤBLA映像に対応する向上レイヤ映像も、BLA映像と決定することができる。基本レイヤTSA映像に対応する向上レイヤ映像も、TSA映像と決定することができる。
また、基本レイヤRASL映像に対応する向上レイヤ映像も、RASL映像と決定することができる。
一実施形態による基本レイヤ符号化部12及び向上レイヤ符号化部14は、ナルユニット(nal unit)に、映像別符号化データを収録することができる。ナルユニットタイプ情報は、現在映像が、トレーリングピクチャ、TSA映像、STSA映像、RADL映像、RASL映像、BLA映像、IDR映像、CRA映像、VLA映像であるかということを示すことができる。
段階11で、一実施形態による基本レイヤ符号化部12は、基本レイヤ映像に対して、インター予測及びイントラ予測を行うことができる。基本レイヤ符号化部12は、基本レイヤRAP映像については、イントラ予測を行うことができる。基本レイヤ符号化部12は、基本レイヤRAP映像を参照し、少なくとも1つの基本レイヤ非RAP映像に対するインター予測を行うことができる。第1基本レイヤRAP映像より復元順序が後になる基本レイヤ映像に対して、第1基本レイヤRAP映像より復元順序が先立つ向上レイヤ映像を除いた少なくとも1つの向上レイヤ映像を参照し、インター予測が行われる。
段階13で、一実施形態による向上レイヤ符号化部14は、基本レイヤRAP映像に対応する地点の向上レイヤRAP映像を参照し、少なくとも1つの向上レイヤ映像に対するインター予測を行うことができる。また、向上レイヤ符号化部14は、先に復元された基本レイヤ映像を利用して、向上レイヤ映像に対するインターレイヤ予測も行うことができる。
一実施形態による基本レイヤ符号化部12は、基本レイヤIDR映像については、イントラ予測を行うことができる。基本レイヤ符号化部12は、基本レイヤIDR映像を参照し、少なくとも1つの基本レイヤ映像に対するインター予測を行うことができる。基本レイヤIDR映像より復元順序が後になる基本レイヤ映像に対して、先に復元された基本レイヤIDR映像を利用するインター予測が可能である。
一実施形態による向上レイヤ符号化部14は、基本レイヤIDR映像に対応する向上レイヤIDR映像のために、基本レイヤIDR映像を参照し、インターレイヤ予測を行うことができる。一実施形態による向上レイヤ符号化部14は、基本レイヤIDR映像に対応する地点の向上レイヤIDR映像を参照し、少なくとも1つの向上レイヤ映像に対するインター予測を行うことができる。また、向上レイヤIDR映像より復元順序が後になる向上レイヤ映像に対して、先に復元された向上レイヤIDR映像を利用するインター予測が行われる。
一実施形態による基本レイヤ符号化部12は、基本レイヤIDR映像のナルユニットに、IDR映像であるということを示すナルユニットタイプ情報を収録することができる。一実施形態による向上レイヤ符号化部14は、基本レイヤIDR映像に対応する向上レイヤ映像のナルユニットに、IDR映像であるということを示すナルユニットタイプ情報を収録することができる。
一実施形態による基本レイヤ符号化部12は、基本レイヤCRA映像に対して、イントラ予測を行うことができる。基本レイヤ符号化部12は、基本レイヤCRA映像より復元順序が後になる少なくとも1つの基本レイヤ映像に対して、基本レイヤCRA映像を参照するインター予測を行うことができる。基本レイヤCRA映像より復元順序が後になる映像は、基本レイヤCRA映像より復元順序が先立つか、あるいは再生順序が先立つ映像を利用することができない。
一実施形態による向上レイヤ符号化部14は、基本レイヤCRA映像に対応する向上レイヤCRA映像に対して、基本レイヤCRA映像を参照するインターレイヤ予測を行うことができる。一実施形態による向上レイヤ符号化部14は、基本レイヤCRA映像に対応する地点の向上レイヤCRA映像を参照し、少なくとも1つの向上レイヤ映像に対するインター予測を行うことができる。また、向上レイヤCRA映像より復元順序が後になる向上レイヤ映像に対して、先に復元された向上レイヤCRA映像を利用するインター予測が行われる。向上レイヤCRA映像より復元順序が後になる映像は、向上レイヤCRA映像より復元順序が先立つか、あるいは再生順序が先立つ映像を利用することができない。
一実施形態による基本レイヤ符号化部12は、基本レイヤCRA映像のナルユニットに、CRA映像であるということを示すナルユニットタイプ情報を収録することができる。一実施形態による向上レイヤ符号化部14は、基本レイヤCRA映像に対応する向上レイヤ映像のナルユニットに、CRA映像であるということを示すナルユニットタイプ情報を収録することができる。
一実施形態による基本レイヤ符号化部12は、基本レイヤBLA映像に対して、イントラ予測を行うことができる。基本レイヤ符号化部12は、基本レイヤBLA映像より復元順序が後になる少なくとも1つの基本レイヤ映像に対して、基本レイヤBLA映像を参照するインター予測を行うことができる。基本レイヤBLA映像より復元順序が後になる映像は、基本レイヤBLA映像より復元順序が先立つか、あるいは再生順序が先立つ映像を利用することができない。
一実施形態による向上レイヤ符号化部14は、基本レイヤBLA映像に対応する向上レイヤBLA映像に対して、基本レイヤBLA映像を参照するインターレイヤ予測を行うことができる。一実施形態による向上レイヤ符号化部14は、基本レイヤBLA映像に対応する地点の向上レイヤBLA映像を参照し、少なくとも1つの向上レイヤ映像に対するインター予測を行うことができる。また、向上レイヤBLA映像より復元順序が後になる向上レイヤ映像に対して、先に復元された向上レイヤBLA映像を利用するインター予測が行われる。向上レイヤBLA映像より復元順序が後になる映像は、向上レイヤBLA映像より復元順序が先立つか、あるいは再生順序が先立つ映像を利用することができない。
一実施形態による基本レイヤ符号化部12は、基本レイヤBLA映像のナルユニットに、BLA映像であるということを示すナルユニットタイプ情報を収録することができる。一実施形態による向上レイヤ符号化部14は、基本レイヤCRA映像に対応する向上レイヤ映像のナルユニットに、BLA映像であるということを示すナルユニットタイプ情報を収録することができる。
RAP映像より復元順序は後になるが、再生順序が先立つ映像を、LP映像(leading picture)とする。LP映像は、第1 RAP映像より復元順序が先立つ第2 RAP映像と第1 RAPとを共に参照するRASL映像と、第1 RAP映像だけ参照するRADL映像とのうち一つでもある。第1 RAP映像でランダムアクセスが発生する場合、RASL映像は、復号化されないが、RADL映像は、復号化される。
一実施形態による基本レイヤ符号化部12は、第1基本レイヤRAP映像と、第1基本レイヤRAP映像より復元順序が先立つ第2基本レイヤRAP映像とを参照し、基本レイヤRASL映像に対するインター予測を行うことができる。
一実施形態による向上レイヤ符号化部14は、基本レイヤRASL映像に対応する第1向上レイヤRASL映像に対して、第1基本レイヤRASL映像を参照するインターレイヤ予測を行うことができる。また、一実施形態による向上レイヤ符号化部14は、第1向上レイヤRAP映像と、前記第1向上レイヤRAP映像より復元順序が先立つ第2向上レイヤRAP映像とを参照し、一実施形態による向上レイヤRASL映像に対するインター予測を行うことができる。
一実施形態による基本レイヤ符号化部12は、基本レイヤRASL映像のナルユニットに、RASL映像であるということを示すナルユニットタイプ情報を収録することができる。一実施形態による向上レイヤ符号化部14は、基本レイヤRASL映像に対応する向上レイヤ映像のナルユニットに、RASL映像であるということを示すナルユニットタイプ情報を収録することができる。
一実施形態による基本レイヤ符号化部12は、第1基本レイヤRAP映像と、第1基本レイヤRAP映像より復元順序が先立つ第2基本レイヤRAP映像とを参照し、基本レイヤRADL映像に対するインター予測を行うことができる。
一実施形態による向上レイヤ符号化部14は、基本レイヤRADL映像に対応する第1向上レイヤRASL映像に対して、第1基本レイヤRADL映像を参照するインターレイヤ予測を行うことができる。また、一実施形態による向上レイヤ符号化部14は、第1向上レイヤRAP映像を参照し、一実施形態による向上レイヤRADL映像に対するインター予測を行うことができる。
一実施形態による基本レイヤ符号化部12は、基本レイヤRADL映像のナルユニットに、RADL映像であるということを示すナルユニットタイプ情報を収録することができる。一実施形態による向上レイヤ符号化部14は、基本レイヤRADL映像に対応する向上レイヤ映像のナルユニットに、RADL映像であるということを示すナルユニットタイプ情報を収録することができる。
他の実施形態による向上レイヤ符号化部14は、向上レイヤ映像のうち、第1向上レイヤVLA(view layer access)映像を決定することができる。向上レイヤVLA映像に対応する基本レイヤ映像は、RAP映像及び非RAP映像のうち一つでもある。すなわち、VLA映像に対応する他のレイヤ映像は、RAP映像ではない。向上レイヤ符号化部14は、基本レイヤ映像を参照し、向上レイヤVLA映像に対して、インターレイヤ予測を行うことができる。向上レイヤ符号化部14は、VLA映像のために、同一レイヤの他の映像を参照するインター予測を排除し、インターレイヤ予測のみを行うことができる。
他の実施形態によって、向上レイヤVLA映像より復元順序が後になる向上レイヤ映像のインター予測のために、向上レイヤVLA映像に対して、復元順序及び再生順序が後になるか、あるいはそれと同じである向上レイヤ映像のうち少なくとも一つが参照される。他の実施形態によって、向上レイヤVLA映像より復元順序が後になる向上レイヤ映像は、向上レイヤVLA映像より復元順序が先立つか、あるいは再生順序が先立つ向上レイヤ映像を利用することができない。復元順序上、VLA映像より先立つ映像は、再生順序上でも、VLA映像に先立つことができる。
一実施形態による基本レイヤ符号化部12は、第1基本レイヤノーマル映像に対して、インター予測を行うことができる。ノーマル映像は、RAP映像でもなく、RASL映像でもない映像を示す。一実施形態による向上レイヤ符号化部12は、第1基本レイヤノーマル映像に対応する第1向上レイヤ映像を、第1向上レイヤCRA映像、第1向上レイヤRASL映像及び第1向上レイヤノーマル映像のうち一つに決定することができる。一実施形態による向上レイヤ符号化部12は、第1向上レイヤノーマル映像に対して、第1基本レイヤノーマル映像を参照するインターレイヤ予測、及び向上レイヤRAP映像を参照するインター予測を行うことができる。
一実施形態によって、第1基本レイヤRAP映像から復号化が始まる場合、第1基本レイヤRAP映像より復元順序が先立つ基本レイヤRASL映像に対する復号化は、省略される。一実施形態によって、復号化が省略された基本レイヤ映像に対応する向上レイヤ映像に対する復号化も、省略される。
他の実施形態によって、マルチレイヤビデオ符号化装置10が、時間階層的予測構造による場合、向上レイヤ符号化部12は、向上レイヤ映像の時間階層識別番号より下位階層の時間階層識別番号が割り当てられた第1基本レイヤ映像を参照し、第1向上レイヤ映像に対するインターレイヤ予測を行うことができる。
従って、一実施形態によるマルチレイヤビデオ符号化装置10によれば、基本レイヤ映像と、向上レイヤ映像とのインターレイヤ予測、及びレイヤ間に対して同期化された出力を保証するために、互いに同じ再生順序POC(picture order count)が割り当てられた基本レイヤ映像と、向上レイヤ映像とのインターレイヤ予測が行われる。
また、ランダムアクセス地点または視点変換が発生し、基本レイヤRASL映像で復元が省略される場合にも、基本レイヤRASL映像に互いに相応する向上レイヤRASL映像で、復元が省略される。
図2Aは、本発明の一実施形態によるマルチレイヤビデオ復号化装置のブロック図を図示している。
一実施形態によるマルチレイヤビデオ復号化装置20は、基本レイヤ復号化部22及び向上レイヤ復号化部24を含む。
一実施形態によるマルチレイヤビデオ復号化装置20は、基本レイヤストリーム及び向上レイヤストリームを受信する。マルチレイヤビデオ復号化装置20が、スケーラブル・ビデオコーディング方式によって、基本階層ストリームとして、基本レイヤ映像の符号化データが収録された基本レイヤストリームを受信し、向上階層ストリームとして、向上レイヤ映像の符号化データが収録された向上レイヤストリームを受信することができる。
一実施形態によるマルチレイヤビデオ復号化装置20は、多数のレイヤストリームをスケーラブル・ビデオコーディング(scalable video coding)方式によって、復号化することもできる。一実施形態によるマルチレイヤビデオ符号化装置10は、基本レイヤストリームを復号化し、基本レイヤ映像を復元し、向上レイヤストリームを復号化し、向上レイヤ映像を復元することができる。
例えば、多視点ビデオがスケーラブル・ビデオコーディング方式によって符号化される。例えば、基本レイヤストリームを復号化し、中央視点映像が復元される。基本レイヤストリームに、第1向上レイヤストリームをさらに復号化し、左視点映像が復元される。基本レイヤストリームに、第2向上レイヤストリームをさらに復号化し、右視点映像が復元される。
他の例として、時間階層的予測によって、スケーラブル・ビデオコーディング方式が遂行される。基本レイヤストリームを復号化し、基本フレームレートの映像が復元される。基本レイヤストリームに、向上レイヤストリームをさらに復号化し、高速フレームレートの映像が復元される。
また、向上レイヤが3以上である場合、最初の向上レイヤストリームから、最初の向上レイヤに係わる最初の向上レイヤ映像が復元され、2番目の向上レイヤストリームをさらに復号化すれば、2番目の向上レイヤ映像がさらに復元される。最初の向上レイヤストリームに、K番目の向上レイヤストリームをさらに復号化すれば、K番目の向上レイヤ映像がさらに復元される。
一実施形態によるマルチレイヤビデオ復号化装置20は、ビデオのそれぞれの映像のブロック別に復号化する。一実施形態によるブロックは、ツリー構造による符号化単位のうちでは、最大符号化単位、符号化単位、予測単位、変換単位などでもある。
一実施形態によるマルチレイヤビデオ復号化装置20は、基本レイヤストリーム及び向上レイヤストリームから、基本レイヤ映像及び向上レイヤ映像の符号化されたデータを獲得し、さらに、インター予測によって生成されたモーションベクトル、及びインターレイヤ予測によって生成された変移情報をさらに獲得することができる。
例えば、一実施形態によるマルチレイヤビデオ復号化装置20は、各レイヤ別に、インター予測されたデータを復号化し、多数レイヤ間でインターレイヤ予測されたデータを復号化することができる。一実施形態による符号化単位または予測単位を基に、動き補償(motion compensation)、及びインターレイヤ復号化を介した復元が行われる。
各レイヤストリームについては、同一レイヤのインター予測を介して予測された映像を相互参照する動き補償を行い、映像を復元することができる。動き補償は、現在映像のモーションベクトルを利用して決定された参照映像と、現在映像の残差成分とを合成し、現在映像の復元映像を再構成する動作を意味する。
また、一実施形態によるマルチレイヤビデオ復号化装置20は、インターレイヤ予測を介して予測された向上レイヤ映像を復元するために、基本レイヤ映像を参照し、インターレイヤ復号化を行うこともできる。インターレイヤ復号化は、現在映像の変移情報を利用して決定された異なるレイヤの参照映像と、現在映像の残差成分とを合成し、現在映像の復元映像を再構成する動作を意味する。
一実施形態によるマルチレイヤビデオ復号化装置20は、最初の向上レイヤ映像を参照して予測された2番目の向上レイヤ映像を復元するためのインターレイヤ復号化を行うこともできる。
一実施形態による、基本レイヤ映像及び向上レイヤ映像は、ランダムアクセスが可能な地点であるRAP映像を含んでもよい。以下、基本レイヤ復号化部22と、向上レイヤ復号化部24との具体的な復号化過程について詳細に説明する。
一実施形態による基本レイヤ復号化部22は、受信された基本レイヤストリームを復号化し、基本レイヤ映像を復元する。具体的には、基本レイヤストリームをパージングして抽出されたシンボルに対して、エントロピー復号化、逆量子化、逆変換を行い、基本レイヤ映像の残差成分が復元される。
基本レイヤ復号化部22は、基本レイヤ映像の量子化された変換係数のビットストリームを直接受信することもできる。量子化された変換係数に対して、逆量子化、逆変換を行った結果、基本レイヤ映像の残差成分が復元される。基本レイヤ復号化部22は、基本レイヤ映像を相互参照する動き補償を介して、基本レイヤ映像を復元することができる。
一実施形態による基本レイヤ復号化部22は、基本レイヤストリームのうち、Iタイプである基本レイヤRAP映像の量子化された変換係数を復号化し、基本レイヤRAP映像を復元することができる。一実施形態による基本レイヤ復号化部22は、基本レイヤ映像のうち、Iタイプである基本レイヤRAP映像は、他の基本レイヤ映像を参照せずに復元することができる。一実施形態による基本レイヤ復号化部22は、同一ピクチャ内で、現在ブロックの周辺ピクセルを利用するイントラ予測を介して、Iタイプである基本レイヤRAP映像のブロックのピクセルを復元することもできる。
また、基本レイヤ復号化部22は、基本レイヤ映像のうち基本レイヤRAP映像を除いた基本レイヤ映像については、他の基本レイヤ映像を参照する動き補償を介して、基本レイヤ映像を復元することができる。基本レイヤ復号化部22は、基本レイヤRAP映像を除いた基本レイヤ映像の残差成分を復元し、基本レイヤ映像のうち参照映像を決定し、参照映像を残差成分ほど補償することにより、基本レイヤ映像を復元することができる。
一実施形態による向上レイヤ復号化部24は、向上レイヤストリームを復号化し、向上レイヤ映像を復元する。具体的には、向上レイヤストリームをパージングして抽出されたシンボルに対して、エントロピー符号化、逆量子化、逆変換を行い、ブロック別残差成分が復元される。向上レイヤ復号化部24は、残差成分の量子化された変換係数のビットストリームを直接受信し、ビットストリームに対して逆量子化、逆変換を行い、残差成分が復元される。
一実施形態による向上レイヤ復号化部24は、向上レイヤストリームを復号化するために、基本レイヤストリームから復元された基本レイヤ映像を参照する動き補償と、同一レイヤ映像を参照するインターレイヤ復号化とを介して、向上レイヤ映像を復元することができる。
一実施形態による向上レイヤ復号化部24は、基本レイヤ復号化部22で復元された基本レイヤ映像を参照するインターレイヤ復号化を介して、向上レイヤ映像を復元することができる。所定向上レイヤについては、基本レイヤ映像だけでなく、現在向上レイヤではない他の向上レイヤの映像も参照するインターレイヤ復号化を介して、現在向上レイヤ映像が復元される。
動き補償やインターレイヤ復号化は、参照される映像が先に復元されてこそ可能である。ただし、ランダムアクセスが可能なRAP映像は、同一レイヤの他の映像を参照しない。従って、一実施形態によって、RAP映像でランダムアクセスが発生する場合、同一レイヤで、先に復元された映像がないとしても、RAP映像は、直ちに復号化される。一実施形態によるマルチレイヤ予測構造では、基本レイヤ映像のうちRAP映像が存在すれば、向上レイヤ映像のうち、基本レイヤRAP映像に対応する向上レイヤRAP映像が復元される。
また、向上レイヤ復号化部24は、同一レイヤである向上レイヤ映像を参照する動き補償を行い、向上レイヤ映像を復元することができる。特に、一実施形態による向上レイヤ復号化部24は、同一レイヤである向上レイヤRAP映像を参照する動き補償を介して、向上レイヤ映像を復元することができる。
向上レイヤ復号化部24は、RAP映像ではない向上レイヤ映像のために、他のレイヤ映像を参照するインターレイヤ復号化と、同一レイヤ映像を参照する動き補償とを介して、向上レイヤ映像を復元することができる。
具体的には、向上レイヤ復号化部24は、向上レイヤストリームを復号化し、向上レイヤRAP映像を除いた向上レイヤ映像の動きベクトルと、残差成分とを獲得することができる。向上レイヤ復号化部24は、動きベクトルを利用して、同一レイヤ映像のうち参照映像を決定し、参照映像を残差成分ほど補償することにより、向上レイヤ映像を復元することができる。現在映像の現在ブロックの動きベクトルを利用して、参照映像のうち参照ブロックが決定される。
具体的には、向上レイヤ復号化部24は、向上レイヤストリームを復号化し、向上レイヤRAP映像を除いた向上レイヤ映像の変移情報と、残差成分とを獲得することができる。向上レイヤ復号化部24は、変移情報を利用して、他のレイヤ映像のうち参照映像を決定し、参照映像を残差成分ほど補償することにより、向上レイヤ映像を復元することができる。
一実施形態による向上レイヤ復号化部24は、多数の向上レイヤストリームを復号化する場合には、各レイヤ別に、向上レイヤストリームを復号化し、各レイヤ別に、向上レイヤ映像を復元することができる。以下、説明の便宜のために、一実施形態による向上レイヤ復号化部24の符号化動作は、1レイヤの向上レイヤストリームに係わる動作として記述する。ただし、向上レイヤ復号化部24の動作は、ただ1つのレイヤの向上レイヤストリームに対してのみ遂行される動作ではなく、他のレイヤストリームそれぞれについても、同一の動作が遂行される。
一実施形態による向上レイヤ復号化部24は、向上レイヤ映像を復元するために、基本レイヤ映像を参照するインターレイヤ復号化と、同一レイヤ復元映像を参照する動き補償とを行うことができる。
一実施形態によるマルチレイヤビデオ復号化装置20のマルチレイヤ予測構造により、第1レイヤストリームが復号化されている最中に、レイヤ変換によって、第2レイヤストリームが復号化される。例えば、多視点映像構造で、視点変換が発生したり、あるいは時間階層的予測構造で、時間階層の変換が発生する場合、マルチレイヤ予測構造で、レイヤ変換が行われる。その場合にも、レイヤ変換地点では、先に復元された同一レイヤ映像が存在しないので、インター予測が不可能である。
一実施形態によって、RAP映像でランダムアクセスまたはレイヤ変換が発生する場合、各レイヤ別に相応する映像を共に復元されるべきである。以下、一実施形態によるマルチレイヤビデオ復号化装置20が、各レイヤごとにレイヤ変換地点が特定されるマルチレイヤ予測構造によって、スケーラブルビデオ復号化を行う動作について詳細に説明する。
一実施形態によるマルチレイヤ予測構造では、基本レイヤ映像のうちRAP映像が存在すれば、向上レイヤ映像のうち、基本レイヤRAP映像に対応する向上レイヤ映像を、基本レイヤRAP映像と同種のRAP映像と決定することができる。例えば、基本レイヤRAP映像がIDR映像であるならば、それに対応する向上レイヤ映像も、IDR映像と決定することができる。基本レイヤCRA映像に対応する向上レイヤ映像も、CRA映像と決定することができる。基本レイヤBLA映像に対応する向上レイヤ映像も、BLA映像と決定することができる。基本レイヤTSA映像に対応する向上レイヤ映像も、TSA映像と決定することができる。
また、基本レイヤRASL映像に対応する向上レイヤ映像も、RASL映像と決定することができる。
一実施形態による基本レイヤ複花部22及び向上レイヤ復号化部24は、ナルユニットごとに、映像別符号化データを獲得することができる。ナルユニットタイプ情報をパージングし、現在映像がトレーリングピクチャ、TSA映像、STSA映像、RADL映像、RASL映像、BLA映像、IDR映像、CRA映像、VLA映像であるかということを決定することができる。
段階21で、一実施形態による基本レイヤ復号化部22は、基本レイヤストリームに対して、動き補償及びイントラ復号化を行い、基本レイヤ映像を復元することができる。基本レイヤ復号化部22は、イントラ復号化を介して、基本レイヤRAP映像を復元することができる。基本レイヤ復号化部22は、基本レイヤRAP映像を参照し、少なくとも1つの基本レイヤ非RAP映像のための動き補償を行うことができる。第1基本レイヤRAP映像より復元順序が先立つ向上レイヤ映像を除いた少なくとも1つの向上レイヤ映像を参照し、第1基本レイヤRAP映像より復元順序が後になる基本レイヤ映像のための動き補償が行われる。
段階23で、一実施形態による向上レイヤ復号化部24は、基本レイヤRAP映像に対応する地点の向上レイヤRAP映像のためのインターレイヤ復号化を行うことができる。先に復元された基本レイヤRAP映像を参照したインターレイヤ復号化を介して、向上レイヤRAP映像が復元される。また、向上レイヤ復号化部24は、向上レイヤRAP映像を利用して、向上レイヤ映像に対する動き補償も行うことができる。
一実施形態による基本レイヤ復号化部22は、基本レイヤIDR映像のために、イントラ復号化を行うことができる。基本レイヤ復号化部22は、基本レイヤIDR映像を参照するインター予測を行い、少なくとも1つの基本レイヤ映像を復元することができる。基本レイヤIDR映像より復元順序が後になる基本レイヤ映像のためには、基本レイヤIDR映像を利用する動き補償が行われる。
一実施形態による向上レイヤ復号化部24は、基本レイヤIDR映像に対応する向上レイヤIDR映像を復元するために、基本レイヤIDR映像を参照し、インターレイヤ復号化を行うことができる。一実施形態による向上レイヤ復号化部24は、基本レイヤIDR映像に対応する地点の向上レイヤIDR映像を参照し、少なくとも1つの向上レイヤ映像に対するインター予測を行うことができる。また、向上レイヤIDR映像より復元順序が後になる向上レイヤ映像に対して、先に復元された向上レイヤIDR映像を利用するインター予測が行われる。
一実施形態による基本レイヤ復号化部22は、ナルユニットから、IDR映像であるということを示すナルユニットタイプ情報を獲得し、現在映像がIDR映像であるということを決定することができる。一実施形態による向上レイヤ復号化部24は、基本レイヤIDR映像に対応する向上レイヤ映像のナルユニットから、IDR映像であるということを示すナルユニットタイプ情報を獲得することができる。
一実施形態による基本レイヤ復号化部22は、基本レイヤCRA映像を復元するために、イントラ復号化を行うことができる。基本レイヤ復号化部22は、基本レイヤCRA映像より復元順序が後になる少なくとも1つの基本レイヤ映像を復元するために、基本レイヤCRA映像を参照する動き補償を行うことができる。基本レイヤCRA映像より復元順序が後になる映像は、基本レイヤCRA映像より復元順序が先立つか、あるいは再生順序が先立つ映像を利用することができない。
一実施形態による向上レイヤ復号化部24は、基本レイヤCRA映像に対応する向上レイヤCRA映像を復元するために、基本レイヤCRA映像を参照するインターレイヤ復号化を行うことができる。一実施形態による向上レイヤ復号化部24は、向上レイヤストリームのうち、基本レイヤCRA映像に対応する地点の向上レイヤCRA映像を復号化することができる。向上レイヤ復号化部24は、少なくとも1つの向上レイヤ映像を復元するために、向上レイヤCRA映像を参照する動き補償を行うことができる。また、向上レイヤCRA映像より復元順序が後になる向上レイヤ映像を復元するために、向上レイヤストリームのうち、先に復元された向上レイヤCRA映像を利用する動き補償が行われる。向上レイヤCRA映像より復元順序が後になる映像は、向上レイヤCRA映像より復元順序が先立つか、あるいは再生順序が先立つ映像を利用することができない。
一実施形態による基本レイヤ復号化部22は、ナルユニットから、CRA映像であるということを示すナルユニットタイプ情報を獲得し、現在映像がCRA映像であるということを決定することができる。一実施形態による向上レイヤ復号化部24は、基本レイヤCRA映像に対応する向上レイヤ映像のナルユニットから、CRA映像であるということを示すナルユニットタイプ情報を獲得することができる。
一実施形態による基本レイヤ復号化部22は、基本レイヤストリームのうち、ランダムアクセスが可能な地点に対して、イントラ復号化を行い、基本レイヤBLA映像を復元することができる。基本レイヤ復号化部22は、基本レイヤBLA映像より復元順序が後になる少なくとも1つの基本レイヤ映像のために、基本レイヤBLA映像を参照する動き補償を行うことができる。基本レイヤBLA映像より復元順序が後になる映像は、基本レイヤBLA映像より復元順序が先立つか、あるいは再生順序が先立つ映像を利用することができない。
一実施形態による向上レイヤ復号化部24は、基本レイヤBLA映像に対応する向上レイヤBLA映像を復元するために、基本レイヤBLA映像を参照するインターレイヤ復号化が行われる。一実施形態による向上レイヤ復号化部24は、向上レイヤストリームのうち、基本レイヤBLA映像に対応する地点に対して、インターレイヤ復号化を行い、向上レイヤBLA映像を復元することができる。また、向上レイヤBLA映像を参照し、少なくとも1つの向上レイヤ映像のための動き補償を行うことができる。また、向上レイヤBLA映像より復元順序が後になる向上レイヤ映像を復元するために、向上レイヤBLA映像を利用する動き補償が行われる。向上レイヤBLA映像より復元順序が後になる映像は、向上レイヤBLA映像より復元順序が先立つか、あるいは再生順序が先立つ映像を利用することができない。
一実施形態による基本レイヤ復号化部22は、ナルユニットから、BLA映像であるということを示すナルユニットタイプ情報を獲得し、現在映像がBLA映像であるということを決定することができる。一実施形態による向上レイヤ復号化部24は、基本レイヤBLA映像に対応する向上レイヤ映像のナルユニットから、BLR映像であるということを示すナルユニットタイプ情報を獲得することができる。
一実施形態による基本レイヤ復号化部22は、第1基本レイヤRAP映像と、第1基本レイヤRAP映像より復元順序が先立つ第2基本レイヤRAP映像とを参照し、基本レイヤRASL映像のための動き補償を行うことができる。
一実施形態による向上レイヤ復号化部24は、向上レイヤストリームのうち、基本レイヤRASL映像に対応する地点のため、に第1基本レイヤRASL映像を参照するインターレイヤ復号化を行い、第1向上レイヤRASL映像を復元することができる。また、一実施形態による向上レイヤ復号化部24は、第1向上レイヤRAP映像と、第1向上レイヤRAP映像より復元順序が先立つ第2向上レイヤRAP映像とを参照し、一実施形態による第1向上レイヤRASL映像のための動き補償を行うことができる。
他の実施形態による向上レイヤ復号化部24は、向上レイヤ映像のうち第1向上レイヤVLA映像を決定することができる。向上レイヤVLA映像に対応する基本レイヤ映像は、RAP映像及び非RAP映像のうち一つでもある。すなわち、VLA映像に対応する他のレイヤ映像は、RAP映像ではない。向上レイヤ復号化部24は、向上レイヤVLA映像を復元するために、基本レイヤ映像を参照するインターレイヤ復号化を行うことができる。向上レイヤVLA映像を復元するために、同一レイヤ映像を参照するインター予測は、遂行されない。
他の実施形態によって、向上レイヤVLA映像より復元順序が後になる向上レイヤ映像のインター予測のために、向上レイヤVLA映像に対して、復元順序及び再生順序が後になるか、あるいはそれと同じである向上レイヤ映像のうち少なくとも一つが参照される。他の実施形態によって、向上レイヤVLA映像より復元順序が後になる向上レイヤ映像は、向上レイヤVLA映像より復元順序が先立つか、あるいは再生順序が先立つ向上レイヤ映像を利用することができない。復元順序上、VLA映像より先立つ映像は、再生順序上でも、VLA映像に先立つ。現在VLA映像に対するRASL映像が、以前VLA映像も参照する場合、RASL映像は、正確に復号化されない。特に、現在VLA映像でレイヤ変換が発生するならば、RASL映像は、復元せずに無視することができる。
一実施形態による向上レイヤ復号化部24は、基本レイヤVLA映像に対応する向上レイヤ映像のナルユニットから、VLA映像であるということを示すナルユニットタイプ情報を獲得することができる。
一実施形態による基本レイヤ復号化部22は、第1基本レイヤノーマル映像に対して、動き補償を行うことができる。一実施形態による向上レイヤ復号化部22は、第1基本レイヤ映像に対応する第1向上レイヤ映像を、第1向上レイヤCRA映像、第1向上レイヤRASL映像及び第1向上レイヤノーマル映像のうち一つに決定することができる。一実施形態による向上レイヤ復号化部22は、第1基本レイヤノーマル映像を参照するインターレイヤ予測、及び向上レイヤRAP映像を参照する動き補償を介して、第1向上レイヤノーマル映像を復元することができる。
一実施形態による基本レイヤ復号化部22は、第1基本レイヤRAP映像から復号化を始める場合、第1基本レイヤRAP映像より復元順序が先立つ基本レイヤRASL映像に対する復号化を省略することができる。一実施形態による基本レイヤ復号化部22は、復号化が省略された基本レイヤ映像に対応する向上レイヤ映像に対する復号化も省略することができる。
例えば、基本レイヤストリームに係わり、ランダムアクセスが発生した地点の次に、最も近い第1基本レイヤIDR映像が復元される。第1基本レイヤRASL映像が、第1基本レイヤIDR映像より復元順序が後になるが、第1基本レイヤIDR映像より復元順序が先立つ映像を参照するので、第1基本レイヤRASL映像は、復号化されない。それにより、第1基本レイヤRASL映像に対応する向上レイヤRASL映像も、復号化されないこともある。
例えば、基本レイヤストリームに係わって、ランダムアクセスが発生した地点以後、またはストリーム編集地点以後、最も近い第1基本レイヤCRA映像(または、BLA映像)が復元される。第1基本レイヤRASL映像が、第1基本レイヤCRA映像(またはBLA映像)より復元順序が後になるが、第1基本レイヤCRA映像(またはBLA映像)より復元順序が先立つか、あるいは再生順序が先立つ映像を参照するので、第1基本レイヤRASL映像は、復号化されない。それにより、第1基本レイヤRASL映像に対応する向上レイヤRASL映像も復号化されない。
例えば、基本レイヤストリームにおいて、視点変換が発生した地点以後、最も近い第1基本レイヤVLA映像が復元される。第1基本レイヤRASL映像が、第1基本レイヤVLA映像より復元順序が後になるが、第1基本レイヤVLA映像より復元順序が先立つか、あるいは再生順序が先立つ映像を参照するので、第1基本レイヤRASL映像は、復号化されない。それにより、第1基本レイヤRASL映像に対応する向上レイヤRASL映像も復号化されない。
一実施形態による基本レイヤ復号化部22は、ナルユニットから、RASL映像であるということを示すナルユニットタイプ情報を獲得し、現在映像がRASL映像であるということを決定することができる。一実施形態による向上レイヤ復号化部24は、基本レイヤRASL映像に対応する向上レイヤ映像のナルユニットから、RASL映像であるということを示すナルユニットタイプ情報を獲得することができる。
同様に、一実施形態による基本レイヤ復号化部22は、ナルユニットから、RADL映像であるということを示すナルユニットタイプ情報を獲得し、現在映像が、RADL映像であるということを決定することができる。一実施形態による向上レイヤ復号化部24は、基本レイヤRADL映像に対応する向上レイヤ映像のナルユニットから、RADL映像であるということを示すナルユニットタイプ情報を獲得することができる。
他の実施形態によって、マルチレイヤビデオ復号化装置20が時間階層的予測構造による場合、向上レイヤ復号化部22は、向上レイヤ映像の時間階層識別番号より下位階層の時間階層識別番号が割り当てられた第1基本レイヤ映像を参照し、第1向上レイヤ映像のためのインターレイヤ復号化を行うことができる。それにより、基本レイヤ映像から、低速フレームレートの映像が復元され、向上レイヤ映像から、高速フレームレートの映像が復元される。
また、一実施形態によるマルチレイヤビデオ復号化装置20によれば、互いに同じ再生順序POCが割り当てられた基本レイヤ映像と、向上レイヤ映像との間でインターレイヤ復号化を行うことにより、基本レイヤ映像と向上レイヤ映像との同期化された出力が保証される。
図3は、一実施形態によるインターレイヤ予測構造を図示している。
インターレイヤ符号化システム1600は、基本レイヤ符号化端1610及び向上レイヤ符号化端1660、並びに基本レイヤ符号化端1610と向上レイヤ符号化端1660との間のインターレイヤ予測端1650から構成される。基本レイヤ符号化端1610及び向上レイヤ符号化端1660は、それぞれ基本レイヤ符号化部12及び向上レイヤ符号化部14の具体的な構成を図示することができる。
基本レイヤ符号化端1610は、基本レイヤ映像シーケンスを入力され、映像ごとに符号化する。向上レイヤ符号化端1660は、向上レイヤ映像シーケンスを入力され、映像ごとに符号化する。基本レイヤ符号化端1610と向上レイヤ符号化端1660との動作のうち重複する動作は、同時に後述する。
ブロック分割部1618,1668を介して、入力映像(低解像度映像、高解像度映像)は、最大符号化単位、符号化単位、予測単位、変換単位などに分割される。ブロック分割部1618,1668から出力された符号化単位の符号化のために、符号化単位の予測単位別に、イントラ予測またはインター予測が行われる。予測スイッチ1648,1698は、予測単位の予測モードが、イントラ予測モードまたはインター予測モードであるかということにより、動き補償部1640,1690から出力された以前復元映像を参照し、インター予測が行われるか、あるいはイントラ予測部1645,1695から出力された現在入力映像内で、現在予測単位の隣接予測単位を利用して、イントラ予測が行われる。インター予測を介して、予測単位別にレジデュアル情報が生成される。
符号化単位の予測単位別に、予測単位と周辺映像とのレジデュアル情報が、変換/量子化部1620,1670に入力される。変換/量子化部1620,1670は、符号化単位の変換単位を基に、変換単位別に変換及び量子化を行い、量子化された変換係数を出力することができる。
スケーリング/逆変換部1625,1675は、さらに符号化単位の変換単位別に、量子化された変換係数に対してスケーリング及び逆変換を行い、空間領域のレジデュアル情報を生成することができる。予測スイッチ1648,1698によって、インターモードで制御される場合、レジデュアル情報は、以前復元映像または隣接予測単位と合成されることにより、現在予測単位を含む復元映像が生成され、現在復元映像は、ストレージ1630,1680に保存される。現在復元映像は、さらに次に符号化される予測単位の予測モードによって、イントラ予測部1645,1695/動き補償部1640,1690に伝達される。
特に、インターモードである場合、インループ・フィルタリング(in-loopfiltering)部1635,1685は、ストレージ1630,1680に保存された復元映像に対して、符号化単位別にデブロッキング・フィルタリング及びSAO(sample adaptive offset)フィルタリングのうち少なくとも1つのフィルタリングを行うことができる。符号化単位及び符号化単位に含まれた予測単位及び変換単位のうち少なくとも一つに対して、デブロッキング・フィルタリング及びSAOフィルタリングのうち少なくとも1つのフィルタリングが行われる。
デブロッキング・フィルタリングは、データ単位のブロッキング現象を緩和させるためのフィルタリングであり、SAOフィルタリングは、データ符号化及びデータ復号化によって変形されるピクセル値を補償するためのフィルタリングである。インループ・フィルタリング部1635,1685によってフィルタリングされたデータは、予測単位別に、動き補償部1640,1690に伝達される。さらに、ブロック分割部1618,1668から出力された、次の順序の符号化単位の符号化のために、動き補償部1640,1690及びブロック分割部1618,1668が出力した現在復元映像と次符号化単位とのレジデュアル情報が生成される。
そのように、入力映像の符号化単位ごとに、前述の符号化動作が反復される。
また、インターレイヤ予測のために、向上レイヤ符号化端1660は、基本レイヤ符号化端1610のストレージ1630に保存された復元映像を参照することができる。基本レイヤ符号化端1610の符号化コントロール部1615は、基本レイヤ符号化端1610のストレージ1630を制御し、基本レイヤ符号化端1610の復元映像を、向上レイヤ符号化端1660に伝達する。インターレイヤ予測端1650では、インループ・フィルタリング部1655が、基本レイヤ符号化端1610のストレージ1610から出力された基本レイヤ復元映像に対して、デブロッキング・フィルタリング、SAOフィルタリング及びALFフィルタリングのうち少なくとも一つを行うことができる。インターレイヤ予測端1650は、基本レイヤと向上レイヤとの映像で解像度が異なる場合、基本レイヤの復元映像をアップサンプリングし、向上レイヤ符号化端1660に伝達する。向上レイヤ符号化端1660のスイッチ1698の制御によって、インターレイヤ予測が行われる場合には、インターレイヤ予測端1650を介して伝達された基本レイヤ復元映像を参照し、向上レイヤ映像のインターレイヤ予測が行われもする。
映像の符号化のために、符号化単位、予測単位、変換単位のための各種符号化モードを設定することができる。例えば、符号化単位に対する符号化モードとして、深度または分割情報(split flag)などが設定される。予測単位に対する符号化モードとして、予測モード、パーティションタイプ、イントラ方向情報、参照リスト情報などが設定される。変換単位に対する符号化モードとして、変換深度または分割情報などが設定される。
基本レイヤ符号化端1610は、符号化単位のための多様な深度、予測単位に対する多様な予測モード、多様なパーティションタイプ、多様なイントラ方向、多様な参照リスト、変換単位のための多様な変換深度をそれぞれ適用して符号化を行った結果により、符号化効率が最も高い符号化深度、予測モード、パーティションタイプ、イントラ方向/参照リスト、変換深度などを決定することができる。基本レイヤ符号化端1610で決定される前記列挙された符号化モードに限定されるものではない。
基本レイヤ符号化端1610の符号化コントロール部1615は、それぞれ構成要素の動作に、多様な符号化モードが適切に適用されるように制御することができる。また、符号化コントロール部1615は、向上レイヤ符号化端1660のインターレイヤ符号化のために、向上レイヤ符号化端1660が、基本レイヤ符号化端1610の符号化結果を参照し、符号化モードまたはレジデュアル情報を決定するように制御することができる。
例えば、向上レイヤ符号化端1660は、基本レイヤ符号化端1610の符号化モードを、向上レイヤ映像のための符号化モードとして、そのまま利用するか、あるいは基本レイヤ符号化端1610の符号化モードを参照し、向上レイヤ映像のための符号化モードを決定することができる。基本レイヤ符号化端1610の符号化コントロール部1615は、基本レイヤ符号化端1610の向上レイヤ符号化端1660の符号化コントロール部1665の制御信号を制御し、向上レイヤ符号化端1660が、現在符号化モードを決定するために、基本レイヤ符号化端1610の符号化モードから、現在符号化モードを利用することができる。
図3に図示されたインターレイヤ予測方式によるマルチレイヤ符号化システム1600と同様に、インターレイヤ予測方式によるインターレイヤ復号化システムも、具現される。すなわち、マルチレイヤビデオのインターレイヤ復号化システムは、基本レイヤビットストリーム及び向上レイヤビットストリームを受信することができる。インターレイヤ復号化システムの基本レイヤ復号化端で、基本レイヤビットストリームを復号化し、基本レイヤ映像を復元することができる。マルチレイヤビデオのインターレイヤ復号化システムの向上レイヤ復号化端では、基本レイヤ復元映像と、パージングした符号化情報とを利用して、向上レイヤビットストリームを復号化し、向上レイヤ映像を復元することができる。
図4Aは、マルチレイヤ映像のマルチレイヤ予測構造40を図示している。図4Aに図示されたマルチレイヤ予測構造40では、映像が再生順序POCによって配列されている。マルチレイヤ予測構造40の再生順序及び復元順序によれば、横方向に、同一レイヤの映像が配列されている。
また、縦方向にPOC値の同一の映像が配列される。映像のPOC値は、ビデオを構成する映像の再生順序を示す。マルチレイヤ予測構造40で表示されている「POC X」は、当該列(column)に位置した映像の相対的な再生順序を示し、Xの数字が小さいほど再生順序が先立ち、大きくなるほど再生順序が後になる。
従って、マルチレイヤ予測構造40の再生順序によれば、各レイヤ映像が、POC値(再生順序)によって横方向に配列されている。また、基本レイヤ映像と同一の列に位置した第1向上レイヤ映像及び第2向上レイヤ映像は、いずれもPOC値(再生順序)が同一である映像である。
各レイヤ別に、4個の連続映像が1つのGOP(group of picture)を構成している。各GOPは,連続するアンカーピクチャ間の映像と,1つのアンカーピクチャとを含む。
アンカーピクチャは、ランダムアクセスポイント(RAP:random access point)であり、ビデオを再生するとき、映像の再生順序、すなわち、POC値によって配列された映像のうち任意に再生位置が選択されれば、再生位置でPOC順序が最も隣接するアンカーピクチャが再生される。基本レイヤ映像は、基本レイヤアンカーピクチャ41,42,43,44,45を含み、第1向上レイヤ映像は、第1向上レイヤアンカーピクチャ141,142,143,144,145を含み、第2向上レイヤ映像は、第2向上レイヤアンカーピクチャ241,242,243,244,245を含む。
マルチレイヤ映像は、GOP順に再生され、予測(復元)される。まず、図4Aのマルチレイヤ予測構造40の再生順序及び復元順序によれば、各レイヤ別に、GOP 0に含まれた映像が復元されて再生された後、GOP 1に含まれた映像が復元されて再生される。すなわち、GOP 0、GOP 1、GOP 2、GOP 3の順序で、各GOPに含まれた映像が復元されて再生される。
マルチレイヤ予測構造40の再生順序及び復元順序によれば、映像に対して、インターレイヤ予測及びインター予測が行われる。マルチレイヤ予測構造40で、矢印が始まる映像が参照映像であり、矢印が終わる映像が、参照映像を利用して予測される映像である。
特に、マルチレイヤ予測構造40の復元順序は、各映像の予測(復元)順序によって、映像が横方向に配列されている。すなわち、相対的に左側に位置する映像が先に予測(復元)される映像であり、相対的に右側に位置する映像が、後になって予測(復元)される映像である。先に復元される映像を参照し、次の映像が予測(復元)されるので、マルチレイヤ予測構造40の復元順序において、同一レイヤ映像間の予測方向を示す矢印が、いずれも相対的に左側に位置する映像から、右側に位置する映像に向かうということが分かる。
基本レイヤ映像の予測結果は、符号化された後、基本レイヤストリームの形態で出力される。また、第1向上レイヤ映像の予測符号化結果は、第1向上レイヤストリームとして、第2向上レイヤ映像の予測符号化結果は、第2向上レイヤストリームとして出力される。
基本レイヤ映像については、インター予測だけが行われる。すなわち、Iタイプであるアンカーピクチャ41,42,43,44,45は、他の映像を参照しないが、Bタイプ及びbタイプである残りの映像は、他の基本レイヤ映像を参照して予測される。Bタイプ映像は、POC値が先立つIタイプアンカーピクチャと、後になるIタイプアンカーピクチャとを参照して予測される。bタイプ映像は、POC値が先立つIタイプアンカーピクチャと、後になるBタイプ映像とを参照するか、あるいはPOC値が先立つBタイプ映像と、後になるIタイプアンカーピクチャとを参照して予測される。
第1向上レイヤ映像及び第2向上レイヤ映像については、基本レイヤ映像を参照するインターレイヤ予測、及び同一視点映像を参照するインター予測が行われる。
基本レイヤ映像と同様に、第1向上レイヤ映像も、映像間予測が行われ、第2向上レイヤ映像も、インター予測が行われる。第1向上レイヤ映像及び第2向上レイヤ映像のうち、アンカーピクチャ141,142,143,144,145,241,242,243,244,245は、同一レイヤ映像を参照しないが、アンカーピクチャではない残りの映像は、同一レイヤ映像を参照して予測される。
ただし、第1向上レイヤ映像及び第2向上レイヤ映像のうち、アンカーピクチャ141,142,143,144,145,241,242,243,244,245も、POC値が同一である基本レイヤアンカーピクチャ41,42,43,44,45を参照するPタイプ映像である。
また、第1向上レイヤ映像及び第2向上レイヤ映像のうち、アンカーピクチャ141,142,143,144,145,241,242,243,244,245ではない残りの映像についても、インター予測だけでなく、POCが同一である基本レイヤ映像を参照するインターレイヤ予測が行われるので、Bタイプ映像またはbタイプ映像である。
映像を再生するための復元過程も、予測過程と類似している。ただし、各映像の参照映像が復元された後でこそ、復元された参照映像を利用して各映像が復元される。
まず、基本レイヤ映像は、動き補償を介して各映像が復元される。Iタイプである基本レイヤアンカーピクチャ41,42,43,44,45が復元されれば、基本レイヤアンカーピクチャ41,42,43,44,45を参照する動き補償を介して、Bタイプである基本レイヤ映像が復元される。また、IタイプまたはBタイプである基本レイヤ復元映像を参照する動き補償を介して、bタイプである基本レイヤ映像が復元される。
第1向上レイヤ映像と第2向上レイヤ映像は、それぞれ、基本レイヤ映像を参照するインターレイヤ予測と、同一レイヤ映像を参照するインター予測とを介して符号化される。
すなわち、第1向上レイヤ映像の復元過程のために、基本視点の参照映像が復元された後、復元された基本レイヤ映像を参照するインターレイヤ変移補償を介して、第1向上レイヤ映像が復元される。また、第1向上レイヤの参照映像が復元された後、復元された第1向上レイヤの参照映像を参照する動き補償を介して、第1向上レイヤ映像が復元される。
また、基本視点の参照映像が復元された後、基本視点の参照映像を参照するインターレイヤ変移補償を介して、第2向上レイヤ映像が復元される。第2向上レイヤの参照映像が復元された後、復元された第2向上レイヤの参照映像を参照する動き補償を介して、第2向上レイヤ映像が復元される。
図4Bは、時間階層的符号化/復号化方式によるマルチレイヤ予測構造を図示している。
時間階層的予測構造40によって、スケーラブル・ビデオコーディング方式が遂行される。時間階層的予測構造40によれば、階層的Bタイプ映像55,56,57,58,59,60,61,62,63の予測構造を含む。レベル0の予測構造において、Iタイプ映像51,54のインター予測と、Pタイプ映像52,53のインター予測とが行われる。レベル1の予測構造では、I,Pタイプ映像51,52,53,54を参照するBタイプ映像55,56,57のインター予測が行われる。レベル2の予測構造では、I,Pタイプ映像51,52,53,54と、レベル1のBタイプ映像55,56,57とを参照するインター予測が行われる。
「temporal_id」は、予測レベルを識別するための番号であり、各レベル映像が出力されるにつれてフレームレートが上昇する。例えば、レベル0映像51,52,53,54は、復号化されてフレームレート15Hzで出力され、レベル1映像55,56,57まで復号化されて出力されれば、フレームレートが30Hzに上昇し、レベル2映像58,59,60,61,62,63まで復号化されて出力されれば、フレームレートが60Hzに上昇される。
一実施形態によって、時間階層的予測構造40をスケーラブル・ビデオコーディング方式で具現すれば、レベル0映像が基本レイヤ映像として符号化され、レベル1映像は、第1向上レイヤ映像として符号化され、レベル2映像は、第2向上レイヤ映像として符号化される。
図4A及び図4Bのマルチレイヤ予測構造の復号化過程で、動き補償やインターレイヤ復号化を介して映像を復元するためには、先に復元された基本レイヤ映像を利用するか、あるいは先に復元された向上レイヤ映像が利用される。しかし、レイヤ変換が発生したり、あるいはランダムアクセス要請が発生したりする場合、現在RAP映像より復元順序が先立つ映像があらかじめ復元されてはいない。その場合、現在RAP映像より復元順序が先立つ映像を参照して予測された映像は、復元されない。
以下、図5Aないし図7Bを参照し、RAP映像の種類別にランダムアクセス要請が発生する場合、遂行される復号化動作について詳細に説明する。
図5A及び図5Bは、2つの実施形態によるIDR映像の再生順序と復元順序とを図示している。
図5Aで、GOP 505,515,525の大きさは、それぞれ8である。B0、B1、B2、B3、B4、B5、B6は、同一のGOPに属するBタイプ映像を再生順序によって並べた識別番号である。
IDR映像は、独立して符号化される映像である。IDR映像の復号化過程で、復元映像は、いずれも「参照映像として使用されない映像(unused for refrence)」として表示される。復元順序上、IDR映像に続く映像は、復元順序上、IDR映像に先立つ映像を利用するインター予測を行わずにも復元される。符号化されたビデオシーケンスで、復元順序上、最初の映像のピクチャタイプは、IDRピクチャである。
例えば、GOP 515のBタイプ映像は、IDR映像より再生順序は先立つが、復元順序が後になる。また、GOP 515のBタイプ映像は、IDR映像より復元順序が先立つ他の映像を全く参照しない。GOP 525のBタイプ映像は、IDR映像より復元順序及び再生順序がいずれも後になり、IDR映像より復元順序が先立つ他の映像を全く参照しない。
ランダムアクセスが発生する場合を想定する。ランダムアクセス地点より復元順序が先立つ映像は、復元が不可能である。図5Aで、再生順序上、GOP 515のBタイプ映像がIDR映像に先立つが、IDR映像が復元された後に復元されたIDR映像を参照し、GOP 515のBタイプ映像が復元される。その場合、GOP 515のBタイプ映像は、いずれも復号化されて出力されるので、RADL映像でもある。従って、P515のBタイプ映像がいずれも再生されるので、ランダムアクセス地点と、ランダムアクセス再生が始まる地点とが一致する。
図5Bで、ランダムアクセス地点から、再生順序上、GOP 515のBタイプ映像が復号化される必要がないので、IDR映像からランダムアクセスが始まり、GOP 525のBタイプ映像が再生される。
IDR映像が使用される場合、ランダムアクセス地点から損失される映像なしに、再生順序による全ての映像が自然に復元されるが、符号化効率が低くなる。
図6A及び図6Bは、2つの実施形態によるCRA映像の再生順序と復元順序とを図示している。
CRA映像は、Iタイプスライスのみを含む映像である。CRA映像の復号化過程で、DPB(decoded picture buffer)に保存された復元映像は、いずれも「参照映像に使用されない映像」と表示される。復元順序と再生順序とがいずれも(both in decoding order and output order)CRA映像に続く映像は、復元順序や再生順序が(either in decoding order or output order)IDR映像に先立つ映像を利用するインター予測を行わずに復元される。復元順序上、CRA映像より先立つ映像は、再生順序上でも、CRA映像より先立つ。
復元順序と再生順序とがいずれもCRA映像に続く映像は、ノーマル映像でもある。従って、ノーマル映像は、CRA映像と同一のGOPに位置する他のノーマル映像のうち、少なくとも1つの映像のみを利用することができる。
CRAピクチャは、符号化されたビデオシーケンスで、復元順序上、最初の映像でもある。ただし、ランダムアクセスが発生しない一般再生の場合には、ビットストリーム中間に位置することもできる。
例えば、図6Aで、GOP 615のBタイプ映像は、CRA映像より再生順序は、先立つが、復元順序が後になる。GOP 625のBタイプ映像は、CRA映像より復元順序及び再生順序がいずれも後になるノーマル映像であり、IDR映像より復元順序が先立つ他の映像を全く参照しない。ただし、GOP 615のBタイプ映像のうち一部映像は、CRA映像より復元順序が先立つ他の映像を参照することもできる。
図6Bのランダムアクセス地点では、GOP 615のBタイプ映像がランダムアクセス地点より先立つ映像を参照しており、復元されない。GOP 615のBタイプ映像は、復元過程で省略されるRASL映像である。従って、CRA映像からランダムアクセス再生が始まり、直ちにGOP 625のBタイプ映像が復元されて再生される。
図7A及び図7Bは、2つの実施形態によるBLA映像の再生順序と復元順序とを図示している。
ビットストリームスライシング(bitstream slicing)は、現在ビットストリームのRAP映像位置に、他のビットストリームを連結させる動作である。新たなビットストリームが連結される地点は、「ブロークンリンク(broken link)」と呼ばれる。ビットストリームスライシングが可能な位置のRAP映像のナルユニットタイプは、BLA映像と表示される。
図7Aを例として挙げれば、BLA映像は、CRA映像と、再生順序及び復元順序が類似している。BLA映像は、再生順序上、リーディング映像であるGOP 716のBタイプ映像に続き、ノーマル映像であるGOP 726のBタイプ映像より先立つ。リーディング映像とノーマル映像は、復元順序上、BLA映像に続く。
リーディング映像のうち、映像B3,B4,B5,B6は、BLA映像と、GOP 716の他の映像とを参照するRASL映像である。しかし、リーディング映像のうち、映像B1,B2,B2は、BLA映像より復元順序が先立つGOP 706の映像を参照するRADL映像である。
従って、図7Bにおいて、BLA映像でランダムアクセスが発生すれば、RASL映像B1,B2,B2は、復元が省略され、RADL映像B3,B4,B5,B6は、復元される。従って、RADL映像B3から、再生順序によって出力される。
図4Bを参照して説明した階層的予測構造において、時間階層変換またはレイヤ変換が発生するので、レイヤ変換が可能な位置として、TSA(temporal sublayer access)映像が利用される。TSA映像は、CRA映像と類似している。下位レイヤ映像を復元していていて、TSA映像から上位レイヤ映像を復元するレイヤ変換が可能である。例えば、「temporal_id」値が小さいほど下位レイヤである。同一レイヤにおいて、復元順序上、TLA映像より後になる映像や、TLA映像より上位レイヤ映像は、復元順序上、TLA映像に先立つ以前TLA映像の同一または上位レイヤの映像を参照することができない。TLA映像の最下位レイヤ映像ではないので、「temporal_id」値も、0ではない。
先に、図4B、図5A、図5B、図6A、図6B、図7A、図7Bを参照し、ランダムアクセスのためのRAPタイプについて詳細に説明した。シングルレイヤで、ビデオストリームを復元している最中に、ランダムアクセス要請またはレイヤ変換が発生する場合、RAP映像から映像が復元される。ただし、マルチレイヤの所定レイヤで、ランダムアクセスが発生し、当該レイヤの映像が復元されるならば、それに相応する他のレイヤ映像も正確に復元される必要がある。また、所定レイヤで、レイヤ変換やランダムアクセスの要請時、参照対象になる映像がDPBに存在せず、RASL映像の復元が省略されるならば、それに相応する他のレイヤの映像も、復元が省略される必要がある。
従って、一実施形態によるマルチレイヤビデオ符号化装置10は、各レイヤごとに、ランダムアクセス地点やレイヤ変換地点に、同一のナルユニットタイプのRPA映像を配置し、各レイヤごとに、同一位置に、RASL映像またはRSDL映像も配置することができる。また、マルチレイヤビデオ復号化装置20は、各レイヤごとに、ランダムアクセス地点やレイヤ変換地点において、同一のナルユニットタイプのRPA映像を復元することができる。また、各レイヤごとに、同一位置でRSDL映像を復元し、RASL映像の復元を行うことができる。所定レイヤで、ランダムアクセスが発生するならば、各レイヤごとに、同一位置のRPA映像とRSDL映像とが復元され、同一位置のRASL映像の復元は、省略される。
例えば、基本レイヤIDR映像に対応する位置に、向上レイヤIDR映像が復元される。基本レイヤCRA映像に対応する位置で、向上レイヤ映像も、CRA映像が復元される。基本レイヤBLA映像に対応する位置で、向上レイヤBLA映像が復元される。
他の例として、基本レイヤ映像のナルユニットタイプと無関係に、向上レイヤで、ランダムアクセスやレイヤ変換のためのVLA映像が利用される。VLA映像に対するインターレイヤ予測だけ行われ、インター予測が行われないので、レイヤ変換が発生するとしても、対応する基本レイヤ映像だけ復元されているならば、向上レイヤVLA映像が復元される。また、向上レイヤVLA映像に続く向上レイヤ映像に対するインター予測のために、VLA映像より再生順序や復元順序が先立つ映像は、参照されない。
また、一実施形態によるマルチレイヤビデオ符号化装置10は、基本レイヤのノーマル映像に対応する向上レイヤのCRA映像、RSDL/RASL映像またはノーマル映像を配置することもできる。一実施形態によるマルチレイヤビデオ復号化装置20は、基本レイヤのノーマル映像に対応する向上レイヤのCRA映像、RSDL/RASL映像またはノーマル映像を復元することもできる。
また、基本レイヤ映像の時間階層番号「temporal_id」より、向上レイヤ映像の時間階層番号がさらに大きくなければならない。
一実施形態によるマルチレイヤビデオ符号化装置10及びマルチレイヤビデオ復号化装置20によれば、マルチレイヤ予測構造で、ランダムアクセスやレイヤ変換が発生しても、各レイヤごとに、同一位置の映像が復元されたり、あるいは無視されたりする。それにより、インターレイヤ予測のための参照映像を確保することができ、各レイヤの出力映像が正確に同期化される。
図1Aによるマルチレイヤビデオ符号化装置10は、映像ブロック別に、イントラ予測、インター予測、インターレイヤ予測、変換、量子化を行ってサンプルを生成し、サンプルに対してエントロピー符号化を行い、ビットストリーム形態で出力することができる。一実施形態によるマルチレイヤビデオ符号化装置10のビデオ符号化結果、すなわち、基本レイヤ映像ストリーム及び向上レイヤ映像ストリームを出力するために、マルチレイヤビデオ符号化装置10は、内部に搭載されたビデオエンコーディング・プロセッサまたは外部ビデオエンコーディング・プロセッサと連繋して作動することにより、変換、量子化を含んだビデオ符号化動作を遂行することができる。一実施形態によるマルチレイヤビデオ符号化装置10の内部ビデオエンコーディング・プロセッサは、別個のプロセッサでもあるが、ビデオ符号化装置、中央演算装置またはグラフィック演算装置がビデオエンコーディング・プロセッシング・モジュールを含むことにより、基本的なビデオ符号化動作を具現する場合も含んでもよい。
また、図2Aによるマルチレイヤビデオ復号化装置20は、受信された基本レイヤ映像ストリーム及び向上レイヤ映像ストリームに対してそれぞれ復号化を行う。すなわち基本レイヤ映像ストリーム及び向上レイヤ映像ストリームに対して、それぞれ映像ブロック別に、逆量子化、逆変換、イントラ予測、動き補償(映像間動き補償、インターレイヤ変移補償)を行い、基本レイヤ映像ストリームから、基本レイヤ映像のサンプルを復元し、向上レイヤ映像ストリームから、向上レイヤ映像のサンプルを復元することができる。一実施形態によるマルチレイヤビデオ復号化装置20は、復号化結果として生成された復元映像を出力するために、内部に搭載されたビデオデコーディング・プロセッサまたは外部ビデオデコーディング・プロセッサと連繋して作動することにより、逆量子化、逆変換、予測/補償を含んだビデオ復元動作を遂行することができる。一実施形態によるマルチレイヤビデオ復号化装置20の内部ビデオデコーディング・プロセッサは、別個のプロセッサでもあるが、ビデオ復号化装置、中央演算装置またはグラフィック演算装置がビデオデコーディング・プロセッシング・モジュールを含むことにより、基本的なビデオ復元動作を具現する場合も含んでもよい。
一実施形態によるマルチレイヤビデオ符号化装置10、及び一実施形態によるマルチレイヤビデオ復号化装置20で、ビデオデータが分割されるブロックが、ツリー構造の符号化単位に分割され、符号化単位に対するインターレイヤ予測またはインター予測のために、符号化単位、予測単位、変換単位が利用される場合があるということは、前述のところの通りである。以下、図8ないし図20を参照し、一実施形態によるツリー構造の符号化単位及び変換単位に基づいたビデオ符号化方法及びその装置、並びにビデオ復号化方法及びその装置を開示する。
原則的に、マルチレイヤビデオのための符号化/復号化過程において、基本レイヤ映像のための符号化/復号化過程と、向上レイヤ映像のための符号化/復号化過程とが別途に遂行される。すなわち、マルチレイヤビデオにおいて、インターレイヤ予測が発生する場合には、シングルレイヤビデオの符号化/復号化結果が相互参照されるが、シンググレイヤビデオごとに、別途の符号化/復号化過程が発生する。
従って、説明の便宜のために、図8ないし図20を参照して説明するツリー構造の符号化単位に基づいたビデオ符号化過程及びビデオ復号化過程は、シングルレイヤビデオに対するビデオ符号化過程及びビデオ復号化過程であるので、インター予測及び動き補償について詳細に説明する。しかし、図1Aないし図7Bを参照して説明したように、マルチレイヤビデオ符号化/復号化のために、基本視点映像と向上レイヤ映像とのインターレイヤ予測及び補償が行われもする。
従って、一実施形態によるマルチレイヤビデオ符号化装置10がツリー構造の符号化単位に基に、マルチレイヤビデオを符号化するためには、それぞれのシングルレイヤビデオごとに、ビデオ符号化を行うために、図8のビデオ符号化装置100をマルチレイヤビデオのレイヤ個数ほど含め、各ビデオ符号化装置100ごとに割り当てられたシングルレイヤビデオの符号化を行うように制御することができる。また、マルチレイヤビデオ符号化装置10は、各ビデオ符号化装置100の別個単一視点の符号化結果を利用して、視点間予測を行うことができる。それにより、マルチレイヤビデオ符号化装置10は、レイヤ別に、符号化結果を収録した基本視点映像ストリームと、向上レイヤ映像ストリームとを生成することができる。
それと同様に、一実施形態によるマルチレイヤビデオ復号化装置20が、ツリー構造の符号化単位に基に、マルチレイヤビデオを復号化するためには、受信した基本レイヤ映像ストリーム及び向上レイヤ映像ストリームに対して、レイヤ別に、ビデオ復号化を行うために、図9のビデオ復号化装置200を、マルチレイヤビデオのレイヤ個数ほど含め、各ビデオ復号化装置200ごとに割り当てられたシングルレイヤビデオの復号化を行うように制御することができる。そして、マルチレイヤビデオ復号化装置20が各ビデオ復号化装置200の別個シングルレイヤの復号化結果を利用して、インターレイヤ補償を行うことができる。それにより、マルチレイヤビデオ復号化装置20は、レイヤ別に復元された基本レイヤ映像及び向上レイヤ映像を生成することができる。
図8は、本発明の一実施形態による、ツリー構造による符号化単位に基づいたビデオ符号化装置100のブロック図を図示している。
一実施形態による、ツリー構造による符号化単位に基づいたビデオ予測を伴うビデオ符号化装置100は、符号化単位決定部120及び出力部130を含む。以下、説明の便宜のために、一実施形態による、ツリー構造による符号化単位に基づいたビデオ予測を伴うビデオ符号化装置100は、「ビデオ符号化装置100」に縮約して称する。
符号化単位決定部120は、映像の現在ピクチャのための最大サイズの符号化単位である最大符号化単位に基づいて、現在ピクチャを区画することができる。現在ピクチャが最大符号化単位より大きければ、現在ピクチャの映像データは、少なくとも1つの最大符号化単位に分割される。一実施形態による最大符号化単位は、サイズ32x32,64x64,128x128,256x256などのデータ単位であり、縦横サイズが2の累乗である正方形のデータ単位でもある。
一実施形態による符号化単位は、最大サイズ及び最大深度で特徴づけられる。深度とは、最大符号化単位から、符号化単位が空間的に分割された回数を示し、深度が深くなるほど、深度別符号化単位は、最大符号化単位から最小符号化単位まで分割される。最大符号化単位の深度が最上位深度であり、最小符号化単位が最下位符号化単位と定義される。最大符号化単位は、深度が深くなるにつれ、深度別符号化単位の大きさは小さくなるので、上位深度の符号化単位は、複数個の下位深度の符号化単位を含んでもよい。
前述のように、符号化単位の最大サイズによって、現在ピクチャの映像データを最大符号化単位に分割し、それぞれの最大符号化単位は、深度別に分割される符号化単位を含んでもよい。一実施形態による最大符号化単位は、深度別に分割されるので、最大符号化単位に含まれた空間領域(spatial domain)の映像データが深度によって階層的に分類される。
最大符号化単位の高さ及び幅を階層的に分割することができる総回数を制限する最大深度及び符号化単位の最大サイズがあらかじめ設定されている。
符号化単位決定部120は、深度ごとに最大符号化単位の領域が分割された少なくとも1つの分割領域を符号化し、少なくとも1つの分割領域別に最終符号化結果が出力される深度を決定する。すなわち、符号化単位決定部120は、現在ピクチャの最大符号化単位ごとに深度別符号化単位で映像データを符号化し、最小の符号化誤差が発生する深度を選択して符号化深度として決定する。決定された符号化深度及び最大符号化単位別映像データは、出力部130に出力される。
最大符号化単位内の映像データは、最大深度以下の少なくとも1つの深度によって、深度別符号化単位に基づいて符号化され、それぞれの深度別符号化単位に基づいた符号化結果が比較される。深度別符号化単位の符号化誤差の比較結果、符号化誤差が最小である深度が選択される。それぞれの最大化符号化単位ごとに、少なくとも1つの符号化深度が決定される。
最大符号化単位の大きさは、深度が深くなるにつれ、符号化単位が階層的に分割されて分割され、符号化単位の個数は増加する。また、1つの最大符号化単位に含まれる同一の深度の符号化単位としても、それぞれのデータに対する符号化誤差を測定し、下位深度への分割いかんが決定される。従って、1つの最大符号化単位に含まれるデータであるとしても、位置によって、深度別符号化誤差が異なるので、位置によって、符号化深度が異なって決定される。従って、1つの最大符号化単位に対して、符号化深度が一つ以上設定されてもよく、最大符号化単位のデータは、一つ以上の符号化深度の符号化単位によって区画される。
従って、一実施形態による符号化単位決定部120は、現在最大符号化単位に含まれるツリー構造による符号化単位が決定される。一実施形態による「ツリー構造による符号化単位」は、現在最大符号化単位に含まれる全ての深度別符号化単位において、符号化深度と決定された深度の符号化単位を含む。符号化深度の符号化単位は、最大符号化単位内で、同一領域では、深度によって階層的に決定され、他の領域については、独立して決定される。同様に、現在領域に対する符号化深度は、他の領域に対する符号化深度と独立して決定される。
一実施形態による最大深度は、最大符号化単位から最小符号化単位までの分割回数と係わる指標である。一実施形態による第1最大深度は、最大符号化単位から最小符号化単位までの全分割回数を示すことができる。一実施形態による第2最大深度は、最大符号化単位から最小符号化単位までの深度レベルの総個数を示すことができる。例えば、最大符号化単位の深度が0であるとするとき、最大符号化単位が1回分割された符号化単位の深度は1に設定され、2回分割された符号化単位の深度は2に設定される。その場合、最大符号化単位から4回分割された符号化単位が最小符号化単位であるならば、深度0,1,2,3及び4の深度レベルが存在するので、第1最大深度は4、第2最大深度は5に設定される。
最大符号化単位の予測符号化及び変換が行われる。予測符号化及び変換も、同様に、最大符号化単位ごとに、最大深度以下の深度ごとに、深度別符号化単位を基に行われる。
最大符号化単位が深度別に分割されるたびに、深度別符号化単位の個数が増加するので、深度が深くなるにつれて生成される全深度別符号化単位に対して、予測符号化及び変換を含んだ符号化が行われなければならない。以下、説明の便宜のために、少なくとも1つの最大符号化単位のうち現在深度の符号化単位を基に、予測符号化及び変換について説明する。
一実施形態によるビデオ符号化装置100は、映像データの符号化のためのデータ単位の大きさまたは形態を多様に選択することができる。映像データの符号化のためには、予測符号化、変換、エントロピー符号化などの段階を経るが、全ての段階にわたって、同一のデータ単位が使用され、段階別にデータ単位が変更されてもよい。
例えば、ビデオ符号化装置100は、映像データの符号化のための符号化単位だけでなく、符号化単位の映像データの予測符号化を行うために、符号化単位と異なるデータ単位を選択することができる。
最大符号化単位の予測符号化のためには、一実施形態による符号化深度の符号化単位、すなわち、それ以上さらに分割されない符号化単位を基に、予測符号化が行われる。以下、予測符号化の基になる、それ以上さらに分割されない符号化単位を「予測単位」と呼ぶ。予測単位が分割されたパーティションは、予測単位、及び予測単位の高さ及び幅のうち少なくとも一つが分割されたデータ単位を含んでもよい。パーティションは、符号化単位の予測単位が分割された形態のデータ単位であり、予測単位は、符号化単位と同サイズのパーティションでもある。
例えば、サイズ2Nx2N(ただし、Nは、正の整数)の符号化単位が、それ以上分割されない場合、サイズ2Nx2Nの予測単位になり、パーティションの大きさは、2Nx2N、2NxN、Nx2N、NxNなどでもある。一実施形態によるパーティションタイプは、予測単位の高さまたは幅が対称的な比率に分割された対称的パーティションだけではなく、1:nまたはn:1のように、非対称的な比率に分割されたパーティション、幾何学的な形態に分割されたパーティション、任意的形態のパーティションなどを選択的に含んでもよい。
予測単位の予測モードは、イントラモード、インターモード及びスキップモードのうち少なくとも一つでもある。例えば、イントラモード及びインターモードは、2Nx2N,2NxN,Nx2N,NxNサイズのパーティションに対して行われる。また、スキップモードは、2Nx2Nサイズのパーティションに対してのみ行われる。符号化単位以内の1つの予測単位ごとに、独立して符号化が行われ、符号化誤差が最小である予測モードが選択される。
また、一実施形態によるビデオ符号化装置100は、映像データの符号化のための符号化単位だけでなく、符号化単位と異なるデータ単位を基に、符号化単位の映像データの変換を行うことができる。符号化単位の変換のためには、符号化単位より小さいか、あるいはそれと同じ大きさの変換単位を基に変換が行われる。例えば、変換単位は、イントラモードのためのデータ単位、及びインターモードのための変換単位を含んでもよい。
一実施形態による、ツリー構造による符号化単位と類似した方式で、符号化単位内の変換単位も、再帰的にさらに小サイズの変換単位に分割されながら、符号化単位のレジデュアルデータが、変換深度によって、ツリー構造による変換単位によって区画される。
一実施形態による変換単位についても、符号化単位の高さ及び幅が分割され、変換単位に至るまでの分割回数を示す変換深度が設定される。例えば、サイズ2Nx2Nの現在符号化単位の変換単位の大きさが2Nx2Nであるならば、変換深度0に、変換単位の大きさがNxNであるならば、変換深度1に、変換単位の大きさがN/2xN/2であるならば、変換深度2に設定される。すなわち、変換単位についても、変換深度によって、ツリー構造による変換単位が設定される。
符号化深度別符号化情報は、符号化深度だけでなく、予測関連情報及び変換関連情報が必要である。従って、符号化単位決定部120は、最小符号化誤差を発生させた符号化深度だけでなく、予測単位をパーティションに分割したパーティションタイプ、予測単位別予測モード、変換のための変換単位の大きさなどを決定することができる。
一実施形態による最大符号化単位のツリー構造による符号化単位及び予測単位/パーティション、並びに変換単位の決定方式については、図10ないし図20を参照して詳細に説明する。
符号化単位決定部120は、深度別符号化単位の符号化誤差をラグランジュ乗数(Lagrangian multiplier)基盤の率・歪曲最適化技法(rate-distortion optimization)を利用して測定することができる。
出力部130は、符号化単位決定部120で決定された少なくとも1つの符号化深度に基づいて符号化された最大符号化単位の映像データ、及び深度別符号化モードに係わる情報をビットストリーム形態で出力する。
符号化された映像データは、映像のレジデュアルデータの符号化結果でもある。
深度別符号化モードに係わる情報は、符号化深度情報、予測単位のパーティションタイプ情報、予測モード情報、変換単位のサイズ情報などを含んでもよい。
符号化深度情報は、現在深度で符号化せず、下位深度の符号化単位で符号化するか否かということを示す深度別分割情報を利用して定義される。現在符号化単位の現在深度が符号化深度であるならば、現在符号化単位は、現在深度の符号化単位で符号化されるので、現在深度の分割情報は、それ以上下位深度に分割されないように定義される。反対に、現在符号化単位の現在深度が符号化深度ではないならば、下位深度の符号化単位を利用した符号化を試みなければならないので、現在深度の分割情報は、下位深度の符号化単位に分割されるように定義される。
現在深度が符号化深度ではないならば、下位深度の符号化単位に分割された符号化単位に対して符号化が行われる。現在深度の符号化単位内に、下位深度の符号化単位が一つ以上存在するので、それぞれの下位深度の符号化単位ごとに反復して符号化が行われ、同一の深度の符号化単位ごとに、再帰的(recursive)符号化が行われる。
1つの最大符号化単位内に、ツリー構造の符号化単位が決定され、符号化深度の符号化単位ごとに、少なくとも1つの符号化モードに係わる情報が決定されなければならないので、1つの最大符号化単位については、少なくとも1つの符号化モードに係わる情報が決定される。また、最大符号化単位のデータは、深度によって階層的に区画され、位置別に符号化深度が異なるので、データに対して、符号化深度及び符号化モードに係わる情報が設定される。
従って、一実施形態による出力部130は、最大符号化単位に含まれている符号化単位、予測単位及び最小単位のうち少なくとも一つに対して、当該符号化深度及び符号化モードに係わる符号化情報を割り当てられる。
一実施形態による最小単位は、最下位符号化深度である最小符号化単位が4分割された大きさの正方形のデータ単位である。一実施形態による最小単位は、最大符号化単位に含まれる全ての符号化単位内、予測単位内、パーティション単位内及び変換単位内に含まれる最大サイズの正方形データ単位でもある。
例えば、出力部130を介して出力される符号化情報は、深度別符号化単位別符号化情報と、予測単位別符号化情報とに分類される。深度別符号化単位別符号化情報は、予測モード情報、パーティションサイズ情報を含んでもよい。予測単位別に伝送される符号化情報は、インターモードの推定方向に係わる情報、インターモードの参照映像インデックスに係わる情報、動きベクトルに係わる情報、イントラモードのクロマ成分に係わる情報、イントラモードの補間方式に係わる情報などを含んでもよい。
ピクチャ、スライスまたはGOP(group of picture)別に定義される符号化単位の最大サイズに係わる情報、及び最大深度に係わる情報は、ビットストリームのヘッダ、シーケンスパラメータセットまたはピクチャパラメータセットなどに挿入される。
また、現在ビデオについて許容される変換単位の最大サイズに係わる情報、及び変換単位の最小サイズに係わる情報も、ビットストリームのヘッダ、シーケンスパラメータセットまたはピクチャパラメータセットなどを介して出力される。出力部130は、予測と係わる参照情報、予測情報、スライスタイプ情報などを符号化して出力することができる。
ビデオ符号化装置100の最も簡単な形態の実施形態によれば、深度別符号化単位は、1階層上位深度の符号化単位の高さ及び幅を半分にした大きさの符号化単位である。すなわち、現在深度の符号化単位の大きさが2Nx2Nであるならば、下位深度の符号化単位の大きさは、NxNである。また、2Nx2Nサイズの現在符号化単位は、NxNサイズの下位深度符号化単位を最大4個含む。
従って、ビデオ符号化装置100は、現在ピクチャの特性を考慮して決定された最大符号化単位の大きさ及び最大深度を基に、それぞれの最大符号化単位ごとに、最適の形態及び大きさの符号化単位を決定し、ツリー構造による符号化単位を構成することができる。また、それぞれの最大符号化単位ごとに、多様な予測モード、変換方式などで符号化することができるので、多様な映像サイズの符号化単位の映像特性を考慮し、最適の符号化モードが決定される。
従って、映像の解像度が非常に高いか、あるいはデータ量が非常に多い映像を既存マクロブロック単位で符号化するならば、ピクチャ当たりマクロブロックの数が過度に多くなる。それにより、マクロブロックごとに生成される圧縮情報も多くなるので、圧縮情報の伝送負担が大きくなり、データ圧縮効率が低下するという傾向がある。従って、一実施形態によるビデオ符号化装置は、映像の大きさを考慮し、符号化単位の最大サイズを増大させながら、映像特性を考慮して、符号化単位を調節することができるので、映像圧縮効率が上昇する。
図1Aを参照して説明したマルチレイヤビデオ符号化装置10は、マルチレイヤビデオのレイヤごとに、シングルレイヤ映像の符号化のために、レイヤ個数ほどのビデオ符号化装置100を含んでもよい。例えば、基本レイヤ符号化部12が、1つのビデオ符号化装置100を含み、向上レイヤ符号化部14が、向上レイヤの個数ほどのビデオ符号化装置100を含んでもよい。
ビデオ符号化装置100が、基本レイヤ映像を符号化する場合、符号化単位決定部120は、最大符号化単位ごとに、ツリー構造による符号化単位別に、映像間予測のための予測単位を決定し、予測単位ごとに、映像間予測を行うことができる。
ビデオ符号化装置100が、向上レイヤ映像を符号化する場合にも、符号化単位決定部120は、最大符号化単位ごとに、ツリー構造による符号化単位及び予測単位を決定し、予測単位ごとに、インター予測を行うことができる。
符号化単位決定部120が、基本レイヤ映像を符号化する場合には、ランダムアクセスが可能なRPA映像を指定し、基本レイヤRPA映像に対して、イントラ予測を行うことができる。ランダムアクセスやレイヤ変換が発生する場合には、以前復元映像がないとしても、RPA映像を復元することができる。
符号化単位決定部120が向上レイヤストリームを符号化する場合には、基本レイヤストリームのRPA映像に対応する位置で、基本レイヤRAP映像と同一のRPAタイプのRPA映像を符号化することができる。符号化単位決定部120は、向上レイヤRPA映像に対して、イントラ予測を行うことができる。
符号化単位決定部120は、RPA映像と異なる非RPA映像のうち少なくとも一つを参照し、非RPA映像に対するインター予測を行うことができる。基本レイヤのRASL映像に対応する位置の向上レイヤ映像も、RASL映像であり、後に続くRPA映像と、先行するRPA映像とを参照することができる。基本レイヤストリームのRADL映像に対応する位置の向上レイヤ映像も、RADL映像であり、後に続くRPA映像だけ参照することができる。基本レイヤノーマル映像に対応する向上レイヤ映像は、CRA映像、RADL/RASL映像またはノーマル映像として符号化される。
図9は、本発明の一実施形態による、ツリー構造による符号化単位に基づいたビデオ復号化装置200のブロック図を図示している。
一実施形態による、ツリー構造による符号化単位に基づいたビデオ予測を伴うビデオ復号化装置200は、受信部210、映像データ及び符号化情報抽出部220、並びに映像データ復号化部230を含む。以下、説明の便宜のために、一実施形態による、ツリー構造による符号化単位に基づいたビデオ予測を伴うビデオ復号化装置200は、「ビデオ復号化装置200」と縮約して称する。
一実施形態によるビデオ復号化装置200の復号化動作のための符号化単位、深度、予測単位、変換単位、各種符号化モードに係わる情報など各種用語の定義は、図8及びビデオ符号化装置100を参照して説明したところと同一である。
受信部210は、符号化されたビデオに係わるビットストリームを受信してパージングする。映像データ及び符号化情報抽出部220は、パージングされたビットストリームから、最大符号化単位別に、ツリー構造による符号化単位によって、符号化単位ごとに符号化された映像データを抽出し、映像データ復号化部230に出力する。映像データ及び符号化情報抽出部220は、現在ピクチャに係わるヘッダ、シーケンスパラメータセットまたはピクチャパラメータセットから、現在ピクチャの符号化単位の最大サイズに係わる情報を抽出することができる。
また、映像データ及び符号化情報抽出部220は、パージングされたビットストリームから、最大符号化単位別に、ツリー構造による符号化単位に係わる符号化深度及び符号化モードに係わる情報を抽出する。抽出された符号化深度及び符号化モードに係わる情報は、映像データ復号化部230に出力される。すなわち、ビット列の映像データを最大符号化単位に分割し、映像データ復号化部230をして、最大符号化単位ごとに、映像データを復号化させる。
最大符号化単位別符号化深度及び符号化モードに係わる情報は、一つ以上の符号化深度情報について設定され、符号化深度別符号化モードに係わる情報は、当該符号化単位のパーティションタイプ情報、予測モード情報及び変換単位のサイズ情報などを含んでもよい。また、符号化深度情報として、深度別分割情報が抽出される。
映像データ及び符号化情報抽出部220が抽出した最大符号化単位別符号化深度及び符号化モードに係わる情報は、一実施形態によるビデオ符号化装置100のように、符号化端で、最大符号化単位別深度別符号化単位ごとに反復して符号化を行い、最小符号化誤差を発生させることによって決定された符号化深度及び符号化モードに係わる情報である。従って、ビデオ復号化装置200は、最小符号化誤差を発生させる符号化方式によってデータを復号化して映像を復元することができる。
一実施形態による符号化深度及び符号化モードに係わる符号化情報は、当該符号化単位、予測単位及び最小単位のうち、所定データ単位に対して割り当てられているので、映像データ及び符号化情報抽出部220は、所定データ単位別に、符号化深度及び符号化モードに係わる情報を抽出することができる。所定データ単位別に、当該最大符号化単位の符号化深度及び符号化モードに係わる情報が記録されているならば、同一の符号化深度及び符号化モードに係わる情報を有している所定データ単位は、同一の最大符号化単位に含まれるデータ単位と類推される。
映像データ復号化部230は、最大符号化単位別符号化深度及び符号化モードに係わる情報に基づいて、それぞれの最大符号化単位の映像データを復号化し、現在ピクチャを復元する。すなわち、映像データ復号化部230は、最大符号化単位に含まれるツリー構造による符号化単位のうちそれぞれの符号化単位ごとに、判読されたパーティションタイプ、予測モード、変換単位に基づいて符号化された映像データを復号化することができる。復号化過程は、イントラ予測及び動き補償を含む予測過程、及び逆変換過程を含んでもよい。
映像データ復号化部230は、符号化深度別符号化単位の予測単位のパーティションタイプ情報及び予測モード情報に基づいて、符号化単位ごとに、それぞれのパーティション及び予測モードによって、イントラ予測または動き補償を行うことができる。
また、映像データ復号化部230は、最大符号化単位別逆変換のために、符号化単位別に、ツリー構造による変換単位情報を判読し、符号化単位ごとに、変換単位に基づいた逆変換を行うことができる。逆変換を介して、符号化単位の空間領域の画素値が復元される。
映像データ復号化部230は、深度別分割情報を利用して、現在最大符号化単位の符号化深度を決定することができる。もし分割情報が現在深度で、それ以上分割されないということを示しているならば、現在深度が符号化深度である。従って、映像データ復号化部230は、現在最大符号化単位の映像データについて、現在深度の符号化単位を、予測単位のパーティションタイプ、予測モード及び変換単位サイズ情報を利用して、復号化することができる。
すなわち、符号化単位、予測単位及び最小単位のうち、所定データ単位に対して設定されている符号化情報を観察し、同一の分割情報を含んだ符号化情報を保有しているデータ単位が集まり、映像データ復号化部230によって同一の符号化モードで復号化する1つのデータ単位と見なされる。そのように決定された符号化単位ごとに、符号化モードに係わる情報を獲得し、現在符号化単位の復号化が行われる。
図1Aを参照して説明したマルチレイヤビデオ符号化装置10は、マルチレイヤビデオのレイヤごとに、インター予測のための参照映像を生成するために、ビデオ復号化装置200において、映像データ復号化部230をレイヤ個数ほど含んでもよい。例えば、基本レイヤ符号化部12が、1つの映像データ復号化部230を含み、向上レイヤ符号化部14が、向上レイヤの個数ほどのビデオ復号化装置200を含んでもよい。
また、図2A及び図3を参照して説明したマルチレイヤビデオ復号化装置20は、受信された基本レイヤ映像ストリーム及び向上レイヤ映像ストリームを復号化し、基本レイヤ映像及び向上レイヤ映像を復元するために、ビデオ復号化装置200を視点個数ほど含んでもよい。例えば、基本レイヤ復号化部22が、1つのビデオ復号化装置200を含み、向上レイヤ復号化部24が、向上レイヤの個数ほどのビデオ復号化装置200を含んでもよい。
基本レイヤ映像ストリームが受信された場合には、ビデオ復号化装置200の映像データ復号化部230は、抽出部220によって、基本レイヤ映像ストリームから抽出された基本レイヤ映像のサンプルを、最大符号化単位のツリー構造による符号化単位に分けることができる。映像データ復号化部230は、基本レイヤ映像のサンプルのツリー構造による符号化単位ごとに、映像間予測のための予測単位別に動き補償を行い、基本レイヤ映像を復元することができる。
向上レイヤ映像ストリームが受信された場合には、ビデオ復号化装置200の映像データ復号化部230は、抽出部220によって、向上レイヤ映像ストリームから抽出された向上レイヤ映像のサンプルを、最大符号化単位のツリー構造による符号化単位に分けることができる。映像データ復号化部230は、向上レイヤ映像のサンプルの符号化単位ごとに、映像間予測のための予測単位別に動き補償を行い、向上レイヤ映像を復元することができる。
映像データ復号化部230が基本レイヤストリームを復号化する場合には、ナルユニットタイプに基づいて、RPA映像を復元することができる。ランダムアクセスやレイヤ変換が発生する場合には、以前復元映像がないとしても、RPA映像を復元することができる。
映像データ復号化部230が向上レイヤストリームを復号化する場合には、基本レイヤストリームのRPA映像に対応する位置で、基本レイヤRAP映像と同一のRPAタイプのRPA映像を復元することができる。映像データ復号化部230は、向上レイヤRPA映像に対して、イントラ予測を行うことができる。
映像データ復号化部230は、RPA映像と異なる非RPA映像のうち少なくとも一つを参照し、非RPA映像に対する動き補償を行うことができる。基本レイヤのRASL映像に対応する位置の向上レイヤ映像も、RASL映像であり、後に続くRPA映像と、先行するRPA映像とを参照することができる。基本レイヤストリームのRADL映像に対応する位置の向上レイヤ映像も、RADL映像であり、後に続くRPA映像だけ参照することができる。基本レイヤノーマル映像に対応する向上レイヤ映像は、CRA映像、RADL/RASL映像またはノーマル映像として復元される。
結局、ビデオ復号化装置200は、符号化過程において、最大符号化単位ごとに再帰的に符号化を行い、最小符号化誤差を発生させた符号化単位に係わる情報を獲得し、現在ピクチャに係わる復号化に利用することができる。すなわち、最大符号化単位ごとに、最適符号化単位と決定されたツリー構造による符号化単位の符号化された映像データの復号化が可能になる。
従って、高い解像度の映像、またはデータ量が過度に多い映像でも、符号化端から伝送された最適符号化モードに係わる情報を利用して、映像の特性に適応的に決定された符号化単位の大きさ及び符号化モードによって、効率的に映像データを復号化して復元することができる。
図10は、本発明の一実施形態による符号化単位の概念を図示している。
符号化単位の例は、符号化単位の大きさが幅x高さで表現され、サイズ64x64である符号化単位から、サイズ32x32,16x16,8x8を含んでもよい。サイズ64x64の符号化単位は、サイズ64x64,64x32,32x64,32x32のパーティションに分割され、サイズ32x32の符号化単位は、サイズ32x32,32x16,16x32,16x16のパーティションに分割され、サイズ16x16の符号化単位は、サイズ16x16,16x8,8x16,8x8のパーティションに分割され、サイズ8x8の符号化単位は、サイズ8x8,8x4,4x8,4x4のパーティションに分割される。
ビデオデータ310については、解像度が1920x1080、符号化単位の最大サイズが64、最大深度が2に設定されている。ビデオデータ320については、解像度が1920x1080、符号化単位の最大サイズが64、最大深度が3に設定されている。ビデオデータ330については、解像度が352x288、符号化単位の最大サイズが16、最大深度が1に設定されている。図10に図示された最大深度は、最大符号化単位から最小符号化単位までの全分割回数を示す。
解像度が高いか、あるいはデータ量が多い場合、符号化効率の向上だけでなく、映像特性を正確に反映するために、符号化サイズの最大サイズが相対的に大きいことが望ましい。従って、ビデオデータ330に比べ、解像度が高いビデオデータ310,320は、符号化サイズの最大サイズが64に選択される。
ビデオデータ310の最大深度が2であるので、ビデオデータ310の符号化単位315は、長軸サイズが64である最大符号化単位から、2回分割されて深度が2階層深くなり、長軸サイズが32,16である符号化単位まで含んでもよい。一方、ビデオデータ330の最大深度が1であるので、ビデオデータ330の符号化単位335は、長軸サイズが16である符号化単位から、1回分割されて深度が1階層深くなり、長軸サイズが8である符号化単位まで含んでもよい。
ビデオデータ320の最大深度が3であるので、ビデオデータ320の符号化単位325は、長軸サイズが64である最大符号化単位から、3回分割されて深度が3階層深くなり、長軸サイズが32,16,8である符号化単位まで含んでもよい。深度が深くなるほど、細部情報の表現能が向上する。
図11は、本発明の一実施形態による符号化単位に基づいた映像符号化部400のブロック図を図示している。
一実施形態による映像符号化部400は、ビデオ符号化装置100の符号化単位決定部120において、映像データを符号化するのに経る作業を含む。すなわち、イントラ予測部410は、現在フレーム405において、イントラモードの符号化単位に対してイントラ予測を行い、動き推定部420及び動き補償部425は、インターモードの現在フレーム405及び参照フレーム495を利用して、インター推定及び動き補償を行う。
イントラ予測部410、動き推定部420及び動き補償部425から出力されたデータは、変換部430及び量子化部440を経て、量子化された変換係数として出力される。量子化された変換係数は、逆量子化部460、逆変換部470を介して、空間領域のデータに復元され、復元された空間領域のデータは、デブロッキング部480及びオフセット調整部490を経て後処理され、参照フレーム495として出力される。量子化された変換係数は、エントロピー符号化部450を経て、ビットストリーム455として出力される。
一実施形態によるビデオ符号化装置100に適用されるためには、映像符号化部400の構成要素である、イントラ予測部410、動き推定部420、動き補償部425、変換部430、量子化部440、エントロピー符号化部450、逆量子化部460、逆変換部470、デブロッキング部480及びオフセット調整部490が、いずれも最大符号化単位ごとに最大深度を考慮し、ツリー構造による符号化単位のうち、それぞれの符号化単位に基づいた作業を遂行しなければならない。
特に、イントラ予測部410、動き推定部420及び動き補償部425は、現在最大符号化単位の最大サイズ及び最大深度を考慮し、ツリー構造による符号化単位のうち、それぞれの符号化単位のパーティション及び予測モードを決定し、変換部430は、ツリー構造による符号化単位のうち、それぞれの符号化単位内の変換単位の大きさを決定しなければならない。
映像符号化部400が、向上レイヤストリームを生成する場合には、基本レイヤストリームのRPA映像に対応する位置の向上レイヤ映像を、同種のRPA映像に指定することができる。イントラ予測部410は、RPA映像に対して、イントラ予測を行うことができる。
動き推定部420は、RPA映像と異なる非RPA映像のうち少なくとも一つを参照し、非RPA映像に対するインター予測を行うことができる。動き補償部425は、RPA映像と異なる非RPA映像のうち少なくとも一つを参照し、非RPA映像に対する動き補償を行うことができる。基本レイヤのRASL映像に対応する位置の向上レイヤ映像も、RASL映像であり、後に続くRPA映像と、先行するRPA映像とを参照することができる。基本レイヤストリームのRADL映像に対応する位置の向上レイヤ映像、もRADL映像であり、後に続くRPA映像だけ参照することができる。基本レイヤノーマル映像に対応する向上レイヤ映像は、CRA映像、RADL/RASL映像またはノーマル映像として符号化/復号化される。
図12は、本発明の一実施形態による、符号化単位に基づいた映像復号化部500のブロック図を図示している。
ビットストリーム505が、パージング部510を経て、復号化対象である符号化された映像データ、及び復号化のために必要な符号化に係わる情報がパージングされる。符号化された映像データは、エントロピー復号化部520及び逆量子化部530を経て、逆量子化されたデータとして出力され、逆変換部540を経て、空間領域の映像データが復元される。
空間領域の映像データに対して、イントラ予測部550は、イントラモードの符号化単位に対してイントラ予測を行い、動き補償部560は、参照フレーム585を共に利用して、インターモードの符号化単位に対して、動き補償を行う。
イントラ予測部550及び動き補償部560を経た空間領域のデータは、デブロッキング部570及びオフセット調整部580を経て後処理され、復元フレーム595として出力される。また、デブロッキング部570及びオフセット調整部580を経て後処理されたデータは、参照フレーム585として出力される。
ビデオ復号化装置200の映像データ復号化部230において、映像データを復号化するために、一実施形態による映像復号化部500のパージング部510以後の段階別作業が行われる。
一実施形態によるビデオ復号化装置200に適用されるためには、映像復号化部500の構成要素である、パージング部510、エントロピー復号化部520、逆量子化部530、逆変換部540、イントラ予測部550、動き補償部560、デブロッキング部570及びオフセット調整部580が、いずれも最大符号化単位ごとに、ツリー構造による符号化単位に基づいて作業を遂行しなければならない。
特に、イントラ予測部550、動き補償部560は、ツリー構造による符号化単位ごとに、それぞれパーティション及び予測モードを決定し、逆変換部540は、符号化単位ごとに、変換単位の大きさを決定しなければならない。
映像復号化部500が向上レイヤストリームを復号化する場合には、基本レイヤストリームのRPA映像に対応する位置で、基本レイヤRAP映像と同一のRPAタイプのRPA映像を復元することができる。イントラ予測部550は、向上レイヤRPA映像に対して、イントラ予測を行うことができる。
動き補償部560は、RPA映像と異なる非RPA映像のうち少なくとも一つを参照し、非RPA映像に対する動き補償を行うことができる。基本レイヤのRASL映像に対応する位置の向上レイヤ映像も、RASL映像であり、後に続くRPA映像と、先行するRPA映像とを参照することができる。基本レイヤストリームのRADL映像に対応する位置の向上レイヤ映像も、RADL映像であり、後に続くRPA映像だけ参照することができる。基本レイヤノーマル映像に対応する向上レイヤ映像は、CRA映像、RADL/RASL映像またはノーマル映像として復元される。
図13は、本発明の一実施形態による、深度別符号化単位及びパーティションを図示している。
一実施形態によるビデオ符号化装置100、及び一実施形態によるビデオ復号化装置200は、映像特性を考慮するために、階層的な符号化単位を使用する。符号化単位の最大高及び最大幅、最大深度は、映像の特性によって適応的に決定され、ユーザの要求によって、多様に設定される。既設定の符号化単位の最大サイズによって、深度別符号化単位の大きさが決定される。
一実施形態による符号化単位の階層構造600は、符号化単位の最大高及び最大幅が64であり、最大深度が3である場合を図示している。そのとき、最大深度は、最大符号化単位から最小符号化単位までの全分割回数を示す。一実施形態による符号化単位の階層構造600の縦軸に沿って、深度が深くなるので、深度別符号化単位の高さ及び幅がそれぞれ分割される。また、符号化単位の階層構造600の横軸に沿って、それぞれの深度別符号化単位の予測符号化の基礎になる予測単位及びパーティションが図示されている。
すなわち、符号化単位610は、符号化単位の階層構造600において、最大符号化単位であり、深度が0であり、符号化単位の大きさ、すなわち、高さ及び幅が64x64である。縦軸に沿って深度が深くなり、サイズ32x32である深度1の符号化単位620、サイズ16x16である深度2の符号化単位630、サイズ8x8である深度3の符号化単位640が存在する。サイズ8x8である深度3の符号化単位640は、最小符号化単位である。
それぞれの深度別に横軸に沿って、符号化単位の予測単位及びパーティションが配列される。すなわち、深度0のサイズ64x64の符号化単位610が予測単位であるならば、予測単位は、サイズ64x64の符号化単位610に含まれるサイズ64x64のパーティション610、サイズ64x32のパーティション612、サイズ32x64のパーティション614、サイズ32x32のパーティション616に分割される。
同様に、深度1のサイズ32x32の符号化単位620の予測単位は、サイズ32x32の符号化単位620に含まれるサイズ32x32のパーティション620、サイズ32x16のパーティション622、サイズ16x32のパーティション624、サイズ16x16のパーティション626に分割される。
同様に、深度2のサイズ16x16の符号化単位630の予測単位は、サイズ16x16の符号化単位630に含まれるサイズ16x16のパーティション630、サイズ16x8のパーティション632、サイズ8x16のパーティション634、サイズ8x8のパーティション636に分割される。
同様に、深度3のサイズ8x8の符号化単位640の予測単位は、サイズ8x8の符号化単位640に含まれるサイズ8x8のパーティション640、サイズ8x4のパーティション642、サイズ4x8のパーティション644、サイズ4x4のパーティション646に分割される。
一実施形態によるビデオ符号化装置100の符号化単位決定部120は、最大符号化単位610の符号化深度を決定するために、最大符号化単位610に含まれるそれぞれの深度の符号化単位ごとに、符号化を行わなければならない。
同一範囲及び同一サイズのデータを含むための深度別符号化単位の個数は、深度が深くなるほど、深度別符号化単位の個数も増加する。例えば、深度1の符号化単位一つを含むデータに対して、深度2の符号化単位は、四つが必要である。従って、同一のデータの符号化結果を深度別に比較するために、1つの深度1の符号化単位、及び4つの深度2の符号化単位を利用して、それぞれ符号化されなければならない。
それぞれの深度別符号化のためには、符号化単位の階層構造600の横軸に沿って、深度別符号化単位の予測単位ごとに符号化を行い、当該深度において、最小の符号化誤差である代表符号化誤差が選択される。また、符号化単位の階層構造600の縦軸に沿って深度が深くなり、それぞれの深度ごとに符号化を行い、深度別代表符号化誤差を比較し、最小符号化誤差が検索される。最大符号化単位610において、最小符号化誤差が発生する深度及びパーティションが、最大符号化単位610の符号化深度及びパーティションタイプに選択される。
図14は、本発明の一実施形態による、符号化単位及び変換単位の関係を図示している。
一実施形態によるビデオ符号化装置100、または一実施形態によるビデオ復号化装置200は、最大符号化単位ごとに、最大符号化単位より小さいか、あるいはそれと同じ大きさの符号化単位で、映像を符号化/復号化する。符号化過程のうち、変換のための変換単位の大きさは、それぞれの符号化単位ほど大きくないデータ単位を基に選択される。
例えば、一実施形態によるビデオ符号化装置100、または一実施形態によるビデオ復号化装置200で、現在符号化単位710が64x64サイズであるとき、32x32サイズの変換単位720を利用して変換が行われる。
また、64x64サイズの符号化単位710のデータを、64x64サイズ以下の32x32,16x16,8x8,4x4サイズの変換単位でそれぞれ変換を行って符号化した後、原本との誤差が最小である変換単位が選択される。
図15は、本発明の一実施形態による深度別符号化情報を図示している。
一実施形態によるビデオ符号化装置100の出力部130は、符号化モードに係わる情報として、それぞれの符号化深度の符号化単位ごとに、パーティションタイプに係わる情報800、予測モードに係わる情報810、変換単位サイズに対する情報820を符号化して伝送することができる。
パーティションタイプに係わる情報800は、現在符号化単位の予測符号化のためのデータ単位として、現在符号化単位の予測単位が分割されたパーティションの形態に係わる情報を示す。例えば、サイズ2Nx2Nの現在符号化単位CU_0は、サイズ2Nx2Nのパーティション802、サイズ2NxNのパーティション804、サイズNx2Nのパーティション806、サイズNxNのパーティション808のうちいずれか1つのタイプに分割されて利用される。その場合、現在符号化単位のパーティションタイプに係わる情報800は、サイズ2Nx2Nのパーティション802、サイズ2NxNのパーティション804、サイズNx2Nのパーティション806、及びサイズNxNのパーティション808のうち一つを示すように設定される。
予測モードに係わる情報810は、それぞれのパーティションの予測モードを示す。例えば、予測モードに係わる情報810を介して、パーティションタイプに係わる情報800が示すパーティションが、イントラモード812、インターモード814及びスキップモード816のうち一つで予測符号化が行われるかということが設定される。
また、変換単位サイズに係わる情報820は、現在符号化単位をいかなる変換単位を基に変換を行うかということを示す。例えば、変換単位は、第1イントラ変換単位サイズ822、第2イントラ変換単位サイズ824、第1インター変換単位サイズ826、第2インター変換単位サイズ828のうち一つでもある。
一実施形態によるビデオ復号化装置200の映像データ及び符号化情報抽出部210は、それぞれの深度別符号化単位ごとに、パーティションタイプに係わる情報800、予測モードに係わる情報810、変換単位サイズに係わる情報820を抽出し、復号化に利用することができる。
図16は、本発明の一実施形態による深度別符号化単位を図示している。
深度の変化を示すために、分割情報が利用される。分割情報は、現在深度の符号化単位が、下位深度の符号化単位に分割されるか否かということを示す。
深度0及び2N_0x2N_0サイズの符号化単位900の予測符号化のための予測単位910は、2N_0x2N_0サイズのパーティションタイプ912、2N_0xN_0サイズのパーティションタイプ914、N_0x2N_0サイズのパーティションタイプ916、N_0xN_0サイズのパーティションタイプ918を含んでもよい。予測単位が対称的な比率に分割されたパーティション912,914,916,918だけが例示されているが、前述のように、パーティションタイプは、それらに限定されるものではなく、非対称的パーティション、任意的形態のパーティション、幾何学的形態のパーティションなどを含んでもよい。
パーティションタイプごとに、1つの2N_0x2N_0サイズのパーティション、2つの2N_0xN_0サイズのパーティション、2つのN_0x2N_0サイズのパーティション、4つのN_0xN_0サイズのパーティションごとに、反復して予測符号化が行われなければならない。サイズ2N_0x2N_0、サイズN_0x2N_0、サイズ2N_0xN_0及びサイズN_0xN_0のパーティションについては、イントラモード及びインターモードで予測符号化が行われる。スキップモードは、サイズ2N_0x2N_0のパーティションについてのみ予測符号化が行われる。
サイズ2N_0x2N_0のパーティションタイプ912、2N_0xN_0のパーティションタイプ914、及びN_0x2N_0のパーティションタイプ916のうち一つによる符号化誤差が最小であるならば、それ以上下位深度に分割する必要ない。
サイズN_0xN_0のパーティションタイプ918による符号化誤差が最小であるならば、深度0を1に変更しながら分割し(920)、深度2及びサイズN_0xN_0のパーティションタイプの符号化単位930に対して反復して符号化を行い、最小符号化誤差を検索していく。
深度1及びサイズ2N_1x2N_1(=N_0xN_0)の符号化単位930の予測符号化のための予測単位940は、サイズ2N_1x2N_1のパーティションタイプ942、サイズ2N_1xN_1のパーティションタイプ944、サイズN_1x2N_1のパーティションタイプ946、サイズN_1xN_1のパーティションタイプ948を含んでもよい。
また、サイズN_1xN_1サイズのパーティションタイプ948による符号化誤差が最小であるならば、深度1を深度2に変更しながら分割し(950)、深度2及びサイズN_2xN_2の符号化単位960に対して反復して符号化を行い、最小符号化誤差を検索していく。
最大深度がdである場合、深度別符号化単位は、深度d−1になるまで設定され、分割情報は、深度d−2まで設定される。すなわち、深度d−2から分割され(970)、深度d−1まで符号化が行われる場合、深度d−1及びサイズ2N_(d−1)x2N_(d−1)の符号化単位980の予測符号化のための予測単位990は、サイズ2N_(d−1)x2N_(d−1)のパーティションタイプ992、サイズ2N_(d−1)xN_(d−1)のパーティションタイプ994、サイズN_(d−1)x2N_(d−1)のパーティションタイプ996、サイズN_(d−1)xN_(d−1)のパーティションタイプ998を含んでもよい。
パーティションタイプにおいて、1つのサイズ2N_(d−1)x2N_(d−1)のパーティション、2つのサイズ2N_(d−1)xN_(d−1)のパーティション、2つのサイズN_(d−1)x2N_(d−1)のパーティション、4つのサイズN_(d−1)xN_(d−1)のパーティションごとに、反復して予測符号化を介した符号化が行われ、最小符号化誤差が発生するパーティションタイプが検索される。
サイズN_(d−1)xN_(d−1)のパーティションタイプ998による符号化誤差が最小であるとしても、最大深度がdであるので、深度d−1の符号化単位CU_(d−1)は、それ以上下位深度への分割過程を経ず、現在最大符号化単位900に対する符号化深度が深度d−1と決定され、パーティションタイプは、N_(d−1)xN_(d−1)と決定される。また、最大深度がdであるので、深度d−1の符号化単位952に対して、分割情報が設定されない。
データ単位999は、現在最大符号化単位に係わる「最小単位」とされる。一実施形態による最小単位は、最下位符号化深度である最小符号化単位が4分割された大きさの正方形のデータ単位でもある。そのような反復的符号化過程を介して、一実施形態によるビデオ符号化装置100は、符号化単位900の深度別符号化誤差を比較し、最小の符号化誤差が発生する深度を選択し、符号化深度を決定し、当該パーティションタイプ及び予測モードが、符号化深度の符号化モードと設定される。
そのように、深度0,1,…,d−1,dの全ての深度別最小符号化誤差を比較し、誤差が最小である深度が選択され、符号化深度として決定される。符号化深度、並びに予測単位のパーティションタイプ及び予測モードは、符号化モードに係わる情報として符号化されて伝送される。また、深度0から符号化深度に至るまで符号化単位が分割されなければならないので、符号化深度の分割情報だけが「0」に設定され、符号化深度を除いた深度別分割情報は、「1」に設定されなければならない。
一実施形態によるビデオ復号化装置200の映像データ及び符号化情報抽出部220は、符号化単位900に対する符号化深度及び予測単位に係わる情報を抽出し、符号化単位912を復号化するのに利用される。一実施形態によるビデオ復号化装置200は、深度別分割情報を利用して、分割情報が「0」である深度を符号化深度と把握し、当該深度に係わる符号化モードに係わる情報を利用して、復号化に利用することができる。
図17、図18及び図19は、本発明の一実施形態による、符号化単位、予測単位及び変換単位の関係を図示している。
符号化単位1010は、最大符号化単位に対して、一実施形態によるビデオ符号化装置100が決定した符号化深度別符号化単位である。予測単位1060は、符号化単位1010において、それぞれの符号化深度別符号化単位の予測単位のパーティションであり、変換単位1070は、それぞれの符号化深度別符号化単位の変換単位である。
深度別符号化単位1010は、最大符号化単位の深度が0であるとすれば、符号化単位1012,1054は、深度が1、符号化単位1014,1016,1018,1028,1050,1052は、深度が2、符号化単位1020,1022,1024,1026,1030,1032,1048は、深度が3、符号化単位1040,1042,1044,1046は、深度が4である。
予測単位1060のうち一部パーティション1014,1016,1022,1032,1048,1050,1052,1054は、符号化単位が分割された形態である。すなわち、パーティション1014,1022,1050,1054は、2NxNのパーティションタイプであり、パーティション1016,1048,1052は、Nx2Nのパーティションタイプであり、パーティション1032は、NxNのパーティションタイプである。深度別符号化単位1010の予測単位及びパーティションは、それぞれの符号化単位より小さいか、あるいはそれと同じである。
変換単位1070のうち一部変換単位1052の映像データについては、符号化単位に比べ、小サイズのデータ単位で変換または逆変換が行われる。また、変換単位1014,1016,1022,1032,1048,1050,1052,1054は、予測単位1060のうち当該予測単位及びパーティションと比較すれば、互いに異なる大きさまたは形態のデータ単位である。すなわち、一実施形態によるビデオ符号化装置100、及び一実施形態に他のビデオ復号化装置200は、同一の符号化単位に係わるイントラ予測/動き推定/動き補償作業、及び変換/逆変換作業であるとしても、それぞれ別個のデータ単位を基に遂行することができる。
それにより、最大符号化単位ごとに、領域別に階層的な構造の符号化単位ごとに再帰的に符号化が行われ、最適符号化単位が決定されることにより、再帰的ツリー構造による符号化単位が構成される。符号化情報は、符号化単位に係わる分割情報、パーティションタイプ情報、予測モード情報、変換単位サイズ情報を含んでもよい。下記表1は、一実施形態によるビデオ符号化装置100、及び一実施形態によるビデオ復号化装置200で設定することができる一例を示している。
Figure 0006050488
一実施形態によるビデオ符号化装置100の出力部130は、ツリー構造による符号化単位に係わる符号化情報を出力し、一実施形態によるビデオ復号化装置200の符号化情報抽出部220は、受信されたビットストリームから、ツリー構造による符号化単位に係わる符号化情報を抽出することができる。
分割情報は、現在符号化単位が、下位深度の符号化単位に分割されるか否かということを示す。現在深度dの分割情報が0であるならば、現在符号化単位が、現在符号化単位が下位符号化単位にそれ以上分割されない深度が符号化深度であるので、符号化深度に対して、パーティションタイプ情報、予測モード、変換単位サイズ情報が定義される。分割情報によって、1段階さらに分割されなければならない場合には、分割された4個の下位深度の符号化単位ごとに、独立して符号化が行われなければならない。
予測モードは、イントラモード、インターモード及びスキップモードのうち一つで示すことができる。イントラモード及びインターモードは、全てのパーティションタイプで定義され、スキップモードは、パーティションタイプ2Nx2Nでのみ定義される。
パーティションタイプ情報は、予測単位の高さまたは幅が、対称的な比率に分割された対称的パーティションタイプ2Nx2N,2NxN,Nx2N及びNxNと、非対称的な比率に分割された非対称的パーティションタイプ2NxnU,2NxnD,nLx2N,nRx2Nとを示すことができる。非対称的パーティションタイプ2NxnU及び2NxnDは、それぞれ高さが1:3及び3:1に分割された形態であり、非対称的パーティションタイプnLx2N及びnRx2Nは、それぞれ幅が1:3及び3:1に分割された形態を示す。
変換単位サイズは、イントラモードで2種の大きさ、インターモードで2種の大きさに設定される。すなわち、変換単位分割情報が0であるならば、変換単位の大きさが、現在符号化単位のサイズ2Nx2Nに設定される。変換単位分割情報が1であるならば、現在符号化単位が分割された大きさの変換単位が設定される。また、サイズ2Nx2Nである現在符号化単位に係わるパーティションタイプが対称形パーティションタイプであるならば、変換単位の大きさは、NxNに設定され、非対称形パーティションタイプであるならば、N/2xN/2に設定される。
一実施形態によるツリー構造による符号化単位の符号化情報は、符号化深度の符号化単位、予測単位及び最小単位単位のうち少なくとも一つに対して割り当てられる。符号化深度の符号化単位は、同一の符号化情報を保有している予測単位及び最小単位を一つ以上含んでもよい。
従って、隣接したデータ単位同士それぞれ保有している符号化情報を確認すれば、同一の符号化深度の符号化単位に含まれるか否かということが確認される。また、データ単位が保有している符号化情報を利用すれば、当該符号化深度の符号化単位を確認することができるので、最大符号化単位内の符号化深度の分布が類推される。
従って、その場合、現在符号化単位が周辺データ単位を参照して予測する場合、現在符号化単位に隣接する深度別符号化単位内のデータ単位の符号化情報が直接参照されて利用される。
他の実施形態で、現在符号化単位が周辺符号化単位を参照して予測符号化が行われる場合、隣接する深度別符号化単位の符号化情報を利用して、深度別符号化単位内で、現在符号化単位に隣接するデータが検索されることによって、周辺符号化単位が参照されてもよい。
図20は、表1の符号化モード情報による符号化単位、予測単位及び変換単位の関係を図示している。
最大符号化単位1300は、符号化深度の符号化単位1302,1304,1306,1312,1314,1316,1318を含む。そのうち1つの符号化単位1318は、符号化深度の符号化単位であるので、分割情報が0に設定される。サイズ2Nx2Nの符号化単位1318のパーティションタイプ情報は、パーティションタイプ2Nx2N 1322,2NxN 1324,Nx2N 1326,NxN 1328,2NxnU 1332,2NxnD 1334,nLx2N 1336及びnRx2N 1338のうち一つに設定される。
変換単位分割情報(TU size flag)は、変換インデックスの一種であり、変換インデックスに対応する変換単位の大きさは、符号化単位の予測単位タイプまたはパーティションタイプによって変更される。
例えば、パーティションタイプ情報が、対称形パーティションタイプ2Nx2N 1322,2NxN 1324,Nx2N 1326及びNxN 1328のうち一つに設定されている場合、変換単位分割情報が0であるならば、サイズ2Nx2Nの変換単位1342が設定され、変換単位分割情報が1であるならば、サイズNxNの変換単位1344が設定される。
パーティションタイプ情報が非対称形パーティションタイプ2NxnU 1332,2NxnD 1334,nLx2N 1336及びnRx2N 1338のうち一つに設定された場合、変換単位分割情報(TU size flag)が0であるならば、サイズ2Nx2Nの変換単位1352が設定され、変換単位分割情報が1であるならば、サイズN/2xN/2の変換単位1354が設定される。
図20を参照して説明した変換単位分割情報(TU size flag)は、0または1の値を有するフラグであるが、一実施形態による変換単位分割情報は、1ビットのフラグに限定されるものではなく、設定によって、0、1、2、3、…などに増加し、変換単位が階層的に分割されてもよい。変換単位分割情報は、変換インデックスの一実施形態として利用される。
その場合、一実施形態による変換単位分割情報を、変換単位の最大サイズ、変換単位の最小サイズと共に利用すれば、実際に利用された変換単位の大きさが表現される。一実施形態によるビデオ符号化装置100は、最大変換単位サイズ情報、最小変換単位サイズ情報及び最大変換単位分割情報を符号化することができる。符号化された最大変換単位サイズ情報、最小変換単位サイズ情報及び最大変換単位分割情報は、SPS(sequence parameter set)に挿入される。一実施形態によるビデオ復号化装置200は、最大変換単位サイズ情報、最小変換単位サイズ情報及び最大変換単位分割情報を利用して、ビデオ復号化に利用することができる。
例えば、(a)現在符号化単位がサイズ64x64であり、最大変換単位サイズが32x32であるならば、(a−1)変換単位分割情報が0であるとき、変換単位の大きさは、32x32に設定され、(a−2)変換単位分割情報が1であるとき、変換単位の大きさは、16x16に設定され、(a−3)変換単位分割情報が2であるとき、変換単位の大きさは、8x8に設定される。
他の例として、(b)現在符号化単位がサイズ32x32であり、最小変換単位サイズが32x32であるならば、(b−1)変換単位分割情報が0であるとき、変換単位の大きさは、32x32に設定され、変換単位の大きさは、32x32より小さいことがないので、それ以上の変換単位分割情報が設定されるものではない。
さらに他の例として、(c)現在符号化単位がサイズ64x64であり、最大変換単位分割情報が1であるならば、変換単位分割情報は、0または1であり、他の変換単位分割情報が設定されるものではない。
従って、最大変換単位分割情報を「MaxTransformSizeIndex」、最小変換単位サイズを「MinTransformSize」、変換単位分割情報が0である場合の変換単位サイズを「RootTuSize」と定義するとき、現在符号化単位で可能な最小変換単位サイズ「CurrMinTuSize」は、下記数式(1)のようにされる。
CurrMinTuSize
=max(MinTransformSize,RootTuSize/(2^MaxTransformSizeIndex)) (1)
現在符号化単位で可能な最小変換単位サイズ「CurrMinTuSize」と比較し、変換単位分割情報が0である場合の変換単位サイズである「RootTuSize」は、システム上採択可能な最大変換単位サイズを示すことができる。すなわち、数式(1)によれば、「RootTuSize/(2^MaxTransformSizeIndex)」は、変換単位分割情報が0である場合の変換単位サイズである「RootTuSize」を最大変換単位分割情報に相応する回数ほど分割した変換単位サイズであり、「MinTransformSize」は、最小変換単位サイズであるので、それらのうち小さな値が、現在現在符号化単位で可能な最小変換単位サイズ「CurrMinTuSize」でもある。
一実施形態による最大変換単位サイズ「RootTuSize」は予測モードによって変わることもできる。
例えば、現在予測モードがインターモードであるならば、「RootTuSize」は、下記数式(2)によって決定される。数式(2)で、「MaxTransformSize」は、最大変換単位サイズ、「PUSize」は、現在予測単位サイズを示す。
「RootTuSize」=min(MaxTransformSize,PUSize) (2)
すなわち、現在予測モードがインターモードであるならば、変換単位分割情報が0である場合の変換単位サイズである「RootTuSize」は、最大変換単位サイズ及び現在予測単位サイズのうち小さな値に設定される。
現在パーティション単位の予測モードが予測モードがイントラモードであるならば、「RootTuSize」は、下記数式(3)によって決定される。「PartitionSize」は、現在パーティション単位の大きさを示す。
RootTuSize=min(MaxTransformSize,PartitionSize) (3)
すなわち、現在予測モードがイントラモードであるならば、変換単位分割情報が0である場合の変換単位サイズである「RootTuSize」は、最大変換単位サイズ及び現在パーティション単位サイズのうち小さな値に設定される。
ただし、パーティション単位の予測モードによって変動する一実施形態による現在最大変換単位サイズ「RootTuSize」は、一実施形態であるのみ、現在最大変換単位サイズを決定する要因がそれに限定されるものではないことに留意しなければならない。
図8ないし図20を参照して説明した、ツリー構造の符号化単位に基づいたビデオ符号化技法によって、ツリー構造の符号化単位ごとに、空間領域の映像データが符号化され、ツリー構造の符号化単位に基づいたビデオ復号化技法によって、最大符号化単位ごとに復号化が行われながら、空間領域の映像データが復元され、ピクチャ及びピクチャシーケンスであるビデオが復元される。復元されたビデオは、再生装置によって再生されるか、記録媒体に保存されるか、あるいはネットワークを介して伝送される。
一方、前述の本発明の実施形態は、コンピュータで実行されるプログラムで作成可能であり、コンピュータで読み取り可能な記録媒体を利用して、前記プログラムを動作させる汎用デジタルコンピュータで具現される。前記コンピュータで読み取り可能な記録媒体は、マグネチック記録媒体(例えば、ROM(read only memory)、フロッピー(登録商標)ディスク、ハードディスクなど)、光学的判読媒体(例えば、CD(compact disc)−ROM、DVD(digital versatile disc))のような記録媒体を含む。
説明の便宜のために、前述の図1Aないし図20を参照して説明したマルチレイヤビデオ予測方法、マルチレイヤビデオ復号化方法によるビデオ符号化方法は、「本発明のビデオ符号化方法」とする。また、前述の図1Aないし図20を参照して説明したマルチレイヤビデオ復号化方法によるビデオ復号化方法は、「本発明のビデオ復号化方法」とする
また、前述の図1Aないし図20を参照して説明したマルチレイヤビデオ符号化装置10、マルチレイヤビデオ復号化装置20、ビデオ符号化装置100、または映像符号化部400で構成されたビデオ符号化装置は、「本発明のビデオ符号化装置」とする。また、前述の図1Aないし図20を参照して説明したマルチレイヤビデオ復号化装置20、ビデオ復号化装置200、または映像復号化部500で構成されたビデオ復号化装置は、「本発明のビデオ復号化装置」とする。
一実施形態によるプログラムが保存されるコンピュータで読み取り可能な記録媒体がディスク26000である実施形態について、以下で詳細に説明する。
図21は、一実施形態による、プログラムが保存されたディスク26000の物理的構造を例示する。記録媒体として説明したディスク26000は、ハードドライブ、CD−ROMディスク、ブルレイ(登録商標(Blu-ray))ディスク、DVDディスクでもある。ディスク26000は、多数の同心円のトラックTrで構成され、トラックは、円周方向に沿って所定個数のセクタSeに分割される。前述の一実施形態によるプログラムを保存するディスク26000において特定領域に、前述の量子化パラメータ決定方法、ビデオ符号化方法及びビデオ復号化方法を具現するためのプログラムが割り当てられて保存される。
前述のビデオ符号化方法及びビデオ復号化方法を具現するためのプログラムを保存する記録媒体を利用して達成されたコンピュータシステムについて、図22を参照し、以下で説明する。
図22は、ディスク26000を利用して、プログラムを記録して判読するためのディスクドライブ26800を図示している。コンピュータ・システム26700は、ディスクドライブ26800を利用して、本発明のビデオ符号化方法及びビデオ復号化方法のうち少なくとも一つを具現するためのプログラムをディスク26000に保存することができる。ディスク26000に保存されたプログラムを、コンピュータシステム26700上で実行するために、ディスクドライブ26800によって、ディスク26000からプログラムが判読され、プログラムが、コンピュータシステム26700に伝送される。
図21及び図22で例示されたディスク26000だけでなく、メモリカード、ROMカセット、SSD(solid state drive)にも、本発明のビデオ符号化方法及びビデオ復号化方法のうち少なくとも一つを具現するためのプログラムが保存される。
前述の実施形態によるビデオ符号化方法及びビデオ復号化方法が適用されたシステムについて説明する。
図23は、コンテンツ流通サービス(content distribution service)を提供するためのコンテンツ供給システム(content supply system)11000の全体的構造を図示している。通信システムのサービス領域は、所定サイズのセルに分割され、各セルに、ベースステーションになる無線基地局11700,11800,11900,12000が設置される。
コンテンツ供給システム11000は、多数の独立デバイスを含む。例えば、コンピュータ12100、PDA(personal digital assistant)12200、ビデオカメラ12300及び携帯電話12500のような独立デバイスが、インターネットサービス・プロバイダ11200、通信網11400、及び無線基地局11700,11800,11900,12000を経て、インターネット11100に連結される。
しかし、コンテンツ供給システム11000は、図24に図示された構造にのみ限定されるものではなく、デバイスが選択的に連結されてもよい。独立デバイスは、無線基地局11700,11800,11900,12000を経ずに、通信網11400に直接連結されてもよい。
ビデオカメラ12300は、デジタルビデオカメラのように、ビデオ映像を撮影することができる撮像デバイスである。携帯電話12500は、PDC(personal digital communications)方式、CDMA(code division multiple access)方式、W−CDMA(wideband code division multiple access)方式、GSM(登録商標(global system for mobile communications))方式、及びPHS(personal handyphone system)方式のような多様なプロトコルのうち、少なくとも1つの通信方式を採択することができる。
ビデオカメラ12300は、無線基地局11900及び通信網11400を経て、ストリーミングサーバ11300に連結される。ストリーミングサーバ11300は、ユーザが、ビデオカメラ12300を使用して伝送したコンテンツを、リアルタイム放送でストリーミング伝送を行うことができる。ビデオカメラ12300から受信されたコンテンツは、ビデオカメラ12300またはストリーミングサーバ11300によって符号化される。ビデオカメラ12300に撮影されたビデオデータは、コンピュータ12100を経て、ストリーミングサーバ11300に伝送される。
カメラ12600に撮影されたビデオデータも、コンピュータ12100を経て、ストリーミングサーバ11300に伝送される。カメラ12600は、デジタルカメラのように、静止映像とビデオ映像とをいずれも撮影することができる撮像装置である。カメラ12600から受信されたビデオデータは、カメラ12600またはコンピュータ12100によって符号化される。ビデオ符号化及びビデオ復号化のためのソフトウェアは、コンピュータ12100がアクセスすることができるCD−ROMディスク、フロッピー(登録商標)ディスク、ハードディスクドライブ、SSD、メモリカードのようなコンピュータで読み取り可能な記録媒体に保存される。
また,携帯電話12500に搭載されたカメラによってビデオが撮影された場合、ビデオデータが携帯電話12500から受信される。
ビデオデータは、ビデオカメラ12300、携帯電話12500またはカメラ12600に搭載されたLSI(large scale integrated circuit)システムによって符号化される。
一実施形態によるコンテンツ供給システム11000において、例えば、コンサートの現場録画コンテンツのように、ユーザが、ビデオカメラ12300、カメラ12600、携帯電話12500または他の撮像デバイスを利用して録画されたコンテンツが符号化され、ストリーミングサーバ11300に伝送される。ストリーミングサーバ11300は、コンテンツデータを要請した他のクライアントに、コンテンツデータについてストリーミング伝送を行うことができる。
クライアントは、符号化されたコンテンツデータを復号化することができるデバイスであり、例えば、コンピュータ12100、PDA 12200、ビデオカメラ12300または携帯電話12500でもある。従って、コンテンツ供給システム11000は、クライアントをして、符号化されたコンテンツデータを受信して再生させる。また、コンテンツ供給システム11000は、クライアントをして、符号化されたコンテンツデータを受信してリアルタイムで復号化して再生させ、個人放送(personal broadcasting)を可能にする。
コンテンツ供給システム11000に含まれた独立デバイスの符号化動作及び復号化動作に、本発明のビデオ符号化装置及びビデオ復号化装置が適用される。
図24及び図25を参照し、コンテンツ供給システム11000において、携帯電話12500の一実施形態について詳細に説明する。
図24は、一実施形態による、本発明のビデオ符号化方法及びビデオ復号化方法が適用される携帯電話12500の外部構造を図示している。携帯電話12500は、機能が制限されておらず、応用プログラムを介して、相当部分の機能を変更したり、あるいは拡張することができるスマートフォンでもある。
携帯電話12500は、無線基地局12000とRF(radio frequency)信号を交換するための内蔵アンテナ12510を含み、カメラ12530によって撮影された映像、またはアンテナ12510によって受信されて復号化された映像をディスプレイするためのLCD(liquid crystal display)、OLED(organic light emitting diode)画面のようなディスプレイ画面12520を含む。スマートフォン12510は、制御ボタン、タッチパネルを含む動作パネル12540を含む。ディスプレイ画面12520がタッチスクリーンである場合、動作パネル12540は、ディスプレイ画面12520のタッチ感知パネルをさらに含む。スマートフォン12510は、音声、音響を出力するためのスピーカ12580、または他の形態の音響出力部と、音声、音響が入力されるマイクロフォン12550、または他の形態の音響入力部と、を含む。スマートフォン12510は、ビデオ及び静止映像を撮影するためのCCD(charge coupled device)カメラのようなカメラ12530をさらに含む。また、スマートフォン12510は、カメラ12530によって撮影されたり、電子メール(E−mail)でもって受信されたり、あるいは他の形態で獲得されたりするビデオや静止映像のように、符号化されたり復号化されたりするデータを保存するための記録媒体12570;及び記録媒体12570を携帯電話12500に装着するためのスロット12560;を含んでもよい。記録媒体12570は、SDカード、またはプラスチックケースに内蔵されたEEPROM(electrically erasable and programmable read only memory)のような他の形態のフラッシュメモリでもある。
図25は、携帯電話12500の内部構造を図示している。ディスプレイ画面12520及び動作パネル12540で構成された携帯電話12500の各パートを組織的に制御するために、電力供給回路12700、動作入力制御部12640、映像符号化部12720、カメラ・インターフェース12630、LCD制御部12620、映像復号化部12690、マルチプレクサ/デマルチプレクサ(MUX/DEMUX:multiplexer/demultiplexer)12680、記録/判読部12670、変調/復調(modulation/demodulation)部12660及び音響処理部12650が、同期化バス12730を介して、中央制御部12710に連結される。
ユーザが電源ボタンを動作させ、「電源オフ」状態から「電源オン」状態に設定すれば、電力供給回路12700は、バッテリパックから、携帯電話12500の各パートに電力を供給することにより、携帯電話12500が動作モードにセッティングされる。
中央制御部12710は、CPU(central processing unit)、ROM及びRAM(random access memory)を含む。
携帯電話12500が外部に通信データを送信する過程では、中央制御部12710の制御によって、携帯電話12500でデジタル信号が生成される、例えば、音響処理部12650では、デジタル音響信号が生成され、映像符号化部12720では、デジタル映像信号が生成され、動作パネル12540及び動作入力制御部12640を介して、メッセージのテキストデータが生成される。中央制御部12710の制御によって、デジタル信号が変調/復調部12660に伝達されれば、変調/復調部12660は、デジタル信号の周波数帯域を変調し、通信回路12610は、帯域変調されたデジタル音響信号に対して、D/A変換(digital−analog conversion)処理及び周波数変換(frequency conversion)処理を行う。通信回路12610から出力された送信信号は、アンテナ12510を介して、音声通信基地局または無線基地局12000に送出される。
例えば、携帯電話12500が通話モードであるとき、マイクロフォン12550によって獲得された音響信号は、中央制御部12710の制御によって、音響処理部12650でデジタル音響信号に変換される。生成されたデジタル音響信号は、変調/復調部12660及び通信回路12610を経て、送信信号に変換され、アンテナ12510を介して送出される。
データ通信モードで、電子メールのようなテキストメッセージが伝送される場合、動作パネル12540を利用して、メッセージのテキストデータが入力され、テキストデータが、動作入力制御部12640を介して、中央制御部12610に伝送される。中央制御部12610の制御によって、テキストデータは、変調/復調部12660及び通信回路12610を介して送信信号に変換され、アンテナ12510を介して、無線基地局12000に送出される。
データ通信モードで映像データを伝送するために、カメラ12530によって撮影された映像データが、カメラ・インターフェース12630を介して、映像符号化部12720に提供される。カメラ12530によって撮影された映像データは、カメラ・インターフェース12630及びLCD制御部12620を介して、ディスプレイ画面12520で直ちにディスプレイされる。
映像符号化部12720の構造は、前述の本発明のビデオ符号化装置の構造と相応する。映像符号化部12720は、カメラ12530から提供された映像データを、前述の本発明のビデオ符号化方式によって符号化し、圧縮符号化された映像データに変換し、符号化された映像データを、多重化/逆多重化部12680に出力することができる。カメラ12530の録画中に、携帯電話12500のマイクロフォン12550によって獲得された音響信号も、音響処理部12650を経て、デジタル音響データに変換され、デジタル音響データは、多重化/逆多重化部12680に伝達される。
多重化/逆多重化部12680は、音響処理部12650から提供された音響データと共に、映像符号化部12720から提供された符号化された映像データを多重化する。多重化されたデータは、変調/復調部12660及び通信回路12610を介して、送信信号に変換され、アンテナ12510を介して送出される。
携帯電話12500が、外部から通信データを受信する過程では、アンテナ12510を介して受信された信号を、周波数復元(frequency recovery)及びA/D変換(analog−digital conversion)処理を介して、デジタル信号を変換する。変調/復調部12660は、デジタル信号の周波数帯域を復調する。帯域復調されたデジタル信号は、種類によって、ビデオ復号化部12690、音響処理部12650またはLCD制御部12620に伝達される。
携帯電話12500は、通話モードであるとき、アンテナ12510を介して受信された信号を増幅し、周波数変換及びA/D変換(analog−digital conversion)処理を介して、デジタル音響信号を生成する。受信されたデジタル音響信号は、中央制御部12710の制御によって、変調/復調部12660及び音響処理部12650を経て、アナログ音響信号に変換され、アナログ音響信号がスピーカ12580を介して出力される。
データ通信モードで、インターネットのウェブサイトからアクセスされたビデオファイルのデータが受信される場合、アンテナ12510を介して、無線基地局12000から受信された信号は、変調/復調部12660の処理結果、多重化されたデータを出力し、多重化されたデータは、多重化/逆多重化部12680に伝達される。
アンテナ12510を介して受信した多重化されたデータを復号化するために、多重化/逆多重化部12680は、多重化されたデータを逆多重化し、符号化されたビデオデータストリームと、符号化されたオーディオデータストリームとを分離する。同期化バス12730によって、符号化されたビデオデータストリームは、ビデオ復号化部12690に提供され、符号化されたオーディオデータストリームは、音響処理部12650に提供される。
映像復号化部12690の構造は、前述の本発明のビデオ復号化装置の構造と相応する。映像復号化部12690は、前述の本発明のビデオ復号化方法を利用して、符号化されたビデオデータを復号化し、復元されたビデオデータを生成し、復元されたビデオデータを、LCD制御部1262を経て、ディスプレイ画面1252に、復元されたビデオデータを提供することができる。
それにより、インターネットのウェブサイトからアクセスされたビデオファイルのビデオデータが、ディスプレイ画面1252でディスプレイされる。それと同時に、音響処理部12650も、オーディオデータをアナログ音響信号に変換し、アナログ音響信号をスピーカ1258に提供することができる。それにより、インターネットのウェブサイトからアクセスされたビデオファイルに含まれたオーディオデータも、スピーカ12580で再生される。
携帯電話1250、または他の形態の通信端末機は、本発明のビデオ符号化装置及びビデオ復号化装置をいずれも含む送受信端末機であるか、前述の本発明のビデオ符号化装置のみを含む送信端末機であるか、本発明のビデオ復号化装置のみを含む受信端末機でもある。
本発明の通信システムは、図24を参照して説明した構造に限定されるものではない。例えば、図26は、本発明による通信システムが適用されたデジタル放送システムを図示している。図26の一実施形態によるデジタル放送システムは、本発明のビデオ符号化装置及びビデオ復号化装置を利用して、衛星ネットワークまたは地上波ネットワークを介して伝送されるデジタル放送を受信することができる。
具体的に説明すれば、放送局12890は、電波を介して、ビデオデータストリームを通信衛星または放送衛星12900に伝送する。放送衛星12900は、放送信号を伝送し、放送信号は、家庭にあるアンテナ12860によって、衛星放送受信機に受信される。各家庭で、符号化されたビデオストリームは、TV(television)受信機12810、セットトップボックス(set-topbox)12870または他のデバイスによって、復号化されて再生される。
再生装置12830で、本発明のビデオ復号化装置が具現されることにより、再生装置12830が、ディスク及びメモリカードのような記録媒体12820に記録された符号化されたビデオストリームを判読して復号化することができる。それにより、復元されたビデオ信号は、例えば、モニタ12840で再生される。
衛星/地上波放送のためのアンテナ12860、またはケーブルTV受信のためのケーブルアンテナ12850に連結されたセットトップボックス12870にも、本発明のビデオ復号化装置が搭載される。セットトップボックス12870の出力データも、TVモニタ12880で再生される。
他の例として、セットトップボックス12870の代わりに、TV受信機12810自体に、本発明のビデオ復号化装置が搭載されてもよい。
適切なアンテナ12910を具備した自動車12920が、衛星12800または無線基地局11700(図23)から送出される信号を受信することもできる。自動車12920に搭載された自動車ナビゲーションシステム12930のディスプレイ画面に、復号化されたビデオが再生される。
ビデオ信号は、本発明のビデオ符号化装置によって符号化され、記録媒体に記録されて保存される。具体的に説明すれば、DVDレコーダによって、映像信号がDVDディスク12960に保存されるか、あるいはハードディスクレコーダ12950によってハードディスクに映像信号が保存される。他の例として、ビデオ信号はS、Dカード12970に保存されてもよい。ハードディスクレコーダ12950が、一実施形態による本発明のビデオ復号化装置を具備すれば、DVDディスク12960、SDカード12970または他の形態の記録媒体に記録されたビデオ信号が、モニタ12880で再生される。
自動車ナビゲーションシステム12930は、図26のカメラ12530、カメラ・インターフェース12630及び映像符号化部12720を含まないこともある。例えば、コンピュータ12100及びTV受信機12810も、図26のカメラ12530、カメラ・インターフェース12630及び映像符号化部12720を含まないこともある。
図27は、本発明の一実施形態によるビデオ符号化装置及びビデオ復号化装置を利用するクラウドコンピューティング・システムのネットワーク構造を図示している。
本発明のクラウドコンピューティング・システムは、クラウドコンピューティングサーバ14100、ユーザDB(database)14100、コンピューティング資源14200及びユーザ端末機を含んでなってもよい。
クラウドコンピューティング・システムは、ユーザ端末機の要請によって、インターネットのような情報通信網を介して、コンピューティング資源のオンデマンド・アウトソーシングサービスを提供する。クラウドコンピューティング環境で、サービスプロバイダは、互いに異なる物理的な位置に存在するデータセンターのコンピューティング資源を仮想化技術で統合し、ユーザが必要とするサービスを提供する。サービスユーザは、アプリケーション(application)、ストレージ(storage)、運用体制(OS)、保安(security)などのコンピューティング資源を、各ユーザ所有の端末にインストールして使用するのではなく、仮想化技術を介して生成された仮想空間上のサービスを、所望時点で所望するほど選んで使用することができる。
特定サービスユーザのユーザ端末機は、インターネット及び移動通信網を含む情報通信網を介して、クラウドコンピューティングサーバ14100に接続する。ユーザ端末機は、クラウドコンピューティングサーバ14100から、クラウドコンピューティングサービス、特に、動画再生サービスを提供される。ユーザ端末機は、デスクトップPC(personal computer)14300、スマートTV 14400、スマートフォン14500、ノート型パソコン14600、PMP(portable multimedia player)14700、テブレットPC 14800など、インターネット接続が可能な全ての電子機器にもなる。
クラウドコンピューティングサーバ14100は、クラウド網に分散している多数のコンピューティング資源14200を統合してユーザ端末機に提供することができる。多数のコンピューティング資源14200は、さまざまなデータサービスを含み、ユーザ端末機からアップロードされたデータを含んでもよい。そのように、クラウドコンピューティングサーバ14100は、さまざまなところに分散している動画データベースを仮想化技術で統合し、ユーザ端末機が要求するサービスを提供する。
ユーザDB 14100には、クラウドコンピューティングサービスに加入しているユーザ情報が保存される。ここで、ユーザ情報は、ログイン情報や、住所、名前など個人信用情報を含んでもよい。また、ユーザ情報は、動画のインデックス(index)を含んでもよい。ここで、インデックスは、再生を完了した動画リストや、再生中の動画リストや、再生中の動画の停止時点などを含んでもよい。
ユーザDB 14100に保存された動画に係わる情報は、ユーザデバイス間に共有される。従って、例えば、ノート型パソコン14600から再生要請され、ノート型パソコン14600に所定動画サービスを提供した場合、ユーザDB 14100に所定動画サービスの再生ヒストリーが保存される。スマートフォン14500から同一の動画サービスの再生要請が受信される場合、クラウドコンピューティングサーバ14100は、ユーザDB 14100を参照し、所定動画サービスを探して再生する。スマートフォン14500が、クラウドコンピューティングサーバ14100を介して、動画データストリームを受信する場合、動画データストリームを復号化してビデオを再生する動作は、前述の図24を参照して説明した携帯電話12500の動作と類似している。
クラウドコンピューティングサーバ14100は、ユーザDB 14100に保存された所定動画サービスの再生ヒストリーを参照することもできる。例えば、クラウドコンピューティングサーバ14100は、ユーザ端末機から、ユーザDB 14100に保存された動画に対する再生要請を受信する。動画が、それ以前に再生中であったのであるならば、クラウドコンピューティングサーバ14100は、ユーザ端末機への選択によって、最初から再生するか、あるいは以前の停止時点から再生するかということによって、ストリーミング方法が異なる。例えば、ユーザ端末機が、最初から再生するように要請した場合には、クラウドコンピューティングサーバ14100は、ユーザ端末機に、当該動画について、最初のフレームからストリーミング伝送を行う。一方、端末機が、以前停止時点から引き続いて再生するように要請した場合には、クラウドコンピューティングサーバ14100は、ユーザ端末機に、当該動画について、停止時点のフレームからストリーミング伝送を行う。
そのとき、ユーザ端末機は、図1Aないし図20を参照して説明した本発明のビデオ復号化装置を含んでもよい。他の例として、ユーザ端末機は、図1Aないし図20を参照して説明した本発明のビデオ符号化装置を含んでもよい。また、ユーザ端末機は、図1Aないし図20を参照して説明した本発明のビデオ符号化装置及びビデオ復号化装置をいずれも含んでもよい。
図1Aないし図20を参照して説明した本発明のビデオ符号化方法及びビデオ復号化方法、本発明のビデオ符号化装置及びビデオ復号化装置が活用される多様な実施形態について、図21ないし図27において説明した。しかし、図1Aないし図20を参照して説明した本発明のビデオ符号化方法及びビデオ復号化方法が、記録媒体に保存されたり、あるいは本発明のビデオ符号化装置及びビデオ復号化装置がデバイスで具現されたりする多様な実施形態は、図21ないし図27の実施形態に限定されるものではない。
以上、本発明について、その望ましい実施形態を中心に説明した。本発明が属する技術分野で当業者であるならば、本発明が、本発明の本質的な特性を外れない範囲で変形された形態で具現されるということを理解することができるであろう。従って、開示された実施形態は、限定的な観点ではなく、説明的な観点から考慮されなければならない。本発明の範囲は、前述の説明ではなく、特許請求の範囲に示されており、それと同等な範囲内にある全ての差異は、本発明に含まれたものであると解釈されなければならないのである。

Claims (16)

  1. マルチレイヤビデオ復号化方法において、
    基本レイヤストリームに対して、動き補償及びイントラ復号化を行い、基本レイヤ映像を復元する段階と、
    向上レイヤストリームから、前記基本レイヤ映像のうち、ランダムアクセスが可能な基本レイヤRAP映像(random access point picture)に対応する向上レイヤRAP映像を復元し、前記復元された向上レイヤRAP映像を含む向上レイヤ映像に対して、動き補償、及び前記基本レイヤ映像を利用するインターレイヤ復号化を行い、前記向上レイヤ映像を復元する段階と、を含み、
    前記向上レイヤRAP映像と前記基本レイヤRAP映像は同じ種類のRAP映像であり、前記向上レイヤRAP映像の種類は前記向上レイヤRAP映像のNALユニット(NAL Unit)からNALユニットタイプ情報を獲得して決定される、
    ことを特徴とするマルチレイヤビデオ復号化方法。
  2. 前記基本レイヤ映像を復元する段階は、
    第1基本レイヤIDR(instantaneous decoding refresh)映像に対して、イントラ復号化を行う段階と、
    前記第1基本レイヤIDR映像を参照し、少なくとも1つの基本レイヤ映像に対する動き補償を行う段階と、を含み、
    前記向上レイヤ映像を復元する段階は、
    前記第1基本レイヤIDR映像に対応する第1向上レイヤ映像を、第1向上レイヤIDR映像と決定し、前記第1基本レイヤIDR映像を参照し、前記第1向上レイヤIDR映像に対して、インターレイヤ復号化を行う段階と、
    前記第1向上レイヤIDR映像を参照し、少なくとも1つの向上レイヤ映像に対する動き補償を行う段階と、を含むことを特徴とする請求項1に記載のマルチレイヤビデオ復号化方法。
  3. 前記基本レイヤ映像を復元する段階は、
    第1基本レイヤCRA(clean random access)映像に対して、イントラ復号化を行う段階と、
    前記第1基本レイヤCRA映像を参照し、少なくとも1つの基本レイヤ映像に対する動き補償を行う段階と、を含み、
    前記向上レイヤ映像を復元する段階は、
    前記第1基本レイヤCRA映像に対応する第1向上レイヤ映像を、第1向上レイヤCRA映像と決定し、前記第1基本レイヤCRA映像を参照し、前記第1向上レイヤCRA映像に対して、インターレイヤ復号化を行う段階と、
    前記第1向上レイヤCRA映像を参照し、少なくとも1つの向上レイヤ映像に対する動き補償を行う段階と、を含むことを特徴とする請求項1に記載のマルチレイヤビデオ復号化方法。
  4. 前記基本レイヤ映像を復元する段階は、
    第1基本レイヤBLA(broken link access)映像に対して、イントラ復号化を行う段階と、
    前記第1基本レイヤBLA映像を参照し、少なくとも1つの基本レイヤ映像に対する動き補償を行う段階と、を含み、
    前記向上レイヤ映像を復元する段階は、
    前記第1基本レイヤBLA映像に対応する第1向上レイヤ映像を、第1向上レイヤBLA映像と決定し、前記第1基本レイヤBLA映像を参照し、前記第1向上レイヤBLA映像に対して、インターレイヤ復号化を行う段階と、
    前記第1向上レイヤBLA映像を参照し、少なくとも1つの向上レイヤ映像に対する動き補償を行う段階と、を含むことを特徴とする請求項1に記載のマルチレイヤビデオ復号化方法。
  5. 前記基本レイヤ映像を復元する段階は、
    前記第1基本レイヤRAP映像と、前記第1基本レイヤRAP映像より復元順序が先立つ基本レイヤRAP映像とを参照し、第1基本レイヤRASL(random access skipped leading)映像に対する動き補償を行う段階を含み、
    前記向上レイヤ映像を復元する段階は、
    前記第1基本レイヤRASL映像に対応する第1向上レイヤ映像を、第1向上レイヤRASL映像と決定し、前記第1向上レイヤRASL映像に対して、前記第1基本レイヤRASL映像を参照するインターレイヤ復号化、及び前記第1向上レイヤRAP映像と、前記第1向上レイヤRAP映像より復元順序が先立つ向上レイヤRAP映像と、を参照する動き補償を行う段階を含むことを特徴とする請求項1に記載のマルチレイヤビデオ復号化方法。
  6. 前記基本レイヤ映像を復元する段階は、
    第1基本レイヤノーマル映像に対して、動き補償を行う段階を含み、
    前記向上レイヤ映像を復元する段階は、
    前記第1基本レイヤノーマル映像に対応する第1向上レイヤ映像を、第1向上レイヤCRA映像、第1向上レイヤRASL映像及び第1向上レイヤノーマル映像のうち一つに決定し、前記第1向上レイヤノーマル映像に対して、前記第1基本レイヤノーマル映像を参照するインターレイヤ復号化、及び向上レイヤRAP映像を参照する動き補償を行う段階を含むことを特徴とする請求項1に記載のマルチレイヤビデオ復号化方法。
  7. 前記向上レイヤ映像を復元する段階は、
    前記基本レイヤ映像を復元する中に視点の変換が発生する場合、現在復元中の第1基本レイヤ映像に対応する向上レイヤ映像のNALユニットからVLA(view layer access)映像であることを示すNALユニットタイプ情報を獲得して第1向上レイヤVLA映像を決定し、前記第1基本レイヤ映像を参照し、前記第1向上レイヤVLA映像に対して、インターレイヤ復号化を行う段階と、
    前記第1向上レイヤVLA映像より復元順序が後になる向上レイヤ映像に対して、前記第1向上レイヤVLA映像に対して、復元順序及び再生順序が後になるか、あるいはそれと同じである向上レイヤ映像のうち少なくとも一つを参照し、動き補償を行う段階と、を含み、
    前記現在復元中の第1基本レイヤ映像はRAP映像及びノンRAP映像のうち一つであり、
    前記第1向上レイヤVLA映像より復元順序が後になる向上レイヤ映像は、前記第1向上レイヤVLA映像より復元順序が先立つか、再生順序が先立つ向上レイヤ映像を参照しない、
    ことを特徴とする請求項1に記載のマルチレイヤビデオ復号化方法。
  8. 前記基本レイヤ映像を復元する段階は、
    1基本レイヤRAP映像より復元順序が先立つ基本レイヤRASL映像のうち少なくとも一つに対する復号化を省略する段階を含み、
    前記向上レイヤ映像を復元する段階は、
    前記復号化が省略された基本レイヤ映像に対応する向上レイヤ映像に対する復号化を省略する段階を含むことを特徴とする請求項1に記載のマルチレイヤビデオ復号化方法。
  9. 前記向上レイヤ映像を復元する段階は、
    基本レイヤストリーム及び向上レイヤストリームに対する時間階層的復号化のために、第1向上レイヤ映像の時間階層識別番号より下位階層の時間階層識別番号が割り当てられた第1基本レイヤ映像を参照し、前記第1向上レイヤ映像に対するインターレイヤ復号化を行う段階を含むことを特徴とする請求項1に記載のマルチレイヤビデオ復号化方法。
  10. マルチレイヤビデオ符号化方法において、
    基本レイヤ映像に対して、インター予測及びイントラ予測を行う段階と、
    前記基本レイヤ映像のうち、ランダムアクセスが可能な基本レイヤRAP(random access point)映像に対応する向上レイヤ映像を、前記基本レイヤRAP映像の種類と同じ種類の向上レイヤRAP映像と決定し、前記向上レイヤRAP映像を含む向上レイヤ映像に対して、インター予測、及び前記基本レイヤ映像を利用するインターレイヤ予測を行って前記向上レイヤ映像を符号化する段階と、を含み、
    前記向上レイヤ映像のNALユニットは、前記向上レイヤRAP映像の種類を示すNALユニットタイプ情報が収録される、
    ことを特徴とするマルチレイヤビデオ符号化方法。
  11. 前記RAP映像は、IDR(instantaneous decoding refresh)映像、CRA(clean random access)映像、BLA(broken link access)映像のうち1つであることを特徴とする請求項10に記載のマルチレイヤビデオ符号化方法。
  12. マルチレイヤビデオ復号化装置において、
    基本レイヤストリームに対して、動き補償及びイントラ復号化を行い、基本レイヤ映像を復元する基本レイヤ復号化部と、
    向上レイヤストリームから、前記基本レイヤ映像のうち、ランダムアクセスが可能な基本レイヤRAP(random access point)映像に対応する向上レイヤRAP映像を復元し、前記復元された向上レイヤRAP映像を含む向上レイヤ映像に対して、インター予測、及び前記基本レイヤ映像を利用するインターレイヤ復号化を行い、前記向上レイヤ映像を復元する向上レイヤ復号化部と、を含み、
    前記向上レイヤRAP映像と前記基本レイヤRAP映像は同じ種類のRAP映像であり、前記向上レイヤRAP映像の種類は前記向上レイヤRAP映像のNALユニット(NAL Unit)からNALユニットタイプ情報を獲得して決定される、
    ことを特徴とするマルチレイヤビデオ復号化装置。
  13. マルチレイヤビデオ符号化装置において、
    基本レイヤ映像に対して、インター予測及びイントラ予測を行う基本レイヤ符号化部と、
    前記基本レイヤ映像のうち、ランダムアクセスが可能な基本レイヤRAP(random access point)映像に対応する向上レイヤ映像を、前記基本レイヤRAP映像の種類と同じ種類の向上レイヤRAP映像と決定し、前記向上レイヤRAP映像を含む向上レイヤ映像に対して、インター予測、及び前記基本レイヤ映像を利用するインターレイヤ予測を行って前記向上レイヤ映像を符号化する向上レイヤ符号化部と、を含み、
    前記向上レイヤ映像のNALユニットは、前記向上レイヤRAP映像の種類を示すNALユニットタイプ情報が収録される、
    ことを特徴とするマルチレイヤビデオ符号化装置。
  14. 請求項1に記載の方法を具現するためのプログラムが記録されたコンピュータで読み取り可能な記録媒体。
  15. 請求項10に記載の方法を具現するためのプログラムが記録されたコンピュータで読み取り可能な記録媒体。
  16. 前記視点の変換が発生して前記第1向上レイヤVLA映像にランダムアクセスが発生した場合、前記第1向上レイヤVLA映像より以前に復元された映像を参照して再生順序が先立つRASL映像に対して復元しないことを特徴とする請求項7に記載のマルチレイヤビデオ復号化方法。
JP2015520071A 2012-07-06 2013-07-08 ランダムアクセスのためのマルチレイヤビデオ符号化方法及びその装置、並びにランダムアクセスのためのマルチレイヤビデオ復号化方法及びその装置 Expired - Fee Related JP6050488B2 (ja)

Applications Claiming Priority (3)

Application Number Priority Date Filing Date Title
US201261668634P 2012-07-06 2012-07-06
US61/668,634 2012-07-06
PCT/KR2013/006032 WO2014007590A1 (ko) 2012-07-06 2013-07-08 랜덤 억세스를 위한 멀티 레이어 비디오 부호화 방법 및 그 장치, 랜덤 억세스를 위한 멀티 레이어 비디오 복호화 방법 및 그 장치

Publications (2)

Publication Number Publication Date
JP2015526017A JP2015526017A (ja) 2015-09-07
JP6050488B2 true JP6050488B2 (ja) 2016-12-21

Family

ID=49882276

Family Applications (1)

Application Number Title Priority Date Filing Date
JP2015520071A Expired - Fee Related JP6050488B2 (ja) 2012-07-06 2013-07-08 ランダムアクセスのためのマルチレイヤビデオ符号化方法及びその装置、並びにランダムアクセスのためのマルチレイヤビデオ復号化方法及びその装置

Country Status (6)

Country Link
US (1) US20150215632A1 (ja)
EP (1) EP2858350A4 (ja)
JP (1) JP6050488B2 (ja)
KR (1) KR102135957B1 (ja)
CN (1) CN104620578B (ja)
WO (1) WO2014007590A1 (ja)

Families Citing this family (21)

* Cited by examiner, † Cited by third party
Publication number Priority date Publication date Assignee Title
US20140211843A1 (en) * 2013-01-31 2014-07-31 Kabushiki Kaisha Toshiba Moving image encoding device and moving image encoding method
US20140254681A1 (en) * 2013-03-08 2014-09-11 Nokia Corporation Apparatus, a method and a computer program for video coding and decoding
US20140301436A1 (en) * 2013-04-05 2014-10-09 Qualcomm Incorporated Cross-layer alignment in multi-layer video coding
US11438609B2 (en) * 2013-04-08 2022-09-06 Qualcomm Incorporated Inter-layer picture signaling and related processes
KR20150075042A (ko) 2013-12-24 2015-07-02 주식회사 케이티 멀티 레이어 비디오 신호 인코딩/디코딩 방법 및 장치
US12177417B2 (en) 2014-01-08 2024-12-24 Qualcomm Incorporated Support of non-HEVC base layer in HEVC multi-layer extensions
WO2015105399A1 (ko) * 2014-01-13 2015-07-16 삼성전자 주식회사 멀티 레이어 비디오 부호화 방법 및 장치, 멀티 레이어 비디오 복호화 방법 및 장치.
RU2725656C2 (ru) * 2014-03-17 2020-07-03 Нокиа Текнолоджиз Ой Устройство, способ и компьютерная программа для кодирования и декодирования видеоинформации
US20150264404A1 (en) * 2014-03-17 2015-09-17 Nokia Technologies Oy Method and apparatus for video coding and decoding
US9807406B2 (en) * 2014-03-17 2017-10-31 Qualcomm Incorporated Picture flushing and decoded picture buffer parameter inference for multi-layer bitstreams
US11388441B2 (en) 2014-03-18 2022-07-12 Qualcomm Incorporated Derivation of SPS temporal ID nesting information for multi-layer bitstreams
WO2015147426A1 (ko) * 2014-03-24 2015-10-01 주식회사 케이티 멀티 레이어 비디오 신호 인코딩/디코딩 방법 및 장치
JP6546197B2 (ja) 2014-06-18 2019-07-17 テレフオンアクチーボラゲット エルエム エリクソン(パブル) 従属ランダムアクセスポイントピクチャ
US10542288B2 (en) * 2014-06-18 2020-01-21 Telefonaktiebolaget Lm Ericsson (Publ) Random access in a video bitstream
KR102477964B1 (ko) * 2015-10-12 2022-12-16 삼성전자주식회사 미디어 전송 시스템에서 비디오 비트스트림의 임의 접근 및 재생을 가능하게 하는 기법
CN106101709B (zh) * 2016-07-08 2019-04-16 上海大学 一种联合增强层的shvc质量可分级的基本层帧间预测方法
CN112118453B (zh) * 2019-06-20 2024-08-09 腾讯美国有限责任公司 视频解码方法和设备、计算机设备以及存储介质
KR102874357B1 (ko) 2019-07-03 2025-10-20 후아웨이 테크놀러지 컴퍼니 리미티드 참조 화상 목록 내의 참조 화상의 유형
EP4090027A4 (en) * 2020-01-06 2024-01-17 Hyundai Motor Company Image encoding and decoding based on reference picture having different resolution
US20230055497A1 (en) * 2020-01-06 2023-02-23 Hyundai Motor Company Image encoding and decoding based on reference picture having different resolution
GB2601484B (en) * 2020-11-27 2024-08-07 V Nova Int Ltd Decoding a video stream on a client device

Family Cites Families (22)

* Cited by examiner, † Cited by third party
Publication number Priority date Publication date Assignee Title
KR100643291B1 (ko) * 2005-04-14 2006-11-10 삼성전자주식회사 랜덤 엑세스의 지연을 최소화하는 비디오 복부호화 장치 및방법
US8619860B2 (en) * 2005-05-03 2013-12-31 Qualcomm Incorporated System and method for scalable encoding and decoding of multimedia data using multiple layers
US8619854B2 (en) * 2006-03-27 2013-12-31 Electronics And Telecommunications Research Institute Scalable video encoding and decoding method using switching pictures and apparatus thereof
JP5170786B2 (ja) * 2006-10-25 2013-03-27 韓國電子通信研究院 マルチビュービデオのスケーラブルコーディングおよびデコーディング方法、ならびにコーディングおよびデコーディング装置
KR20110039531A (ko) * 2008-07-16 2011-04-19 톰슨 라이센싱 코딩 효율을 증가시키기 위하여 고속 채널 변경을 위한 스케일러블 비디오 코딩 방법
CN102106156B (zh) * 2008-07-26 2013-06-19 汤姆逊许可证公司 使用可分级视频编码(svc)的用于快速信道改变的实时传输协议(rtp)打包方法
US20100098156A1 (en) * 2008-10-16 2010-04-22 Qualcomm Incorporated Weighted prediction based on vectorized entropy coding
JP5639089B2 (ja) * 2009-03-02 2014-12-10 トムソン ライセンシングThomson Licensing ピクチャ系列を表示する方法及び装置
JP4957823B2 (ja) * 2009-04-08 2012-06-20 ソニー株式会社 再生装置および再生方法
JP2010263615A (ja) * 2009-04-08 2010-11-18 Sony Corp 情報処理装置、情報処理方法、再生装置、再生方法
US20110081133A1 (en) * 2009-10-05 2011-04-07 Xuemin Chen Method and system for a fast channel change in 3d video
KR101432771B1 (ko) * 2010-03-05 2014-08-26 에스케이텔레콤 주식회사 영상 부호화 장치, 그 영상 부호화 방법, 영상 복호화 장치 및 그 영상 복호화 방법
US9049497B2 (en) * 2010-06-29 2015-06-02 Qualcomm Incorporated Signaling random access points for streaming video data
JP4964355B2 (ja) * 2010-09-30 2012-06-27 パナソニック株式会社 立体映像符号化装置、立体映像撮影装置、および立体映像符号化方法
US9532055B2 (en) * 2012-04-16 2016-12-27 Microsoft Technology Licensing, Llc Constraints and unit types to simplify video random access
CN103959792B (zh) * 2012-04-23 2017-06-23 Lg电子株式会社 视频编码方法、视频解码方法以及实现该方法的装置
CN103843342B (zh) * 2012-06-12 2017-04-12 Lg电子株式会社 图像解码方法
EP2866440B1 (en) * 2012-06-24 2018-08-08 Lg Electronics Inc. Image decoding method and apparatus using same
SI3471419T1 (sl) * 2012-06-25 2023-07-31 Huawei Technologies Co., Ltd. Postopen dostop do časovne plasti pri stiskanju videa
EP2982124A4 (en) * 2013-04-05 2016-09-07 Sharp Kk PICTURES WITH DIRECT ACCESS POINTS
US9596486B2 (en) * 2013-04-05 2017-03-14 Qualcomm Incorporated IRAP access units and bitstream switching and splicing
US9674533B2 (en) * 2013-04-05 2017-06-06 Qualcomm Incorporated Picture alignments in multi-layer video coding

Also Published As

Publication number Publication date
KR102135957B1 (ko) 2020-07-21
EP2858350A1 (en) 2015-04-08
US20150215632A1 (en) 2015-07-30
KR20140007293A (ko) 2014-01-17
EP2858350A4 (en) 2016-05-04
JP2015526017A (ja) 2015-09-07
CN104620578B (zh) 2018-01-02
CN104620578A (zh) 2015-05-13
WO2014007590A1 (ko) 2014-01-09

Similar Documents

Publication Publication Date Title
JP6050488B2 (ja) ランダムアクセスのためのマルチレイヤビデオ符号化方法及びその装置、並びにランダムアクセスのためのマルチレイヤビデオ復号化方法及びその装置
JP6113865B2 (ja) デコーダ設定のためのビデオ符号化方法及びその装置、並びにデコーダ設定に基づいたビデオ復号化方法及びその装置
KR102290421B1 (ko) 랜덤 엑세스를 위한 멀티 레이어 비디오 부호화 방법 및 그 장치, 랜덤 엑세스를 위한 멀티 레이어 비디오 복호화 방법 및 그 장치
KR102106536B1 (ko) 다시점 비디오 예측을 위한 참조픽처세트를 이용하는 다시점 비디오 부호화 방법 및 그 장치, 다시점 비디오 예측을 위한 참조픽처세트를 이용하는 다시점 비디오 복호화 방법 및 그 장치
KR102270787B1 (ko) 휘도차를 보상하기 위한 인터 레이어 비디오 부호화 방법 및 그 장치, 비디오 복호화 방법 및 그 장치
JP2018201234A (ja) ビデオ復号化方法及びその装置
KR102091139B1 (ko) 다시점 비디오의 인터 레이어 예측 구조에 따른 비디오 스트림 부호화 방법 및 그 장치, 다시점 비디오의 인터 레이어 예측 구조에 따른 비디오 스트림 복호화 방법 및 그 장치
KR20130050903A (ko) 비디오 부호화 또는 비디오 복호화를 위한 움직임 벡터 결정 방법 및 장치
KR20140122196A (ko) 비디오 부호화 방법 및 그 장치, 비디오 복호화 방법 및 그 장치
KR101710635B1 (ko) 인터 레이어 비디오 복호화 및 부호화 장치 및 방법을 위한 블록 기반 디스패리티 벡터 예측 방법
KR101919015B1 (ko) 다 시점 영상 부호화/복호화 방법 및 장치
KR102175161B1 (ko) 시점변환을 위한 예측구조에 기초한 다시점 비디오 부호화 방법 및 그 장치, 시점변환을 위한 예측구조에 기초한 다시점 비디오 복호화 방법 및 그 장치
KR20140122202A (ko) 계층 식별자 확장에 따른 비디오 스트림 부호화 방법 및 그 장치, 계층 식별자 확장에 따른 따른 비디오 스트림 복호화 방법 및 그 장치
KR20130119379A (ko) 다시점 비디오 예측을 위한 참조리스트를 이용하는 다시점 비디오 부호화 방법 및 그 장치, 다시점 비디오 예측을 위한 참조리스트를 이용하는 다시점 비디오 복호화 방법 및 그 장치
KR20130018628A (ko) 다시점 비디오 예측 부호화 방법 및 그 장치, 다시점 비디오 예측 복호화 방법 및 그 장치
KR102057194B1 (ko) 시점 변환을 위한 다시점 비디오 예측 방법 및 그 장치, 시점 변환을 위한 다시점 비디오 예측 복원 방법 및 그 장치
KR20150012223A (ko) 움직임 벡터 결정 방법 및 그 장치
KR20150073132A (ko) 휘도 보상을 이용한 인터 레이어 비디오 부호화 방법 및 그 장치, 비디오 복호화 방법 및 그 장치
KR20140123914A (ko) 랜덤 엑세스를 위한 멀티 레이어 비디오 부호화 방법 및 그 장치, 랜덤 엑세스를 위한 멀티 레이어 비디오 복호화 방법 및 그 장치
KR20140122673A (ko) 휘도차를 보상하기 위한 인터 레이어 비디오 부호화 방법 및 그 장치, 비디오 복호화 방법 및 그 장치
KR20140122197A (ko) 다시점 비디오의 예측 구조에 따른 비디오 스트림 부호화 방법 및 그 장치, 다시점 비디오의 예측 구조에 따른 비디오 스트림 복호화 방법 및 그 장치
KR20160138129A (ko) 뎁스 블록을 이용한 멀티 레이어 비디오 부호화 방법 및 멀티 레이어 비디오 복호화 방법.
KR20130119380A (ko) 슬라이스 헤더를 이용하는 3차원 비디오 부호화 방법 및 그 장치, 다시점 비디오 복호화 방법 및 그 장치
KR20170019361A (ko) 깊이 블록을 이용하는 멀티 레이어 비디오 부호화 방법 및 멀티 레이어 비디오 복호화 방법
KR20150076135A (ko) 뎁스 부호화 방법 및 그 장치, 복호화 방법 및 그 장치

Legal Events

Date Code Title Description
A621 Written request for application examination

Free format text: JAPANESE INTERMEDIATE CODE: A621

Effective date: 20150116

A977 Report on retrieval

Free format text: JAPANESE INTERMEDIATE CODE: A971007

Effective date: 20160202

A131 Notification of reasons for refusal

Free format text: JAPANESE INTERMEDIATE CODE: A131

Effective date: 20160209

A521 Request for written amendment filed

Free format text: JAPANESE INTERMEDIATE CODE: A523

Effective date: 20160509

A131 Notification of reasons for refusal

Free format text: JAPANESE INTERMEDIATE CODE: A131

Effective date: 20160621

A521 Request for written amendment filed

Free format text: JAPANESE INTERMEDIATE CODE: A523

Effective date: 20160921

TRDD Decision of grant or rejection written
A01 Written decision to grant a patent or to grant a registration (utility model)

Free format text: JAPANESE INTERMEDIATE CODE: A01

Effective date: 20161025

A61 First payment of annual fees (during grant procedure)

Free format text: JAPANESE INTERMEDIATE CODE: A61

Effective date: 20161124

R150 Certificate of patent or registration of utility model

Ref document number: 6050488

Country of ref document: JP

Free format text: JAPANESE INTERMEDIATE CODE: R150

R250 Receipt of annual fees

Free format text: JAPANESE INTERMEDIATE CODE: R250

LAPS Cancellation because of no payment of annual fees