JP2017219618A - 液晶表示装置 - Google Patents
液晶表示装置 Download PDFInfo
- Publication number
- JP2017219618A JP2017219618A JP2016112754A JP2016112754A JP2017219618A JP 2017219618 A JP2017219618 A JP 2017219618A JP 2016112754 A JP2016112754 A JP 2016112754A JP 2016112754 A JP2016112754 A JP 2016112754A JP 2017219618 A JP2017219618 A JP 2017219618A
- Authority
- JP
- Japan
- Prior art keywords
- light
- liquid crystal
- display device
- crystal display
- crystal panel
- Prior art date
- Legal status (The legal status is an assumption and is not a legal conclusion. Google has not performed a legal analysis and makes no representation as to the accuracy of the status listed.)
- Pending
Links
Images
Landscapes
- Liquid Crystal (AREA)
- Optical Elements Other Than Lenses (AREA)
- Planar Illumination Modules (AREA)
Abstract
【課題】視野角特性に優れた液晶表示装置を提供する。
【解決手段】本発明の液晶表示装置は、液晶パネルと、照明装置と、光制御部材と、を備える。照明装置は、複数の発光素子と、複数の発光素子と液晶パネルとの間において複数の発光素子の各々に対応する位置に設けられ、発光素子からの射出光を集光して液晶パネルに入射させる複数の集光部材と、を備える。集光部材は、錐台状の形状であり、光入射端面と、光入射端面の面積よりも大きい面積を有する光射出端面と、光入射端面と前記光射出端面とに接する傾斜面と、を有し、発光素子からの射出光を少なくとも液晶パネルの画面水平方向において集光する。
【選択図】図1
【解決手段】本発明の液晶表示装置は、液晶パネルと、照明装置と、光制御部材と、を備える。照明装置は、複数の発光素子と、複数の発光素子と液晶パネルとの間において複数の発光素子の各々に対応する位置に設けられ、発光素子からの射出光を集光して液晶パネルに入射させる複数の集光部材と、を備える。集光部材は、錐台状の形状であり、光入射端面と、光入射端面の面積よりも大きい面積を有する光射出端面と、光入射端面と前記光射出端面とに接する傾斜面と、を有し、発光素子からの射出光を少なくとも液晶パネルの画面水平方向において集光する。
【選択図】図1
Description
本発明は、液晶表示装置に関する。
携帯電話機等をはじめとする携帯型電子機器、もしくはテレビジョン、パーソナルコンピューター等のディスプレイとして、液晶表示装置が広く用いられている。一般に、液晶表示装置は、表示画面を正面から見たときに優れた表示特性を発揮する。一方、表示画面を斜め方向から見たときにはコントラストが低下し、視認性が悪くなりやすい。あるいは、階調表示において明るさが逆転する階調反転等が起こる場合がある。このため、良好な視認性が得られ、画面を観察可能な視野角範囲を広げるための様々な手法が提案されている。
例えば特許文献1には、MVA(Multi-domain Vertical Alignment)モードの液晶パネルと、液晶パネルから射出された光を液晶パネルの方位角方向および極角方向に拡散させて光の射出方向を制御する光制御部材と、を備えた液晶表示装置が開示されている。
例えば家庭用のディスプレイにおいては、画面の正面から水平方向の所定の極角範囲内において良好な視野角特性が求められる。しかしながら、特許文献1に記載のように、MVAモードの液晶パネルと光制御部材とを単に組み合わせただけでは視野角特性の改善に限界があった。特に画面の水平方向における所望の極角範囲での視野角特性を改善することが難しい、という課題があった。
本発明の一つの態様は、上記の課題を解決するためになされたものであり、視野角特性に優れた液晶表示装置を提供することを目的の一つとする。
上記の目的を達成するために、本発明の一つの態様の液晶表示装置は、第1の垂直配向膜を有する第1の基板と、第2の垂直配向膜を有する第2の基板と、前記第1の垂直配向膜と前記第2の垂直配向膜との間に挟持された負の誘電異方性を有する液晶層と、前記液晶層の光入射側に配置された第1の偏光板と、前記液晶層の光射出側に配置された第2の偏光板と、を含む液晶パネルと、前記液晶パネルの光入射側に配置され、前記液晶パネルに向けて光を射出する照明装置と、前記液晶パネルの光射出側に配置され、前記液晶パネルから射出された光を前記液晶パネルの法線方向から見た方位角方向および極角方向に拡散させて配光分布を制御する光制御部材と、を備え、前記照明装置は、前記液晶パネルの法線方向から見て前記液晶パネルと重なる位置に設けられ、前記液晶パネルに向けて光を射出する複数の発光素子と、前記複数の発光素子と前記液晶パネルとの間において前記複数の発光素子の各々に対応する位置に設けられ、前記発光素子から射出された光を集光して前記液晶パネルに入射させる複数の集光部材と、を備え、前記集光部材は、錐台状の形状であり、光入射端面と、前記光入射端面の面積よりも大きい面積を有する光射出端面と、前記光入射端面と前記光射出端面とに接する傾斜面と、を有し、前記発光素子から射出された光を少なくとも前記液晶パネルの画面の水平方向において集光する。
本発明の一つの態様の液晶表示装置において、前記集光部材は、光透過性を有する材料から構成されていてもよい。
本発明の一つの態様の液晶表示装置においては、前記集光部材の光軸方向から見た平面視において、前記光入射端面の形状が円であり、前記光射出端面の形状が楕円であり、前記円の半径をra、前記楕円の前記画面の水平方向における半径をrx、前記楕円の前記画面の垂直方向における半径をryとしたとき、ra<ry<rxを満たしてもよい。
本発明の一つの態様の液晶表示装置においては、前記発光素子の光軸方向から見た平面視において、前記発光素子の光射出面の形状が最大半径をrbとする円であり、rb<raを満たしてもよい。
本発明の一つの態様の液晶表示装置において、前記光制御部材は、光透過性を有する基材と、前記基材の第1面に形成された光拡散部と、前記基材の第1面のうちの前記光拡散部の形成領域以外の領域に形成された遮光部と、を備え、前記光拡散部は、前記基材側に位置する光射出端面と、前記基材側と反対側に位置して前記光射出端面の面積よりも大きい面積を有する光入射端面と、前記光射出端面と前記光入射端面との間に位置する光反射面と、を有し、前記光拡散部の前記光入射端面から前記光射出端面までの高さが前記遮光部の高さよりも高く、前記光拡散部の非形成領域における前記光拡散部の間隙に、前記光拡散部の屈折率よりも低い屈折率を有する物質が存在していてもよい。
本発明の一つの態様の液晶表示装置において、前記光制御部材の光拡散特性は、前記液晶パネルの法線方向から見て2軸以上の線対称性を有していてもよい。
本発明の一つの態様の液晶表示装置において、前記基材の法線方向から見た前記遮光部の平面形状は、長軸と短軸とを有する異方性形状であり、前記遮光部の前記長軸の延在方向は前記画面の垂直方向に略一致し、前記短軸の延在方向は前記画面の水平方向に略一致していてもよい。
本発明の一つの態様の液晶表示装置において、前記遮光部の前記長軸の延在方向および前記短軸の延在方向は、前記第1の偏光板の偏光軸の延在方向および前記第2の偏光板の偏光軸の延在方向と略一致していてもよい。
本発明の一つの態様の液晶表示装置において、前記遮光部の前記長軸の延在方向と前記楕円の長軸の延在方向とは略直交していてもよい。
本発明の一つの態様の液晶表示装置において、前記集光部材の前記光入射端面は、少なくとも一部に曲面を含む凹面であってもよい。
本発明の一つの態様の液晶表示装置において、前記集光部材の前記傾斜面は、前記集光部材の光軸に対する傾斜角が前記光入射端面から前記光射出端面に向けて順次大きくなる方向に変化していてもよい。
本発明の一つの態様の液晶表示装置において、前記照明装置は、前記複数の集光部材の光射出側に位置する拡散板をさらに備えていてもよい。
本発明の一つの態様の液晶表示装置において、前記複数の発光素子は略等間隔に配置され、隣り合う前記発光素子の間の距離は、前記発光素子と前記拡散板との間の距離よりも小さくてもよい。
本発明の一つの態様の液晶表示装置において、隣り合う前記発光素子の間の距離をL、前記発光素子と前記拡散板との間の距離をDとしたとき、L/D≦0.7を満たしてもよい。
本発明の一つの態様の液晶表示装置において、前記拡散板は、光拡散特性に異方性を有し、前記拡散板の拡散性が小さい方向が前記液晶パネルの画面の水平方向に略一致していてもよい。
本発明の一つの態様の液晶表示装置において、前記第1の偏光板の吸収軸と前記第2の偏光板の吸収軸とは互いに直交し、前記液晶パネルは、前記液晶層の液晶分子のダイレクタが前記第1の偏光板の吸収軸および前記第2の偏光板の吸収軸と交差する4つの方位を向く4つのドメインを有する複数の画素を備えていてもよい。
本発明の一つの態様によれば、視野角特性に優れた液晶表示装置を提供することができる。
[第1実施形態]
以下、本発明の第1実施形態について、図1〜図18Bを用いて説明する。
本実施形態では、透過型の液晶パネルを備えた液晶表示装置の例を挙げて説明する。
なお、以下の全ての図面においては、各構成要素を見やすくするため、構成要素によって寸法の縮尺を異ならせて示すことがある。
以下、本発明の第1実施形態について、図1〜図18Bを用いて説明する。
本実施形態では、透過型の液晶パネルを備えた液晶表示装置の例を挙げて説明する。
なお、以下の全ての図面においては、各構成要素を見やすくするため、構成要素によって寸法の縮尺を異ならせて示すことがある。
図1は、第1実施形態の液晶表示装置の断面図である。
図1に示すように、液晶表示装置1は、液晶パネル2と、バックライト8(照明装置)と、光制御部材9と、を備えている。液晶パネル2は、第1偏光板3と、第1位相差フィルム4(位相差板)と、液晶セル5と、第2位相差フィルム6(位相差板)と、第2偏光板7と、を備えている。図1では、液晶セル5を模式的に図示しているが、その詳細な構造については後述する。
図1に示すように、液晶表示装置1は、液晶パネル2と、バックライト8(照明装置)と、光制御部材9と、を備えている。液晶パネル2は、第1偏光板3と、第1位相差フィルム4(位相差板)と、液晶セル5と、第2位相差フィルム6(位相差板)と、第2偏光板7と、を備えている。図1では、液晶セル5を模式的に図示しているが、その詳細な構造については後述する。
観察者は、光制御部材9を介して液晶表示装置1の表示画像を見る。以下の説明では、光制御部材9が配置された側を視認側と称する。バックライト8が配置された側を背面側と称する。また、以下の説明において、X軸は、液晶表示装置1の画面の水平方向と定義する。Y軸は、液晶表示装置1の画面の垂直方向と定義する。Z軸は、液晶表示装置1の厚さ方向と定義する。
液晶表示装置1は、バックライト8から射出された光を液晶パネル2で変調し、変調した光によって所定の画像や文字等を表示する。また、液晶パネル2から射出された光が光制御部材9を透過すると、光制御部材9から射出される光の配光分布が光制御部材9に入射する前の配光分布よりも広がった状態となる。これにより、観察者は広い視野角を持って表示を視認することができる。
以下、液晶パネル2の具体的な構成について説明する。
ここでは、アクティブマトリクス方式の透過型液晶パネルを一例に挙げて説明する。ただし、本実施形態に適用可能な液晶パネル2はアクティブマトリクス方式の透過型液晶パネルに限るものではない。本実施形態に適用可能な液晶パネル2は、例えば半透過型(透過・反射兼用型)液晶パネルであってもよい。さらには、各画素がスイッチング用薄膜トランジスタ(Thin Film Transistor, 以下、TFTと略記する)を備えていない単純マトリクス方式の液晶パネルであってもよい。
ここでは、アクティブマトリクス方式の透過型液晶パネルを一例に挙げて説明する。ただし、本実施形態に適用可能な液晶パネル2はアクティブマトリクス方式の透過型液晶パネルに限るものではない。本実施形態に適用可能な液晶パネル2は、例えば半透過型(透過・反射兼用型)液晶パネルであってもよい。さらには、各画素がスイッチング用薄膜トランジスタ(Thin Film Transistor, 以下、TFTと略記する)を備えていない単純マトリクス方式の液晶パネルであってもよい。
図2は、液晶パネル2の断面図である。
図2に示すように、液晶セル5は、TFT基板10と、カラーフィルター基板12と、液晶層11と、を備える。TFT基板10は、スイッチング素子基板として機能する。カラーフィルター基板12は、TFT基板10に対向して配置されている。液晶層11は、TFT基板10とカラーフィルター基板12との間に挟持されている。
図2に示すように、液晶セル5は、TFT基板10と、カラーフィルター基板12と、液晶層11と、を備える。TFT基板10は、スイッチング素子基板として機能する。カラーフィルター基板12は、TFT基板10に対向して配置されている。液晶層11は、TFT基板10とカラーフィルター基板12との間に挟持されている。
液晶層11は、TFT基板10と、カラーフィルター基板12と、TFT基板10およびカラーフィルター基板12の周縁部を囲む枠状のシール部材(図示せず)と、によって囲まれた空間内に封入されている。シール部材は、TFT基板10とカラーフィルター基板12とを所定の間隔をおいて貼り合わせる。
液晶パネル2は、例えばMVA(Multi-domain Vertical Alignment, 垂直配向)モードで表示を行う。液晶層11には誘電率異方性が負の液晶が用いられる。TFT基板10とカラーフィルター基板12との間には、スペーサー13が配置されている。スペーサー13は球状あるいは柱状である。スペーサー13は、TFT基板10とカラーフィルター基板12との間の間隔を一定に保持する。
図示はしないが、TFT基板10には、表示の基本単位となる複数の画素がマトリクス状に配置されている。TFT基板10には、複数の信号線が、互いに平行に延在するように形成されている。TFT基板10には、複数の走査線が、互いに平行に延在するように形成されている。複数の走査線と複数の信号線とは、互いに直交している。TFT基板10上には、複数の信号線と複数の走査線とが格子状に形成されている。隣接する信号線と隣接する走査線とによって区画された矩形状の領域が一つの画素となる。信号線は、TFT19のソース電極17に接続されている。走査線は、TFT19のゲート電極16に接続されている。
TFT基板10を構成する透明基板14の液晶層11側の面には、半導体層15、ゲート電極16、ソース電極17、ドレイン電極18等を有するTFT19が形成されている。透明基板14としては、例えばガラス基板を用いることができる。
透明基板14上には、半導体層15が形成されている。半導体層15の材料としては、例えばCGS(Continuous Grain Silicon:連続粒界シリコン)、LPS(Low-temperature Poly-Silicon:低温多結晶シリコン)、α−Si(Amorphous Silicon:非結晶シリコン)等の半導体材料が用いられる。
透明基板14上には、半導体層15を覆うようにゲート絶縁膜20が形成されている。ゲート絶縁膜20の材料としては、例えばシリコン酸化膜、シリコン窒化膜、もしくはこれらの積層膜等が用いられる。
ゲート絶縁膜20上には、半導体層15と対向するようにゲート電極16が形成されている。ゲート電極16の材料としては、例えばW(タングステン)/TaN(窒化タンタル)の積層膜、Mo(モリブデン)、Ti(チタン)、Al(アルミニウム)等が用いられる。
ゲート絶縁膜20上には、ゲート電極16を覆うように第1層間絶縁膜21が形成されている。第1層間絶縁膜21の材料としては、例えばシリコン酸化膜、シリコン窒化膜、もしくはこれらの積層膜等が用いられる。
第1層間絶縁膜21上には、ソース電極17およびドレイン電極18が形成されている。第1層間絶縁膜21とゲート絶縁膜20とには、コンタクトホール22およびコンタクトホール23が、第1層間絶縁膜21とゲート絶縁膜20とを貫通して形成されている。ソース電極17は、コンタクトホール22を介して半導体層15のソース領域に接続されている。ドレイン電極18は、コンタクトホール23を介して半導体層15のドレイン領域に接続されている。ソース電極17およびドレイン電極18の材料としては、上述のゲート電極16と同様の導電性材料が用いられる。
第1層間絶縁膜21上には、ソース電極17およびドレイン電極18を覆うように第2層間絶縁膜24が形成されている。第2層間絶縁膜24の材料としては、上述の第1層間絶縁膜21と同様の材料、もしくは有機絶縁性材料が用いられる。
第2層間絶縁膜24上には、画素電極25が形成されている。第2層間絶縁膜24には、コンタクトホール26が第2層間絶縁膜24を貫通して形成されている。画素電極25は、コンタクトホール26を介してドレイン電極18に接続されている。画素電極25は、ドレイン電極18を中継用電極として半導体層15のドレイン領域に接続されている。画素電極25の材料としては、例えばITO(Indium Tin Oxide、インジウム錫酸化物)、IZO(Indium Zinc Oxide、インジウム亜鉛酸化物)等の透明導電性材料が用いられる。
この構成により、走査線を通じて走査信号が供給され、TFT19がオン状態となったときに、信号線を通じてソース電極17に供給された画像信号が、半導体層15、ドレイン電極18を経て画素電極25に供給される。なお、TFT19の形態は、図2に示したトップゲート型TFTに限らず、ボトムゲート型TFTであってもよい。
画素電極25を覆うように第2層間絶縁膜24上の全面に第1の垂直配向膜27が形成されている。第1の垂直配向膜27は、液晶層11を構成する液晶分子を垂直配向させる配向規制力を有している。第1の垂直配向膜27は、いわゆる垂直配向膜である。本実施形態では、光配向技術を用いて第1の垂直配向膜27に配向処理を施している。つまり、本実施形態では第1の垂直配向膜27として光配向膜を用いている。
カラーフィルター基板12を構成する透明基板29の液晶層11側の面には、ブラックマトリクス30、カラーフィルター31、平坦化層32、対向電極33、第2の垂直配向膜34が順次形成されている。
ブラックマトリクス30は、画素間領域において光の透過を遮断する。ブラックマトリクス30は、例えば、Cr(クロム)やCr/酸化Crの多層膜等の金属材料、もしくはカーボン粒子を感光性樹脂に分散させたフォトレジスト等で形成されている。
カラーフィルター31には、赤色(R)、緑色(G)、青色(B)の各色の色素が含まれている。TFT基板10上の一つの画素電極25に、R,G,Bのいずれか一つのカラーフィルター31が対向して配置されている。なお、カラーフィルター31は、R、G、Bの3色以上の多色構成としても良い。
平坦化層32は、ブラックマトリクス30およびカラーフィルター31を覆う絶縁膜で構成されている。平坦化層32は、ブラックマトリクス30およびカラーフィルター31によってできる段差を緩和して平坦化する。
平坦化層32上には対向電極33が形成されている。対向電極33の材料としては、画素電極25と同様の透明導電性材料が用いられる。
対向電極33上の全面に第2の垂直配向膜34が形成されている。第2の垂直配向膜34は、液晶層11を構成する液晶分子を垂直配向させる配向規制力を有している。第2の垂直配向膜34は、いわゆる垂直配向膜である。本実施形態では、光配向技術を用いて第2の垂直配向膜34に配向処理を施している。つまり、本実施形態では第2の垂直配向膜34として光配向膜を用いている。
図1に戻り、バックライト8は、複数の発光ダイオード(Light Emitting Diode,LED)35と、反射シート36と、複数の集光部材37と、拡散板38と、光学シート群39と、を備えている。複数のLED35は、反射シート36の上面に光射出面を液晶パネル2の側に向けて配置されている。反射シート36は、複数のLED35から射出された光を液晶パネル2に向けて反射させる。このように、本実施形態のバックライト8は、いわゆる直下型バックライトと呼ばれるものである。光学シート群39は、例えば2枚のプリズムシート、散乱シート等を含む。本実施形態のLED35は、特許請求の範囲の発光素子に対応する。
バックライト8のその他の構成要素については、後で詳しく説明する。
バックライト8のその他の構成要素については、後で詳しく説明する。
バックライト8と液晶セル5との間には、第1偏光板3が設けられている。第1偏光板3は、偏光子として機能する。液晶セル5と光制御部材9との間には、第2偏光板7が設けられている。第2偏光板7は、検光子として機能する。第1偏光板3の透過軸と第2偏光板7の透過軸とは、クロスニコルの配置となっている。
第1偏光板3と液晶セル5との間には、第1偏光板3を透過した光の位相差を補償するための第1位相差フィルム4が設けられている。第2偏光板7と液晶セル5との間には、液晶セル5を透過した光の位相差を補償するための第2位相差フィルム6が設けられている。
図3は、液晶表示装置1の一画素の電気的構成を模式的に示す図である。
図3に示すように、画素50は、TFT19および補助容量51に接続されている。TFT19のゲ−ト電極は、走査線52に接続されている。ソース電極は、信号線53に接続されている。補助容量51は、補助容量配線55に接続されている。補助容量51は、画素電極25に電気的に接続された補助容量電極と、補助容量配線55に電気的に接続された補助容量対向電極と、これらの間に設けられた絶縁層(不図示)によって形成されている。
図3に示すように、画素50は、TFT19および補助容量51に接続されている。TFT19のゲ−ト電極は、走査線52に接続されている。ソース電極は、信号線53に接続されている。補助容量51は、補助容量配線55に接続されている。補助容量51は、画素電極25に電気的に接続された補助容量電極と、補助容量配線55に電気的に接続された補助容量対向電極と、これらの間に設けられた絶縁層(不図示)によって形成されている。
図3では、液晶パネル2の法線方向から見た液晶分子54を円錐状に記載している。円錐の頂点は、液晶分子54の背面側(TFT基板側)の端部を意味する。円錐の底面は、液晶分子54の視認側(カラーフィルター基板12側)の端部を示している。本実施形態において、液晶分子54のダイレクタとは、液晶分子54の背面側の端部から、視認側の端部へ向かう方向と定義する。
画素50は、4つのドメイン50a、50b、50c、50dを有する4ドメインVAを採用している。電圧印加時において、第1ドメイン50aに含まれる液晶分子54と、第2ドメイン50bに含まれる液晶分子54と、第3ドメイン50cに含まれる液晶分子54と、第4ドメイン50dに含まれる液晶分子54とは、互いに方位角が90°異なる方向に倒れる。すなわち、本実施形態の液晶パネル2は、液晶層11の液晶分子54のダイレクタが第1偏光板3の吸収軸および第2偏光板7の吸収軸と交差する4つの方位を向く4つのドメイン50a、50b、50c、50dを有する複数の画素50を備える。
次に、光制御部材9について詳細に説明する。
図4は、光制御部材9の模式図である。図4において、左側下段は光制御部材9の平面図である。右側下段は、左側下段の平面図のA−A線に沿った断面図である。左側上段は、左側下段の平面図のB−B線に沿った断面図である。
図4は、光制御部材9の模式図である。図4において、左側下段は光制御部材9の平面図である。右側下段は、左側下段の平面図のA−A線に沿った断面図である。左側上段は、左側下段の平面図のB−B線に沿った断面図である。
図4に示すように、光制御部材9は、基材41と、複数の遮光部42と、光拡散部43と、複数の中空部44と、を備えている。複数の遮光部42は、基材41の第1面41a(視認側と反対側の面)に形成されている。光拡散部43は、基材41の第1面41aのうち、遮光部42の形成領域以外の領域に形成されている。
光制御部材9は、図1に示すように、光拡散部43を第2偏光板7に向け、基材41を視認側に向けて第2偏光板7上に配置される。光制御部材9は、接着剤層45を介して第2偏光板7に固定される。
基材41には、例えばトリアセチルセルロース(TAC)フィルム、ポリエチレンテレフタレート(PET)、ポリカーボネート(PC)、ポリエチレンナフタレート(PEN)、ポリエーテルサルホン(PES)フィルム等、光透過性を有する透明樹脂製の基材が好ましく用いられる。
基材41は、製造プロセスにおいて、後で遮光部42や光拡散部43の材料を塗布する際の下地となる。基材41は、製造プロセス中の熱処理工程における耐熱性と機械的強度とを備える必要がある。そのため、基材41には、樹脂製の基材の他、ガラス製の基材等を用いてもよい。ただし、基材41の厚さは耐熱性や機械的強度を損なわない程度に薄い方が好ましい。その理由は、基材41の厚さが厚くなる程、表示のボヤケが生じる虞があるからである。また、基材41の全光線透過率は、JIS K7361−1の規定で90%以上が好ましい。全光線透過率が90%以上であると、十分な透明性が得られる。本実施形態では、一例として厚さが100μmの透明樹脂製基材が用いられる。
図4に示すように、遮光部42は、基材41の第1面41aの法線方向から見てランダムに配置されている。遮光部42は、一例として、ブラックレジスト、黒色インク等の光吸収性および感光性を有する有機材料で構成されている。その他、Cr(クロム)やCr/酸化Crの多層膜等の金属膜で構成されていてもよい。
光拡散部43は、例えばアクリル樹脂やエポキシ樹脂等の光透過性および感光性を有する有機材料で構成されている。また、光拡散部43の全光線透過率は、JIS K7361−1の規定で90%以上であることが好ましい。全光線透過率が90%以上であると、十分な透明性が得られる。
光拡散部43は、光射出端面43aと、光入射端面43bと、反射面43cと、を有する。光射出端面43aは、基材41に接する面であり、光が射出される面である。光入射端面43bは、光射出端面43aと対向する面であり、光が入射する面である。反射面43cは、光拡散部43のテーパ状の側面であり、光拡散部43の内部を進行する光が反射する面である。光入射端面43bの面積は、光射出端面43aの面積よりも大きい。
光拡散部43は、光制御部材9において光の透過に寄与する部分である。光拡散部43に入射した光のうち、光L1は、反射面43cで反射されることなく光射出端面43aから射出される。光拡散部43に入射した光のうち、光L2は、光拡散部43の反射面43cで全反射しつつ、光拡散部43の内部に略閉じこめられた状態で進み、光射出端面43aから射出される。
光拡散部43の反射面43cの傾斜角度θc(光入射端面43bと反射面43cとのなす角度)は、一例として85°程度である。ただし、光拡散部43の反射面43cの傾斜角度θcは、光L2を光制御部材9から射出させる際に、光L2を十分に拡散することが可能な角度であれば、特に限定されない。本実施形態では、光拡散部43の反射面43cの傾斜角度θcは、反射面43cの全ての箇所において一定である。
光拡散部43の光入射端面43bから光射出端面43aまでの高さは、遮光部42の厚さよりも大きく設定されている。本実施形態の場合、遮光部42の厚さは、一例として150nm程度である。光拡散部43の光入射端面43bから光射出端面43aまでの高さは、一例として20μm程度である。
光拡散部43の非形成領域における光拡散部43の間隙、すなわち、光拡散部43の反射面43cと遮光部42とにより囲まれた空間は、中空部44となっている。中空部44には、光拡散部43の屈折率よりも低い屈折率を有する物質が存在している。本実施形態では、光拡散部43の屈折率よりも低い屈折率を有する物質として、中空部44には空気が存在している。
また、基材41の屈折率と光拡散部43の屈折率とは、略同等であることが望ましい。その理由は、以下の通りである。例えば、基材41の屈折率と光拡散部43の屈折率とが大きく異なる場合を考える。この場合、光入射端面43bから入射した光が光拡散部43から射出する際に、光拡散部43と基材41との界面で不要な光の屈折や反射が生じることがある。この場合、所望の視野角が得られない、射出光の光量が減少する、等の不具合が生じる虞があるからである。
本実施形態の場合、複数の中空部44(光拡散部43の外部)には空気が介在している。そのため、光拡散部43が例えば透明アクリル樹脂で形成されているとすると、光拡散部43の反射面43cは透明アクリル樹脂と空気との界面となる。ここで、中空部44が他の低屈折率材料で充填されていてもよい。しかしながら、光拡散部43の内部と外部との界面の屈折率差は、外部にいかなる低屈折率材料が存在する場合よりも空気が存在する場合が最大となる。したがって、Snellの法則より、本実施形態の構成においては臨界角が最も小さくなり、光拡散部43の反射面43cで光が全反射できる入射角範囲が最も広くなる。その結果、光の損失がより抑えられ、高い輝度を得ることができる。
図4の左側下段に示すように、本実施形態の光制御部材9は、複数の遮光部42が、基材41の一面に点在して設けられている。基材41の法線方向から見た遮光部42の平面形状は、長軸と短軸とを有する異方性形状であり、一例として楕円形である。それぞれの遮光部42の平面形状をなす楕円は、楕円の長軸方向が概ね画面の垂直方向(Y軸方向)に略一致し、楕円の短軸方向が概ね画面の水平方向(X軸方向)に略一致している。したがって、遮光部42の長軸の延在方向Dyおよび短軸の延在方向Dxは、第1偏光板3の偏光軸の延在方向P1および第2偏光板7の偏光軸の延在方向P2と略一致している。
以上の構成により、光拡散部43の反射面43cの向きを考えると、光拡散部43の反射面43cのうち、X軸方向に面した反射面43cの割合はY軸方向に面した反射面43cの割合よりも多い。そのため、X軸方向に面した反射面43cで反射してY軸方向に拡散する光Lyは、Y軸方向に面した反射面43cで反射してX軸方向に拡散する光Lxよりも多くなる。
このように、遮光部42の平面形状を楕円形等の異方性形状とし、長軸方向を画面垂直方向に一致させ、短軸方向を画面水平方向に一致させることで、水平方向の拡散性を高めることができる。これにより、液晶表示装置1における画面水平方向の色度視野角の改善に大きな効果を得ることができる。
図4の左側上段および右側下段に示すように、個々の遮光部42の下方に相当する空間が円錐台状の中空部44となる。すなわち、光制御部材9は、複数の中空部44を有している。複数の中空部42以外の部分には、光拡散部41が一体に連なって設けられている。この構成によれば、光制御部材9の機械的強度を高めることができる。
遮光部42の平面形状は、楕円形の他、多角形、半円等の形状が含まれていてもよい。遮光部42の平面形状は、2軸以上の線対称性を有する形状であることが好ましい。2軸以上の線対称性を有する形状とは、少なくとも2つ以上の線分に対して線対称な形状を指す。
例えば、2つの線分に対して線対称な形状として、長方形が挙げられる。本実施形態の場合、長辺方向が概ね画面の垂直方向(Y軸方向)に略一致し、短辺方向が概ね画面の水平方向(X軸方向)に略一致した長方形状の遮光部が用いられることが好ましい。また、長方形の他、画面の垂直方向(Y軸方向)に長く延在するストライプ状の遮光部であってもよい。このように遮光部42の平面形状が2軸以上の線対称性を有する形状を有する場合、光制御部材9の光散乱特性は、液晶パネル2の法線方向から見て、2軸以上の線対称性を有する。また、遮光部40の一部が重なって形成されていてもよい。
以下、バックライト8に備えられた集光部材37について説明する。
図1に示すように、複数の集光部材37の各々は、複数のLED35と液晶パネル2との間の空間において、複数のLED35の各々に対応する位置に設けられている。集光部材37は、LED35から射出された光を集光して液晶パネル2に入射させる。液晶パネル2の法線方向から見て、複数のLED35は、互いに所定の間隔をおいて格子状に配置されている。隣り合う2つのLED35の間の間隔は、略等しい。また、画面水平方向に隣り合う2つのLED35の間の間隔と、画面垂直方向に隣り合う2つのLED35の間の間隔と、は等しくてもよいし、異なっていてもよい。
図1に示すように、複数の集光部材37の各々は、複数のLED35と液晶パネル2との間の空間において、複数のLED35の各々に対応する位置に設けられている。集光部材37は、LED35から射出された光を集光して液晶パネル2に入射させる。液晶パネル2の法線方向から見て、複数のLED35は、互いに所定の間隔をおいて格子状に配置されている。隣り合う2つのLED35の間の間隔は、略等しい。また、画面水平方向に隣り合う2つのLED35の間の間隔と、画面垂直方向に隣り合う2つのLED35の間の間隔と、は等しくてもよいし、異なっていてもよい。
図5は、集光部材37の平面図である。図6は、図5のVIII−VIII線に沿う集光部材37の断面図である。
図5および図6に示すように、集光部材37は、錐台状の形状であり、光入射端面37aと、光射出端面37bと、傾斜面37cと、を有する。光入射端面37aは、LED35に対向する平坦な面である。光射出端面37bは、LED35とは反対側に位置し、光入射端面37aと平行な面である。光射出端面37bは、光入射端面37aの面積よりも大きい面積を有する。傾斜面37cは、光入射端面37aと光射出端面37bとに接し、光入射端面37aおよび光射出端面37bに対して傾斜した面である。
図5および図6に示すように、集光部材37は、錐台状の形状であり、光入射端面37aと、光射出端面37bと、傾斜面37cと、を有する。光入射端面37aは、LED35に対向する平坦な面である。光射出端面37bは、LED35とは反対側に位置し、光入射端面37aと平行な面である。光射出端面37bは、光入射端面37aの面積よりも大きい面積を有する。傾斜面37cは、光入射端面37aと光射出端面37bとに接し、光入射端面37aおよび光射出端面37bに対して傾斜した面である。
図1および図6には図示していないが、集光部材37の光入射端面37aに、光入射端面37aから下方に突出する脚部が設けられている。集光部材37は、集光部材37の光入射端面37aがLED35から所定間隔をおいて位置するように、脚部によって反射シート36上に支持される。ただし、集光部材37の支持構造については上記の形態に限定されず、例えば、集光部材37とは別個の支持部材を用いて集光部材37が支持されていてもよい。
集光部材37は、光透過性を有する材料から構成されている。集光部材37の材料は、光透過性の他、耐熱性を有することが好ましく、例えばポリメチルメタクリレート(PMMA)等の材料が用いられる。光入射端面37aから入射した光L3は、集光部材37の内部を進行する間に傾斜面37cで全反射し、進行方向を変えて光射出端面37bから射出される。集光部材37は、LED35から射出された光L3を少なくとも液晶パネル2の画面水平方向において集光する。
図5に示すように、集光部材37の光軸C方向から見た平面視において、集光部材37の光入射端面37aの形状は円(真円)であり、集光部材37の光射出端面37bの形状は楕円である。集光部材37は、光射出端面37bの平面形状である楕円の長軸方向が画面水平方向(X軸方向)を向き、楕円の短軸方向が画面垂直方向(Y軸方向)を向くように配置されている。したがって、集光部材37の光射出端面37bの長軸方向は、光制御部材9の遮光部42の長軸方向と略直交する。集光部材37の光射出端面37bの短軸方向は、光制御部材9の遮光部42の短軸方向と略直交する。
集光部材37の光軸C方向から見た平面視において、LED35の光射出面35aの形状は円(真円)である。また、集光部材37の光入射端面37aの平面形状である円の中心、光射出端面37bの平面形状である楕円の中心、およびLED35の光射出面35aの平面形状である円の中心の位置は、全て一致している。
集光部材37の光入射端面37aの平面形状である円の半径をra、集光部材37の光射出端面37bの平面形状である楕円の長軸方向(画面水平方向)における半径をrx、楕円の短軸方向(画面垂直方向)における半径をryとしたとき、ra<ry<rxを満たしている。すなわち、集光部材37の光射出端面37bの長軸半径rxおよび短軸半径ryは、集光部材37の光入射端面37aの半径raよりも大きい。これにより、集光部材37の傾斜面37cは、下方側(反射シート36に接する側)から上方(反射シート36から離れる側)に向けて逆テーパ形状を呈する。
LED35の光射出面35aの平面形状である円の半径をrbとしたとき、rb<raを満たしている。すなわち、集光部材37の光入射端面37aの半径は、LED35の光射出面35aの半径よりも大きい。これにより、LED35から射出された光を集光部材37に多く入射させることができ、光の利用効率を高めることができる。また、集光部材37の高さ(Z軸方向の寸法)は、用いられるLED35、光学シート群39、要求される集光の程度などによって適宜設定されるため、特に限定されない。
ここで、以下の説明で用いる液晶表示装置1の極角と方位角について説明する。
図7は、極角と方位角の定義を説明するための図である。
図7に示すように、液晶表示装置1の画面の法線方向Eに対する観察者の視線方向Fのなす角度を極角θと定義する。また、X軸の正方向を基準(0°)とし、X軸の正方向に対して観察者の視線方向Fを画面上に射影したときの線分Gの延在方向のなす角度を方位角φと定義する。
図7は、極角と方位角の定義を説明するための図である。
図7に示すように、液晶表示装置1の画面の法線方向Eに対する観察者の視線方向Fのなす角度を極角θと定義する。また、X軸の正方向を基準(0°)とし、X軸の正方向に対して観察者の視線方向Fを画面上に射影したときの線分Gの延在方向のなす角度を方位角φと定義する。
図8は、液晶表示装置1の画面と方位角との関係を示す図である。
図8に示すように、液晶表示装置1の画面において、水平方向(X軸の正方向および負方向)を方位角φ:0°−180°方向とする。垂直方向(Y軸方向の正方向および負方向)を方位角φ:90°−270°方向とする。本実施形態において、第1偏光板3の透過軸は、方位角φ:90°−270°方向に設定され、第2偏光板7の透過軸は、方位角φ:0°−180°方向に設定されている。
図8に示すように、液晶表示装置1の画面において、水平方向(X軸の正方向および負方向)を方位角φ:0°−180°方向とする。垂直方向(Y軸方向の正方向および負方向)を方位角φ:90°−270°方向とする。本実施形態において、第1偏光板3の透過軸は、方位角φ:90°−270°方向に設定され、第2偏光板7の透過軸は、方位角φ:0°−180°方向に設定されている。
次に、液晶表示装置1として、上下左右に求められる視角範囲について述べる。
人間の眼は、横長かつ水平に左右2つ並んでいることから、左右の視野は広く、上下の視野は狭いという特性を有する。例えば、JEITA「フラットパネルディスプレイの人間工学シンポジウム2003」における資料「テレビ視聴に関する人間工学ガイドライン策定へ向けてガイドライン標準化の是非とその施策(日本人間工学会、久武雄三)」には、視野角の主な調査研究結果とISO規格要求値とが示されている。
人間の眼は、横長かつ水平に左右2つ並んでいることから、左右の視野は広く、上下の視野は狭いという特性を有する。例えば、JEITA「フラットパネルディスプレイの人間工学シンポジウム2003」における資料「テレビ視聴に関する人間工学ガイドライン策定へ向けてガイドライン標準化の是非とその施策(日本人間工学会、久武雄三)」には、視野角の主な調査研究結果とISO規格要求値とが示されている。
図9は、画面の法線方向から見た視角を示している。破線で囲む範囲は、一般的な日本の家庭における画像歪みの満足限を示す。一点鎖線で囲む範囲は、画像歪みの満足限の範囲で画像が有効視野に収まる距離から観察したときの視野角を示す。
図9に示すように、人間の左右方位における視野角は42°程度である。また、下方位における視野角が35°であるのに対し、上方位における視野角は20°よりも少し小さい。よって、液晶表示装置を家庭用のテレビとして用いる場合には、上方よりも下方の視野角特性が重要となる。さらに、画像歪みが満足できるという観点から、最低限満足すべき視角範囲は、画面水平方向において33°である。
図9に示すように、人間の左右方位における視野角は42°程度である。また、下方位における視野角が35°であるのに対し、上方位における視野角は20°よりも少し小さい。よって、液晶表示装置を家庭用のテレビとして用いる場合には、上方よりも下方の視野角特性が重要となる。さらに、画像歪みが満足できるという観点から、最低限満足すべき視角範囲は、画面水平方向において33°である。
図10は、光制御部材9における透過光L1および反射光L2の光路のシミュレーションを行った結果を示す模式図である。
図10に示すように、透過光L1を想定すると、光拡散部43の光入射端面43aに対して入射角θin=33°で入射した光L1は、側面43cで反射することなく、光射出端面43bを経て、基材41の上面から射出角θout=33°で射出される。一方、反射光L2を想定すると、光拡散部43の光入射端面43aに対して入射角θin=17°で入射した光L2は、側面43cで反射した後、基材41の上面から射出角θout=33°で射出される。このシミュレーションにおいて、光拡散部43のテーパ角(光入射端面43aと側面43cとのなす角度)を85°に設定し、光拡散部43の屈折率を1.6に設定した。なお、基材41は平行平板であり、光は基材41に入射する際の屈折角の分だけ基材41から射出する際に屈折することで相殺され、進行方向が変わらない。そのため、基材41の屈折率は不問とした。
図10に示すように、透過光L1を想定すると、光拡散部43の光入射端面43aに対して入射角θin=33°で入射した光L1は、側面43cで反射することなく、光射出端面43bを経て、基材41の上面から射出角θout=33°で射出される。一方、反射光L2を想定すると、光拡散部43の光入射端面43aに対して入射角θin=17°で入射した光L2は、側面43cで反射した後、基材41の上面から射出角θout=33°で射出される。このシミュレーションにおいて、光拡散部43のテーパ角(光入射端面43aと側面43cとのなす角度)を85°に設定し、光拡散部43の屈折率を1.6に設定した。なお、基材41は平行平板であり、光は基材41に入射する際の屈折角の分だけ基材41から射出する際に屈折することで相殺され、進行方向が変わらない。そのため、基材41の屈折率は不問とした。
図10のシミュレーション結果を考慮すると、液晶パネル2から射出された光のうち、入射角33°で光制御部材9の光拡散部43に入射する光が多い程、視野角特性が低下する。すなわち、相対的に小さい入射角で光制御部材9に入射する光は、液晶パネル2を法線方向に近い角度で透過してきた光であるため、視野角特性に優れている。その一方、入射角33°というように、相対的に大きい入射角で光制御部材9に入射する光は、液晶パネル2を法線方向から傾いた角度で透過してきた光であるため、視野角特性に劣る。したがって、光制御部材9から射出される光全体としてみると、相対的に大きい入射角で光制御部材9に入射する光が多い程、視野角特性が低下する。
図11は、バックライト8からの射出光の光束分布を示す図である。図11の横軸は極角[°]であり、縦軸は光束[相対値]である。
本発明者らは、上記の知見に基づき、バックライト8から射出される光のうち、水平方向において広角側に射出される一部の光を狭角側に集光し、正面輝度を上げることにより、視野角特性を改善できると考えた。具体的には、本発明者らは、図11に示すように、破線で示す従来の光束分布に対して、極角33°付近に射出される光を減らし、極角17°付近に射出される光を増やすことにより、液晶パネル2を法線方向に近い角度で透過した光を光制御部材9で拡散させることができ、視野角特性を向上できると考えた。
本発明者らは、上記の知見に基づき、バックライト8から射出される光のうち、水平方向において広角側に射出される一部の光を狭角側に集光し、正面輝度を上げることにより、視野角特性を改善できると考えた。具体的には、本発明者らは、図11に示すように、破線で示す従来の光束分布に対して、極角33°付近に射出される光を減らし、極角17°付近に射出される光を増やすことにより、液晶パネル2を法線方向に近い角度で透過した光を光制御部材9で拡散させることができ、視野角特性を向上できると考えた。
そこで、本発明者らは、バックライト8に用いる集光部材37による集光効果のシミュレーションを行った。以下、シミュレーションの結果について説明する。
図12は、LED35から射出される光の配光分布を示す図である。図13は、集光部材37から射出される光の配光分布を示す図である。
図12は、LED35から射出される光の配光分布を示す図である。図13は、集光部材37から射出される光の配光分布を示す図である。
図12に示すように、LED35から射出された光L0は、極角0°から60°程度までの広い範囲のランバート型の配光分布を有する。これに対して、図13に示すように、LED35から射出された光LSは、集光部材37を透過する。LED35から射出された光L0のうち、相対的に大きい入射角で集光部材37に入射した光は、傾斜面37cで反射し、光の進行方向が光入射端面37aの法線方向に近くなる側に変化する。このように、LED35の光射出側に集光部材37が設けられることによって、LED35から広角方向に射出される光を狭角方向に集光することができる。
図14は、LED35および集光部材37からの射出光の極角と輝度比との関係を示すグラフである。
図14の横軸は極角[°]を示し、縦軸は輝度比[−]である。輝度比は、LED35から極角0°方向に射出される光の輝度を1としたときの輝度の比である。
破線のグラフAは、LED35からの射出光の輝度比分布を示す。実線のグラフBは、画面水平方向(方位角0°−180°方向)に沿う集光部材37からの射出光の輝度比分布を示す。1点鎖線のグラフCは、画面垂直方向(方位角90°−270°方向)に沿う集光部材37からの射出光の輝度比分布を示す。
図14の横軸は極角[°]を示し、縦軸は輝度比[−]である。輝度比は、LED35から極角0°方向に射出される光の輝度を1としたときの輝度の比である。
破線のグラフAは、LED35からの射出光の輝度比分布を示す。実線のグラフBは、画面水平方向(方位角0°−180°方向)に沿う集光部材37からの射出光の輝度比分布を示す。1点鎖線のグラフCは、画面垂直方向(方位角90°−270°方向)に沿う集光部材37からの射出光の輝度比分布を示す。
図14に示すように、集光部材37からの射出光は、画面水平方向、画面垂直方向のいずれにおいても、LED35からの射出光に比べて、極角33°付近の輝度比が大きく低下している。したがって、LED35からの射出光は、集光部材37を透過することにより、極角0°方向(正面方向)に集光されることがわかった。
上述したように、本実施形態の液晶表示装置1によれば、バックライト8の複数のLED35の各々に対応して集光部材37が設けられたことにより、個々のLED35から広角方向に射出された光が集光部材37により狭角方向(正面方向)に集光される。そのため、バックライト8から射出された光が液晶パネル2を透過し、光制御部材9に入射する際に、視野角特性が悪い光の割合が減り、全体として視野角特性を向上することができる。これにより、画像歪みが少なく、色再現性および視野角特性に優れた液晶表示装置1を実現することができる。
本実施形態の液晶表示装置1においては、直下型のバックライト8が用いられ、さらにLED35からの射出光が集光部材37によって集光されているため、画面内での明るさムラが生じやすい、という課題を有している。この課題に対しては、隣り合うLED35間の距離を短くする、もしくはLED35から拡散板38までの距離を長くすることにより対応が可能である。
図1に示すように、複数のLED35が略等間隔に配置されていることを前提とし、隣り合うLED35間の距離をRとし、LED35と拡散板38との間の距離をDとする。上記の課題を解決するためには、隣り合うLED35間の距離Rは、LED35と拡散板38との間の距離Dよりも小さいことが少なくとも望ましい。すなわち、本実施形態のバックライト8は、R/D<1の条件を満たすことが少なくとも望ましい。
さらに、本発明者らは、隣り合うLED35間の距離とLED35から拡散板38までの距離との比について検討した。
R/Dの値として、最初に、現状の直下型バックライトの一例であるR/D=3.3について検討した。R/D=3.3とした場合、本実施形態のバックライト8は集光部材37を備えているため、本実施形態のバックライト8による輝度ムラは、現状の一般的な直下型バックライトの輝度ムラよりも大きくなる。
R/Dの値として、最初に、現状の直下型バックライトの一例であるR/D=3.3について検討した。R/D=3.3とした場合、本実施形態のバックライト8は集光部材37を備えているため、本実施形態のバックライト8による輝度ムラは、現状の一般的な直下型バックライトの輝度ムラよりも大きくなる。
次に、R/D<1の範囲を満たす種々のR/Dの値について検討した。その結果、R/D≦0.7の範囲内でR/Dの値を設定することにより、本実施形態のバックライト8による輝度ムラは、現状の一般的な直下型バックライトの輝度ムラと同等以下となることが確認された。さらに、集光部材37からの射出光を拡散板38、プリズムシート等の光学シート群39を通すことにより、液晶パネル2に入射する時点の明暗の差をさらに小さくすることができる。すなわち、本実施形態のバックライト8は、R/D≦0.7の条件を満たすことがさらに望ましい。
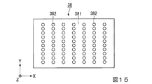
また、本実施形態のバックライト8は、複数の集光部材37の光射出側に位置する拡散板38をさらに備えている。図15は、拡散板38の平面図である。
図15に示すように、拡散板38は、基材381と、基材381の内部に分散された複数の拡散材382と、を備えている。複数の拡散材382の配置密度は、画面水平方向と画面垂直方向とで異なる。具体的には、画面水平方向における拡散材382の配置密度は、画面垂直方向における拡散材382の配置密度よりも小さい。そのため、拡散板38は、画面水平方向と画面垂直方向とで光の拡散性に異方性を有する。画面水平方向における光の拡散性は、画面垂直方向における光の拡散性よりも小さい。これにより、拡散板38における光の拡散性が大きい方向は、光制御部材9の遮光部42の長軸方向と平行になる。
図15に示すように、拡散板38は、基材381と、基材381の内部に分散された複数の拡散材382と、を備えている。複数の拡散材382の配置密度は、画面水平方向と画面垂直方向とで異なる。具体的には、画面水平方向における拡散材382の配置密度は、画面垂直方向における拡散材382の配置密度よりも小さい。そのため、拡散板38は、画面水平方向と画面垂直方向とで光の拡散性に異方性を有する。画面水平方向における光の拡散性は、画面垂直方向における光の拡散性よりも小さい。これにより、拡散板38における光の拡散性が大きい方向は、光制御部材9の遮光部42の長軸方向と平行になる。
本実施形態の液晶表示装置1においては、バックライト8が集光部材37を備えたことにより、バックライト8からの射出光を少なくとも画面水平方向に集光させている。そのため、上述したように、拡散板38は、画面水平方向における光の拡散性が画面垂直方向における光の拡散性よりも小さいことが好ましい。これにより、液晶表示装置1の視野角特性を効果的に改善しつつ、画面内の明るさムラを低減することができる。
本実施形態の液晶表示装置1に用いられる拡散板は、拡散異方性を有するものであればよく、拡散異方性を付与する手段として、複数の拡散材の配置密度が画面水平方向と画面垂直方向とで異なる形態の図15の拡散板38に限られるものではない。
例えば、以下の第1〜第3変形例の拡散板が用いられてもよい。
例えば、以下の第1〜第3変形例の拡散板が用いられてもよい。
図16Aは、第1変形例の拡散板56の画面垂直方向における断面図である。図16Bは、第1変形例の拡散板56の画面水平方向における断面図である。
図16Aおよび図16Bに示すように、拡散板56は、基材561と、楕円球状の複数の拡散材562と、を備える。複数の拡散材562は、個々の拡散材562の画面垂直方向(Y軸方向)の断面形状が円形となり、画面水平方向(X軸方向)の断面形状が楕円形となるように配向している。
図16Aおよび図16Bに示すように、拡散板56は、基材561と、楕円球状の複数の拡散材562と、を備える。複数の拡散材562は、個々の拡散材562の画面垂直方向(Y軸方向)の断面形状が円形となり、画面水平方向(X軸方向)の断面形状が楕円形となるように配向している。
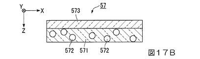
図17Aは、第2変形例の拡散板57の画面垂直方向における断面図である。図17Bは、第2変形例の拡散板57の画面水平方向における断面図である。
図17Aおよび図17Bに示すように、拡散板57は、基材571と、球状の複数の拡散材572と、複数のプリズム構造体573と、を備える。複数のプリズム構造体573は、三角柱状のプリズム構造体573が画面水平方向(X軸方向)に延在し、画面垂直方向(Y軸方向)に複数並ぶように形成されている。
図17Aおよび図17Bに示すように、拡散板57は、基材571と、球状の複数の拡散材572と、複数のプリズム構造体573と、を備える。複数のプリズム構造体573は、三角柱状のプリズム構造体573が画面水平方向(X軸方向)に延在し、画面垂直方向(Y軸方向)に複数並ぶように形成されている。
図18Aは、第3変形例の拡散板58の画面垂直方向における断面図である。図18Bは、第3変形例の拡散板58の画面水平方向における断面図である。
図18Aおよび図18Bに示すように、拡散板58は、基材581と、複数の凸状体582と、を備える。複数の凸状体582は、各凸状体582の長手方向が画面水平方向(X軸方向)に略一致し、各凸状体582の短手方向が画面垂直方向(Y軸方向)に略一致するように形成されている。この種の拡散板58として、例えば王子製紙社製のナノバックリングシートを用いることができる。
図18Aおよび図18Bに示すように、拡散板58は、基材581と、複数の凸状体582と、を備える。複数の凸状体582は、各凸状体582の長手方向が画面水平方向(X軸方向)に略一致し、各凸状体582の短手方向が画面垂直方向(Y軸方向)に略一致するように形成されている。この種の拡散板58として、例えば王子製紙社製のナノバックリングシートを用いることができる。
[第2実施形態]
以下、本発明の第2実施形態について、図19〜図22を用いて説明する。
第2実施形態の液晶表示装置の基本構成は第1実施形態と同一であり、集光部材の構成が第1実施形態と異なる。そのため、第2実施形態では、集光部材についてのみ説明する。
図19は、第2実施形態の液晶表示装置に用いる集光部材の断面図である。
図19〜図22において、第1実施形態で用いた図面と共通の構成要素には同一の符号を付し、説明を省略する。
以下、本発明の第2実施形態について、図19〜図22を用いて説明する。
第2実施形態の液晶表示装置の基本構成は第1実施形態と同一であり、集光部材の構成が第1実施形態と異なる。そのため、第2実施形態では、集光部材についてのみ説明する。
図19は、第2実施形態の液晶表示装置に用いる集光部材の断面図である。
図19〜図22において、第1実施形態で用いた図面と共通の構成要素には同一の符号を付し、説明を省略する。
図20は、第1実施形態の集光部材37からの射出光の配光分布を示す図である。
図20に示すように、第1実施形態の集光部材37において、光入射端面37aは、平坦な面であり、LED35の光射出面35aに平行な面である。この場合、LED35から射出された光のうち、相対的に大きい射出角で射出された一部の光L5は、光入射端面に対して大きい入射角で入射する。そのため、光L5は、光入射端面37aで反射し、集光部材37の内部に入射することができない。光L5は液晶パネル2に入射せず、表示に寄与しないため、光利用効率を低下させる原因となる。
図20に示すように、第1実施形態の集光部材37において、光入射端面37aは、平坦な面であり、LED35の光射出面35aに平行な面である。この場合、LED35から射出された光のうち、相対的に大きい射出角で射出された一部の光L5は、光入射端面に対して大きい入射角で入射する。そのため、光L5は、光入射端面37aで反射し、集光部材37の内部に入射することができない。光L5は液晶パネル2に入射せず、表示に寄与しないため、光利用効率を低下させる原因となる。
これに対して、図19に示すように、第2実施形態の集光部材62の光入射端面62aには、内面がなだらかに湾曲した凹部63が設けられている。また、集光部材62の光軸C方向から見て、凹部63の平面形状は円形である。凹部63の平面形状をなす円の中心は、光入射端面62a全体の平面形状をなす円の中心に一致している。この構成により、光入射端面62aは、全体が曲面状の凹面となっている。
その他の構成は第1実施形態と同様である。
その他の構成は第1実施形態と同様である。
本実施形態の構成によれば、第1実施形態の集光部材37において表示に寄与できない光L5と同じ射出角で射出された光L6についても、光入射端面62aが凹面となっていることにより、光入射端面62aに対する入射角が第1実施形態の光入射端面37aに対する入射角よりも小さくなる。その結果、光L6は、光入射端面62aから集光部材62の内部に入射する。これにより、光L6は液晶パネル2に入射し、表示に寄与できるため、第1実施形態に比べて光利用効率を高めることができる。
集光部材62による集光効果を効果的に得るためには、凹部63の平面形状である円の半径をb(mm)とし、凹部63の最大深さをh(mm)としたとき、凹部63の半径bに対する最大深さhの比h/bは、0<h/b<1であることが望ましい。具体的に、h/bは、0.5程度であることが望ましい。図19では、h/b=0.5としたときの集光部材62からの射出光の配光分布を示している。
図21は、凹部66の半径bに対する最大深さhの比を1(h/b=1)としたときの集光部材65からの射出光の配光分布を示す図である。
図21に示すように、h/b=1とした場合も、LED35から広角側に射出された光が集光部材65の内部に入射するため、光利用効率を高めることができる。ただし、図21に示した集光部材65においては、図19に示したh/b=0.5の集光部材62と比べて、広角に発散する方向に射出される光が僅かに多くなる。したがって、0<h/b<1であることが望ましい。
図21に示すように、h/b=1とした場合も、LED35から広角側に射出された光が集光部材65の内部に入射するため、光利用効率を高めることができる。ただし、図21に示した集光部材65においては、図19に示したh/b=0.5の集光部材62と比べて、広角に発散する方向に射出される光が僅かに多くなる。したがって、0<h/b<1であることが望ましい。
本実施形態においても、バックライト8が集光部材62,65を備えたことにより、画像歪みが少なく、色再現性および視野角特性に優れた液晶表示装置を実現できる、という第1実施形態と同様の効果が得られる。
図22は、本発明者らのシミュレーション結果を示しており、第2実施形態の集光部材62からの射出光の極角と輝度比との関係を示すグラフである。
図22の横軸は極角[°]を示し、縦軸は輝度比[−]である。輝度比は、LED35から極角0°方向に射出される光の輝度を1としたときの輝度の比である。
破線のグラフAは、LED35からの射出光の輝度比分布を示す。実線のグラフBは、画面水平方向(方位角0°−180°方向)に沿う集光部材62からの射出光の輝度比分布を示す。1点鎖線のグラフCは、画面垂直方向(方位角90°−270°方向)に沿う集光部材62からの射出光の輝度比分布を示す。
図22の横軸は極角[°]を示し、縦軸は輝度比[−]である。輝度比は、LED35から極角0°方向に射出される光の輝度を1としたときの輝度の比である。
破線のグラフAは、LED35からの射出光の輝度比分布を示す。実線のグラフBは、画面水平方向(方位角0°−180°方向)に沿う集光部材62からの射出光の輝度比分布を示す。1点鎖線のグラフCは、画面垂直方向(方位角90°−270°方向)に沿う集光部材62からの射出光の輝度比分布を示す。
図22に示すように、集光部材62からの射出光は、画面水平方向、画面垂直方向のいずれにおいても、LED35からの射出光に比べて、極角33°付近の輝度比が大きく低下している。したがって、LED35からの射出光は、集光部材62を透過することにより、極角0°方向(正面方向)に集光されることがわかった。
第2実施形態の場合、極角33°での輝度比は、画面垂直方向において0.5程度にまで低減されているのに対し、画面水平方向においては0.3程度にまで低減されている。このように、特に集光状態を改善したい方位角方向である画面水平方向における集光効果が、画面垂直方向における集光効果に比べて大きく、視野角の改善にとって理想的であることがわかった。また、図22に示す第2実施形態のグラフは、図14に示す第1実施形態のグラフのような変曲点を持たず、形状がなだらかであることがわかった。そのため、観察者が極角を変化させながら画面を見たときに明るさの急激な変化が少なく、斜め方向からの表示品位を効果的に高めることができる。
本実施形態では、集光部材62,65の光入射端面62a,65aの全体が曲面状の凹面である例を示した。この構成に代えて、例えば集光部材の光入射端面のうち、中央部は平坦面であり、LEDから広角側に射出される光が入射する一部の領域のみが曲面状の凹面となっていてもよい。
[第3実施形態]
以下、本発明の第3実施形態について、図23〜図24を用いて説明する。
第3実施形態の液晶表示装置の基本構成は第1実施形態と同一であり、集光部材の構成が第1実施形態と異なる。そのため、第3実施形態では、集光部材についてのみ説明する。
図23は、第3実施形態の液晶表示装置に用いる集光部材の断面図である。
図23〜図24において、第1実施形態で用いた図面と共通の構成要素には同一の符号を付し、説明を省略する。
以下、本発明の第3実施形態について、図23〜図24を用いて説明する。
第3実施形態の液晶表示装置の基本構成は第1実施形態と同一であり、集光部材の構成が第1実施形態と異なる。そのため、第3実施形態では、集光部材についてのみ説明する。
図23は、第3実施形態の液晶表示装置に用いる集光部材の断面図である。
図23〜図24において、第1実施形態で用いた図面と共通の構成要素には同一の符号を付し、説明を省略する。
第1実施形態の集光部材37の傾斜面37cは、位置によらずに傾斜角が一定であった。これに対して、図23に示すように、第3実施形態の集光部材71の傾斜面71cは、傾斜角が光入射端面71aから光射出端面71bに向けて順次大きくなる方向に変化している。すなわち、集光部材37の光軸Cを含む平面で切断した断面で見ると、傾斜面71cの断面形状は、内側に凸となるように湾曲した曲線状である。
傾斜面71c上の1点を通る接線S1,S2と光軸Cに平行な直線Vとのなす角度を傾斜面71cの傾斜角αと定義する。このとき、傾斜面71cが光入射端面71aと接する角部での傾斜面71cの傾斜角α1は、例えば6°である。傾斜面71cが光射出端面71bと接する角部での傾斜角α2は、例えば12°である。このように、傾斜面71cの傾斜角αは光入射端面71a側から光射出端面71b側に向けて、6°から12°に増加している。
その他の構成は第1実施形態と同様である。
その他の構成は第1実施形態と同様である。
上述したように、集光部材71は、LED35から種々の方向に射出される光のうち、極角33°付近に射出される光を減らし、極角17°付近に射出される光を増やすことが望ましい。そのためには、本実施形態のように、傾斜面71cの傾斜角αを一定にするのではなく、適宜変化させることにより、射出光の配光分布を制御することが有効である。具体的には、傾斜面71cの傾斜角αを6°〜12°の範囲内で変化させることにより、極角33°付近に射出される光を減らし、極角17°付近に射出される光を増やすことができる。
本実施形態においても、バックライト8が集光部材71を備えたことにより、画像歪みが少なく、色再現性および視野角特性に優れた液晶表示装置を実現できる、という第1実施形態と同様の効果が得られる。
図24は、本発明者らのシミュレーション結果を示しており、第3実施形態の集光部材71からの射出光の極角と輝度比との関係を示すグラフである。
図24の横軸は極角[°]を示し、縦軸は輝度比[−]である。輝度比は、LED35から極角0°方向に射出される光の輝度を1としたときの輝度の比である。
破線のグラフAは、LED35からの射出光の輝度比分布を示す。実線のグラフBは、画面水平方向(方位角0°−180°方向)に沿う集光部材71からの射出光の輝度比分布を示す。
図24の横軸は極角[°]を示し、縦軸は輝度比[−]である。輝度比は、LED35から極角0°方向に射出される光の輝度を1としたときの輝度の比である。
破線のグラフAは、LED35からの射出光の輝度比分布を示す。実線のグラフBは、画面水平方向(方位角0°−180°方向)に沿う集光部材71からの射出光の輝度比分布を示す。
図24に示すように、集光部材71からの射出光は、LED単品での射出光と比較して、極角25°付近よりも広角側の輝度比が大きく低下している。例えば極角33°での輝度比を見ると、0.9程度から0.3程度まで大きく低下している。また、集光部材71からの射出光は、LED単品での射出光に対して、極角25°よりも狭角側の輝度比が上昇している。例えば極角17°での輝度比を見ると、1.2を超える値にまで上昇している。このように、本実施形態の集光部材71によれば、液晶表示装置の視野角特性が大きく改善される見通しが得られた。
[第4実施形態]
上述の第1実施形態〜第3実施形態の液晶表示装置は、各種電子機器に適用することができる。
以下、上述の第1実施形態〜第3実施形態の液晶表示装置1を備えた電子機器について、図25〜図27を用いて説明する。
上述の第1実施形態〜第3実施形態の液晶表示装置は、各種電子機器に適用することができる。
以下、上述の第1実施形態〜第3実施形態の液晶表示装置1を備えた電子機器について、図25〜図27を用いて説明する。
上述の第1実施形態〜第3実施形態の液晶表示装置1は、例えば、図25に示す薄型テレビ250に適用できる。
図25に示すように、薄型テレビ250は、表示部251、スピーカ252、キャビネット253およびスタンド254等を備えている。
表示部251として、上述の第1実施形態〜第3実施形態の液晶表示装置1を好適に適用できる。上述の第1実施形態〜第3実施形態の液晶表示装置1を薄型テレビ250の表示部251に適用することにより、視野角特性に優れた映像を表示することができる。
図25に示すように、薄型テレビ250は、表示部251、スピーカ252、キャビネット253およびスタンド254等を備えている。
表示部251として、上述の第1実施形態〜第3実施形態の液晶表示装置1を好適に適用できる。上述の第1実施形態〜第3実施形態の液晶表示装置1を薄型テレビ250の表示部251に適用することにより、視野角特性に優れた映像を表示することができる。
上述の第1実施形態〜第3実施形態の液晶表示装置1は、例えば、図26に示すスマートフォン240に適用できる。
図26に示すように、スマートフォン240は、音声入力部241、音声出力部242、操作スイッチ244、表示部245、タッチパネル243および筐体246等を備えている。
表示部245として、上述の第1実施形態〜第3実施形態の液晶表示装置1を好適に適用できる。上述の第1実施形態〜第3実施形態の液晶表示装置1をスマートフォン240の表示部245に適用することによって、視野角特性に優れた映像を表示することができる。
図26に示すように、スマートフォン240は、音声入力部241、音声出力部242、操作スイッチ244、表示部245、タッチパネル243および筐体246等を備えている。
表示部245として、上述の第1実施形態〜第3実施形態の液晶表示装置1を好適に適用できる。上述の第1実施形態〜第3実施形態の液晶表示装置1をスマートフォン240の表示部245に適用することによって、視野角特性に優れた映像を表示することができる。
上述の第1実施形態〜第3実施形態の液晶表示装置1は、例えば、図27に示すノートパソコン270に適用できる。
図27に示すように、ノートパソコン270は、表示部271、キーボード272、タッチパッド273、メインスイッチ274、カメラ275、記録媒体スロット276および筐体277等を備えている。
表示部271として、上述の第1実施形態〜第3実施形態の液晶表示装置1を好適に適用できる。上述の第1実施形態〜第3実施形態の液晶表示装置1をノートパソコン270の表示部271に適用することによって、視野角特性に優れた映像を表示することができる。
図27に示すように、ノートパソコン270は、表示部271、キーボード272、タッチパッド273、メインスイッチ274、カメラ275、記録媒体スロット276および筐体277等を備えている。
表示部271として、上述の第1実施形態〜第3実施形態の液晶表示装置1を好適に適用できる。上述の第1実施形態〜第3実施形態の液晶表示装置1をノートパソコン270の表示部271に適用することによって、視野角特性に優れた映像を表示することができる。
なお、本発明のいくつかの態様における技術範囲は上記実施形態に限定されるものではなく、本発明の態様における趣旨を逸脱しない範囲において種々の変更を加えることが可能である。
例えば上記実施形態では、集光部材として、PMMA等の光透過性を有する材料から構成された中実の集光部材の例を挙げたが、この構成に代えて、例えば内部が中空の筒体で構成され、筒体の内面が反射面となっている集光部材が用いられてもよい。
例えば上記実施形態では、集光部材として、PMMA等の光透過性を有する材料から構成された中実の集光部材の例を挙げたが、この構成に代えて、例えば内部が中空の筒体で構成され、筒体の内面が反射面となっている集光部材が用いられてもよい。
また、上記実施形態における光制御部材の基材の視認側に、反射防止構造、偏光フィルター層、帯電防止層、防眩処理層、防汚処理層のうちの少なくとも一つが設けられた構成であってもよい。この構成によれば、基材の視認側に設ける層の種類に応じて、外光反射を低減する機能、塵埃や汚れの付着を防止する機能、傷を防止する機能等を付加することができ、視野角特性の経時劣化を防ぐことができる。
特に、反射防止構造の一例として、光制御部材の基材の視認側にアンチグレア層が設けられた構成であってもよい。アンチグレア層としては、例えば、光の干渉を用いて外光を打ち消す誘電体多層膜等が用いられる。
反射防止構造の他の例として、光制御部材の基材の視認側に、いわゆるモスアイ構造が設けられた構成であってもよい。本発明において、モスアイ構造は、以下の構造や形状を含むものとする。モスアイ構造は、周期が可視光の波長以下の凹凸形状であり、いわゆる“蛾の目(Moth-eye)”構成の原理を利用した形状や構造である。凹凸の周期は、可視光(λ=380nm〜780nm)の波長以下に制御されている。凹凸パターンを構成する凸部の2次元的な大きさは、10nm以上、500nm未満である。基材に入射する光に対する屈折率を凹凸の深さ方向に沿って入射媒体(空気)の屈折率から基材の屈折率まで連続的に変化させることによって反射を抑制する。
また、液晶表示装置内の4つのドメインについては、各々のドメインの面積が異なっていてもよいし、液晶分子のダイレクタの方向は完全に90°ずつ異なっていなくてもよい。また、本発明は、1つの画素内に少なくとも2つのドメインがある場合に適用されるものであり、3つ以上のドメインがあってもよい。その場合、視野角特性を改善したい方位角方向に合わせて、光制御部材の遮光層の長軸方向、短軸方向、および集光部材の光射出端面の長軸方向、短軸方向を配置すればよい。
また、上記実施形態においては、図28Aに示すように、液晶パネル2の1個の画素PXが長方形状の赤(R)、緑(G)、青(B)の3個の副画素で構成され、これら3個の副画素が画面の垂直方向(矢印V方向)に長辺方向を向けて水平方向(矢印H方向)に配列されている例を示した。副画素の配置は、この例に限ることはない。例えば図28Bに示すように、R,G,Bの3個の副画素が画面の水平方向(矢印H方向)に長辺方向を向けて垂直方向(矢印V方向)に配列されていてもよい。
また、図28Cに示すように、液晶パネル2の1個の画素が長方形状の赤(R)、緑(G)、青(B)、黄(Y)の4個の副画素で構成され、これら4個の副画素が画面の垂直方向(矢印V方向)に長辺方向を向けて水平方向(矢印H方向)に配列されていてもよい。
もしくは、図28Dに示すように、R,G,B,Yの4個の副画素が画面の水平方向(矢印H方向)に長辺方向を向けて垂直方向(矢印V方向)に配列されていてもよい。
もしくは、図28Eに示すように、液晶パネルの1個の画素が正方形状のR,G,B,Yの4個の副画素で構成され、画面の水平方向と垂直方向とに2行2列に配置されていてもよい。
もしくは、図28Dに示すように、R,G,B,Yの4個の副画素が画面の水平方向(矢印H方向)に長辺方向を向けて垂直方向(矢印V方向)に配列されていてもよい。
もしくは、図28Eに示すように、液晶パネルの1個の画素が正方形状のR,G,B,Yの4個の副画素で構成され、画面の水平方向と垂直方向とに2行2列に配置されていてもよい。
その他、液晶表示装置および光制御部材の各構成部材の材料、数、配置等に関する具体的な構成は上記実施形態に限ることなく、適宜変更が可能である。例えば上記実施形態では、液晶パネルの外側に偏光板や位相差板を配置する例を示したが、この構成に代えて、液晶パネルを構成する一対の基板の内側に偏光層や位相差層を形成しても良い。
本発明は、液晶表示装置に利用が可能である。
1…液晶表示装置、2…液晶パネル、3…第1偏光板、7…第2偏光板、8…バックライト(照明装置)、9…光制御部材、10…TFT基板(第1の基板)、11…液晶層、12…カラーフィルター基板(第2の基板)、27…第1の垂直配向膜、34…第2の垂直配向膜、35…発光素子(LED)、37,62,65,71…集光部材、37a…光入射端面、37b…光射出端面、37c…傾斜面、38,56,57,58…拡散板、41…基材、42…遮光部、43…光拡散部、44…中空部、50…画素、50a,50b,50c,50d…ドメイン。
Claims (16)
- 第1の垂直配向膜を有する第1の基板と、第2の垂直配向膜を有する第2の基板と、前記第1の垂直配向膜と前記第2の垂直配向膜との間に挟持された負の誘電異方性を有する液晶層と、前記液晶層の光入射側に配置された第1の偏光板と、前記液晶層の光射出側に配置された第2の偏光板と、を含む液晶パネルと、
前記液晶パネルの光入射側に配置され、前記液晶パネルに向けて光を射出する照明装置と、
前記液晶パネルの光射出側に配置され、前記液晶パネルから射出された光を前記液晶パネルの法線方向から見た方位角方向および極角方向に拡散させて配光分布を制御する光制御部材と、を備え、
前記照明装置は、
前記液晶パネルの法線方向から見て前記液晶パネルと重なる位置に設けられ、前記液晶パネルに向けて光を射出する複数の発光素子と、
前記複数の発光素子と前記液晶パネルとの間において前記複数の発光素子の各々に対応する位置に設けられ、前記発光素子から射出された光を集光して前記液晶パネルに入射させる複数の集光部材と、を備え、
前記集光部材は、錐台状の形状であり、光入射端面と、前記光入射端面の面積よりも大きい面積を有する光射出端面と、前記光入射端面と前記光射出端面とに接する傾斜面と、を有し、前記発光素子から射出された光を少なくとも前記液晶パネルの画面水平方向において集光する、液晶表示装置。 - 前記集光部材は、光透過性を有する材料から構成されている、請求項1に記載の液晶表示装置。
- 前記集光部材の光軸方向から見た平面視において、前記光入射端面の形状が円であり、前記光射出端面の形状が楕円であり、
前記円の半径をra、前記楕円の前記画面水平方向における半径をrx、前記楕円の画面垂直方向における半径をryとしたとき、ra<ry<rxを満たす、請求項1に記載の液晶表示装置。 - 前記発光素子の光軸方向から見た平面視において、前記発光素子の光射出面の形状が最大半径をrbとする円であり、rb<raを満たす、請求項3に記載の液晶表示装置。
- 前記光制御部材は、光透過性を有する基材と、前記基材の第1面に形成された光拡散部と、前記基材の第1面のうちの前記光拡散部の形成領域以外の領域に形成された遮光部と、を備え、
前記光拡散部は、前記基材側に位置する光射出端面と、前記基材側と反対側に位置して前記光射出端面の面積よりも大きい面積を有する光入射端面と、前記光射出端面と前記光入射端面との間に位置する光反射面と、を有し、
前記光拡散部の前記光入射端面から前記光射出端面までの高さが前記遮光部の高さよりも高く、
前記光拡散部の非形成領域における前記光拡散部の間隙に、前記光拡散部の屈折率よりも低い屈折率を有する物質が存在している、請求項1に記載の液晶表示装置。 - 前記光制御部材の光拡散特性が、前記液晶パネルの法線方向から見て2軸以上の線対称性を有する、請求項5に記載の液晶表示装置。
- 前記基材の法線方向から見た前記遮光部の平面形状が、長軸と短軸とを有する異方性形状であり、
前記遮光部の前記長軸の延在方向が前記画面の垂直方向に略一致し、前記短軸の延在方向が前記画面の水平方向に略一致する、請求項6に記載の液晶表示装置。 - 前記遮光部の前記長軸の延在方向および前記短軸の延在方向が、前記第1の偏光板の偏光軸の延在方向および前記第2の偏光板の偏光軸の延在方向と略一致する、請求項7に記載の液晶表示装置。
- 前記遮光部の前記長軸の延在方向と前記楕円の長軸の延在方向とが略直交する、請求項8に記載の液晶表示装置。
- 前記集光部材の前記光入射端面は、少なくとも一部に曲面を含む凹面である、請求項1に記載の液晶表示装置。
- 前記集光部材の前記傾斜面は、前記集光部材の光軸に対する傾斜角が前記光入射端面から前記光射出端面に向けて順次大きくなる方向に変化している、請求項1に記載の液晶表示装置。
- 前記照明装置は、前記複数の集光部材の光射出側に位置する拡散板をさらに備える、請求項1に記載の液晶表示装置。
- 前記複数の発光素子が略等間隔に配置され、隣り合う前記発光素子の間の距離が、前記発光素子と前記拡散板との間の距離よりも小さい、請求項12に記載の液晶表示装置。
- 隣り合う前記発光素子の間の距離をL、前記発光素子と前記拡散板との間の距離をDとしたとき、L/D≦0.7を満たす、請求項13に記載の液晶表示装置。
- 前記拡散板は、光拡散特性に異方性を有し、
前記拡散板の拡散性が小さい方向が前記液晶パネルの画面水平方向に略一致する、請求項12に記載の液晶表示装置。 - 前記第1の偏光板の吸収軸と前記第2の偏光板の吸収軸とが互いに直交し、
前記液晶パネルは、前記液晶層の液晶分子のダイレクタが前記第1の偏光板の吸収軸および前記第2の偏光板の吸収軸と交差する4つの方位を向く4つのドメインを有する複数の画素を備える、請求項1に記載の液晶表示装置。
Priority Applications (1)
| Application Number | Priority Date | Filing Date | Title |
|---|---|---|---|
| JP2016112754A JP2017219618A (ja) | 2016-06-06 | 2016-06-06 | 液晶表示装置 |
Applications Claiming Priority (1)
| Application Number | Priority Date | Filing Date | Title |
|---|---|---|---|
| JP2016112754A JP2017219618A (ja) | 2016-06-06 | 2016-06-06 | 液晶表示装置 |
Publications (1)
| Publication Number | Publication Date |
|---|---|
| JP2017219618A true JP2017219618A (ja) | 2017-12-14 |
Family
ID=60656414
Family Applications (1)
| Application Number | Title | Priority Date | Filing Date |
|---|---|---|---|
| JP2016112754A Pending JP2017219618A (ja) | 2016-06-06 | 2016-06-06 | 液晶表示装置 |
Country Status (1)
| Country | Link |
|---|---|
| JP (1) | JP2017219618A (ja) |
Cited By (1)
| Publication number | Priority date | Publication date | Assignee | Title |
|---|---|---|---|---|
| CN114784045A (zh) * | 2022-04-29 | 2022-07-22 | 湖北长江新型显示产业创新中心有限公司 | 显示模组及其制备方法、显示装置 |
-
2016
- 2016-06-06 JP JP2016112754A patent/JP2017219618A/ja active Pending
Cited By (1)
| Publication number | Priority date | Publication date | Assignee | Title |
|---|---|---|---|---|
| CN114784045A (zh) * | 2022-04-29 | 2022-07-22 | 湖北长江新型显示产业创新中心有限公司 | 显示模组及其制备方法、显示装置 |
Similar Documents
| Publication | Publication Date | Title |
|---|---|---|
| JP6136059B2 (ja) | 液晶表示装置、光制御フィルム、表示装置 | |
| US20190129239A1 (en) | Display panel, display device and display method | |
| JP5943265B2 (ja) | 液晶表示装置 | |
| US9494724B2 (en) | Liquid crystal display device | |
| CN104583849B (zh) | 液晶显示装置 | |
| CN1743922A (zh) | 液晶显示装置、电子设备 | |
| US9541787B2 (en) | Light control film including light control layer with reflection surface and display device including same | |
| JP6101388B2 (ja) | 液晶表示装置 | |
| JP2017097053A (ja) | 液晶表示装置 | |
| US9904094B2 (en) | Liquid crystal display | |
| US20130258254A1 (en) | Liquid crystal display | |
| US9829737B2 (en) | Liquid crystal display device having low viewing angle dependency | |
| WO2009113206A1 (ja) | 液晶表示装置 | |
| JP2017219618A (ja) | 液晶表示装置 | |
| WO2016084676A1 (ja) | 液晶表示装置及び光制御部材 | |
| WO2016158834A1 (ja) | 光配向部材、照明装置、液晶表示装置および光配向部材の製造方法 | |
| JP2014102469A (ja) | 液晶表示装置 | |
| JPWO2018216086A1 (ja) | 表示パネルおよび表示装置 | |
| JP2015206917A (ja) | 液晶表示装置 | |
| WO2015064493A1 (ja) | 光制御フィルム、光制御フィルムの原反ロール、表示装置 | |
| WO2016088596A1 (ja) | 液晶表示装置 | |
| JP2017097123A (ja) | 液晶表示装置および光制御部材 |