JP2017194015A - エンジン始動装置および電磁スイッチ - Google Patents
エンジン始動装置および電磁スイッチ Download PDFInfo
- Publication number
- JP2017194015A JP2017194015A JP2016084921A JP2016084921A JP2017194015A JP 2017194015 A JP2017194015 A JP 2017194015A JP 2016084921 A JP2016084921 A JP 2016084921A JP 2016084921 A JP2016084921 A JP 2016084921A JP 2017194015 A JP2017194015 A JP 2017194015A
- Authority
- JP
- Japan
- Prior art keywords
- coil
- iron core
- switching unit
- electromagnetic switch
- resistance
- Prior art date
- Legal status (The legal status is an assumption and is not a legal conclusion. Google has not performed a legal analysis and makes no representation as to the accuracy of the status listed.)
- Granted
Links
Images
Landscapes
- Electromagnets (AREA)
Abstract
【課題】従来のタイマ制御回路や規制部材を必要とせずにラッシュ電流抑制用の抵抗体を短絡するまでの時間を確保でき、エンジン始動装置のモータへのラッシュ電流を抑制し、瞬断を防止する。【解決手段】第2のスイッチング部18の開路の状態で前記第1のスイッチング部16が閉路してソレノイドコイル13が通電されると可動鉄心8の吸引力とこの吸引力に対抗するバネ11,20,23のバネ荷重の関係が「吸引力<バネ荷重」となり、第2のスイッチング部18の開路の状態で第1のスイッチング部16が閉路すると所定時間の間、ソレノイドコイル13がモータ4へのラッシュ電流を抑制する。【選択図】図1
Description
この発明は、例えば自動車などに搭載されるエンジン始動装置およびエンジン始動装置用の電磁スイッチに関するものである。
エンジンを始動する場合、エンジン始動装置のスイッチに通電を行い、スイッチの固定接点を閉路することにより、車両用電源(以降、バッテリー)よりエンジン始動装置のモータへ電力を供給しモータに回転トルクを発生させ、噛合わされたピニオンギヤとリングギヤを介しモータの回転力をエンジンクランク軸へ伝えエンジンを始動させる。この時、スイッチの閉路時にはまだモータは静止状態であり、逆起電圧が発生していないため、極めて小さいエンジン始動装置の内部抵抗により数百〜千数百アンペアのラッシュ電流が流れる。その時、バッテリーは内部の固有抵抗により端子電圧が低下する電圧降下を発生する。このため、エンジンの始動時に於いて、モータ起動時の電流によるバッテリーの電圧降下により、車両に搭載された周辺電気機器、例えばステレオ、ナビゲーションシステム、エアコン等の使用時に瞬断を引き起こす問題があった。この瞬断は、通常のエンジンの始動では特に問題にはならないが、アイドリングストップ機能の搭載された車両等では、アイドリングストップ後の再始動を行う際に瞬断が発生し、運転手及び同乗者に不快感を与えることが懸念される。
これに対し、エンジン始動装置の起動時にモータに流れる突入電流を抑制する手段を備えて瞬断の発生を防止するエンジン始動装置が公知である(特許文献1,2参照)。
これに対し、エンジン始動装置の起動時にモータに流れる突入電流を抑制する手段を備えて瞬断の発生を防止するエンジン始動装置が公知である(特許文献1,2参照)。
特許文献1では、抵抗体通電時間を制御するために第2の電磁スイッチがタイマ回路を有しており、第1の電磁スイッチを閉じて抑制された電流を通電した後に、IGスイッチからの信号を受けたタイマ回路が所定の時間経過後に第2の電磁スイッチのソレノイドコイルに通電することで、回路中に設けられた抵抗体を短絡しバッテリの全電圧をモータへ印加する構成となっている。しかし、この特許によると従来のエンジン始動装置に抵抗体短絡用の電磁スイッチを追加する必要があり、部品点数と製品組立工数の増加によるコストアップ、そしてエンジン取付時のレイアウト性が悪化する。
特許文献2では、電磁スイッチにタイマ制御回路を内蔵し、電磁スイッチのメインソレノイドコイルに通電することで、並列に配置された第1可動接点と第2可動接点がそれぞれの対向した固定接点へ一緒に移動し、第1可動接点は閉路され抵抗体を介して抑制された電流をモータに流し、第2可動接点は規制部材により閉路出来ない位置で保持される。そして、タイマ制御回路によって所定時間後に規制部材を解除することで第2可動接点を閉路し、それによって抵抗体が短絡することでラッシュ電流を抑制する構成となっている。しかし、電磁スイッチにタイマ制御回路や規制部材などの抵抗体の短絡を遅延させる部品の追加と、それらを電磁スイッチへ内蔵することによる構造の複雑化、そして接点室内の構造が従来から大きく変更することによるコストアップが懸念される。
また、タイマ制御回路が何らかの理由で故障した場合、瞬断を防止することが出来なくなる。
特許文献2では、電磁スイッチにタイマ制御回路を内蔵し、電磁スイッチのメインソレノイドコイルに通電することで、並列に配置された第1可動接点と第2可動接点がそれぞれの対向した固定接点へ一緒に移動し、第1可動接点は閉路され抵抗体を介して抑制された電流をモータに流し、第2可動接点は規制部材により閉路出来ない位置で保持される。そして、タイマ制御回路によって所定時間後に規制部材を解除することで第2可動接点を閉路し、それによって抵抗体が短絡することでラッシュ電流を抑制する構成となっている。しかし、電磁スイッチにタイマ制御回路や規制部材などの抵抗体の短絡を遅延させる部品の追加と、それらを電磁スイッチへ内蔵することによる構造の複雑化、そして接点室内の構造が従来から大きく変更することによるコストアップが懸念される。
また、タイマ制御回路が何らかの理由で故障した場合、瞬断を防止することが出来なくなる。
この発明は上記課題を解決するためになされたものであって、その目的は従来のタイマ制御回路や規制部材を必要とせずにラッシュ電流抑制用の抵抗を短絡するまでの時間を確保でき、エンジン始動装置のモータへのラッシュ電流を抑制し、瞬断を防止することにある。
この発明に係るエンジン始動装置は、エンジン始動用のモータおよび電源から前記モータへの通電回路を開閉する電磁スイッチを備えたエンジン始動装置において、
前記電磁スイッチは、通電することで磁界を発生するソレノイドコイルと、前記ソレノイドコイルへの通電によって発生する磁界により磁化される固定鉄心と、前記ソレノイドコイルへの通電によって磁化され発生した吸引力で軸方向へ移動可能に配置された可動鉄心と、第1の可動接点と第1の固定接点対とで構成される第1のスイッチング部と、第2の可動接点と第2の固定接点対とで構成される第2のスイッチング部と、前記可動鉄心に連動して軸方向に移動可能であり前記第1の可動接点および前記第2の可動接点が取り付けられたロッドと、前記ソレノイドコイルへの通電によって発生する前記可動鉄心の吸引力に対抗する方向に付勢するバネとを備え、
前記第2のスイッチング部の開路の状態で前記第1のスイッチング部が閉路して前記ソレノイドコイルが通電されると前記可動鉄心の吸引力とこの吸引力に対抗する前記バネのバネ荷重の関係が「吸引力<バネ荷重」となり、前記第2のスイッチング部の開路の状態で前記第1のスイッチング部が閉路すると所定時間の間、前記ソレノイドコイルが前記モータへのラッシュ電流を抑制するものである。
前記電磁スイッチは、通電することで磁界を発生するソレノイドコイルと、前記ソレノイドコイルへの通電によって発生する磁界により磁化される固定鉄心と、前記ソレノイドコイルへの通電によって磁化され発生した吸引力で軸方向へ移動可能に配置された可動鉄心と、第1の可動接点と第1の固定接点対とで構成される第1のスイッチング部と、第2の可動接点と第2の固定接点対とで構成される第2のスイッチング部と、前記可動鉄心に連動して軸方向に移動可能であり前記第1の可動接点および前記第2の可動接点が取り付けられたロッドと、前記ソレノイドコイルへの通電によって発生する前記可動鉄心の吸引力に対抗する方向に付勢するバネとを備え、
前記第2のスイッチング部の開路の状態で前記第1のスイッチング部が閉路して前記ソレノイドコイルが通電されると前記可動鉄心の吸引力とこの吸引力に対抗する前記バネのバネ荷重の関係が「吸引力<バネ荷重」となり、前記第2のスイッチング部の開路の状態で前記第1のスイッチング部が閉路すると所定時間の間、前記ソレノイドコイルが前記モータへのラッシュ電流を抑制するものである。
この発明によれば、従来のエンジン始動装置の電磁スイッチから構造を大きく変更することなく、エンジンへの取付レイアウト性に優れ、従来のタイマ制御回路や規制部材を必要とせずにラッシュ電流抑制用の抵抗体を短絡するまでの時間を確保でき、エンジン始動装置のモータへのラッシュ電流を抑制し、瞬断を防止することができる効果がある。
実施の形態1.
以下、本発明の実施の形態1を図に基づいて説明する。先ず実施の形態1の構造および機能を図1から図6によって説明し、その後、図7から図9によって動作の説明をする。
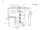
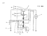
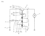
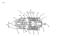
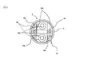
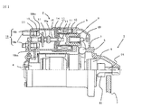
図1はエンジン始動装置の一例を一部断面で示す概略側面図、図2は図1に例示のエンジン始動装置の電気的接続の一例を示す回路図、図3は図1における電磁スイッチの第1のスイッチング部を例示する断面図、図4は図1における電磁スイッチの第2のスイッチング部を例示する断面図であり、図3の断面の位置からコイルの中心線の回りに90°ずれた位置での断面を例示してある図である。図5は図4のA−A線における断面を矢印の方向に見た断面図、図6は図1における電磁スイッチをリヤ側(フックのあるフロント側と反対の側)から見た背面図である。
図1から図6において、エンジン始動装置1は、始動スイッチ24の閉路によりバッテリー25から電力が通電端子27を通じて供給されるとトルクを発生するモータ4と、モータ4からのトルクを伝える出力軸26とヘリカルスプライン結合し、リングギヤ3と噛合うことでモータ4のトルクをエンジン側に伝える移動体6と、移動体6をリングギヤ方向へ移動させる押し出し機構7と、押し出し機構7を支持するブラケット5に固定される電磁スイッチ2を備える。
以下、本発明の実施の形態1を図に基づいて説明する。先ず実施の形態1の構造および機能を図1から図6によって説明し、その後、図7から図9によって動作の説明をする。
図1はエンジン始動装置の一例を一部断面で示す概略側面図、図2は図1に例示のエンジン始動装置の電気的接続の一例を示す回路図、図3は図1における電磁スイッチの第1のスイッチング部を例示する断面図、図4は図1における電磁スイッチの第2のスイッチング部を例示する断面図であり、図3の断面の位置からコイルの中心線の回りに90°ずれた位置での断面を例示してある図である。図5は図4のA−A線における断面を矢印の方向に見た断面図、図6は図1における電磁スイッチをリヤ側(フックのあるフロント側と反対の側)から見た背面図である。
図1から図6において、エンジン始動装置1は、始動スイッチ24の閉路によりバッテリー25から電力が通電端子27を通じて供給されるとトルクを発生するモータ4と、モータ4からのトルクを伝える出力軸26とヘリカルスプライン結合し、リングギヤ3と噛合うことでモータ4のトルクをエンジン側に伝える移動体6と、移動体6をリングギヤ方向へ移動させる押し出し機構7と、押し出し機構7を支持するブラケット5に固定される電磁スイッチ2を備える。
電磁スイッチ2の第1の接点部の断面を示す図3および第2の接点部の断面を示す図4に関する以下の説明において、これら図3および図4の左方向(ソレノイド通電による可動鉄心の移動方向)を「後方」、右方向(ソレノイド通電による可動鉄心の移動方向とは反対の方向)を「前方」と表記する。
ソレノイドコイル13は樹脂製の巻枠10に巻かれ、外周側はケース9、内周側は可動鉄心8が配置されており、可動鉄心8と対向するように固定鉄心14がケース9に嵌合され、前記ケース9、可動鉄心8、固定鉄心14はソレノイドコイル13への通電により磁気回路を構成する。可動鉄心8は、固定鉄心14に一端を支持されたプランジャバネ11によって前方へ付勢されており、また可動鉄心8にはレバーバネ23、フック28が内蔵され、フック28は押し出し機構7に取り付けることにより、可動鉄心8が固定鉄心方向への移動に連動して移動体6をリングギヤ方向に押し出し、もし移動体6のピニオンギヤ61とリングギヤ3とがそれらの歯面同士ではなく端面同士で当接し、可動鉄心8が固定鉄心方向へ移動できなくなった場合に、可動鉄心8に内蔵されたレバーバネ23が撓むことで可動鉄心8の移動を可能としている。
ソレノイドコイル13は樹脂製の巻枠10に巻かれ、外周側はケース9、内周側は可動鉄心8が配置されており、可動鉄心8と対向するように固定鉄心14がケース9に嵌合され、前記ケース9、可動鉄心8、固定鉄心14はソレノイドコイル13への通電により磁気回路を構成する。可動鉄心8は、固定鉄心14に一端を支持されたプランジャバネ11によって前方へ付勢されており、また可動鉄心8にはレバーバネ23、フック28が内蔵され、フック28は押し出し機構7に取り付けることにより、可動鉄心8が固定鉄心方向への移動に連動して移動体6をリングギヤ方向に押し出し、もし移動体6のピニオンギヤ61とリングギヤ3とがそれらの歯面同士ではなく端面同士で当接し、可動鉄心8が固定鉄心方向へ移動できなくなった場合に、可動鉄心8に内蔵されたレバーバネ23が撓むことで可動鉄心8の移動を可能としている。
電磁スイッチ2のソレノイドコイル13は駆動コイル13a、保持コイル13b、抵抗コイル13cの3つで構成され、これら3つのコイル13a,13b,13cは同じ方向に同心状に三層構造に巻かれている。これら三層構造の3つのコイル13a,13b,13cの径方向の配置については、駆動コイル13aを最内層、保持コイル13bを中間層、抵抗コイル13cを最外層、としてある。
駆動コイル13aは、可動鉄心8を駆動する役割を有している。
保持コイル13bは、可動鉄心8を駆動する役割と、可動鉄心8を固定鉄心14に接触した位置に保持する役割とを有している。
抵抗コイル13cは、可動鉄心8を駆動する役割と、モータ4へのラッシュ電流を抑制する抵抗としての役割を有している。
なお、本実施の形態では、駆動コイル13a、保持コイル13b、抵抗コイル13cの各々の抵抗の大きさの関係を、保持コイル13bの抵抗>駆動コイル13aの抵抗>抵抗コイル13cの抵抗、としてある。
駆動コイル13aは、可動鉄心8を駆動する役割を有している。
保持コイル13bは、可動鉄心8を駆動する役割と、可動鉄心8を固定鉄心14に接触した位置に保持する役割とを有している。
抵抗コイル13cは、可動鉄心8を駆動する役割と、モータ4へのラッシュ電流を抑制する抵抗としての役割を有している。
なお、本実施の形態では、駆動コイル13a、保持コイル13b、抵抗コイル13cの各々の抵抗の大きさの関係を、保持コイル13bの抵抗>駆動コイル13aの抵抗>抵抗コイル13cの抵抗、としてある。
可動鉄心8と同軸に固定鉄心14を貫いてロッド12が設置されており、このロッド12は、その延在方向につまり往復動できるように、つまり図3および図4における後方および前方に移動できるように、固定鉄心14を移動可能に貫通している。
ロッド12には第1の可動接点16aと第2の可動接点18aとが同軸状に取り付けられている。
第1の可動接点16aは、第1の可動接点16aとロッド12との間に介挿された第1のポイントバネ15により後方へ付勢される。なお、第1のポイントバネ15は、第1の可動接点16aと第1の固定接点対16bとの接触圧を確保するためのものである。
第2の可動接点18aとロッド12との間に介挿された第2のポイントバネ17の後方に第2の可動接点18aが配置されており、第2の可動接点18aは第2のポイントバネ17により後方へ付勢されている。なお、第2のポイントバネ17は、第2の可動接点18aと第2の固定接点対18bとの接触圧を確保するためのものである。
ロッド12には第1の可動接点16aと第2の可動接点18aとが同軸状に取り付けられている。
第1の可動接点16aは、第1の可動接点16aとロッド12との間に介挿された第1のポイントバネ15により後方へ付勢される。なお、第1のポイントバネ15は、第1の可動接点16aと第1の固定接点対16bとの接触圧を確保するためのものである。
第2の可動接点18aとロッド12との間に介挿された第2のポイントバネ17の後方に第2の可動接点18aが配置されており、第2の可動接点18aは第2のポイントバネ17により後方へ付勢されている。なお、第2のポイントバネ17は、第2の可動接点18aと第2の固定接点対18bとの接触圧を確保するためのものである。
固定鉄心14の後方にはキャップ19が配置され、このキャップ19内に、第1の可動接点16aと、第2の可動接点18aと、第1のポイントバネ15と、第2のポイントバネ17と、リターンバネ20と、第1の固定接点対16bの第1の可動接点16aとの接触部16bc,16bcと、第2の固定接点対18bの第2の可動接点18aとの接触部18bc,18bcと、が密閉状態に内蔵されている。
第1の可動接点16aと対向して配置され第1の可動接点16aとで第1のスイッチング部16を構成する第1の固定接点対16bは、キャップ19に取り付けられている。
第2の可動接点18aと対向して配置され第2の可動接点18aとで第2のスイッチング部18を構成する第2の固定接点対18bも、キャップ19に取り付けられている。
キャップ19は、ロッド12を前方に付勢するリターンバネ20の一端を支持している。キャップ19をケース9のキャップ9側の末端でカシメることにより、キャップ19はケース9に固定されている。
第1の固定接点対16bと第2の固定接点対18bとは、コイルの中心線方向に見ても径方向に見ても、重ならないように所定距離だけ離間した構成としてある。
前方から後方に向かって順に、第1のポイントバネ15、第1のスイッチング部16、第2のポイントバネ17、第2のスイッチング部18、リターンバネ20が配列されているが、第1のスイッチング部16と第2のスイッチング部18の配列は逆でもよい。
第1の可動接点16aと対向して配置され第1の可動接点16aとで第1のスイッチング部16を構成する第1の固定接点対16bは、キャップ19に取り付けられている。
第2の可動接点18aと対向して配置され第2の可動接点18aとで第2のスイッチング部18を構成する第2の固定接点対18bも、キャップ19に取り付けられている。
キャップ19は、ロッド12を前方に付勢するリターンバネ20の一端を支持している。キャップ19をケース9のキャップ9側の末端でカシメることにより、キャップ19はケース9に固定されている。
第1の固定接点対16bと第2の固定接点対18bとは、コイルの中心線方向に見ても径方向に見ても、重ならないように所定距離だけ離間した構成としてある。
前方から後方に向かって順に、第1のポイントバネ15、第1のスイッチング部16、第2のポイントバネ17、第2のスイッチング部18、リターンバネ20が配列されているが、第1のスイッチング部16と第2のスイッチング部18の配列は逆でもよい。
また、図5に例示のように、本実施の形態では、バッテリー2側を上流、アース側を下流とした場合、ソレノイドコイル13の駆動コイル13a、保持コイル13b、および抵抗コイル13cのそれぞれのコイル端については、巻枠10の口出し10aからは駆動コイル上流側コイル端13aaと保持コイル上流側コイル端13ba、巻枠10の口出し10bからは駆動コイル下流側コイル端13abと抵抗コイル下流側コイル端13cb、巻枠10の口出し10cからは保持コイル下流側コイル端13bbと抵抗コイル上流側コイル端13caよりそれぞれコイル端を束ねて巻枠10の口出し部より出している。
巻枠10の口出し10cの保持コイル下流側コイル端13bbは、固定鉄心と接続することでアースに落とし、それ以外のコイル端については、キャップ19には巻枠10の口出し10a、10b、10cと同じ位置に、コイル端を通すキャップ口出し19a、19b、19cを設けており、またそのキャップの口出し19a、19b、19cの出口には端子台29と、端子台としての機能も持つ通電端子27とが取り付けられている。
キャップ19を組み付けると、駆動コイル13a、保持コイル13b、および抵抗コイル13cのそれぞれのコイル端がキャップの口出しから飛び出すコイル長さにしておき、半田等により端子台29、通電端子27上で電気的に接続する(図6)。
コイル端を束ねることで接続箇所を少なくし、全体的な接続作業時間を短縮することができると共に、電磁スイッチのレイアウト性も向上する。
また今回の実施例では接続を電磁スイッチ2の外側で実施しているが、電磁スイッチの内部で結線してもよい。
巻枠10の口出し10cの保持コイル下流側コイル端13bbは、固定鉄心と接続することでアースに落とし、それ以外のコイル端については、キャップ19には巻枠10の口出し10a、10b、10cと同じ位置に、コイル端を通すキャップ口出し19a、19b、19cを設けており、またそのキャップの口出し19a、19b、19cの出口には端子台29と、端子台としての機能も持つ通電端子27とが取り付けられている。
キャップ19を組み付けると、駆動コイル13a、保持コイル13b、および抵抗コイル13cのそれぞれのコイル端がキャップの口出しから飛び出すコイル長さにしておき、半田等により端子台29、通電端子27上で電気的に接続する(図6)。
コイル端を束ねることで接続箇所を少なくし、全体的な接続作業時間を短縮することができると共に、電磁スイッチのレイアウト性も向上する。
また今回の実施例では接続を電磁スイッチ2の外側で実施しているが、電磁スイッチの内部で結線してもよい。
次にエンジン始動装置1の動作について、エンジン始動装置の各動作時の電流の流れを示した図7から9をもとに説明する。
エンジン始動の第1ステップとして、エンジン始動要求により始動スイッチ24が閉路されると、第1のスイッチング部16および第2のスイッチング部18がまだ閉路していない開路の状態下で、バッテリー25から電磁スイッチ2の駆動コイル13aと保持コイル13bに電流が流れ(図7)、可動鉄心8が磁化されることで可動鉄心8が、プランジャバネ11およびリターンバネ20を、プランジャバネ11およびリターンバネ20のそれぞれの付勢力に抗して撓ませながらロッド12と共に固定鉄心14に近づく方向へ移動する。この可動鉄心8の移動に連動して、押し出し機構7を介して移動体6をリングギヤ方向へ押し出す。
可動鉄心8の磁化に伴う移動により可動鉄心によって駆動されてロッド12が移動し始めると、まず第1のスイッチング部16が閉路され、抵抗コイル13cにより抑制された電流がモータ4に流れるため、バッテリー電圧の大幅な電圧降下が防止される。(図8)
可動鉄心8の磁化に伴う移動により可動鉄心によって駆動されてロッド12が移動し始めると、まず第1のスイッチング部16が閉路され、抵抗コイル13cにより抑制された電流がモータ4に流れるため、バッテリー電圧の大幅な電圧降下が防止される。(図8)
ちなみに、第1のスイッチング部16が閉路した時のラッシュ電流値は、抵抗コイル13cの抵抗値に依存し、下記関係式から簡易的に求めることが出来る。
バッテリー25のオープン電圧をVo、バッテリー25の内部抵抗をRb、バッテリー25とエンジン始動装置1間の配線抵抗をRw、エンジン始動装置1の内部抵抗をRst、抵抗コイル13cの抵抗値をRsrとしたとき、
ラッシュ電流 = Vo /(Rb+Rw+Rst+Rsr)
となる。
諸条件にもよるが、抵抗コイル13cの抵抗値Rsrをエンジン始動装置1の内部抵抗Rstの約2倍にすることでラッシュ電流を約半分に抑制することが出来る。
バッテリー25のオープン電圧をVo、バッテリー25の内部抵抗をRb、バッテリー25とエンジン始動装置1間の配線抵抗をRw、エンジン始動装置1の内部抵抗をRst、抵抗コイル13cの抵抗値をRsrとしたとき、
ラッシュ電流 = Vo /(Rb+Rw+Rst+Rsr)
となる。
諸条件にもよるが、抵抗コイル13cの抵抗値Rsrをエンジン始動装置1の内部抵抗Rstの約2倍にすることでラッシュ電流を約半分に抑制することが出来る。
ちなみに、可動接点8の移動に伴い押し出し機構7によって移動体6がリングギヤ3に移動して噛合わなかった場合は、移動体6がリングギヤ3に押し付けられた状態となり、第1のスイッチング部16の閉路により抵抗コイル13cからの電流がモータ4に流れることでモータ4が回転し、移動体6とリングギヤ3が噛合う。このように本発明は瞬断対策としての用途だけでなく、モータの回転補助、ギヤ噛合い補助、の用途にも流用できる。
続いてエンジン始動の第2ステップとして、駆動コイル13aの抵抗値は抵抗コイル13cと比較して非常に大きいため、第1のスイッチング部16の閉路により抵抗コイル13cに電流が流れると駆動コイル13aに電流は殆ど流れなくなり、代わって抵抗コイル13cと保持コイル13bに流れる電流によって発生する磁束により、第1のポイントバネ15を撓ませながら可動鉄心8が固定鉄心方向に移動する。第2のスイッチング部18が閉路されると抵抗コイル13cが短絡され、通常の電流が供給されることとなり、モータ4の回転力をエンジンクランク軸へ伝え、エンジンの始動を開始する。(図9)
続いてエンジン始動の第3ステップとして、駆動コイル13a、抵抗コイル13cが短絡しているため、保持コイル13bに流れる電流によって発生する磁束により、第2のポイントバネ17を撓ませながら可動鉄心8を固定鉄心14に当接させ保持する。
なお、可動鉄心8の吸引力の発生元は、前記第1ステップでは駆動コイル13aと保持コイル13bとへの通電、前記第2ステップでは抵抗コイル13cと保持コイル13bとへの通電、前記第3ステップでは保持コイル13bへの通電、となる。
なお、可動鉄心8の吸引力の発生元は、前記第1ステップでは駆動コイル13aと保持コイル13bとへの通電、前記第2ステップでは抵抗コイル13cと保持コイル13bとへの通電、前記第3ステップでは保持コイル13bへの通電、となる。
瞬断の原因は冒頭で説明した通り、モータ4が静止状態のため逆起電圧が発生していないことであるから、いかに第2のスイッチング部18閉路となるまでにモータ回転の時間を確保できるかが重要となる。つまり、上述した各ステップで肝となるのが第2ステップである。そこで、図10に示す本発明の電磁スイッチ2の可動鉄心8に掛かる吸引力とバネ荷重との関係より、第2のスイッチング部18が閉路となるまでの時間確保方法について説明する。
前述の第1ステップでは、電磁スイッチ2のプランジャバネ11、リターンバネ20、およびレバーバネ23(移動体とリングギヤの噛合い状況による)の各々のバネ荷重の合計バネ荷重Wtb以上となるように可動鉄心8の吸引力Wmcを設定する。
つまり、前述の第1ステップ(駆動コイル13aと保持コイル13bとへの通電の場合)では、Wmc≧Wtbとなるように、所要のバネ特性のプランジャバネ11、リターンバネ20、およびレバーバネ23を使用し、所望の巻数および抵抗の駆動コイル13aを使用する。
つまり、前述の第1ステップ(駆動コイル13aと保持コイル13bとへの通電の場合)では、Wmc≧Wtbとなるように、所要のバネ特性のプランジャバネ11、リターンバネ20、およびレバーバネ23を使用し、所望の巻数および抵抗の駆動コイル13aを使用する。
続いて第2ステップでは、抵抗コイル13cによって抑制された電流がモータ4に流れることでモータ4が回転を始めるが、この第1のスイッチング部16が閉路してから第2のスイッチング部18が閉じるまでの時間を長く確保するため、駆動コイル13aによる吸引力よりも、抵抗コイルに13cによる可動鉄心8の吸引力を小さく、またはバネ荷重を大きく設定する等して、第1のスイッチング部16が閉路した瞬間の可動鉄心8の吸引力とバネ荷重との関係を「吸引力<バネ荷重」とすることで、可動鉄心8を減速させる。
つまりWmc<Wtbとなるように、所要のバネ特性のプランジャバネ11、第1のポイントバネ15、リターンバネ20、およびレバーバネ23を使用し、所望の巻数および抵抗の抵抗コイル13cを使用する。
第1ステップで吸引された可動鉄心8の慣性により、第1のスイッチング部16の閉路の瞬間は可動鉄心8の吸引力がバネ荷重より小さくても、吸引可能な位置まで可動鉄心8が移動出来るように設定する。この時、抵抗コイル13cによる吸引力を駆動コイル13aによる吸引力よりも小さく設定したいが、目標のラッシュ電流値まで抑制するに必要な抵抗値が大きいため、抵抗コイル13cの線長が長くなり巻き数が多くなってしまう場合、第2のスイッチング部18を閉路することが出来るのであれば抵抗コイル13cの巻方向を途中で逆巻に
することで、抵抗値と吸引力を調整しても良い。
第1ステップで吸引された可動鉄心8の慣性により、第1のスイッチング部16の閉路の瞬間は可動鉄心8の吸引力がバネ荷重より小さくても、吸引可能な位置まで可動鉄心8が移動出来るように設定することにより、可動鉄心8が、第2のスイッチング部18が閉路となる位置まで移動する時間を、抵抗コイル13cによるラッシュ電流抑制に必要な所定時間分に確保することができ、特許文献1,2のようなタイマ回路、タイマ制御回路、規制部材などを特別に設けなくても、モータ起動時にモータへ流入するラッシュ電流を抑制することができる。
つまりWmc<Wtbとなるように、所要のバネ特性のプランジャバネ11、第1のポイントバネ15、リターンバネ20、およびレバーバネ23を使用し、所望の巻数および抵抗の抵抗コイル13cを使用する。
第1ステップで吸引された可動鉄心8の慣性により、第1のスイッチング部16の閉路の瞬間は可動鉄心8の吸引力がバネ荷重より小さくても、吸引可能な位置まで可動鉄心8が移動出来るように設定する。この時、抵抗コイル13cによる吸引力を駆動コイル13aによる吸引力よりも小さく設定したいが、目標のラッシュ電流値まで抑制するに必要な抵抗値が大きいため、抵抗コイル13cの線長が長くなり巻き数が多くなってしまう場合、第2のスイッチング部18を閉路することが出来るのであれば抵抗コイル13cの巻方向を途中で逆巻に
することで、抵抗値と吸引力を調整しても良い。
第1ステップで吸引された可動鉄心8の慣性により、第1のスイッチング部16の閉路の瞬間は可動鉄心8の吸引力がバネ荷重より小さくても、吸引可能な位置まで可動鉄心8が移動出来るように設定することにより、可動鉄心8が、第2のスイッチング部18が閉路となる位置まで移動する時間を、抵抗コイル13cによるラッシュ電流抑制に必要な所定時間分に確保することができ、特許文献1,2のようなタイマ回路、タイマ制御回路、規制部材などを特別に設けなくても、モータ起動時にモータへ流入するラッシュ電流を抑制することができる。
また、抵抗コイル13cには、第1のスイッチング部16閉路時に数十msecではあるが、数百Aの電流が流れるため高温となる。そのため、抵抗コイル13cを駆動コイル13a、保持コイル13bの外周側に巻くことにより排熱し易くなると共に、もし上述した抵抗コイル13cを途中で逆巻きを入れた場合に、外周側に駆動コイル13a、または保持コイル13bを巻いてしまうと巻乱れの懸念があるため、その問題が解消される。
前述の実施の形態1は、電源からエンジン始動装置のモータへの通電回路を開閉するエンジン始動装置用電磁スイッチにおいて、第1の動作モードで作動する第1の可動接点と第1の固定接点群で構成される第1の接点部と、第2の動作モードで作動する第2の可動接点と第2の固定接点群で構成される第2の接点部と、通電することで磁界を発生するソレノイドコイルと、前記ソレノイドコイルへの通電によって発生する磁界により磁化される固定鉄心と、同じく前記ソレノイドコイルへの通電によって磁化され発生した吸引力で前記ソレノイドコイルの内周を軸方向へ移動可能に配置された可動鉄心と、前記可動鉄心に連動して軸方向に移動可能であり第1の可動接点および第2の可動接点が取り付けられたロッドと、前記ソレノイドコイルに電流が流れることによって発生する前記可動鉄心の吸引力に対抗する方向に付勢する少なくとも1つ以上のバネを備えるものであって、前記第1の可動接点が前記第1の固定接点群に当接(閉路)した瞬間の前記可動鉄心の吸引力と、対抗するバネ荷重の関係が「吸引力<バネ荷重」となっている。
また、電源からエンジン始動装置のモータへの電流を抑制する抵抗体を備え、前記第1の動作モードは前記抵抗体を介してエンジン始動装置のモータへ通電されるものであり、前記第2の動作モードは前記抵抗体が短絡され電源から直接エンジン始動装置のモータへ通電される。
また、前記ソレノイドコイルは駆動コイルと、保持コイルを構成し前記第1の可動接点が前記第1の固定接点群に当接することにより、駆動コイルが短絡されるように接続されている。
また、前記抵抗体は前記ソレノイドコイルの駆動コイルおよび保持コイルと同心上に巻かれた抵抗コイルであって、駆動コイルに電流が流れることによって発生する可動鉄心の吸引力は、抵抗コイルに電流が流れることによって発生する可動鉄心の吸引力よりも大きい。
また、前記抵抗コイルの抵抗値は、前記モータ内部抵抗の2倍程度に設定されている。
また、前記抵抗コイルの巻方向は、前記駆動コイル、前記保持コイルと同方向に巻かれ、途中逆方向にも巻かれている。
また、前記駆動コイル、前記保持コイル、前記抵抗コイルの計6つあるコイル端の内、少なくとも2つを束ね、巻枠の3箇所から口出しする構造である。
また、前記ソレノイドコイルの前記抵抗コイルは、前記駆動コイル及び前記保持コイルよりも外側に巻かれている。
また、エンジン始動用のモータおよび電源から前記モータへの通電回路を開閉する電磁スイッチを備えたエンジン始動装置において、前記電磁スイッチは、通電することで磁界を発生するソレノイドコイルと、前記ソレノイドコイルへの通電によって発生する磁界により磁化される固定鉄心と、前記ソレノイドコイルへの通電によって磁化され発生した吸引力で軸方向へ移動可能に配置された可動鉄心と、第1の可動接点と第1の固定接点対とで構成される第1のスイッチング部と、第2の可動接点と第2の固定接点対とで構成される第2のスイッチング部と、前記可動鉄心に連動して軸方向に移動可能であり前記第1の可動接点および前記第2の可動接点が取り付けられたロッドと、前記ソレノイドコイルへの通電によって発生する前記可動鉄心の吸引力に対抗する方向に付勢するバネとを備え、前記第2のスイッチング部の開路の状態で前記第1のスイッチング部が閉路して前記ソレノイドコイルが通電されると前記可動鉄心の吸引力とこの吸引力に対抗する前記バネのバネ荷重の関係が「吸引力<バネ荷重」となり、前記第2のスイッチング部の開路の状態で前記第1のスイッチング部が閉路すると所定時間の間、前記ソレノイドコイルが前記モータへのラッシュ電流を抑制する。
また、前記電源から前記モータへ流れる電流を抑制するための抵抗を備え、前記第1のスイッチング部の閉路により前記抵抗を介して前記電源から前記モータに通電され、前記第2のスイッチング部の閉路により前記抵抗が短絡され、前記抵抗を介さずに前記電源から前記モータに通電される。
また、前記ソレノイドコイルは、通電されると前記可動鉄心を前記固定鉄心に磁化により吸着させる駆動コイルと、通電されると前記可動鉄心を前記固定鉄心に吸着された状態に磁化により保持する保持コイルとを備え、前記第1のスイッチング部および前記第2のスイッチング部の少なくとも一方が閉路すると前記駆動コイルはバイパスされる。
また、前記抵抗が抵抗コイルであって、前記ソレノイドコイルは、通電されると前記可動鉄心を前記固定鉄心に磁化により吸着させる駆動コイルと、通電されると前記可動鉄心を前記固定鉄心に吸着された状態に磁化により保持する保持コイルと、前記抵抗コイルとを同心状に備えている。
また、エンジン始動スイッチが閉路すると前記駆動コイルおよび前記保持コイルが前記
電源から通電され、前記第1のスイッチング部が閉路すると前記抵抗コイルが前記電源から通電されて、前記駆動コイルが前記第1のスイッチング部と前記抵抗コイルとによってバイパスされる。
また、前記駆動コイルに電流が流れることによって発生する前記可動鉄心の吸引力は、前記抵抗コイルに電流が流れることによって発生する前記可動鉄心の吸引力よりも大きい。
また、前記抵抗コイルは、前記駆動コイルおよび前記保持コイルより外側に配設されている。
また、前記抵抗コイル、前記駆動コイル、および前記保持コイルは、それぞれ同方向に巻かれている。
また、前記抵抗コイルは、途中で逆方向に巻かれている。
また、前記抵抗コイルの抵抗値の大きさは、前記モータの内部抵抗の2倍程度である。
また、本実施の形態1は、従来のエンジン始動装置の電磁スイッチから構造を大きく変更することなく、タイマ制御回路や規制部材を必要とせずにラッシュ電流抑制用の抵抗体を短絡するまでの時間を確保でき、従来のエンジン始動装置から電磁スイッチを変更するだけでエンジン始動装置のモータへのラッシュ電流を抑制し、瞬断を防止できるエンジン始動装置および電磁スイッチを提供するものである。
また、電源からエンジン始動装置のモータへの電流を抑制する抵抗体を備え、前記第1の動作モードは前記抵抗体を介してエンジン始動装置のモータへ通電されるものであり、前記第2の動作モードは前記抵抗体が短絡され電源から直接エンジン始動装置のモータへ通電される。
また、前記ソレノイドコイルは駆動コイルと、保持コイルを構成し前記第1の可動接点が前記第1の固定接点群に当接することにより、駆動コイルが短絡されるように接続されている。
また、前記抵抗体は前記ソレノイドコイルの駆動コイルおよび保持コイルと同心上に巻かれた抵抗コイルであって、駆動コイルに電流が流れることによって発生する可動鉄心の吸引力は、抵抗コイルに電流が流れることによって発生する可動鉄心の吸引力よりも大きい。
また、前記抵抗コイルの抵抗値は、前記モータ内部抵抗の2倍程度に設定されている。
また、前記抵抗コイルの巻方向は、前記駆動コイル、前記保持コイルと同方向に巻かれ、途中逆方向にも巻かれている。
また、前記駆動コイル、前記保持コイル、前記抵抗コイルの計6つあるコイル端の内、少なくとも2つを束ね、巻枠の3箇所から口出しする構造である。
また、前記ソレノイドコイルの前記抵抗コイルは、前記駆動コイル及び前記保持コイルよりも外側に巻かれている。
また、エンジン始動用のモータおよび電源から前記モータへの通電回路を開閉する電磁スイッチを備えたエンジン始動装置において、前記電磁スイッチは、通電することで磁界を発生するソレノイドコイルと、前記ソレノイドコイルへの通電によって発生する磁界により磁化される固定鉄心と、前記ソレノイドコイルへの通電によって磁化され発生した吸引力で軸方向へ移動可能に配置された可動鉄心と、第1の可動接点と第1の固定接点対とで構成される第1のスイッチング部と、第2の可動接点と第2の固定接点対とで構成される第2のスイッチング部と、前記可動鉄心に連動して軸方向に移動可能であり前記第1の可動接点および前記第2の可動接点が取り付けられたロッドと、前記ソレノイドコイルへの通電によって発生する前記可動鉄心の吸引力に対抗する方向に付勢するバネとを備え、前記第2のスイッチング部の開路の状態で前記第1のスイッチング部が閉路して前記ソレノイドコイルが通電されると前記可動鉄心の吸引力とこの吸引力に対抗する前記バネのバネ荷重の関係が「吸引力<バネ荷重」となり、前記第2のスイッチング部の開路の状態で前記第1のスイッチング部が閉路すると所定時間の間、前記ソレノイドコイルが前記モータへのラッシュ電流を抑制する。
また、前記電源から前記モータへ流れる電流を抑制するための抵抗を備え、前記第1のスイッチング部の閉路により前記抵抗を介して前記電源から前記モータに通電され、前記第2のスイッチング部の閉路により前記抵抗が短絡され、前記抵抗を介さずに前記電源から前記モータに通電される。
また、前記ソレノイドコイルは、通電されると前記可動鉄心を前記固定鉄心に磁化により吸着させる駆動コイルと、通電されると前記可動鉄心を前記固定鉄心に吸着された状態に磁化により保持する保持コイルとを備え、前記第1のスイッチング部および前記第2のスイッチング部の少なくとも一方が閉路すると前記駆動コイルはバイパスされる。
また、前記抵抗が抵抗コイルであって、前記ソレノイドコイルは、通電されると前記可動鉄心を前記固定鉄心に磁化により吸着させる駆動コイルと、通電されると前記可動鉄心を前記固定鉄心に吸着された状態に磁化により保持する保持コイルと、前記抵抗コイルとを同心状に備えている。
また、エンジン始動スイッチが閉路すると前記駆動コイルおよび前記保持コイルが前記
電源から通電され、前記第1のスイッチング部が閉路すると前記抵抗コイルが前記電源から通電されて、前記駆動コイルが前記第1のスイッチング部と前記抵抗コイルとによってバイパスされる。
また、前記駆動コイルに電流が流れることによって発生する前記可動鉄心の吸引力は、前記抵抗コイルに電流が流れることによって発生する前記可動鉄心の吸引力よりも大きい。
また、前記抵抗コイルは、前記駆動コイルおよび前記保持コイルより外側に配設されている。
また、前記抵抗コイル、前記駆動コイル、および前記保持コイルは、それぞれ同方向に巻かれている。
また、前記抵抗コイルは、途中で逆方向に巻かれている。
また、前記抵抗コイルの抵抗値の大きさは、前記モータの内部抵抗の2倍程度である。
また、本実施の形態1は、従来のエンジン始動装置の電磁スイッチから構造を大きく変更することなく、タイマ制御回路や規制部材を必要とせずにラッシュ電流抑制用の抵抗体を短絡するまでの時間を確保でき、従来のエンジン始動装置から電磁スイッチを変更するだけでエンジン始動装置のモータへのラッシュ電流を抑制し、瞬断を防止できるエンジン始動装置および電磁スイッチを提供するものである。
なお、本発明は、その発明の範囲内において、実施の形態を、変形、一部省略することができる。
なお、各図中、同一符合は同一または相当部分を示す。
なお、各図中、同一符合は同一または相当部分を示す。
1 エンジン始動装置、 2 電磁スイッチ、
3 リングギヤ、 4 モータ、
5 ブラケット、 6 移動体、
7 押し出し機構、 8 可動鉄心、
9 ケース、 10 巻枠、
10a,10b,10c 巻枠の口出し、 11 プランジャバネ、
12 ロッド、 13 ソレノイドコイル、
13a 駆動コイル、 13aa 駆動コイル上流側コイル端、
13ab 駆動コイル下流側コイル端、 13b 保持コイル、
13ba 保持コイル上流側コイル端、 13bb 保持コイル下流側コイル端、
13c 抵抗コイル、 13ca 抵抗コイル上流側コイル端、
13cb 抵抗コイル下流側コイル端、 14 固定鉄心、
15 第1のポイントバネ、 16 第1のスイッチング部、
16a 第1の可動接点、 16b 第1の固定接点対、
16bc 第1の固定接点対16bの接触部、 17 第2のポイントバネ、
18 第2のスイッチング部、 18a 第2の可動接点、
18b 第2の固定接点対、 18bc 第2の固定接点対18bの接触部、
19 キャップ、 19a,19b,19c キャップ口出し、
20 リターンバネ、 23 レバーバネ、
24 始動スイッチ、 25 バッテリー、
26 出力軸、 27 通電端子、
28 フック 29 端子台、
61 ピニオンギヤ
3 リングギヤ、 4 モータ、
5 ブラケット、 6 移動体、
7 押し出し機構、 8 可動鉄心、
9 ケース、 10 巻枠、
10a,10b,10c 巻枠の口出し、 11 プランジャバネ、
12 ロッド、 13 ソレノイドコイル、
13a 駆動コイル、 13aa 駆動コイル上流側コイル端、
13ab 駆動コイル下流側コイル端、 13b 保持コイル、
13ba 保持コイル上流側コイル端、 13bb 保持コイル下流側コイル端、
13c 抵抗コイル、 13ca 抵抗コイル上流側コイル端、
13cb 抵抗コイル下流側コイル端、 14 固定鉄心、
15 第1のポイントバネ、 16 第1のスイッチング部、
16a 第1の可動接点、 16b 第1の固定接点対、
16bc 第1の固定接点対16bの接触部、 17 第2のポイントバネ、
18 第2のスイッチング部、 18a 第2の可動接点、
18b 第2の固定接点対、 18bc 第2の固定接点対18bの接触部、
19 キャップ、 19a,19b,19c キャップ口出し、
20 リターンバネ、 23 レバーバネ、
24 始動スイッチ、 25 バッテリー、
26 出力軸、 27 通電端子、
28 フック 29 端子台、
61 ピニオンギヤ
Claims (20)
- エンジン始動用のモータおよび電源から前記モータへの通電回路を開閉する電磁スイッチを備えたエンジン始動装置において、
前記電磁スイッチは、通電することで磁界を発生するソレノイドコイルと、前記ソレノイドコイルへの通電によって発生する磁界により磁化される固定鉄心と、前記ソレノイドコイルへの通電によって磁化され発生した吸引力で軸方向へ移動可能に配置された可動鉄心と、第1の可動接点と第1の固定接点対とで構成される第1のスイッチング部と、第2の可動接点と第2の固定接点対とで構成される第2のスイッチング部と、前記可動鉄心に連動して軸方向に移動可能であり前記第1の可動接点および前記第2の可動接点が取り付けられたロッドと、前記ソレノイドコイルへの通電によって発生する前記可動鉄心の吸引力に対抗する方向に付勢するバネとを備え、
前記第2のスイッチング部の開路の状態で前記第1のスイッチング部が閉路して前記ソレノイドコイルが通電されると前記可動鉄心の吸引力とこの吸引力に対抗する前記バネのバネ荷重の関係が「吸引力<バネ荷重」となり、前記第2のスイッチング部の開路の状態で前記第1のスイッチング部が閉路すると所定時間の間、前記ソレノイドコイルが前記モータへのラッシュ電流を抑制する
ことを特徴とするエンジン始動装置。 - 請求項1に記載のエンジン始動装置において、
前記電源から前記モータへ流れる電流を抑制するための抵抗を備え、
前記第1のスイッチング部の閉路により前記抵抗を介して前記電源から前記モータに通電され、
前記第2のスイッチング部の閉路により前記抵抗が短絡され、前記抵抗を介さずに前記電源から前記モータに通電される
ことを特徴とするエンジン始動装置。 - 請求項1または請求項2に記載のエンジン始動装置において、
前記ソレノイドコイルは、通電されると前記可動鉄心を前記固定鉄心に磁化により吸着させる駆動コイルと、通電されると前記可動鉄心を前記固定鉄心に吸着された状態に磁化により保持する保持コイルとを備え、
前記第1のスイッチング部および前記第2のスイッチング部の少なくとも一方が閉路すると前記駆動コイルはバイパスされる
ことを特徴とするエンジン始動装置。 - 請求項2に記載のエンジン始動装置において、
前記抵抗が抵抗コイルであって、
前記ソレノイドコイルは、通電されると前記可動鉄心を前記固定鉄心に磁化により吸着させる駆動コイルと、通電されると前記可動鉄心を前記固定鉄心に吸着された状態に磁化により保持する保持コイルと、前記抵抗コイルとを同心状に備えている
ことを特徴とするエンジン始動装置。 - 請求項4に記載のエンジン始動装置において、
エンジン始動スイッチが閉路すると前記駆動コイルおよび前記保持コイルが前記電源から通電され、
前記第1のスイッチング部が閉路すると前記抵抗コイルが前記電源から通電されて、前記駆動コイルが前記第1のスイッチング部と前記抵抗コイルとによってバイパスされる
ことを特徴とするエンジン始動装置。 - 請求項4または請求項5に記載のエンジン始動装置において、
前記駆動コイルに電流が流れることによって発生する前記可動鉄心の吸引力は、前記抵抗コイルに電流が流れることによって発生する前記可動鉄心の吸引力よりも大きい
ことを特徴とするエンジン始動装置。 - 請求項4から請求項6のいずれか一つに記載のエンジン始動装置において、
前記抵抗コイルは、前記駆動コイルおよび前記保持コイルより外側に配設されている
ことを特徴とするエンジン始動装置。 - 請求項4から請求項7のいずれか一つに記載のエンジン始動装置において、
前記抵抗コイル、前記駆動コイル、および前記保持コイルは、それぞれ同方向に巻かれている
ことを特徴とするエンジン始動装置。 - 請求項8に記載のエンジン始動装置において、
前記抵抗コイルは、途中で逆方向に巻かれている
ことを特徴とするエンジン始動装置。 - 請求項4から請求項8のいずれか一つに記載のエンジン始動装置において、
前記抵抗コイルの抵抗値の大きさは、前記モータの内部抵抗の2倍である
ことを特徴とするエンジン始動装置。 - 電源からエンジン始動装置のモータへの通電回路を開閉する電磁スイッチにおいて、
通電することで磁界を発生するソレノイドコイルと、前記ソレノイドコイルへの通電によって発生する磁界により磁化される固定鉄心と、前記ソレノイドコイルへの通電によって磁化され発生した吸引力で軸方向へ移動可能に配置された可動鉄心と、第1の可動接点と第1の固定接点対とで構成される第1のスイッチング部と、第2の可動接点と第2の固定接点対とで構成される第2のスイッチング部と、前記可動鉄心に連動して軸方向に移動可能であり前記第1の可動接点および前記第2の可動接点が取り付けられたロッドと、前記ソレノイドコイルへの通電によって発生する前記可動鉄心の吸引力に対抗する方向に付勢するバネとを備え、
前記第2のスイッチング部の開路の状態で前記第1のスイッチング部が閉路して前記ソレノイドコイルが通電されると前記可動鉄心の吸引力とこの吸引力に対抗する前記バネのバネ荷重の関係が「吸引力<バネ荷重」となり、前記第2のスイッチング部の開路の状態で前記第1のスイッチング部が閉路すると所定時間の間、前記ソレノイドコイルが前記モータへのラッシュ電流を抑制する
ことを特徴とする電磁スイッチ。 - 請求項11に記載の電磁スイッチにおいて、
前記電源から前記モータへ流れる電流を抑制するための抵抗を備え、
前記第1のスイッチング部の閉路により前記抵抗を介して前記電源から前記モータに通電され、
前記第2のスイッチング部の閉路により前記抵抗が短絡され、前記抵抗を介さずに前記電源から前記モータに通電される
ことを特徴とする電磁スイッチ。 - 請求項11または請求項12に記載の電磁スイッチにおいて、
前記ソレノイドコイルは、通電されると前記可動鉄心を前記固定鉄心に磁化により吸着させる駆動コイルと、通電されると前記可動鉄心を前記固定鉄心に吸着された状態に磁化により保持する保持コイルとを備え、
前記第1のスイッチング部および前記第2のスイッチング部の少なくとも一方が閉路すると前記駆動コイルはバイパスされる
ことを特徴とする電磁スイッチ。 - 請求項12に記載の電磁スイッチにおいて、
前記抵抗が抵抗コイルであって、
前記ソレノイドコイルは、通電されると前記可動鉄心を前記固定鉄心に磁化により吸着させる駆動コイルと、通電されると前記可動鉄心を前記固定鉄心に吸着された状態に磁化により保持する保持コイルと、前記抵抗コイルとを同心状に備えている
ことを特徴とする電磁スイッチ。 - 請求項14に記載の電磁スイッチにおいて、
エンジン始動スイッチが閉路すると前記駆動コイルおよび前記保持コイルが前記電源から通電され、
前記第1のスイッチング部が閉路すると前記抵抗コイルが前記電源から通電されて、前記駆動コイルが前記第1のスイッチング部と前記抵抗コイルとによってバイパスされる
ことを特徴とする電磁スイッチ。 - 請求項14または請求項15に記載の電磁スイッチにおいて、
前記駆動コイルに電流が流れることによって発生する前記可動鉄心の吸引力は、前記抵抗コイルに電流が流れることによって発生する前記可動鉄心の吸引力よりも大きい
ことを特徴とする電磁スイッチ。 - 請求項14から請求項16のいずれか一つに記載の電磁スイッチにおいて、
前記抵抗コイルは、前記駆動コイルおよび前記保持コイルより外側に配設されている
ことを特徴とする電磁スイッチ。 - 請求項14から請求項17のいずれか一つに記載の電磁スイッチにおいて、
前記抵抗コイル、前記駆動コイル、および前記保持コイルは、それぞれ同方向に巻かれている
ことを特徴とする電磁スイッチ。 - 請求項18に記載の電磁スイッチにおいて、
前記抵抗コイルは、途中で逆方向に巻かれている
ことを特徴とする電磁スイッチ。 - 請求項14から請求項18のいずれか一つに記載の電磁スイッチにおいて、
前記抵抗コイルの抵抗値の大きさは、前記モータの内部抵抗の2倍である
ことを特徴とする電磁スイッチ。
Priority Applications (1)
| Application Number | Priority Date | Filing Date | Title |
|---|---|---|---|
| JP2016084921A JP6072964B1 (ja) | 2016-04-21 | 2016-04-21 | エンジン始動装置および電磁スイッチ |
Applications Claiming Priority (1)
| Application Number | Priority Date | Filing Date | Title |
|---|---|---|---|
| JP2016084921A JP6072964B1 (ja) | 2016-04-21 | 2016-04-21 | エンジン始動装置および電磁スイッチ |
Publications (2)
| Publication Number | Publication Date |
|---|---|
| JP6072964B1 JP6072964B1 (ja) | 2017-02-01 |
| JP2017194015A true JP2017194015A (ja) | 2017-10-26 |
Family
ID=57937499
Family Applications (1)
| Application Number | Title | Priority Date | Filing Date |
|---|---|---|---|
| JP2016084921A Expired - Fee Related JP6072964B1 (ja) | 2016-04-21 | 2016-04-21 | エンジン始動装置および電磁スイッチ |
Country Status (1)
| Country | Link |
|---|---|
| JP (1) | JP6072964B1 (ja) |
Cited By (1)
| Publication number | Priority date | Publication date | Assignee | Title |
|---|---|---|---|---|
| JP2019065792A (ja) * | 2017-10-03 | 2019-04-25 | 三菱電機株式会社 | スタータ用電磁スイッチ装置およびスタータ |
Families Citing this family (1)
| Publication number | Priority date | Publication date | Assignee | Title |
|---|---|---|---|---|
| US11004642B2 (en) * | 2017-06-26 | 2021-05-11 | Volvo Truck Corporation | Switching device of a starting device for an engine |
Family Cites Families (3)
| Publication number | Priority date | Publication date | Assignee | Title |
|---|---|---|---|---|
| JP3169515B2 (ja) * | 1993-11-05 | 2001-05-28 | 株式会社デンソー | スイッチ |
| JP5136214B2 (ja) * | 2008-05-29 | 2013-02-06 | 株式会社デンソー | スタータ |
| JP5949651B2 (ja) * | 2013-04-23 | 2016-07-13 | 株式会社デンソー | スタータ |
-
2016
- 2016-04-21 JP JP2016084921A patent/JP6072964B1/ja not_active Expired - Fee Related
Cited By (1)
| Publication number | Priority date | Publication date | Assignee | Title |
|---|---|---|---|---|
| JP2019065792A (ja) * | 2017-10-03 | 2019-04-25 | 三菱電機株式会社 | スタータ用電磁スイッチ装置およびスタータ |
Also Published As
| Publication number | Publication date |
|---|---|
| JP6072964B1 (ja) | 2017-02-01 |
Similar Documents
| Publication | Publication Date | Title |
|---|---|---|
| JP4757325B2 (ja) | 補助回転式スタータの電磁スイッチ | |
| JP5569349B2 (ja) | 電磁継電器 | |
| US9353720B2 (en) | Starter adapted to idle stop system of vehicle | |
| US9366214B2 (en) | Starter provided with electromagnetic solenoid integrating rush current suppression function | |
| US9441601B2 (en) | Dual synchronized vehicle starter motors | |
| JP2011094510A (ja) | エンジン始動装置、抵抗短絡装置 | |
| CN103890378B (zh) | 发动机起动装置 | |
| JP5962575B2 (ja) | スタータ | |
| JP5059907B2 (ja) | エンジン始動装置 | |
| CN105655200B (zh) | 用于起动器的电磁开关 | |
| US8872369B2 (en) | Starter machine system and method | |
| JP6072964B1 (ja) | エンジン始動装置および電磁スイッチ | |
| JP5910452B2 (ja) | エンジン始動装置 | |
| US9771915B2 (en) | Engine starting apparatus with inrush current reducer | |
| JP2009030449A (ja) | スタータ | |
| CN105020081B (zh) | 发动机起动设备 | |
| CN105275706A (zh) | 发动机起动装置 | |
| CN104126069A (zh) | 发动机起动电动机装置 | |
| WO2018066090A1 (ja) | スタータ用電磁スイッチ装置 | |
| JP6382161B2 (ja) | エンジン始動装置 | |
| JP2012237225A (ja) | エンジン始動装置 | |
| JP2015197063A (ja) | エンジン始動装置 | |
| JP2015040560A (ja) | エンジン始動装置 |
Legal Events
| Date | Code | Title | Description |
|---|---|---|---|
| TRDD | Decision of grant or rejection written | ||
| A01 | Written decision to grant a patent or to grant a registration (utility model) |
Free format text: JAPANESE INTERMEDIATE CODE: A01 Effective date: 20161206 |
|
| A61 | First payment of annual fees (during grant procedure) |
Free format text: JAPANESE INTERMEDIATE CODE: A61 Effective date: 20161228 |
|
| R151 | Written notification of patent or utility model registration |
Ref document number: 6072964 Country of ref document: JP Free format text: JAPANESE INTERMEDIATE CODE: R151 |
|
| R250 | Receipt of annual fees |
Free format text: JAPANESE INTERMEDIATE CODE: R250 |
|
| R250 | Receipt of annual fees |
Free format text: JAPANESE INTERMEDIATE CODE: R250 |
|
| LAPS | Cancellation because of no payment of annual fees |