JP2017166370A - 蒸気排出用煙突 - Google Patents

蒸気排出用煙突 Download PDF

Info

Publication number
JP2017166370A
JP2017166370A JP2016051014A JP2016051014A JP2017166370A JP 2017166370 A JP2017166370 A JP 2017166370A JP 2016051014 A JP2016051014 A JP 2016051014A JP 2016051014 A JP2016051014 A JP 2016051014A JP 2017166370 A JP2017166370 A JP 2017166370A
Authority
JP
Japan
Prior art keywords
pipe
wall
water droplets
steam
steam discharge
Prior art date
Legal status (The legal status is an assumption and is not a legal conclusion. Google has not performed a legal analysis and makes no representation as to the accuracy of the status listed.)
Granted
Application number
JP2016051014A
Other languages
English (en)
Other versions
JP6591320B2 (ja
Inventor
孝二 田中
Koji Tanaka
孝二 田中
貴徳 今城
Takanori Imashiro
貴徳 今城
Current Assignee (The listed assignees may be inaccurate. Google has not performed a legal analysis and makes no representation or warranty as to the accuracy of the list.)
Kobe Steel Ltd
Original Assignee
Kobe Steel Ltd
Priority date (The priority date is an assumption and is not a legal conclusion. Google has not performed a legal analysis and makes no representation as to the accuracy of the date listed.)
Filing date
Publication date
Application filed by Kobe Steel Ltd filed Critical Kobe Steel Ltd
Priority to JP2016051014A priority Critical patent/JP6591320B2/ja
Publication of JP2017166370A publication Critical patent/JP2017166370A/ja
Application granted granted Critical
Publication of JP6591320B2 publication Critical patent/JP6591320B2/ja
Expired - Fee Related legal-status Critical Current
Anticipated expiration legal-status Critical

Links

Images

Landscapes

  • Exhaust Silencers (AREA)

Abstract

【課題】水滴の飛散を抑制すると共に、水滴を効率的に回収できる蒸気排出用煙突を提供する。【解決手段】蒸気排出用煙突1は、側壁11と、接続穴12aを有する底壁12と、上方に開口した開口部13aを画定する返り部13とを有する拡大部10と、接続穴12aを介して拡大部10と連通し、上下方向に延びる中心軸Lを拡大部10と共有する接続管20とを備える。返り部13は、拡大部10の上部において側壁11の内面11aと連続し、中心軸Lに向かって下方向に傾斜した第1の面14aを有する第1の壁14と、第1の面14aと連続し、側壁11の内面11aに向かって下方向に傾斜した第2の面15aを有する第2の壁15とを有する。第2の壁15の下端部15bと側壁11の内面11aとの間には隙間16が設けられている。開口部13aの内径D1は、接続管20の内径D2以下である。【選択図】図1

Description

本発明は、蒸気排出用煙突に関する。
排気装置では、排気ガス(蒸気)を排出する際に、排気口の内面に水滴が付着する。付着した水滴は、排気に押し出され排気口から排気装置の外部へ飛散する。そのため、水滴の外部への飛散を防止するために、排気口の形状が工夫された排気装置が特許文献1から特許文献3で開示されている。
特開2011−231677号公報 特開2014−31755号公報 特開2008−261242号公報
しかし、特許文献1から特許文献3に開示されている排気装置の排気口の形状では、未だ水滴が排気装置の外部へ飛散する可能性があるため、改善の余地がある。また、これらの排気装置では、排気口の内面に付着した水滴を自重により落下させて回収しており、水滴を効率的に回収できない。
本発明は、水滴の飛散を抑制すると共に、水滴を効率的に回収できる蒸気排出用煙突を提供することを目的とする。
本発明の蒸気排出用煙突は、側壁と、接続穴を有する底壁と、上方に開口した開口部を画定する返り部とを有する拡大部と、前記接続穴を介して前記拡大部と連通し、上下方向に延びる中心軸を前記拡大部と共有する接続管とを備え、前記返り部は、前記拡大部の上部において前記側壁の内面と連続し、前記中心軸に向かって下方向に傾斜した第1の面を有する第1の壁と、前記第1の面と連続し、前記側壁の前記内面に向かって下方向に傾斜した第2の面を有する第2の壁とを有し、前記第2の壁の下端部と前記側壁の前記内面との間には隙間が設けられており、前記開口部の内径は、前記接続管の内径以下である。
この構成によれば、水滴の飛散を抑制すると共に、水滴を効率的に回収できる蒸気排出用煙突を提供できる。具体的には、本発明の蒸気排出用煙突は、以下の5つの特徴を有する。なお、中心軸を共有するとは、拡大部の中心軸と接続管の中心軸が完全に一致する場合だけでなく、その位置や角度が概ね一致する場合も含む。
第1に、拡大部を設けているので、接続管から拡大部内に流入した蒸気の一部は、拡散しつつ上昇し、即ち返り部と側壁によって画定された捕捉部に向かって流れる。そのため、第1の面に水滴が付着する。第1の面に付着した水滴は、傾斜に従って、連続する第2の面を伝って下方へ流れ、拡大部の底壁の内面に落下する。このように水滴の流動を規定しているため、水滴が上昇する蒸気に押されて蒸気排出用煙突から外部へ飛散することを抑制できる。
第2に、第2の壁の下端部と側壁の内面との間には隙間が設けられているので、隙間の上部において、返り部と側壁によって画定された捕捉部に蒸気が進入し、水滴を捕捉部内に捕捉できる。ここで捕捉された水滴は上述のように流動が規定されているので、水滴の外部への飛散を抑制できる。
第3に、開口部の内径は接続管の内径以下であるので、接続管の内面に付着した水滴が上述の蒸気の流れにより拡大部側壁に向かって飛散する際、上記捕捉部への捕捉が容易となる。また、同様に第2の壁においても拡大部側壁に向かって飛散する水滴の捕捉が容易となる。
第4に、第2の壁を拡大部の側壁の内面に向かって下方向に傾斜させているので、即ち中心軸から離れる方向に第2の壁を延出させているので、第2の壁に接触する蒸気量を減少させ、第2の壁において凝縮する水滴量を減少させている。これは、拡大部内では基本的に中心軸から離れるほど蒸気の流量が減少するように蒸気の流れが生じているためである。
第5に、返り部により渦流を生成し、拡大部の側壁の内面近傍で蒸気の下降流れを発生させているので、拡大部の側壁の内面における水滴の下方への流れを自重による落下に加えてさらに促進できる。そのため、拡大部の側壁の内面に付着した水滴を効率的に回収できる。
前記開口部の前記内径は、前記接続管の前記内径と同径であることが好ましい。
拡大部の開口部の内径は接続管の内径と同径であるので、接続管から拡大部内に流入した蒸気が開口部において圧力を損失することを抑制し、蒸気の排出を促進できる。
前記底壁の内面は、前記中心軸に向かって下方へ傾斜していることが好ましい。
この構成により、拡大部の底壁の内面に到達した水滴が容易に下方に流動できる。そのため、拡大部の底壁の内面に付着した水滴を効率的に回収できる。
前記接続管は、内管と外管とを有する二重管であることが好ましい。
下方に流れ落ちる水滴に対し、二重管構造を設けているので、外管を介して水滴を排出でき、蒸気が流れる内管内に水滴が流入することを抑制できる。そのため、内管内を流れ上昇する蒸気によって水滴が外部に押し出されて飛散することを抑制できる。
前記第2の壁によって画定される前記返り部の下端の外径は、前記二重管の外管の内径よりも大きいことが好ましい。
この構成により、水滴が第2の面の下端部から鉛直下向きに落下すると、拡大部の底壁の内面に到達し、即ち二重管の内管内に水滴が流入しないので、内管内を流れ上昇する蒸気によって水滴が外部に押し出されて飛散することを抑制できる。
前記二重管の内管は、前記接続穴よりも上方へ延出していることが好ましい。
二重管の内管が接続穴よりも上方へ延出しているので、拡大部の底壁の内面を伝って流れ落ちてきた水滴が二重管の内管に流入することを抑制できる。そのため、内管内を流れ上昇する蒸気によって水滴が外部に押し出されて飛散することを抑制できる。
前記二重管の前記内管は、上方へ向かって漸次的に拡径されていることが好ましい。
この構成により、二重管の内管の内面に水滴が付着した場合でも、内管内を流れ上昇する蒸気によって水滴が直接開口部から外部に飛散せず、水滴が捕捉部に捕捉されるような蒸気の流れを形成できる。
前記接続管は、上方へ向かって漸次的に拡径されていることが好ましい。
この構成により、接続管の内面に水滴が付着した場合でも、接続管内を流れ上昇する蒸気によって水滴が直接開口部から外部に飛散せず、水滴が捕捉部に捕捉されるような蒸気の流れを形成できる。
前記蒸気排出用煙突は、水戻し配管をさらに備えることが好ましい。
温度の高い水滴を蒸発器に戻すことができるので、再度蒸気に変換するために必要なエネルギーを小さくでき、その後蒸発した水滴を外部に蒸気として放出できる。
本発明によれば、蒸気排出用煙突において、返り部の形状と寸法を好適化しているので、水滴の外部への飛散を抑制すると共に、水滴を効率的に回収できる。
本発明の第1実施形態に係る蒸気排出用煙突の縦断面図。 図1の蒸気排出用煙突の平面図。 本発明の第2実施形態に係る蒸気排出用煙突の縦断面図。 本発明の第3実施形態に係る蒸気排出用煙突の縦断面図。 本発明の第4実施形態に係る蒸気排出用煙突の縦断面図。 本発明の第5実施形態に係る蒸気排出用煙突の縦断面図。 本発明の第6実施形態に係る蒸気排出用煙突の縦断面図。 図7の蒸気排出用煙突の変形例の縦断面図。
以下、添付図面を参照して本発明の実施形態を説明する。
(第1実施形態)
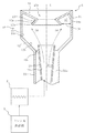
図1に示すように、蒸気排出用煙突1は、蒸発器2で発生した蒸気を排出するために使用される。蒸発器2は、冷蔵機や冷凍機のようなドレン水供給源3から供給されたドレン水を蒸発させる。図1において、蒸発器2とドレン水供給源3は、本発明とは直接関係がないため、模式的に図示している。
本実施形態の蒸気排出用煙突1は、拡大部10と接続管20を備える。
拡大部10は、側壁11と、接続穴12aを有する底壁12と、上方に開口した開口部13aを画定する返り部13とを有する。側壁11は、中心軸Lを中心にして平面視円形に設けられている(図2参照)。側壁11の下部には平坦な底壁12が接続され、底壁12の中央には中心軸Lを中心に円形の接続穴12aが設けられている。側壁11の上部には返り部13が接続されている。
返り部13は、拡大部10の上部において側壁11の内面11aと連続し、中心軸Lに向かって下方向に傾斜した第1の面14aを有する第1の壁14と、第1の面14aと連続し、側壁11の内面11aに向かって下方向に傾斜した第2の面15aを有する第2の壁15とを有する。図1に示すように、返り部13は、断面において概略L字型に形成されている。返り部13は、後述のように水滴を捕捉するように側壁11の上部と合わせて捕捉部17を形成している。捕捉部17の下方では、第2の壁15の下端部15bと側壁11の内面11aとの間に隙間16が設けられている。従って、蒸気は、隙間16を介して捕捉部17に進入できる。
接続管20は、上下方向に延びる管であり、中心軸Lを中心にして平面視円形に形成されている。即ち、接続管20は、中心軸Lを拡大部10と共有している。接続管20は、接続穴12aを介して拡大部10と連通している。接続管20は、拡大部10の側壁11の内径と比べて小径に形成されている。換言すると、拡大部10は、接続管20に比べて大径に形成されて内部空間が拡大されている。接続管20内では、蒸発器2で蒸発した蒸気が上方向に流れ、拡大部10に蒸気を誘導している。
返り部13と接続管20の寸法の関係は拡大部10の返り部13の開口部13aの内径D1が接続管20の内径D2以下(D1≦D2)であるように、返り部13と接続管20は形成されている。好ましくは、開口部13aの内径D1は、接続管20の内径D2と同径(D1=D2)である。
なお、本実施形態の拡大部10と接続管20は、平面視において共に円形であるが、これらの形状は円形に限定されない。例えば、蒸気排出用煙突1の断面形状を実質的に円形とみなすことができる多角形や楕円等であってもよい。
このように蒸気排出用煙突1を構成しているため、水滴の飛散を抑制すると共に、水滴を効率的に回収できる。具体的には、本発明の蒸気排出用煙突1は、以下の5つの特徴を有する。
第1に、拡大部10を設けているので、接続管20から拡大部10内に流入した蒸気の一部は、拡散しつつ上昇し、即ち捕捉部17に向かって流れる(図1の破線矢印A1参照)。そのため、第1の面14aに水滴が付着する。第1の面14aに付着した水滴は、傾斜に従って、連続する第2の面15aを伝って下方へ流れ、拡大部10の底壁12の内面12bに落下する。このように水滴の流動を規定しているため、水滴が上昇する蒸気に押されて蒸気排出用煙突1から外部へ飛散することを抑制できる。
第2に、第2の壁15の下端部15bと側壁11の内面11aとの間には隙間16が設けられているので、隙間16の上部において、捕捉部17に蒸気が進入し、水滴を捕捉部17内に捕捉できる。ここで捕捉された水滴は上述のように流動が規定されているので、水滴の外部への飛散を抑制できる。
第3に、開口部13aの内径D1は接続管20の内径D2以下であるので、捕捉部17が中心軸Lに向かって拡張され、水滴を捕捉部17で捕捉することが容易となる。
第4に、第2の壁15を拡大部10の側壁11の内面11aに向かって下方向に傾斜させているので、即ち中心軸Lから離れる方向に第2の壁15を延出させているので、第2の壁15に接触する蒸気量を減少させ、第2の壁15に付着する水滴量を減少させている。これは、拡大部10内では基本的に中心軸Lから離れるほど蒸気の流量が減少するように蒸気の流れが生じているためである。
第5に、返り部13により渦流を生成し、拡大部10の側壁11の内面11a近傍で蒸気の下降流れを発生させているので(図1の破線矢印A2参照)、拡大部10の側壁11の内面11aにおける水滴の下方への流れを自重による落下に加えてさらに促進できる。そのため、拡大部10の側壁11の内面11aに付着した水滴を効率的に回収できる。
また、拡大部10の開口部13aの内径D1は接続管20の内径D2と同径である場合、接続管20から拡大部10内に流入した蒸気が開口部13aにおいて圧力を損失することを抑制し、蒸気の排出を促進できる。
(第2実施形態)
図3に示す第2実施形態の蒸気排出用煙突1では、拡大部10の底壁12が傾斜している。本実施形態は、この点を除いて図1の第1実施形態と実質的に同様である。従って、図1に示した構成と同様の部分については説明を省略する。
本実施形態では、拡大部10の底壁12の内面12bは、中心軸Lに向かって下方へ傾斜している。そのため、拡大部10の底壁12の内面12bに到達した水滴が底壁12の内面12b上を容易に下方へ流れ、さらに接続管20の内面20aを伝って下方へ流れるため、水滴を効率的に回収できる。接続管20の内面を伝って下方へ流れた水滴の回収方法は詳述していないが、一時的にタンク等(図示せず)に溜めてもよいし、配管等(図示せず)を通じて外部の回収先に直接排出してもよい。
(第3実施形態)
図4に示す第3実施形態の蒸気排出用煙突1では、接続管20は二重管構造を有している。本実施形態は、この点を除いて図3の第2実施形態と実質的に同様である。従って、図3に示した構成と同様の部分については説明を省略する。
本実施形態では、接続管20は、内管21と、内管21から径方向外側に隙間を持って配置された外管22とからなる二重管構造を有している。内管21内では蒸発器2で発生した蒸気が上方向に流れる蒸気流路21bが画定され、外管22内かつ内管21外では拡大部10で回収された水滴が下方向に流れる水滴戻り流路22aが画定されている。
また、返り部13と接続管20の寸法の関係は第2の壁15によって画定される返り部13の下端の外径D3が二重管の外管22の内径D4よりも大きく(D3>D4)なるように、返り部13と接続管20は形成されている。
また、二重管の内管21は、接続穴12aよりも上方へ延出している。上方への延出量H1は、拡大部10の底壁12が形成されている高さH2以下(H1≦H2)であることが好ましい。さらに言えば、上方への延出量H1は、拡大部10の底壁12が形成されている高さH2の半分以下(H1≦H2/2)であることがより好ましい。
このように、下方に流れ落ちる水滴に対して、二重管構造を設けているので、外管22を介して水滴を排出でき、蒸気が流れる内管21内に水滴が流入することを抑制できる。そのため、内管21内を流れ上昇する蒸気によって水滴が外部に押し出されて飛散することを抑制できる。
また、水滴が第2の面15aの下端部15bから鉛直下向きに落下すると、拡大部10の底壁12の内面12bに到達し、即ち二重管の内管21内に水滴が流入しないので、内管21内を流れ上昇する蒸気によって水滴が外部に押し出されて飛散することを抑制できる。
また、二重管の内管21が接続穴12aよりも上方へ延出しているので、拡大部10の底壁12の内面12bを伝って流れ落ちてきた水滴が二重管の内管21に流入することを抑制できる。そのため、内管21内を流れ上昇する蒸気によって水滴が外部に押し出されて飛散することを抑制できる。
(第4実施形態)
図5に示す第4実施形態の蒸気排出用煙突1では、接続管20が上方向に漸次的に拡径されている。本実施形態では、特に、接続管20の上端部が上方向に漸次的に拡径されている。本実施形態は、この点を除いて図2の第2実施形態と実質的に同様である。従って、図2に示した構成と同様の部分については説明を省略する。
本実施形態では、接続管20が上方向に漸次的に拡径されている。そのため、接続管20の内面20aに水滴が付着した場合でも、接続管20内を流れ上昇する蒸気によって水滴が直接開口部13aから外部に飛散せず、水滴が捕捉部17に捕捉されるような蒸気の流れを形成できる(図5の破線矢印A3参照)。
(第5実施形態)
図6に示す第5実施形態の蒸気排出用煙突1では、二重管の内管21が上方向に漸次的に拡径されている。本実施形態では、特に、内管21の上端部が上方向に漸次的に拡径されている。本実施形態は、この点を除いて図4の第3実施形態と実質的に同様である。従って、図4に示した構成と同様の部分については説明を省略する。
本実施形態では、二重管の内管21は、上方へ向かって漸次的に拡径されている。即ち、内管21内の蒸気流路21bの流路面積が上方へ向かって徐々に拡張されている。そのため、二重管の内管21の内面21aに水滴が付着した場合でも、内管21内を流れ上昇する蒸気によって水滴が直接開口部13aから外部に飛散せず、水滴が捕捉部17に捕捉されるような蒸気の流れを形成できる(図6の破線矢印A4参照)。
(第6実施形態)
図7に示す第6実施形態の蒸気排出用煙突1は、水戻し配管23を備えている。本実施形態は、この点を除いて図6の第5実施形態と実質的に同様である。従って、図5に示した構成と同様の部分については説明を省略する。
本実施形態では、水戻し配管23の一端は、二重管の外管22内の水滴戻り流路22aに流体的に接続され、他端は蒸発器2に流体的に接続されている。一端から延びる水戻し配管23は、下方へ傾斜しており、拡大部10から外管22内に回収されたドレン水を蒸発器2に供給するためのものである。
このように、水戻し配管23を介して温度の高い水滴を蒸発器2に戻すことができるので(図7の実線矢印A5参照)、再度蒸気に変換するために必要なエネルギーを小さくでき、その後蒸発した水滴を外部に蒸気として放出できる。
図8に示す本実施形態の変形例のように、外管22は、その下端を閉じる底部22bを備えていてもよい。外管22が底部22bを備えていることで、外管22内で水滴を溜めることができ、溜められた水滴を水戻し配管23を介して蒸発器2に戻すことができる。
以上より、本発明の具体的な実施形態について説明したが、本発明は上記形態に限定されるものではなく、この発明の範囲内で種々変更して実施することができる。例えば、個々の実施形態の内容を適宜組み合わせたものを、この発明の一実施形態としてもよい。
1 蒸気排出用煙突
2 蒸発器
3 ドレン水供給源
10 拡大部
11 側壁
11a 内面
12 底壁
12a 接続穴
12b 内面
13 返り部
13a 開口部
14 第1の壁
14a 第1の面
15 第2の壁
15a 第2の面
15b 下端部
16 隙間
17 捕捉部
20 接続管
20a 内面
21 内管
21a 内面
21b 蒸気流路
22 外管
22a 水滴戻り流路
22b 底部
23 水戻し配管

Claims (9)

  1. 側壁と、接続穴を有する底壁と、上方に開口した開口部を画定する返り部とを有する拡大部と、
    前記接続穴を介して前記拡大部と連通し、上下方向に延びる中心軸を前記拡大部と共有する接続管と
    を備え、
    前記返り部は、前記拡大部の上部において前記側壁の内面と連続し、前記中心軸に向かって下方向に傾斜した第1の面を有する第1の壁と、前記第1の面と連続し、前記側壁の前記内面に向かって下方向に傾斜した第2の面を有する第2の壁とを有し、
    前記第2の壁の下端部と前記側壁の前記内面との間には隙間が設けられており、
    前記開口部の内径は、前記接続管の内径以下である、蒸気排出用煙突。
  2. 前記開口部の前記内径は、前記接続管の前記内径と同径である、請求項1に記載の蒸気排出用煙突。
  3. 前記底壁の内面は、前記中心軸に向かって下方へ傾斜している、請求項1または請求項2に記載の蒸気排出用煙突。
  4. 前記接続管は、内管と外管とを有する二重管である、請求項1から請求項3のいずれか1項に記載の蒸気排出用煙突。
  5. 前記第2の壁によって画定される前記返り部の下端の外径は、前記二重管の前記外管の内径よりも大きい、請求項4に記載の蒸気排出用煙突。
  6. 前記二重管の前記内管は、前記接続穴よりも上方へ延出している、請求項4または請求項5に記載の蒸気排出用煙突。
  7. 前記二重管の前記内管は、上方へ向かって漸次的に拡径されている、請求項4から請求項6のいずれか1項に記載の蒸気排出用煙突。
  8. 前記接続管は、上方へ向かって漸次的に拡径されている、請求項1から請求項3のいずれか1項に記載の蒸気排出用煙突。
  9. 水戻し配管をさらに備える、請求項1から請求項8のいずれか1項に記載の蒸気排出用煙突。
JP2016051014A 2016-03-15 2016-03-15 蒸気排出用煙突 Expired - Fee Related JP6591320B2 (ja)

Priority Applications (1)

Application Number Priority Date Filing Date Title
JP2016051014A JP6591320B2 (ja) 2016-03-15 2016-03-15 蒸気排出用煙突

Applications Claiming Priority (1)

Application Number Priority Date Filing Date Title
JP2016051014A JP6591320B2 (ja) 2016-03-15 2016-03-15 蒸気排出用煙突

Publications (2)

Publication Number Publication Date
JP2017166370A true JP2017166370A (ja) 2017-09-21
JP6591320B2 JP6591320B2 (ja) 2019-10-16

Family

ID=59910119

Family Applications (1)

Application Number Title Priority Date Filing Date
JP2016051014A Expired - Fee Related JP6591320B2 (ja) 2016-03-15 2016-03-15 蒸気排出用煙突

Country Status (1)

Country Link
JP (1) JP6591320B2 (ja)

Cited By (3)

* Cited by examiner, † Cited by third party
Publication number Priority date Publication date Assignee Title
JP2019041938A (ja) * 2017-08-31 2019-03-22 株式会社ソフイア 遊技機
JP2019041943A (ja) * 2017-08-31 2019-03-22 株式会社ソフイア 遊技機
JP2019041944A (ja) * 2017-08-31 2019-03-22 株式会社ソフイア 遊技機

Citations (4)

* Cited by examiner, † Cited by third party
Publication number Priority date Publication date Assignee Title
JPS5583214U (ja) * 1978-11-29 1980-06-09
JPS61136117U (ja) * 1985-02-13 1986-08-25
JPH06294312A (ja) * 1993-04-09 1994-10-21 Mitsubishi Electric Corp 排気ガスのばいじん防止装置
JP2014031755A (ja) * 2012-08-03 2014-02-20 Unicarriers Corp 車両用排気装置

Patent Citations (4)

* Cited by examiner, † Cited by third party
Publication number Priority date Publication date Assignee Title
JPS5583214U (ja) * 1978-11-29 1980-06-09
JPS61136117U (ja) * 1985-02-13 1986-08-25
JPH06294312A (ja) * 1993-04-09 1994-10-21 Mitsubishi Electric Corp 排気ガスのばいじん防止装置
JP2014031755A (ja) * 2012-08-03 2014-02-20 Unicarriers Corp 車両用排気装置

Cited By (3)

* Cited by examiner, † Cited by third party
Publication number Priority date Publication date Assignee Title
JP2019041938A (ja) * 2017-08-31 2019-03-22 株式会社ソフイア 遊技機
JP2019041943A (ja) * 2017-08-31 2019-03-22 株式会社ソフイア 遊技機
JP2019041944A (ja) * 2017-08-31 2019-03-22 株式会社ソフイア 遊技機

Also Published As

Publication number Publication date
JP6591320B2 (ja) 2019-10-16

Similar Documents

Publication Publication Date Title
US9541316B2 (en) Accumulator
JP6591320B2 (ja) 蒸気排出用煙突
US20120048517A1 (en) Heat pipe with composite wick structure
RU2013120040A (ru) Каплеотделитель
JP2013044456A (ja) 油分離器及び冷凍サイクル装置
JP7146207B2 (ja) 気液分離装置および気液分離装置を備えた冷凍装置
CN102230704B (zh) 离心式油气分离器
CN105937821A (zh) 一种制冷系统用气液分离器组
JP5657061B2 (ja) サイクロン式油分離器、これを備えた圧縮式冷凍装置及び空気圧縮装置
JP5776326B2 (ja) 気液分離器
JP6493180B2 (ja) 機関用の排気管
CN202516421U (zh) 气液分离装置的内置式气体输出变径接管
JP2017002739A (ja) 気液分離装置
CN208320456U (zh) 湿法脱硫后消除液滴的液滴收集装置及液滴收集系统
CN103868294A (zh) 一种气液分离器及压缩机
JPWO2019064427A1 (ja) 油分離器およびそれを備えた空気調和機
JP5803263B2 (ja) 気液分離器
JP5275639B2 (ja) 受水槽
JP4832778B2 (ja) ガス冷却装置及びガス冷却方法
CN114234497A (zh) 一种储液器和压缩机组件
JP2008298309A (ja) 気水分離器
JP2014196855A (ja) 油分離器および冷凍サイクル装置の室外ユニット
CN213375254U (zh) 油气分离装置
CN104776741A (zh) 一种分离式重力热管的蒸发器
CN205718111U (zh) 一种制冷系统用气液分离器组

Legal Events

Date Code Title Description
A621 Written request for application examination

Free format text: JAPANESE INTERMEDIATE CODE: A621

Effective date: 20181203

TRDD Decision of grant or rejection written
A977 Report on retrieval

Free format text: JAPANESE INTERMEDIATE CODE: A971007

Effective date: 20190822

A01 Written decision to grant a patent or to grant a registration (utility model)

Free format text: JAPANESE INTERMEDIATE CODE: A01

Effective date: 20190827

A61 First payment of annual fees (during grant procedure)

Free format text: JAPANESE INTERMEDIATE CODE: A61

Effective date: 20190918

R151 Written notification of patent or utility model registration

Ref document number: 6591320

Country of ref document: JP

Free format text: JAPANESE INTERMEDIATE CODE: R151

LAPS Cancellation because of no payment of annual fees