JP2017166318A - Base-isolation structure of column for constituting structure - Google Patents

Base-isolation structure of column for constituting structure Download PDF

Info

Publication number
JP2017166318A
JP2017166318A JP2017086017A JP2017086017A JP2017166318A JP 2017166318 A JP2017166318 A JP 2017166318A JP 2017086017 A JP2017086017 A JP 2017086017A JP 2017086017 A JP2017086017 A JP 2017086017A JP 2017166318 A JP2017166318 A JP 2017166318A
Authority
JP
Japan
Prior art keywords
column
seismic isolation
flange
pillar
constituting
Prior art date
Legal status (The legal status is an assumption and is not a legal conclusion. Google has not performed a legal analysis and makes no representation as to the accuracy of the status listed.)
Granted
Application number
JP2017086017A
Other languages
Japanese (ja)
Other versions
JP6414271B2 (en
Inventor
佐藤 祐二
Yuji Sato
祐二 佐藤
Current Assignee (The listed assignees may be inaccurate. Google has not performed a legal analysis and makes no representation or warranty as to the accuracy of the list.)
IHI Corp
Original Assignee
IHI Corp
Priority date (The priority date is an assumption and is not a legal conclusion. Google has not performed a legal analysis and makes no representation as to the accuracy of the date listed.)
Filing date
Publication date
Application filed by IHI Corp filed Critical IHI Corp
Priority to JP2017086017A priority Critical patent/JP6414271B2/en
Publication of JP2017166318A publication Critical patent/JP2017166318A/en
Application granted granted Critical
Publication of JP6414271B2 publication Critical patent/JP6414271B2/en
Active legal-status Critical Current
Anticipated expiration legal-status Critical

Links

Images

Landscapes

  • Vibration Prevention Devices (AREA)
  • Buildings Adapted To Withstand Abnormal External Influences (AREA)
  • Warehouses Or Storage Devices (AREA)

Abstract

PROBLEM TO BE SOLVED: To provide a base-isolation structure capable of effectively base-isolating swinging acting on a column for constituting a structure in a horizontal biaxial direction, with a simple constitution.SOLUTION: A base-isolation structure comprises a column member 27, a base-isolation column 28 and a restriction member 26 for restricting the column member 27 and the base-isolation column 28, an overhang part 28a overhanging to the outside is formed in any one connection part of the column member 27 and the base-isolation column 28, the other connection part of the column member 27 and the base-isolation column 28 is formed as a side surface of a column for fixing the restriction member 26, the restriction member 26 forms a nipping part 26c for nipping the overhang part 28a by an end part of the column positioned in the other of the column member 27 and the base-isolation column 28, and the nipping part 26c has a clearance so that the nipping part 26c makes the base-isolation column 28 inclinable to the overhang part 28a formed in any one connection part of the column member 27 and the base-isolation column 28.SELECTED DRAWING: Figure 6

Description

本発明は、立体倉庫、ボイラ鉄骨、立体パーキング、荷役設備等の構造物に適用して構造物の揺れを低減する構造物を構成する柱の免震構造に関するものである。   The present invention relates to a seismic isolation structure for a column constituting a structure that is applied to a structure such as a three-dimensional warehouse, boiler steel frame, three-dimensional parking, and cargo handling equipment to reduce the shaking of the structure.

立体倉庫は、複数の鋼鉄製の柱と複数段の鋼鉄製の梁を備えることにより複数のラック(棚)を立体的に組み立てた構成を有している。大規模な地震が発生した場合には、立体倉庫が損壊する可能性があり、又、立体倉庫に格納された荷が落下して損傷する可能性がある。これにより立体倉庫の柱に免震構造を備えて地震に対する安全性を高めることが考えられている。   The three-dimensional warehouse has a configuration in which a plurality of racks (shelves) are three-dimensionally assembled by providing a plurality of steel columns and a plurality of stages of steel beams. If a large-scale earthquake occurs, the three-dimensional warehouse may be damaged, and the load stored in the three-dimensional warehouse may fall and be damaged. In this way, it is considered to increase the safety against earthquakes by providing a seismic isolation structure for the pillars of a three-dimensional warehouse.

立体倉庫の柱の免震構造としては、立体倉庫を構成する複数の柱の各下端部と基礎との間に、積層ゴムからなる免震構造を備えたものがある(特許文献1)。また、立体倉庫の柱を上下の途中位置で切断した構成として、上側の二本の柱の下端を水平な第一水平部材で連結し、上側の二本の柱に対応する下側の二本の柱の上端部を、前記第一水平部材と係合可能な水平な第二水平部材で連結することにより、前記第二水平部材と第二水平部材を長手方向へ低摩擦部材を介してスライド可能とし、前記第一水平部材と第二水平部材とを粘弾性体で接続したものがある(特許文献2)。   As a base isolation structure of a three-dimensional warehouse, there is one having a base isolation structure made of laminated rubber between each lower end portion and a foundation of a plurality of columns constituting the three-dimensional warehouse (Patent Document 1). In addition, as a structure in which the pillars of the three-dimensional warehouse are cut at the upper and lower middle positions, the lower ends of the upper two pillars are connected by a horizontal first horizontal member, and the lower two parts corresponding to the upper two pillars By connecting the upper end of the column with a horizontal second horizontal member engageable with the first horizontal member, the second horizontal member and the second horizontal member are slid in the longitudinal direction via a low friction member. There is one in which the first horizontal member and the second horizontal member are connected by a viscoelastic body (Patent Document 2).

特開2006−104883号公報JP 2006-104883 A 特開2013−039989号公報JP 2013-039989 A

しかし、特許文献1のように、多数の柱が設けられる立体倉庫の各柱の下端に積層ゴムによる免震構造を備えた場合には、基礎の増設が必要なことや積層ゴムが比較的高価であることから立体倉庫の設備コストが増加する問題がある。また、特許文献2においても、前記第一水平部材と第二水平部材を設け、更に、前記第一水平部材と第二水平部材とを接続する粘弾性体を設ける必要があるために、構造が複雑となって立体倉庫の設備コストが増加する問題がある。さらに、特許文献2では、柱を免震する方向が前記第一水平部材と第二水平部材がスライドする長手方向に限定されてしまい、このスライドの方向と直交する方向に対しては免震できないという問題がある。   However, as in Patent Document 1, when a base-isolated structure with laminated rubber is provided at the lower end of each column of a three-dimensional warehouse provided with a large number of columns, it is necessary to add a foundation or the laminated rubber is relatively expensive. Therefore, there is a problem that the equipment cost of the three-dimensional warehouse increases. Also in Patent Document 2, since it is necessary to provide the first horizontal member and the second horizontal member, and further to provide a viscoelastic body for connecting the first horizontal member and the second horizontal member, the structure is There is a problem that the equipment cost of the three-dimensional warehouse increases due to the complexity. Furthermore, in Patent Document 2, the direction of base isolation is limited to the longitudinal direction in which the first horizontal member and the second horizontal member slide, and cannot be isolated from the direction perpendicular to the direction of the slide. There is a problem.

本発明は、上記従来の問題に鑑みてなしたもので、簡単な構成にて構造物を構成する柱に作用する揺れを、効果的に免震できるようにした免震構造を提供するものである。   The present invention has been made in view of the above-described conventional problems, and provides a seismic isolation structure that can effectively isolate a vibration acting on a column constituting a structure with a simple configuration. is there.

構造物を構成する柱の免震構造は、端部に接続部を有し構造物の柱を構成する複数の柱部材と、両端部に前記柱部材の端部と接続する接続部を有し、二つの前記柱部材の間に配設されて前記接続部で接続し、傾くことで構造物を構成する柱を免震する免震柱と、前記柱部材と前記免震柱を、免震機能を持たせながら拘束する拘束部材と、を備え、前記柱部材と前記免震柱とのいずれか一方の接続部に、外側へ出っ張る出っ張り部が形成され、前記柱部材と前記免震柱とのいずれか他方の接続部を、前記拘束部材を固定する柱の側面とし、前記拘束部材は、前記柱部材と前記免震柱とのいずれか他方に位置する柱の端部とで前記出っ張り部を挟み込む挟み込み部が形成され、前記挟み込み部は、前記柱部材と前記免震柱のいずれか一方の接続部に形成された前記出っ張り部に対して前記挟み込み部が前記免震柱を傾き可能にする隙間を持っていることを特徴としている。   The seismic isolation structure for a pillar constituting a structure has a plurality of pillar members that have connection portions at the ends and constitute pillars of the structure, and connection portions that connect to the end portions of the pillar members at both ends. The seismic isolation column disposed between the two column members, connected at the connecting portion, and tilted to insulate the columns constituting the structure, and the column member and the seismic isolation column are seismically isolated. A restraining member that restrains while having a function, and a protruding portion that protrudes outward is formed at any one of the connecting portions of the column member and the seismic isolation column, and the column member and the seismic isolation column The other connecting portion is a side surface of a column that fixes the constraining member, and the constraining member is the protruding portion between the column member and the end portion of the column located on the other side of the seismic isolation column. A sandwiching portion is formed between the column member and the seismic isolation column. It said pinching portion is characterized in that with a gap that allows the inclination of the MenShinhashira respect formed the ledge.

隙間を持って配された前記挟み込み部は、内側へ傾いていることが好ましい。   It is preferable that the sandwiching portion arranged with a gap is inclined inward.

本発明の構造物を構成する柱の免震構造によれば、簡単な構成にて構造物を構成する柱に作用する揺れを、効果的に免震できる。   According to the seismic isolation structure of the column that constitutes the structure of the present invention, it is possible to effectively isolate the vibration that acts on the column that constitutes the structure with a simple configuration.

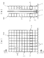
(a)は、立体倉庫の側面図である。(b)は、立体倉庫の正面図であり、図1(a)のIB−IB矢視図である。(A) is a side view of a three-dimensional warehouse. (B) is a front view of a three-dimensional warehouse, and is an IB-IB arrow view of FIG. 1 (a). (a)は、構造物を構成する柱の参考例における平常時を示した図である。(b)は、免震柱が傾いて構造物を構成する柱を免震する様子を示した図である。(A) is the figure which showed the normal time in the reference example of the pillar which comprises a structure. (B) is the figure which showed a mode that the seismic isolation pillar inclines and the pillar which comprises a structure is isolated. (a)は、拘束部材の配置例を示した平面図であり、図2(a)のIIIA−IIIA矢視図である。(b)は、拘束部材の他の変形例を示した平面図である。(c)は、拘束部材のその他の変形例を示した図である。(A) is the top view which showed the example of arrangement | positioning of a restraint member, and is a IIIA-IIIA arrow directional view of Fig.2 (a). (B) is the top view which showed the other modification of the restraint member. (C) is the figure which showed the other modification of the restraint member. (a)は、平常時の立体倉庫の側面を示す側面図である。(b)は、免震柱が傾いて立体倉庫を構成する柱を免震する様子を示した図である。(A) is a side view which shows the side of the three-dimensional warehouse of normal times. (B) is the figure which showed a mode that the seismic isolation pillar inclines and the pillar which comprises a three-dimensional warehouse is isolated. (a)は、トリガ機構を更に備えた構造物を構成する柱における平常時を示す側面図である。(b)は、トリガ機構を更に備えた構造物を構成する柱における地震時を示す側面図である。(A) is a side view which shows the normal time in the pillar which comprises the structure further provided with the trigger mechanism. (B) is a side view which shows the time of the earthquake in the pillar which comprises the structure further provided with the trigger mechanism. (a)は、構造物を構成する柱の第一例における平常時を示した図である。(b)は、免震柱が傾いて構造物を構成する柱を免震する様子を示した図である。(A) is the figure which showed the normal time in the 1st example of the pillar which comprises a structure. (B) is the figure which showed a mode that the seismic isolation pillar inclines and the pillar which comprises a structure is isolated. (a)は免震構造を備えない立体倉庫を示し、(b)は免震構造を一段に備えた立体倉庫の場合を示し、(c)は免震構造を二段に備えた立体倉庫の場合を示している。(A) shows a three-dimensional warehouse without a seismic isolation structure, (b) shows the case of a three-dimensional warehouse with a base isolation structure, (c) shows a three-dimensional warehouse with a base isolation structure in two stages. Shows the case.

以下、本発明を実施するための形態の例(以下、本実施例と称する。)を説明する。   Hereinafter, an example of a mode for carrying out the present invention (hereinafter referred to as the present embodiment) will be described.

図1を参照しながら本発明の構造物を構成する柱1の免震構造5を適用する構造物の一例として立体倉庫100で説明する。図1(a)は、立体倉庫100の側面図である。図1(b)は、立体倉庫100の正面図であり、図1(a)におけるIB−IB矢視図である。   A three-dimensional warehouse 100 will be described as an example of a structure to which the seismic isolation structure 5 of the pillar 1 constituting the structure of the present invention is applied with reference to FIG. FIG. 1A is a side view of the three-dimensional warehouse 100. FIG.1 (b) is a front view of the three-dimensional warehouse 100, and is a IB-IB arrow line view in Fig.1 (a).

立体倉庫(構造物)100は、複数の鋼鉄製の柱(構造物を構成する柱)1と複数段の鋼鉄製の梁2を備えることにより複数のラック3(棚)が立体的に組み立てられた構成を有している。立体倉庫100は、スタッカークレーン4を挟む位置に所要の高さを有して立設され、スタッカークレーン4の走行方向に沿って延びる長さを有し、スタッカークレーン4の走行方向と直交する方向の幅は、格納される荷に対応した狭い幅となっている。また、前記立体倉庫100を構成する複数の柱1は、ラック3の荷の重量を支持するための高い強度を有している。   The three-dimensional warehouse (structure) 100 includes a plurality of racks 3 (shelf) three-dimensionally assembled by including a plurality of steel columns (columns constituting the structure) 1 and a plurality of steel beams 2. It has a configuration. The three-dimensional warehouse 100 is erected with a required height at a position sandwiching the stacker crane 4, has a length extending along the traveling direction of the stacker crane 4, and is orthogonal to the traveling direction of the stacker crane 4. Is a narrow width corresponding to the load to be stored. The plurality of pillars 1 constituting the three-dimensional warehouse 100 have high strength for supporting the weight of the load of the rack 3.

図2(a)及び図3を参照しながら構造物を構成する柱1における参考例の免震構造5を説明する。図2(a)は、構造物を構成する柱1の平常時を示した図である。図3(a)は、拘束部材の配置例を示した平面図であり、図2(a)のIIIA−IIIA矢視図である。(b)は、拘束部材6の他の配置例を示した平面図である。(c)は、拘束部材6のその他の配置例を示した図である。   The base isolation structure 5 of the reference example in the pillar 1 which comprises a structure is demonstrated referring FIG. 2 (a) and FIG. Fig.2 (a) is the figure which showed the normal time of the pillar 1 which comprises a structure. Fig.3 (a) is the top view which showed the example of arrangement | positioning of a restraint member, and is a IIIA-IIIA arrow line view of Fig.2 (a). (B) is the top view which showed the other example of arrangement | positioning of the restraint member 6. FIG. (C) is the figure which showed the other example of arrangement | positioning of the restraint member 6. FIG.

構造物を構成する柱1における参考例の免震構造5は、複数の柱部材7と、二つの柱部材7の間に配設される免震柱8と、柱部材7と免震柱8を、免震機能を持たせながら拘束する拘束部材6と、を備えている。構造物を構成する柱1は、複数の柱部材7と、二つの柱部材7の間に配設される免震柱8を有している。   The seismic isolation structure 5 of the reference example in the column 1 constituting the structure includes a plurality of column members 7, a seismic isolation column 8 disposed between the two column members 7, a column member 7 and the seismic isolation column 8. And a restraining member 6 that restrains the seismic isolation function. The column 1 constituting the structure has a plurality of column members 7 and a seismic isolation column 8 disposed between the two column members 7.

柱部材7は、例えば、角型鋼材であり構造物の柱1を構成する。柱部材7は、一端部又は両端部から外側へ出っ張る平面形状が矩形状のフランジ7a(出っ張り部)が形成されている。このフランジ7aは、柱部材7の端部とで免震柱8と接続する際の接続部となる。   The column member 7 is, for example, a square steel material and constitutes the column 1 of the structure. The pillar member 7 is formed with a flange 7a (protruding portion) having a rectangular planar shape protruding outward from one end portion or both end portions. The flange 7 a becomes a connection portion when connecting to the seismic isolation column 8 at the end of the column member 7.

免震柱8は、例えば、角型鋼材である。免震柱8は、両端部に外側へ出っ張る矩形状のフランジ8a、8bが形成されている。以下、説明の便宜上、図中上側に形成されたフランジを上側フランジ8a、下側に形成されたフランジを下側フランジ8bと呼ぶ。この上側フランジ8aと下側フランジ8bは、免震柱8の両端部とで柱部材7と接続する際の接続部となる。   The seismic isolation column 8 is, for example, a square steel material. The seismic isolation column 8 is formed with rectangular flanges 8a and 8b projecting outward at both ends. Hereinafter, for convenience of explanation, the flange formed on the upper side in the drawing is called the upper flange 8a, and the flange formed on the lower side is called the lower flange 8b. The upper flange 8 a and the lower flange 8 b serve as connection portions when connecting to the column member 7 at both ends of the seismic isolation column 8.

上側フランジ8a、下側フランジ8bは、柱部材7に形成されたフランジ7aと同形状のものであり柱部材7との接続部となる。免震柱8は、接続される際、上側フランジ8aと下側フランジ8bが同形状である柱部材7のフランジ7aに互いの面同士が重ね合わされて接続される。免震柱8は、二つの柱部材7の間に配設される。そして、免震柱8は、二つの柱部材7に対して傾くことで構造物を構成する柱1を免震する。   The upper flange 8 a and the lower flange 8 b have the same shape as the flange 7 a formed on the column member 7 and serve as a connection portion with the column member 7. When the seismic isolation column 8 is connected, the upper and lower flanges 8a and 8b are connected to the flange 7a of the column member 7 having the same shape, with their surfaces overlapped. The seismic isolation column 8 is disposed between the two column members 7. And the seismic isolation column 8 insulates the column 1 which comprises a structure by inclining with respect to the two column members 7. FIG.

ここで、免震柱8は、上側フランジ8aと下側フランジ8bが柱部材7のフランジ7aと重ね合わされる。このとき、この重ね合わされたフランジ8a(8b)、7aは、免震柱8と柱部材7の自重によりフランジ面が密着される。これにより免震柱8は、小さな荷重で傾かないトリガ機能を有する。   Here, in the seismic isolation column 8, the upper flange 8 a and the lower flange 8 b are overlapped with the flange 7 a of the column member 7. At this time, the flange surfaces of the overlapped flanges 8 a (8 b) and 7 a are brought into close contact with the seismic isolation column 8 and the weight of the column member 7. Thereby, the seismic isolation column 8 has a trigger function which does not tilt with a small load.

なお、柱部材7と免震柱8を角型鋼材で説明したがこれに限定されるものではない。柱形状で、且つ、端部にフランジが形成されていれば良く、例えば、フランジ付きの丸型鋼材、H型鋼材、I型鋼材、Z型鋼材でも良い。また、柱部材7と免震柱8のフランジ7a,8a(8b)を矩形状で説明したがこれに限定されるものではない、例えば、円形状でも良い。   In addition, although the column member 7 and the seismic isolation column 8 were demonstrated with the square steel material, it is not limited to this. It is only necessary to have a columnar shape and a flange at the end. For example, a round steel material with a flange, an H-type steel material, an I-type steel material, or a Z-type steel material may be used. Further, the flanges 7a and 8a (8b) of the column member 7 and the seismic isolation column 8 have been described in a rectangular shape, but the present invention is not limited to this. For example, a circular shape may be used.

拘束部材6は、柱部材7と免震柱8を、免震機能を持たせながら拘束する。なお、図2(a)中では、正面に配設された拘束部材6を省略して示している。拘束部材6は、帯状の部材の両側を折り曲げて形成された断面がコの字形状の溝型鋼で、平面を有する基部6aと一対の挟み込み部6b,6cと、を有している。拘束部材6は、一方の挟み込み部6bの面が基部6aの平面と直交するようになっている。   The restraining member 6 restrains the column member 7 and the seismic isolation column 8 while providing the seismic isolation function. In FIG. 2A, the restraining member 6 disposed on the front is omitted. The restraining member 6 is a groove steel having a U-shaped cross section formed by bending both sides of a band-shaped member, and has a base portion 6a having a flat surface and a pair of sandwiching portions 6b and 6c. The restraining member 6 is configured such that the surface of one sandwiched portion 6b is orthogonal to the plane of the base portion 6a.

他方の挟み込み部6cは、先端に向かうに従って一方の挟み込み部6bに近づくように内側へ傾いている。すなわち、他方の挟み込み部6cは、拘束部材6の溝幅を狭めるように内側へ傾いている。   The other sandwiching portion 6c is inclined inward so as to approach one sandwiching portion 6b toward the tip. That is, the other sandwiching portion 6 c is inclined inward so as to narrow the groove width of the restraining member 6.

ここで、他方の挟み込み部6cの傾きは、免震柱8が傾くとフランジ8a(8b)と面接触する傾きとなっている。他方の挟み込み部6cの傾きは、免震柱8の傾きを所定の傾きに制限する。   Here, the inclination of the other sandwiching portion 6c is an inclination that makes surface contact with the flange 8a (8b) when the seismic isolation column 8 is inclined. The inclination of the other sandwiching portion 6c limits the inclination of the seismic isolation column 8 to a predetermined inclination.

この拘束部材6は、重ね合わされた柱部材7のフランジ7aと免震柱8のフランジ8a(または、フランジ8b)を挟み込むように配される。具体的には、拘束部材6は、一方の挟み込み部6bが柱部材7のフランジ7aに固定され、他方の挟み込み部6cが免震柱8のフランジ8a,8bと所定の隙間を持って位置するように配される。   The restraining member 6 is arranged so as to sandwich the flange 7a of the column member 7 and the flange 8a (or the flange 8b) of the seismic isolation column 8 that are overlapped. Specifically, in the restraining member 6, one sandwiching portion 6 b is fixed to the flange 7 a of the column member 7, and the other sandwiching portion 6 c is positioned with a predetermined gap from the flanges 8 a and 8 b of the seismic isolation column 8. Arranged.

なお、拘束部材6は、他方の挟み込み部6cが柱部材7のフランジ7aに固定され、一方の挟み込み部6bが免震柱8のフランジ8a,8bと所定の隙間を持って位置するように配される態様でも良い。すなわち、柱部材7のフランジ7aと免震柱8のフランジ8a,8bとのいずれか一方に一対の挟み込み部6b,6cの一方が固定され、柱部材7のフランジ7aと免震柱8のフランジ8a,8bとのいずれか他方に一対の挟み込み部6b,6cの他方が隙間を持って位置するように配設しても良い。   The restraining member 6 is arranged so that the other sandwiching portion 6c is fixed to the flange 7a of the column member 7 and the one sandwiching portion 6b is positioned with a predetermined gap from the flanges 8a and 8b of the seismic isolation column 8. It may be an embodiment. That is, one of the pair of sandwiching portions 6b and 6c is fixed to either the flange 7a of the column member 7 or the flanges 8a and 8b of the seismic isolation column 8, and the flange 7a of the column member 7 and the flange of the seismic isolation column 8 You may arrange | position so that the other of a pair of clamping part 6b, 6c may be located in a gap between either one of 8a and 8b.

拘束部材6は、例えば、図3(a)で示すとおり、平面形状が矩形状のものを柱部材7と免震柱8の重ねられたフランジ7a,8a(8b)の四方に二個ずつ計八個配設される。拘束部材6は、このように配されると、免震柱8が柱部材7に対して水平移動するのを拘束し、免震柱8が柱部材7に対して水平二軸方向に傾くことを許容する。ここで、所定の隙間を持ってとは、免震柱8を柱部材7に対して傾き可能にする隙間を持っていることをいう。なお、拘束部材6は、免震柱8が傾くために免震柱8が柱部材7に対して水平方向へ微小移動するのは許容する。   For example, as shown in FIG. 3A, the restraining member 6 is a two-dimensional shape having a rectangular planar shape on each side of the flanges 7a and 8a (8b) where the column member 7 and the seismic isolation column 8 are overlapped. Eight are arranged. When the restraining member 6 is arranged in this manner, the seismic isolation column 8 restrains the horizontal movement with respect to the column member 7, and the seismic isolation column 8 tilts in the horizontal biaxial direction with respect to the column member 7. Is acceptable. Here, having a predetermined gap means having a gap that allows the seismic isolation column 8 to tilt with respect to the column member 7. The restraining member 6 allows the seismic isolation column 8 to slightly move in the horizontal direction with respect to the column member 7 because the seismic isolation column 8 is inclined.

なお、本実施例において、拘束部材6は、平面形状が矩形状、断面がコの字形状である溝形の溝型鋼を柱部材7と免震柱8の重ねられたフランジ7a,8a(8b)の四方に二個ずつ計八個配設した態様で説明したがこれに限定されるものではなく免震柱8が柱部材7に対して水平移動するのを拘束し、免震柱8が柱部材7に対して所定位置まで傾くことを許容できれば良い。   In this embodiment, the constraining member 6 is a groove-shaped steel having a rectangular planar shape and a U-shaped cross section, and flanges 7a and 8a (8b) in which the column member 7 and the seismic isolation column 8 are overlapped. However, the present invention is not limited to this, and the seismic isolation column 8 is restrained from moving horizontally with respect to the column member 7 so that the seismic isolation column 8 It suffices to allow the column member 7 to tilt to a predetermined position.

例えば、拘束部材6は、一体物でも良いし、基部6aと、一方の挟み込み部6bと、他方の挟み込み部6cと、がそれぞれ別体物でも良い。また、拘束部材6は、断面がコの字形状に限定されず、例えば、U字形状であっても良い。また、拘束部材6は、直方体のブロックに溝を施して1対の挟み込み部6b、6cを形成しても良い。   For example, the restraining member 6 may be an integrated object, or the base portion 6a, one sandwiching portion 6b, and the other sandwiching portion 6c may be separate bodies. Further, the restraining member 6 is not limited to a U-shaped cross section, and may be, for example, a U shape. In addition, the restraining member 6 may form a pair of sandwiching portions 6b and 6c by forming a groove in a rectangular parallelepiped block.

図3(b)、図3(c)を参照して拘束部材6の変形例及びその他の変形例を説明する。図3(b)は、拘束部材の他の変形例を示した平面図である。図3(c)は、拘束部材のその他の変形例を示した図である。   With reference to FIG.3 (b) and FIG.3 (c), the modification of the restraint member 6 and another modification are demonstrated. FIG. 3B is a plan view showing another modification of the restraining member. FIG.3 (c) is the figure which showed the other modification of the restraint member.

拘束部材6の変形例は、平面形状がLの字形である。また、拘束部材6の変形例は、横断面形状がコの字形である。すなわち、拘束部材6の変形例は、Lの字形の溝型鋼である。この拘束部材6の変形例は、重ねられた矩形状のフランジ7a、フランジ8aの四隅にそれぞれ一つずつ計四個配設される。   A modification of the restraining member 6 is an L-shaped planar shape. Further, in the modified example of the restraining member 6, the cross-sectional shape is a U-shape. That is, a modification of the restraining member 6 is L-shaped channel steel. A total of four modified examples of the restraining member 6 are arranged at the four corners of the overlapping rectangular flange 7a and flange 8a.

拘束部材6の他の変形例は、平面形状がコの字形である。また、拘束部材6の他の変形例は、横断面形状がコの字形である。すなわち、拘束部材6の他の変形例は、コの字形の溝型鋼である。この拘束部材6の他の変形例は、重ねられた矩形状のフランジ7a、フランジ8aに一対配設される。以上の拘束部材6は、免震柱8が柱部材7に対して水平移動するのを拘束し、免震柱8が柱部材7に対して水平二軸方向に傾くことを許容し、且つ、免震柱8と柱部材7が外れないように少なくとも一対配設される。   Another modification of the restraining member 6 has a U-shaped planar shape. Moreover, the other modified example of the restraint member 6 has a U-shaped cross section. That is, another modification of the restraining member 6 is a U-shaped groove steel. As another modification of the restraining member 6, a pair of rectangular flanges 7a and 8a are disposed. The above restraining member 6 restrains the seismic isolation column 8 from moving horizontally with respect to the column member 7, allows the seismic isolation column 8 to tilt in the horizontal biaxial direction with respect to the column member 7, and At least a pair of seismic isolation columns 8 and column members 7 are disposed so as not to come off.

図2(b)を参照して、免震柱8が傾いて免震する様子を説明する。図2(b)は、免震柱8が傾いて構造物を構成する柱1を免震する様子を示し、図の矢印に示すように右方向へ地震の揺れが発生した場合を示している。   With reference to FIG.2 (b), a mode that the seismic isolation column 8 inclines and tilts is demonstrated. FIG. 2 (b) shows a state in which the seismic isolation column 8 is tilted to isolate the column 1 constituting the structure, and shows a case where an earthquake shakes in the right direction as indicated by an arrow in the figure. .

図2(b)に示すとおり、図の矢印に示すように右方向へ地震による揺れが発生したとする。構造物を構成する柱1は、下側の柱部材7が右方向へ移動し、上側の柱部材7が慣性によりその場にとどまろうとする。   As shown in FIG. 2 (b), it is assumed that a shake due to an earthquake occurs in the right direction as indicated by an arrow in the figure. In the pillar 1 constituting the structure, the lower pillar member 7 moves to the right, and the upper pillar member 7 tries to stay in place due to inertia.

そうすると、免震柱8は、上側フランジ8aが柱部材7のフランジ7aと右上の拘束部材6の基部6aとがなすコーナー部を支点として回動し、下側フランジ8bが柱部材7のフランジ7aと左下の拘束部材6の基部6aとがなすコーナー部を支点として回動する。このとき、免震柱8は、上側フランジ8aが左上の拘束部材6の他方の挟み込み部6cと面接触し、下側フランジ8bが右下の拘束部材6の他方の挟み込み部6cと面接触するまで回動する。免震柱8は、全体として柱部材7に対して傾くこととなる。   Then, the seismic isolation column 8 rotates with the upper flange 8a as a fulcrum at the corner formed by the flange 7a of the column member 7 and the base 6a of the upper right restraint member 6, and the lower flange 8b is the flange 7a of the column member 7. And a corner portion formed by the base portion 6a of the lower left restraining member 6 is rotated as a fulcrum. At this time, in the seismic isolation column 8, the upper flange 8 a is in surface contact with the other sandwiched portion 6 c of the upper left restraining member 6, and the lower flange 8 b is in surface contact with the other sandwiched portion 6 c of the lower right restraining member 6. Rotate until The seismic isolation column 8 is inclined with respect to the column member 7 as a whole.

以上により、地震が発生しその揺れが外力として構造物を構成する柱1に作用しても、免震柱8が傾くことにより、構造物を構成する柱1が免震され、構造物を構成する柱1に対して大きな応力が作用しなくなっている。また、免震柱8の傾きは、自重により復元されるが、それを超える外力が作用した場合でも、拘束部材6の他方の挟み込み部6cによって制限されるため、構造物を構成する柱1が倒壊することがない。   As described above, even if an earthquake occurs and the shaking acts on the pillar 1 constituting the structure as an external force, the pillar 1 constituting the structure is isolated from the earthquake by tilting the seismic isolation pillar 8 to constitute the structure. A large stress is no longer acting on the pillar 1 to be applied. Further, the inclination of the seismic isolation column 8 is restored by its own weight, but even when an external force exceeding it is applied, it is limited by the other sandwiching portion 6c of the restraining member 6, so that the column 1 constituting the structure is There is no collapse.

図4を参照しながら、免震柱8が傾いて立体倉庫100を構成する柱1を免震する様子を説明する。図4(a)は、平常時の立体倉庫100の側面を示す側面図である。図4(b)は、免震柱8が傾いて立体倉庫100を構成する柱1を免震する様子を示した図である。図4は、拘束部材6を省略して図示している。   With reference to FIG. 4, a state in which the seismic isolation column 8 is tilted and the column 1 constituting the three-dimensional warehouse 100 is isolated will be described. FIG. 4A is a side view showing a side surface of the three-dimensional warehouse 100 in a normal state. FIG. 4B is a diagram illustrating a state where the seismic isolation column 8 is tilted and the column 1 constituting the three-dimensional warehouse 100 is isolated. FIG. 4 is illustrated with the restraining member 6 omitted.

図4に示すとおり、立体倉庫100は、免震柱8を同じ高さ位置に複数備えている。図4(a)の状態から、例えば、図4(b)の矢印で示す様に地震によって右方向に揺れたとする。立体倉庫100は、免震柱8を挟んで下側のラック3bが右方向へ移動する。このとき、上側のラック3aは、慣性によりその場にとどまろうとする。   As shown in FIG. 4, the three-dimensional warehouse 100 includes a plurality of seismic isolation columns 8 at the same height position. From the state of FIG. 4 (a), for example, suppose that it shook rightward due to an earthquake as shown by the arrow in FIG. 4 (b). In the three-dimensional warehouse 100, the lower rack 3b moves rightward with the seismic isolation column 8 interposed therebetween. At this time, the upper rack 3a tries to stay in place due to inertia.

そうすると、複数の免震柱8は、上側が左、下側が右となるようそれぞれが同じ様に傾くようになっている。すなわち、立体倉庫100は、免震柱8が傾くことで、上側のラック3aをその場にとどめつつ下側のラック3bの水平変位を許容する。   Then, the plurality of seismic isolation columns 8 are inclined in the same manner so that the upper side is left and the lower side is right. That is, the three-dimensional warehouse 100 allows the horizontal displacement of the lower rack 3b while keeping the upper rack 3a in place by the seismic isolation column 8 being inclined.

以上により、地震が発生しその揺れが外力として立体倉庫100に作用しても、免震柱8が傾くことにより構造物を構成する柱1が免震され、構造物を構成する柱1に対して大きな応力が作用しなくなっている。   As described above, even if an earthquake occurs and the shaking acts on the three-dimensional warehouse 100 as an external force, the column 1 constituting the structure is seismically isolated by tilting the seismic isolation column 8, and the column 1 constituting the structure Large stresses are not working.

なお、右方向へ地震による揺れが発生した場合で説明したが、図中、左方向へ地震による揺れが発生した場合、複数の免震柱8は、上側が右、下側が左となるようにそれぞれ同じように傾いて、構造物を構成する柱1を免震する。   In addition, although the case where a shake due to an earthquake occurred in the right direction has been described, in the figure, when a shake due to an earthquake occurs in the left direction, the seismic isolation columns 8 are arranged such that the upper side is on the right and the lower side is on the left. Each of them tilts in the same way, and the pillars 1 constituting the structure are isolated.

また、図中、奥から手前に向かう方向に揺れが発生した場合、複数の免震柱8は、上側が奥、下側が手前となるようにそれぞれ同じように傾いて、構造物を構成する柱1を免震する。同様に、図中、手前から奥に向かう方向に揺れが発生した場合、複数の免震柱8は、上側が手前、下側が奥となるようにそれぞれ同じように傾いて、構造物を構成する柱1を免震する。以上により、本発明の構造物を構成する柱1の免震構造5によれば、簡単な構成にて構造物を構成する柱1に作用する揺れを、水平二軸方向で効果的に免震できる。また、免震柱8は、上側フランジ8aと下側フランジ8bが柱部材7のフランジ7aと重ね合わされる。これにより免震柱8は、小さな荷重で傾かないトリガ機能を有する。   In addition, in the figure, when shaking occurs in the direction from the back to the front, the plurality of seismic isolation columns 8 are inclined in the same manner so that the upper side is the back and the lower side is the front, respectively, and the columns constituting the structure Isolate 1 Similarly, in the figure, when a vibration occurs in the direction from the front to the back, the plurality of seismic isolation columns 8 are inclined in the same manner so that the upper side is the front and the lower side is the back, thereby constituting the structure. Seismic isolation of pillar 1. As described above, according to the seismic isolation structure 5 of the column 1 constituting the structure of the present invention, the vibration acting on the column 1 constituting the structure with a simple configuration can be effectively isolated in the horizontal biaxial direction. it can. The seismic isolation column 8 has an upper flange 8 a and a lower flange 8 b overlapped with the flange 7 a of the column member 7. Thereby, the seismic isolation column 8 has a trigger function which does not tilt with a small load.

また、拘束部材6は、他方の挟み込み部6cが内側へ傾いている。これにより、拘束部材6の他方の挟み込み部は6c、免震柱8が傾いた際に免震柱8のフランジ8a,8bと面接触する。したがって、拘束部材6の他方の挟み込み部6cと免震柱8のフランジ8a,8bとの接触応力を小さくする事ができ耐久力を高めることができる。   Further, the restraining member 6 has the other sandwiching portion 6c inclined inward. As a result, the other sandwiched portion of the restraining member 6 is in contact with the flanges 8a and 8b of the seismic isolation column 8 when the seismic isolation column 8 is tilted. Therefore, the contact stress between the other sandwiched portion 6c of the restraining member 6 and the flanges 8a and 8b of the seismic isolation column 8 can be reduced, and the durability can be increased.

図5を参照しながら本発明の構造物を構成する柱1の免震構造5における変形例を説明する。図5(a)は、トリガ機構10を更に備えた構造物を構成する柱1における平常時を示す側面図である。図5(b)は、トリガ機構10を更に備えた構造物を構成する柱1における地震時を示す側面図である。   The modification in the seismic isolation structure 5 of the pillar 1 which comprises the structure of this invention is demonstrated referring FIG. FIG. 5A is a side view showing a normal state in the pillar 1 constituting the structure further including the trigger mechanism 10. FIG. 5B is a side view showing an earthquake in the pillar 1 constituting the structure further including the trigger mechanism 10.

なお、この変形例は、フランジ7a,8a(8b)に形成された貫通孔11とトリガ機構10を更に備えた点を除きその基本的構成が上記実施例と同様であるため、上記実施例と同様の構成には同一の符号を付し、上記実施例の説明と重複することになる説明を省略する。   This modified example has the same basic configuration as the above example except that it further includes a through hole 11 formed in the flanges 7a, 8a (8b) and the trigger mechanism 10. The same reference numerals are given to the same components, and the description that overlaps the description of the above embodiment is omitted.

図5(a)に示すとおり、構造物を構成する柱1の免震構造5は、更にトリガ機構10を備えている。トリガ機構10は、例えば、拘束部材6が配設される位置(図3(a)参照)に対応するように八個配設される。トリガ機構10は、連結ボルト材12と、皿ばね13と、ナット14と、ワッシャ15と、を有している。図5(a)は、説明の便宜上、1対のトリガ機構10のみを示している。   As shown in FIG. 5A, the seismic isolation structure 5 of the pillar 1 constituting the structure further includes a trigger mechanism 10. For example, eight trigger mechanisms 10 are arranged so as to correspond to the positions (see FIG. 3A) where the restraining members 6 are arranged. The trigger mechanism 10 includes a connecting bolt member 12, a disc spring 13, a nut 14, and a washer 15. FIG. 5A shows only one pair of trigger mechanisms 10 for convenience of explanation.

柱部材7のフランジ7aと免震柱8の上側フランジ8a(下側フランジ8b)は、互いに重ね合わされた状態で鉛直方向に貫通する貫通孔11が形成されている。この貫通孔11は、例えば、拘束部材6が配設される位置に対応するように八箇所形成される。連結ボルト材12は、この貫通孔11に下側から上側へ通され、重ね合わされたフランジ7a,8aから突出した部分に弾性部材である皿ばね13が通され、ワッシャ15を介してナット14で連結される。   A through hole 11 is formed in the flange 7a of the column member 7 and the upper flange 8a (lower flange 8b) of the seismic isolation column 8 so as to penetrate in the vertical direction while being overlapped with each other. For example, eight through holes 11 are formed so as to correspond to positions where the restraining members 6 are disposed. The connecting bolt material 12 is passed through the through-hole 11 from the lower side to the upper side, and a disc spring 13 as an elastic member is passed through the overlapping flanges 7 a and 8 a, and the nut 14 is passed through the washer 15. Connected.

トリガ機構10は、柱部材7のフランジ7aと免震柱8の上側フランジ8a(下側フランジ8b)とを、互いの面を弾性的に押し付けるように作用する。また、皿ばね13には、小規模の地震の発生による揺れによって、柱部材7のフランジ7aと免震柱8の上側フランジ8a(下側フランジ8b)とが開いて免震柱8が傾かない程度のばね力が与えられている。   The trigger mechanism 10 acts to elastically press the surfaces of the flange 7a of the column member 7 and the upper flange 8a (lower flange 8b) of the seismic isolation column 8 against each other. Further, the disc spring 13 is not tilted by opening the flange 7a of the column member 7 and the upper flange 8a (lower flange 8b) of the seismic isolation column 8 due to the shaking caused by the occurrence of a small-scale earthquake. A certain degree of spring force is applied.

図5(b)に示すとおり、免震柱8が傾くと、柱部材7のフランジ7aと免震柱8のフランジ8aとが開き、トリガ機構10の皿ばね13が潰される。そうすると、トリガ機構10は、皿ばね13の復元力により柱部材7のフランジ7aと免震柱8のフランジ8aとを閉じるように作用する。ここで、皿ばね13に代えて弾性部材としてコイルばねを選択しても良い。しかし、皿ばね13は、変形剛性が高いうえに減衰効果を得られるためこれを用いるのが好ましい。   As shown in FIG. 5B, when the seismic isolation column 8 is tilted, the flange 7a of the column member 7 and the flange 8a of the seismic isolation column 8 are opened, and the disc spring 13 of the trigger mechanism 10 is crushed. Then, the trigger mechanism 10 acts to close the flange 7 a of the column member 7 and the flange 8 a of the seismic isolation column 8 by the restoring force of the disc spring 13. Here, instead of the disc spring 13, a coil spring may be selected as the elastic member. However, the disc spring 13 is preferably used because it has a high deformation rigidity and a damping effect.

以上のように、トリガ機構10を更に備えた構造物を構成する柱の免震構造5によれば、小規模の地震の発生による揺れによって、柱部材7のフランジ7aと免震柱8の上側フランジ8a(下側フランジ8b)とが開いて免震柱8が傾かないように設定したトリガ機能を持たせることができる。また、トリガ機構10は、弾性部材として皿ばね13を用いていることから揺れによる荷重を減衰させることができる。   As described above, according to the seismic isolation structure 5 of the column that constitutes the structure further including the trigger mechanism 10, the upper side of the flange 7 a of the column member 7 and the seismic isolation column 8 due to the shaking caused by the occurrence of a small-scale earthquake. The trigger function set so that the flange 8a (lower flange 8b) opens and the seismic isolation column 8 does not tilt can be provided. Moreover, since the trigger mechanism 10 uses the disc spring 13 as an elastic member, it can attenuate the load caused by shaking.

また、トリガ機構10を更に備えた構造物を構成する柱の免震構造5によれば、柱部材7のフランジ7aと免震柱8の上側フランジ8a(下側フランジ8b)とが開いた際に、傾いた免震柱8を積極的にもとの状態へ復元させることができる。   Further, according to the column seismic isolation structure 5 constituting the structure further including the trigger mechanism 10, the flange 7a of the column member 7 and the upper flange 8a (lower flange 8b) of the seismic isolation column 8 are opened. In addition, the tilted seismic isolation column 8 can be actively restored to the original state.

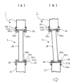
図6(a)を参照しながら構造物を構成する柱1の第一例を説明する。図6(a)は、構造物を構成する柱の第一例における平常時を示した図である。構造物を構成する柱1の第一例における免震構造5は、複数の柱部材27と、二つの柱部材27の間に配設される免震柱28と、柱部材27と免震柱28を、免震機能を持たせながら拘束する拘束部材26と、を備えている。構造物を構成する柱1は、複数の柱部材27と、二つの柱部材27の間に配設される免震柱28を有している。   A first example of the pillar 1 constituting the structure will be described with reference to FIG. Fig.6 (a) is the figure which showed the normal time in the 1st example of the pillar which comprises a structure. The seismic isolation structure 5 in the first example of the column 1 constituting the structure includes a plurality of column members 27, a seismic isolation column 28 disposed between the two column members 27, a column member 27, and the seismic isolation column. And a restraining member 26 for restraining 28 while providing a seismic isolation function. The column 1 constituting the structure has a plurality of column members 27 and a seismic isolation column 28 disposed between the two column members 27.

柱部材27は、例えば、角柱の鋼材であり構造物の柱1を構成する。柱部材27は、端部27aが免震柱28と接続する際に接続部となる。端部27aは、例えば、平坦面となっている。   The column member 27 is, for example, a prismatic steel material and constitutes the column 1 of the structure. The column member 27 becomes a connection portion when the end portion 27 a is connected to the seismic isolation column 28. The end 27a is, for example, a flat surface.

免震柱28は、例えば、柱部材27よりも幅と奥行きの小さい角型鋼材である。免震柱28は、両端部に外側へ出っ張る矩形状のフランジ28a、28bが形成されている。以下、説明の便宜上、図中上側に形成されたフランジを上側フランジ28a、下側に形成されたフランジを下側フランジ28bと呼ぶ。   The seismic isolation column 28 is, for example, a square steel material having a smaller width and depth than the column member 27. The seismic isolation column 28 is formed with rectangular flanges 28a and 28b projecting outward at both ends. Hereinafter, for convenience of explanation, a flange formed on the upper side in the drawing is referred to as an upper flange 28a, and a flange formed on the lower side is referred to as a lower flange 28b.

この上側フランジ28aと下側フランジ28bは、免震柱28の両端部とで柱部材27と接続する際の接続部となる。免震柱28は、二つの柱部材27の間に配設される。そして、免震柱28は、二つの柱部材27に対して傾くことで構造物を構成する柱1を免震する。   The upper flange 28 a and the lower flange 28 b serve as connection portions when connecting to the column member 27 at both ends of the seismic isolation column 28. The seismic isolation column 28 is disposed between the two column members 27. And the seismic isolation column 28 insulates the pillar 1 which comprises a structure by inclining with respect to the two column members 27. FIG.

ここで、免震柱28は、上側フランジ28aと下側フランジ28bが柱部材27の平坦面である端部27aと面接触する。このとき、接触面は、免震柱28と柱部材27の自重により密着される。これにより免震柱28は、小さな荷重で傾かないトリガ機能を有する。   Here, in the seismic isolation column 28, the upper flange 28 a and the lower flange 28 b are in surface contact with the end portion 27 a which is a flat surface of the column member 27. At this time, the contact surface is brought into close contact with the seismic isolation column 28 and the weight of the column member 27. As a result, the seismic isolation column 28 has a trigger function that does not tilt with a small load.

拘束部材26は、柱部材27と免震柱28を、免震機能を持たせながら拘束する。なお、図6(a)中では、正面に配設された拘束部材26を省略して示している。拘束部材26は、帯状の部材の片側を折り曲げて形成された断面がレ(L)の字形状で、平面を有する基部26aと挟み込み部26cを有している。拘束部材26は、基部26aが柱部材27の側面に固定される。   The restraining member 26 restrains the column member 27 and the seismic isolation column 28 while providing the seismic isolation function. In FIG. 6A, the restraining member 26 disposed on the front is omitted. The constraining member 26 has a cross-section formed by bending one side of a belt-like member in a letter (L) shape, and has a base portion 26a having a flat surface and a sandwiching portion 26c. The restraining member 26 has a base portion 26 a fixed to the side surface of the column member 27.

拘束部材26は、柱部材27に固定されると、挟み込み部26cが柱部材27の端部27aとで免震柱28のフランジ28aを挟み込む部分となる。そして、この部分に柱部材27のフランジ27a(27b)が配されると、挟み込み部26cは、フランジ27a(27b)に対して、所定の隙間を持って位置する。ここで、所定の隙間を持ってとは、免震柱8を柱部材7に対して傾き可能にする隙間を持っていることをいう。   When the restraining member 26 is fixed to the column member 27, the sandwiching portion 26 c becomes a portion that sandwiches the flange 28 a of the seismic isolation column 28 with the end portion 27 a of the column member 27. When the flange 27a (27b) of the column member 27 is disposed at this portion, the sandwiching portion 26c is positioned with a predetermined gap with respect to the flange 27a (27b). Here, having a predetermined gap means having a gap that allows the seismic isolation column 8 to tilt with respect to the column member 7.

拘束部材26は、例えば、柱部材27の四方に配設される。拘束部材26は、このように配されると、免震柱28が柱部材27に対して水平移動するのを拘束し、免震柱28が柱部材27に対して傾くことを許容する。なお、拘束部材26は、免震柱28が傾くために免震柱28が柱部材27に対して水平方向へ微小移動するのは許容する。   The restraining member 26 is disposed, for example, on four sides of the column member 27. When the restraining member 26 is arranged in this manner, the seismic isolation column 28 is restrained from moving horizontally with respect to the column member 27, and the seismic isolation column 28 is allowed to tilt with respect to the column member 27. The restraining member 26 allows the seismic isolation column 28 to slightly move in the horizontal direction with respect to the column member 27 because the seismic isolation column 28 is inclined.

拘束部材26の挟み込み部26cは、先端に向かうに従って一方の挟み込み部6bに近づくように内側へ傾いている。すなわち、挟み込み部26cは、隙間を狭めるように内側へ傾いている。ここで、挟み込み部26cの傾きは、免震柱28が傾くとフランジ28a(28b)と面接触する大きさとなっている。挟み込み部26cの傾きは、免震柱28の傾きを所定の大きさに制限する。   The sandwiching portion 26c of the restraining member 26 is inclined inward so as to approach one sandwiching portion 6b toward the tip. That is, the sandwiching portion 26c is inclined inward so as to narrow the gap. Here, the inclination of the sandwiching portion 26c is such that when the seismic isolation column 28 is inclined, it comes into surface contact with the flange 28a (28b). The inclination of the sandwiching portion 26c limits the inclination of the seismic isolation column 28 to a predetermined size.

図6(b)を参照して、免震柱28が傾いて免震する様子を説明する。図6(b)は、免震柱が傾いて構造物を構成する柱を免震する様子を示し、図の矢印に示すように右方向へ地震の揺れが発生した場合を示している。
図6(b)に示すとおり、図の矢印に示すように右方向へ地震による揺れが発生したとする。構造物を構成する柱1は、下側の柱部材27が右方向へ移動し、上側の柱部材27が慣性によりその場にとどまろうとする。
With reference to FIG.6 (b), a mode that the seismic isolation column 28 inclines and insulates is demonstrated. FIG. 6B shows a state in which the seismic isolation column is tilted to isolate the column constituting the structure, and shows a case where an earthquake shakes in the right direction as indicated by an arrow in the figure.
As shown in FIG. 6B, it is assumed that a shake due to an earthquake occurs in the right direction as indicated by an arrow in the figure. In the pillar 1 constituting the structure, the lower pillar member 27 moves to the right, and the upper pillar member 27 tries to stay in place due to inertia.

そうすると、免震柱28は、上側フランジ28aが柱部材27の端部27aと右上の拘束部材26の基部26aとがなすコーナー部を支点として回動し、下側フランジ28bが柱部材27の端部27aと左下の拘束部材26の基部26aとがなすコーナー部を支点として回動する。このとき、免震柱28は、上側フランジ28aが左上の拘束部材26の挟み込み部6cと面接触し、下側フランジ8bが右下の拘束部材26の挟み込み部26cと面接触するまで回動する。免震柱28は、全体として柱部材27に対して傾くこととなる。   Then, the seismic isolation column 28 rotates with the upper flange 28 a as a fulcrum at the corner formed by the end portion 27 a of the column member 27 and the base portion 26 a of the upper right restraining member 26, and the lower flange 28 b is the end of the column member 27. The corner portion formed by the portion 27a and the base portion 26a of the lower left restraint member 26 is rotated as a fulcrum. At this time, the seismic isolation column 28 rotates until the upper flange 28a is in surface contact with the sandwiching portion 6c of the upper left restraining member 26 and the lower flange 8b is in surface contact with the sandwiching portion 26c of the lower right restraining member 26. . The seismic isolation column 28 is inclined with respect to the column member 27 as a whole.

以上により、地震が発生しその揺れが外力として構造物を構成する柱1に作用しても、免震柱28が傾くことにより、構造物を構成する柱1が免震され、構造物を構成する柱1に対して大きな応力が作用しなくなっている。また、免震柱28の傾きは、自重により復元されるが、それを超える外力が作用した場合でも、拘束部材26の他方の挟み込み部26cによって制限されるため、構造物を構成する柱1が倒壊することがない。また、先の実施例と比較し、柱部材27がフランジを有していないため外側への出っ張りを抑えることができ、省スペース化を図ることができる。   As described above, even if an earthquake occurs and the shaking acts on the pillar 1 constituting the structure as an external force, the pillar 1 constituting the structure is isolated from the earthquake by tilting the seismic isolation pillar 28 to constitute the structure. A large stress is no longer acting on the pillar 1 to be applied. Further, the inclination of the seismic isolation column 28 is restored by its own weight, but even when an external force exceeding it is applied, it is limited by the other sandwiching portion 26c of the restraining member 26. There is no collapse. Further, as compared with the previous embodiment, since the column member 27 does not have a flange, the outward protrusion can be suppressed, and space saving can be achieved.

図7を参照しながら本発明の構造物を構成する柱1の免震構造5における他の変形例を説明する。図7(a)は免震構造5を備えない立体倉庫100を示し、図7(b)は免震構造5を一段に備えた立体倉庫100の場合を示し、図7(c)は免震構造5を二段に備えた立体倉庫100の場合を示している。   The other modification in the seismic isolation structure 5 of the pillar 1 which comprises the structure of this invention is demonstrated referring FIG. FIG. 7 (a) shows a three-dimensional warehouse 100 without the seismic isolation structure 5, FIG. 7 (b) shows the case of the three-dimensional warehouse 100 with the seismic isolation structure 5 in one stage, and FIG. 7 (c) shows the seismic isolation. The case of the three-dimensional warehouse 100 provided with the structure 5 in two stages is shown.

なお、この変形例は、免震構造5を複数備えた点を除きその基本的構成が上記実施例と同様であるため、上記実施例と同様の構成には同一の符号を付し、上記実施例の説明と重複することになる説明を省略する。また、図7は、理解し易くするために模式的に示している。   Since this modification has the same basic configuration as that of the above embodiment except that a plurality of seismic isolation structures 5 are provided, the same components as those in the above embodiment are denoted by the same reference numerals, and the above embodiment is implemented. A description that overlaps with the description of the example is omitted. Further, FIG. 7 is schematically shown for easy understanding.

図7(a)のように、免震構造5を備えない立体倉庫100では、地震により基礎が揺れると、立体倉庫100に伝えられた揺れは、上部へ向かうほど大きな加速度での揺れとなる。   As shown in FIG. 7A, in the three-dimensional warehouse 100 without the seismic isolation structure 5, when the foundation is shaken due to the earthquake, the vibration transmitted to the three-dimensional warehouse 100 becomes a shake with a larger acceleration toward the upper part.

一方、図7(b)に示すように一段の免震構造5を備えた立体倉庫100では、免震構造5の免震作用によって、例えば、変形量δを吸収することができる。これにより、免震構造5よりも上部への揺れの伝わりを低減できる。これにより立体倉庫100の上部の揺れを低減することができる。   On the other hand, as shown in FIG. 7B, in the three-dimensional warehouse 100 including the one-stage seismic isolation structure 5, for example, the deformation amount δ can be absorbed by the seismic isolation function of the seismic isolation structure 5. Thereby, the transmission of the vibration to the upper part rather than the seismic isolation structure 5 can be reduced. Thereby, the shaking of the upper part of the three-dimensional warehouse 100 can be reduced.

また、図7(c)に示すように、構造物を構成する柱1に、上下二段の免震構造5を設けると、二段の免震構造5の免震作用により、例えば変形量2δを吸収することができるので、上段の免震構造5よりも上部の立体倉庫100の揺れを更に低減することができる。したがって、図7(c)に示すように、構造物を構成する柱1に、免震構造5を多段に設けると、免震の際に構造物が大きく変形する揺れを吸収することができる。   Further, as shown in FIG. 7 (c), when a two-stage seismic isolation structure 5 is provided on the pillar 1 constituting the structure, for example, a deformation amount 2δ is generated by the seismic isolation action of the two-stage seismic isolation structure 5. Therefore, the shaking of the three-dimensional warehouse 100 above the upper seismic isolation structure 5 can be further reduced. Therefore, as shown in FIG. 7 (c), when the seismic isolation structure 5 is provided in multiple stages on the pillar 1 constituting the structure, it is possible to absorb a shake that greatly deforms the structure during the seismic isolation.

なお、本発明の構造物を構成する柱の免震構造は、上述の実施例に示した立体倉庫100の柱以外に、ボイラ鉄骨、立体パーキング、荷役設備等の構造物を構成する柱に適用できること、その他、本発明の要旨を逸脱しない範囲内において種々変更することができる。   In addition, the seismic isolation structure for the pillars constituting the structure of the present invention is applied to pillars constituting the structures such as boiler steel frames, three-dimensional parking, cargo handling facilities, etc. in addition to the pillars of the three-dimensional warehouse 100 shown in the above-described embodiment. Various modifications can be made without departing from the scope of the present invention.

1 柱
5 免震構造
26 拘束部材
26a 基部
26c 挟み込み部
27 柱部材
27a 端部
28 免震柱
28a フランジ
28b フランジ
100 立体倉庫(構造物)
1 pillar 5 seismic isolation structure 26 restraint member 26a base 26c sandwiching part 27 pillar member 27a end 28 seismic isolation pillar 28a flange 28b flange 100 three-dimensional warehouse (structure)

Claims (2)

端部に接続部を有し構造物の柱を構成する複数の柱部材と、
両端部に前記柱部材の端部と接続する接続部を有し、二つの前記柱部材の間に配設されて前記接続部で接続し、傾くことで構造物を構成する柱を免震する免震柱と、
前記柱部材と前記免震柱を、免震機能を持たせながら拘束する拘束部材と、を備え、
前記柱部材と前記免震柱とのいずれか一方の接続部に、外側へ出っ張る出っ張り部が形成され、
前記柱部材と前記免震柱とのいずれか他方の接続部を、前記拘束部材を固定する柱の側面とし、
前記拘束部材は、前記柱部材と前記免震柱とのいずれか他方に位置する柱の端部とで前記出っ張り部を挟み込む挟み込み部が形成され、
前記挟み込み部は、前記柱部材と前記免震柱のいずれか一方の接続部に形成された前記出っ張り部に対して前記挟み込み部が前記免震柱を傾き可能にする隙間を持っていることを特徴とする構造物を構成する柱の免震構造。
A plurality of pillar members having connection portions at the ends and constituting pillars of the structure;
It has a connection part that connects to the end part of the pillar member at both ends, is connected between the two pillar members, is connected at the connection part, and is isolated from the pillar constituting the structure by tilting. Seismic isolation columns,
A restraining member that restrains the pillar member and the seismic isolation column while having a seismic isolation function;
A protruding portion that protrudes to the outside is formed at any one of the connecting portions of the column member and the seismic isolation column,
The other connecting portion of the column member and the seismic isolation column is a side surface of the column that fixes the restraint member,
The restraining member is formed with a sandwiching portion that sandwiches the protruding portion between an end of a column located on the other of the column member and the seismic isolation column,
The sandwiching portion has a gap that enables the sandwiching portion to tilt the seismic isolation column with respect to the projecting portion formed in one of the connection portions of the column member and the seismic isolation column. Seismic isolation structure for pillars that make up the characteristic structure.
隙間を持って配された前記挟み込み部は、内側へ傾いていることを特徴とする請求項1に記載の構造物を構成する柱の免震構造。   2. The seismic isolation structure for a column constituting the structure according to claim 1, wherein the sandwiching portions arranged with a gap are inclined inward.
JP2017086017A 2017-04-25 2017-04-25 Seismic isolation structure for pillars constituting the structure Active JP6414271B2 (en)

Priority Applications (1)

Application Number Priority Date Filing Date Title
JP2017086017A JP6414271B2 (en) 2017-04-25 2017-04-25 Seismic isolation structure for pillars constituting the structure

Applications Claiming Priority (1)

Application Number Priority Date Filing Date Title
JP2017086017A JP6414271B2 (en) 2017-04-25 2017-04-25 Seismic isolation structure for pillars constituting the structure

Related Parent Applications (1)

Application Number Title Priority Date Filing Date
JP2013154372A Division JP6232803B2 (en) 2013-07-25 2013-07-25 Seismic isolation structure for pillars constituting the structure

Publications (2)

Publication Number Publication Date
JP2017166318A true JP2017166318A (en) 2017-09-21
JP6414271B2 JP6414271B2 (en) 2018-10-31

Family

ID=59913028

Family Applications (1)

Application Number Title Priority Date Filing Date
JP2017086017A Active JP6414271B2 (en) 2017-04-25 2017-04-25 Seismic isolation structure for pillars constituting the structure

Country Status (1)

Country Link
JP (1) JP6414271B2 (en)

Citations (2)

* Cited by examiner, † Cited by third party
Publication number Priority date Publication date Assignee Title
JP2002302376A (en) * 2001-04-04 2002-10-18 Ishikawajima Harima Heavy Ind Co Ltd Seismic isolation structure
JP2003004097A (en) * 2001-06-19 2003-01-08 Ishikawajima Harima Heavy Ind Co Ltd Horizontal 2-axis seismic isolation device for steel structures

Patent Citations (2)

* Cited by examiner, † Cited by third party
Publication number Priority date Publication date Assignee Title
JP2002302376A (en) * 2001-04-04 2002-10-18 Ishikawajima Harima Heavy Ind Co Ltd Seismic isolation structure
JP2003004097A (en) * 2001-06-19 2003-01-08 Ishikawajima Harima Heavy Ind Co Ltd Horizontal 2-axis seismic isolation device for steel structures

Also Published As

Publication number Publication date
JP6414271B2 (en) 2018-10-31

Similar Documents

Publication Publication Date Title
JP2015224482A (en) Seismically isolated structure
JP7132867B2 (en) friction damper
JP2014141314A (en) Vibration control structure of rack warehouse and vibration damping method of existing rack warehouse
JPH1130279A (en) Base isolator
JP6414271B2 (en) Seismic isolation structure for pillars constituting the structure
JP6168151B2 (en) Seismic isolation structure
JP6232803B2 (en) Seismic isolation structure for pillars constituting the structure
JP6398281B2 (en) Seismic isolation structure
JP6107955B2 (en) Seismic isolation structure and structure of pillars constituting the structure
JP6753072B2 (en) Seismic isolation device
JP6303736B2 (en) Seismic isolation structure and seismic isolation device having the seismic isolation structure
JP4775175B2 (en) Load support device for load storage rack
JP6123546B2 (en) Seismic isolation structure for pillars constituting the structure
JP3157352U (en) Elliptical leaf spring unit, elliptical multi-stage leaf spring device, vertical vibration damping device, horizontal uniaxial vibration damping device, and upper and lower floor seismic isolation device
JP2015028250A (en) Base-isolation structure of column constituting structure
JP7233280B2 (en) Rack damping structure
JP2015205751A (en) seismic isolation structure
JP2015209322A (en) Base isolation structure
JP2015197016A (en) Base-isolation construction
JPH0615795B2 (en) Anti-vibration and seismic combination structure of multiple tower structures
JP6398269B2 (en) Seismic isolation structure
JP2021067012A (en) Seismic control structure
JP2015218468A (en) Quake-absorbing structure
JP6716946B2 (en) Seismic isolation device
WO2013058026A1 (en) Rack device for automated warehouse

Legal Events

Date Code Title Description
A977 Report on retrieval

Free format text: JAPANESE INTERMEDIATE CODE: A971007

Effective date: 20180412

A131 Notification of reasons for refusal

Free format text: JAPANESE INTERMEDIATE CODE: A131

Effective date: 20180417

A521 Request for written amendment filed

Free format text: JAPANESE INTERMEDIATE CODE: A523

Effective date: 20180529

TRDD Decision of grant or rejection written
A01 Written decision to grant a patent or to grant a registration (utility model)

Free format text: JAPANESE INTERMEDIATE CODE: A01

Effective date: 20180904

A61 First payment of annual fees (during grant procedure)

Free format text: JAPANESE INTERMEDIATE CODE: A61

Effective date: 20180917

R151 Written notification of patent or utility model registration

Ref document number: 6414271

Country of ref document: JP

Free format text: JAPANESE INTERMEDIATE CODE: R151