JP2017109537A - 運転者監視カメラ配置構造 - Google Patents

運転者監視カメラ配置構造 Download PDF

Info

Publication number
JP2017109537A
JP2017109537A JP2015243815A JP2015243815A JP2017109537A JP 2017109537 A JP2017109537 A JP 2017109537A JP 2015243815 A JP2015243815 A JP 2015243815A JP 2015243815 A JP2015243815 A JP 2015243815A JP 2017109537 A JP2017109537 A JP 2017109537A
Authority
JP
Japan
Prior art keywords
driver
monitoring camera
instrument
meter
instrument panel
Prior art date
Legal status (The legal status is an assumption and is not a legal conclusion. Google has not performed a legal analysis and makes no representation as to the accuracy of the status listed.)
Pending
Application number
JP2015243815A
Other languages
English (en)
Japanese (ja)
Other versions
JP2017109537A5 (OSRAM
Inventor
栄輝 鈴木
Eiki Suzuki
栄輝 鈴木
Current Assignee (The listed assignees may be inaccurate. Google has not performed a legal analysis and makes no representation or warranty as to the accuracy of the list.)
Mercedes Benz Group AG
Original Assignee
Daimler AG
Priority date (The priority date is an assumption and is not a legal conclusion. Google has not performed a legal analysis and makes no representation as to the accuracy of the date listed.)
Filing date
Publication date
Application filed by Daimler AG filed Critical Daimler AG
Priority to JP2015243815A priority Critical patent/JP2017109537A/ja
Publication of JP2017109537A publication Critical patent/JP2017109537A/ja
Publication of JP2017109537A5 publication Critical patent/JP2017109537A5/ja
Pending legal-status Critical Current

Links

Images

Landscapes

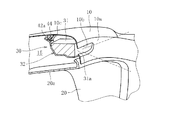
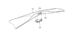
  • Instrument Panels (AREA)
JP2015243815A 2015-12-15 2015-12-15 運転者監視カメラ配置構造 Pending JP2017109537A (ja)

Priority Applications (1)

Application Number Priority Date Filing Date Title
JP2015243815A JP2017109537A (ja) 2015-12-15 2015-12-15 運転者監視カメラ配置構造

Applications Claiming Priority (1)

Application Number Priority Date Filing Date Title
JP2015243815A JP2017109537A (ja) 2015-12-15 2015-12-15 運転者監視カメラ配置構造

Publications (2)

Publication Number Publication Date
JP2017109537A true JP2017109537A (ja) 2017-06-22
JP2017109537A5 JP2017109537A5 (OSRAM) 2019-01-31

Family

ID=59079368

Family Applications (1)

Application Number Title Priority Date Filing Date
JP2015243815A Pending JP2017109537A (ja) 2015-12-15 2015-12-15 運転者監視カメラ配置構造

Country Status (1)

Country Link
JP (1) JP2017109537A (OSRAM)

Citations (3)

* Cited by examiner, † Cited by third party
Publication number Priority date Publication date Assignee Title
JP2008189230A (ja) * 2007-02-07 2008-08-21 Hino Motors Ltd 運転者撮影装置
JP2013086750A (ja) * 2011-10-21 2013-05-13 Suzuki Motor Corp 車両の入力装置
JP2014172554A (ja) * 2013-03-12 2014-09-22 Calsonic Kansei Corp カメラ付き表示装置

Patent Citations (3)

* Cited by examiner, † Cited by third party
Publication number Priority date Publication date Assignee Title
JP2008189230A (ja) * 2007-02-07 2008-08-21 Hino Motors Ltd 運転者撮影装置
JP2013086750A (ja) * 2011-10-21 2013-05-13 Suzuki Motor Corp 車両の入力装置
JP2014172554A (ja) * 2013-03-12 2014-09-22 Calsonic Kansei Corp カメラ付き表示装置

Similar Documents

Publication Publication Date Title
JP5628778B2 (ja) 車載カメラの取り付け装置
US10252671B2 (en) Motor vehicle having a rear view device with no wing mirrors
JP2014033448A (ja) 車両用のミラー代替システム
US20150042797A1 (en) Motor vehicle rear side view display system
JP2013244752A (ja) 車両用インナーミラーシステム及びこの車両用インナーミラーシステムを備えた車両
JP2016037109A (ja) 後方視認装置
WO2011132344A1 (ja) カメラユニット取付方法及びカメラユニット
JP5851009B2 (ja) 車載カメラの取り付け装置
JP5260398B2 (ja) カメラ配置構造
JP2013216290A (ja) ハイマウントストップランプ
WO2012160927A1 (ja) 車両搭載カメラ
JP2015205618A (ja) 車載用サイドカメラの取り付け方法及び車載用サイドカメラ
JP2017081261A (ja) ステレオカメラのカバー
JP2017109537A (ja) 運転者監視カメラ配置構造
JP5866677B1 (ja) 電子ミラー装置
WO2016088150A1 (ja) 車載用表示装置、車両及び表示方法
JP2015074316A (ja) 車両用表示装置
JP2018016199A (ja) 車両用補機のブラケット取付構造
JP6770413B2 (ja) 車両の室内カメラ取付構造
CN110861585B (zh) 车辆用摄像单元的配置结构
JP2018107518A (ja) 車両周辺監視装置
JP2011057031A (ja) 車両後方撮像装置及びこれを用いるバックモニタシステム
JP3179907U (ja) 車両側後方撮像映像表示装置
TWM479253U (zh) 車用影像安全系統
JP2011225125A (ja) カメラ取付用補助部材

Legal Events

Date Code Title Description
A521 Request for written amendment filed

Free format text: JAPANESE INTERMEDIATE CODE: A523

Effective date: 20181214

A621 Written request for application examination

Free format text: JAPANESE INTERMEDIATE CODE: A621

Effective date: 20181214

RD02 Notification of acceptance of power of attorney

Free format text: JAPANESE INTERMEDIATE CODE: A7422

Effective date: 20181214

A977 Report on retrieval

Free format text: JAPANESE INTERMEDIATE CODE: A971007

Effective date: 20190911

A131 Notification of reasons for refusal

Free format text: JAPANESE INTERMEDIATE CODE: A131

Effective date: 20190918

A02 Decision of refusal

Free format text: JAPANESE INTERMEDIATE CODE: A02

Effective date: 20200527