JP2017106902A - バッテリエンクロージャを備えた携帯型電子装置 - Google Patents

バッテリエンクロージャを備えた携帯型電子装置 Download PDF

Info

Publication number
JP2017106902A
JP2017106902A JP2016216234A JP2016216234A JP2017106902A JP 2017106902 A JP2017106902 A JP 2017106902A JP 2016216234 A JP2016216234 A JP 2016216234A JP 2016216234 A JP2016216234 A JP 2016216234A JP 2017106902 A JP2017106902 A JP 2017106902A
Authority
JP
Japan
Prior art keywords
electronic device
portable electronic
holder
electrical energy
energy source
Prior art date
Legal status (The legal status is an assumption and is not a legal conclusion. Google has not performed a legal analysis and makes no representation as to the accuracy of the status listed.)
Granted
Application number
JP2016216234A
Other languages
English (en)
Other versions
JP6360867B2 (ja
Inventor
パスカル・ラゴルゲット
Lagorgette Pascal
ヴィットリオ・ザネスコ
Zanesco Vittorio
ラファエル・バルメ
Balmer Raphael
Current Assignee (The listed assignees may be inaccurate. Google has not performed a legal analysis and makes no representation or warranty as to the accuracy of the list.)
ETA SA Manufacture Horlogere Suisse
Original Assignee
ETA SA Manufacture Horlogere Suisse
Priority date (The priority date is an assumption and is not a legal conclusion. Google has not performed a legal analysis and makes no representation as to the accuracy of the date listed.)
Filing date
Publication date
Application filed by ETA SA Manufacture Horlogere Suisse filed Critical ETA SA Manufacture Horlogere Suisse
Publication of JP2017106902A publication Critical patent/JP2017106902A/ja
Application granted granted Critical
Publication of JP6360867B2 publication Critical patent/JP6360867B2/ja
Active legal-status Critical Current
Anticipated expiration legal-status Critical

Links

Images

Classifications

    • HELECTRICITY
    • H05ELECTRIC TECHNIQUES NOT OTHERWISE PROVIDED FOR
    • H05KPRINTED CIRCUITS; CASINGS OR CONSTRUCTIONAL DETAILS OF ELECTRIC APPARATUS; MANUFACTURE OF ASSEMBLAGES OF ELECTRICAL COMPONENTS
    • H05K5/00Casings, cabinets or drawers for electric apparatus
    • H05K5/0026Casings, cabinets or drawers for electric apparatus provided with connectors and printed circuit boards [PCB], e.g. automotive electronic control units
    • GPHYSICS
    • G04HOROLOGY
    • G04BMECHANICALLY-DRIVEN CLOCKS OR WATCHES; MECHANICAL PARTS OF CLOCKS OR WATCHES IN GENERAL; TIME PIECES USING THE POSITION OF THE SUN, MOON OR STARS
    • G04B37/00Cases
    • GPHYSICS
    • G04HOROLOGY
    • G04CELECTROMECHANICAL CLOCKS OR WATCHES
    • G04C10/00Arrangements of electric power supplies in time pieces
    • GPHYSICS
    • G04HOROLOGY
    • G04CELECTROMECHANICAL CLOCKS OR WATCHES
    • G04C3/00Electromechanical clocks or watches independent of other time-pieces and in which the movement is maintained by electric means
    • G04C3/008Mounting, assembling of components
    • GPHYSICS
    • G04HOROLOGY
    • G04GELECTRONIC TIME-PIECES
    • G04G17/00Structural details; Housings
    • G04G17/02Component assemblies
    • G04G17/04Mounting of electronic components
    • GPHYSICS
    • G04HOROLOGY
    • G04GELECTRONIC TIME-PIECES
    • G04G17/00Structural details; Housings
    • G04G17/02Component assemblies
    • G04G17/06Electric connectors, e.g. conductive elastomers
    • GPHYSICS
    • G04HOROLOGY
    • G04GELECTRONIC TIME-PIECES
    • G04G19/00Electric power supply circuits specially adapted for use in electronic time-pieces
    • HELECTRICITY
    • H01ELECTRIC ELEMENTS
    • H01MPROCESSES OR MEANS, e.g. BATTERIES, FOR THE DIRECT CONVERSION OF CHEMICAL ENERGY INTO ELECTRICAL ENERGY
    • H01M50/00Constructional details or processes of manufacture of the non-active parts of electrochemical cells other than fuel cells, e.g. hybrid cells
    • H01M50/10Primary casings; Jackets or wrappings
    • H01M50/102Primary casings; Jackets or wrappings characterised by their shape or physical structure
    • H01M50/109Primary casings; Jackets or wrappings characterised by their shape or physical structure of button or coin shape
    • HELECTRICITY
    • H01ELECTRIC ELEMENTS
    • H01MPROCESSES OR MEANS, e.g. BATTERIES, FOR THE DIRECT CONVERSION OF CHEMICAL ENERGY INTO ELECTRICAL ENERGY
    • H01M50/00Constructional details or processes of manufacture of the non-active parts of electrochemical cells other than fuel cells, e.g. hybrid cells
    • H01M50/20Mountings; Secondary casings or frames; Racks, modules or packs; Suspension devices; Shock absorbers; Transport or carrying devices; Holders
    • H01M50/204Racks, modules or packs for multiple batteries or multiple cells
    • H01M50/207Racks, modules or packs for multiple batteries or multiple cells characterised by their shape
    • H01M50/216Racks, modules or packs for multiple batteries or multiple cells characterised by their shape adapted for button or coin cells
    • HELECTRICITY
    • H05ELECTRIC TECHNIQUES NOT OTHERWISE PROVIDED FOR
    • H05KPRINTED CIRCUITS; CASINGS OR CONSTRUCTIONAL DETAILS OF ELECTRIC APPARATUS; MANUFACTURE OF ASSEMBLAGES OF ELECTRICAL COMPONENTS
    • H05K5/00Casings, cabinets or drawers for electric apparatus
    • H05K5/0086Casings, cabinets or drawers for electric apparatus portable, e.g. battery operated apparatus
    • HELECTRICITY
    • H01ELECTRIC ELEMENTS
    • H01MPROCESSES OR MEANS, e.g. BATTERIES, FOR THE DIRECT CONVERSION OF CHEMICAL ENERGY INTO ELECTRICAL ENERGY
    • H01M2220/00Batteries for particular applications
    • H01M2220/30Batteries in portable systems, e.g. mobile phone, laptop
    • YGENERAL TAGGING OF NEW TECHNOLOGICAL DEVELOPMENTS; GENERAL TAGGING OF CROSS-SECTIONAL TECHNOLOGIES SPANNING OVER SEVERAL SECTIONS OF THE IPC; TECHNICAL SUBJECTS COVERED BY FORMER USPC CROSS-REFERENCE ART COLLECTIONS [XRACs] AND DIGESTS
    • Y02TECHNOLOGIES OR APPLICATIONS FOR MITIGATION OR ADAPTATION AGAINST CLIMATE CHANGE
    • Y02EREDUCTION OF GREENHOUSE GAS [GHG] EMISSIONS, RELATED TO ENERGY GENERATION, TRANSMISSION OR DISTRIBUTION
    • Y02E60/00Enabling technologies; Technologies with a potential or indirect contribution to GHG emissions mitigation
    • Y02E60/10Energy storage using batteries

Landscapes

  • Physics & Mathematics (AREA)
  • General Physics & Mathematics (AREA)
  • Engineering & Computer Science (AREA)
  • Power Engineering (AREA)
  • Chemical & Material Sciences (AREA)
  • Chemical Kinetics & Catalysis (AREA)
  • Electrochemistry (AREA)
  • General Chemical & Material Sciences (AREA)
  • Microelectronics & Electronic Packaging (AREA)
  • Battery Mounting, Suspending (AREA)
  • Electric Clocks (AREA)
  • Electromechanical Clocks (AREA)

Abstract

【課題】筐体内部にバッテリを良好に保持するバッテリエンクロージャを設けた携帯型電子装置を提供する。
【解決手段】少なくとも1つの電子モジュール1を備える携帯型電子装置であって、電子モジュール1は、特に、電気エネルギー供給源5を受け入れるために配置された空洞4を設けた主プレート2と、プリント配線3に関連付けられた少なくとも1つのムーブメント7と、電気エネルギー供給源5とプリント配線3との間の電気的接続を保証するための弾性的に変形可能な接触部材6と、電気エネルギー供給源5を保持するための手段とを備え、電気エネルギー供給源5を保持するための手段は、電気エネルギー供給源5を受け入れるように配置された、絶縁材料で作られた取り外し可能なホルダ41を備え、且つ決まった場所に電気エネルギー供給源5を保持するための取り外し可能な留め金を備え、ホルダ41は、空洞内部に挿入されるように構成される。
【選択図】図1

Description

本発明は、時計製作術の分野に関し、特に、電池バッテリ又はその類似物のような蓄電池によって動力供給される、少なくとも1つの電子回路又は電気回路を備える腕時計の分野に関する。本発明は、より具体的には、標準的なバッテリエンクロージャを設けた携帯型電子装置に関する。
先行技術は、バッテリ取り付け装置に関する多数の文献を備える。
特許文献1は、電子腕時計のケース内部に電池バッテリを取り付けるための装置を開示している。この装置は、特に、プラスチック材料から成形された実質的に円筒形の筐体と、腕時計の裏面上の開口部とを備える。筐体は、その周辺上に舌部を備え、該舌部は、底部から開口部に向けて延在し、且つ、好ましくは、筐体と一体で成形される。バッテリが筐体内部に取り付けられる場合、各舌部は、開口部の側に向けられたバッテリの面上に支持領域を形成するように配置される。取り付けは、舌部を弾性的に変形させることによって達成される。
しかしながら、この特別な構造は欠点を有し、その欠点とは、バッテリを筐体内に導入するために、バッテリは、筐体の開口部を通して、傾けて挿入しなければならないということである。従って、この挿入を、自動化された組立ラインで実施することは困難である。
そのような装置はまた、衝撃がある場合、バッテリが、決まった場所に適切に保持されないかもしれないという欠点を有する。確かに、もし衝撃が十分に強烈である場合、バッテリ(これは、腕時計の構成要素に比較して、かなり大きな質量を有する)は、ある方向に突き出されるかもしれず、その結果として、バッテリは、弾性的な舌部を変形させ、且つ筐体から離れる可能性があるが、このことは、腕時計への電力供給を中断させるリスクとなるかもしれない。
この装置の更に別の欠点は、バッテリの口径直径又は高さが変化する場合、プラスチック筐体を調整し、且つ新しい成形品を注文しなければならないが、このことは、新しい型式の各々に対して、追加開発及び設備コストを伴う。
国際公開第01/77760A1号パンフレット
本発明の目的は、これら既知技術の様々な欠点を克服することである。
より具体的には、本発明の目的は、バッテリエンクロージャを設けた携帯型電子装置を提供することであり、このバッテリエンクロージャは、その筐体内部にバッテリを良好に保持することを提供する。
また、本発明の目的は、少なくとも特定の実施形態において、実施するのが簡単且つ安価であるバッテリエンクロージャを設けた携帯型電子装置を提供することである。
本発明の更に別の目的は、幾つかのバッテリの厚さ、携帯型電子装置のための異なるムーブメント、及びムーブメントの様々な角度位置と両立するバッテリエンクロージャを提供することである。
これらの目的は、以下でより明らかとなる他の事柄に加えて、少なくとも1つの電子モジュールを備える携帯型電子装置を用いて、本発明によって達成される。ここで電子モジュールは、特に、電気エネルギー供給源を受け入れるために配置された空洞を設けた主プレートと、プリント配線に関連付けられた少なくとも1つのムーブメントと、電気エネルギー供給源とプリント配線との間の電気的接続を保証するための弾性的に変形可能な接触部材と、電気エネルギー供給源を保持するための手段と、を備える。
本発明によれば、電気エネルギー供給源を保持するための手段は、
・底部及び壁を備える、絶縁材料で作られた取り外し可能なホルダであって、該取り外し可能なホルダは電気エネルギー供給源を受け入れるように配置され、且つ電気エネルギー供給源を決まった場所に保持するための取り外し可能な留め金を備え、該取り外し可能なホルダは、空洞の内部に挿入されるように構成される、取り外し可能なホルダと、
・プリント配線と留め金との間の電気的接続を保証するための接触手段と、
・モジュールにホルダを取り外し可能に固定するための固定手段と、
を備える。
従って、本発明の主題は、上で説明した様々な機能的且つ構造的な態様を通して、携帯型電子装置を獲得することを可能にするが、この携帯型電子装置は、バッテリが適切に保持されるかどうかについて心配することなく、異なるサイズの口径及び/又は異なるサイズのバッテリを受け入れることが可能である。
本発明の他の有利な変形例に従えば、
・留め金はホルダの底部にわたって延在する中央部分と、環状壁の一部分にわたって延在する側面部分とを備え、中央部分及び側面部分は各々が、電気エネルギー供給源に対して、それぞれ軸方向の力及び半径方向の力を及ぼすための、少なくとも1つの細片状ばねを備え、
・プリント配線と留め金との間の電気的接続を保証するための接触手段は、ばねの形態を取り、
・ホルダの壁は、ホルダの高さの全部又は一部にわたって延在する筐体を有し、且つばねを受け入れるように配置され、ばねは、筐体の両側から突出し、
・留め金は舌部を備え、この舌部は、ホルダの底部の直ぐ近くにある開口部に挿入されるように配置され、且つ筐体の中に出現し、その結果、ばねが、舌部及びプリント配線と接触しており、
・留め金は、ホルダの中にパチンと留められ、
・モジュールにホルダを固定するための手段は、ねじ手段と連携する固定用突起を備え、
・ホルダはプラスチック材料で作られ、
・接触部材は負極と接触しており、且つ留め金は正極と接触している。
本発明の他の特性及び利点は、本発明の特定の実施形態に関する次の説明を読むにあたり、より明らかなものとして見えてくるであろう。ここで特定の実施形態は、例証的であり且つ非限定的な例、及び添付図として、単に与えられるものである。
本発明による携帯型電子装置のための電子モジュールの斜視図である。 本発明による電気エネルギー供給源を保持するための手段の斜視図である。 本発明による電気エネルギー供給源を保持するための手段の斜視図である。 本発明による電気エネルギー供給源を保持するための手段の断面図である。 本発明による電気エネルギー供給源を保持するための手段の斜視図である。
特定の実施形態による携帯型電子装置は、図1から図5を合わせて参照しながら、今から以下に説明されることになる。
本発明は携帯型電子時計装置、特に腕時計に関し、この腕時計は、電子モジュール1又は電気モジュール1を収容するための、少なくとも1つのケース中央部及び裏面カバー(図に表されていない)を備える。このモジュール1は、空洞4を有する主プレート2を備え、ここで空洞4は、ボタン電池バッテリのような電気エネルギー供給源5を受け入れるように配置される。このモジュール1はまた、プリント配線3に関連付けられた少なくとも1つのムーブメント7を備え、ここでプリント配線3は、電気エネルギー供給源5とプリント配線3との間の電気的接続を保証するための、少なくとも1つの接触部材6を有する。
本発明の、好ましいが、しかし非限定的であるバージョンにおいて、接触部材6は、弾性的に変形可能であり、且つ細片状ばねの形態で作られる。
図1に見られるように、電気エネルギー供給源5が空洞4の内部に置かれる場合、接触部材6は、電気エネルギー供給源5を圧迫するように配置される。支持(これは、電気的支持及び機械的支持の両方である)は、接触部材6の特別な形状の結果として達成され、且つその効果は、部材6を応力下に置くことによって増幅されるが、この応力は、電気エネルギー供給源5によって、ケース裏面2に向けて及ぼされる圧縮応力によるものである。
本発明によれば、携帯型電子装置は、電気エネルギー供給源5を保持するための手段を備え、ここで電気エネルギー供給源5は、空洞4の内部に挿入されるように構成されるが、その目的は、短絡を避けながら、決まった場所に電気エネルギー供給源5を容易に設置することである。
図2から図5において観察できるように、保持手段は、絶縁材料で作られた取り外し可能なホルダ41を備えるが、ここでホルダ41は、電気エネルギー供給源5を受け入れるように配置された筐体40を形成するために、底部42と、底部42から延在する環状壁43とを有する。本発明の、好ましいが、しかし非限定的であるバージョンにおいて、ホルダ41は、電気エネルギー供給源5をモジュール1から絶縁するために、プラスチック材料で作られる。
本発明の変形例によれば、選択されたムーブメント7に依存して、空洞4は、主プレート2上の異なる場所において、機械加工することが可能である。確かに、計数器の位置は、型式によって変更されるかもしれないため、モータの位置もまた、変更されるかもしれない。そして、このことが、主プレート2上のモジュール1内部にホルダ41を置くことに関して影響を及ぼさないという条件で、空洞4の機械加工の位置を変える必要があるかもしれない。
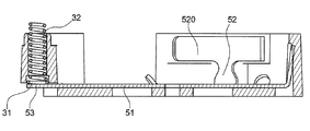
ホルダ41はまた、電気エネルギー供給源5を決まった場所に保持するための、取り外し可能な留め金50を備える。留め金50は、ホルダ41の底部にわたって延在する円形状の中央部分51と、環状壁43の一部分にわたって延在する側面部分52とを備え、中央部分51及び側面部分52は各々が、電気エネルギー供給源上に対して、それぞれ軸方向の力及び半径方向の力を及ぼすための、少なくとも1つの細片状ばね510、520を備えるが、その目的は、電気エネルギー供給源5を決まった場所に保持すると共に、電気エネルギー供給源5それ自体が回転することを防止することである。留め金50は、ホルダ41の壁の内側面上に形成された補足部分54を用いて、側面部分を通して、ホルダ41の中にパチンと留めてもよい。
本発明の好ましい実施形態によれば、留め金50(中央部分51及び側面部分52によって形形される)は、例えば、銅又は真鍮のような導電性材料で作られた単一部品から、型押し方法によって得られる。
電気エネルギー供給源5及びホルダ41のそれぞれの寸法は、次のようである。即ち、ホルダ41は、電気エネルギー供給源5を収容することが可能であるが、その場合、電気エネルギー供給源5の下面501は、ホルダ41の底部に位置する留め金50の中央部分51に対して重みをかけており、且つ電気エネルギー供給源5の縁部502は、留め金の側面部分52に対して、及び環状壁43の内側表面に対して重みをかけている。
本発明によれば、留め金は電気エネルギー供給源5の正極と接触しており、且つ接触部材6は電気エネルギー供給源5の負極と接触している。もちろん、2つの極を逆にすることは可能であり、その場合は結果として、留め金は負極と接触している。
保持手段はまた、プリント配線3と留め金50との間の電気的接続を保証するための接触手段を備える。本発明の好ましい実施形態によれば、接触手段は、良好な導電性を有する材料で作られた螺旋タイプばね30の形態を取る。
図2から図5に見られるように、ホルダ41は、その壁43の外側面上に、ホルダ41の頂部の全部又は一部にわたって延在し、且つホルダ41と一体化している管状筐体44を有する。管状筐体44は、円形断面の貫通孔440を備えるが、この貫通孔440は、ばね30を受け入れるように配置され、このばねは、管状筐体44の各端部で両側に突出する。有利なことに、ばね63は、ばね基部31と呼ばれる一方の端部を有し、これは、停止部を形成するように貫通孔440の直径よりも広く、その結果、ばね30は、筐体44の内部の決まった場所に保持され、ばねの他方の端部32は、管状筐体44から突出する。
プリント配線3と留め金50との間の電気的接続を保証するために、留め金50は舌部53を備えるが、この舌部53は、ホルダ41の底部42の直ぐ近くにある開口部45の中に挿入されるように配置され、且つ筐体44の一方の端部に出現し、その結果、ばね30、及びより具体的にはばね基部31は、その端部の各々によって、舌部53及びプリント配線3と接触している。
一旦電気エネルギー供給源5がホルダ内部に置かれると、ホルダ41をモジュール1上の決まった場所に保つために、モジュール1に対してホルダ41を取り外し可能に固定するための、固定手段がホルダ41の外側に設けられる。
図に表されるように、固定手段は、互いに対して反対側にある固定用突起46よって形成され、且つ各々は、モジュール1の中にねじ込むことが意図されたねじ軸が通過するための孔47を有する。
電気エネルギー供給源5を保持するための手段は、次のように、決まった場所に設置される。
先ず第1に、ばね30が、底部から貫通孔440を通って、管状筐体44の中に挿入され、その結果、ばね基部31は、開口部45の直ぐ近くにあるホルダ41の底部と同じレベルにある。次に、留め金50が、ホルダ41の筐体40の中に傾けて挿入されるが、この挿入は、先ず舌部53を開口部45の中に挿入することによって行われる。留め金50の中央部分51は、その後、ホルダ41の底部42にわたって折り下げられ、且つ留め金50の側面部分52を用いて、ホルダの中にパチンと留められるが、このことは、一旦留め金50が筐体40の中にパチンと留められると、ばね30の基部31に対して舌部53を押し付ける効果を有する。
電気エネルギー供給源5をホルダ41の中に挿入することは、次のように達成される。即ち、ホルダの底部42の反対側で、電気エネルギー供給源5の下面501を位置決めし、且つ、その後、電気エネルギー供給源5の上面503に対して、ホルダの底部42の方向に圧力を及ぼすことによって達成される。この動作の間、側面部分52の、少なくとも1つの細片状ばね520は、電気エネルギー供給源5の側面502によって、環状壁43に向けて押し戻されるが、このことは、細片状ばね520の弾性的変形を引き起こし、これによって、電気エネルギー供給源5を半径方向に良好に保持することを保証する。
更に、中央部分51の、少なくとも1つの細片状ばね510は、ホルダの底部42に向けて押し戻されるが、このことは、細片状ばね510の弾性的変形を引き起こし、且つ、これによって、電気エネルギー供給源5を軸方向に良好に保持することを保証する。
一旦電気エネルギー供給源5が、ホルダ41の筐体40の内部で係合すると、ホルダ41は空洞4の内部に置かれるが、それによって、接触部材6に対して上面503を位置決めし、且つモジュール1における対応する孔に関して固定用突起46を整列させる。
ホルダ41が決まった場所に設置される場合、接触部材6は、主プレート2に向けて押し戻されると共に、応力下に置かれ、且つばね30の端部32は、接触領域33上でプリント配線3と接触するように置かれるが、このことは、電気エネルギー供給源5との電気的接触を保証する。
更に、電気エネルギー供給源5の交換のような保守点検作業の間、保守点検は、ホルダ41の透かし彫り構造によって促進されるが、ここでホルダ41の透かし彫り構造は、電気エネルギー供給源5の容易な取り外しを可能にする。ホルダ41の透かし彫り構造はまた、電気エネルギー供給源5の周りで空気の流れを促進するという利点を有する。
本発明の、これら異なる態様の結果として、多くのサイズのバッテリ及び異なるサイズの口径に適合することが可能な携帯型電子装置が得られる。本発明はまた、ムーブメントの異なる角度位置に適合することを可能にするが、その理由は、空洞4を形成するために要求される機械加工を、主プレート2上の異なる場所で実施してもよいからである。例えば、計数器の位置が変更される場合、モータの位置もまた変更され、且つホルダ41を受け入れるための空洞の機械加工については、電気エネルギー供給源5を保持するための新しい部品を考案する必要はなく、単に位置を変えることが可能である。
上記の説明は、好ましい実施形態に対応し、且つ、決して限定的であると考えるべきではなく、より具体的には、取り付け装置を形成する様々な構造的要素、又はそれらの材料に対して説明された形状に関して、決して限定的であると考えるべきではない。
1 モジュール
2 プレート
3 プリント配線
4 空洞
5 電気エネルギー供給源
6 接触部材
7 ムーブメント
30 ばね
31 ばね基部
32 ばねの自由端
33 プリント配線の接触領域
40 筐体
41 ホルダ
42 ホルダの底部
43 ホルダの壁
44 管状筐体
440 貫通孔
45 開口部
46 固定用突起
47 孔
50 留め金
51 留め金の中央部分
52 留め金の側面部分
53 舌部
54 補足部分
501 下面
502 側面
503 上面
510、520 留め金細片状ばね

Claims (9)

  1. 少なくとも1つの電子モジュール(1)を備える携帯型電子装置であって、前記電気モジュールは、特に、電気エネルギー供給源(5)を受け入れるために配置された空洞(4)を設けた主プレート(2)と、プリント配線(3)に関連付けられた少なくとも1つのムーブメント(7)と、前記電気エネルギー供給源(5)と前記プリント配線(3)との間の電気的接続を保証するための弾性的に変形可能な接触部材(6)と、前記電気エネルギー供給源(5)を保持するための手段とを備える、携帯型電子装置において、
    前記電気エネルギー供給源(5)を保持するための前記手段は、
    ・底部(42)及び環状壁(43)を備える、絶縁材料で作られた取り外し可能なホルダ(41)であって、前記ホルダ(41)は、前記電気エネルギー供給源(5)を受け入れるように配置され、且つ前記電気エネルギー供給源(5)を決まった場所に保持するための取り外し可能な留め金(50)を備え、前記ホルダ(41)は、前記空洞(4)の内部に挿入されるように構成される、取り外し可能なホルダ(41)と、
    ・前記プリント配線(3)と前記留め金(50)との間の電気的接続を保証するための接触手段と、
    ・前記モジュール(1)に前記ホルダ(41)を取り外し可能に固定するための固定手段と、
    を備えることを特徴とする、携帯型電子装置。
  2. 請求項1に記載の携帯型電子装置であって、
    前記留め金(50)は、前記ホルダ(41)の前記底部(42)にわたって延在する中央部分(51)と、前記環状壁(43)の一部分にわたって延在する側面部分(52)とを備え、前記中央部分(51)及び前記側面部分(52)は各々が、前記電気エネルギー供給源(5)に対して、それぞれ軸方向の力及び半径方向の力を及ぼすための、少なくとも1つの細片状ばね(510,520)を備えることを特徴とする、携帯型電子装置。
  3. 請求項1又は2に記載の携帯型電子装置であって、
    前記プリント配線(3)と前記留め金(50)との間の前記電気的接続を保証するための前記接触手段は、ばね(30)の形態を取ることを特徴とする、携帯型電子装置。
  4. 請求項3に記載の携帯型電子装置であって、
    前記ホルダ(41)の前記壁(43)は、前記ホルダ(41)の頂部の全部又は一部にわたって延在する筐体(40)を有し、且つ前記ばね(30)を受け入れるように配置され、前記ばね(30)は、前記筐体(40)の両側から突出することを特徴とする、携帯型電子装置。
  5. 請求項4に記載の携帯型電子装置であって、
    前記留め金(50)は、前記ホルダ(41)の前記底部(42)の直ぐ近くにある開口部(45)に挿入されるように配置され、且つ前記筐体(40)の中に出現する舌部(53)を備え、その結果、前記ばね(30)は、前記舌部(53)及び前記プリント配線(3)に接触していることを特徴とする、携帯型電子装置。
  6. 請求項1から5のいずれか一項に記載の携帯型電子装置であって、
    前記留め金(50)は、前記ホルダ(41)の中にパチンと留められることを特徴とする、携帯型電子装置。
  7. 請求項1から6のいずれか一項に記載の携帯型電子装置であって、
    前記モジュール(1)に前記ホルダを固定する前記手段は、ねじ手段と連携する固定用突起(46)を備えることを特徴とする、携帯型電子装置。
  8. 請求項1から7のいずれか一項に記載の携帯型電子装置であって、
    前記ホルダ(41)は、プラスチック材料で作られることを特徴とする、携帯型電子装置。
  9. 請求項1から8のいずれか一項に記載の携帯型電子装置であって、
    前記接触部材(6)は負極と接触しており、且つ前記留め金(50)は正極と接触していることを特徴とする、携帯型電子装置。
JP2016216234A 2015-12-11 2016-11-04 バッテリエンクロージャを備えた携帯型電子装置 Active JP6360867B2 (ja)

Applications Claiming Priority (2)

Application Number Priority Date Filing Date Title
EP15199647.7A EP3179533B1 (fr) 2015-12-11 2015-12-11 Appareil électronique portable muni d'une enceinte de pile
EP15199647.7 2015-12-11

Publications (2)

Publication Number Publication Date
JP2017106902A true JP2017106902A (ja) 2017-06-15
JP6360867B2 JP6360867B2 (ja) 2018-07-18

Family

ID=55022274

Family Applications (1)

Application Number Title Priority Date Filing Date
JP2016216234A Active JP6360867B2 (ja) 2015-12-11 2016-11-04 バッテリエンクロージャを備えた携帯型電子装置

Country Status (5)

Country Link
US (1) US9877401B2 (ja)
EP (1) EP3179533B1 (ja)
JP (1) JP6360867B2 (ja)
KR (1) KR101926932B1 (ja)
CN (2) CN106959601B (ja)

Families Citing this family (5)

* Cited by examiner, † Cited by third party
Publication number Priority date Publication date Assignee Title
EP3179533B1 (fr) * 2015-12-11 2019-08-28 ETA SA Manufacture Horlogère Suisse Appareil électronique portable muni d'une enceinte de pile
EP3495897B1 (fr) * 2017-12-08 2020-08-12 ETA SA Manufacture Horlogère Suisse Piece d'horlogerie comprenant un moteur electrique fixe a une plaque d'accroche
CN109898930A (zh) * 2019-03-26 2019-06-18 吉利汽车研究院(宁波)有限公司 一种遥控钥匙
EP4016682A1 (de) * 2020-12-16 2022-06-22 Würth Elektronik Eisos Gmbh & CO. KG Halterung für eine knopfzelle, anordnung mit einer halterung und verfahren zum automatischen montieren einer halterung
CN113346195B (zh) * 2021-08-06 2021-11-05 国研新能(深圳)技术有限公司 纽扣电池组件和电子设备

Citations (3)

* Cited by examiner, † Cited by third party
Publication number Priority date Publication date Assignee Title
JPS49112270U (ja) * 1973-01-19 1974-09-25
US3945193A (en) * 1973-01-26 1976-03-23 Citizen Watch Co., Ltd. Battery holder
JP2012211893A (ja) * 2011-03-22 2012-11-01 Citizen Holdings Co Ltd 電子時計

Family Cites Families (7)

* Cited by examiner, † Cited by third party
Publication number Priority date Publication date Assignee Title
JPH11339744A (ja) 1998-05-29 1999-12-10 Amp Japan Ltd 電池ホルダ
WO2001077762A1 (fr) 2000-04-06 2001-10-18 Seiko Instruments Inc. Structure de maintien de pile pour montres et horloges
SG115592A1 (en) * 2002-12-19 2005-10-28 Eta Sa Mft Horlogere Suisse Energy source mounting device for a portable electronic apparatus
US7059894B1 (en) * 2004-12-14 2006-06-13 Huang-Chou Huang Battery seat
CH706353B1 (fr) * 2012-04-13 2017-02-28 Eta Sa Mft Horlogère Suisse Fixation de pile à contact amélioré pour pièce d'horlogerie.
AU2015395330B2 (en) * 2015-05-20 2020-09-10 Medartis Holding Ag Electrical energy source, tool kit, and method for inserting an energy source into a tool
EP3179533B1 (fr) * 2015-12-11 2019-08-28 ETA SA Manufacture Horlogère Suisse Appareil électronique portable muni d'une enceinte de pile

Patent Citations (3)

* Cited by examiner, † Cited by third party
Publication number Priority date Publication date Assignee Title
JPS49112270U (ja) * 1973-01-19 1974-09-25
US3945193A (en) * 1973-01-26 1976-03-23 Citizen Watch Co., Ltd. Battery holder
JP2012211893A (ja) * 2011-03-22 2012-11-01 Citizen Holdings Co Ltd 電子時計

Also Published As

Publication number Publication date
US9877401B2 (en) 2018-01-23
CN106959601A (zh) 2017-07-18
CN206292547U (zh) 2017-06-30
US20170171993A1 (en) 2017-06-15
KR101926932B1 (ko) 2018-12-07
EP3179533A1 (fr) 2017-06-14
CN106959601B (zh) 2019-07-19
EP3179533B1 (fr) 2019-08-28
JP6360867B2 (ja) 2018-07-18
KR20170069922A (ko) 2017-06-21

Similar Documents

Publication Publication Date Title
JP6360867B2 (ja) バッテリエンクロージャを備えた携帯型電子装置
TWI328306B (en) Energy source mounting device for a portable electronic apparatus
RU2016135228A (ru) Монолитная пластина с электрическими контактами и способы ее изготовления
US10090737B2 (en) Stator with ground contact
US7448911B2 (en) Detachable lamp socket
JP6437071B2 (ja) 磁気的クランプデバイスを有する腕時計
CN111765289A (zh) 线圈部件及具有其的电子膨胀阀
JP2006345599A (ja) 振動モータ
US9209535B2 (en) Device for securing a cell battery with improved contact
KR20070066107A (ko) 전기모터의 브러시 홀딩장치
HK1241050A1 (en) Portable electronic device provided with a battery enclosure
HK1241050B (zh) 设置有电池封壳的便携式电子装置
JP2009156307A (ja) 固定具
JP2016220470A (ja) 電力機器
KR101726698B1 (ko) 모터
CN108572540A (zh) 便携设备用部件的固定结构
TW201320857A (zh) 扣合式鎖固裝置及應用該扣合式鎖固裝置之電子裝置
CN218474129U (zh) 电源装置及气溶胶生成装置
CN222365702U (zh) 采样组件及电池模组
CN202121450U (zh) 便于安装的步进电机
JP2004191689A (ja) 接点ピン構造
JP6471628B2 (ja) ブラシ装置
JP5207790B2 (ja) モータ
TWI497526B (zh) 腕戴式裝置
JP2007006671A (ja) モータホルダ及びモータユニット

Legal Events

Date Code Title Description
A977 Report on retrieval

Free format text: JAPANESE INTERMEDIATE CODE: A971007

Effective date: 20170830

A131 Notification of reasons for refusal

Free format text: JAPANESE INTERMEDIATE CODE: A131

Effective date: 20170912

A521 Request for written amendment filed

Free format text: JAPANESE INTERMEDIATE CODE: A523

Effective date: 20171212

TRDD Decision of grant or rejection written
A01 Written decision to grant a patent or to grant a registration (utility model)

Free format text: JAPANESE INTERMEDIATE CODE: A01

Effective date: 20180612

A61 First payment of annual fees (during grant procedure)

Free format text: JAPANESE INTERMEDIATE CODE: A61

Effective date: 20180625

R150 Certificate of patent or registration of utility model

Ref document number: 6360867

Country of ref document: JP

Free format text: JAPANESE INTERMEDIATE CODE: R150

R250 Receipt of annual fees

Free format text: JAPANESE INTERMEDIATE CODE: R250

R250 Receipt of annual fees

Free format text: JAPANESE INTERMEDIATE CODE: R250

R250 Receipt of annual fees

Free format text: JAPANESE INTERMEDIATE CODE: R250

R250 Receipt of annual fees

Free format text: JAPANESE INTERMEDIATE CODE: R250