JP2017002560A - 張出し施工におけるプレテンション床版の構築方法 - Google Patents

張出し施工におけるプレテンション床版の構築方法 Download PDF

Info

Publication number
JP2017002560A
JP2017002560A JP2015117192A JP2015117192A JP2017002560A JP 2017002560 A JP2017002560 A JP 2017002560A JP 2015117192 A JP2015117192 A JP 2015117192A JP 2015117192 A JP2015117192 A JP 2015117192A JP 2017002560 A JP2017002560 A JP 2017002560A
Authority
JP
Japan
Prior art keywords
floor slab
pretension
tension
construction
slab
Prior art date
Legal status (The legal status is an assumption and is not a legal conclusion. Google has not performed a legal analysis and makes no representation as to the accuracy of the status listed.)
Granted
Application number
JP2015117192A
Other languages
English (en)
Other versions
JP6308502B2 (ja
Inventor
忠彦 堤
Tadahiko Tsutsumi
忠彦 堤
有次 左東
Yuji Sato
有次 左東
Current Assignee (The listed assignees may be inaccurate. Google has not performed a legal analysis and makes no representation or warranty as to the accuracy of the list.)
Fuji PS Corp
Original Assignee
Fuji PS Corp
Priority date (The priority date is an assumption and is not a legal conclusion. Google has not performed a legal analysis and makes no representation as to the accuracy of the date listed.)
Filing date
Publication date
Application filed by Fuji PS Corp filed Critical Fuji PS Corp
Priority to JP2015117192A priority Critical patent/JP6308502B2/ja
Publication of JP2017002560A publication Critical patent/JP2017002560A/ja
Application granted granted Critical
Publication of JP6308502B2 publication Critical patent/JP6308502B2/ja
Active legal-status Critical Current
Anticipated expiration legal-status Critical

Links

Images

Landscapes

  • Bridges Or Land Bridges (AREA)

Abstract

【課題】プレテンション床版の構築方法を提供する。
【解決手段】上床版と下床版とをコンクリートで構成すると共に、上床版と下床版とを波形鋼板で接続した箱形断面の桁を所定長の施工ブロック毎に、張出し施工により構築する張出し施工におけるプレテンション床版の構築方法であって、前記上床版の橋軸と直角方向へのプレストレスの導入に際して、専用のプレテンション緊張装置を使用し、前記張出し施工の1ブロック毎にプレテンション方式でプレストレスを導入し、前記プレテンション緊張装置の反力を、既設床版と反力受梁で受けると共に前記プレテンション緊張装置を波形鋼板と既設床版で保持するので、上床版に橋軸と直角方向のプレストレスを一度に負荷することができる。
【選択図】図1

Description

この発明は、波形鋼板ウェブ箱桁橋の張出し施工おけるプレテンション床版の構築方法に関するもので、特に橋軸と直角方向へのプレストレスを導入することのできるプレテンション床版の構築方法である。
従来の波形鋼板ウェブ箱桁橋では、死荷重の低減、耐荷力及び耐久性の向上を目的とし、上床版の橋軸と直角方向の構造として、PC構造を採用している場合が多い。このPC構造は、一般的にポストテンション方式でプレストレスを導入している。ポストテンション方式は、床版のコンクリート中に設けたダクト内に配置したPC鋼材をコンクリート硬化後、油圧ジャッキで緊張し、定着具により緊張力を保持することで、床版部にプレストレスを導入する。緊張完了後は、PC鋼材の防錆とPC鋼材とコンクリートの一体化を図るため、ダクト内にセメントグラウトを注入する。また、グラウト作業をなくす目的で事前にダクト内に充填された樹脂が熱や湿気により硬化するプレグラウト式のPC鋼材も使用されている。
例えば、特許文献1には、波形鋼板ウェブを使用した橋桁の構築方法が開示されている。この橋桁の構築方法は、移動架設装置及び波形鋼板ウェブを利用して1ブロック毎の型枠を支持しながら構築する方法が提案されている。
特開2008−38449号公報
しかし、特許文献1に記載された工法では、橋軸と直角方向へのプレストレスの導入が困難である。また、従来の橋軸と直角方向へのプレストレスの導入技術には以下のような課題が存在する。
a.PC鋼材を1本ごとに緊張するために、緊張作業が多くなる。また高価な定着具がPC鋼材の数だけ必要となり作業コストが嵩む。
b.PC鋼材を1本ごとに緊張するために、緊張作業の管理がPC鋼材の本数分必要であり、緊張作業の管理が煩雑であった。
c.グラウト式のPC鋼材では、グラウト作業が必要となる。また、グラウト充填作業が不十分であると、PC鋼材が腐食する可能性がある。更に、PC鋼材が腐食等で破断した場合には、PC鋼材の飛び出しによるコンクリート片剥落等により第三者災害の危険性が存在した。
d.プレグラウト式のPC鋼材の場合、シース内に充填された樹脂の硬化までは、コンクリートとPC鋼材との一体化が確保できず、作業に時間を要した。
本発明は、波形鋼板ウェブ箱桁橋の上床版をプレテンション方式でプレストレスを導入するPC構造とすることで、PC鋼材とコンクリートの付着によりプレストレスを導入するため、定着具、ダクト及びグラウト作業が不要となり、施工性、経済性及び耐久性に優れた張出し施工におけるプレテンション床版の構築方法を提供するものである。
この発明は、以下のような内容である。
(1)本発明の張出し施工におけるプレテンション床版の構築方法は、上床版と下床版とをコンクリートで構成すると共に、上床版と下床版とを波形鋼板で接続した箱形断面の桁を所定長の施工ブロック毎に、張出し施工により構築する張出し施工におけるプレテンション床版の構築方法であって、前記上床版の橋軸と直角方向へのプレストレスの導入に際して、専用のプレテンション緊張装置を使用し、前記張出し施工の1ブロック毎にプレテンション方式でプレストレスを導入し、前記プレテンション緊張装置の反力を、既設床版と反力受梁で受けると共に前記プレテンション緊張装置を波形鋼板と既設床版で保持することを特徴とする。
(2)前記プレテンション緊張装置は、左右一対の緊張梁と、反力受梁と、反力受台、油圧ジャッキを備え、左右の緊張梁間に張り渡されると共に新上床版内を貫通したPC鋼材に張力を負荷し、上床版コンクリートの硬化後に張力を解除することを特徴とする。
この発明の張出し施工におけるプレテンション床版の構築方法によれば、上床版と下床版とをコンクリートで構成すると共に、上床版と下床版とを波形鋼板で接続した箱形断面の桁を所定長の施工ブロック毎に、張出し施工により構築する張出し施工におけるプレテンション床版の構築方法であって、前記上床版の橋軸と直角方向へのプレストレスの導入に際して、専用のプレテンション緊張装置を使用し、前記張出し施工の1ブロック毎にプレテンション方式でプレストレスを導入し、前記プレテンション緊張装置の反力を、既設床版と反力受梁で受けると共に前記プレテンション緊張装置を波形鋼板と既設床版で保持するので、プレテンション緊張装置を支えるための移動車等の設備を省略することができる。また、プレテンション方式では、PC鋼材とコンクリートとが付着力により一体化されているので、PC鋼材が途中で切断された場合でも、床版全体のプレストレスが喪失することがない。更に、PC鋼材が飛び出す虞がなく、コンクリート片の落下による第3者被害の危険性が低い。また、プレテンション方式では、プレストレスの導入に必要な定着具が必要ないため、ポストテンション方式に比べて経済的である。また、張出しブロック全体のPC鋼材を一度に緊張するため、緊張作業の省力化が図れ、緊張力管理の精度も向上する。
また、前記プレテンション緊張装置は、左右一対の緊張梁と、反力受梁と、反力受台、油圧ジャッキを備え、左右の緊張梁間に張り渡されると共に新上床版内を貫通したPC鋼材に張力を負荷し、上床版コンクリートの硬化後に張力を解除するので、張出しブロック全体のPC鋼材を一度に緊張することができ、緊張作業の省力化が図れる。また、緊張力管理の精度も向上する。
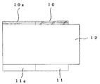
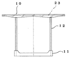
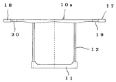
本発明の張出し施工におけるプレテンション床版の構築方法に於けるプレテンション床版の側面図である。 同プレテンション床版の平面図である。 図2のA−A線断面図である。 図2のB−B線断面図である。 図2のC−C線断面図である。 同プレテンション床版の構築工法における新設床板の施工前の状態を示す側面図である。 同プレテンション床版の構築工法における新設床板の施工前の状態を示す断面図である。 同プレテンション床版の構築工法における緊張装置の設置及び緊張工程を示す側面図である。 同プレテンション床版の構築工法における緊張装置の設置及び緊張工程を示す断面図である。 同プレテンション床版の構築工法における床板コンクリートの打設工程を示す側面図である。 同プレテンション床版の構築工法における床板コンクリートの打設工程を示す断面図である。 同プレテンション床版の構築工法における緊張力の導入及び緊張装置の撤去工程を示す側面図である。 同プレテンション床版の構築工法における緊張力の導入及び緊張装置の撤去工程を示す断面図である。
以下、一実施の形態を示す図面に基づいて、本発明を詳細に説明する。図1は本発明の張出し施工におけるプレテンション床版の構築方法に於けるプレテンション床版の側面図、図2は本発明のプレテンション床版の平面図、図3は図2のA−A線断面図、図4は図2のB−B線断面図、図5は図2のC−C線断面図である。本発明の張出し施工におけるプレテンション床版の構築方法は、上床版10と下床版11とをコンクリートで構成すると共に、上床版10と下床版11とを波形鋼板12で接続した箱形断面の桁を所定長の施工ブロック毎に、張出し施工により構築する張出し施工する構築方法であって、上床版10の橋軸と直角方向へのプレストレスの導入に際して、専用のプレテンション緊張装置13を使用し、前記張出し施工の1ブロックW毎にプレテンション方式でプレストレスを導入し、前記プレテンション緊張装置13の反力を、既設床版10aと反力受梁14で受けると共に前記プレテンション緊張装置13を波形鋼板12と既設床版10aで保持する。
波形鋼板12は、構造用鋼板を折り曲げて断面を波板に形成し、上縁と下縁に沿って鋼板からなる上フランジ15及び下フランジ16を溶接により接合する。なお、波形鋼板12は、予め工場で製造される。
上床版10及び下床版11は、現場に構築した上床版の型枠24及び下床版の型枠25内に鉄筋を組み付けた後、コンクリートを打設して構成する。上床版10は、波形鋼板12の溶接された上フランジ15の上端と密着するように形成され、下床版11は、下フランジ16の下端と密着するように形成される。また、上フランジ15の上面及び下フランジ16の下面には図示しないアングルジベル、スタッドジベル等のずれ止め部材がされており、新設する上床版10及び下床版11に埋設される。このため上床版10及び下床版11は、波形鋼板12と一体的に固定される。
次に、上床版10への橋軸と直角方向へのプレストレスの導入方法について説明する。先ず、図1、2に示すように張出し施工の波形鋼板12と既設の上床版10aによってプレテンション緊張装置13を保持する。
プレテンション緊張装置13は、左右一対の緊張梁17、18と、反力受梁14と、反力受台19、油圧ジャッキ20を備えており、平面視で略コ字状に形成されている。緊張梁17、18には、PC鋼材23を緊張する為のPC鋼材定着具21が複数配置されている。また、緊張梁17の基端には上床版10aと対抗する方向に反力受台19が突出形成されており、設置した際に上床版10の端部に当接する。更に、緊張梁18の基端には上床版10aと対抗する方向に油圧ジャッキ20が突出配置されており、設置した際に上床版10の端部に当接してプレテンション緊張装置13を固定する。また、プレテンション緊張装置13の前面側に配置された反力受梁14の緊張梁18と対抗する部位に油圧ジャッキ22が配置されている。
次に、本発明の張出し施工におけるプレテンション床版の構築方法の各工程について、図6〜13に従って説明する。図6は、新設床版の施工前の状態を示し、既設の上床版10a、下床版11a及び張出し施工の1ブロックWを含む範囲で前方向に伸びた波形鋼板12が形成されている。図7は、波形鋼板部位の断面図である。
図8〜9は、上床版の型枠24の設置、プレテンション緊張装置13の設置、PC鋼材23配置及び緊張工程を示すものである。先ず、型枠、足場を吊り下げた移動作業車を前方に移動し、上床版の型枠24を設置する。次に、既設の上床版10a及び波形鋼板12を利用してプレテンション緊張装置13を設置する。具体的には、図1、2に示すようにプレテンション緊張装置13の前端部の反力受梁14を波形鋼板12の上面に載せると共に基端部に配設された反力受台19と油圧ジャッキ20とで既設の上床版10aの側面に固定する。また、油圧ジャッキ20を駆動する場合には、油圧ジャッキ22も連動させる。プレテンション緊張装置13の固定が完了したら、上床版へ橋軸と直角方向へのプレストレスを導入する為に、左右の緊張梁17、18間に複数のPC鋼材23を張り渡した後、PC鋼材定着具21により緊張する。PC鋼材23は所定の間隔で配設する。このように、プレテンション緊張装置13の反力を、既設床版10a、11aと反力受梁14で受けると共に前記プレテンション緊張装置13を波形鋼板12と既設床版10a、11aで保持するものである。
図10〜11は、床版コンクリートの打設工程を示すものである。張出し施工の1ブロックWを含む範囲に上床版用の型枠24を形成し、コンクリートを打設して上床版10を形式する。また、下床版の型枠25を組んだ後、コンクリートを打設して下床版11を形成する。
図12〜13は、上床版10への緊張力の導入及びプレテンション緊張装置13の撤去工程を示すものである。打設したコンクリートの硬化後、型枠を取り外すと共にPC鋼材23を新設した上床版10の端部で切断する。端部を切断することで、上床版10に橋軸と直角方向のプレストレスが導入される。また、プレテンション緊張装置13も取り外す。このようにして、張出し施工の1ブロック分の上床版10が形成され、専用のプレテンション緊張装置13を使用し、張出し施工の1ブロックW毎にプレテンション方式でプレストレスを導入する。以上の工程を順次繰り返すことにより張出し施工におけるプレテンション床版を構築することができる。
更に、本発明は上述の実施例に限定されることなく、特許請求の範囲の記載に基づいて種々の設計変更が可能である。
10 上床版
11 下床版
12 波形鋼板
13 プレテンション緊張装置
14 反力受梁
15 上フランジ
16 下フランジ
17 緊張梁
18 緊張梁
19 反力受台
20 油圧ジャッキ
21 PC鋼材定着具
22 油圧ジャッキ
23 PC鋼材
24 上床版の型枠
25 下床版の型枠

Claims (2)

  1. 上床版と下床版とをコンクリートで構成すると共に、上床版と下床版とを波形鋼板で接続した箱形断面の桁を所定長の施工ブロック毎に、張出し施工により構築する張出し施工におけるプレテンション床版の構築方法であって、
    前記上床版の橋軸と直角方向へのプレストレスの導入に際して、専用のプレテンション緊張装置を使用し、前記張出し施工の1ブロック毎にプレテンション方式でプレストレスを導入し、
    前記プレテンション緊張装置の反力を、既設床版と反力受梁で受けると共に前記プレテンション緊張装置を波形鋼板と既設床版で保持することを特徴とする張出し施工におけるプレテンション床版の構築方法。
  2. 前記プレテンション緊張装置は、左右一対の緊張梁と、反力受梁と、反力受台、油圧ジャッキを備え、
    左右の緊張梁間に張り渡されると共に新上床版内を貫通したPC鋼材に張力を負荷し、上床版コンクリートの硬化後に張力を解除することを特徴とする請求項1に記載の張出し施工におけるプレテンション床版の構築方法。
JP2015117192A 2015-06-10 2015-06-10 張出し施工におけるプレテンション床版の構築方法 Active JP6308502B2 (ja)

Priority Applications (1)

Application Number Priority Date Filing Date Title
JP2015117192A JP6308502B2 (ja) 2015-06-10 2015-06-10 張出し施工におけるプレテンション床版の構築方法

Applications Claiming Priority (1)

Application Number Priority Date Filing Date Title
JP2015117192A JP6308502B2 (ja) 2015-06-10 2015-06-10 張出し施工におけるプレテンション床版の構築方法

Publications (2)

Publication Number Publication Date
JP2017002560A true JP2017002560A (ja) 2017-01-05
JP6308502B2 JP6308502B2 (ja) 2018-04-11

Family

ID=57751644

Family Applications (1)

Application Number Title Priority Date Filing Date
JP2015117192A Active JP6308502B2 (ja) 2015-06-10 2015-06-10 張出し施工におけるプレテンション床版の構築方法

Country Status (1)

Country Link
JP (1) JP6308502B2 (ja)

Cited By (3)

* Cited by examiner, † Cited by third party
Publication number Priority date Publication date Assignee Title
CN109577212A (zh) * 2019-01-23 2019-04-05 中水电第十工程局(郑州)有限公司 一种先张法预应力台座施工方法
CN110983968A (zh) * 2019-12-30 2020-04-10 扬州大学 一种预制拼装frp—型钢—混凝土组合桥面板及其施工方法
CN113202010A (zh) * 2021-05-07 2021-08-03 中交一公局集团有限公司 一种预应力混凝土现浇箱梁结构及其施工方法

Citations (10)

* Cited by examiner, † Cited by third party
Publication number Priority date Publication date Assignee Title
US4912794A (en) * 1987-03-11 1990-04-03 Campenon Bernard Btp Bridge having chords connected to each other by means of pleated steel sheets
JPH02243809A (ja) * 1989-03-16 1990-09-27 Kurosawa Kensetsu Kk カンチレバー工法による橋梁架設方法
US5596856A (en) * 1993-08-04 1997-01-28 Campenon Bernard Sge Metal girder element for constructing a hybrid elongate structure having a box-type cross section, method for employing this element, and elongate structure constructed by implementing this method
JP2000110114A (ja) * 1998-10-02 2000-04-18 Ps Corp 波形鋼板ウエブを用いた張出架設桁橋の施工方法及び張出架設作業装置
JP2002004225A (ja) * 2000-06-22 2002-01-09 Ps Corp Pc橋の張出架設方法及び装置
JP2004019126A (ja) * 2002-06-12 2004-01-22 Ps Mitsubishi Construction Co Ltd 複合pc橋の押出し架設工法及び複合pc構造
JP2004225275A (ja) * 2003-01-20 2004-08-12 Taisei Corp 波形鋼板ウエブ箱桁橋の架設装置および波形鋼板ウエブ箱桁橋の施工方法
JP2005155282A (ja) * 2003-11-28 2005-06-16 Ps Mitsubishi Construction Co Ltd Pc橋の押出し架設工法
JP2007016478A (ja) * 2005-07-07 2007-01-25 Taisei Corp リブ付き床版、リブ付き床版の製作装置及びリブ付き床版の製作方法
JP2007092313A (ja) * 2005-09-27 2007-04-12 Ps Mitsubishi Construction Co Ltd Pc波形鋼板ウエブ箱桁の構築方法

Patent Citations (10)

* Cited by examiner, † Cited by third party
Publication number Priority date Publication date Assignee Title
US4912794A (en) * 1987-03-11 1990-04-03 Campenon Bernard Btp Bridge having chords connected to each other by means of pleated steel sheets
JPH02243809A (ja) * 1989-03-16 1990-09-27 Kurosawa Kensetsu Kk カンチレバー工法による橋梁架設方法
US5596856A (en) * 1993-08-04 1997-01-28 Campenon Bernard Sge Metal girder element for constructing a hybrid elongate structure having a box-type cross section, method for employing this element, and elongate structure constructed by implementing this method
JP2000110114A (ja) * 1998-10-02 2000-04-18 Ps Corp 波形鋼板ウエブを用いた張出架設桁橋の施工方法及び張出架設作業装置
JP2002004225A (ja) * 2000-06-22 2002-01-09 Ps Corp Pc橋の張出架設方法及び装置
JP2004019126A (ja) * 2002-06-12 2004-01-22 Ps Mitsubishi Construction Co Ltd 複合pc橋の押出し架設工法及び複合pc構造
JP2004225275A (ja) * 2003-01-20 2004-08-12 Taisei Corp 波形鋼板ウエブ箱桁橋の架設装置および波形鋼板ウエブ箱桁橋の施工方法
JP2005155282A (ja) * 2003-11-28 2005-06-16 Ps Mitsubishi Construction Co Ltd Pc橋の押出し架設工法
JP2007016478A (ja) * 2005-07-07 2007-01-25 Taisei Corp リブ付き床版、リブ付き床版の製作装置及びリブ付き床版の製作方法
JP2007092313A (ja) * 2005-09-27 2007-04-12 Ps Mitsubishi Construction Co Ltd Pc波形鋼板ウエブ箱桁の構築方法

Cited By (3)

* Cited by examiner, † Cited by third party
Publication number Priority date Publication date Assignee Title
CN109577212A (zh) * 2019-01-23 2019-04-05 中水电第十工程局(郑州)有限公司 一种先张法预应力台座施工方法
CN110983968A (zh) * 2019-12-30 2020-04-10 扬州大学 一种预制拼装frp—型钢—混凝土组合桥面板及其施工方法
CN113202010A (zh) * 2021-05-07 2021-08-03 中交一公局集团有限公司 一种预应力混凝土现浇箱梁结构及其施工方法

Also Published As

Publication number Publication date
JP6308502B2 (ja) 2018-04-11

Similar Documents

Publication Publication Date Title
JP5937898B2 (ja) 箱桁橋の構築法
JP6108595B2 (ja) リブ付きプレキャストコンクリート板と、それを用いた合成床スラブと梁のコンクリート打ち分け方法
JP2007239301A (ja) 間詰めコンクリートを介在させたプレキャストコンクリート部材間一体化方法
JP6308502B2 (ja) 張出し施工におけるプレテンション床版の構築方法
JP2009221714A (ja) Pc鋼コンクリート合成桁橋及びその架設方法
KR101264577B1 (ko) 철골 콘크리트 빔 및 그의 제작 방법
JP4078367B2 (ja) 斜張ケーブルの定着構造
JP2014190116A (ja) コンクリートスラブの構築方法
JP6066981B2 (ja) 鉄筋コンクリート床版を用いた橋梁における連結構造及び鉄筋コンクリート床版を用いた既設橋梁における連結工法
KR101071647B1 (ko) 재사용 지지앵글을 이용한 철골합성 거더
JP5439016B2 (ja) 埋設型枠
KR20120078217A (ko) 기기 기초 시공 방법
JP6232190B2 (ja) 目地構成部材、コンクリート打設方法、コンクリート構造物
JP4565331B2 (ja) 床の構造
JP2005155282A (ja) Pc橋の押出し架設工法
JP2022037522A (ja) 梁の施工方法、及び梁型枠支持構造
JP5973295B2 (ja) 柱頭部の構築方法
JP6576204B2 (ja) スラブ構造の施工方法
JP2008144459A (ja) スラブ型枠、および合成床版の構築方法
KR101165587B1 (ko) 토목 건축용 다용도 패널
JP4565332B2 (ja) 段差付きスラブおよびその施工方法
JP4936183B2 (ja) プレストレストコンクリート梁及びその構築方法
JP2007239270A (ja) Pc箱桁橋
KR200432630Y1 (ko) 슬래브합성형 데크플레이트
JP2016217052A (ja) コンクリート構造物の分割施工方法およびコンクリート構造物

Legal Events

Date Code Title Description
A621 Written request for application examination

Free format text: JAPANESE INTERMEDIATE CODE: A621

Effective date: 20170307

A977 Report on retrieval

Free format text: JAPANESE INTERMEDIATE CODE: A971007

Effective date: 20171213

A131 Notification of reasons for refusal

Free format text: JAPANESE INTERMEDIATE CODE: A131

Effective date: 20171219

A521 Request for written amendment filed

Free format text: JAPANESE INTERMEDIATE CODE: A523

Effective date: 20180117

TRDD Decision of grant or rejection written
A01 Written decision to grant a patent or to grant a registration (utility model)

Free format text: JAPANESE INTERMEDIATE CODE: A01

Effective date: 20180220

A61 First payment of annual fees (during grant procedure)

Free format text: JAPANESE INTERMEDIATE CODE: A61

Effective date: 20180305

R150 Certificate of patent or registration of utility model

Ref document number: 6308502

Country of ref document: JP

Free format text: JAPANESE INTERMEDIATE CODE: R150

R250 Receipt of annual fees

Free format text: JAPANESE INTERMEDIATE CODE: R250

R250 Receipt of annual fees

Free format text: JAPANESE INTERMEDIATE CODE: R250

R250 Receipt of annual fees

Free format text: JAPANESE INTERMEDIATE CODE: R250

R250 Receipt of annual fees

Free format text: JAPANESE INTERMEDIATE CODE: R250