JP2016516618A - 成形型熱転移管理 - Google Patents

成形型熱転移管理 Download PDF

Info

Publication number
JP2016516618A
JP2016516618A JP2016509550A JP2016509550A JP2016516618A JP 2016516618 A JP2016516618 A JP 2016516618A JP 2016509550 A JP2016509550 A JP 2016509550A JP 2016509550 A JP2016509550 A JP 2016509550A JP 2016516618 A JP2016516618 A JP 2016516618A
Authority
JP
Japan
Prior art keywords
mold
heating
cooling
fluid
article
Prior art date
Legal status (The legal status is an assumption and is not a legal conclusion. Google has not performed a legal analysis and makes no representation as to the accuracy of the status listed.)
Granted
Application number
JP2016509550A
Other languages
English (en)
Other versions
JP6401244B2 (ja
Inventor
ハルフォード ベン
ハルフォード ベン
Original Assignee
サーフィス ジェネレーション リミテッド
サーフィス ジェネレーション リミテッド
Priority date (The priority date is an assumption and is not a legal conclusion. Google has not performed a legal analysis and makes no representation as to the accuracy of the date listed.)
Filing date
Publication date
Application filed by サーフィス ジェネレーション リミテッド, サーフィス ジェネレーション リミテッド filed Critical サーフィス ジェネレーション リミテッド
Publication of JP2016516618A publication Critical patent/JP2016516618A/ja
Application granted granted Critical
Publication of JP6401244B2 publication Critical patent/JP6401244B2/ja
Active legal-status Critical Current
Anticipated expiration legal-status Critical

Links

Images

Classifications

    • BPERFORMING OPERATIONS; TRANSPORTING
    • B29WORKING OF PLASTICS; WORKING OF SUBSTANCES IN A PLASTIC STATE IN GENERAL
    • B29CSHAPING OR JOINING OF PLASTICS; SHAPING OF MATERIAL IN A PLASTIC STATE, NOT OTHERWISE PROVIDED FOR; AFTER-TREATMENT OF THE SHAPED PRODUCTS, e.g. REPAIRING
    • B29C33/00Moulds or cores; Details thereof or accessories therefor
    • B29C33/02Moulds or cores; Details thereof or accessories therefor with incorporated heating or cooling means
    • B29C33/04Moulds or cores; Details thereof or accessories therefor with incorporated heating or cooling means using liquids, gas or steam
    • BPERFORMING OPERATIONS; TRANSPORTING
    • B29WORKING OF PLASTICS; WORKING OF SUBSTANCES IN A PLASTIC STATE IN GENERAL
    • B29CSHAPING OR JOINING OF PLASTICS; SHAPING OF MATERIAL IN A PLASTIC STATE, NOT OTHERWISE PROVIDED FOR; AFTER-TREATMENT OF THE SHAPED PRODUCTS, e.g. REPAIRING
    • B29C35/00Heating, cooling or curing, e.g. crosslinking or vulcanising; Apparatus therefor
    • B29C35/02Heating or curing, e.g. crosslinking or vulcanizing during moulding, e.g. in a mould
    • B29C35/0288Controlling heating or curing of polymers during moulding, e.g. by measuring temperatures or properties of the polymer and regulating the process
    • B29C35/0294Controlling heating or curing of polymers during moulding, e.g. by measuring temperatures or properties of the polymer and regulating the process using tempering units for temperature control of moulds or cores
    • BPERFORMING OPERATIONS; TRANSPORTING
    • B29WORKING OF PLASTICS; WORKING OF SUBSTANCES IN A PLASTIC STATE IN GENERAL
    • B29CSHAPING OR JOINING OF PLASTICS; SHAPING OF MATERIAL IN A PLASTIC STATE, NOT OTHERWISE PROVIDED FOR; AFTER-TREATMENT OF THE SHAPED PRODUCTS, e.g. REPAIRING
    • B29C35/00Heating, cooling or curing, e.g. crosslinking or vulcanising; Apparatus therefor
    • B29C35/16Cooling
    • BPERFORMING OPERATIONS; TRANSPORTING
    • B29WORKING OF PLASTICS; WORKING OF SUBSTANCES IN A PLASTIC STATE IN GENERAL
    • B29CSHAPING OR JOINING OF PLASTICS; SHAPING OF MATERIAL IN A PLASTIC STATE, NOT OTHERWISE PROVIDED FOR; AFTER-TREATMENT OF THE SHAPED PRODUCTS, e.g. REPAIRING
    • B29C33/00Moulds or cores; Details thereof or accessories therefor
    • B29C33/02Moulds or cores; Details thereof or accessories therefor with incorporated heating or cooling means
    • B29C33/04Moulds or cores; Details thereof or accessories therefor with incorporated heating or cooling means using liquids, gas or steam
    • B29C2033/042Meander or zig-zag shaped cooling channels, i.e. continuous cooling channels whereby a plurality of cooling channel sections are oriented in a substantial parallel direction
    • BPERFORMING OPERATIONS; TRANSPORTING
    • B29WORKING OF PLASTICS; WORKING OF SUBSTANCES IN A PLASTIC STATE IN GENERAL
    • B29CSHAPING OR JOINING OF PLASTICS; SHAPING OF MATERIAL IN A PLASTIC STATE, NOT OTHERWISE PROVIDED FOR; AFTER-TREATMENT OF THE SHAPED PRODUCTS, e.g. REPAIRING
    • B29C35/00Heating, cooling or curing, e.g. crosslinking or vulcanising; Apparatus therefor
    • B29C35/16Cooling
    • B29C2035/1616Cooling using liquids

Landscapes

  • Physics & Mathematics (AREA)
  • Health & Medical Sciences (AREA)
  • Oral & Maxillofacial Surgery (AREA)
  • Thermal Sciences (AREA)
  • Engineering & Computer Science (AREA)
  • Mechanical Engineering (AREA)
  • Moulds For Moulding Plastics Or The Like (AREA)

Abstract

複数の型ゾーンを備える、物品を形成するための型表面(110)と、各型ゾーンに加熱流体または冷却流体の流れを送るための複数の流体流路(151、152)と、各加熱流体流路を通過する流体を加熱するためのインラインヒータ(150)を備える加熱手段と、冷却流体流路を備える冷却手段とを有する型(100)を備える、物品を成形するための型システム。冷却流体流路は、加熱流体流路のインラインヒータを迂回する。

Description

本発明は、成形型の温度の管理に関する。より詳細には、本発明は、流体加熱および流体冷却を利用した成形型の温度の能動的な電力/流量管理に関する。
成形型の流体加熱は、特に特許文献1として公開された本出願人の以前の出願から知られている。同文献では、成形型の各ゾーンに個別に関連付けられた流体ベース加熱/冷却手段が論じられている一方で、制御手段は、型ゾーンを個別に加熱または冷却するように加熱/冷却手段を制御することにより、成形プロセス全体を通じた任意の特定の時点で各型ゾーンにおいて成形されることとなる物品へのおよび物品からの熱伝達を調整するように構成される。
かかる成形型は、典型的には2つの異なる用途に対して使用され得る。
第1のタイプの成形型用途は、大量連続生産用途である。これは、加工物ごとの熱サイクル時間が短いことを特徴とし得るものであり、各新規の加工物は、以前の加工物が成形された直後に成形される。このようにすることで、成形型は、生産シフト全体を通じて連続使用状態にある。
第2のタイプの成形型用途は、少量断続生産用途である。これは、加工物ごとの熱サイクル時間がより長いことを特徴とし得るものであり、成形型は、加工物の各成形間に「ダウンタイム」期間を被る。これは、例えば補助装置に対する要件に起因するなど、成形型へ/からの加工物の複雑な設置/除去プロセスに起因し得る。
これらの両タイプの成形型用途は、成形型ユーザに難題を与える。
図1は、大量連続生産に使用される既知の成形型(特許文献2に開示されるものなど)の温度サイクルである。加熱/冷却流は、インラインエアヒータを通過させられる。冷却時には、ヒータはオフに切り替えられる。各加工物は、この方法の利用により迅速に加熱および冷却される。
加熱から冷却への切替え時に、インラインヒータおよび周辺構成要素内の残留熱は、伝熱除去されることによりインラインヒータを通る流れがもはや加熱されていないようになるために、加工物サイクル時間全体に対してかなりの時間量を要し得る。
さらに、冷却から加熱への切替え時に、インラインヒータおよび周辺成形型構造体は、十分に加熱されることによりインラインヒータによって排出される流体が所望の温度になるために、加工物サイクル時間全体に対してかなりの時間量を要し得る。
これらの転移相では、インラインヒータは、誤った温度で流体を事実上推進させてしまうため、有害な効果をもたらす。
図2は、少量断続生産で使用される既知の成形型(特許文献2に開示されるものなど)の温度サイクルである。各加工物は、大量連続生産で使用される成形型の温度サイクルに対してより長い時間間隔にわたり加熱および冷却される。
これらの2つの間における重要で顕著な相違は、処理後の第1の加工物の除去と次の加工物の処理の開始との間の「ダウンタイム」がより長い点である。これは、20〜25分、および45〜50分にて図示される。この「ダウンタイム」時に、成形型は残留熱を喪失するため、成形型が次のサイクルに入るときにはより大きな熱の上昇を必要とし、そのためより高い熱エネルギーが必要となり、「ダウンタイム」期間の長さを長引かせる。
特に短期間サイクル時間を有する成形型に関連し、インラインヒータの使用に内在する別の難題は、最大流体流量に関するものである。流体加熱速度および流体冷却速度は、同一の成形型を冷却するのに必要とされる流体流量に比べてより低い流体流量が成形型を加熱するのに必要とされるために、異なる傾向がある。冷却流体流量を加熱流体流量と比較した場合の3:1の比率が、特許文献2に開示されるものなどの既知の層状成形型の場合に典型的なものとなる。冷却のために最適な流れ特徴(乱流レベルなど)を有する流体流を実現することは、小型の成形型においては問題をはらむ恐れがあり、インラインヒータの加熱構成要素が、冷却流体の送達に関与する導管内の障害物として作用してしまう。
さらに、加熱から冷却への移行時のインラインヒータ内の残留熱と、この移行を行う場合の流体流の必要な増加との組み合わされた効果により、高温「スパイク」が結果としてもたらされ、これは、成形型および加工物の両方に対して有害な効果を有する場合がある。
国際公開第2011/048365号 国際公開第2013/021195号
本発明の目的は、成形型の熱的機敏性を高めることにより、型面のより高い制御を可能にし、パーツ製造のサイクル時間および全体的な型効率の両方を低下させることである。
本発明の第1の態様によれば、物品を形成するための、複数の型ゾーンを備える型表面、各型ゾーンに加熱流体または冷却流体の流れを送るための複数の流体流路、加熱手段、および冷却手段を有する型を備える、物品を成形するための型システムが提供される。加熱手段は、各加熱流体流路を通過する流体を加熱するためのインラインヒータを備え、ヒータは、前記型ゾーンの少なくともいくつかの加熱流路と個別に関連付けられ、冷却手段は、冷却流体流路を備え、冷却流体流路は、加熱流体流路のインラインヒータを迂回する。
流れを加熱および冷却するための交番流体流路を設けることにより、2つの異なる経路が、加熱機能および冷却機能に関して最適化され得る。インラインヒータの領域に交番流体流路を設けることにより、加熱流体流路のインラインヒータに通して冷却流体流を送ることは必要ではなくなる。したがって、インラインヒータは、冷却流体流に対する障害物として作用せず、有利となる。さらに、加熱と冷却との間の切替え時に、インラインヒータ中の不要な残留熱が、冷却流体流がインラインヒータを通り送られる場合とは異なり型表面に送達されず、したがって移行後の熱除去スパイクが存在しない。さらに、型が冷却から加熱に移行された場合にインラインヒータが即座に所要温度になるように、インラインヒータは、冷却流体が冷却流体経路を経由して通過している間にある特定の温度に設定されてもよい。
好ましい一実施形態では、冷却流体流路は、加熱流路と完全に交番する。この配置により、例えばより大きな断面積を冷却流体流路に与えることによって加熱流体流よりも高い冷却流体流の流体流量に対応するなど、加熱流体流路および冷却流体流路の特定の調整が可能となる。さらに、加熱流体流路および冷却流体流路の導管の容量効果により、大量生産の短いサイクル時間の場合には不利となり得る成形型の加熱および冷却(の他方)に悪影響がもたらされない。さらに、この配置により、冷却流体流で各型ゾーンを冷却しつつ、インラインヒータを通過する流体流を逆方向に進ませることが可能となり、これにより各型ゾーンから熱が除去され有利となる。
加熱流体流路および冷却流体流路は、相互に隔離されてもよい。この配置により、2つのタイプの流体経路のより高い熱的隔離が可能となる。
本発明の好ましい一実施形態では、物品を成形するための型システムは、型層を画定するための型表面の対向側に温度制御表面を有してもよい。この温度制御表面は、流体チャンバを少なくとも部分的に境界設定し、流体チャンバは、使用時に型層を支持する排出層およびさらなる層を有し、加熱手段および冷却手段は、さらなる層と型層との間に配置される。
加熱流体流路および冷却流体流路は、さらなる層中に配置された入口と、流体チャンバ内に配置された出口とを有する導管を備えてもよい。
好ましい一実施形態では、型は、成形層とさらなる層との間に位置決めされた中間層をさらに備えてもよい。
加熱流体流路は、さらなる層中に配置された入口と、流体チャンバ内に配置された出口とを有する導管により画定され、冷却流体流路は、中間層中に配置された入口と、流体チャンバ内に配置された出口とを有する導管により画定されてもよい。したがって、中間層は、流体チャンバ(およびしたがって型表面)の温度を迅速に低下させるために使用することの可能な低温流体リザーバとして機能し得る。
好ましい一実施形態では、中間層は、冷却手段と流体連通状態にあってもよい。これにより、低温流体リザーバとしての中間層の役割がさらに支援される。
代替的な一実施形態では、冷却流体流路および加熱流体流路は、インラインヒータに隣接する部分を除いて共通の導管を共有してもよく、冷却流体流路は、インラインヒータバイパスを画定する。これは、成形型内における空間効率の高い配置を実現する。
別の好ましい実施形態では、冷却流体流路および加熱流体流路は、インラインヒータの上流のみで共通の導管を共有してもよい。別の好ましい実施形態では、冷却流体流路および加熱流体流路は、インラインヒータの下流のみで共通の導管を共有してもよい。これらの配置により、材料のより効率的な使用と、型の構造レイアウトのより効率的な設計とが可能となる。
冷却流体流路は、加熱流体流路の周囲に同心状に配置されてもよい。これにより、空間効率の高い配置が実現され、2つのタイプの経路に共通の支持構造を与える効果がある。
好ましい一実施形態では、型は、加熱手段および冷却手段を制御するように構成された制御手段をさらに備えてもよい。
制御手段は、加熱流体流路および/または冷却流体流路を経由して流体流を選択的に送ることにより型ゾーンを個別に加熱または冷却するように構成されてもよい。
この選択は、流体流量に応答する弁を使用することによって受動的なものであってもよく、この場合に冷却流体流は、加熱流体流に比べてより高い流体流量から構成される傾向を有する。
本発明の第2の態様によれば、物品を製造する方法が提供される。この方法は、物品を成形するための型システムを用意するステップであって、このシステムが、物品を形成するための、複数の型ゾーンを備える型表面、各型ゾーンに加熱流体または冷却流体の流れを送るための複数の流体流路、加熱手段、および冷却手段を有する型を備え、加熱手段が、各加熱流体流路を通り流れる流体を加熱するためのインラインヒータを備え、ヒータが、前記型ゾーンの少なくともいくつかの加熱流路と個別に関連付けられ、冷却手段が、冷却流体流路を備え、冷却流体流路が、加熱流体流路のインラインヒータを迂回する、ステップと;型表面上に成形されることとなる物品を配置するステップと;加熱手段を作動させて各型ゾーンの型表面温度を変更させることによって物品を加熱するステップと;冷却手段を作動させて各型ゾーンの型表面温度を変更させることによって物品を冷却するステップとを含む。
好ましい一実施形態では、この方法は、加熱流体流路および/または冷却流体流路を経由して流体流を選択的に送ることにより成形プロセス全体を通じた任意の特定の時点にて各型ゾーンで物品へのおよび物品からの熱伝達を調整するために、加熱手段および冷却手段を能動的に制御するステップをさらに含んでもよい。好ましい一実施形態では、加熱流路を経由して流体流を選択的に送るステップの最中に、冷却流体から加熱流体へと流体を変化させるためにインラインヒータを能動的に制御することである。
好ましい一実施形態では、この方法は、型表面上に成形されることとなる物品を配置するステップの前に、ヒータアセンブリおよび加熱流体流を作動させるステップをさらに含んでもよい。これにより、成形型が予熱され得るため有利である。
好ましい一実施形態では、この方法は、冷却流体流から加熱流体流への後の移行が可能な状態になるようにヒータアセンブリが予熱されるように、冷却手段を作動させるステップの最中にヒータアセンブリおよび加熱流体流を作動状態に維持するステップをさらに含んでもよい。インラインヒータの温態始動により、サイクル時間が短縮される。
好ましい一実施形態では、この方法は、冷却流体流から加熱流体流への後の移行が可能な状態になるようにヒータアセンブリが予熱されるように、冷却手段を作動させるステップの最中にヒータアセンブリおよび加熱流体流を低レベルで作動状態に維持するステップをさらに含んでもよい。比較的短期間の加熱および冷却のために、冷却流に関する流体流量を加熱流に比べてより高くした場合には、加熱流体流を「オフに切り替える」ことなく冷却流体流を「オンに切り替える」ことで十分となり得る。
好ましい一実施形態では、この方法は、物品を加熱するステップと物品を冷却するステップとの間の移行時にインラインエアヒータに通して流体流を逆流させるステップをさらに含んでもよい。加熱流体流路に通して高温流体を一時的に「引き戻す」ことにより、「熱焼損」を避けるためにヒータを通る流れを維持しつつ、型表面の冷却の加速が助長される。
大量連続生産で使用される既知の層状成形型の温度プロファイルを示す図である。 少量断続生産で使用される既知の層状成形型の温度プロファイルを示す図である。 予熱チャージサイクルを利用して動作される図2aの既知の層状成形型の温度プロファイルを示す図である。 本発明による成形型熱管理システムの第1の実施形態の概略図である。 図3aの領域Bの詳細図である。 代替構成における成形型熱管理システムによる図3aの領域Bの詳細図である。 本発明による成形型熱管理システムの第2の実施形態の概略図である。 本発明による成形型熱管理システムの第3の実施形態の概略図である。 本発明による成形型熱管理システムの第4の実施形態の概略図である。 線A−Aに沿った図6の成形型熱管理システムの部分断面図である。 線A−Aに沿った図6の成形型熱管理システムの代替構成の部分断面図である。 線A−Aに沿った図6の成形型熱管理システムの代替構成の部分断面図である。
図3aを参照すると、型100が、第1の層102、第2の層104、第3の層106、および支持アセンブリ108を備える。
第1の層102は、型面110を備える。型面110は、形成されることとなる加工物の形状を画定し、使用時には対向側の型(図示せず)と相関する。型面110の下側には、以下で説明されるような温度制御表面112が画定される。
第1の層102は、囲まれた容積を画定するように周囲壁部114により囲まれる。第1の層102は、多数の個別のチャンバ118を画定し、これらのチャンバは、第1の端部で温度制御表面112の一部により境界設定され、第2の端部116では開口する。チャンバ118は、温度制御表面112から開口端部116まで延在するチャンバ壁部120により隔てられる。そのため、第1の層102は、多数の個別のセル状チャンバ118を備えるタイプのハニカム構造を画定する。
温度制御表面は、多数のリブ122を備える。これらのリブは、チャンバ118内の流体が接触する温度制御表面に大きな表面積を与え、それにより流体と温度制御表面112との間での熱伝達を促進する。そのため、チャンバ118内に直面したあらゆる流体が、第1の層102を経由した伝導により型面110の温度に影響を及ぼす。
第2の層104は、多数の貫通穴125が中に画定されたブロック124を備える。隣接し合う貫通穴125同士は、内側ポート128を介して流体連通状態にある。ブロック124の外周部近傍の貫通穴は、貫通穴125と流体連通状態にある排出ポート130を画定する。
第3の層106は、一連の貫通穴134を有するブロック132を備える。各貫通穴134は、インラインエアヒータ用の取付装置を含む(以下に説明されるように)。
支持アセンブリ108は、複数の止まり穴138が中に画定された封止プレート136と、支持プレート140と、複数のI字形ビーム142とを備える。
上述の構成要素に加えて、第1のガスケット144および第2のガスケット146が設けられる。
型100は、以下の通りに組み立てられる。
I字形ビーム142は、対向側の型(図示せず)により型面110に対して印加される任意の圧縮荷重に反作用し得るように、型用の反作用構造体を形成する。支持プレート140はI字形ビーム142上に取り付けられ、封止プレート136は図3aに示すように支持プレート140上に位置決めされる。次いで、第3の層106は、各貫通穴134が封止プレートの各止まり穴138に整列するように、支持プレートに装着される。
ヒータアセンブリ150と、細長チューブセクション152、入口153、出口155、およびバイパス部分154とを有するインラインエアヒータ140が設けられる。ヒータアセンブリ150は、貫通穴134を有する第3の層106内に取り付けられる。上流ヒータアセンブリ弁156および下流ヒータアセンブリ弁157は、ヒータアセンブリ150の上流および下流のそれぞれに位置決めされる。したがって、上流ヒータアセンブリ弁は、ヒータアセンブリ150およびバイパス154を通る流れを制御する。複数のかかるヒータは、各貫通穴134内に設置される点に留意されたい。また、上方に突出する熱電対が設置される。
第2のガスケットは、第3の層106の頂部に配置される。第2のガスケット146は、ヒータ150のチューブセクション152の周囲に気密シールを形成する複数のオリフィス136を備える。そのため、各ヒータ150がガスケット146に沿って設置されると、各穴134は、下方では封止プレート136により、および上方ではガスケット146により封止される。
次いで、第2の層104は、各貫通穴125が各貫通穴134に整列されるように、第3の層106の頂部上に配置される。そのため、各貫通穴125は、中に収容されたエアヒータチューブセクション125の一部を有する。
第1のガスケット144は、第2の層104の頂部上に配置される。第1のガスケット144は、貫通穴125が上方に開口するように、ヒータ140のセクション152よりも実質的に幅広の一連のオリフィス158を備える。
第1の層102は、各チャンバ118が各貫通穴125に整列されるように、第2の層104上に積み重ねられる。そのため、貫通穴125およびチャンバ118は、それぞれ相互に流体連通状態にある。
図3に示すように、組み立てられると、チューブセクション152の出口155は、第1の層102の温度制御表面112の近位に流体を放出し、この温度制御表面112に作用する。
各ガスケット144、146は、断熱材料から作製される。この材料は、層102、104を作製するために使用される材料よりも低い熱伝導性を有する。そのため、第1の層102と第2の層104との間における伝導が最小限に抑えられる。
同様に、第2の層104と第3の層106との間における伝導は、第2のガスケット146により最小限に抑えられる。さらに、オリフィス136が、ヒータ140のチューブセクション152の周囲に気密シールを形成するため、貫通穴125と貫通穴134との間における流体の通過は不可能となる。そのため、伝導および対流による熱伝達は、第2の層104と第3の層106との間では不可能となる。
組み立てられると、各インラインエアヒータ140は、ヒータアセンブリ150、細長チューブセクション152、入口153、および出口155を備える加熱流体流路と、バイパス部分154、細長チューブセクション152、入口153、および出口155を備える冷却流体流路とを形成する。バイパス部分154は、インラインエアヒータ140のヒータアセンブリ150の周囲に同心状に配置される。そのため、加熱流体流路および冷却流体流路は、ヒータアセンブリ150の領域を除いては共通の導管を共有する。加熱流体流路および冷却流体流路の入口153は、マルチチャネル主制御装置192により制御される圧縮空気源190によって供給される(矢印191)。このマルチチャネル主制御装置192は、一連の温度制御センサ(図示せず)を介して型本体112からフィードバックを受ける。
したがって、使用時に型100は、様々な方法で動作され得る。
加工物の加熱が必要とされる場合には(図3bを参照)、ヒータアセンブリ150が作動され、圧縮流体がインラインエアヒータ140の入口153を通り追いやられる。上流ヒータアセンブリ弁156および下流ヒータアセンブリ弁は共に、圧縮流体が加熱流体流路を経由してヒータアセンブリ150を通り追いやられて流体を加熱するように、第1の位置にある。加熱された流体は、細長チューブセクション152まで流れ、出口155にてインラインエアヒータ140から出て、温度制御表面112のリブ122に衝突する。第1の層102の温度制御表面112に加熱された流体が衝突した後で、この加熱された流体は、破線矢印170により示されるように、開口端部116を経由して第1の層102の各チャンバ118から第2の層104のチャンバ125まで進む。次いで、流体は、圧力下で内側ポート128を通り第2の層104に沿って進み、この過程で徐々に混合する。次いで、流体は、破線矢印171により示されるように排出ポート130を経由して第2の層104から出て、周囲雰囲気へと排出される。
加工物の冷却が必要とされる場合には、圧縮流体流は、上流ヒータアセンブリ弁156が第2の位置に移動されて、流体がインラインヒータバイパス154を経由して流れるのを可能にし、また下流ヒータアセンブリ弁157が第2の位置に移動されて、流体が細長チューブセクション152まで流れるのを可能にし、ヒータアセンブリ150を通る流れを実質的に防止することによって、代替的な冷却流体流路を通る(図3cを参照)。次いで、冷却流体は、出口155にてインラインエアヒータ140から出て、温度制御表面112のリブ122に衝突する。第1の層102の温度制御表面112に対して冷却流体が衝突した後に、この冷却流体は同じ経路をたどり、すなわち加熱された流体は、最終的に排出ポート130を経由して周囲雰囲気に排出される。
冷却流時には、ヒータアセンブリ150は、作動停止され得るか、定圧に維持され得るか、またはさらには後の加熱相に備えて「予熱」され得る。下流弁157の配置は、過熱を防止するが、冷却流の著しく不利な効果が生じることのない程度に、第2の位置で少量の流体がヒータアセンブリ150を通り流れることが可能となるようなものである。
上流ヒータアセンブリ弁156および下流ヒータアセンブリ弁157の動作は、それらの動作が流体質量流量の増加により、およびしたがって加熱流と冷却流との間の移行に相関する圧力により誘発される点で、受動的であってもよい。これは、例えば所定の圧力でのみ開口する弾性フラップ弁などにより実現され得る。代替的には、この動作は、弁が既知の方法で作動される点で能動的であってもよい。
代替的な配置では、ヒータアセンブリバイパス部分154は、インラインエアヒータ140内におけるヒータアセンブリ154の個別の配置に応じて、第3の層106よりもさらに延在してもよい。
図4に進むと、図3aと同様の成形型200が示され、同様の参照数字は同様の構成要素を指す。型100と200との間の主な相違は、インラインエアヒータ240の配置である。(やはり図3aと同様に、インラインエアヒータ240のみが詳細に図示される)。
加熱流体流路は、ヒータアセンブリ250と、細長チューブセクション252と、入口253と、出口255とを有するインラインエアヒータ240を備える。冷却流体流路が、細長チューブセクション251と、入口256と、出口257とを備える。冷却流体流路の細長チューブセクション251は、加熱流体流路の細長チューブセクション252の周囲に同心状に配置され、インラインエアヒータ240の全高にわたり延在する。加熱流体流路および冷却流体流路の入口253、256は、主制御装置292により制御される圧縮空気源290によって供給される(矢印291)。この主制御装置292は、一連の温度制御センサ(図示せず)を介して型本体212からフィードバックを受ける。
図3aの実施形態と同様に、成形型200のインラインヒータアセンブリ240は、様々な方法で動作され得る。
加工物の加熱が必要とされる場合には、ヒータアセンブリ250が作動され、圧縮流体がインラインエアヒータ240の入口253を通り追いやられる。この加熱された流体は、細長チューブセクション252まで流れ、出口255にてインラインエアヒータ240から出て、温度制御表面212のリブ222に衝突する。
加工物の冷却が必要とされる場合には、圧縮流体流は、入口256を通り細長チューブセクション251に沿って追いやられ、出口255にて冷却流体経路から出て温度制御表面212に衝突することにより、冷却流体流路に沿って代替経路を通る。第1の層202の温度制御表面212に冷却流体が衝突した後に、この冷却流体は同一経路をたどり、すなわち加熱された流体は、最終的に排出ポート230を経由して周囲雰囲気に排出される。
冷却流時には、ヒータアセンブリ250は、作動停止され得るか、低減された流れで動作され得るか、またはさらには後の加熱相を「温態始動」する備えとして作動され得る。
温態始動は、以下の通りに実施される。
図1に示すように、0秒の時点から65秒の時点にわたる加熱期間後に、加工物が35秒間にわたり冷却され、その後処理済み加工物を除去し処理すべき次の加工物と交換するのに5秒の期間が必要となる。次いで、次の加工物が加熱される。そのため、加工物が加熱されていない期間は、わずかに40秒となる。冷却流路は、ヒータアセンブリを迂回するため、加熱から冷却への移行時には、加熱流体流を停止または減速し、インラインヒータへの電力を停止または低減し、それによりヒータアセンブリにおける熱エネルギーレベルを維持することが可能となる。次の加工物の加熱が必要とされる場合には、流体流は、依然として高温のヒータアセンブリを通り再開されて、成形型表面にほぼ即座に加熱流体流を供給し得る。
冷却流の期間の後に、ヒータアセンブリ250は、後の加熱相に備えて「予熱」され得る。
予熱は以下の通りに実施される。
一般的に成形型の少量断続生産使用に関連し、図2aの20〜25分および45〜50分の時点で示される、処理後の第1の加工物の除去と次の加工物の処理の開始との間の「ダウンタイム」期間を再度思い出されたい。
図2bに示すように、このダウンタイム時には、成形型のインラインヒータは、最大で最高型温度の約50%までの5回の短期突発加熱サイクルを被る。これは、インラインヒータ、ヒータアセンブリ、および周辺型構造体に熱エネルギーを「チャージ」する効果を有し、そのため、加工物の加熱が要求される場合に、成形型内における熱慣性がより低くなりそれによって型表面の迅速な加熱を防止する。
サイクル数は、5回に限定されず、所望に応じて任意の回数であってもよく、また同様に、これらのサイクルの温度は、最高型温度の50%に限定されない。また、このプロセスは、例えば1晩の休止が明けた翌日の初回の使用のためになど、初回の使用のために成形型を準備する場合に利用され得る。
したがって、予熱は、インラインヒータおよび周辺型本体が、サイクル終了直後のように次のサイクルが可能な状態となるように応答するのを確保する効果を有する。
冷却流時には、ヒータアセンブリ250を通過する流体流は、逆方向に送られてもよく、それにより熱は、冷却流が冷却流体流路251を経由して開始されることによって、第1の層202から離れるように引っ張られ得る。
図5に進むと、図3および図4と同様の成形型300が示され、同様の参照数字は、同様の構成要素を指す。型100、200、および300間の主な相違は、冷却流体流路の配置、および中間層360が設けられる点である。
中間層360は、第2の層304と第3の層306との中間に設けられ、ポート366に流体連通する単一流体チャンバ362を画定する本体364を備える。
成形型200の場合のように、加熱流体流路は、ヒータアセンブリ350と、細長チューブセクション352と、入口353と、出口355とを有するインラインエアヒータ340を備える。冷却流体流路は、細長チューブセクション351と、入口356と、出口357とを備える。冷却流体流路の細長チューブセクション351は、細長チューブセクション352の周囲に同心状に配置され、中間層306から加熱流体流路の細長チューブセクション352の出口355まで延在し、冷却流体経路の入口356は、中間層306内に配置され、冷却流体経路の出口357は、加熱流体流路の出口355に隣接して配置される。そのため、第1の層302および中間層360は、冷却流体流路を介して流体連通状態にある。加熱流体経路および冷却流体経路の入口353、356は、主制御装置392により制御される圧縮空気源390によって供給される(矢印391)。
加工物の加熱が必要とされる場合には、インラインエアヒータアセンブリ340は、通常の方法で動作される。非常に迅速な冷却が必要とされる場合には、「冷気送風」が、冷却流体流路351を経由して中間層360から送達され得る。
若干の正圧が、中間層360の加熱を回避するために中間層360内に必要とされる場合がある。代替的には、または追加的には、冷却手段が、冷却流体のリザーバを維持するために、中間層360と流体連通状態に配置されてもよい。
図6aに進むと、図5と同様の成形型400が示され、同様の参照数字は同様の構成要素を指す。型400と300との間の主な相違は、排出層および中間層が組み合わされて組合せ層404を形成している点である。この完全に一体化した冷気送風層は、組合せ層404の城郭状形成により可能となり、これにより、組合せ層404の一方の側におけるチャネル491を経由した圧縮空気源490から冷却流体流路の入口456への圧縮冷却流体の同時供給と、組合せ層404の他方の側における温度制御表面412への衝突後の流体の排出ポート430を通した排出とが得られる。
さらに、冷却流体流路は、細長チューブ部材452内に与えられる加熱流体流路から隔てられた複数の細長チューブセクション451によって与えられる。
図6b、図6c、および図6dは、加熱流路および冷却流路を設けるための代替的な構成を示す。
図6bの実施形態では、2つの冷却流体流路が、細長チューブ部材の周囲に配置された2つの細長チューブセクション451によって、インラインエアヒータアセンブリ420ごとに設けられる。
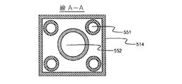
図6cの実施形態では、4つの冷却流体流路が、加熱流体流路の細長チューブ部材552の周囲に配置された4つの細長チューブセクション551によって、インラインエアヒータアセンブリ440ごとに設けられる。図6dの代替的な実施形態では、4つの細長チューブセクション651が、チャンバ壁部620および周囲壁部614に形成されたボス上に設けられる。
本発明は、多数の用途における単一の型面に関連して説明されたが、2つの面を有する型が使用されることになり、本発明による上方型面が下方型面と組み合わせて使用されて型の両面からの能動的加熱/冷却を実現することもできる点を理解されたい。
変形形態は、本発明の範囲内に含まれる。インラインエアヒータを含む他の流路構成が、本発明の利用により可能である。
空気の加熱および冷却と同様に、液体などの他の流体が、温度制御のために使用されてもよい。

Claims (25)

  1. 物品を形成するための、複数の型ゾーンを備える型表面、各型ゾーンに加熱流体または冷却流体の流れを送るための複数の流体流路、加熱手段、および冷却手段を有する型であって、前記加熱手段は、各加熱流体流路を通過する流体を加熱するためのインラインヒータを備え、該ヒータは、前記型ゾーンの少なくともいくつかの加熱流路と個別に関連付けられ、前記冷却手段は、冷却流体流路を備え、該冷却流体流路は、前記加熱流体流路の前記インラインヒータを迂回する、型
    を備える、物品を成形するための型システム。
  2. 前記冷却流体流路は、前記加熱流路と完全に交番する請求項1に記載の物品を成形するための型システム。
  3. 前記加熱流体流路および前記冷却流体流路は、相互に隔離される請求項2に記載の物品を成形するための型システム。
  4. 型層を画定するための前記型表面の対向側に温度制御表面を有し、該温度制御表面は、流体チャンバを少なくとも部分的に境界設定し、該流体チャンバは、使用時に前記型層を支持する排出層およびさらなる層を有し、前記加熱手段および前記冷却手段は、前記さらなる層と前記型層との間に配置される請求項1から3のいずれか一項に記載の物品を成形するための型システム。
  5. 前記加熱流体流路および前記冷却流体流路は、前記さらなる層中に配置された入口と、前記流体チャンバ内に配置された出口とを有する導管を備える請求項4に記載の物品を成形するための型システム。
  6. 前記型層と前記さらなる層との間に位置決めされた中間層をさらに備える請求項4に記載の物品を成形するための型システム。
  7. 前記加熱流体流路は、前記さらなる層中に配置された入口と、前記流体チャンバ内に配置された出口とを有する導管により画定され、前記冷却流体流路は、前記中間層中に配置された入口と、前記流体チャンバ内に配置された出口とを有する導管により画定される請求項6に記載の物品を成形するための型システム。
  8. 前記中間層は、冷却手段と流体連通状態にある請求項7に記載の物品を成形するための型システム。
  9. 前記冷却流体流路および前記加熱流体流路は、前記インラインヒータに隣接する部分を除いて共通の導管を共有し、前記冷却流体流路は、前記インラインヒータバイパスを画定する、請求項1に記載の物品を成形するための型システム。
  10. 前記冷却流体流路および前記加熱流体流路は、前記インラインヒータの上流のみで共通の導管を共有する、請求項9に記載の物品を成形するための型システム。
  11. 前記冷却流体流路および前記加熱流体流路は、前記インラインヒータの下流のみで共通の導管を共有する、請求項9に記載の物品を成形するための型システム。
  12. 前記冷却流体流路は、前記加熱流体流路の周囲に同心状に配置される請求項9から11のいずれか一項に記載の物品を成形するための型システム。
  13. 前記加熱手段および前記冷却手段を制御するように構成された制御手段を有する請求項1から12のいずれか一項に記載の物品を成形するための型システム。
  14. 前記制御手段は、前記加熱流体流路および/または前記冷却流体流路を経由して流体流を選択的に送ることにより前記型ゾーンを個別に加熱または冷却するように構成される請求項13に記載の物品を成形するための型システム。
  15. 前記選択は、流体流量を変更することにより制御される請求項13に記載の物品を成形するための型システム。
  16. 物品を成形するための型システムを用意するステップであって、該システムは、
    物品を形成するための、複数の型ゾーンを備える型表面、各型ゾーンに加熱流体または冷却流体の流れを送るための複数の流体流路、加熱手段、および冷却手段を有する型であって、前記加熱手段は、各加熱流体流路を通過する流体を加熱するためのインラインヒータを備え、該ヒータは、前記型ゾーンの少なくともいくつかの加熱流路と個別に関連付けられ、前記冷却手段は、冷却流体流路を備え、該冷却流体流路は、前記加熱流体流路の前記インラインヒータを迂回する、型
    を備える、ステップと、
    前記型表面上に成形されることとなる物品を配置するステップと、
    前記加熱手段を作動させて各型ゾーンの型表面温度を変更させることによって前記物品を加熱するステップと、
    前記冷却手段を作動させて各型ゾーンの型表面温度を変更させることによって前記物品を冷却するステップと
    を含む、物品を製造する方法。
  17. 前記加熱流体流路および/または前記冷却流体流路を経由して流体流を選択的に送ることにより前記成形プロセス全体を通じた任意の特定の時点にて各型ゾーンで前記物品へのおよび前記物品からの熱伝達を調整するために、前記加熱手段および前記冷却手段を能動的に制御するステップ
    をさらに含む、請求項16に記載の方法。
  18. 前記加熱流路を経由して流体流を選択的に送る前記ステップの最中に、冷却流体から加熱流体へと前記流体を変化させるために前記インラインヒータを能動的に制御する、請求項17に記載の方法。
  19. 前記型表面上に成形されることとなる物品を配置する前記ステップの前に、前記ヒータアセンブリおよび加熱流体流を作動させるステップをさらに含む、請求項16から18のいずれか一項に記載の方法。
  20. 冷却流体流から加熱流体流への後の移行が可能な状態になるように前記ヒータアセンブリが予熱されるように、前記冷却手段を作動させる前記ステップの最中に前記ヒータアセンブリおよび加熱流体流を作動状態に維持するステップをさらに含む、請求項16から19のいずれか一項に記載の方法。
  21. 冷却流体流から加熱流体流への後の移行が可能な状態になるように前記ヒータアセンブリが予熱されるように、前記冷却手段を作動させる前記ステップの最中に前記ヒータアセンブリおよび加熱流体流を低レベルで作動状態に維持するステップをさらに含む、請求項16から19のいずれか一項に記載の方法。
  22. 前記物品を加熱する前記ステップと前記物品を冷却する前記ステップとの間の移行時に前記インラインエアヒータに通して前記流体流を逆流させるステップをさらに含む、請求項16から19のいずれか一項に記載の方法。
  23. 前記物品を冷却する前記ステップの後に成形されることとなる前記物品を前記型表面から除去するステップと、
    成形されることとなる別の物品を前記型表面上に配置するステップと、
    前記物品を加熱する前記ステップおよび冷却する前記ステップを繰り返すステップと
    をさらに含む、請求項16から22のいずれか一項に記載の方法。
  24. 実質的に添付の図面を参照としてまたは添付の図面にしたがって本明細書で説明されるような型システム。
  25. 実質的に添付の図面を参照としてまたは添付の図面にしたがって本明細書で説明されるような物品を製造する方法。
JP2016509550A 2013-04-25 2014-04-24 成形型熱転移管理 Active JP6401244B2 (ja)

Applications Claiming Priority (3)

Application Number Priority Date Filing Date Title
GB1307436.4 2013-04-25
GBGB1307436.4A GB201307436D0 (en) 2013-04-25 2013-04-25 Mould tool heat transition management
PCT/GB2014/051271 WO2014174292A1 (en) 2013-04-25 2014-04-24 Mould tool heat transition management

Publications (2)

Publication Number Publication Date
JP2016516618A true JP2016516618A (ja) 2016-06-09
JP6401244B2 JP6401244B2 (ja) 2018-10-17

Family

ID=48579608

Family Applications (1)

Application Number Title Priority Date Filing Date
JP2016509550A Active JP6401244B2 (ja) 2013-04-25 2014-04-24 成形型熱転移管理

Country Status (8)

Country Link
US (1) US10081121B2 (ja)
EP (1) EP2988912B1 (ja)
JP (1) JP6401244B2 (ja)
CN (1) CN105283288B (ja)
ES (1) ES2657904T3 (ja)
GB (1) GB201307436D0 (ja)
TW (1) TWI625213B (ja)
WO (1) WO2014174292A1 (ja)

Families Citing this family (3)

* Cited by examiner, † Cited by third party
Publication number Priority date Publication date Assignee Title
US10940656B2 (en) 2017-05-31 2021-03-09 The Boeing Company Press assembly having a press tool
GB2570926A (en) * 2018-02-12 2019-08-14 Surface Generation Ltd Mould tool, method of assembling a mould tool and method of manufacture using a mould tool
US12122074B2 (en) * 2020-09-30 2024-10-22 Janicki Industries, Inc. Scalable tooling system using highly parallel convection heating for processing of high temperature composite materials

Citations (3)

* Cited by examiner, † Cited by third party
Publication number Priority date Publication date Assignee Title
US5445510A (en) * 1993-10-28 1995-08-29 Davidson Textron Inc. Mold heating apparatus
US20120280415A1 (en) * 2009-10-20 2012-11-08 Surface Generation Ltd. Control system for tooling
WO2013021195A2 (en) * 2011-08-08 2013-02-14 Surface Generation Limited Tool temperature control

Family Cites Families (15)

* Cited by examiner, † Cited by third party
Publication number Priority date Publication date Assignee Title
US3763293A (en) * 1971-06-09 1973-10-02 Bischoff Chemical Corp Process of molding giant articles of structured plastic
US4217325A (en) * 1977-04-21 1980-08-12 Mccord Corporation Method using modular slush molding machine
DE3811112A1 (de) 1988-03-31 1989-10-12 Fritz Mueller Spritzgussverfahren fuer kunststoffe und spritzgussform
US6048189A (en) * 1995-04-05 2000-04-11 Japan Synthetic Rubber Co., Ltd. Blow molding apparatus
DE29808569U1 (de) 1998-04-30 1998-11-05 Wittmann Kunststoffgeräte Ges.m.b.H., Wien Temperierkreislauf für Spritzgußformen
DE10221558B4 (de) * 2002-05-15 2005-07-21 Krauss-Maffei Kunststofftechnik Gmbh Formenteil, Formwerkzeug und Verfahren zum Spritzgießen von Kunststoffartikeln
KR100976292B1 (ko) * 2005-09-21 2010-08-16 미츠비시 쥬고교 가부시키가이샤 금형, 금형 온도 조정 방법, 금형 온도 조정 장치, 사출 성형 방법 및 사출 성형기
WO2009084762A1 (en) * 2007-12-28 2009-07-09 Nam Wuk Heo Apparatus for quick heating and cooling a injection mold and method of controlling temperature of the injection mold
JP5575374B2 (ja) 2008-03-26 2014-08-20 パナソニック株式会社 樹脂射出成形用金型
KR100888985B1 (ko) * 2008-06-19 2009-03-17 (주)유니벨 금형의 급속 가열방법
JP2010012682A (ja) 2008-07-03 2010-01-21 Shisuko:Kk 金型のマルチ加熱冷却システム
US9034234B2 (en) 2009-10-20 2015-05-19 Surface Generation Limited Zone control of tool temperature
KR20140009907A (ko) * 2011-01-10 2014-01-23 에스씨아이브이에이엑스 가부시키가이샤 온도 조절장치 및 이 장치를 적용한 임프린트 장치
JP2012161987A (ja) * 2011-02-07 2012-08-30 Mazda Motor Corp 金型の温度調節方法及び装置
KR101195999B1 (ko) * 2011-06-08 2012-10-30 동진전자 주식회사 웰드레스 방식의 사출금형 장치

Patent Citations (3)

* Cited by examiner, † Cited by third party
Publication number Priority date Publication date Assignee Title
US5445510A (en) * 1993-10-28 1995-08-29 Davidson Textron Inc. Mold heating apparatus
US20120280415A1 (en) * 2009-10-20 2012-11-08 Surface Generation Ltd. Control system for tooling
WO2013021195A2 (en) * 2011-08-08 2013-02-14 Surface Generation Limited Tool temperature control

Also Published As

Publication number Publication date
EP2988912B1 (en) 2017-11-08
US20160031122A1 (en) 2016-02-04
GB201307436D0 (en) 2013-06-05
CN105283288A (zh) 2016-01-27
TW201505811A (zh) 2015-02-16
WO2014174292A1 (en) 2014-10-30
ES2657904T3 (es) 2018-03-07
TWI625213B (zh) 2018-06-01
EP2988912A1 (en) 2016-03-02
CN105283288B (zh) 2018-01-12
US10081121B2 (en) 2018-09-25
JP6401244B2 (ja) 2018-10-17

Similar Documents

Publication Publication Date Title
KR101629366B1 (ko) 기판 처리 장치, 반도체 장치의 제조 방법 및 기판 처리 방법
JP6401244B2 (ja) 成形型熱転移管理
JP2014508911A5 (ja)
TW201318803A (zh) 工具溫度管理技術
CA2879894C (en) Mould tool
JP2016508908A (ja) 成形型の温度を管理するためのアセンブリおよび方法
EP2964440B1 (en) Mould tool heat management
CN205969418U (zh) 练泥挤板机挤出模头
JP6307591B2 (ja) 大気圧プラズマ発生装置
EP3690374A1 (en) Heat accumulator with pressure loss regulation
JP2019529850A (ja) 熱処理装置
JP3695934B2 (ja) 発泡成形機の配管構造
WO2018171884A1 (en) Pressing arrangement
JP6258250B2 (ja) 加熱シリンダのカバー
TW201515804A (zh) 模造工具
RU2797671C1 (ru) Устройство вторичного охлаждения машины непрерывного литья металлических изделий
JP2019181944A (ja) プラスチック材料の射出成形装置
JPS62169615A (ja) シ−ト状物押出し用ダイ
JP2019082300A (ja) 蓄熱式ガス処理装置
CN107256841A (zh) 快速热退火机

Legal Events

Date Code Title Description
A621 Written request for application examination

Free format text: JAPANESE INTERMEDIATE CODE: A621

Effective date: 20170221

A977 Report on retrieval

Free format text: JAPANESE INTERMEDIATE CODE: A971007

Effective date: 20171115

A131 Notification of reasons for refusal

Free format text: JAPANESE INTERMEDIATE CODE: A131

Effective date: 20171128

A521 Request for written amendment filed

Free format text: JAPANESE INTERMEDIATE CODE: A523

Effective date: 20180223

TRDD Decision of grant or rejection written
A01 Written decision to grant a patent or to grant a registration (utility model)

Free format text: JAPANESE INTERMEDIATE CODE: A01

Effective date: 20180807

A61 First payment of annual fees (during grant procedure)

Free format text: JAPANESE INTERMEDIATE CODE: A61

Effective date: 20180906

R150 Certificate of patent or registration of utility model

Ref document number: 6401244

Country of ref document: JP

Free format text: JAPANESE INTERMEDIATE CODE: R150

R250 Receipt of annual fees

Free format text: JAPANESE INTERMEDIATE CODE: R250

R250 Receipt of annual fees

Free format text: JAPANESE INTERMEDIATE CODE: R250

R250 Receipt of annual fees

Free format text: JAPANESE INTERMEDIATE CODE: R250

R250 Receipt of annual fees

Free format text: JAPANESE INTERMEDIATE CODE: R250