JP2016190967A - 樹脂組成物 - Google Patents
樹脂組成物 Download PDFInfo
- Publication number
- JP2016190967A JP2016190967A JP2015072144A JP2015072144A JP2016190967A JP 2016190967 A JP2016190967 A JP 2016190967A JP 2015072144 A JP2015072144 A JP 2015072144A JP 2015072144 A JP2015072144 A JP 2015072144A JP 2016190967 A JP2016190967 A JP 2016190967A
- Authority
- JP
- Japan
- Prior art keywords
- resin
- resin composition
- bending
- rubber
- amount
- Prior art date
- Legal status (The legal status is an assumption and is not a legal conclusion. Google has not performed a legal analysis and makes no representation as to the accuracy of the status listed.)
- Pending
Links
Images
Landscapes
- Compositions Of Macromolecular Compounds (AREA)
Abstract
【課題】容リ材を改質し、優れた強度を有する樹脂組成物を得ることを目的とする。
【解決手段】本発明の樹脂組成物は、第1のゴム組成物又は第1の樹脂と、ポリプロピレン及びポリエチレンの少なくとも一方を主成分とする樹脂組成物と、を含む。第1のゴム組成物としては、ブロック型のスチレンブタジエンゴム、ブタジエンゴム、ランダム型のスチレンブタジエンゴム、ニトリルゴム(NBR)等が挙げられる。第1の樹脂としては、アクリル樹脂、EVA、AS樹脂、ポリエチレンテレフタレート(PET)、ポリカーボネート(PC)、ポリスチレン(PS)、アクリロニトリルブタジエンスチレン(ABS)等が挙げられる。
【選択図】なし
【解決手段】本発明の樹脂組成物は、第1のゴム組成物又は第1の樹脂と、ポリプロピレン及びポリエチレンの少なくとも一方を主成分とする樹脂組成物と、を含む。第1のゴム組成物としては、ブロック型のスチレンブタジエンゴム、ブタジエンゴム、ランダム型のスチレンブタジエンゴム、ニトリルゴム(NBR)等が挙げられる。第1の樹脂としては、アクリル樹脂、EVA、AS樹脂、ポリエチレンテレフタレート(PET)、ポリカーボネート(PC)、ポリスチレン(PS)、アクリロニトリルブタジエンスチレン(ABS)等が挙げられる。
【選択図】なし
Description
本発明は、樹脂組成物に関し、特に、容リ材を含む樹脂組成物に関する。
容器包装リサイクル法の施行を受け、排出されたプラスチック系の容器包装等からポルプロピレン(PP)とポリエチレン(PE)とを選別してペレット化し、再利用することが行われている。しかしながら、廃プラスチック(容リ材)は、PP,PE以外のプラスチック、木くず、鉄くず、紙くずといった不純物を含み、これらをPPやPEから完全に除去することは困難である。また、製品化や原料化(ペレット化)のための熱履歴による物性低下は避けられず、このため、廃PPや廃PEのペレットは、バージン材と比較して強度が低くなっている。
特許文献1(特開2011−226261号公報)には、容リ材を用いて形成された、雨水貯水槽に用いられるブロック部材が開示されている。このブロック部材は、ベース部と、ベース部から上方に突出した筒状の周壁を有する脚部と、を有し、脚部の周壁は、部分的に肉厚に形成されている。そして、このブロック部材によれば、優れた強度を有するブロック部材とすることができると記載されている。
特許文献2(特開2007−138137号公報)には、熱可塑性樹脂からなる容器包装リサイクル材と無機質粉体又は木質系材料とを含有する複合材料が開示されている。
特許文献1に開示された技術は、ブロック部材の一部を肉厚に形成することにより優れた強度を得るものであり、樹脂組成物の強度自体を向上しているものではない。
特許文献2に開示された複合材料を用いて成形体とすると、複合材料が無機質粉体又は木質系材料を含むので、成形体を廃棄した後に再利用するのは困難である。再利用するときに複合材料から無機質粉体又は木質系材料を取り除く必要があるからである。
本発明は、容リ材を改質し、優れた強度を有する樹脂組成物を得ることを目的とする。
上記の課題を解決する本発明の樹脂組成物は、第1のゴム組成物又は第1の樹脂と、ポリプロピレン及びポリエチレンの少なくとも一方を主成分とする樹脂組成物と、を含む。
本発明によれば、容リ材を改質した樹脂組成物において、優れた強度を得ることができる。
以下、本発明の好適な実施の形態について詳細に説明する。
<実施形態1>
第1の実施の形態にかかる樹脂組成物R1について説明する。樹脂組成物R1は、ポリプロピレン(PP)及びポリエチレン(PE)を主成分とする樹脂組成物と、第1の樹脂と、を含む。
第1の実施の形態にかかる樹脂組成物R1について説明する。樹脂組成物R1は、ポリプロピレン(PP)及びポリエチレン(PE)を主成分とする樹脂組成物と、第1の樹脂と、を含む。
PP及びPEを主成分とする樹脂組成物は、具体的には、容器包装のリサイクル品である容リ材である。容リ材は、PP及びPEの他、ポリ酢酸ビニル(PVC)、ポリエチレンテレフタレート(PET)、ポリスチレン(PS)、セロファン(PT)、エチレンビニルアルコール共重合体(EVOH)、ナイロン等の樹脂を含んでいることがある。
なお、容リ材は、排出される容器包装の構成によって、その組成が決定される。そのため、排出される容器包装を回収する自治体や地域、季節によって、その構成は大きく変化する。
第1の樹脂としては、例えば、アクリル樹脂、アクリロニトリル・スチレン樹脂(AS樹脂)、アクリロニトリルブタジエンスチレン樹脂(ABS樹脂)、ポリカーボネート(PC)、ポリエチレンテレフタレート(PET)、ポリスチレン(PS)、ポリ乳酸(PLA)、シクロオレフィン共重合樹脂等の硬質樹脂や、エチレン酢酸ビニル共重合体(EVA)、脂肪族共重合ポリエステル樹脂、スチレン系エラストマー(TPS)又はオレフィン系エラストマー(TPO)等のエラストマー等の硬質樹脂以外の樹脂が挙げられる。なお、ここでの「硬質樹脂」とは、ASTM D8833で規定された「硬質樹脂」を意味している。
なお、第1の樹脂としては、バージン材を用いても、リサイクル品を用いても、いずれでもよい。また、第1の樹脂としては、1種類を単独で配合してもよく、2種以上の硬質樹脂を併用してもよく、硬質樹脂と硬質樹脂以外の樹脂とを併用してもよい。
EVAは、例えば、太陽電池のパネルの封止材として用いられている。太陽電池は、ガラス板とバックシート材の間に太陽電池セルが配置され、太陽電池セルが、封止材によって封止された構造を有する。なお、バックシート材は、主に、PETで形成されている。樹脂組成物R1に配合する第1の樹脂としてEVAを選択する場合には、この封止材を利用してもよい。
なお、太陽電池のパネルの封止材を第1の樹脂として用いる場合、太陽電池の製造工程において排出される封止材の端材品を使用してもよく、太陽電池を廃棄する際に封止材を太陽電池から剥離して第1の樹脂として使用してもよい。なお、封止材の端材品を使用する場合であっても、廃太陽電池から封止材を剥離する場合であっても、封止材にバックシート材の一部が付着することがあるが、バックシート材を封止材から完全に取り除くことなく、第1の樹脂として使用してもよい。この場合、第1の樹脂として、少なくともEVA及びPETが含まれることとなる。
第1の樹脂は、容リ材の量を100重量部として、例えば、5〜30重量部配合されている。第1の樹脂の配合量が5重量部以下の場合には、容リ材を改質する効果が十分に現れない虞がある。また、第1の樹脂の配合量が30以上の場合には、曲げ強度または耐衝撃性が著しく低下する虞がある。
樹脂組成物R1は、その他、任意の成分として、架橋剤、市販の非反応系・反応系相溶化剤等を含んでいてもよい。市販の非反応系・反応系相溶化剤としては、例えば、日油株式会社製のモディパーAシリーズ、三洋化成株式会社製のユーメックスシリーズ、住友化学株式会社製のボンドファーストシリーズ等が挙げられる。ここで、非反応系相溶化剤とは、例えば、主鎖にPEあるいはPP等のポリオレフィンを含み側鎖に第1の成分が化学的に結合されているもの、又は、主鎖に第1の成分を含み側鎖にPEあるいはPP等のポリオレフィンが化学的に結合されているものが挙げられる。また、反応系相溶化剤には、ポリオレフィン又は第1の成分からなる主鎖の一部を、アルコールや酸と反応し得る成分(例えば、無水マレイン酸やグリシジル)で変性したものが挙げられる。
樹脂組成物R1に配合可能な架橋剤としては、例えば、ジクミルペルオキシド、2,5−ジメチル−2,5−ジ(t−ブチルペルオキシ)ヘキサン等の有機過酸化物等が挙げられる。架橋剤は、例えば、容リ材100重量部あたり0.01〜0.3重量部配合することができる。
樹脂組成物R1は、例えば、ニーダーに各材料を投入して混練した後、それらを二軸押出機で押し出すことにより製造することができる。なお、必要に応じて、得られた樹脂組成物R1をペレット化してもよいし、シート状に加工してもよい。
樹脂組成物R1は、容リ材に加えて第1の樹脂が配合されているので、優れた強度を有する。
樹脂組成物R1中、第1の樹脂として硬質樹脂が配合されている場合は、曲げ特性が向上することにより容リ材が改質され、優れた強度の樹脂組成物R1とすることができる。また、樹脂組成物R1中、第1の樹脂としてEVAが配合されている場合は、耐衝撃性が向上することにより容リ材が改質され、優れた強度の樹脂組成物R1とすることができる。さらに、樹脂組成物R1中、第1の樹脂としてEVAと硬質樹脂が共に配合されている場合は、曲げ特性と耐衝撃性の両方の改質を図ることができ、これにより、優れた強度の樹脂組成物R1が得られる。
樹脂組成物R1は、優れた強度を有するので、例えば、パレットの材料、合成木材として好適に用いられる。
<実施形態2>
次に、第2の実施の形態にかかる樹脂組成物R2について説明する。樹脂組成物R2は、ポリプロピレン及びポリエチレンの少なくとも一方を主成分とする樹脂組成物と、第1のゴム組成物と、を含む。ポリプロピレン及びポリエチレンの少なくとも一方を主成分とする樹脂組成物は、実施形態1と同様、容リ材である。
次に、第2の実施の形態にかかる樹脂組成物R2について説明する。樹脂組成物R2は、ポリプロピレン及びポリエチレンの少なくとも一方を主成分とする樹脂組成物と、第1のゴム組成物と、を含む。ポリプロピレン及びポリエチレンの少なくとも一方を主成分とする樹脂組成物は、実施形態1と同様、容リ材である。
第1のゴム組成物としては、例えば、ブロック型のスチレンブタジエンゴム(B−SBR)、ブタジエンゴム(BR)、ランダム共重合のスチレンブタジエンゴム(SBR),ニトリルゴム(NBR)、天然ゴム(NR)、イソプレンゴム(IR)、ブチルゴム(IIR)、エチレン・プロピレンゴム(EPM,EPDM)等が挙げられる。第1のゴム組成物の配合量は、容リ材100重量部に対して、例えば5〜30重量部である。
樹脂組成物R2は、さらに、第2の樹脂が配合されていてもよい。第2の樹脂としては、アクリル樹脂、AS樹脂、PET、PC、EVA等が挙げられる。第2の樹脂の配合量は、例えば、容リ材100重量部に対して5〜30重量部である。
樹脂組成物R2は、その他、任意の成分として、架橋剤、市販の非反応系・反応系相溶化剤等を含んでいてもよい。市販の非反応系・反応系相溶化剤としては、例えば、日油株式会社製のモディパーAシリーズ、三洋化成株式会社製のユーメックスシリーズ、住友化学株式会社製のボンドファーストシリーズ等が挙げられる。ここで、非反応系相溶化剤とは、例えば、主鎖にPEあるいはPP等のポリオレフィンを含み側鎖に第1の成分が化学的に結合されているもの、又は、主鎖に第1の成分を含み側鎖にPEあるいはPP等のポリオレフィンが化学的に結合されているものが挙げられる。また、反応系相溶化剤には、ポリオレフィン又は第1の成分からなる主鎖の一部を、アルコールや酸と反応し得る成分(例えば、無水マレイン酸やグリシジル)で変性したものが挙げられる。
樹脂組成物R2に配合可能な架橋剤としては、例えば、ジクミルペルオキシド、2,5−ジメチル−2,5−ジ(t−ブチルペルオキシ)ヘキサン等の有機過酸化物等が挙げられる。架橋剤は、例えば、容リ材100重量部あたり0.01〜0.3重量部配合することができる。
樹脂組成物R2は、実施形態1の樹脂組成物R1と同様に、例えば、ニーダーに各材料を投入して混練した後、それらを二軸押出機で押し出すことにより製造することができる。なお、必要に応じて、得られた樹脂組成物R2をペレット化してもよいし、シート状に加工してもよい。
樹脂組成物R2には、容リ材に加えて第1のゴム組成物が配合されているので、優れた強度を有する。特に、ゴム組成物が有する優れた弾性及び優れた耐衝撃性により、優れた耐衝撃性を有する樹脂組成物R2を得ることができる。
<実施形態3>
実施形態1及び実施形態2では、成型品の材料としての樹脂組成物R1,R2について説明したが、本発明の樹脂組成物は、容リ材の特性を改質するための樹脂改質剤として用いられる樹脂組成物であってもよい。以下、第3の実施の形態として、樹脂改質剤として用いる場合の樹脂組成物R3について説明する。
実施形態1及び実施形態2では、成型品の材料としての樹脂組成物R1,R2について説明したが、本発明の樹脂組成物は、容リ材の特性を改質するための樹脂改質剤として用いられる樹脂組成物であってもよい。以下、第3の実施の形態として、樹脂改質剤として用いる場合の樹脂組成物R3について説明する。
樹脂組成物R3は、実施形態1と同様、ポリプロピレン(PP)及びポリエチレン(PE)を主成分とする樹脂組成物(容リ材)と、第1の樹脂と、を含む。第1の樹脂としては、実施形態1と同様の樹脂が挙げられる。第1の樹脂の配合量は、容リ材100重量部に対して、例えば50〜500重量部である。つまり、実施形態1の樹脂組成物R1と比較して、樹脂組成物R3においては第1の樹脂の配合割合が高くなっている。
樹脂組成物R3は、実施形態1の樹脂組成物R1と同一の方法で製造することができる。樹脂組成物R3は、好ましくは、ペレット状に成形される。
樹脂組成物R3は、上述のように、容リ材の樹脂改質剤として使用される。具体的には、樹脂組成物R3は、例えばペレット状でユーザーに提供される。そして、ユーザーが、容リ材の組成及び所望する物性に応じて樹脂改質剤(樹脂組成物R3)の配合量を調整し、容リ材に混練する。これにより、容リ材が樹脂改質剤(樹脂組成物R3)によって改質され、優れた強度の樹脂組成物を得ることができる。
なお、樹脂組成物R3として、実施形態1のように容リ材と第1の樹脂とを含む場合について説明したが、実施形態2のように容リ材と第1のゴム組成物とを含む樹脂組成物であっても、容リ材の樹脂改質剤として使用することができる。この場合には、実施形態2の樹脂組成物R2よりも第1のゴム組成物の配合割合を高めたものを、容リ材の樹脂改質剤とする。
また、容リ材を改質するための改質剤として、容リ材を含むことは必須ではない。例えば、AS樹脂及びゴム組成物を含む複合材料を改質剤として、容リ材の改質を行ってもよい。
<その他の実施形態>
上記の実施形態では、樹脂組成物R1〜R3を構成する容リ材が、PP及びPEを主成分とすると説明したが、容リ材が、PPのみを主成分とする樹脂組成物であってもよく、PEのみを主成分とする樹脂組成物であってもよい。従って、この発明の実施の形態においては、容リ材は、PP及びPEの少なくとも一方を主成分とするものであればよい。
上記の実施形態では、樹脂組成物R1〜R3を構成する容リ材が、PP及びPEを主成分とすると説明したが、容リ材が、PPのみを主成分とする樹脂組成物であってもよく、PEのみを主成分とする樹脂組成物であってもよい。従って、この発明の実施の形態においては、容リ材は、PP及びPEの少なくとも一方を主成分とするものであればよい。
[1:添加する樹脂の検討(1)]
容リ材に添加する樹脂の種類及び添加量による物性への影響を調べるため、サンプルGM147、GM206,GM194、GM138,GM139、GM189及びGM126を作製した。また、比較例として、容リ材100%のサンプルを作製し、GM197とした。各々の配合の詳細は、表1に示す。そして、これらの曲げ物性(曲げ弾性率、最大曲げ応力及び最大曲げ応力時のたわみ量)、並びに耐衝撃性(アイゾット衝撃値)を測定した。サンプルの作製方法及びサンプルの測定方法は、以下に説明する。
容リ材に添加する樹脂の種類及び添加量による物性への影響を調べるため、サンプルGM147、GM206,GM194、GM138,GM139、GM189及びGM126を作製した。また、比較例として、容リ材100%のサンプルを作製し、GM197とした。各々の配合の詳細は、表1に示す。そして、これらの曲げ物性(曲げ弾性率、最大曲げ応力及び最大曲げ応力時のたわみ量)、並びに耐衝撃性(アイゾット衝撃値)を測定した。サンプルの作製方法及びサンプルの測定方法は、以下に説明する。
なお、容リ材としては、株式会社パックスからの排出品(容器包装)を用いた。バージン材のアクリル樹脂としては、旭化成ケミカルズ株式会社製の商品名「デルペット 60N」を用いた(表1において、「Virアクリル」と表記する。以下同じ。)。バージン材のAS樹脂としては、日本エイアンドエル株式会社製の商品名「ライタック−A 120PCF」を用いた(表1において、「Vir AS」と表記する。以下同じ。)。リサイクル品のポリエチレンテレフタレート(PET)としては、市販されている炭酸飲料水のペットボトルの粉砕品を用いた(表1において、「リサイクルPET」と表記する。)。バージン材のエチレン・酢酸ビニル共重合樹脂(EVA)としては、東ソー株式会社製の商品名「ウルトラセン633」を用いた(表1において、「Vir EVA」と表記する。以下同じ。)。リサイクル品のEVAとしては、京セラ株式会社の太陽電池のパネルの封止材の製造工程における端材品を用いた(表1において、「EVA端材品」と表記する。以下同じ。)。
(サンプルの作製方法)
サンプルの作製方法について説明する。なお、各サンプルにおいて配合されていない材料がある場合には、適宜、その工程を省略して、以下の作製方法を適用した。
サンプルの作製方法について説明する。なお、各サンプルにおいて配合されていない材料がある場合には、適宜、その工程を省略して、以下の作製方法を適用した。
はじめに、各材料の下準備として、各材料を二軸押出機のホッパーに投入可能な形状に加工した。具体的には、細かく切断できるものは、例えば、5mm角以下のペレット状の粒体へ加工した。また、粉状に加工可能なものについては、ミルで粉体化した。
次に、各材料を二軸押出機のホッパーに投入する前に、あらかじめ各材料を混ぜ合わせた。ラジカル開始剤を配合する場合には、粉体又はペレット状の材料に加え、ラジカル開始剤も合わせて容器内であらかじめ混ぜ合わせた。
次に、二軸の押出機を用いて、上記のように加工した各材料を混練した。二軸押出機としては、株式会社テクノベル製の「KZW15−45HG」(Φ=15、L/D=45)を用いた。装置の運転条件として、スクリュー回転数を250rpm、及びフィーダー吐出量を毎分15gとした。二軸押出機は、第1〜第6の6つのシリンダを有するが、各シリンダの設定温度については、第1シリンダを100℃、第2シリンダ〜第6シリンダ及びダイスを180℃とした。二軸押出機で各材料を加熱且つ混合し、二軸押出機のダイスから樹脂混合物を押し出した。押し出された混合物は、ストランド状(ひも状)である。なお、材料中にラジカル開始剤を含む場合には、二軸押出機内での加熱及び混合と同時に、架橋反応が進行したものと考えられる。
続いて、ダイスから押し出されたストランド状の樹脂混合物を水槽で冷却した後、ペレタイザーでペレット化した。そして、得られたペレットを袋に入れてかき混ぜ、品質の均一化を図った。
次に、得られたペレットを用いて、試験片の成形を行った。なお、試験片の成形に先行して、ペレットを恒温槽で加熱乾燥させた。このときの加熱温度は約80℃、及び乾燥時間は約2時間であった。これにより、ペレット中の水分が除去されたものと考えられる。
続いて、射出成形機を用いて、上記作製したペレットを原料として、JIS K7139に準拠した多目的試験片(80mm×10mm×4mm)を作製した。射出成形機としては、日精樹脂工業株式会社製の「ES1000」を使用した。装置の運転条件として、シリンダ温度を180℃で一定になるように設定し、射出速度を10〜40mm/秒の所定の速度、保圧を25〜40MPaの所定の圧力、保圧時間を15秒、金型温度を45℃、冷却時間を15〜40秒とした。
なお、後述するサンプルについても、これらのサンプルと同様の方法によって作製した(ただし、架橋剤を配合するサンプルGM144及びGM128を除く。)。
(曲げ物性(曲げ弾性率、最大曲げ応力及び最大曲げ応力時のたわみ量)の測定方法)
作製した多目的試験片を用いて、インストロンジャパンカンパニイリミテッド製の「5966型万能材料試験機」を用いて、温度が20℃、及び湿度が65%の雰囲気で曲げ試験を行った。支持スパンは50mm、曲げ速度は5.0mm/分、変化量は最大20mmとした。
作製した多目的試験片を用いて、インストロンジャパンカンパニイリミテッド製の「5966型万能材料試験機」を用いて、温度が20℃、及び湿度が65%の雰囲気で曲げ試験を行った。支持スパンは50mm、曲げ速度は5.0mm/分、変化量は最大20mmとした。
(耐衝撃性(アイゾット衝撃値)の測定方法)
作製した多目的試験片に株式会社安田精機製作所製の「No.189 PNCAノッチ加工機」を用いて2mmのノッチを入れた。その後、株式会社安田精機製作所製の「No.258−L−PC衝撃試験機」を用いて、室温でアイゾット衝撃試験を行った。ハンマーの荷重は5.5Jとした。
作製した多目的試験片に株式会社安田精機製作所製の「No.189 PNCAノッチ加工機」を用いて2mmのノッチを入れた。その後、株式会社安田精機製作所製の「No.258−L−PC衝撃試験機」を用いて、室温でアイゾット衝撃試験を行った。ハンマーの荷重は5.5Jとした。
なお、後述するサンプルの曲げ物性及び耐衝撃性についても、これらのサンプルと同様の方法によって測定を行った。
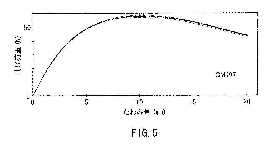
上記の方法により測定した測定結果を、表1及び図1〜図4に示す。また、各サンプルについて曲げ試験を行ったときのたわみ量と曲げ荷重の関係を示すグラフを、各々、図5〜図12に示す。
なお、表1において、「曲げ強度増減」及び「耐衝撃性増減」の項目は、サンプルGM197と比較した場合の各々の値の増減を百分率で示す。なお、「△」は上昇したことを、「▼」は低下したことを示す。
表1において、「評価」の項目中の「改質効果」は、機械的物性に関する評価である。曲げ強度と耐衝撃性のいずれかの物性の値が改質前の2倍以上に向上(10割増)して改質されているサンプル、及び、曲げ強度と耐衝撃性いずれの物性の値も30%以上改質されているサンプルを「◎」と評価した。また、曲げ強度と耐衝撃性のいずれの物性も同等又は改質されており、いずれか一方が10%以上に改質されているサンプル、及び、曲げ強度と耐衝撃性のいずれか一方の物性が10%以上向上して改質され且つ他方の物性が低下しているもののうち、一方の物性の改質割合が他方の物性の低下割合を上回っているサンプルを「○」と評価した。曲げ強度と耐衝撃性の物性の値の改質割合がいずれも10%未満であるサンプル、及び、曲げ強度と耐衝撃性のいずれか一方の物性が10%以上向上して改質され且つ他方の物性が低下しているもののうち、一方の物性の改質割合が他方の物性の低下割合と同等又はそれ以下であるサンプルを「△」と評価した。
なお、上記の「曲げ強度増減」、「耐衝撃性増減」、及び「改質効果」の評価基準については、以下の表2及び表3においても同様とする。
図1及び図2より、容リ材に硬質樹脂(アクリル樹脂、AS樹脂、PET)を配合することにより、耐衝撃性が低下するものの、曲げ特性が向上することが分かる。各硬質樹脂についてみると、曲げ特性改善の点からは、アクリル樹脂またはAS樹脂が好ましいことが分かる(図1のGM147及びGM206を参照。)。また、耐衝撃性の点からは、AS樹脂が好ましいことが分かる(図2のGM206を参照。)。従って、総合すると、アクリル樹脂、AS樹脂、PETの中ではAS樹脂が容リ材の改質の効果が最も高いと考えられる。
図3及び図4によれば、容リ材に添加する樹脂としてEVAを選択すると、曲げ特性が低下する一方で、耐衝撃性が向上していることが分かる(図4のGM138、GM139を参照。)。また、EVAの添加量の違いについて検討する(サンプルGM138とGM139、サンプルGM189とGM126)EVAの添加量が多くなるほど、曲げ特性が低下し且つ耐衝撃性が向上することが分かる。なお、曲げ特性の低下は曲げ弾性、最大曲げ応力とも10%程度であり、実用的に良好なレベルである。
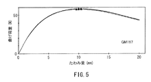
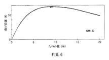
靭性については、図5〜図12によれば、硬質樹脂が配合された容リ材においても、たわみ量が20mmまで破断もクラックも発生せず、良好な靭性が得られていることが分かる。
[2:添加する樹脂の検討(2)]
上記の検討から、EVAが容リ材の耐衝撃性の向上に寄与することが分かった。太陽電池のパネルの封止材をリサイクルしてEVAとして用いる場合には、封止材にバックシート(主成分:PET)等が付着していることが想定される。そのため、サンプルGM189、GM190により、少量のPETの添加の有無による物性への影響を検討した。また、添加剤として硬質の樹脂とEVAとを併用することにより、硬質樹脂による耐衝撃性の低下をどの程度補完できるかについて、サンプルGM139、GM220、GM184により検討を行った。これらのサンプルの組成は、表2に示す。そして、これらの曲げ物性(曲げ弾性率・最大曲げ応力及び最大曲げ応力時のたわみ量)、並びに耐衝撃性(アイゾット衝撃値)を測定した。
上記の検討から、EVAが容リ材の耐衝撃性の向上に寄与することが分かった。太陽電池のパネルの封止材をリサイクルしてEVAとして用いる場合には、封止材にバックシート(主成分:PET)等が付着していることが想定される。そのため、サンプルGM189、GM190により、少量のPETの添加の有無による物性への影響を検討した。また、添加剤として硬質の樹脂とEVAとを併用することにより、硬質樹脂による耐衝撃性の低下をどの程度補完できるかについて、サンプルGM139、GM220、GM184により検討を行った。これらのサンプルの組成は、表2に示す。そして、これらの曲げ物性(曲げ弾性率・最大曲げ応力及び最大曲げ応力時のたわみ量)、並びに耐衝撃性(アイゾット衝撃値)を測定した。
なお、リサイクル品のポリエチレンテレフタレート(PET)としては、京セラ株式会社の太陽電池のパネルの封止材に付着しているバックシート材の製造工程における端材品を用いた(表2において、「PET端材品」と表記する。)。
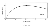
上記の方法により測定した測定結果を、表2及び図13〜図16に示す。また、各サンプルについて曲げ試験を行ったときのたわみ量と曲げ荷重の関係を示すグラフを、各々、図17〜図19に示す(サンプルGM197、GM189、及びGM139については、それぞれ、図5、図11、及び図10を参照。)。
図13及び図14によれば、少量のPETを含むサンプルGM190は、PETを含まないサンプルGM189と比較して、耐衝撃性が若干低下するものの、同程度の曲げ特性が得られていることが分かる。このことから、EVAにPETが混ざっていても、実用上、良好に使用可能な樹脂組成物が得られることが分かる。図11及び図15の比較から、靭性の観点から考えても、少量のPETの混入が実用上問題をきたさないことが分かる。
太陽電池のパネルの封止材のリサイクル品は、通常、PETを原料とするバックシート材が付着しており、封止材とバックシート材とを完全に剥離することが困難である。そのため、封止材を有効に再利用できていないのが現状であった。しかしながら、今回の検討によって、EVAにPETが混入していても問題ないことが判明したことにより、バックシート材と完全に剥離されていない封止材(つまり、PETを含むEVA材料)を、容リ材の改質に有効に使用できることが分かった。このことから、封止材のリサイクル品を有効に再利用できるので、封止材の廃棄量を低減することができると共に、容リ材の改質のコストを抑制することが可能となる。
図15及び図16によれば、容リ材に添加する材料として、EVAに加えて硬質樹脂を添加したサンプルGM220及びGM184は、EVAのみを添加したサンプルGM139と比較して、耐衝撃性が低下しているものの、曲げ特性が向上していることが分かる。また、図10,図18及び図19によれば、容リ材への添加剤がEVAのみの場合(GM139)でも、EVAに加えて硬質樹脂を含む場合(GM220及びGM184)でも、たわみ量が20mmまで破断もクラックも発生せず、良好な靭性が得られていることが分かる。これにより、樹脂組成物に必要とされる特性に応じて、EVAに加えて硬質樹脂を添加することが有効であることが分かる。
[3:添加するゴム組成物の検討]
ゴムの優れた弾性、耐衝撃性を利用して容リ材を改質することについて検討した。表3に示す組成のサンプルGM197,GM198,GM199,GM156,GM200,GM201,GM202,GM212,GM213,GM214,及びGM142を作製した。そして、これらの曲げ物性(曲げ弾性率・最大曲げ応力及び最大曲げ応力時のたわみ量)、並びに耐衝撃性(アイゾット衝撃値)を測定した。
ゴムの優れた弾性、耐衝撃性を利用して容リ材を改質することについて検討した。表3に示す組成のサンプルGM197,GM198,GM199,GM156,GM200,GM201,GM202,GM212,GM213,GM214,及びGM142を作製した。そして、これらの曲げ物性(曲げ弾性率・最大曲げ応力及び最大曲げ応力時のたわみ量)、並びに耐衝撃性(アイゾット衝撃値)を測定した。
なお、ブロック型のスチレンブタジエンゴム(SBR)としては、日本ゼオン株式会社製の商品名「Nipol NS380S」のものを用いた(表1において「ブロックSBR」と表記する。)。ブタジエンゴム(BR)としては、日本ゼオン株式会社製の商品名「Nipol 1220SG」のものを用いた(表3において「BR」と表記する。)。
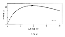
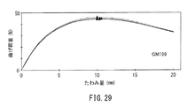
上記の方法により測定した測定結果を、表3及び図20〜図27に示す。また、各サンプルについて曲げ試験を行ったときのたわみ量と曲げ荷重の関係を示すグラフを、各々、図28〜図37に示す(サンプルGM197については、図5を参照。)。
図20によれば、容リ材にブロックSBRを添加することにより(サンプルGM198,GM199,GM156)、曲げ強度がわずかに低下していることが分かる。一方、図21によれば、ブロックSBRの添加量が増加するほど(サンプルGM156が最大)、衝撃値が著しく向上していることが分かる。従って、容リ材にブロックSBRを添加することにより、同程度の曲げ特性を維持しつつ、優れた耐衝撃性が得られることが分かる。
また、図28〜図30によれば、容リ材にブロックSBRを添加したサンプルGM198,GM199,GM156では、たわみ量が20mmまで破断もクラックも発生せず、良好な靭性が得られていることが分かる。
図22及び図24によれば、容リ材にブロックSBRを添加し、さらに、アクリル樹脂(サンプルGM200,GM201,GM202)またはAS樹脂(GM212,GM213,GM214)を添加した場合でも、図20と同様に曲げ強度がわずかな低下にとどめられていることが分かる。
一方、図23及び図25によれば、容リ材に添加するブロックSBRの添加量が硬質樹脂の添加量よりも少ない場合(サンプルGM200及びGM212)において、耐衝撃性が向上していないことが分かる。ただし、ブロックSBRの添加量を増加すると(サンプルGM201,GM202,GM213,GM214)、衝撃値は大きく向上している。このことから、硬質樹脂(アクリル樹脂またはAS樹脂)による耐衝撃性の低下をブロックSBRの添加によって補完できていると考えられる。
また、図31〜図36によれば、容リ材にブロックSBRを添加したサンプルGM198,GM199,GM156では、たわみ量が20mmまで破断もクラックも発生せず、良好な靭性が得られていることが分かる。
図26及び図27によれば、添加するゴム組成物がブロックSBRであるサンプルGM198と、BRであるサンプルGM142を比較すると、曲げ特性及び耐衝撃性の両方において、BRを添加したサンプルGM142が優れていることが分かる。また、図37によれば、サンプルGM142においても、たわみ量が20mmまで破断もクラックも発生せず、良好な靭性が得られていることが分かる。
PVB樹脂組成物の製造にあたってのコスト効率について検討する。一般に、EVAの端材品は、表面にPET等の成分(バックシート材由来)等が付着しており、リサイクルとして好適ではないと考えられているので、安価で仕入れることが可能である。そのため、例えばサンプルGM189,GM126(表1),GM190(表2)は、非常に優れたコスト効率でPVB樹脂組成物を製造することができる。
組成として容リ材と樹脂のみを含むPVB樹脂組成物は、ラジカル開始剤やゴム組成物を含まないので、製造工程が複雑にならず製造効率がよい。その上、サンプルGM206は、樹脂として安価なAS樹脂(バージン材)を含むので、製造コストの面で優れたPVB樹脂組成物であると言える。
また、ブタジエンゴム(BR)は、安価な汎用ゴムである。サンプルGM142(表3)では、安価なブタジエンゴムを用い、さらに、ブタジエンゴムの配合量が容リ材100重量部に対して5.9重量部と少量であるにもかかわらず、耐衝撃性において優れた改質効果を発揮している。このため、サンプルGM142は、優れた製造コストで形成可能なPVB樹脂組成物であり、さらに、製造コストあたり、非常に優れた改質効果が得られていると言える。
以上、上述した実施の形態は本発明を実施するための例示に過ぎない。よって、本発明は上述した実施の形態に限定されることなく、その趣旨を逸脱しない範囲内で上述した実施の形態を適宜変形して実施することが可能である。
本発明は、樹脂組成物について利用可能であり、特に、容リ材を含む樹脂組成物について利用可能である。
Claims (5)
- 第1のゴム組成物又は第1の樹脂と、
ポリプロピレン及びポリエチレンの少なくとも一方を主成分とする樹脂組成物と、
を含む、樹脂組成物。 - 請求項1に記載の樹脂組成物において、
前記第1のゴム組成物は、ブロック型のスチレンブタジエンゴム、ブタジエンゴム、ランダム型のスチレンブタジエンゴム、ニトリルゴム(NBR)、天然ゴム(NR)である、樹脂組成物。 - 請求項1に記載の樹脂組成物において、
前記第1の樹脂は、アクリル樹脂、エチレン酢酸ビニル共重合体(EVA)、アクリロニトリル・スチレン(AS)樹脂、ポリエチレンテレフタレート(PET)、ポリカーボネート(PC)、ポリスチレン(PS)、及びアクリロニトリルブタジエンスチレン(ABS)樹脂の少なくとも1つである、樹脂組成物。 - 請求項3に記載の樹脂組成物において、
前記第1の樹脂は、エチレン酢酸ビニル共重合体(EVA)及びポリエチレンテレフタレート(PET)である、樹脂組成物。 - ポリプロピレン及びポリエチレンの少なくとも一方を主成分とする樹脂組成物と、
請求項1〜4のいずれか一項に記載の樹脂組成物を含む樹脂改質剤と、
を含み、
前記樹脂改質剤において、前記ポリプロピレン及びポリエチレンの少なくとも一方を主成分とする樹脂組成物100重量部に対する前記第1のゴム組成物又は前記第1の樹脂の含有量が、50〜500重量部である、樹脂組成物。
Priority Applications (1)
| Application Number | Priority Date | Filing Date | Title |
|---|---|---|---|
| JP2015072144A JP2016190967A (ja) | 2015-03-31 | 2015-03-31 | 樹脂組成物 |
Applications Claiming Priority (1)
| Application Number | Priority Date | Filing Date | Title |
|---|---|---|---|
| JP2015072144A JP2016190967A (ja) | 2015-03-31 | 2015-03-31 | 樹脂組成物 |
Publications (1)
| Publication Number | Publication Date |
|---|---|
| JP2016190967A true JP2016190967A (ja) | 2016-11-10 |
Family
ID=57246550
Family Applications (1)
| Application Number | Title | Priority Date | Filing Date |
|---|---|---|---|
| JP2015072144A Pending JP2016190967A (ja) | 2015-03-31 | 2015-03-31 | 樹脂組成物 |
Country Status (1)
| Country | Link |
|---|---|
| JP (1) | JP2016190967A (ja) |
Cited By (2)
| Publication number | Priority date | Publication date | Assignee | Title |
|---|---|---|---|---|
| CN110256805A (zh) * | 2019-07-10 | 2019-09-20 | 东莞市国亨塑胶科技有限公司 | 一种使用海洋回收塑料的3c产品专用材料及其制备方法 |
| JPWO2019098187A1 (ja) * | 2017-11-14 | 2020-11-19 | 株式会社 ガラステクノシナジー | 樹脂組成物 |
-
2015
- 2015-03-31 JP JP2015072144A patent/JP2016190967A/ja active Pending
Cited By (3)
| Publication number | Priority date | Publication date | Assignee | Title |
|---|---|---|---|---|
| JPWO2019098187A1 (ja) * | 2017-11-14 | 2020-11-19 | 株式会社 ガラステクノシナジー | 樹脂組成物 |
| CN110256805A (zh) * | 2019-07-10 | 2019-09-20 | 东莞市国亨塑胶科技有限公司 | 一种使用海洋回收塑料的3c产品专用材料及其制备方法 |
| CN110256805B (zh) * | 2019-07-10 | 2021-11-30 | 东莞市国亨塑胶科技有限公司 | 一种使用海洋回收塑料的3c产品专用材料及其制备方法 |
Similar Documents
| Publication | Publication Date | Title |
|---|---|---|
| JP6031648B2 (ja) | ポリビニルブチラール樹脂組成物、及び成型品 | |
| CN1167127A (zh) | 液晶聚酯树脂组合物 | |
| US20050222303A1 (en) | Compositions and methods for producing highly filled materials | |
| US20100331458A1 (en) | Reinforcing additives for composite materials | |
| CN101967288A (zh) | 一种木粉填充聚丙烯复合材料及制备方法 | |
| CN105283502B (zh) | 组合物、由其制成的热塑性硫化橡胶和由其形成的物品 | |
| CN102604404A (zh) | 一种木粉填充聚丙烯与聚乙烯的复合材料及制备方法 | |
| EP2997090A1 (en) | Single pellet polymeric compositions | |
| EP2646507A1 (en) | Olefinic thermoplastic elastomer composition and process for producing the same | |
| CN1137208C (zh) | 多层聚合物体系及其所用的组合物 | |
| CN108285512A (zh) | 一种增韧增强回收聚乙烯/聚丙烯复合材料及其制备方法 | |
| CN1255475C (zh) | 刚度改进的增韧的玻璃充填的聚酰胺组合物及共混物 | |
| JP2020158698A (ja) | 再生樹脂組成物 | |
| JP2016190967A (ja) | 樹脂組成物 | |
| JP6870404B2 (ja) | 樹脂組成物及びこれよりなる積層体 | |
| JP5753816B2 (ja) | 成形体 | |
| JP5503359B2 (ja) | 熱可塑性樹脂複合体 | |
| WO2011030922A1 (ja) | ポリオレフィン系樹脂組成物及び成形体 | |
| CN110655765A (zh) | 可回收且具有黏合性的包装膜组合物 | |
| WO2004039875A1 (en) | Method of recycling of commingled plastics waste to tough thermoplastic materials | |
| JP2002225011A (ja) | 成形用木質系組成物及びその製造方法 | |
| JP2008222865A (ja) | バイオマス樹脂組成物 | |
| US20120196957A1 (en) | Compatibilizer Blend For Polymeric Compositions | |
| JP2007112913A (ja) | リサイクルプラスチック及びリサイクルプラスチック厚板材 | |
| KR101594850B1 (ko) | 복합소재 스크랩의 재사용을 위한 복합소재 수지 조성물 |
