JP2016157773A - 電子デバイス、及び、電子デバイスの製造方法 - Google Patents
電子デバイス、及び、電子デバイスの製造方法 Download PDFInfo
- Publication number
- JP2016157773A JP2016157773A JP2015033739A JP2015033739A JP2016157773A JP 2016157773 A JP2016157773 A JP 2016157773A JP 2015033739 A JP2015033739 A JP 2015033739A JP 2015033739 A JP2015033739 A JP 2015033739A JP 2016157773 A JP2016157773 A JP 2016157773A
- Authority
- JP
- Japan
- Prior art keywords
- substrate
- adhesive
- pressure chamber
- electronic device
- sealing plate
- Prior art date
- Legal status (The legal status is an assumption and is not a legal conclusion. Google has not performed a legal analysis and makes no representation as to the accuracy of the status listed.)
- Pending
Links
Images
Classifications
-
- H10W90/724—
Landscapes
- Particle Formation And Scattering Control In Inkjet Printers (AREA)
- Wire Bonding (AREA)
Abstract
【課題】接着剤の濡れ広がりを抑え、小型化が可能な電子デバイス、及び、電子デバイスの製造方法を提供する。
【解決手段】圧力室形成基板29又は封止板33の何れか一方にバンプ電極40を形成する導電材料形成工程と、圧力室形成基板29又は封止板33の何れか一方に接着剤43を形成する接着剤形成工程と、圧力室形成基板29と封止板33との間にバンプ電極40及び接着剤43を挟んだ状態で、圧力室形成基板29と封止板33との間隔を狭める方向に加圧する加圧工程と、加熱によりバンプ電極40を溶融させる溶融工程と、圧力室形成基板29と封止板33との間隔を溶融工程における間隔よりも広げる圧力開放工程と、圧力室形成基板29と封止板33との間隔を広げた状態で、接着剤43の硬化温度まで加熱する接着剤硬化工程と、を含むこと。
【選択図】図4
【解決手段】圧力室形成基板29又は封止板33の何れか一方にバンプ電極40を形成する導電材料形成工程と、圧力室形成基板29又は封止板33の何れか一方に接着剤43を形成する接着剤形成工程と、圧力室形成基板29と封止板33との間にバンプ電極40及び接着剤43を挟んだ状態で、圧力室形成基板29と封止板33との間隔を狭める方向に加圧する加圧工程と、加熱によりバンプ電極40を溶融させる溶融工程と、圧力室形成基板29と封止板33との間隔を溶融工程における間隔よりも広げる圧力開放工程と、圧力室形成基板29と封止板33との間隔を広げた状態で、接着剤43の硬化温度まで加熱する接着剤硬化工程と、を含むこと。
【選択図】図4
Description
本発明は、駆動領域を変形させる駆動素子が設けられた電子デバイス、及び、電子デバイスの製造方法に関するものである。
電子デバイスは、電圧の印加により変形する圧電素子等の駆動素子を備えたデバイスであり、各種の装置やセンサー等に応用されている。例えば、液体噴射装置では、電子デバイスを利用した液体噴射ヘッドから各種の液体を噴射している。この液体噴射装置としては、例えば、インクジェット式プリンターやインクジェット式プロッター等の画像記録装置があるが、最近ではごく少量の液体を所定位置に正確に着弾させることができるという特長を生かして各種の製造装置にも応用されている。例えば、液晶ディスプレイ等のカラーフィルターを製造するディスプレイ製造装置,有機EL(Electro Luminescence)ディスプレイやFED(面発光ディスプレイ)等の電極を形成する電極形成装置,バイオチップ(生物化学素子)を製造するチップ製造装置に応用されている。そして、画像記録装置用の記録ヘッドでは液状のインクを噴射し、ディスプレイ製造装置用の色材噴射ヘッドではR(Red)・G(Green)・B(Blue)の各色材の溶液を噴射する。また、電極形成装置用の電極材噴射ヘッドでは液状の電極材料を噴射し、チップ製造装置用の生体有機物噴射ヘッドでは生体有機物の溶液を噴射する。
上記の液体噴射ヘッドは、ノズルに連通する圧力室が形成された圧力室形成基板、圧力室内の液体に圧力変動を生じさせる圧電素子(駆動素子の一種)、及び、当該圧電素子に対して間隔を開けて配置された封止板等が積層された電子デバイスを備えている。近年、この封止板に、圧電素子を駆動するための駆動回路(ドライバー回路ともいう。)を設ける技術が開発されている。そして、この封止板と圧電素子が積層された圧力室形成基板とは、バンプ電極を介在させた状態で熱硬化性を有する接着剤により接合されている(例えば、特許文献1参照)。
ところで、封止板と圧力室形成基板とを接合する際において、接着剤が硬化するまでの間に接着剤が接合面方向に濡れ広がる虞があった。例えば、この接着剤の濡れ広がった部分が、振動板の振動領域(駆動領域)に重なった場合、当該振動領域の振動が阻害される虞があった。このため、振動板の振動領域等の電子デバイスを構成する他の部分と接着剤とが干渉しないように、接着剤の濡れ広がる領域を考慮して接着領域を設けていた。その結果、接着領域が広くなり、電子デバイスの小型化が困難になっていた。
本発明は、このような事情に鑑みてなされたものであり、その目的は、接着剤の濡れ広がりを抑え、小型化が可能な電子デバイス、及び、電子デバイスの製造方法を提供することにある。
本発明の電子デバイスの製造方法は、上記目的を達成するために提案されたものであり、撓み変形が許容される駆動領域に当該駆動領域を変形させる駆動素子が設けられた第1の基板と、導電材料を介在させた状態で前記第1の基板に対して間隔を開けて配置された第2の基板とを、熱硬化性を有する接着剤により接合した電子デバイスの製造方法であって、
前記第1の基板又は前記第2の基板の何れか一方に導電材料を形成する導電材料形成工程と、
前記第1の基板又は前記第2の基板の何れか一方に接着剤を形成する接着剤形成工程と、
前記第1の基板と前記第2の基板との間に導通材料及び接着剤を挟んだ状態で、前記第1の基板と前記第2の基板との間隔を狭める方向に加圧する加圧工程と、
加熱により前記導通材料を溶融させる溶融工程と、
前記第1の基板と前記第2の基板との間隔を前記溶融工程における間隔よりも広げる圧力開放工程と、
前記第1の基板と前記第2の基板との間隔を広げた状態で、前記接着剤の硬化温度まで加熱する接着剤硬化工程と、を含むことを特徴とする。
前記第1の基板又は前記第2の基板の何れか一方に導電材料を形成する導電材料形成工程と、
前記第1の基板又は前記第2の基板の何れか一方に接着剤を形成する接着剤形成工程と、
前記第1の基板と前記第2の基板との間に導通材料及び接着剤を挟んだ状態で、前記第1の基板と前記第2の基板との間隔を狭める方向に加圧する加圧工程と、
加熱により前記導通材料を溶融させる溶融工程と、
前記第1の基板と前記第2の基板との間隔を前記溶融工程における間隔よりも広げる圧力開放工程と、
前記第1の基板と前記第2の基板との間隔を広げた状態で、前記接着剤の硬化温度まで加熱する接着剤硬化工程と、を含むことを特徴とする。
この方法によれば、第1の基板と第2の基板との間隔が広がった状態で接着剤が硬化するため、第1の基板又は第2の基板との接着面において接着剤の濡れ広がりを抑えることができる。これにより、接着剤が予定した領域からはみ出でることを抑制でき、駆動領域等の電子デバイスを構成する他の部分と接着剤とが干渉することを抑制できる。その結果、電子デバイスをより安定して製造することができる。また、駆動領域等の電子デバイスを構成する他の部分に対して、接着剤を可及的に近づけることができ、電子デバイスを小型化することができる。
また、上記方法において、前記導電材料の融点が前記接着剤の硬化温度よりも低いことが望ましい。
この方法によれば、接着剤硬化工程の際に第1の基板と第2の基板との間隔を広げても、導電材料が溶融しているため、当該導電材料が第1の基板及び第2の基板から離れることを抑制できる。
さらに、本発明の電子デバイスは、撓み変形が許容される駆動領域に当該駆動領域を変形させる駆動素子が設けられた第1の基板と、
導電材料を介在させた状態で前記第1の基板に対して間隔を開けて配置された第2の基板と、
前記駆動領域から外れた非駆動領域において、前記第1の基板と前記第2の基板とを両基板の間隔を保持した状態で接合する接着剤と、を備え、
前記第1の基板又は前記第2の基板の表面と前記導電材料との接する面積が、前記第1の基板と前記第2の基板との間における前記導電材料の断面積よりも大きいことを特徴とする。
導電材料を介在させた状態で前記第1の基板に対して間隔を開けて配置された第2の基板と、
前記駆動領域から外れた非駆動領域において、前記第1の基板と前記第2の基板とを両基板の間隔を保持した状態で接合する接着剤と、を備え、
前記第1の基板又は前記第2の基板の表面と前記導電材料との接する面積が、前記第1の基板と前記第2の基板との間における前記導電材料の断面積よりも大きいことを特徴とする。
この構成によれば、例えば、接着剤の内部応力等により第1の基板と第2の基板とが離れる方向に応力が働いたとしても、第1の基板と第2の基板との間における導電材料の断面積が小さいので、この部分が伸張して応力を受けることができる。その結果、第1の基板又は第2の基板の表面と導電材料との接合面にかかる応力を緩和でき、第1の基板又は第2の基板の表面から導電材料が剥がれることを抑制できる。
また、上記構成において、前記導電材料と前記接着剤とが離間して設けられた構成を採用することが望ましい。
この構成によれば、導電材料と接着剤とが干渉することを抑制できる。これにより、第1の基板と第2の基板との間における導電率の低下を抑制できる。
以下、本発明を実施するための形態を、添付図面を参照して説明する。なお、以下に述べる実施の形態では、本発明の好適な具体例として種々の限定がされているが、本発明の範囲は、以下の説明において特に本発明を限定する旨の記載がない限り、これらの態様に限られるものではない。また、以下においては、本発明に係る電子デバイスを備えた液体噴射ヘッドの一種であるインクジェット式記録ヘッド(以下、記録ヘッド)を搭載した液体噴射装置の一種であるインクジェット式プリンター(以下、プリンター)を例に挙げて説明する。
プリンター1の構成について、図1を参照して説明する。プリンター1は、記録紙等の記録媒体2(着弾対象の一種)の表面に対してインク(液体の一種)を噴射して画像等の記録を行う装置である。このプリンター1は、記録ヘッド3、この記録ヘッド3が取り付けられるキャリッジ4、キャリッジ4を主走査方向に移動させるキャリッジ移動機構5、記録媒体2を副走査方向に移送する搬送機構6等を備えている。ここで、上記のインクは、液体供給源としてのインクカートリッジ7に貯留されている。このインクカートリッジ7は、記録ヘッド3に対して着脱可能に装着される。なお、インクカートリッジがプリンターの本体側に配置され、当該インクカートリッジからインク供給チューブを通じて記録ヘッドに供給される構成を採用することもできる。
上記のキャリッジ移動機構5はタイミングベルト8を備えている。そして、このタイミングベルト8はDCモーター等のパルスモーター9により駆動される。したがってパルスモーター9が作動すると、キャリッジ4は、プリンター1に架設されたガイドロッド10に案内されて、主走査方向(記録媒体2の幅方向)に往復移動する。キャリッジ4の主走査方向の位置は、位置情報検出手段の一種であるリニアエンコーダー(図示せず)によって検出される。リニアエンコーダーは、その検出信号、即ち、エンコーダーパルス(位置情報の一種)をプリンター1の制御部に送信する。
また、キャリッジ4の移動範囲内における記録領域よりも外側の端部領域には、キャリッジ4の走査の基点となるホームポジションが設定されている。このホームポジションには、端部側から順に、記録ヘッド3のノズル面(ノズルプレート21)に形成されたノズル22を封止するキャップ11、及び、ノズル面を払拭するためのワイピングユニット12が配置されている。
次に記録ヘッド3について説明する。図2は、記録ヘッド3の構成を説明する断面図である。図3は、図2における領域Aの拡大図であり、記録ヘッド3に組み込まれた電子デバイス14の要部を拡大した断面図である。本実施形態における記録ヘッド3は、図2に示すように、電子デバイス14および流路ユニット15が積層された状態でヘッドケース16に取り付けられている。なお、便宜上、各部材の積層方向を上下方向として説明する。
ヘッドケース16は、合成樹脂製の箱体状部材であり、その内部には各圧力室30にインクを供給するリザーバー18が形成されている。このリザーバー18は、複数並設された圧力室30に共通なインクが貯留される空間であり、ノズル列方向に沿って形成されている。なお、ヘッドケース16の上方には、インクカートリッジ7側からのインクをリザーバー18に導入するインク導入路(図示せず)が形成されている。また、ヘッドケース16の下面側には、当該下面からヘッドケース16の高さ方向の途中まで直方体状に窪んだ収容空間17が形成されている。後述する流路ユニット15がヘッドケース16の下面に位置決めされた状態で接合されると、連通基板24上に積層された電子デバイス14(圧力室形成基板29、封止板33等)が収容空間17内に収容されるように構成されている。
ヘッドケース16の下面に接合される流路ユニット15は、連通基板24、ノズルプレート21およびコンプライアンスシート28を有している。連通基板24は、シリコン製の板材であり、本実施形態では、表面(上面および下面)を(110)面としたシリコン単結晶基板から作製されている。この連通基板24には、図2に示すように、リザーバー18と連通し、各圧力室30に共通なインクが貯留される共通液室25と、この共通液室25を介してリザーバー18からのインクを各圧力室30に個別に供給する個別連通路26とが、エッチングにより形成されている。共通液室25は、ノズル列方向(圧力室30の並設方向)に沿った長尺な空部である。この共通液室25は、連通基板24の板厚方向を貫通した第1液室25aと、連通基板24の下面側から上面側に向けて当該連通基板24の板厚方向の途中まで窪ませ、上面側に薄板部を残した状態で形成された第2液室25bと、から構成される。個別連通路26は、第2液室25bの薄板部において、圧力室30に対応して当該圧力室30の並設方向に沿って複数形成されている。この個別連通路26は、連通基板24と圧力室形成基板29とが接合された状態で、対応する圧力室30の長手方向における一側の端部と連通する。
また、連通基板24の各ノズル22に対応する位置には、連通基板24の板厚方向を貫通したノズル連通路27が形成されている。すなわち、ノズル連通路27は、ノズル列に対応して当該ノズル列方向に沿って複数形成されている。このノズル連通路27によって、圧力室30とノズル22とが連通する。本実施形態のノズル連通路27は、連通基板24と圧力室形成基板29とが接合された状態で、対応する圧力室30の長手方向における他側(個別連通路26とは反対側)の端部と連通する。
ノズルプレート21は、連通基板24の下面(圧力室形成基板29とは反対側の面)に接合されたシリコン製の基板(例えば、シリコン単結晶基板)である。本実施形態のノズルプレート21は、連通基板24におけるコンプライアンスシート28(共通液室25)から外れた領域に接合されている。このノズルプレート21には、複数のノズル22が直線状(列状)に開設されている。この列設された複数のノズル22(ノズル列)は、一端側のノズル22から他端側のノズル22までドット形成密度に対応したピッチ(例えば600dpi)で、主走査方向に直交する副走査方向に沿って等間隔に設けられている。
コンプライアンスシート28は、連通基板24のノズルプレート21が接合された領域から外れた領域であって、共通液室25に対応する領域に、当該共通液室25となる空間の下面側の開口を塞ぐ状態で接合されている。このコンプライアンスシート28は、可撓性を有する可撓膜28aと、この可撓膜28aが上面に固定される硬質な固定板28bと、からなる。固定板28bの共通液室25に対応する位置には、可撓膜28aの可撓変形が阻害されないように開口が設けられている。これにより、共通液室25の下面側は、可撓膜28aのみによって区画されたコンプライアンス部となる。このコンプライアンス部によって、リザーバー18および共通液室25内のインクに発生する圧力変化を吸収することができる。
本実施形態の電子デバイス14は、各圧力室30内のインクに圧力変動を生じさせるアクチュエーターとして機能する薄板状のデバイスである。この電子デバイス14は、図2に示すように、圧力室形成基板29、振動板31、圧電素子32および封止板33が積層されてユニット化されている。なお、電子デバイス14は、収容空間17内に収容可能なように、収容空間17よりも小さく形成されている。
圧力室形成基板29は、シリコン製の硬質な板材であり、本実施形態では、表面(上面および下面)を(110)面としたシリコン単結晶基板から作製されている。この圧力室形成基板29には、エッチングにより一部が板厚方向に完全に除去されて、圧力室30となるべき空間が形成されている。この空間、すなわち圧力室30は、各ノズル22に対応して複数並設されている。各圧力室30は、ノズル列方向に直交する方向に長尺な空部であり、長手方向の一側の端部に個別連通路26が連通し、他側の端部にノズル連通路27が連通している。
振動板31は、弾性を有する薄膜状の部材であり、圧力室形成基板29の上面(連通基板24側とは反対側の面)に積層されている。この振動板31によって、圧力室30となるべき空間の上部開口が封止されている。換言すると、振動板31によって、圧力室30が区画されている。この振動板31における圧力室30(詳しくは、圧力室30の上部開口)に対応する部分は、圧電素子32の撓み変形に伴ってノズル22から遠ざかる方向あるいは近接する方向に変位する変位部として機能する。すなわち、振動板31における圧力室30の上部開口に対応する領域が、撓み変形が許容される駆動領域a1となる。一方、振動板31における圧力室30の上部開口から外れた領域が、撓み変形が阻害される非駆動領域a2となる。
なお、振動板31は、例えば、圧力室形成基板29の上面に形成された二酸化シリコン(SiO2)からなる弾性膜と、この弾性膜上に形成された酸化ジルコニウム(ZrO2)からなる絶縁体膜と、から成る。そして、この絶縁膜上(振動板31の圧力室形成基板29側とは反対側の面)における各圧力室30に対応する領域、すなわち駆動領域a1に圧電素子32がそれぞれ積層されている。なお、圧力室形成基板29及びこれに積層された振動板31が本発明における第1の基板に相当する。
本実施形態の圧電素子32は、所謂撓みモードの圧電素子である。図3に示すように、この圧電素子32は、例えば、振動板31上に、下電極層37(個別電極)、圧電体層38および上電極層39(共通電極)が順次積層されてなる。このように構成された圧電素子32は、下電極層37と上電極層39との間に両電極の電位差に応じた電界が付与されると、ノズル22から遠ざかる方向あるいは近接する方向に撓み変形する。図3に示すように、上電極層39の他側(図3における左側)の端部は、駆動領域a1から圧電体層38が積層された領域を超えて、非駆動領域a2まで延在されている。一方、図示はしていないが、下電極層37の一側(図2における右側)の端部は、駆動領域a1から圧電体層38が積層された領域を超えて、上電極層39が積層された非駆動領域a2とは反対側の非駆動領域a2まで延在されている。すなわち、圧力室30の長手方向において、下電極層37が一側の非駆動領域a2まで延在され、上電極層39が他側の非駆動領域a2まで延在されている。そして、この延在された下電極層37及び上電極層39に、それぞれ対応するバンプ電極40(後述)が接合されている。
封止板33(本発明における第2の基板に相当)は、平板状に形成されたシリコン製の板材である。本実施形態では、表面(上面および下面)を(110)面としたシリコン単結晶基板から作製されている。図3に示すように、この封止板33の圧電素子32と対向する領域には、各圧電素子32を個々に駆動するための駆動回路46(ドライバー回路)が形成されている。駆動回路46は、封止板33となるシリコン単結晶基板(シリコンウェハ)の表面に、半導体プロセス(即ち、成膜工程、フォトリソグラフィー工程及びエッチング工程など)を用いて作成される。また、封止板33の圧電素子32側の面における駆動回路46上には、当該駆動回路46に接続される配線層47が、封止板33の表面に露出した状態で形成されている。配線層47は、駆動回路46よりも外側であって、非駆動領域a2に積層された下電極層37及び上電極層39と対向する位置まで引き回されている。なお、配線層47は、図3において便宜上一体的に表されているが、複数の配線を含んでいる。配線層47に含まれる各配線は、駆動回路46内の対応する配線と電気的に接続されている。
振動板31及び圧電素子32が積層された圧力室形成基板29と封止板33とは、バンプ電極40(本発明における導電材料に相当)を介在させた状態で、接着剤43により接合されている。具体的には、図2に示すように、圧電素子32を挟んで圧力室30の長手方向の両側に形成された非駆動領域a2において、バンプ電極40及び接着剤43により振動板31と封止板33との間隔が保持されている。なお、この間隔は、圧電素子32の歪み変形を阻害しない程度に設定され、例えば、約5μm〜約25μmに設定されている。また、接着剤43は、熱硬化性を有するものが用いられる。例えば、エポキシ樹脂、アクリル樹脂、フェノール樹脂、ポリイミド樹脂、シリコーン樹脂、スチレン樹脂等を主成分に含む接着剤が好適に用いられる。図3に示すように、本実施形態の接着剤43は、バンプ電極40の周囲に密着した状態で形成されている。
バンプ電極40は、接着剤43の硬化温度よりも低い融点を有する金属等の導電材料が用いられる。本実施形態では、バンプ電極40としてハンダ(鉛を含有しないものも含む)が用いられている。このバンプ電極40によって、非駆動領域a2における下電極層37及び上電極層39と、これらに対応する配線層47とが電気的に接合されている。これにより、駆動回路46からの駆動電圧(駆動信号)が、各バンプ電極40を介して各圧電素子32に印加(供給)される。
ここで、図3に示すように、振動板31の表面(詳しくは、下電極層37又は上電極層39の表面)又は封止板33の表面(詳しくは、配線層47の表面)におけるバンプ電極40の断面積(すなわち、振動板31又は封止板33とバンプ電極40との接する面積)は、振動板31と封止板33との間におけるバンプ電極40の断面積(接着面に対して平行な面における面積)よりも大きく形成されている。すなわち、バンプ電極40は、高さ方向(接着面に対して垂直な方向)の中央部における幅Waが同方向の端部における幅Wbよりも小さく形成されている。換言すると、バンプ電極40は、振動板31と封止板33との中間部分が、内側に萎んで形成されている。これにより、例えば、接着剤43の内部応力等により圧力室形成基板29と封止板33とが離れる方向に応力が働いたとしても、バンプ電極40の高さ方向の中央部分が伸張して応力を受けることができる。その結果、振動板31又は封止板33の表面とバンプ電極40との接合面にかかる応力を緩和でき、振動板31又は封止板33の表面からバンプ電極40が剥がれることを抑制できる。なお、接着剤43の外形は、バンプ電極40の表面に沿って、同様の形状に形成されている。すなわち、バンプ電極40を挟んで両側に形成される接着剤43は、それぞれ高さ方向の中央部がバンプ電極40側に凹んで形成されている。
なお、上記では、図3に示すバンプ電極40及び接着剤43、すなわち他側(図2における左側)に配置されたバンプ電極40及び接着剤43に着目して説明したが、一側(図2における右側)に配置されたバンプ電極40及び接着剤43についても、同様の形状に形成されている。また、図示されていないその他のバンプ電極及び接着剤についても、同様の形状に形成されている。なお、このような形状のバンプ電極40及び接着剤43を形成する方法については、後述する。
そして、上記のように形成された記録ヘッド3は、インクカートリッジ7からのインクをインク導入路、リザーバー18、共通液室25および個別連通路26を介して圧力室30に導入する。この状態で、駆動回路46からの駆動信号を、バンプ電極40を介して圧電素子32に供給することで、圧電素子32を駆動させて圧力室30に圧力変動を生じさせる。この圧力変動を利用することで、記録ヘッド3はノズル連通路27を介してノズル22からインク滴を噴射する。
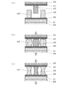
次に、上記した記録ヘッド3、特に電子デバイス14の製造方法について説明する。図4は、電子デバイス14の製造工程を説明する模式図である。本実施形態の電子デバイス14は、封止板33となる領域が複数形成されたシリコン単結晶基板(シリコンウェハ)と、振動板31及び圧電素子32が積層されて圧力室形成基板29となる領域が複数形成されたシリコン単結晶基板(シリコンウェハ)とを接合した後で、切断して個片化することで得られる。
詳しく説明すると、封止板33側のシリコン単結晶基板では、まず、半導体プロセスにより、表面(圧力室形成基板29側と対向する側の面)に駆動回路46を形成する。駆動回路46が形成されたならば、配線層47となる金属を製膜した後で、フォトリソグラフィー工程及びエッチング工程により、配線層47をパターニングする。これにより、シリコン単結晶基板に、個々の記録ヘッド3に対応した封止板33となる領域が複数形成される。一方、圧力室形成基板29側のシリコン単結晶基板では、まず、表面(封止板33側と対向する側の面)に振動板31を積層する。次に、半導体プロセスにより、下電極層37、圧電体層38及び上電極層39等を順次パターニングし、圧電素子32を形成する。これにより、シリコン単結晶基板に、個々の記録ヘッド3に対応した圧力室形成基板29となる領域が複数形成される。
それぞれのシリコン単結晶基板に封止板33及び圧力室形成基板29が形成されたならば、導電材料形成工程において、封止板33となるシリコン単結晶基板又は圧力室形成基板29となるシリコン単結晶基板の何れか一方の表面にバンプ電極40となるハンダを塗布する。詳しくは、封止板33となるシリコン単結晶基板側にハンダを塗布する場合、非駆動領域a2における下電極層37及び上電極層39に対応する領域の配線層47上にハンダを形成する。或いは、圧力室形成基板29となるシリコン単結晶基板側にハンダを塗布する場合、非駆動領域a2における下電極層37上及び上電極層39上にハンダを形成する。次に、両基板の互いの位置を合わせつつ、何れか一方のシリコン単結晶基板を他方のシリコン単結晶基板側に向けて相対的に移動させて、ハンダを両基板に仮固定する。これにより、封止板33側の配線層47と圧力室形成基板29側の電極層37、39とがバンプ電極40により確実に接続される(図4a参照)。
次に、接着剤形成工程において、封止板33となるシリコン単結晶基板又は圧力室形成基板29となるシリコン単結晶基板の何れか一方の表面に接着剤43を塗布する。本実施形態では、熱硬化性を有する液体状の接着剤43をニードル等により基板間から注入する。注入された接着剤43は、表面張力にバンプ電極40の表面に沿って一方の基板から他方の基板に亘って広がると共に、バンプ電極40に対して接着剤43の注入位置側とは反対側に回り込む。これにより、バンプ電極40の周囲に接着剤43が充填される(図4b参照)。このように、バンプ電極40を両基板に仮固定した後、接着剤43を形成することで、接着剤43がバンプ電極40とシリコン単結晶基板との接合面に進入することによるバンプ電極40の接続不良を防止することができる。
封止板33となるシリコン単結晶基板と圧力室形成基板29となるシリコン単結晶基板との間にバンプ電極40及び接着剤43が挟まれたならば、加圧工程により、両基板の間隔を狭める方向(図4(b)における矢印参照)に加圧する。さらに、溶融工程において、この状態から加熱することで、バンプ電極40を溶融させる。そして、バンプ電極40が溶融したならば、圧力開放工程において、例えば、溶融工程(加圧工程)で加えた圧力を弱める、或いは、両基板を加圧方向とは反対側に引っ張る、等を行うことで、両基板の間隔を溶融工程における間隔よりも広げる(図4(c)参照)。これにより、バンプ電極40および接着剤43が高さ方向に伸張する。その結果、バンプ電極40の側面が内側に湾曲し、即ちくびれて、高さ方向の中央部が凹んだ形状になる。すなわち、封止板33となるシリコン単結晶基板の表面又は圧力室形成基板29となるシリコン単結晶基板の表面におけるバンプ電極40の断面積(シリコン単結晶基板とバンプ電極40との接する面積)が、両基板間におけるバンプ電極40の断面積よりも大きくなる。また、接着剤43の側面もバンプ電極40の側面に沿って、内側に湾曲する。この状態で、接着剤硬化工程において、接着剤43の硬化温度まで更に加熱し、接着剤43を硬化させる。そして、接着剤43が硬化したならば、加熱を停止し、バンプ電極40の融点以下の温度まで冷却することで当該バンプ電極40を硬化させる。このようにして、両基板、すなわち、振動板31及び圧電素子32が積層された圧力室形成基板29と封止板33とが接合される。
その後、圧力室形成基板29側のシリコン単結晶基板を裏面側(封止板33側のシリコン単結晶基板側とは反対側)から研磨し、当該圧力室形成基板29側のシリコン単結晶基板を薄くする。その後、フォトリソグラフィー工程及びエッチング工程により、薄くなった圧力室形成基板29側のシリコン単結晶基板に圧力室30を形成する。最後に、所定のスクライブラインに沿ってスクライブし、個々の電子デバイス14に切断する。なお、上記の方法では、2枚のシリコン単結晶基板を接合してから個片化することで電子デバイス14を作製したが、これには限られない。例えば、先に封止板33および圧力室形成基板29をそれぞれ個片化してから、これらを接合するようにしてもよい。この場合でも、バンプ電極40及び接着剤43による封止板33と圧力室形成基板29との接合は、上記の方法と同様になる。
そして、上記の過程により製造された電子デバイス14は、接着剤43等を用いて流路ユニット15(連通基板24)に位置決めされた状態で固定される。そして、電子デバイス14をヘッドケース16の収容空間17に収容した状態で、ヘッドケース16と流路ユニット15とを接合することで、上記の記録ヘッド3が製造される。
このように、加熱によりバンプ電極40を溶融させて、圧力室形成基板29と封止板33との間隔を広げ、更に加熱により接着剤43を硬化させるため、圧力室形成基板29又は封止板33との接着面において接着剤43の濡れ広がりを抑えることができる。これにより、接着剤43が予定した領域からはみ出でることを抑制でき、はみ出た接着剤43が駆動領域a1で硬化することによるインクの噴射不良を抑制できる。その他、電子デバイス14を構成する他の部分と接着剤43とが干渉することを抑制できる。その結果、電子デバイス14をより安定して製造することができる。また、駆動領域a1等の電子デバイス14を構成する他の部分に対して、接着剤43を可及的に近づけることができ、電子デバイス14を小型化することができる。その結果、記録ヘッド3ひいてはプリンター1を小型化することができる。また、バンプ電極40の融点が、熱硬化性を有する接着剤43の硬化温度よりも低いので、接着剤硬化工程の際に圧力室形成基板29と封止板33との間隔を広げても、バンプ電極40が溶融しているため、当該バンプ電極40が圧力室形成基板29及び封止板33から離れることを抑制できる。
ところで、上記実施形態では、接着剤43をバンプ電極40の周囲に密着させた状態に形成したが、これには限られない。図5に示す、第2実施形態における電子デバイス14′では、バンプ電極40′と接着剤43′とが離間して設けられている。
具体的には、圧力室30の長手方向においてバンプ電極40′を挟んだ両側に、当該バンプ電極40′に対して間隔を開けて接着剤43′が配置されている。そして、上記した実施形態と同様に、振動板31の表面(詳しくは、下電極層37又は上電極層39の表面)又は封止板33の表面(詳しくは、配線層47の表面)におけるバンプ電極40′の断面積(すなわち、振動板31又は封止板33とバンプ電極40′との接する面積)は、振動板31と封止板33との間におけるバンプ電極40′の断面積(接着面に対して平行な面における面積)よりも大きく形成されている。すなわち、バンプ電極40′は、高さ方向(接着面に対して垂直な方向)の中央部における幅Wa′が同方向の端部における幅Wb′よりも小さく形成されている。換言すると、バンプ電極40′は、振動板31と封止板33との中間部分が、内側に萎んで形成されている。これにより、本実施形態でも、振動板31又は封止板33の表面とバンプ電極40′との接合面にかかる応力を緩和でき、振動板31又は封止板33の表面からバンプ電極40′が剥がれることを抑制できる。
また、バンプ電極40′の両側に形成された接着剤43′も、バンプ電極40′と同様の形状に形成されている。具体的には、振動板31の表面(詳しくは、下電極層37又は上電極層39の表面)又は封止板33の表面(詳しくは、配線層47の表面)における接着剤43′の断面積(すなわち、振動板31又は封止板33と接着剤43′との接する面積)は、振動板31と封止板33との間における接着剤43′の断面積よりも大きく形成されている。すなわち、接着剤43′は、振動板31又は封止板33の表面に対する高さ方向(接着面に対して垂直な方向)の中央部における幅が同方向の端部における幅よりも小さく形成されている。換言すると、接着剤43′は、振動板31と封止板33との中間部分が、内側に萎んで形成されている。なお、その他の構成は、上記した実施形態と同じであるため説明を省略する。
次に、本実施形態の電子デバイス14′の製造方法について説明する。図6は、本実施形態の電子デバイス14′の製造工程を説明する模式図である。本実施形態の製造方法では、バンプ電極40′が圧力室形成基板29及び封止板33に接続される前に、接着剤43′が塗布される。
具体的には、上記した実施形態と同様に、一方のシリコン単結晶基板に封止板33を形成し、他方のシリコン単結晶基板に振動板31及び圧電素子32が積層された圧力室形成基板29を形成する。そして、導電材料形成工程において、封止板33となるシリコン単結晶基板又は圧力室形成基板29となるシリコン単結晶基板の何れか一方の表面にバンプ電極40′となるハンダを塗布する。本実施形態では、封止板33となるシリコン単結晶基板の配線層47上にハンダを形成する。また、接着剤形成工程において、封止板33となるシリコン単結晶基板又は圧力室形成基板29となるシリコン単結晶基板の何れか一方の表面に接着剤43′を塗布する。本実施形態では、圧力室形成基板29となるシリコン単結晶基板の下電極層37上及び上電極層39上に接着剤43′を形成する。ここで、本実施形態の接着剤43′は、熱硬化性及び感光性を有するものが好適に用いられる。例えば、エポキシ樹脂、アクリル樹脂、フェノール樹脂、ポリイミド樹脂、シリコーン樹脂、スチレン樹脂等を主成分に含む樹脂が好適に用いられる。これにより、接着剤43′を半導体プロセスにより形成できるため、精度よくパターニングすることができる。すなわち、液体状の接着剤43′を、スピンコーター等を用いて振動板31上に塗布した後、加熱により仮硬化させて接着剤層を形成する。次に、露光及び現像することで、所定の位置に接着剤43′の形状をパターニングすることができる(図6(a)参照)。なお、導電材料形成工程と接着剤形成工程とは何れか一方を先に行っても良いし、平行して同時に行っても良い。
このように、バンプ電極40′となるハンダ及び接着剤43′が形成されたならば、両基板の互いの位置を合わせつつ、何れか一方のシリコン単結晶基板を他方のシリコン単結晶基板側に向けて相対的に移動させて、ハンダ及び接着剤43′を両基板に挟ませる。次に、加圧工程により、両基板の間隔を狭める方向(図6(b)における矢印参照)に加圧する。さらに、溶融工程において、この状態から加熱することで、ハンダを溶融させる。これにより、図6(b)に示すように、ハンダが両基板に接続され、バンプ電極40′となる。また、接着剤43′も両基板に接着される。この時、両基板の間隔を狭める方向に加圧されているため、バンプ電極40′及び接着剤43′の側面が外側に湾曲し、高さ方向の中央部が膨らんだ形状になる。
そして、バンプ電極40′及び接着剤43′が両基板に接続されたならば、上記した実施形態と同様に、圧力開放工程において、両基板の間隔を溶融工程における間隔よりも広げる(図6(c)参照)。これにより、バンプ電極40′及び接着剤43′が高さ方向に伸張する。その結果、バンプ電極40′及び接着剤43′の側面が内側に湾曲し、高さ方向の中央部が凹んだ形状になる。すなわち、封止板33となるシリコン単結晶基板の表面又は圧力室形成基板29となるシリコン単結晶基板の表面におけるバンプ電極40′の断面積(シリコン単結晶基板とバンプ電極40′との接する面積)が、両基板間におけるバンプ電極40′の断面積よりも大きくなる。同様に、封止板33となるシリコン単結晶基板の表面又は圧力室形成基板29となるシリコン単結晶基板の表面における接着剤43′の断面積(シリコン単結晶基板と接着剤43′との接する面積)が、両基板間における接着剤43′の断面積よりも大きくなる。この状態で、接着剤硬化工程において、接着剤43′の硬化温度まで更に加熱し、接着剤43′を硬化させる。そして、接着剤43′が硬化したならば、加熱を停止し、バンプ電極40′の融点以下の温度まで冷却することで当該バンプ電極40′を硬化させる。このようにして、両基板、すなわち、振動板31及び圧電素子32が積層された圧力室形成基板29と封止板33とが接合される。なお、その他の製造工程は、上記した実施形態と同じであるため説明を省略する。
このように、本実施形態でも、加熱によりバンプ電極40′を溶融させて、圧力室形成基板29と封止板33との間隔を広げ、更に加熱により接着剤43′を硬化させるため、圧力室形成基板29又は封止板33との接着面において接着剤43′の濡れ広がりを抑えることができる。これにより、接着剤43′が予定した領域からはみ出でることを抑制でき、駆動領域a1等の電子デバイス14′を構成する他の部分と接着剤43′とが干渉することを抑制できる。その結果、電子デバイス14′をより安定して製造することができる。また、駆動領域a1等の電子デバイス14′を構成する他の部分に対して、接着剤43′を可及的に近づけることができ、電子デバイス14′を小型化することができる。そして、本実施形態の電子デバイス14′では、バンプ電極40′と接着剤43′とを離間させたので、バンプ電極40′と接着剤43′とが干渉することを抑制できる。これにより、圧力室形成基板29と封止板33との間における導電率の低下を抑制できる。
さらに、以上では、液体噴射ヘッドとして、インクジェットプリンターに搭載されるインクジェット式記録ヘッドを例示したが、インク以外の液体を噴射するものにも適用することができる。例えば、液晶ディスプレイ等のカラーフィルターの製造に用いられる色材噴射ヘッド、有機EL(Electro Luminescence)ディスプレイ、FED(面発光ディスプレイ)等の電極形成に用いられる電極材噴射ヘッド、バイオチップ(生物化学素子)の製造に用いられる生体有機物噴射ヘッド等にも本発明を適用することができる。
また、本発明は、液体噴射ヘッドにアクチュエーターとして用いられるものには限られず、例えば、各種センサー等に使用される電子デバイス等にも適用することができる。
1…プリンター,3…記録ヘッド,14…電子デバイス,15…流路ユニット,16…ヘッドケース,17…収容空間,18…リザーバー,21…ノズルプレート,22…ノズル,24…連通基板,25…共通液室,26…個別連通路,28…コンプライアンスシート,29…圧力室形成基板,30…圧力室,31…振動板,32…圧電素子,33…封止板,37…下電極層,38…圧電体層,39…上電極層,40…バンプ電極,43…接着剤,46…駆動回路,47…配線層
Claims (4)
- 撓み変形が許容される駆動領域に当該駆動領域を変形させる駆動素子が設けられた第1の基板と、導電材料を介在させた状態で前記第1の基板に対して間隔を開けて配置された第2の基板とを、熱硬化性を有する接着剤により接合した電子デバイスの製造方法であって、
前記第1の基板又は前記第2の基板の何れか一方に導電材料を形成する導電材料形成工程と、
前記第1の基板又は前記第2の基板の何れか一方に接着剤を形成する接着剤形成工程と、
前記第1の基板と前記第2の基板との間に導通材料及び接着剤を挟んだ状態で、前記第1の基板と前記第2の基板との間隔を狭める方向に加圧する加圧工程と、
加熱により前記導通材料を溶融させる溶融工程と、
前記第1の基板と前記第2の基板との間隔を前記溶融工程における間隔よりも広げる圧力開放工程と、
前記第1の基板と前記第2の基板との間隔を広げた状態で、前記接着剤の硬化温度まで加熱する接着剤硬化工程と、を含むことを特徴とする電子デバイスの製造方法。 - 前記導電材料の融点が前記接着剤の硬化温度よりも低いことを特徴とする請求項1に記載の電子デバイスの製造方法。
- 撓み変形が許容される駆動領域に当該駆動領域を変形させる駆動素子が設けられた第1の基板と、
導電材料を介在させた状態で前記第1の基板に対して間隔を開けて配置された第2の基板と、
前記駆動領域から外れた非駆動領域において、前記第1の基板と前記第2の基板とを両基板の間隔を保持した状態で接合する接着剤と、を備え、
前記第1の基板又は前記第2の基板の表面と前記導電材料との接する面積が、前記第1の基板と前記第2の基板との間における前記導電材料の断面積よりも大きいことを特徴とする電子デバイス。 - 前記導電材料と前記接着剤とが離間して設けられたことを特徴とする請求項3に記載の電子デバイス。
Priority Applications (1)
| Application Number | Priority Date | Filing Date | Title |
|---|---|---|---|
| JP2015033739A JP2016157773A (ja) | 2015-02-24 | 2015-02-24 | 電子デバイス、及び、電子デバイスの製造方法 |
Applications Claiming Priority (1)
| Application Number | Priority Date | Filing Date | Title |
|---|---|---|---|
| JP2015033739A JP2016157773A (ja) | 2015-02-24 | 2015-02-24 | 電子デバイス、及び、電子デバイスの製造方法 |
Publications (1)
| Publication Number | Publication Date |
|---|---|
| JP2016157773A true JP2016157773A (ja) | 2016-09-01 |
Family
ID=56826669
Family Applications (1)
| Application Number | Title | Priority Date | Filing Date |
|---|---|---|---|
| JP2015033739A Pending JP2016157773A (ja) | 2015-02-24 | 2015-02-24 | 電子デバイス、及び、電子デバイスの製造方法 |
Country Status (1)
| Country | Link |
|---|---|
| JP (1) | JP2016157773A (ja) |
Cited By (1)
| Publication number | Priority date | Publication date | Assignee | Title |
|---|---|---|---|---|
| WO2021010079A1 (ja) * | 2019-07-18 | 2021-01-21 | 株式会社ブイ・テクノロジー | 電子部品実装構造、電子部品実装方法及びled表示パネル |
-
2015
- 2015-02-24 JP JP2015033739A patent/JP2016157773A/ja active Pending
Cited By (1)
| Publication number | Priority date | Publication date | Assignee | Title |
|---|---|---|---|---|
| WO2021010079A1 (ja) * | 2019-07-18 | 2021-01-21 | 株式会社ブイ・テクノロジー | 電子部品実装構造、電子部品実装方法及びled表示パネル |
Similar Documents
| Publication | Publication Date | Title |
|---|---|---|
| CN105984225B (zh) | 电子装置以及电子装置的制造方法 | |
| US10081161B2 (en) | Electronic device and manufacturing method of electronic device | |
| JP6372618B2 (ja) | 圧電デバイス、液体噴射ヘッド、圧電デバイスの製造方法、及び、液体噴射ヘッドの製造方法 | |
| JP2016185600A (ja) | インクジェットヘッド、及び、インクジェットプリンター | |
| JP6569359B2 (ja) | 電子デバイス、液体噴射ヘッド、および、電子デバイスの製造方法 | |
| JP6569358B2 (ja) | 電子デバイス、液体噴射ヘッド、および、電子デバイスの製造方法 | |
| JP2016157773A (ja) | 電子デバイス、及び、電子デバイスの製造方法 | |
| JP6403033B2 (ja) | 電子デバイス | |
| JP6358068B2 (ja) | 圧電デバイス、液体噴射ヘッド、圧電デバイスの製造方法、及び、液体噴射ヘッドの製造方法 | |
| JP6729188B2 (ja) | 接合構造体、圧電デバイス、液体噴射ヘッド、液体噴射装置、及び、接合構造体の製造方法 | |
| US9789688B2 (en) | Electronic device, and method for manufacturing electronic device | |
| CN105936184B (zh) | 电子装置的制造方法以及电子装置 | |
| JP2018034458A (ja) | Memsデバイス、液体噴射ヘッド、液体噴射装置、及び、memsデバイスの製造方法 |