JP2016123773A - 拍動情報計測システム、拍動情報計測方法および拍動情報計測装置 - Google Patents
拍動情報計測システム、拍動情報計測方法および拍動情報計測装置 Download PDFInfo
- Publication number
- JP2016123773A JP2016123773A JP2015001357A JP2015001357A JP2016123773A JP 2016123773 A JP2016123773 A JP 2016123773A JP 2015001357 A JP2015001357 A JP 2015001357A JP 2015001357 A JP2015001357 A JP 2015001357A JP 2016123773 A JP2016123773 A JP 2016123773A
- Authority
- JP
- Japan
- Prior art keywords
- information
- pulsation
- pulse wave
- heart rate
- pulsation information
- Prior art date
- Legal status (The legal status is an assumption and is not a legal conclusion. Google has not performed a legal analysis and makes no representation as to the accuracy of the status listed.)
- Pending
Links
- 230000010349 pulsation Effects 0.000 title claims abstract description 134
- 238000005259 measurement Methods 0.000 title claims abstract description 92
- 238000000691 measurement method Methods 0.000 title description 3
- 230000000694 effects Effects 0.000 claims abstract description 78
- 230000037081 physical activity Effects 0.000 claims abstract description 10
- 238000001514 detection method Methods 0.000 claims description 67
- 238000004891 communication Methods 0.000 claims description 22
- 238000000034 method Methods 0.000 claims description 17
- 238000009532 heart rate measurement Methods 0.000 abstract description 13
- 230000006870 function Effects 0.000 description 11
- 239000004973 liquid crystal related substance Substances 0.000 description 9
- 230000008569 process Effects 0.000 description 9
- 238000012545 processing Methods 0.000 description 9
- 230000001133 acceleration Effects 0.000 description 6
- 238000010586 diagram Methods 0.000 description 5
- 230000017531 blood circulation Effects 0.000 description 4
- 230000008859 change Effects 0.000 description 3
- 230000001360 synchronised effect Effects 0.000 description 3
- 210000001367 artery Anatomy 0.000 description 2
- QVGXLLKOCUKJST-UHFFFAOYSA-N atomic oxygen Chemical compound [O] QVGXLLKOCUKJST-UHFFFAOYSA-N 0.000 description 2
- 210000004204 blood vessel Anatomy 0.000 description 2
- 235000019577 caloric intake Nutrition 0.000 description 2
- 210000003414 extremity Anatomy 0.000 description 2
- 230000004048 modification Effects 0.000 description 2
- 238000012986 modification Methods 0.000 description 2
- 229910052760 oxygen Inorganic materials 0.000 description 2
- 239000001301 oxygen Substances 0.000 description 2
- 102000001554 Hemoglobins Human genes 0.000 description 1
- 108010054147 Hemoglobins Proteins 0.000 description 1
- 238000010521 absorption reaction Methods 0.000 description 1
- 206010003119 arrhythmia Diseases 0.000 description 1
- 230000006793 arrhythmia Effects 0.000 description 1
- 230000000386 athletic effect Effects 0.000 description 1
- 230000008901 benefit Effects 0.000 description 1
- 239000008280 blood Substances 0.000 description 1
- 210000004369 blood Anatomy 0.000 description 1
- 238000006243 chemical reaction Methods 0.000 description 1
- 230000008878 coupling Effects 0.000 description 1
- 238000010168 coupling process Methods 0.000 description 1
- 238000005859 coupling reaction Methods 0.000 description 1
- 239000000284 extract Substances 0.000 description 1
- 230000036541 health Effects 0.000 description 1
- 230000010365 information processing Effects 0.000 description 1
- 230000007246 mechanism Effects 0.000 description 1
- 230000004044 response Effects 0.000 description 1
- 238000007920 subcutaneous administration Methods 0.000 description 1
- 238000012549 training Methods 0.000 description 1
- 210000000707 wrist Anatomy 0.000 description 1
Images
Landscapes
- Measuring Pulse, Heart Rate, Blood Pressure Or Blood Flow (AREA)
Abstract
【課題】被検者が激しい運動をした場合、脈拍数測定の信頼性が低下することを回避する拍動情報計測システムを提供する。
【解決手段】拍動情報計測システム10は、脈波を示す脈波情報を検出する脈波検出部102と、心拍を示す心拍情報を検出する心拍検出部204と、身体の活動量を算出する活動量算出部と、活動量に基づいて脈波情報および心拍情報の何れか一方を選択し、選択した一方に基づいて拍動情報を決定する情報選択部と、を備え、情報選択部は、活動量が所定の基準を超えた場合、心拍情報に基づいて拍動情報を決定する。
【選択図】図1
【解決手段】拍動情報計測システム10は、脈波を示す脈波情報を検出する脈波検出部102と、心拍を示す心拍情報を検出する心拍検出部204と、身体の活動量を算出する活動量算出部と、活動量に基づいて脈波情報および心拍情報の何れか一方を選択し、選択した一方に基づいて拍動情報を決定する情報選択部と、を備え、情報選択部は、活動量が所定の基準を超えた場合、心拍情報に基づいて拍動情報を決定する。
【選択図】図1
Description
本発明は、拍動情報計測システム、拍動情報計測方法および拍動情報計測装置に関する。
被検者の運動管理や健康管理に供する生体情報処理装置として、下記特許文献1に示すように、被検者の身体の一部に装着し、被検者の脈拍数を測定する脈拍計が知られている。このような脈拍計は、装置を装着した被検者の血流量の変化を脈波センサーが検知して被検者の脈拍数を算出し、算出した脈拍数を測定結果として被検者に報知するものである。脈波センサーとしては、光を利用するものや、超音波を利用するもの、あるいは赤外線を利用するものなどが知られている。
被検者は、脈拍計で計測した脈拍数に基づいてウォーキングやランニングを含む種々のトレーニングを行うことで、持久力や運動能力の向上を図ることができる。
被検者は、脈拍計で計測した脈拍数に基づいてウォーキングやランニングを含む種々のトレーニングを行うことで、持久力や運動能力の向上を図ることができる。
しかしながら、このような脈拍計では血流量の変化を検知して脈拍数を算出するため、被検者が激しい運動をした場合、被検者の体動による血流の乱れや、脈拍計の装着状態等によって脈拍数測定の信頼性が低下することがある。
本発明は、上述の課題の少なくとも一部を解決するためになされたものであり、以下の形態又は適用例として実現することが可能である。
[適用例1]
本適用例にかかる拍動情報計測システムは、脈波を示す脈波情報を検出する脈波検出部と、心拍を示す心拍情報を検出する心拍検出部と、身体の活動量を算出する活動量算出部と、前記活動量に基づいて前記脈波情報および前記心拍情報の何れか一方を選択し、選択した前記一方に基づいて拍動情報を決定する拍動情報決定部と、を備え、前記拍動情報決定部は、前記活動量が所定の基準を超えた場合、前記心拍情報に基づいて前記拍動情報を決定することを特徴とする。
本適用例にかかる拍動情報計測システムは、脈波を示す脈波情報を検出する脈波検出部と、心拍を示す心拍情報を検出する心拍検出部と、身体の活動量を算出する活動量算出部と、前記活動量に基づいて前記脈波情報および前記心拍情報の何れか一方を選択し、選択した前記一方に基づいて拍動情報を決定する拍動情報決定部と、を備え、前記拍動情報決定部は、前記活動量が所定の基準を超えた場合、前記心拍情報に基づいて前記拍動情報を決定することを特徴とする。
このような構成によれば、脈波情報または心拍情報の何れか一方に基づいて拍動情報が決定され、身体の活動量が所定の基準を超えた場合、心拍情報に基づいて拍動情報が決定される。従って、激しい動きにより活動量が大きい場合、脈波情報には拠らず、心拍情報に基づいて拍動情報を決定するため、拍動情報測定の信頼性の低下を回避できる。
[適用例2]
上記適用例にかかる拍動情報計測システムにおいて、前記拍動情報決定部は、前記活動量が所定の基準を超えない場合、前記脈波情報に基づいて前記拍動情報を決定することが好ましい。
上記適用例にかかる拍動情報計測システムにおいて、前記拍動情報決定部は、前記活動量が所定の基準を超えない場合、前記脈波情報に基づいて前記拍動情報を決定することが好ましい。
このような構成によれば、活動量が所定の基準を超えない安静な場合、脈波情報に基づいて拍動情報を決定するため、心拍情報を検出するための機構が不要であり、簡易な構成で拍動情報を計測できる。
[適用例3]
上記適用例にかかる拍動情報計測システムにおいて、前記拍動情報は心拍数または脈拍数であっても良い。
上記適用例にかかる拍動情報計測システムにおいて、前記拍動情報は心拍数または脈拍数であっても良い。
[適用例4]
上記適用例にかかる拍動情報計測システムにおいて、前記拍動情報決定部は、前記心拍検出部が前記心拍情報を検出しているか、否かを判定する判定部を備えることが好ましい。
上記適用例にかかる拍動情報計測システムにおいて、前記拍動情報決定部は、前記心拍検出部が前記心拍情報を検出しているか、否かを判定する判定部を備えることが好ましい。
このような構成によれば、心拍検出部が心拍情報を検出しているか、否かを判定できる。
[適用例5]
上記適用例にかかる拍動情報計測システムにおいて、前記拍動情報決定部は、前記心拍検出部が前記心拍情報を検出していることを前記判定部が判定し、かつ、前記活動量が所定の基準を超えた場合、前記心拍情報に基づいて前記拍動情報を決定することが好ましい。
上記適用例にかかる拍動情報計測システムにおいて、前記拍動情報決定部は、前記心拍検出部が前記心拍情報を検出していることを前記判定部が判定し、かつ、前記活動量が所定の基準を超えた場合、前記心拍情報に基づいて前記拍動情報を決定することが好ましい。
このような構成によれば、心拍検出部が心拍情報を検出し、かつ、活動量が所定の基準を超えた場合、心拍情報に基づいて拍動情報を決定するため、心拍情報に基づく拍動情報を効率良く決定できる。
[適用例6]
上記適用例にかかる拍動情報計測システムにおいて、前記活動量算出部は、所在する位置に基づく位置情報と、体動に基づく運動強度を示す運動情報と、に基づいて前記活動量を算出することが好ましい。
上記適用例にかかる拍動情報計測システムにおいて、前記活動量算出部は、所在する位置に基づく位置情報と、体動に基づく運動強度を示す運動情報と、に基づいて前記活動量を算出することが好ましい。
このような構成によれば、位置情報と、運動情報と、に基づいて活動量を精度良く算出できる。
[適用例7]
上記適用例にかかる拍動情報計測システムにおいて、前記拍動情報を表示する表示部を備え、前記拍動情報決定部は、前記拍動情報を前記心拍情報に基づいて算出したか、または、前記脈波情報に基づいて算出したか、を示す情報を前記表示部に表示することが好ましい。
上記適用例にかかる拍動情報計測システムにおいて、前記拍動情報を表示する表示部を備え、前記拍動情報決定部は、前記拍動情報を前記心拍情報に基づいて算出したか、または、前記脈波情報に基づいて算出したか、を示す情報を前記表示部に表示することが好ましい。
このような構成によれば、心拍情報に基づいて拍動情報を算出したか、または、脈波情報に基づいて拍動情報を算出したか、を通知できる。
[適用例8]
上記適用例にかかる拍動情報計測システムにおいて、算出した前記拍動情報に基づいて、消費したカロリー量を算出するカロリー量算出部を備えることが好ましい。
上記適用例にかかる拍動情報計測システムにおいて、算出した前記拍動情報に基づいて、消費したカロリー量を算出するカロリー量算出部を備えることが好ましい。
このような構成によれば、拍動情報に加えて、消費したカロリー量の情報を通知できる。
[適用例9]
上記適用例にかかる拍動情報計測システムにおいて、前記脈波検出部は、被検者の肢体部において前記脈波を検出し、前記心拍検出部は、前記被検者の体幹部において前記心拍を検出しても良い。
上記適用例にかかる拍動情報計測システムにおいて、前記脈波検出部は、被検者の肢体部において前記脈波を検出し、前記心拍検出部は、前記被検者の体幹部において前記心拍を検出しても良い。
[適用例10]
上記適用例にかかる拍動情報計測システムにおいて、通信可能に接続された脈波計測装置と、心拍計測装置と、を備え、前記脈波計測装置は、前記脈波検出部と、前記活動量算出部と、前記拍動情報決定部と、を有し、前記心拍計測装置は前記心拍検出部を有しても良い。
上記適用例にかかる拍動情報計測システムにおいて、通信可能に接続された脈波計測装置と、心拍計測装置と、を備え、前記脈波計測装置は、前記脈波検出部と、前記活動量算出部と、前記拍動情報決定部と、を有し、前記心拍計測装置は前記心拍検出部を有しても良い。
[適用例11]
上記適用例にかかる拍動情報計測システムにおいて、通信可能に接続された脈波計測装置と、心拍計測装置と、情報端末装置と、を備え、前記脈波計測装置は、前記脈波検出部と、前記活動量算出部と、を有し、前記心拍計測装置は、前記心拍検出部を有し、前記情報端末装置は、前記拍動情報決定部を有しても良い。
上記適用例にかかる拍動情報計測システムにおいて、通信可能に接続された脈波計測装置と、心拍計測装置と、情報端末装置と、を備え、前記脈波計測装置は、前記脈波検出部と、前記活動量算出部と、を有し、前記心拍計測装置は、前記心拍検出部を有し、前記情報端末装置は、前記拍動情報決定部を有しても良い。
[適用例12]
本適用例にかかる拍動情報計測方法は、脈波を示す脈波情報を検出する脈波検出工程と、心拍を示す心拍情報を検出する心拍検出工程と、身体の活動量を算出する活動量算出工程と、前記活動量に基づいて前記脈波情報および前記心拍情報の何れか一方を選択する選択工程と、選択した前記一方の情報に基づいて拍動情報を決定する拍動情報決定工程と、を備え、前記選択工程は、前記活動量が所定の基準を超えた場合、前記心拍情報に基づいて前記拍動情報を決定することを特徴とする。
本適用例にかかる拍動情報計測方法は、脈波を示す脈波情報を検出する脈波検出工程と、心拍を示す心拍情報を検出する心拍検出工程と、身体の活動量を算出する活動量算出工程と、前記活動量に基づいて前記脈波情報および前記心拍情報の何れか一方を選択する選択工程と、選択した前記一方の情報に基づいて拍動情報を決定する拍動情報決定工程と、を備え、前記選択工程は、前記活動量が所定の基準を超えた場合、前記心拍情報に基づいて前記拍動情報を決定することを特徴とする。
このような方法によれば、脈波情報または心拍情報の何れか一方に基づいて拍動情報が決定され、身体の活動量が所定の基準を超えた場合、心拍情報に基づいて拍動情報が決定される。従って、激しい動きにより活動量が大きい場合、脈波情報には拠らず、心拍情報に基づいて拍動情報を決定するため、拍動情報測定の信頼性の低下を回避できる。
[適用例13]
本適用例にかかる拍動情報計測装置は、脈波を示す脈波情報を検出する脈波検出部と、心拍を示す心拍情報を受信する通信部と、身体の活動量を算出する活動量算出部と、前記活動量に基づいて前記脈波情報および前記心拍情報の何れか一方を選択し、選択した前記一方の情報に基づいて拍動情報を決定する拍動情報決定部と、を備え、前記拍動情報決定部は、前記活動量が所定の基準を超えた場合、前記心拍情報に基づいて前記拍動情報を決定することを特徴とする。
本適用例にかかる拍動情報計測装置は、脈波を示す脈波情報を検出する脈波検出部と、心拍を示す心拍情報を受信する通信部と、身体の活動量を算出する活動量算出部と、前記活動量に基づいて前記脈波情報および前記心拍情報の何れか一方を選択し、選択した前記一方の情報に基づいて拍動情報を決定する拍動情報決定部と、を備え、前記拍動情報決定部は、前記活動量が所定の基準を超えた場合、前記心拍情報に基づいて前記拍動情報を決定することを特徴とする。
このような構成によれば、脈波情報または心拍情報の何れか一方に基づいて拍動情報が決定され、身体の活動量が所定の基準を超えた場合、心拍情報に基づいて拍動情報が決定される。従って、激しい動きにより活動量が大きい場合、脈波情報には拠らず、心拍情報に基づいて拍動情報を決定するため、拍動情報測定の信頼性の低下を回避できる。
以下、本発明の実施形態について図面を参照して説明する。
(実施形態1)
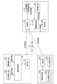
図1は、拍動情報計測システム10の概構成を示すブロック図である。この拍動情報計測システム10は、被検者であるユーザーの脈拍数または心拍数を示す拍動情報を計測して表示する機能を備え、脈波計測装置100と、心拍計測装置200と、が通信可能に接続されて構成される。尚、脈波計測装置100は拍動情報計測装置に相当する。
本実施形態1では、脈波計測装置100は腕時計の態様であり、ユーザーが肢体部である腕部に装着すると、ユーザーの脈拍に応じた脈拍信号を検出する機能を備えている。また、心拍計測装置200は、所謂、ハートレートモニターであり、胸ベルト(チェストベルト)に固定され、ユーザーが胸ベルトを体幹部である胸部に装着すると、ユーザーの心拍に応じた心拍情報を出力する機能を備えている。
図1は、拍動情報計測システム10の概構成を示すブロック図である。この拍動情報計測システム10は、被検者であるユーザーの脈拍数または心拍数を示す拍動情報を計測して表示する機能を備え、脈波計測装置100と、心拍計測装置200と、が通信可能に接続されて構成される。尚、脈波計測装置100は拍動情報計測装置に相当する。
本実施形態1では、脈波計測装置100は腕時計の態様であり、ユーザーが肢体部である腕部に装着すると、ユーザーの脈拍に応じた脈拍信号を検出する機能を備えている。また、心拍計測装置200は、所謂、ハートレートモニターであり、胸ベルト(チェストベルト)に固定され、ユーザーが胸ベルトを体幹部である胸部に装着すると、ユーザーの心拍に応じた心拍情報を出力する機能を備えている。
脈拍の計測では、ユーザーが激しい運動をしている場合、腕部での脈拍計測はノイズ等により誤差が生じやすく、一方で、心臓に近い場所での心拍計測は安定して計測できることが知られている。この拍動情報計測システム10は、ユーザーの運動量に応じて、脈拍に基づく計測と、心拍に基づく計測と、を切り替える機能を備える。
<脈波計測装置の構成>
最初に、脈波計測装置100について説明する。
脈波計測装置100は、脈波検出部102、位置検出部104、運動検出部106、心拍情報取得検知部108、通信部110、表示部112および計測制御部120を備える。
脈波検出部102は、脈波計測装置100を装着したユーザーの脈波を示す脈波信号を取得し、取得した脈波信号に基づく脈拍情報(脈波情報)を生成し、生成した脈拍情報を計測制御部120に送る。
<脈波計測装置の構成>
最初に、脈波計測装置100について説明する。
脈波計測装置100は、脈波検出部102、位置検出部104、運動検出部106、心拍情報取得検知部108、通信部110、表示部112および計測制御部120を備える。
脈波検出部102は、脈波計測装置100を装着したユーザーの脈波を示す脈波信号を取得し、取得した脈波信号に基づく脈拍情報(脈波情報)を生成し、生成した脈拍情報を計測制御部120に送る。
位置検出部104は、脈波計測装置100の所在位置を示す位置情報を検出し、検出した位置情報を計測制御部120に送る。
運動検出部106は、脈波計測装置100を装着したユーザーの動き(運動)に関する運動情報を検出し、検出した運動情報を計測制御部120に送る。
通信部110は、無線通信を介して外部の機器との間で情報を授受する。
心拍情報取得検知部108は、心拍計測装置200から心拍情報を取得した場合、計測制御部120に検知情報を送る。
運動検出部106は、脈波計測装置100を装着したユーザーの動き(運動)に関する運動情報を検出し、検出した運動情報を計測制御部120に送る。
通信部110は、無線通信を介して外部の機器との間で情報を授受する。
心拍情報取得検知部108は、心拍計測装置200から心拍情報を取得した場合、計測制御部120に検知情報を送る。
計測制御部120は、位置検出部104から送られる位置情報、および位置検出部104から送られる運動情報に基づいて、脈波検出部102から送られる脈拍情報、または心拍計測装置200から送られる心拍情報の何れか一方を選択し、選択した一方の情報に基づいて、拍動情報を決定し、決定した拍動情報の情報を表示部112に送り表示させる。
図2は、脈波計測装置100のハードウェア構成を示す図である。この脈波計測装置100は、ハードウェアとして、A/D回路50、GPS(Global Positioning System)回路52、CPU(Central Processing Unit)54、ROM(Read Only Memory)56、通信回路58、信号入力検知回路60、液晶表示回路62、RAM(Random Access Memory)64およびフラッシュメモリー66を備える。これらのハードウェアはバス68を介して接続されている。更に、アナログ信号をデジタル信号に変換するA/D回路50には、脈波センサー70と、体動センサー75と、が接続されている。また、液晶表示回路62には、液晶パネル80が接続されている。
図2は、脈波計測装置100のハードウェア構成を示す図である。この脈波計測装置100は、ハードウェアとして、A/D回路50、GPS(Global Positioning System)回路52、CPU(Central Processing Unit)54、ROM(Read Only Memory)56、通信回路58、信号入力検知回路60、液晶表示回路62、RAM(Random Access Memory)64およびフラッシュメモリー66を備える。これらのハードウェアはバス68を介して接続されている。更に、アナログ信号をデジタル信号に変換するA/D回路50には、脈波センサー70と、体動センサー75と、が接続されている。また、液晶表示回路62には、液晶パネル80が接続されている。
脈波センサー70は脈波検出部102を構成する。脈波センサー70は、図示は略すが、LED(Light Emitting Diode)などの光源と、フォトトランジスターなどの受光素子と、を有する。脈波センサー70は、光源からユーザーの手首等の皮膚に向けて光を照射し、その光が皮下の血管で反射して戻る反射光を受光素子で受光する。
血管からの反射光は、血液中のヘモグロビンの吸光作用により、血流の変動を反映してその強度が変動する。脈波センサー70は、拍動よりも早い周期で光源を所定の周期で点滅させ、受光素子は、光源の点灯機会ごとに受光強度に応じた脈波信号(脈拍情報)を光電変換によって出力する。
血管からの反射光は、血液中のヘモグロビンの吸光作用により、血流の変動を反映してその強度が変動する。脈波センサー70は、拍動よりも早い周期で光源を所定の周期で点滅させ、受光素子は、光源の点灯機会ごとに受光強度に応じた脈波信号(脈拍情報)を光電変換によって出力する。
体動センサー75は運動検出部106を構成する。この体動センサー75は、少なくとも、直交する多軸(例えば、3軸)方向の加速度変化に基づく加速度信号(運動情報)を出力する加速度センサーを有する。
A/D回路50は、脈波センサー70から出力する脈波信号、および、体動センサー75から出力する加速度信号をデジタル信号に変換する。
GPS回路52は位置検出部104を構成する。このGPS回路52は、GPS衛星のように地球を周回する測地衛星からの電波信号を受信し、受信した電波信号に基づいて、所在位置に関する位置信号(位置情報)を出力する。
A/D回路50は、脈波センサー70から出力する脈波信号、および、体動センサー75から出力する加速度信号をデジタル信号に変換する。
GPS回路52は位置検出部104を構成する。このGPS回路52は、GPS衛星のように地球を周回する測地衛星からの電波信号を受信し、受信した電波信号に基づいて、所在位置に関する位置信号(位置情報)を出力する。
通信回路58は通信部110を構成し、例えば、WiFi(登録商標)や、Bluetooth(登録商標)のような近距離無線通信規格のプロトコルに従い、無線を介して通信する。
信号入力検知回路60は心拍情報取得検知部108を構成し、通信回路58が心拍計測装置200から送信された心拍情報の受信を検知する。
液晶表示回路62および液晶パネル80は表示部112を構成する。液晶表示回路62は、入力した画像信号を液晶パネル80で画像として表示するための信号処理を行う。
図3は、計測制御部120の詳細な機能構成を示す図である。計測制御部120は、活動量算出部122、活動量判定部124、情報選択部126および脈拍数算出部128を備える。尚、活動量判定部124および情報選択部126は拍動情報決定部に相当する。
信号入力検知回路60は心拍情報取得検知部108を構成し、通信回路58が心拍計測装置200から送信された心拍情報の受信を検知する。
液晶表示回路62および液晶パネル80は表示部112を構成する。液晶表示回路62は、入力した画像信号を液晶パネル80で画像として表示するための信号処理を行う。
図3は、計測制御部120の詳細な機能構成を示す図である。計測制御部120は、活動量算出部122、活動量判定部124、情報選択部126および脈拍数算出部128を備える。尚、活動量判定部124および情報選択部126は拍動情報決定部に相当する。
活動量算出部122は、位置検出部104から送られる位置情報、および、運動検出部106から送られる運動情報に基づいて、ユーザーの身体に関する活動量を算出する。
本実施形態1では、算出する活動量として、ユーザーの移動量、移動速度および運動強度等を想定する。
活動量算出部122は、位置情報の変化や、移動に要した所要時間を用いてユーザーの移動量や移動速度を算出する。また、活動量算出部122は、運動情報としての加速度信号を周波数解析することにより運動強度を算出する。尚、加速度信号から運動強度を算出する方法としては、例えば、特開2012−232010号公報に開示されている方法を採用できる。活動量算出部122が算出した移動量、移動速度および運動強度の情報は活動量判定部124に送られる。
本実施形態1では、算出する活動量として、ユーザーの移動量、移動速度および運動強度等を想定する。
活動量算出部122は、位置情報の変化や、移動に要した所要時間を用いてユーザーの移動量や移動速度を算出する。また、活動量算出部122は、運動情報としての加速度信号を周波数解析することにより運動強度を算出する。尚、加速度信号から運動強度を算出する方法としては、例えば、特開2012−232010号公報に開示されている方法を採用できる。活動量算出部122が算出した移動量、移動速度および運動強度の情報は活動量判定部124に送られる。
活動量判定部124は、活動量算出部122から送られる情報に基づいて、ユーザーの活動量が所定の基準値を超えるか、否かを判定する。
本実施形態1では、活動量算出部122から送られる移動量、移動速度および運動強度の少なくとも1つが所定の基準値を超えるか、否かを判定するが、この態様には限定されない。例えば、移動量、移動速度および運動強度の2つ以上が所定の基準値を超えるか、否かを判定しても良く、また、移動量、移動速度および運動強度の3次元テーブルを作成し、基準とする3次元領域に含まれるか、否かを判定しても良い。
本実施形態1では、活動量算出部122から送られる移動量、移動速度および運動強度の少なくとも1つが所定の基準値を超えるか、否かを判定するが、この態様には限定されない。例えば、移動量、移動速度および運動強度の2つ以上が所定の基準値を超えるか、否かを判定しても良く、また、移動量、移動速度および運動強度の3次元テーブルを作成し、基準とする3次元領域に含まれるか、否かを判定しても良い。
また、所定の基準値は予め決定された固定値であっても良く、また、ユーザーの性別、年齢等に応じて変化する値であっても良い。
活動量判定部124が判定した判定結果の情報は情報選択部126に送られる。
情報選択部126は、拍動情報として脈拍数および心拍数の何れかを選択する。即ち。情報選択部126は、脈波検出部102が出力した脈拍情報に基づいて拍動情報を算出するか、または、心拍検出部204が検出した心拍数を拍動情報とするか、の何れかを選択する。
本実施形態1では、ユーザーの活動量が所定の基準値を超えないと活動量判定部124が判定した場合、情報選択部126は脈拍情報に基づく拍動情報の算出を選択する。また、ユーザーの活動量が所定の基準値を超えると活動量判定部124が判定した場合であって、かつ、心拍情報取得検知部108から送られる検知情報が心拍情報の取得を示している場合、情報選択部126は、拍動情報として心拍数を選択する。
活動量判定部124が判定した判定結果の情報は情報選択部126に送られる。
情報選択部126は、拍動情報として脈拍数および心拍数の何れかを選択する。即ち。情報選択部126は、脈波検出部102が出力した脈拍情報に基づいて拍動情報を算出するか、または、心拍検出部204が検出した心拍数を拍動情報とするか、の何れかを選択する。
本実施形態1では、ユーザーの活動量が所定の基準値を超えないと活動量判定部124が判定した場合、情報選択部126は脈拍情報に基づく拍動情報の算出を選択する。また、ユーザーの活動量が所定の基準値を超えると活動量判定部124が判定した場合であって、かつ、心拍情報取得検知部108から送られる検知情報が心拍情報の取得を示している場合、情報選択部126は、拍動情報として心拍数を選択する。
他方で、ユーザーの活動量が所定のレベルよりも強いと活動量判定部124が判定した場合であって、かつ、心拍情報取得検知部108から送られる検知情報が心拍情報の未取得を示している場合、情報選択部126は脈拍情報に基づく拍動情報の算出を選択する。
情報選択部126は、脈拍情報に基づく拍動情報の算出を選択した場合、脈拍情報を脈拍数算出部128に送る。他方で、情報選択部126は、拍動情報として心拍数を選択する場合、心拍情報を計測情報として表示部112に送り表示させる。
尚、一般的に、不整脈等の脈の欠損が生じない限り、脈拍数と心拍数は同一である。従って、本実施形態1では、心拍信号に基づいて算出した心拍数を脈拍数として扱っても良い。
情報選択部126は、脈拍情報に基づく拍動情報の算出を選択した場合、脈拍情報を脈拍数算出部128に送る。他方で、情報選択部126は、拍動情報として心拍数を選択する場合、心拍情報を計測情報として表示部112に送り表示させる。
尚、一般的に、不整脈等の脈の欠損が生じない限り、脈拍数と心拍数は同一である。従って、本実施形態1では、心拍信号に基づいて算出した心拍数を脈拍数として扱っても良い。
脈拍数算出部128は、脈拍情報に含まれる脈波の間隔から基準時間(例えば、1分間)当たりの脈拍数を算出する。
脈拍数算出部128は、算出した拍動情報を計測情報として表示部112に送り表示させる。尚、計測情報として、脈拍数を脈波信号から算出したか、または、心拍数を採用したか、を示す情報を含み、表示部112に表示させても良い。
また、計測制御部120は、拍動情報に加え、ユーザーのカロリー量を算出するカロリー量算出部を備え、算出したカロリー量をユーザーのカロリー消費量として表示させてもよい。脈拍数や心拍数から酸素摂取量を計算し、酸素摂取量からカロリー消費量を換算する方法は、例えば、特開2014−195711号公報に開示されている方法を採用できる。
脈拍数算出部128は、算出した拍動情報を計測情報として表示部112に送り表示させる。尚、計測情報として、脈拍数を脈波信号から算出したか、または、心拍数を採用したか、を示す情報を含み、表示部112に表示させても良い。
また、計測制御部120は、拍動情報に加え、ユーザーのカロリー量を算出するカロリー量算出部を備え、算出したカロリー量をユーザーのカロリー消費量として表示させてもよい。脈拍数や心拍数から酸素摂取量を計算し、酸素摂取量からカロリー消費量を換算する方法は、例えば、特開2014−195711号公報に開示されている方法を採用できる。
<心拍計測装置の構成>
図1に戻り、心拍計測装置200の構成について説明する。
心拍計測装置200は、機器制御部202、通信部206および心拍検出部204を備える。
機器制御部202は、通信部206および心拍検出部204の機能を制御する。また、機器制御部202は、心拍算出部203を備え、心拍の間隔から心拍数を算出し、算出した心拍数を含む心拍情報を通信部206に送る。
図1に戻り、心拍計測装置200の構成について説明する。
心拍計測装置200は、機器制御部202、通信部206および心拍検出部204を備える。
機器制御部202は、通信部206および心拍検出部204の機能を制御する。また、機器制御部202は、心拍算出部203を備え、心拍の間隔から心拍数を算出し、算出した心拍数を含む心拍情報を通信部206に送る。
心拍検出部204は、複数の電極を胸部に接触または静電結合させた状態で、電極に入力した心電信号の変化から心拍を検出する。
尚、複数の電極を胸部に接触または静電結合させ、心電信号を取得する方法は、例えば、特開2010−14169号公報に開示されている。
通信部206は、無線通信を介して通信部110に対して心拍情報を送信する。本実施形態1では、心拍検出部204が心拍数を算出できた場合、機器制御部202は、心拍情報の送信を開始する。
<情報端末装置における処理>
本実施形態1では、心拍計測装置200が計測した計測情報を情報端末装置400に送信する態様も想定できる。
尚、複数の電極を胸部に接触または静電結合させ、心電信号を取得する方法は、例えば、特開2010−14169号公報に開示されている。
通信部206は、無線通信を介して通信部110に対して心拍情報を送信する。本実施形態1では、心拍検出部204が心拍数を算出できた場合、機器制御部202は、心拍情報の送信を開始する。
<情報端末装置における処理>
本実施形態1では、心拍計測装置200が計測した計測情報を情報端末装置400に送信する態様も想定できる。
情報端末装置400は、通信部402、機器制御部404、記憶部405および表示部406を備えた、スマートフォンのような高機能携帯電話や、タブレットのような多機能携帯端末を想定する。
情報端末装置400には、計測情報を処理するためのソフトウェアが組み込まれている。従って、情報端末装置400は、心拍計測装置200から送信される計測情報を記憶部405に記憶し、必要に応じて記憶した計測情報を読み出して統計処理を行い、統計結果を表示部406に表示する。また、情報端末装置400が受信した計測情報等を更に公衆回線等を経由して外部のサーバー等に送信する態様も想定できる。
<脈波計測装置の処理>
次に、図4は、脈波計測装置100において拍動情報の計測処理の流れを示すフローチャートである。
情報端末装置400には、計測情報を処理するためのソフトウェアが組み込まれている。従って、情報端末装置400は、心拍計測装置200から送信される計測情報を記憶部405に記憶し、必要に応じて記憶した計測情報を読み出して統計処理を行い、統計結果を表示部406に表示する。また、情報端末装置400が受信した計測情報等を更に公衆回線等を経由して外部のサーバー等に送信する態様も想定できる。
<脈波計測装置の処理>
次に、図4は、脈波計測装置100において拍動情報の計測処理の流れを示すフローチャートである。
処理が開始されると、CPU54は、ユーザーの位置情報および運動情報から活動量を算出する(ステップS301)<活動量算出工程>。
次に、CPU54は、活動量が所定の基準を超えたか、否かを判定する(ステップS302)<選択工程>。
ここで、活動量が所定の基準を超えたと判定した場合(ステップS302でYes)、CPU54は、心拍計測装置200から心拍情報を取得できるか、否かを判定する(ステップS310)。
ここで、心拍計測装置200から心拍情報を取得できると判定した場合(ステップS310でYes)、CPU54は、心拍情報を取得し、取得した心拍情報から心拍数を抽出する(ステップS312)<心拍検出工程>。
次に、CPU54は、活動量が所定の基準を超えたか、否かを判定する(ステップS302)<選択工程>。
ここで、活動量が所定の基準を超えたと判定した場合(ステップS302でYes)、CPU54は、心拍計測装置200から心拍情報を取得できるか、否かを判定する(ステップS310)。
ここで、心拍計測装置200から心拍情報を取得できると判定した場合(ステップS310でYes)、CPU54は、心拍情報を取得し、取得した心拍情報から心拍数を抽出する(ステップS312)<心拍検出工程>。
次に、CPU54は、心拍数を拍動情報として表示し、ステップS316に進む。
また、活動量が所定の基準を超えないと判定した場合(ステップS302でNo)、または、心拍計測装置200から心拍情報を取得できないと判定した場合(ステップS310でNo)、CPU54は、脈波検出部102が出力した脈拍情報を取得する(ステップS304)<脈波検出工程>。
次に、CPU54は、取得した脈拍情報に基づいて脈拍数を算出する(ステップS306)。
次に、CPU54は、算出した脈拍数を拍動情報として表示し(ステップS308)、ステップS316に進む。
また、活動量が所定の基準を超えないと判定した場合(ステップS302でNo)、または、心拍計測装置200から心拍情報を取得できないと判定した場合(ステップS310でNo)、CPU54は、脈波検出部102が出力した脈拍情報を取得する(ステップS304)<脈波検出工程>。
次に、CPU54は、取得した脈拍情報に基づいて脈拍数を算出する(ステップS306)。
次に、CPU54は、算出した脈拍数を拍動情報として表示し(ステップS308)、ステップS316に進む。
ステップS316では、CPU54は終了指示されたか、否かを判定し(ステップS316)、終了指示されたと判定した場合(ステップS316でYes)、計測処理を終了する。
他方で、終了指示されないと判定した場合(ステップS316でNo)、ステップS301に戻り処理を繰り返す。
他方で、終了指示されないと判定した場合(ステップS316でNo)、ステップS301に戻り処理を繰り返す。
尚、図4における計測処理の変形例として、活動量が所定の基準を超えないと判定した場合(ステップS302でNo)、脈波検出部102が検出した脈拍情報と、心拍計測装置200が検出した心拍情報との両方をCPU54が取得するように制御しても良い。
この場合、脈波計測装置100は、脈波計測装置100の各構成要素の動作タイミングの基準となるタイミング信号を生成する不図示の第1タイミング部を備え、第1タイミング部のタイミング信号と、心拍計測装置200が備える第2タイミング部とが同期するための同期処理を行い、脈波計測装置100と心拍計測装置200とを同期状態にする。
そして、脈拍情報及び心拍情報から算出された拍動情報を表示部112に表示するように構成しても良い。このように構成することで、心拍と脈拍との違いをユーザーが理解することができる。
さらに、脈波計測装置100で検出された脈波信号から算出された脈波間隔情報と、心拍計測装置200で検出された心電から算出された脈波間隔情報とに基づいて、ユーザーの動脈の硬さを推定し、推定結果を表す情報を表示部112に表示するように構成しても良い。
この場合、脈波計測装置100は、脈波計測装置100の各構成要素の動作タイミングの基準となるタイミング信号を生成する不図示の第1タイミング部を備え、第1タイミング部のタイミング信号と、心拍計測装置200が備える第2タイミング部とが同期するための同期処理を行い、脈波計測装置100と心拍計測装置200とを同期状態にする。
そして、脈拍情報及び心拍情報から算出された拍動情報を表示部112に表示するように構成しても良い。このように構成することで、心拍と脈拍との違いをユーザーが理解することができる。
さらに、脈波計測装置100で検出された脈波信号から算出された脈波間隔情報と、心拍計測装置200で検出された心電から算出された脈波間隔情報とに基づいて、ユーザーの動脈の硬さを推定し、推定結果を表す情報を表示部112に表示するように構成しても良い。
以上述べた実施形態1によれば、以下のような効果を奏する。
(1)ユーザーの腕部に装着した脈波計測装置100は、腕部から脈波を検出し、検出した脈波に基づいて脈拍数を算出して拍動情報として表示する。更に、脈波計測装置100は、ユーザーの活動量を算出し、活動量が所定の基準を超えた活動状況である場合であって、更に、心拍計測装置200が胸部に装着されて心拍が検出されている場合、脈波計測装置100は心拍計測装置200が計測した心拍数を拍動情報として表示する。従って、拍動情報計測システム10は、ユーザーが激しい運動を行った場合であっても、正確な拍動情報を計測できる。
(2)活動量算出部122は、体動に加えて、検出した位置情報や、移動量および移動速度に基づいて活動量を算出するため、ユーザーの活動量を正確に算出できる。
(1)ユーザーの腕部に装着した脈波計測装置100は、腕部から脈波を検出し、検出した脈波に基づいて脈拍数を算出して拍動情報として表示する。更に、脈波計測装置100は、ユーザーの活動量を算出し、活動量が所定の基準を超えた活動状況である場合であって、更に、心拍計測装置200が胸部に装着されて心拍が検出されている場合、脈波計測装置100は心拍計測装置200が計測した心拍数を拍動情報として表示する。従って、拍動情報計測システム10は、ユーザーが激しい運動を行った場合であっても、正確な拍動情報を計測できる。
(2)活動量算出部122は、体動に加えて、検出した位置情報や、移動量および移動速度に基づいて活動量を算出するため、ユーザーの活動量を正確に算出できる。
(実施形態2)
次に、本発明の実施形態2について、図5を参照して説明する。尚、以下の説明では、既に説明した部分と同じ部分については、同一符号を付してその説明を省略する。
実施形態1では、拍動情報計測システム10は、脈波計測装置100と、心拍計測装置200と、が通信可能に接続された構成を採用したが、本実施形態2では、拍動情報計測システム10は、脈波計測装置100と、心拍計測装置200と、情報端末装置400と、が通信可能に接続された構成を採用する。
即ち、心拍情報取得検知部108、位置検出部104および計測制御部120は、実施形態1において脈波計測装置100が備えたが、本実施形態2では情報端末装置400が備える。
次に、本発明の実施形態2について、図5を参照して説明する。尚、以下の説明では、既に説明した部分と同じ部分については、同一符号を付してその説明を省略する。
実施形態1では、拍動情報計測システム10は、脈波計測装置100と、心拍計測装置200と、が通信可能に接続された構成を採用したが、本実施形態2では、拍動情報計測システム10は、脈波計測装置100と、心拍計測装置200と、情報端末装置400と、が通信可能に接続された構成を採用する。
即ち、心拍情報取得検知部108、位置検出部104および計測制御部120は、実施形態1において脈波計測装置100が備えたが、本実施形態2では情報端末装置400が備える。
従って、脈波計測装置100は、機能を制御する機器制御部130の指示に応じて、脈拍情報および運動情報を情報端末装置400に送信する。
また、心拍計測装置200は、心拍数を算出できた場合、心拍情報を情報端末装置400に送信する。
情報端末装置400の機器制御部420は、内蔵する位置検出部104から位置情報を取得し、位置情報および運動情報に基づいて、脈拍情報または心拍情報の何れか一方を選択し、選択した一方の情報に基づいて拍動情報を決定し、決定した拍動情報を表示部406に表示させる。
更に、機器制御部420は、決定した拍動情報を保持し、ユーザー毎に統計処理を行い、処理結果を表示部406に表示する態様も想定できる。
以上述べた実施形態2によれば、実施形態1と同様な効果を奏する。
また、心拍計測装置200は、心拍数を算出できた場合、心拍情報を情報端末装置400に送信する。
情報端末装置400の機器制御部420は、内蔵する位置検出部104から位置情報を取得し、位置情報および運動情報に基づいて、脈拍情報または心拍情報の何れか一方を選択し、選択した一方の情報に基づいて拍動情報を決定し、決定した拍動情報を表示部406に表示させる。
更に、機器制御部420は、決定した拍動情報を保持し、ユーザー毎に統計処理を行い、処理結果を表示部406に表示する態様も想定できる。
以上述べた実施形態2によれば、実施形態1と同様な効果を奏する。
尚、図4における計測処理の変形例として、活動量が所定の基準を超えないと判定した場合(ステップS302でNo)、脈波検出部102が検出した脈拍情報と、心拍計測装置200が検出した心拍情報との両方をCPU54が取得するように制御しても良い。
この場合、脈波計測装置100および心拍計測装置200は、情報端末装置400のタイミングに同期するように同期処理を行い、情報端末装置400、脈波計測装置100および心拍計測装置200が同期状態になる。
そして、脈拍情報及び心拍情報から算出された拍動情報を表示部406に表示するように構成しても良い。このように構成することで、心拍と脈拍との違いをユーザーが理解することができる。
さらに、脈波計測装置100で検出された脈波信号から算出された脈波間隔情報と、心拍計測装置200で検出された心電から算出された脈波間隔情報とに基づいて、ユーザーの動脈の硬さを推定し、推定結果を表す情報を表示部406に表示するように構成しても良い。
この場合、脈波計測装置100および心拍計測装置200は、情報端末装置400のタイミングに同期するように同期処理を行い、情報端末装置400、脈波計測装置100および心拍計測装置200が同期状態になる。
そして、脈拍情報及び心拍情報から算出された拍動情報を表示部406に表示するように構成しても良い。このように構成することで、心拍と脈拍との違いをユーザーが理解することができる。
さらに、脈波計測装置100で検出された脈波信号から算出された脈波間隔情報と、心拍計測装置200で検出された心電から算出された脈波間隔情報とに基づいて、ユーザーの動脈の硬さを推定し、推定結果を表す情報を表示部406に表示するように構成しても良い。
また、以上のような手法を実施する装置は、単独の装置によって実現される場合もあれば、複数の装置を組み合わせることによって実現される場合もあり、各種の態様を含むものである。
また、図1、図3および図5に示した脈波計測装置100の各機能部は、ハードウェアとソフトウェアとの協働により実現される機能的構成を示すものであって、具体的な実装形態は特に制限されない。従って、必ずしも各機能部に個別に対応するハードウェアが実装される必要はなく、一つのプロセッサーがプログラムを実行することで複数の機能部の機能を実現する構成とすることも勿論可能である。また、上記実施形態においてソフトウェアで実現される機能の一部をハードウェアで実現してもよく、あるいは、ハードウェアで実現される機能の一部をソフトウェアで実現してもよい。その他、拍動情報計測システム10の他の各部の具体的な細部構成についても、本発明の趣旨を逸脱しない範囲で任意に変更可能である。
また、図1、図3および図5に示した脈波計測装置100の各機能部は、ハードウェアとソフトウェアとの協働により実現される機能的構成を示すものであって、具体的な実装形態は特に制限されない。従って、必ずしも各機能部に個別に対応するハードウェアが実装される必要はなく、一つのプロセッサーがプログラムを実行することで複数の機能部の機能を実現する構成とすることも勿論可能である。また、上記実施形態においてソフトウェアで実現される機能の一部をハードウェアで実現してもよく、あるいは、ハードウェアで実現される機能の一部をソフトウェアで実現してもよい。その他、拍動情報計測システム10の他の各部の具体的な細部構成についても、本発明の趣旨を逸脱しない範囲で任意に変更可能である。
10…拍動情報計測システム、50…A/D回路、52…GPS回路、54…CPU、56…ROM、58…通信回路、60…信号入力検知回路、62…液晶表示回路、64…RAM、66…フラッシュメモリー、68…バス、70…脈波センサー、75…体動センサー、80…液晶パネル、100…脈波計測装置、102…脈波検出部、104…位置検出部、106…運動検出部、108…心拍情報取得検知部、110…通信部、112…表示部、120…計測制御部、122…活動量算出部、124…活動量判定部、126…情報選択部、128…脈拍数算出部、130…機器制御部、200…心拍計測装置、202…機器制御部、203…心拍算出部、204…心拍検出部、206…通信部、400…情報端末装置、402…通信部、404…機器制御部、405…記憶部、406…表示部、420…機器制御部。
Claims (13)
- 脈波を示す脈波情報を検出する脈波検出部と、
心拍を示す心拍情報を検出する心拍検出部と、
身体の活動量を算出する活動量算出部と、
前記活動量に基づいて前記脈波情報および前記心拍情報の何れか一方を選択し、選択した前記一方に基づいて拍動情報を決定する拍動情報決定部と、を備え、
前記拍動情報決定部は、前記活動量が所定の基準を超えた場合、前記心拍情報に基づいて前記拍動情報を決定することを特徴とする拍動情報計測システム。 - 請求項1に記載の拍動情報計測システムにおいて、
前記拍動情報決定部は、前記活動量が所定の基準を超えない場合、前記脈波情報に基づいて前記拍動情報を決定することを特徴とする拍動情報計測システム。 - 請求項1または2に記載の拍動情報計測システムにおいて、
前記拍動情報は心拍数または脈拍数であることを特徴とする拍動情報計測システム。 - 請求項1乃至3のいずれか1項に記載の拍動情報計測システムにおいて、
前記拍動情報決定部は、前記心拍検出部が前記心拍情報を検出しているか、否かを判定する判定部を備えることを特徴とする拍動情報計測システム。 - 請求項4に記載の拍動情報計測システムにおいて、
前記拍動情報決定部は、前記心拍検出部が前記心拍情報を検出していることを前記判定部が判定し、かつ、前記活動量が所定の基準を超えた場合、前記心拍情報に基づいて前記拍動情報を決定することを特徴とする拍動情報計測システム。 - 請求項1乃至5のいずれか1項に記載の拍動情報計測システムにおいて、
前記活動量算出部は、所在する位置に基づく位置情報と、体動に基づく運動強度を示す運動情報と、に基づいて前記活動量を算出することを特徴とする拍動情報計測システム。 - 請求項1乃至6のいずれか1項に記載の拍動情報計測システムにおいて、
前記拍動情報を表示する表示部を備え、
前記拍動情報決定部は、前記拍動情報を前記心拍情報に基づいて算出したか、または、前記脈波情報に基づいて算出したか、を示す情報を前記表示部に表示することを特徴とする拍動情報計測システム。 - 請求項1乃至7のいずれか1項に記載の拍動情報計測システムにおいて、
算出した前記拍動情報に基づいて、消費したカロリー量を算出するカロリー量算出部を備えることを特徴とする拍動情報計測システム。 - 請求項1乃至8のいずれか1項に記載の拍動情報計測システムにおいて、
前記脈波検出部は、被検者の肢体部において前記脈波を検出し、
前記心拍検出部は、前記被検者の体幹部において前記心拍を検出することを特徴とする拍動情報計測システム。 - 請求項1乃至9のいずれか1項に記載の拍動情報計測システムにおいて、
通信可能に接続された脈波計測装置と、心拍計測装置と、を備え、
前記脈波計測装置は、前記脈波検出部と、前記活動量算出部と、前記拍動情報決定部と、を有し、
前記心拍計測装置は前記心拍検出部を有することを特徴とする拍動情報計測システム。 - 請求項1乃至9のいずれか1項に記載の拍動情報計測システムにおいて、
通信可能に接続された脈波計測装置と、心拍計測装置と、情報端末装置と、を備え、
前記脈波計測装置は、前記脈波検出部と、前記活動量算出部と、を有し、
前記心拍計測装置は、前記心拍検出部を有し、
前記情報端末装置は、前記拍動情報決定部を有することを特徴とする拍動情報計測システム。 - 脈波を示す脈波情報を検出する脈波検出工程と、
心拍を示す心拍情報を検出する心拍検出工程と、
身体の活動量を算出する活動量算出工程と、
前記活動量に基づいて前記脈波情報および前記心拍情報の何れか一方を選択する選択工程と、
選択した前記一方の情報に基づいて拍動情報を決定する拍動情報決定工程と、を備え、
前記選択工程は、前記活動量が所定の基準を超えた場合、前記心拍情報に基づいて前記拍動情報を決定することを特徴とする拍動情報計測方法。 - 脈波を示す脈波情報を検出する脈波検出部と、
心拍を示す心拍情報を受信する通信部と、
身体の活動量を算出する活動量算出部と、
前記活動量に基づいて前記脈波情報および前記心拍情報の何れか一方を選択し、選択した前記一方の情報に基づいて拍動情報を決定する拍動情報決定部と、を備え、
前記拍動情報決定部は、前記活動量が所定の基準を超えた場合、前記心拍情報に基づいて前記拍動情報を決定することを特徴とする拍動情報計測装置。
Priority Applications (3)
| Application Number | Priority Date | Filing Date | Title |
|---|---|---|---|
| JP2015001357A JP2016123773A (ja) | 2015-01-07 | 2015-01-07 | 拍動情報計測システム、拍動情報計測方法および拍動情報計測装置 |
| PCT/JP2015/006111 WO2016110895A1 (ja) | 2015-01-07 | 2015-12-08 | 生体情報分析装置、生体情報分析システム、拍動情報計測システム及び生体情報分析プログラム |
| US15/540,186 US20180249917A1 (en) | 2015-01-07 | 2015-12-08 | Biological information analysis apparatus, biological information analysis system, beating information measurement system, and biological information analysis program |
Applications Claiming Priority (1)
| Application Number | Priority Date | Filing Date | Title |
|---|---|---|---|
| JP2015001357A JP2016123773A (ja) | 2015-01-07 | 2015-01-07 | 拍動情報計測システム、拍動情報計測方法および拍動情報計測装置 |
Publications (1)
| Publication Number | Publication Date |
|---|---|
| JP2016123773A true JP2016123773A (ja) | 2016-07-11 |
Family
ID=56358367
Family Applications (1)
| Application Number | Title | Priority Date | Filing Date |
|---|---|---|---|
| JP2015001357A Pending JP2016123773A (ja) | 2015-01-07 | 2015-01-07 | 拍動情報計測システム、拍動情報計測方法および拍動情報計測装置 |
Country Status (1)
| Country | Link |
|---|---|
| JP (1) | JP2016123773A (ja) |
-
2015
- 2015-01-07 JP JP2015001357A patent/JP2016123773A/ja active Pending
Similar Documents
| Publication | Publication Date | Title |
|---|---|---|
| US20170238819A1 (en) | System and method to determine blood pressure | |
| TWI657796B (zh) | 生理資料提供方法及可穿戴感測器平台 | |
| CN102781310A (zh) | 心率监测器 | |
| WO2017212120A1 (en) | Multi-sensor system for estimating blood pulse wave characteristics | |
| KR20140024845A (ko) | 통합 생체 센싱 및 표시 장치 | |
| US20180235489A1 (en) | Photoplethysmographic wearable blood pressure monitoring system and methods | |
| KR20100024118A (ko) | 혈압 측정 장치 및 방법 | |
| RU2008129814A (ru) | Устройство для обнаружения медицинского состояния и предупреждения о нем | |
| JP2017507750A (ja) | 心拍モニターシステム | |
| US11839490B2 (en) | Three wavelength pulse oximetry | |
| JP2013022256A (ja) | 生体情報処理装置及び生体情報処理方法 | |
| US11147461B2 (en) | Blood pressure analyzing apparatus, blood pressure measuring apparatus, and blood pressure analyzing method | |
| JP2018189477A (ja) | ウェアラブル機器、および表示方法 | |
| JP5589487B2 (ja) | 生体情報測定装置、生体情報測定方法、および生体情報測定プログラム | |
| US20180249917A1 (en) | Biological information analysis apparatus, biological information analysis system, beating information measurement system, and biological information analysis program | |
| JP2020014697A (ja) | 計測支援装置、方法及びプログラム | |
| Kviesis-Kipge et al. | Miniature wireless photoplethysmography devices: integration in garments and test measurements | |
| US12109479B2 (en) | Exercise assistance device, exercise assistance method, and storage medium | |
| JP2016123773A (ja) | 拍動情報計測システム、拍動情報計測方法および拍動情報計測装置 | |
| GB2626534A (en) | Visceral body composition measurement arrangement | |
| JP5807700B2 (ja) | カロリー消費量計算装置及びカロリー消費量計算方法 | |
| US20220015717A1 (en) | Activity State Analysis Device, Activity State Analysis Method and Activity State Analysis System | |
| JP2024018876A (ja) | 情報処理システム、サーバ、情報処理方法、プログラム及び学習モデル | |
| US20220183572A1 (en) | Method for Measuring Pre-Ejection Period | |
| US20170245800A1 (en) | Biological-information analyzing device, biological-information analyzing system, and biological-information analyzing method |