JP2016022371A - Auto-bed with apparatus for evacuation - Google Patents

Auto-bed with apparatus for evacuation Download PDF

Info

Publication number
JP2016022371A
JP2016022371A JP2014225607A JP2014225607A JP2016022371A JP 2016022371 A JP2016022371 A JP 2016022371A JP 2014225607 A JP2014225607 A JP 2014225607A JP 2014225607 A JP2014225607 A JP 2014225607A JP 2016022371 A JP2016022371 A JP 2016022371A
Authority
JP
Japan
Prior art keywords
defecation
plate
nozzle
container
mattress
Prior art date
Legal status (The legal status is an assumption and is not a legal conclusion. Google has not performed a legal analysis and makes no representation as to the accuracy of the status listed.)
Pending
Application number
JP2014225607A
Other languages
Japanese (ja)
Inventor
永健 金
Young Keon Kim
永健 金
Current Assignee (The listed assignees may be inaccurate. Google has not performed a legal analysis and makes no representation or warranty as to the accuracy of the list.)
EIKEN KK
Original Assignee
EIKEN KK
Priority date (The priority date is an assumption and is not a legal conclusion. Google has not performed a legal analysis and makes no representation as to the accuracy of the date listed.)
Filing date
Publication date
Application filed by EIKEN KK filed Critical EIKEN KK
Publication of JP2016022371A publication Critical patent/JP2016022371A/en
Pending legal-status Critical Current

Links

Images

Classifications

    • AHUMAN NECESSITIES
    • A61MEDICAL OR VETERINARY SCIENCE; HYGIENE
    • A61GTRANSPORT, PERSONAL CONVEYANCES, OR ACCOMMODATION SPECIALLY ADAPTED FOR PATIENTS OR DISABLED PERSONS; OPERATING TABLES OR CHAIRS; CHAIRS FOR DENTISTRY; FUNERAL DEVICES
    • A61G7/00Beds specially adapted for nursing; Devices for lifting patients or disabled persons
    • A61G7/02Beds specially adapted for nursing; Devices for lifting patients or disabled persons with toilet conveniences, or specially adapted for use with toilets
    • AHUMAN NECESSITIES
    • A61MEDICAL OR VETERINARY SCIENCE; HYGIENE
    • A61GTRANSPORT, PERSONAL CONVEYANCES, OR ACCOMMODATION SPECIALLY ADAPTED FOR PATIENTS OR DISABLED PERSONS; OPERATING TABLES OR CHAIRS; CHAIRS FOR DENTISTRY; FUNERAL DEVICES
    • A61G7/00Beds specially adapted for nursing; Devices for lifting patients or disabled persons
    • A61G7/047Beds for special sanitary purposes, e.g. for giving enemas, irrigations, flushings
    • AHUMAN NECESSITIES
    • A61MEDICAL OR VETERINARY SCIENCE; HYGIENE
    • A61GTRANSPORT, PERSONAL CONVEYANCES, OR ACCOMMODATION SPECIALLY ADAPTED FOR PATIENTS OR DISABLED PERSONS; OPERATING TABLES OR CHAIRS; CHAIRS FOR DENTISTRY; FUNERAL DEVICES
    • A61G9/00Bed-pans, urinals or other sanitary devices for bed-ridden persons; Cleaning devices therefor, e.g. combined with toilet-urinals

Landscapes

  • Health & Medical Sciences (AREA)
  • Life Sciences & Earth Sciences (AREA)
  • Animal Behavior & Ethology (AREA)
  • General Health & Medical Sciences (AREA)
  • Public Health (AREA)
  • Veterinary Medicine (AREA)
  • Nursing (AREA)
  • Epidemiology (AREA)
  • Invalid Beds And Related Equipment (AREA)

Abstract

PROBLEM TO BE SOLVED: To provide a bed which enables clean defecation disposal of a patient requiring recuperation or having inconvenience in movement.SOLUTION: An auto-bed with apparatus for evacuation 1 includes: a mattress frame 11 in which a cylinder motor is actuated by a switch operation, a back plate 13 and a thigh plate 17 are deflected with respect to a hip part plate 15 with an axis rod a as a base point, a leg plate is deflected with respect to the thigh plate with an axis rod as a base point, and thus an appropriate deflection angle for an individual patient can be adjusted; a defecation port 21 which is formed by cutting/opening a part of the hip part plate and leg plate and is closed by a door mattress 21a; movement means which moves the door mattress 21a in a leg plate direction and opens the defecation port 21 when the mattress frame is deflected; and a defecation container arranged under the defecation port, lifted by lifting means, and arranged at the defecation port.SELECTED DRAWING: Figure 1

Description

この発明は自動排泄物処理装置を装着した電動ベッドに関するもので、より詳しくはトイレへの移動が不便な患者が電動ベッドで屈折動作を利用して排泄行為をできるようにする適切な姿勢を取らせることができるとともに、清潔な排泄物の処理が可能な自動排泄物処理装置が装着している電動ベッドに関するものである。   The present invention relates to an electric bed equipped with an automatic excrement disposal apparatus, and more specifically, takes an appropriate posture to allow a patient who is inconvenient to move to a toilet to perform excretion using a refraction action on the electric bed. It is related with the electric bed with which the automatic excrement disposal apparatus which can be processed and can process a clean excrement is equipped.

療養を必要とする患者や挙動が不便な患者の場合、自分の身体を自ら制御することができないので周りの人の助けを必要とするとともに、トイレに行くことも困難であるため、通常はおむつを着用しており、排泄後には保護者や介護人が排泄物を処理しなければならなかった。   For patients who need medical treatment or are inconvenient in their behavior, diapers are usually diapers because they cannot control their bodies themselves and need help from those around them, and it is difficult to go to the bathroom. Wearing and after excretion, parents and caregivers had to deal with the excrement.

しかし、おむつを着用すると、排便するたびに交換するわずらわしさや、すぐシャワーをできないときは、清潔さを保てないので不便を感じるようになる。これを解決するために患者の排泄器官が位置する部分に着用し、排便時にセンサーの反応によって患者の排便を感知し、吸入・保管するように作られた自動排泄物処理装置がある。   However, if you wear a diaper, you will feel inconvenient because you will not be able to keep it clean when you have to take care of it every time you defecate. In order to solve this problem, there is an automatic excrement disposal apparatus that is worn on a part where a patient's excretory organ is located, and senses the patient's stool by the reaction of a sensor at the time of defecation, and inhales and stores.

しかし既存の自動排泄物処理装置は患者がいつも吸入ホースの連結している排便容器を着用して生活しなくてはならず、排便容器が傾くと排泄物が漏れるなどの欠点があるため、常に正しい姿勢で横になって生活しなくてはならないため、意識のない一部の患者だけに限られて使われるという問題点がある。   However, the existing automatic waste disposal device must always live by wearing a defecation container connected to an inhalation hose, and there is a drawback that the excrement leaks when the defecation container is tilted. There is a problem that it is used only by some unconscious patients because it must lie down and live in a correct posture.

また意識のない患者の場合も持続的な排便容器の着用はストレスを誘発するとともに、着用している間は姿勢の変更が困難なために褥瘡や皮膚疾患にかかる上、排便容器を患者の身体に押し付けないと排泄物が漏れるという解決が困難な問題がある。   In the case of an unconscious patient, wearing a defecation container continuously induces stress, and it is difficult to change the posture while wearing it. There is a problem that it is difficult to solve that excrement leaks if it is not pressed against.

韓国公開特許 第2007−0113855号(名称:自動排泄物処理装置、公開日時:2007.11.29)Korea Public Patent No. 2007-0113855 (Name: Automatic Excrement Treatment Device, Publication Date: 2007.11.29)

この発明の目的は電動ベッドの屈折動作を利用して、最大限座った姿勢に近い姿勢でベッド上で排泄行為をすることができ、清潔な排便処理が可能な自動排泄物処理装置を装着した電動ベッドを提供することである。   The object of the present invention is to use the refracting action of the electric bed, and to attach an automatic excrement disposal device that can perform excretion on the bed in a posture close to the maximum sitting posture and can perform clean defecation processing. It is to provide an electric bed.

この発明の他の目的は排泄行為が必要なときにだけ排便容器がベッドに露出するために、ベッド上での生活に不便さがなく、医療装置などの移動や医療装置に干渉しないように設計されているために、車椅子や医療装置の移動に支障にならない自動排泄物処理装置が装着した電動ベッドを提供することである。   Another object of the present invention is that the defecation container is exposed to the bed only when excretion is required, so that there is no inconvenience in life on the bed, and it is designed not to interfere with the movement of the medical device or the medical device. Therefore, it is an object of the present invention to provide an electric bed equipped with an automatic excrement disposal device that does not hinder the movement of a wheelchair or a medical device.

上記のような目的を達成するためのこの発明の特徴によれば、この発明はスィッチの操作によって、シリンダーモーターが作動し、背板、腿板が臀部板に対して、軸棒を起点として屈折し、脚板が腿板に対して軸棒を起点として屈折しながら、患者個々人に適合した屈折角度の調節が可能なマットレスフレームや上記の臀部板や上記の腿板の一部が切り開く形で形成されており、ドアマットレスによって遮蔽されている排便口と上記のマットレスフレームを屈折するとき上記のドアマットレスを上記の脚板方向に移動させ、上記の排便口を開放する移動手段や上記の排便口の下部に配置されており、昇降手段によって上昇し上記の排便口に配置される排便容器を含んでいる。   According to the feature of the present invention for achieving the above object, the present invention is such that the cylinder motor is operated by the operation of the switch, and the back plate and the thigh plate are refracted with respect to the buttocks plate from the shaft bar as a starting point. The leg plate is refracted from the thigh plate with the axis bar as the starting point, and the mattress frame that can adjust the refraction angle suitable for the individual patient, the above-mentioned buttocks plate, and a part of the above-mentioned thigh plate are cut open. When the stool is shielded by the door mattress and the mattress frame is refracted, the door mattress is moved in the direction of the leg plate so as to open the stool and the stool The stool container is disposed at the lower part and is lifted by the lifting means and disposed at the defecation port.

上記の移動手段は上記のドアマットレスの底面に付着しており、第1板と第2板が蝶番(28)によって結合しており、側面に上記の第1板と第2板の屈折角度を調整することができるノッチ部が形成されている板部と、上記の第2板の底面に長く具備されている固定レールと、上記の固定レールに対して上記の第1板方向に出入り可能なガイドレールと上記のガイドレールの端部分にロードが固定され、上記のガイドレールを上記の固定レールに対して出入りさせるシリンダーと、上記の第1板の一側面と第2板の一側面を連結し、上記のガイドレールが上記の固定レール内部に移動すると、上記の第1板を上記の第2板に対して屈折させる復元スプリングを含む。   The moving means is attached to the bottom surface of the door mattress, the first plate and the second plate are joined by a hinge (28), and the refraction angle of the first plate and the second plate is set on the side surface. A plate part on which a notch part that can be adjusted is formed, a fixed rail that is long on the bottom surface of the second plate, and the first rail can be moved in and out of the fixed rail. A load is fixed to the guide rail and the end portion of the guide rail, and a cylinder for allowing the guide rail to enter and exit the fixed rail is connected to one side surface of the first plate and one side surface of the second plate. When the guide rail moves into the fixed rail, a restoring spring that refracts the first plate with respect to the second plate is included.

上記の昇降手段はシリンダーの動作により上昇あるいは下降するリフトであり、上記のリフトは上昇すれば、上記の排便容器が上記の腿板の屈折角度に対応するようにする。   The lifting means is a lift that is raised or lowered by the operation of the cylinder. When the lift is raised, the defecation container corresponds to the refraction angle of the thigh plate.

上記の排便容器は排便空間が具備されており、一側面に上記の排便空間に受け止められた排便が排出される排出口が具備されており、底面が上記の排出口に向かって傾くように形成された排便受けと、上記の排便受けから突出するように形成されている小便の外はねを防止する小便カバー部を含んでいる。   The defecation container is provided with a defecation space, and is provided with a discharge port for discharging the defecation received in the defecation space on one side surface, and a bottom surface is inclined toward the discharge port. And a urine cover portion for preventing splashing of the urine formed so as to protrude from the stool receiver.

上記の排便容器にはノズル孔があり、上記のノズル孔に洗浄およびビデ機能のためのノズル部が連結し、上記の排出口には排便吸入のための吸入ノズルが連結される。   The defecation container has a nozzle hole, a nozzle portion for washing and bidet functions is connected to the nozzle hole, and an intake nozzle for defecation inhalation is connected to the discharge port.

上記のノズル部はビデノズル、洗浄ノズルを含んでおり、上記のビデノズルは撒水板ビデノズルであり、上記の排便容器内で前後の移動が可能である。   The nozzle section includes a bidet nozzle and a washing nozzle. The bidet nozzle is a water-bathboard bidet nozzle, and can be moved back and forth in the defecation container.

上記の排便容器に空気の吸入口が形成される。   An air inlet is formed in the defecation container.

上記のノズル部および吸入ノズルを媒介にして上記の排便容器につながった排泄物処理装置本体を具備する。   An excrement disposal apparatus main body connected to the defecation container through the nozzle part and the suction nozzle is provided.

上記の排泄物処理装置本体は外観を形成するケースと上記の吸入ノズルを通して吸入された排便が収納され、上記のケース内に着脱可能なように具備された排便収納箱と温水が貯蔵され、上記のノズル部と連結している温水貯蔵槽と、洗浄水が貯蔵され、上記の温水貯蔵槽とつながった洗浄水貯蔵槽と上記の排便収納箱内部の空気を外部に輩出する際、悪臭を除去するためのフィルターを具備している。   The excrement disposal apparatus main body stores a case forming an appearance and a defecation sucked through the suction nozzle, and stores a defecation storage box and hot water that are detachably installed in the case. When the hot water storage tank connected to the nozzle part of the water, the washing water is stored, and the cleaning water storage tank connected to the hot water storage tank and the air inside the defecation storage box are produced outside, the bad odor is removed. It has a filter to do.

上記の洗浄水貯蔵槽の洗浄水を温水貯蔵槽に供給し、上記の温水貯蔵槽の温水を上記のノズル部に供給する水供給ポンプと、上記のノズル部に悪臭を除去するための薬品を供給する薬品供給ポンプと排便の吸入を遂行する吸入モーターを含んでいる。   Supplying the washing water of the washing water storage tank to the hot water storage tank, supplying the hot water of the hot water storage tank to the nozzle part, and a chemical for removing malodors in the nozzle part It includes a drug supply pump to supply and an inhalation motor to perform defecation inhalation.

この発明は電動ベッドの屈折時、移動手段によって排便口が開放し、昇降手段によって排便容器が排便口に配置され、最大限座った姿勢に近い姿勢でベッドで楽に排便活動をすることができる。   In this invention, when the electric bed is refracted, the defecation port is opened by the moving means, and the defecation container is arranged at the defecation port by the elevating means, so that the defecation activity can be easily performed on the bed in a posture close to the maximum sitting posture.

したがってベッドで清潔な排便処理が可能なため、患者が感じる負担感や羞恥心を軽減することができる上、患者を世話する看病人の手間も軽減する効果がある。   Therefore, since clean defecation processing is possible in the bed, it is possible to reduce the feeling of burden and shame that the patient feels, and also to reduce the trouble of the caregiver who takes care of the patient.

またこの発明は排便活動が必要な場合にだけ排便容器がベッドに露出するためにベッドでの生活に不便感はなく医療装置の移動に干渉しないように排便容器が配置されており、車椅子や医療装置の移動に邪魔にならない効果がある。   In addition, since the defecation container is exposed to the bed only when defecation activity is necessary, the defecation container is arranged so that there is no inconvenience in life in the bed and does not interfere with the movement of the medical device. There is an effect that does not interfere with the movement of the device.

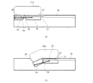
図1はこの発明による排便処理装置装着電動ベッドの斜視図。FIG. 1 is a perspective view of an electric bed equipped with a defecation processing device according to the present invention. 図2はこの発明による排便処理装置装着電動ベッドで、排便容器が排便口に露出し、使用可能な状態を示す斜視図。FIG. 2 is a perspective view showing a state in which the defecation container is exposed to the defecation opening and can be used in the electric bed equipped with the defecation processing device according to the present invention. 図3はこの発明の実施例として、移動手段を示す斜視図。FIG. 3 is a perspective view showing a moving means as an embodiment of the present invention. 図4は図3の移動手段が作動する過程を示す状態図。FIG. 4 is a state diagram showing a process in which the moving means of FIG. 3 operates. 図5はこの発明の実施例で、排便容器を昇降させる昇降手段を示した斜視図。FIG. 5 is a perspective view showing an elevating means for elevating and lowering a defecation container according to an embodiment of the present invention. 図6は図5の昇降手段が電動ベッドに配置された状態を示した側面図。6 is a side view showing a state in which the elevating means of FIG. 5 is arranged on the electric bed. 図7は図5の昇降手段が作動して、排便容器が排便口に露出した状態を示した側面図。FIG. 7 is a side view showing a state where the elevating means of FIG. 5 is activated and the defecation container is exposed to the defecation opening. 図8はこの発明の実施例で、排便容器を示した側面図。FIG. 8 is a side view showing a defecation container according to an embodiment of the present invention. 図9はこの発明の実施例で、排便容器に連結したノズル部を示した斜視図。FIG. 9 is a perspective view showing a nozzle portion connected to a defecation container according to an embodiment of the present invention. 図10はこの発明の実施例で、排便処理機本体の内部構成を示した平面図。FIG. 10 is a plan view showing an internal configuration of a defecation processing machine main body according to an embodiment of the present invention. 図11は図10の排便処理機本体から排便収納箱と洗浄水貯蔵槽が分離する姿を示した図面。FIG. 11 is a view showing a state where a defecation storage box and a washing water storage tank are separated from the defecation processing machine main body of FIG. 10.

以下、この発明の実施例が添付された図面を参照して詳しく説明する。   Hereinafter, embodiments of the present invention will be described in detail with reference to the accompanying drawings.

この発明の排便処理装置装着電動ベッドは、療養を必要とする患者や挙動が不自由な患者を対象に、最大限座った姿勢と近い姿勢で、ベッドで排便活動を清潔にすることができるようにしたものである。この発明は意識のない患者や意識のある患者すべてに適用可能である。   The electric bed equipped with the defecation treatment device of the present invention can clean the defecation activity in the bed in a posture close to the maximum sitting posture for patients who need medical treatment or patients who have difficulty in behavior. It is a thing. The present invention is applicable to all unconscious patients and conscious patients.

具体的な構成は図1及び図2にあるように、リモコン(未図示)などのスイッチ操作によって、シリンダーモーター(未図示)が作動し、背板(13)、腿板(17)が臀部板(15)に対して軸棒(a)を基点に屈折しながら、患者個々人に適切な屈折角度の調節が可能なマットレスフレーム(11)と、臀部板(15)と腿板(17)の一部が切り開かれて形成されながらドアマットレス(21a)によって自閉している排便口(21)と、マットレスフレーム(11)を屈折時、ドアマットレス(21a)を脚板(19)方向に移動させ、排便口(21)を開放する移動手段(23)と、排便口(21)の下部に配置され、昇降手段(41)によって上昇し、排便口(21)に配置されている排便容器(53)を含む。   1 and 2, the cylinder motor (not shown) is activated by operating a switch such as a remote controller (not shown), and the back plate (13) and the thigh plate (17) are the buttocks plate. (15) A mattress frame (11) capable of adjusting an appropriate refraction angle for each patient while being refracted from the shaft (a) as a base point, and a heel plate (15) and a thigh plate (17). The stool opening (21) which is self-closed by the door mattress (21a) while being cut open and the mattress frame (11) is bent, the door mattress (21a) is moved in the direction of the leg plate (19), A moving means (23) that opens the defecation port (21), and a defecation container (53) that is disposed at the lower part of the defecation port (21), is raised by the elevating means (41), and is disposed at the defecation port (21) including.

電動ベッド(1)は療養を必要とする患者や挙動が不便な臥床患者を対象に作られており、リモコンなどのスイッチの操作で屈折角度の調節が可能なようにした患者用ベッドである。   The electric bed (1) is made for patients who need medical treatment and bedridden patients who are inconvenient in behavior, and is a patient bed in which the refraction angle can be adjusted by operating a switch such as a remote controller.

電動ベッド(1)は背板(13)、臀部板(15)、腿板(17)、脚板(19)に区分されており、それぞれ軸棒(a)を基点にして、シリンダーモーター(未図示)が作動して屈折角度が調節される。   The electric bed (1) is divided into a back plate (13), a buttocks plate (15), a thigh plate (17), and a leg plate (19). ) Operates to adjust the refraction angle.

背板(13)、臀部板(15)、腿板(17)、脚板(19)に背板マットレス(13a)、臀部板マットレス(15a)、腿板マットレス(17a)、脚板マットレス(19a)がそれぞれ配置される。   A back plate mattress (13a), a buttocks plate mattress (15a), a thigh plate mattress (17a), and a leg plate mattress (19a) are provided on the back plate (13), the buttocks plate (15), the thigh plate (17), and the leg plate (19). Each is arranged.

この実施例では、背板マットレス(13a)、臀部板マットレス(15a)、腿板マットレス(17a)、脚板マットレス(19a)をそれぞれ分離した構成で図示したが、背板マットレス(13a)、臀部板マットレス(15a)、腿板マットレス(17a)、脚板マットレス(19a)が一体として構成することもできる。   In this embodiment, the back plate mattress (13a), the buttocks plate mattress (15a), the thigh plate mattress (17a), and the leg plate mattress (19a) are illustrated as being separated, but the back plate mattress (13a) and the buttocks plate are shown. The mattress (15a), the thigh mattress (17a), and the leg plate mattress (19a) can be configured integrally.

電動ベッド(1)で、背板(13)、腿板(17)が臀部板(15)に対して軸棒(a)を基点として屈折し、脚板(19)が腿板(17)に対して、軸棒(a)を基点として屈折するのは、2〜4個のシリンダーモーターを使用することができ、これは公知の技術であるので詳しい説明は省略する。   In the electric bed (1), the back plate (13) and the thigh plate (17) are refracted with respect to the buttocks plate (15) with the shaft rod (a) as a base point, and the leg plate (19) is against the thigh plate (17). Then, 2 to 4 cylinder motors can be used to refract the shaft rod (a) as a base point, and since this is a known technique, detailed description thereof is omitted.

電動ベッド(1)に排便処理のための排便口(21)が具備される。   The electric bed (1) is provided with a defecation opening (21) for defecation processing.

排便口(21)は臀部板(15)と腿板(17)の一部が切開されて形成される。排便口(21)は排便容器(53)が通過できる程度の大きさで切開される。   The defecation opening (21) is formed by cutting a part of the buttocks plate (15) and the thigh plate (17). The defecation opening (21) is incised with a size that allows the defecation container (53) to pass therethrough.

図1に図示されているように排便口(21)は平常時にはドアマットレス(21a)によって閉じられており、図2に図示されているように患者の排便処理が必要なときだけ開放される。   As shown in FIG. 1, the defecation port (21) is normally closed by a door mattress (21a), and is opened only when the patient's defecation process is necessary as shown in FIG.

排便口(21)はマットレスフレーム(11)を屈折させるとき、ドアマットレス(21a)を脚板(19)方向に移動させる移動手段(23)の作動によって開放する。   When the mattress frame (11) is refracted, the defecation opening (21) is opened by the operation of the moving means (23) for moving the door mattress (21a) toward the leg plate (19).

移動手段(23)は電動ベッド(1)の屈折動作に干渉しない範囲内で、電動ベッドに設置する。   The moving means (23) is installed on the electric bed within a range that does not interfere with the refraction operation of the electric bed (1).

図3乃至図4に図示されているように、移動手段(23)はドアマットレス(21a)の底面に付着する板部(25)と板部(25)に具備されている固定レール(31)及び固定レールに対して入出させるシリンダー(35)と、板部(25)を屈折させる復元スプリング(39)を含む。   As shown in FIGS. 3 to 4, the moving means (23) is attached to the bottom surface of the door mattress (21a) with the plate portion (25) and the fixed rail (31) provided on the plate portion (25). And a cylinder (35) that enters and exits the fixed rail, and a restoring spring (39) that refracts the plate portion (25).

板部(25)はドアマットレス(21a)の底面に付着しており、蝶番(28)によって結合する第1板(26)と第2板(27)によって構成される。第1板(26)と第2板(27)の側面には第1板(26)と第2板(27)の屈折角度を調節することができるノッチ部(29)が構成される。この実施例でノッチ部(29)は大体105度の角度を形成する。   The plate portion (25) is attached to the bottom surface of the door mattress (21a), and is constituted by a first plate (26) and a second plate (27) joined by a hinge (28). On the side surfaces of the first plate (26) and the second plate (27), a notch portion (29) capable of adjusting the refraction angle of the first plate (26) and the second plate (27) is formed. In this embodiment, the notch (29) forms an angle of approximately 105 degrees.

固定レール(31)は第2板(27)の底面に具備される。ガイドレール(33)は固定レール(31)に対して第1板(26)の方向に出入りが可能である。ガイドレール(33)のは端部にはガイドレール(33)を固定レール(31)に対して出入りできるようにするシリンダー(35)のロード(37)端部が結合する。   The fixed rail (31) is provided on the bottom surface of the second plate (27). The guide rail (33) can enter and exit in the direction of the first plate (26) with respect to the fixed rail (31). The end of the guide rail (33) is coupled to the end of the load (37) of the cylinder (35) that allows the guide rail (33) to enter and exit the fixed rail (31).

復元スプリング(39)は第1板(26)の一側面と第2板(27)の一側面を連結し、ガイドレール(33)が固定レール(31)内部に移動すると復元力を発揮して第1板(26)を第2板(27)に対して屈折させる。   The restoring spring (39) connects one side surface of the first plate (26) and one side surface of the second plate (27), and exerts restoring force when the guide rail (33) moves into the fixed rail (31). The first plate (26) is refracted with respect to the second plate (27).

図4の(a)に図示されているように、移動手段(23)はドアマットレス(21a)が排便口(21)を閉じている状態で、シリンダー(35)からロード(37)が引き出されている。ロード(37)の引き出しはガイドレール(33)を固定レール(31)から引き出し、ガイドレール(33)が第1板(26)を第2板(27)に対して平行な状態になるように支えるようになり、復元スプリング(39)を引き伸ばした状態になるようにする。   As shown in FIG. 4 (a), the moving means (23) is configured such that the load (37) is pulled out from the cylinder (35) with the door mattress (21a) closing the stool opening (21). ing. The load (37) is pulled out so that the guide rail (33) is pulled out from the fixed rail (31) so that the guide rail (33) is parallel to the first plate (26) and the second plate (27). The restoring spring (39) is extended.

この状態でマットレスフレーム(11)を屈折させ、移動手段(23)のシリンダー(35)を作動させると、図4の(b)に図示されているように、ロード(37)がシリンダー(35)方向に後進するようになり、ガイドレール(33)が固定レール(31)内部に移動するようになる。ガイドレール(33)は蝶番(28)付近に至ると固定レール(31)の長さによってそれ以上固定レール(31)内部に移動せず、第1板を支えることもなくなる。   When the mattress frame (11) is refracted in this state and the cylinder (35) of the moving means (23) is operated, the load (37) is turned into the cylinder (35) as shown in FIG. 4 (b). The guide rail (33) moves to the inside of the fixed rail (31). When the guide rail (33) reaches the vicinity of the hinge (28), it does not move further into the fixed rail (31) due to the length of the fixed rail (31), and does not support the first plate.

それにより第1板(26)を第2板(27)方向に引っ張る復元スプリング(39)の復元力は第1板(26)を第2板(27)に対してノッチ部(29)の角度に曲がった状態を作り出し、その状態でロード(37)がシリンダー(35)内部にさらに移動するようになり、ドアマットレス(21a)全体が脚板(19)方向に移動するようになる。   Accordingly, the restoring force of the restoring spring (39) that pulls the first plate (26) in the direction of the second plate (27) is the angle of the notch portion (29) with respect to the first plate (26) with respect to the second plate (27). In this state, the load (37) further moves into the cylinder (35), and the entire door mattress (21a) moves in the direction of the leg plate (19).

上述した過程によって進行するドアマットレス(21a)の脚板(19)方向への移動動作はマットレスフレーム(11)の屈折によって患者が座った姿勢を取ることによって、患者の体重がドアマットレス(21a)に掛かるようになるとき、患者の体重を分散させながら、ドアマットレス(21a)を脚板(19)方向へ移動するのを容易にする。   The movement of the door mattress (21a) in the direction of the leg plate (19), which proceeds through the above-described process, takes the patient's sitting posture due to the refraction of the mattress frame (11), so that the patient's weight is applied to the door mattress (21a). When it comes to hang, it is easy to move the door mattress (21a) toward the leg plate (19) while dispersing the weight of the patient.

患者の体重を分散させながらドアマットレス(21a)を脚板(19)方向に移動させると、ドアマットレス(21a)の移動が容易になるとともに、ドアマットレス(21a)の脚板(19)方向への移動に伴う患者の姿勢移動がなくなるようになる。   When the door mattress (21a) is moved in the direction of the leg plate (19) while the patient's weight is dispersed, the door mattress (21a) is easily moved and the door mattress (21a) is moved in the direction of the leg plate (19). As a result, the patient's posture movement accompanying this is eliminated.

昇降手段(41)は排便容器(53)を排便口(21)に昇降させるためのものである。   The elevating means (41) is for raising and lowering the defecation container (53) to the defecation opening (21).

図5に図示されているように、昇降手段(41)はシリンダー(51)の動作によって上昇または下降するリフトである。   As shown in FIG. 5, the elevating means (41) is a lift that is raised or lowered by the operation of the cylinder (51).

昇降手段(41)の上昇動作は排便容器(53)が腿板(17)の屈折角度に対応するようにする。昇降手段(41)はドアマットレス(21a)が脚板(19)方向に移動して、排便口(21)が開放すると上昇して、排便容器(53)を排便口(21)に位置させる。   The raising and lowering means (41) moves upward so that the defecation container (53) corresponds to the refraction angle of the thigh plate (17). The lifting / lowering means (41) moves upward when the door mattress (21a) moves in the direction of the leg plate (19) and the defecation port (21) is opened, thereby positioning the defecation container (53) at the defecation port (21).

昇降手段(41)は排便容器(53)が安着する上部板(42)及び地面に支えられる下部板(43)を具備する。上部板(42)と下部板(43)はヒンジによってX字の形に交差する一組の第1脚部(44)と一組の第2脚部(46)によって連結され、上昇または下降動作が可能となる。ここで、下部板(43)が支えられる地面は図示しなかったが、電動ベッド(1)の下面に形成する支持フレームなどが該当することもできる。   The elevating means (41) includes an upper plate (42) on which the defecation container (53) is seated and a lower plate (43) supported by the ground. The upper plate (42) and the lower plate (43) are connected by a pair of first legs (44) and a pair of second legs (46) intersecting in an X shape by hinges, and are moved up or down. Is possible. Here, the ground on which the lower plate (43) is supported is not shown, but a support frame formed on the lower surface of the electric bed (1) may also be applicable.

昇降手段(41)はシリンダー(51)が第2脚部(46)を押す動作によって上層し、第2脚部を引っ張る動作によって下降する構造を持っている。   The lifting / lowering means (41) has a structure in which the cylinder (51) moves upward by pushing the second leg (46) and descends by pulling the second leg.

第1脚部(44)の一側面は下部板(43)の先端側に固定され、他の側は上部板(42)の後部端に形成された第1ガイドスロット(48)に第1突部(45)を媒介にしてスライドが可能なように連結する。そして第2脚部(46)の一側面は上部板(42)の先端側に固定され、他の側は下部板(43)の後部端に形成された第2ガイドスロット(49)に第2突部(47)を媒介にスライドが可能なように連結する。   One side surface of the first leg (44) is fixed to the front end side of the lower plate (43), and the other side is first projected into a first guide slot (48) formed at the rear end of the upper plate (42). It connects so that a slide is possible through a part (45). One side surface of the second leg (46) is fixed to the front end side of the upper plate (42), and the other side is secondly inserted into a second guide slot (49) formed at the rear end of the lower plate (43). It connects so that a slide is possible via a protrusion (47).

一組の第2脚部(46)はそれぞれのほかの側をシャフト(b)が相互に連結し、シャフト(b)にはシリンダー(51)が連結し、シャフト(b)を押すことにより、第2脚部(46)を押したり引いたりできるようになる。   A pair of second legs (46) is connected to the other side by the shaft (b), the cylinder (51) is connected to the shaft (b), and the shaft (b) is pushed, The second leg (46) can be pushed and pulled.

図6及び図7に図示されているように、昇降手段(41)は上昇すると上部板(42)が下部板(43)に対して所定の角度に傾く構造になっている。上部板(42)が下部板(43)に対して所定の角度に傾く構造は上部板(42)の上昇時、排便容器(53)が腿板(17)の屈折角度に対応するように排便口(21)に配置されるようにする。   As shown in FIGS. 6 and 7, when the elevating means (41) is raised, the upper plate (42) is inclined at a predetermined angle with respect to the lower plate (43). The structure in which the upper plate (42) is inclined at a predetermined angle with respect to the lower plate (43) is such that when the upper plate (42) is raised, the defecation container (53) corresponds to the refraction angle of the thigh plate (17). It is arranged at the mouth (21).

排便容器(53)が腿板(17)の屈折角度と対応するように排便口(21)に配置されると排便容器(53)が患者の臀部に密着するようになることによって、排便の姿勢が容易になる。   When the defecation container (53) is disposed at the defecation opening (21) so as to correspond to the refraction angle of the thigh plate (17), the defecation container (53) comes into close contact with the patient's buttocks, thereby defecation posture. Becomes easier.

上部板(42)が下部板(43)に対して傾いた角度は第1脚部(44)及び第2脚部(46)の長さの調節あるいは第1ガイドスロット(48)及び第2ガイドスロット(49)の長さの調節によって調整が可能である。   The angle at which the upper plate (42) is inclined with respect to the lower plate (43) is adjusted by adjusting the lengths of the first leg (44) and the second leg (46) or the first guide slot (48) and the second guide. Adjustment is possible by adjusting the length of the slot (49).

排便容器(53)は底面が上部板(42)に固定されるため、上部板(42)の上昇に連動して上昇または下降する。   Since the bottom surface of the defecation container (53) is fixed to the upper plate (42), the defecation container (53) rises or lowers in conjunction with the rise of the upper plate (42).

図5に図示されているように、排便容器(53)は排便が受け止められる排便空間(55)が形成された排便受け(54)と小便の外はねを防止するための小便カバー部(57)を具備する。   As shown in FIG. 5, the defecation container (53) includes a defecation receptacle (54) in which a defecation space (55) for receiving defecation is formed and a urine cover portion (57) for preventing the urine from splashing outside. ).

排便受け(54)の一側面には排便空間(55)に受け止められた排便が排出される排出口(56)が具備されている。排便受け(54)は底面が排出口(56)に向かって下降するように傾いており、排便が排出口(56)に容易に排出されるようにする。   One side of the defecation receptacle (54) is provided with a discharge port (56) through which the defecation received in the defecation space (55) is discharged. The defecation receptacle (54) is inclined so that the bottom surface is lowered toward the discharge port (56), so that the defecation is easily discharged to the discharge port (56).

小便カバー部(57)は排便容器(53)の前方に突出して形成される。小便カバー部(57)は先端が流線型あるいはC字形になっていて、患者の排泄器官の前方を包み込むのに容易になっている。   The urine cover part (57) is formed so as to protrude forward of the defecation container (53). The urine cover part (57) has a streamlined or C-shaped tip, making it easy to wrap around the front of the patient's excretory organs.

排出口(56)には排便吸入のための吸入ノズル(65)が連結している。   A suction nozzle (65) for defecation inhalation is connected to the discharge port (56).

図8に図示されているように、排便容器(53)に空気吸入口(59)が形成される。空気吸入口(59)は後述する吸入モーター(87)の作動時、外部の空気を吸いいれ、吸いいれた空気の力で排便が排便収納箱(75)に移動するようにする役割をする。空気吸入口(59)は排便容器(53)で排出口(56)の反対側に形成されるのが望ましい。   As shown in FIG. 8, an air inlet (59) is formed in the defecation container (53). The air suction port (59) sucks external air when the suction motor (87), which will be described later, is operated, and serves to move the defecation to the defecation storage box (75) by the force of the sucked air. The air inlet (59) is preferably formed in the defecation container (53) on the opposite side of the outlet (56).

排便容器(53)にノズル孔(58)が形成される。   A nozzle hole (58) is formed in the defecation container (53).

図8に図示されているように、ノズル孔(58)に洗浄及びビデ機能のためのノズル部(61)が連結する。ノズル部(61)はビデノズル(62)、洗浄ノズル(63)を含む。   As shown in FIG. 8, a nozzle part (61) for cleaning and bidet functions is connected to the nozzle hole (58). The nozzle part (61) includes a bidet nozzle (62) and a cleaning nozzle (63).

ビデノズル(62)は撒水板ビデノズルであり、排便容器(53)内で前後の移動が可能なように具備される。撒水板ビデノズルは水圧を高めて、近い位置から広い面積をやさしく洗浄することができるとともに、水の節約が可能となる長所がある。   The bidet nozzle (62) is a flooded plate bidet nozzle, and is provided so as to be movable back and forth within the defecation container (53). The submerged plate bidet nozzle has the advantage that the water pressure can be increased, and a wide area can be easily washed from a close position, and water can be saved.

ビデノズル(62)はたとえばパルスモーター(未図示)の動作によって前進、後進が可能であり、排便容器(53)内に移動して患者の排泄器官近くに位置することができる。   The bidet nozzle (62) can move forward and backward by the operation of a pulse motor (not shown), for example, and can move into the defecation container (53) and be positioned near the excretory organ of the patient.

洗浄ノズル(63)はビデノズル(62)と同様に、撒水板洗浄ノズルを使用することができ、パルスモーターの動作によって前進、後進が可能である。   The washing nozzle (63) can use a water plate washing nozzle in the same manner as the bidet nozzle (62), and can move forward and backward by the operation of a pulse motor.

この実施例では洗浄ノズル(63)が患者の排泄器官の洗浄の役割をする以外にも、排便容器の底面を洗浄する役割も遂行することができる。しかしノズル部(61)にビデノズル(62)、洗浄ノズル(63)以外にも底面洗浄のための洗浄ノズルを追加で具備することもできる。   In this embodiment, in addition to the cleaning nozzle (63) serving to clean the excretory organs of the patient, the cleaning nozzle (63) can also perform the role of cleaning the bottom surface of the defecation container. However, in addition to the bidet nozzle (62) and the cleaning nozzle (63), the nozzle portion (61) may further include a cleaning nozzle for cleaning the bottom surface.

排便容器(53)に排便を感知する光センサー、電導度センサーを具備することもできる。排泄中、大便の場合、光センサーが感知し、小便の場合、塩分を検出する電導度センサーが感知できる。光センサーは排便容器の内部に光を照射して、大便の動きや温度を感知する。   The defecation container (53) may be provided with an optical sensor and a conductivity sensor for detecting defecation. During excretion, a light sensor can be detected in the case of stool, and a conductivity sensor that detects salt content can be detected in the case of urine. The light sensor irradiates light inside the defecation container and senses movement and temperature of the stool.

センサーが感知した排便信号は後述するコントロールバルブ(89)に伝達される。   The defecation signal sensed by the sensor is transmitted to a control valve (89) described later.

図10及び図11に図示したように、排便容器(53)はノズル部(61)及び吸入ノズル(65)を媒介に排便処理機本体(71)に連結する。   As shown in FIGS. 10 and 11, the defecation container (53) is connected to the defecation processor main body (71) through the nozzle portion (61) and the suction nozzle (65).

排便処理機本体(71)は排便容器(53)に排泄された排便を吸入して、貯蔵し、排便容器(53)及び患者の排泄器官を洗浄するための洗浄水を排便容器(53)に送るための洗浄水を貯蔵する。   The defecation processing unit main body (71) inhales and stores the defecation excreted in the defecation container (53), and supplies the defecation container (53) with washing water for washing the defecation container (53) and the excretory organ of the patient. Store wash water to send.

排便処理機本体(71)は外観をケース(73)が形成する。   A case (73) forms the appearance of the defecation processor main body (71).

ケース(73)内には排便収納箱(75)、温水貯蔵槽(77)、洗浄水貯蔵槽(79)、フィルター部(81)が具備している。   The case (73) includes a defecation storage box (75), a hot water storage tank (77), a washing water storage tank (79), and a filter part (81).

排便収納箱(75)は吸入ノズルを通して吸入した排便が収納されるもので、ケース(73)内に着脱が可能なように具備される。排便収納箱(75)に吸入ノズル(65)が連結され、吸入ノズル連結口(91)と排便収納箱(75)の空気排出のための排出空気連結口(93)が具備される。   The defecation storage box (75) stores defecation sucked through the suction nozzle, and is provided in the case (73) so as to be detachable. A suction nozzle (65) is connected to the defecation storage box (75), and a suction nozzle connection port (91) and a discharge air connection port (93) for discharging air from the defecation storage box (75) are provided.

排便収納箱(75)に収納された排便は悪臭を含んでいる。そして排便収納箱(75)に収納された排便は時間とともに腐敗して、内部の空気を膨らませるため、排出しなくてはならない。排出空気連結口(93)は排便収納箱(75)に貯蔵された排便の腐敗によって膨張した空気を排出するためのものである。   The defecation stored in the defecation storage box (75) contains a bad odor. And since the defecation stored in the defecation storage box (75) decays with time and inflates the air inside, it must be discharged. The discharge air connection port (93) is for discharging the air expanded by the decay of the defecation stored in the defecation storage box (75).

温水貯蔵槽(77)は温水が貯蔵され、ノズル部(61)と連結している。温水貯蔵槽(77)は加熱ヒーターなどを具備しており、温水貯蔵槽(77)に供給する洗浄水を設定温度に過熱することができる。   The warm water storage tank (77) stores warm water and is connected to the nozzle part (61). The hot water storage tank (77) includes a heater and the like, and the washing water supplied to the hot water storage tank (77) can be heated to a set temperature.

洗浄水貯蔵槽(79)は洗浄水が貯蔵され、水排出口(95)を具備しており、水排出口(95)に連結されたホースを通して温水貯蔵槽(77)と連結している。洗浄水貯蔵槽(79)の洗浄水が温水貯蔵槽(77)に移動して暖められ、温水貯蔵槽(77)の洗浄水がノズル部(61)を通して排便容器(53)に供給される。   The washing water storage tank (79) stores washing water, has a water discharge port (95), and is connected to the hot water storage tank (77) through a hose connected to the water discharge port (95). The washing water in the washing water storage tank (79) moves to the warm water storage tank (77) and is warmed, and the washing water in the warm water storage tank (77) is supplied to the defecation container (53) through the nozzle part (61).

フィルター部(81)は排便収納箱(75)内部の空気を外部に排出するとき、悪臭を除去するためのものである。フィルター部(81)は排出空気連結部(93)に連結され、排便収納箱(75)内部の空気がフィルター部(81)を通して外部に排出されるようにする。   The filter part (81) is for removing bad odor when the air inside the defecation storage box (75) is discharged to the outside. The filter part (81) is connected to the discharge air connection part (93) so that the air inside the defecation storage box (75) is discharged to the outside through the filter part (81).

フィルター部(81)は炭、活性炭、白金、抗菌、不織布などを適用した多段階の脱臭フィルターで、排泄物のにおいが外部に流出することを防止できる。フィルター部(81)は人体に無害な芳香剤などを含むこともできる。   The filter part (81) is a multi-stage deodorizing filter using charcoal, activated carbon, platinum, antibacterial, non-woven fabric, etc., and can prevent the smell of excrement from flowing out. The filter part (81) can also contain a fragrance that is harmless to the human body.

排便収納箱(75)と洗浄水貯蔵槽(79)はケース(73)から引き出し式に着脱が可能である。排便収納箱(75)と洗浄水貯蔵槽(79)の突出した部分を手でつかんで引っ張ると、吸入ノズル連結口(91)、排出空気連結口(93)、水排出口(95)がそれぞれ吸入ノズル(65)、フィルター部(81)、温水貯蔵槽(77)と分離して、ケース(73)から分離する。   The defecation storage box (75) and the washing water storage tank (79) can be detached from the case (73) in a pull-out manner. When the protruding portions of the defecation storage box (75) and the washing water storage tank (79) are held and pulled by hand, the suction nozzle connection port (91), the discharge air connection port (93), and the water discharge port (95) are respectively It isolate | separates from a suction nozzle (65), a filter part (81), and a warm water storage tank (77), and isolate | separates from a case (73).

ケース(73)内には水供給ポンプ(83)、薬品供給ポンプ(85)、吸入モーター(87)がさらに具備されている。   The case (73) further includes a water supply pump (83), a chemical supply pump (85), and a suction motor (87).

水供給ポンプ(83)は洗浄水貯蔵槽(79)の洗浄水を温水貯蔵槽(77)に供給し、温水貯蔵槽(77)の温水をノズル部(61)に供給する。   The water supply pump (83) supplies the cleaning water from the cleaning water storage tank (79) to the hot water storage tank (77), and supplies the hot water from the hot water storage tank (77) to the nozzle part (61).

薬品供給ポンプ(85)はノズル部(61)に悪臭除去のための薬品を供給し、洗浄水とともに薬品が排便容器(53)に噴射されるようにする。薬品供給ポンプ(85)は水供給ポンプの動作時にともに作動し、ノズル部(61)に薬品を供給する。薬品供給は排便容器から排便のにおいが立たないようにするためのものである。   The chemical supply pump (85) supplies chemicals for removing malodor to the nozzle portion (61) so that the chemicals are jetted into the defecation container (53) together with the washing water. The chemical supply pump (85) operates together with the operation of the water supply pump to supply chemicals to the nozzle part (61). The chemical supply is for preventing the smell of defecation from the defecation container.

吸入モーター(87)は排便の吸入を遂行する。吸入モーター(87)はプラスティック素材の箱の内部に配置され、内部のふち部分を不燃素材の防音材などで充填して、吸入モーターの作動による騒音を抑えることが望ましい。   The inhalation motor (87) performs inhalation of defecation. It is desirable that the suction motor (87) is disposed inside a plastic material box, and the inner edge of the suction motor (87) is filled with a non-combustible material soundproofing material to suppress noise caused by the operation of the suction motor.

もちろんケース(73)の外壁にも防音材を付着して吸入モーター(87)の作動による騒音を抑えることができる。   Of course, a soundproof material can also be attached to the outer wall of the case (73) to suppress noise caused by the operation of the suction motor (87).

ケース(73)内にコントロールバルブ(89)がさらに具備されている。コントロールバルブ(89)はリモコンなどの信号を受信して、水供給ポンプ(83)、薬品供給ポンプ(85)、吸入モーター(87)がそれぞれ動作するように制御する。   A control valve (89) is further provided in the case (73). The control valve (89) receives a signal from a remote controller or the like and controls the water supply pump (83), the chemical supply pump (85), and the suction motor (87) to operate.

またコントロールバルブ(89)は排便容器(53)に具備された光センサーまたは電導度センサーの信号を受けて、水供給ポンプ(83)、薬品供給ポンプ(85)、吸入モーター(87)がそれぞれ動作するように制御することができる。   The control valve (89) receives the signal from the light sensor or conductivity sensor provided in the defecation container (53), and the water supply pump (83), the chemical supply pump (85), and the suction motor (87) operate. Can be controlled.

以下、この発明の作用を説明する。   The operation of the present invention will be described below.

移動手段によって排便口が開放し、昇降手段によって排便容器が排便口に配置される過程を説明することにする。   A process in which the defecation port is opened by the moving unit and the defecation container is arranged in the defecation port by the lifting unit will be described.

まず、リモコンスイッチを操作して、マットレスフレーム(11)の屈折角度を調節する。   First, the refraction angle of the mattress frame (11) is adjusted by operating the remote control switch.

電動ベッド(1)のシリンダーモーターを作動させ、背板(13)と腿板(17)が臀部板(15)に対して、所定の角度に立てられ、脚板(19)が腿板(17)に対して、所定の角度に立てられるように各軸棒(a)を基点に屈折させる。   The cylinder motor of the electric bed (1) is operated, the back plate (13) and the thigh plate (17) are set at a predetermined angle with respect to the buttocks plate (15), and the leg plate (19) is thigh plate (17). On the other hand, each shaft rod (a) is refracted from the base point so as to stand at a predetermined angle.

そうすると腿板(17)が臀部板(15)に対して屈折して、所定の角度に立てられて、脚板(19)が腿板(17)に対して再び屈折した状態になり、ドアマットレス(21a)が脚板方向に移動できる空間が準備される。同時に患者は臀部が臀部板(15)に位置した状態に腿板に支えられ、座った姿勢になる。   Then, the thigh plate (17) is refracted with respect to the buttocks plate (15) and is set at a predetermined angle, and the leg plate (19) is refracted again with respect to the thigh plate (17), and the door mattress ( A space is prepared in which 21a) can move in the direction of the leg plate. At the same time, the patient is supported by the thigh plate with the buttocks positioned on the buttocks plate (15) and is in a sitting posture.

このとき背板(13)及び腿板(17)が臀部板(15)に対して屈折した角度は、シリンダーモーターを一定の位置に停止させることによって患者個々人にとって楽な屈折位置にするようにできる。   At this time, the angle at which the back plate (13) and the thigh plate (17) are refracted with respect to the buttocks plate (15) can be set to an easy refraction position for each patient by stopping the cylinder motor at a fixed position. .

次に移動手段(23)を作動させる。移動手段(23)の作動は電動ベッド(1)のマットレスフレーム(11)を屈折させるリモコンによって作動が可能である。   Next, the moving means (23) is operated. The movement means (23) can be operated by a remote controller that refracts the mattress frame (11) of the electric bed (1).

移動手段(23)はシリンダー(35)を作動させ、ロード(37)をシリンダー(35)内部に後進させる。   The moving means (23) actuates the cylinder (35) and moves the load (37) backward into the cylinder (35).

ロード(37)がシリンダー(35)内部に後進するようになると、ロード(37)と連結したガイドレール(33)もともにシリンダー(35)方向に後進しながら、固定レール(31)内部に移動するようになる。固定レール(31)内部に移動したガイドレール(33)は蝶番(28)付近に至ると、固定レール(31)の長さ及び固定レール(31)端部に形成されたストッパーによって、それ以上固定レール(31)の内部に移動することはなく、第1板(26)を支えることもなくなる。   When the load (37) moves backward into the cylinder (35), the guide rail (33) connected to the load (37) also moves backward in the direction of the cylinder (35) and moves into the fixed rail (31). It becomes like this. When the guide rail (33) moved into the fixed rail (31) reaches the vicinity of the hinge (28), it is further fixed by the length of the fixed rail (31) and a stopper formed at the end of the fixed rail (31). It does not move into the rail (31) and does not support the first plate (26).

したがって、第1板(26)を第2板(27)に平行に支える支持力がなくなることによって、第1板(26)を第2板(27)方向に引っ張る復元スプリング(39)の復元力が作用して、第1板(26)が第2板(27)方向に引っ張られるようになる。   Therefore, the restoring force of the restoring spring (39) that pulls the first plate (26) in the direction of the second plate (27) by eliminating the supporting force that supports the first plate (26) in parallel with the second plate (27). As a result, the first plate (26) is pulled in the direction of the second plate (27).

復元スプリング(39)の復元力は第1板(26)を第2板(27)に対して、ノッチ部(29)の角度程度に曲がった状態を作り出し、この状態でロード(37)がシリンダー(35)内部にさらに移動するようになり、ドアマットレス(21a)全体が脚板(19)方向にさらに移動するようになる。   The restoring force of the restoring spring (39) creates a state where the first plate (26) is bent with respect to the second plate (27) at an angle of the notch (29), and in this state the load (37) is a cylinder. (35) The door mattress (21a) as a whole moves further in the direction of the leg plate (19).

第1板(26)が第2板(27)に対して、所定の角度に曲がった状態で、脚板(19)方向に移動すると、患者の臀部の体重を分散して、患者の座った姿勢には与えないで、自然に排便口(21)を開放できるようになる。   When the first plate (26) is bent at a predetermined angle with respect to the second plate (27) and moved in the direction of the leg plate (19), the weight of the patient's buttocks is dispersed and the patient's sitting posture It is possible to open the defecation opening (21) naturally without giving it.

排便口(21)が開放されると、昇降手段(41)を作動させる。   When the defecation port (21) is opened, the lifting means (41) is operated.

昇降手段(41)の作動は、移動手段(23)の作動と同様で、マットレスフレーム(11)を屈折させるリモコンによって作動が可能である。   The operation of the elevating means (41) is similar to the operation of the moving means (23), and can be operated by a remote controller that refracts the mattress frame (11).

図6及び図7に図示されているように、シリンダー(51)を作動させ、シャフト(b)を押すことによって、第2脚部(46)の第2突部(47)が第2ガイドスロット(49)にしたがって、移動するようにする。第2突部(47)が第2ガイドスロット(49)にしたがって、移動するとき、第1脚部(44)の第1突部(45)も第1ガイドスロット(48)にしたがって移動するようになり、第1脚部(44)と第2脚部(46)のそれぞれの端部がお互いに近づきながら、上部板(42)が下部板(43)に対して上昇するようになる。   6 and 7, the cylinder (51) is operated and the shaft (b) is pushed, whereby the second protrusion (47) of the second leg (46) is moved into the second guide slot. Move according to (49). When the second protrusion (47) moves according to the second guide slot (49), the first protrusion (45) of the first leg (44) also moves according to the first guide slot (48). The upper plate (42) rises with respect to the lower plate (43) while the end portions of the first leg portion (44) and the second leg portion (46) approach each other.

上部板(42)の上昇は上部板(42)に固定された排便容器(53)を排便口(21)に位置させる。このとき上部板(42)は腿板(17)の屈折角度に近いように所定の角度に傾いた状態を維持することにより、排便容器(53)が患者の臀部に自然に密着する。   The rising of the upper plate (42) positions the defecation container (53) fixed to the upper plate (42) at the defecation port (21). At this time, the upper plate (42) is maintained at a predetermined angle so as to be close to the refraction angle of the thigh plate (17), so that the defecation container (53) naturally adheres to the patient's buttocks.

そして排便容器(53)は小便カバー部(57)が患者の排泄器官の前方を包むように形成されることで、排便中の小便などが外部にはねることがない。   The defecation container (53) is formed so that the urine cover part (57) wraps in front of the patient's excretory organ, so that urine or the like during defecation does not splash outside.

排便後には洗浄及び吸入が遂行される。洗浄及び吸入は電動ベッド(1)のマットレスフレーム(11)を屈折させるリモコンで作動が可能である。   After defecation, washing and inhalation are performed. Cleaning and inhalation can be operated with a remote control that refracts the mattress frame (11) of the electric bed (1).

また、排便容器(53)に排便を感知するセンサーを具備しており、センサーの感知の結果、患者が排便したと判断されると制御部が排便の吸入及び排泄器官の洗浄を指示することもできる。センサーは光センサー、電導度センサーでありうる。   Further, the defecation container (53) is provided with a sensor for detecting defecation, and if it is determined that the patient defecates as a result of sensing, the control unit may instruct the defecation inhalation and the defecation organ washing. it can. The sensor may be a light sensor or a conductivity sensor.

この実施例ではセンサーの感知信号あるいはリモコンの洗浄、吸入信号をコントロールバルブ(89)が受信する。コントロールバルブ(89)は水供給ポンプ(83)及び吸入モーター(87)を作動させ、洗浄と同時に空気の吸入力によって、洗浄水と排便を吸入する。   In this embodiment, the control valve (89) receives a sensor detection signal or a remote control cleaning / inhalation signal. The control valve (89) operates the water supply pump (83) and the suction motor (87), and inhales wash water and defecation by air suction input at the same time as washing.

吸入モーター(87)が作動すると、図8に図示されているように、空気吸入口(59)を通して外部の空気が吸入されながら、洗浄水と排便が傾斜を通して効果的に移動して、吸入ノズル(65)を通して吸入され、排便収納箱(75)に保管される。このとき空気吸入口(59)は排便空間が真空になることを防止し、吸入モーター(87)の強い吸入力にも患者が不快感を感じないようにする。   When the suction motor (87) is actuated, as shown in FIG. 8, while the outside air is sucked through the air suction port (59), the washing water and the defecation effectively move through the inclination, and the suction nozzle Inhaled through (65) and stored in defecation storage box (75). At this time, the air suction port (59) prevents the defecation space from being evacuated and prevents the patient from feeling uncomfortable with the strong suction input of the suction motor (87).

排便収納箱に貯蔵された排便は悪臭も含んでいるために、悪臭は排出空気連結部(93)と連結したフィルター部(81)を通過して外部に排出する。   Since the defecation stored in the defecation storage box also contains malodor, the malodor passes through the filter part (81) connected to the exhaust air connection part (93) and is discharged outside.

洗浄は撒水板を使用したビデノズル(62)と洗浄ノズル(63)がともに作用して、患者の排泄器官に噴射されるので、広い面積を強い水圧で洗浄することができる。   The cleaning is performed by the bidet nozzle (62) and the cleaning nozzle (63) using a water spilling plate and sprayed onto the excretory organ of the patient, so that a large area can be cleaned with a strong water pressure.

また洗浄時、薬品供給ポンプ(85)がともに作用して、洗浄水に薬品がともに噴射されるので、排便容器(53)も清潔な状態を維持できる。   Further, during cleaning, the medicine supply pump (85) works together to inject the medicine into the cleaning water, so that the defecation container (53) can also be kept clean.

また図示はしなかったが、患者の排泄器官を乾燥させる乾燥ノズル部を追加で具備させ、洗浄後に患者の排泄器官を乾燥させることもできる。乾燥ノズル部に供給される空気は、乾燥ファンあるいはエアコンプレッサーを利用して温かい空気を排泄器官に供給するようにもできる。   Although not shown, a drying nozzle for drying the patient's excretory organ can be additionally provided, and the patient's excretory organ can be dried after washing. The air supplied to the drying nozzle can be supplied with warm air to the excretory organ using a drying fan or an air compressor.

排便が完了した後には、上述した過程の逆順に、昇降手段(41)を作動させ、排便容器(53)を下降させ、移動手段(23)を作動させて、ドアマットレス(21a)が排便口(21)を閉じるようにすればよい。   After the defecation is completed, the elevating means (41) is operated in the reverse order of the above-described process, the defecation container (53) is lowered, the moving means (23) is operated, and the door mattress (21a) is moved to the defecation port. (21) may be closed.

上述した過程により、患者は電動ベッド(1)で、排便の解決及び清潔な処理が可能となる。次に電動ベッド(1)のマットレスフレーム(11)が屈折した状態を元の状態に復帰すると、患者は正常なベッド生活が可能となる。   According to the above-described process, the patient can perform the defecation solution and clean treatment with the electric bed (1). Next, when the state in which the mattress frame (11) of the electric bed (1) is refracted is returned to the original state, the patient can have a normal bed life.

この実施例で排便口(21)を開放する移動手段(23)及び排便口(21)に排便容器(53)を配置させる昇降手段(41)は電動ベッド(1)の下部に設置されることによって、車椅子や医療機器などの移動に邪魔にならない。   In this embodiment, the moving means (23) for opening the defecation port (21) and the lifting means (41) for arranging the defecation container (53) in the defecation port (21) are installed at the lower part of the electric bed (1). This will not interfere with the movement of wheelchairs and medical devices.

また排便収納箱(75)と洗浄水貯蔵槽(79)は排便処理機本体(71)から引き出し式に分離が可能なため、排便収納箱(75)の排便を捨てたり、洗浄水貯蔵槽(79)に洗浄水を満たす作業が容易になる。   In addition, since the defecation storage box (75) and the washing water storage tank (79) can be separated from the defecation processing unit main body (71) in a pull-out manner, the defecation in the defecation storage box (75) can be discarded or the washing water storage tank ( 79) becomes easy to fill the cleaning water.

この発明の権利範囲は上で説明した実施例に限らず、請求範囲に記載されたところによって定義され、この発明の技術分野で通常の知識を持つものが請求範囲に記載された権利範囲内で多様な変形や改作をできることは自明である。   The scope of right of the present invention is not limited to the embodiments described above, but is defined by what is described in the claims, and those having ordinary knowledge in the technical field of the present invention are within the scope of the claims described in the claims. It is obvious that various modifications and adaptations can be made.

1:電動ベッド
11:マットレスフレーム
13:背板
13a:背板マットレス
15:臀部板
15a:臀部板マットレス
17:腿板
17a:腿板マットレス
19:脚板
19a:脚板マットレス
21:排便口
21a:ドアマットレス
23:移動手段
25:板部
26,27:第1板及び第2板
28:蝶番
29:ノッチ部
31:固定レール
33:ガイドレール
35:シリンダー
37:ロード
39:復元スプリング
41:昇降手段
42:上部板
43:下部板
44:第1脚部
45:第1突部
46:第2脚部
47:第2突部
48:第1ガイドスロット
49:第2ガイドスロット
51:シリンダー
53:排便容器
54:排便受け
55:排便空間
56:排出口
57:小便カバー部
58:ノズル孔
61:ノズル部
62:ビデノズル
63:洗浄ノズル
65:吸入ノズル
71:排便処理機本体
73:ケース
75:排便収納箱
77:温水貯蔵槽
79:洗浄水貯蔵槽
81:フィルター部
83:水供給ポンプ
85:薬品供給ポンプ
87:吸入モーター
89:コントロールバルブ
91:吸入ノズル連結部
93:排出空気連結部
95:水排出口
a:軸棒
b:シャフト

1: Electric bed 11: Mattress frame 13: Back plate 13a: Back plate mattress 15: Gutter plate 15a: Gutter plate mattress 17: Thigh plate 17a: Thigh plate mattress 19: Leg plate 19a: Leg plate mattress 21: Defecation port 21a: Door mattress 23: Moving means 25: Plate part 26, 27: First plate and second plate 28: Hinge 29: Notch part 31: Fixed rail 33: Guide rail 35: Cylinder 37: Load 39: Restoring spring 41: Lifting means 42: Upper plate 43: Lower plate 44: First leg 45: First protrusion 46: Second leg 47: Second protrusion 48: First guide slot 49: Second guide slot 51: Cylinder 53: Defecation container 54 : Defecation receptacle 55: Defecation space 56: Discharge port 57: Piss cover part 58: Nozzle hole 61: Nozzle part 62: Bide nozzle 63 : Cleaning nozzle 65: Suction nozzle 71: Defecation processing unit main body 73: Case 75: Defecation storage box 77: Warm water storage tank 79: Washing water storage tank 81: Filter unit 83: Water supply pump 85: Chemical supply pump 87: Suction motor 89: Control valve 91: Suction nozzle connection part 93: Exhaust air connection part 95: Water discharge port a: Shaft bar b: Shaft

Claims (10)

スイッチの操作でシリンダーモーターが作動し、背板、腿板が臀部板に対して軸棒を基点として屈折し、脚板が腿板に対して軸棒を基点として屈折しながら、患者個々人に適切な角度調節が可能なマットレスフレームと、前記臀部板と前記腿板の一部が切り開かれて形成されているドアマットレスによって遮蔽している排便口と、上記マットレスフレームを屈折するとき、前記ドアマットレスを前記脚板方向に移動させ、前記排便口を開放する移動手段と、前記排便口の下部に配置され、昇降手段によって上昇し、前記排便口に配置される排便容器を含むことを特徴とする排便処理装置を装着した電動ベッド。   The cylinder motor is activated by the operation of the switch. An angle adjustable mattress frame, a stool opening shielded by a door mattress formed by cutting and opening a part of the buttocks plate and the thigh plate, and when the mattress frame is refracted, the door mattress is A defecation process comprising: a moving means that moves in the direction of the leg plate to open the defecation port; and a defecation container that is disposed at a lower part of the defecation port, is raised by an elevating unit, and is disposed at the defecation port. Electric bed with equipment. 請求項1において、
前記移動手段は前記ドアマットレスの底面に付着しており、第1板と第2板が蝶番(28)によって結合し、側面に前記第1板と第2板の屈折角度を調節できるノッチ部が形成されている板と、前記第2板の底面に具備している固定レールと、前記固定レールに対して前記第1板方向に出入り可能なガイドレールと、前記ガイドレールの端部にロードが固定され、前記ガイドレールを前記固定レールに対して出入りさせるシリンダーと、前記第1板の一側面と第2板の一側面を連結して前記ガイドレールが前記固定レール内部に移動すると、前記第1板を前記第2板に対して屈折させる復元スプリングを含むことを特徴とする排便処理装置を装着した電動ベッド。
In claim 1,
The moving means is attached to the bottom surface of the door mattress, the first plate and the second plate are joined by a hinge (28), and a notch portion that can adjust the refraction angle of the first plate and the second plate is provided on the side surface. A plate formed, a fixed rail provided on the bottom surface of the second plate, a guide rail that can enter and exit in the first plate direction with respect to the fixed rail, and a load at an end of the guide rail When the guide rail moves into the fixed rail by connecting a cylinder that is fixed and moves the guide rail in and out of the fixed rail, and one side surface of the first plate and one side surface of the second plate, An electric bed equipped with a defecation processing device, comprising a restoring spring that refracts one plate with respect to the second plate.
請求項1において、
前記昇降手段はシリンダーの動作によって上昇または下降するリフトであり、前記リフトは上昇すると前記排便容器が前記腿板の屈折角度と対応するようにすることを特徴とする排便処理装置を装着した電動ベッド。
In claim 1,
The electric bed equipped with a defecation processing device is characterized in that the elevating means is a lift that is raised or lowered by the operation of a cylinder, and when the lift is raised, the defecation container corresponds to the refraction angle of the thigh plate. .
請求項1において、
前記排便容器は排便空間を具備し、一側面に前記排便空間に受け止められた排便が排出される排出口が具備し、受け止める面が前記排出口に向かって下向きに傾いて形成された排便受けと、前記排便受けで突出して形成され、小便の外部へのはねを防止する小便カバーを含むことを特徴とする排便処理装置を装着した電動ベッド。
In claim 1,
The defecation container has a defecation space, a defecation receptacle in which a defecation received in the defecation space is discharged on one side surface and the receiving surface is inclined downward toward the discharge port; An electric bed equipped with a defecation treatment device, characterized by including a urine cover that protrudes from the defecation receptacle and prevents the urine from splashing outside.
請求項4において、
前記排便容器にノズル孔が形成され、前記ノズル孔に洗浄及びビデ機能のためのノズル部が連結し、前記排出口に排便吸入のための吸入ノズルが連結することを特徴とする排便処理装置を装着した電動ベッド。
In claim 4,
A defecation processing apparatus, wherein a nozzle hole is formed in the defecation container, a nozzle portion for washing and bidet functions is connected to the nozzle hole, and an intake nozzle for defecation inhalation is connected to the discharge port. Electric bed fitted.
請求項5において、
前記ノズル部はビデノズル、洗浄ノズルを含んでおり、前記ビデノズルは撒水板ビデノズルであり前記排便容器の中で前後の移動が可能なことを特徴とする排便処理装置を装着した電動ベッド。
In claim 5,
The nozzle part includes a bidet nozzle and a washing nozzle. The electric bed equipped with a defecation processing device is characterized in that the bidet nozzle is a flooded plate bidet nozzle and can be moved back and forth in the defecation container.
請求項1において、
前記排便容器に空気吸入口が形成されることを特徴とする排便処理装置を装着した電動ベッド。
In claim 1,
An electric bed equipped with a defecation treatment device, wherein an air inlet is formed in the defecation container.
請求項4において、
前記ノズル部及び吸入ノズルを媒介に、前記排便容器と連結した排便処理機本体を具備することを特徴とする排便処理装置を装着した電動ベッド。
In claim 4,
An electric bed equipped with a defecation treatment device, comprising a defecation treatment device main body connected to the defecation container through the nozzle portion and the suction nozzle.
請求項8において、
前記排便処理本体は、
外観を形成するケースと、前記吸入ノズルを通して吸入された排便が収納され、前記ケース内に着脱可能に具備される排便収納箱と、温水が貯蔵され、前記ノズル部と連結する温水貯蔵槽と、洗浄水が貯蔵され、前記温水貯蔵槽と連結する洗浄水貯蔵槽と、前記排便収納箱内部の空気を外部に排出するとき、悪臭を除去するためのフィルターを具備することを特徴とする排便処理装置を装着した電動ベッド。
In claim 8,
The defecation processing body is
A case forming an appearance; a defecation storage box that is stored in the case so as to be detachable and stored in the case; a hot water storage tank that stores hot water and is connected to the nozzle unit; A defecation treatment comprising: a wash water storage tank that stores wash water and that is connected to the hot water storage tank; and a filter that removes malodor when the air inside the defecation storage box is discharged to the outside. Electric bed with equipment.
請求項9において、
前記洗浄水貯蔵槽の洗浄水を温水貯蔵槽に供給し、前記温水貯蔵槽の温水を前記ノズル部に供給する水供給ポンプと、前記ノズル部で悪臭を除去するための薬品を供給する薬品供給ポンプと、排便の吸入を遂行する吸入モーターを含むことを特徴とする排便処理装置を装着した電動ベッド。

In claim 9,
A water supply pump that supplies cleaning water from the cleaning water storage tank to the hot water storage tank, supplies hot water from the hot water storage tank to the nozzle unit, and a chemical supply that supplies chemicals for removing malodor at the nozzle unit An electric bed equipped with a defecation treatment device including a pump and an inhalation motor for performing defecation inhalation.

JP2014225607A 2014-07-21 2014-11-05 Auto-bed with apparatus for evacuation Pending JP2016022371A (en)

Applications Claiming Priority (2)

Application Number Priority Date Filing Date Title
KR1020140092092A KR101679751B1 (en) 2014-07-21 2014-07-21 Auto bed with apparatus for evacuation
KR10-2014-0092092 2014-07-21

Publications (1)

Publication Number Publication Date
JP2016022371A true JP2016022371A (en) 2016-02-08

Family

ID=55163297

Family Applications (1)

Application Number Title Priority Date Filing Date
JP2014225607A Pending JP2016022371A (en) 2014-07-21 2014-11-05 Auto-bed with apparatus for evacuation

Country Status (3)

Country Link
JP (1) JP2016022371A (en)
KR (1) KR101679751B1 (en)
WO (1) WO2016013805A1 (en)

Cited By (1)

* Cited by examiner, † Cited by third party
Publication number Priority date Publication date Assignee Title
CN106400921A (en) * 2016-11-29 2017-02-15 河南神行保健科技股份有限公司 Toileting nursing machine and nursing bed

Families Citing this family (18)

* Cited by examiner, † Cited by third party
Publication number Priority date Publication date Assignee Title
US10849805B1 (en) 2015-02-25 2020-12-01 Bernadette de Isaza Bed
CN107049656B (en) * 2017-05-18 2018-01-09 广东车动力智能设备科技有限公司 A kind of medical bed for nursing care
CN107260446A (en) * 2017-07-05 2017-10-20 安徽生力轻工制品有限公司 It is a kind of to be used for electric care bed built-in bedstead
CN107361944A (en) * 2017-07-05 2017-11-21 安徽生力轻工制品有限公司 A kind of folding bed surface of combination motor care bed
CN107361945A (en) * 2017-07-05 2017-11-21 安徽生力轻工制品有限公司 A kind of detachable combination motor nursing bedstead
CN107260445A (en) * 2017-07-05 2017-10-20 安徽生力轻工制品有限公司 It is a kind of to be used for electric care bed combined type bed surface
CN107411910A (en) * 2017-07-25 2017-12-01 李明娟 A kind of medical bed for nursing care intelligence Clean Living equipment
CN107485513A (en) * 2017-08-29 2017-12-19 孙姜鹰 A kind of liftable and it is moved easily medical care bed
KR102053502B1 (en) 2017-12-07 2019-12-09 지앤씨 유한회사 Bed-Type Feces and Urine Treatment Device
KR102589237B1 (en) * 2018-06-21 2023-10-16 전대연 For a serious case or the bed-ridden person, the smart bed system
CN109009779B (en) * 2018-08-26 2021-04-13 张惠丽 Large-caliber excrement falling door capable of being moved horizontally under drive of patient for bedpan
CN113081589B (en) * 2018-08-26 2022-06-24 张惠丽 Method for operating bed pan
CN109718027B (en) * 2019-01-23 2020-07-14 河南科技大学 Auxiliary defecation device
WO2020172867A1 (en) * 2019-02-28 2020-09-03 罗惠民 Nursing bed having feces collection function
KR102117875B1 (en) 2019-07-08 2020-06-02 주식회사 일우텍 Automatic Evacuation Device
KR20220102788A (en) * 2021-01-14 2022-07-21 엘지전자 주식회사 mattress care device
CN113133881B (en) * 2021-05-24 2022-05-20 常州市第一人民医院 Sickbed with urine protection equipment
CN114886685A (en) * 2022-05-26 2022-08-12 安徽迪发尔智能科技有限公司 Nursing bed is with convenient to clean up structure

Family Cites Families (6)

* Cited by examiner, † Cited by third party
Publication number Priority date Publication date Assignee Title
JP2002052048A (en) * 2000-08-11 2002-02-19 Ebara Kiko Kk Care bed with shower toilet
KR20040064576A (en) * 2003-01-10 2004-07-19 주식회사 해피베드 Multi-functional bed for patients
KR200343449Y1 (en) * 2003-11-25 2004-03-04 강호철 A patient bed
KR200402017Y1 (en) * 2005-07-11 2005-11-24 유도로보틱스(주) Bed for a patient
KR200422803Y1 (en) * 2006-05-04 2006-08-01 한대성 A bed for the disabled
KR100795149B1 (en) 2006-05-26 2008-01-16 주식회사 산요테크 Automatic feces processing device

Cited By (1)

* Cited by examiner, † Cited by third party
Publication number Priority date Publication date Assignee Title
CN106400921A (en) * 2016-11-29 2017-02-15 河南神行保健科技股份有限公司 Toileting nursing machine and nursing bed

Also Published As

Publication number Publication date
WO2016013805A1 (en) 2016-01-28
KR20160011074A (en) 2016-01-29
KR101679751B1 (en) 2016-11-25

Similar Documents

Publication Publication Date Title
JP2016022371A (en) Auto-bed with apparatus for evacuation
KR101299185B1 (en) Automatic excretion cleaner
KR101633486B1 (en) Automatic toileting aid system
KR100610584B1 (en) a cot for patient
JP3329802B1 (en) Nursing beds
US11207230B2 (en) Patient bed system including defecation device having improved piping structure
KR100955105B1 (en) Bedside bowel movements
KR102047781B1 (en) Apparatus for treating patient's urine and feces automatically
KR101223510B1 (en) Patient Bed having Washing Function
KR20160000654A (en) Bed system for serious patient
US20070032765A1 (en) Excrement treating apparatus
KR200348639Y1 (en) Mobile bedpan for patients
JP4643523B2 (en) Automatic defecation processing device
KR100800266B1 (en) Patient Mattress System
JP2008011999A (en) Automatic excrement treatment apparatus
KR100307722B1 (en) Nursing Bed with Flush Toilet
WO2019102940A1 (en) Excreta collection device
EP2213271A1 (en) Apparatus for facilitating washing of a bedridden person
KR101272019B1 (en) Smart automatic urine and feces treating equipment
KR200359358Y1 (en) Technical Bed for Patient
KR101288333B1 (en) disposing excreta
JP3183626B2 (en) Nursing bed
KR101018887B1 (en) Automatic Excretion Cleaner
KR200413151Y1 (en) A patient bed
KR102724940B1 (en) Multi-purpose bed with toilet treatment and diaper exchange function for intensive care patient