JP2015160661A - タンク装置 - Google Patents

タンク装置 Download PDF

Info

Publication number
JP2015160661A
JP2015160661A JP2014038887A JP2014038887A JP2015160661A JP 2015160661 A JP2015160661 A JP 2015160661A JP 2014038887 A JP2014038887 A JP 2014038887A JP 2014038887 A JP2014038887 A JP 2014038887A JP 2015160661 A JP2015160661 A JP 2015160661A
Authority
JP
Japan
Prior art keywords
pipe
tank
switching valve
discharge port
liquid
Prior art date
Legal status (The legal status is an assumption and is not a legal conclusion. Google has not performed a legal analysis and makes no representation as to the accuracy of the status listed.)
Granted
Application number
JP2014038887A
Other languages
English (en)
Other versions
JP6182477B2 (ja
Inventor
英樹 天川
Hideki Amakawa
英樹 天川
Current Assignee (The listed assignees may be inaccurate. Google has not performed a legal analysis and makes no representation or warranty as to the accuracy of the list.)
Showa Aircraft Industry Co Ltd
Original Assignee
Showa Aircraft Industry Co Ltd
Priority date (The priority date is an assumption and is not a legal conclusion. Google has not performed a legal analysis and makes no representation as to the accuracy of the date listed.)
Filing date
Publication date
Application filed by Showa Aircraft Industry Co Ltd filed Critical Showa Aircraft Industry Co Ltd
Priority to JP2014038887A priority Critical patent/JP6182477B2/ja
Publication of JP2015160661A publication Critical patent/JP2015160661A/ja
Application granted granted Critical
Publication of JP6182477B2 publication Critical patent/JP6182477B2/ja
Active legal-status Critical Current
Anticipated expiration legal-status Critical

Links

Images

Landscapes

  • Loading And Unloading Of Fuel Tanks Or Ships (AREA)

Abstract

【課題】車両とともに移動するタンク装置から荷卸しをする際に、タンクに連結された左右配管や主搬送管等の配管内に残液が生じることを抑制することで、異種の液体の混合を防止し、荷卸しを行う作業者の作業負担を軽減できるタンク装置を提供する。
【解決手段】車両とともに移動するタンク装置1であって、タンク2に連結された主搬送管5から切換弁8を介してタンク2の両側側方に向けて延設した左配管9および右配管10を備え、左配管9および右配管10は切換弁8からタンク2の側方に向かってそれぞれ下方に傾斜した状態で連結され、切換弁8は主搬送管5と、左配管9または右配管10のいずれか1つと選択的に連通する構成を備える。
【選択図】図1

Description

本発明は、ガソリンや灯油等の液体燃料やその他の液体の運搬を行うタンクローリ等に設置されるタンク装置に関するものであり、詳しくは荷卸しの際にタンクに連結された荷卸し用の配管内に残液が生じることを抑制するタンク装置に関するものである。
製油所からガソリンスタンドへのガソリンや灯油等の液体燃料の運搬に、タンクローリ等が利用されている。このタンクローリは、内部を隔離壁により複数の液体貯蔵室に分割されたタンクと、このタンク外側でタンク底部に配置された主搬送管と、主搬送管から分岐され各液体貯蔵室にそれぞれ連結される複数の枝管と、主搬送管から分岐されタンク外側のタンク左右両側側方にそれぞれ延設される左配管および右配管(以下、総称する場合は左右配管という)とを有している。
荷卸しの際には、例えば左配管の端部の吐出し口とガソリンスタンドに設置されたガソリン貯蔵タンクとをホースで連結して、その後、タンクを構成する液体貯蔵室であってガソリンを貯蔵した液体貯蔵室の底弁を開放して、液体貯蔵室から枝管と主搬送管と左配管とを経由させてガソリン貯蔵タンクにガソリンを送る。続けて灯油を荷卸しする場合には、左配管の端部の吐出し口とガソリンスタンドに設置された灯油貯蔵タンクとをホースで連結して、タンクを構成する液体貯蔵室であって灯油を貯蔵した液体貯蔵室からの荷卸しを行う。
このとき、ガソリンスタンドの地面が傾斜している等の理由によりタンクローリが傾斜している場合、左右配管や主搬送管内に先に荷卸ししたガソリンが残ってしまうことがある。この左右配管等の内部に残ったガソリン(以下、残液という)は、灯油を荷卸しする際にこの灯油と混ざってしまう。ガソリンの混ざった灯油は引火点が下がってしまい、この引火点が法令基準値を下回るとガソリンスタンドはこの灯油を販売することができなくなる。
そのため、タンクローリによる荷卸しの際には残液の処理が行われていた(例えば特許文献1参照)。特許文献1で提案されているタンクローリの荷卸しシステムでは、残液の処理が完了したことを検出した後でなければ、次の液体燃料の荷卸しを開始できない。これにより、異種の液体燃料が混ざることを防止するものである。
この荷卸しシステムは、残液の発生自体を防止できないため、荷卸しを行う作業者は荷卸しする油種が変わるたびに残液の処理を行わなくてはならなかった。この残液処理は、残液が発生している箇所近傍の弁を開放して残液を容器に回収して、その後この残液をタンク上部の開口部からタンク内に戻さなければならないため、作業者にとって煩雑なものであり負担が大きいものであった。左右配管や主搬送管の中途部など回収が困難な場所に残液が発生した場合は、この残液処理は作業者にとって更に負担の大きいものとなっていた。
また残液の有無を検知するためのセンサーが設置されていない箇所で残液が発生した場合には、残液の存在が認知されず残液処理が行われないため、異種の液体燃料が混ざってしまうことを防止できなかった。
特開2010−126194号公報
本発明は上記の問題を鑑みてなされたものであり、その目的は車両とともに移動するタンク装置から荷卸しをする際に、タンクに連結された左右配管や主搬送管等の配管内に残液が生じることを抑制することで、異種の液体の混合を防止し、荷卸しを行う作業者の作業負担を軽減できるタンク装置を提供することである。
上記の目的を達成するための本発明のタンク装置は、内部を隔離壁により複数の液体貯蔵室に分割されたタンクと、このタンク外側でタンク底部に配置されてタンク前後方向に延設された主搬送管と、この主搬送管から分岐してそれぞれの液体貯蔵室の底弁に連結された複数の枝管と、前記主搬送管から分岐して前記タンク外側のタンク左右両側側方に配置されたそれぞれの側方吐出し口に連結された左配管および右配管とを備えた、車両とともに移動するタンク装置において、前記左配管および右配管は、それぞれの一端が前記主搬送管との分岐部分に設置された切換弁に連結され、それぞれの他端が前記側方吐出し口のうちの同じ側に設けられた側方吐出し口に連結され、前記切換弁から前記側方吐出し口に向かって下方に傾斜した状態で延設され、前記切換弁は、前記主搬送管とこの切換弁に連結された他のいずれか1つの配管とを選択的に連通させる構成を備えたことを特徴とする。
本発明によれば、タンク装置を搭載した車両(タンクローリ等)が左右に傾いている場合であっても、荷卸しに使用しない側の左配管または右配管を切換弁により閉止できるので、荷卸しに使用しない側の左配管または右配管に液体が流れ込んで残液となることを防止できる。また左配管および右配管(左右配管)は切換弁から吐出し口に向かって下り傾斜になっているので、タンクローリ等が左右に傾いていたとしても荷卸しに使用する側の左右配管の下り傾斜を維持し易くなり、この左右配管内に残液が発生することも抑制できる。
そのため、異種の液体が荷卸しの過程で混ざることを防止できる。また、従来のような面倒な残液処理が不要となるので、荷卸しを行う作業者の作業負担を大幅に低減することができる。
ここでたとえば、一端が切換弁に連結され、他端がタンク外側でタンク後方に配置された後方吐出し口に連結されて、切換弁から後方吐出し口に向かって下方に傾斜した状態で延設された後方配管を備えた構成にすることもできる。
この構成によれば、後方から荷卸しをする際に、主搬送管と後方配管のみを連通させて左右配管のいずれも切換弁により閉止できるので、荷卸しに使用しない左右配管に液体が流れ込んで残液となることを防止できる。また側方から荷卸しをする際に、荷卸しに使用しない後方配管を切換弁により閉止できるので、後方配管に液体が流れ込んで残液となることを防止できる。
切換弁が四方弁であり、左配管または右配管のいずれか一方の配管と、主搬送管と、後方管とがそれぞれ、切換弁の異なる側面に連結され、左配管または右配管のいずれか他方の配管が切換弁の底面に連結された構成にすることもできる。左右配管に比べて長くなる後方配管を切換弁の側面に連結するので、切換弁の底面に連結する場合と比べて切換弁の高い位置に後方配管を連結することができる。これにより、後方配管は切換弁から後方吐
出し口に向けての傾斜角度を大きくできるので、後方配管内に液体が留まり残液となることを抑制できる。
切換弁が四方弁であり、主搬送管が切換弁の天面に連結され、切換弁に連結された他の配管がそれぞれ、切換弁の異なる側面に連結された構成にすることもできる。切換弁の上方から液体が流れ込むことにより液体の流速が相対的に大きくなるので、左右配管や後方配管の下流側の途中で流体が停滞して、残液となる可能性を抑制できる。
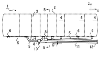
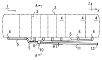
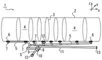
本発明のタンク装置の概要を例示する説明図である。 図1に示すタンク装置の側面を例示する説明図である。 図1に示すタンク装置の平面を例示する説明図である。 図2および3に示すタンク装置のAA断面を例示する説明図である。 タンク装置の別の実施形態の側面を例示する説明図である。 図5に示すタンク装置の平面を例示する説明図である。 図5および6に示すタンク装置のBB断面を例示する説明図である。 タンク装置の別の実施形態の側面を例示する説明図である。 図8に示すタンク装置の平面を例示する説明図である。 図8および9に示すタンク装置のCC断面を例示する説明図である。 タンク装置の別の実施形態の側面を例示する説明図である。 図11に示すタンク装置の平面を例示する説明図である。 図11および12に示すタンク装置のDD断面を例示する説明図である。
以下、本発明のタンク装置を図に示した実施形態に基づいて説明する。
図1〜4に例示するように本発明のタンク装置1は、トラクタヘッドに牽引されるタンクトレーラやトラクタヘッドと一体に構成されたいわゆる単車に搭載され車両とともに移動するものであり、タンク2と、このタンク2に連結された配管とを備えている。このタンク2は、内部を隔離壁3により複数の液体貯蔵室4に分割され、例えばガソリンや軽油、灯油等の異なる種類の液体を複数の液体貯蔵室4にそれぞれ独立して貯蔵することができる。それぞれの液体貯蔵室4の底部には開閉する底弁6が設けられている。
タンク2に連結される配管は、タンク2の外側の底部であってタンク2の前後方向(図1x軸方向)に延設した主搬送管5と、この主搬送管5から分岐させて液体貯蔵室4の底弁6にそれぞれ連結する枝管7とを備える。この主搬送管5は切換弁8に連結され、各液体貯蔵室4から荷卸しされる液体は、各枝管7から主搬送管5を通過して切換弁8に送られる。
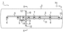
この実施形態では、タンク装置1の配管は、さらに切換弁8からタンク2の外側でタンク2の左右両側(図1y軸方向)に向かって延設する左配管9と右配管10と、切換弁8からタンク2の後方に向かって延設する後方配管11とを備える。左配管9と右配管10とは、一端を切換弁8にそれぞれ連結され他端をタンク2の外側であってタンク2の両側側方にそれぞれ設けられた側方吐出し口12にそれぞれ連結される。図2では左配管9を省略している。
後方配管11は、一端を切換弁8に連結され他端をタンク2の後方に設けられた後方吐出し口13に連結される。この後方配管11は、図2に例示するように切換弁8から後方吐出し口13に向かって、水平面に対して下方に傾斜した状態で連結され、この傾斜角度をθ1で示している。また図3に例示するように主搬送管5の途中にポンプ14を設置し
て、灯油等の液体を強制的に荷卸しする構成とすることもできる。
この実施形態では、切換弁8は四方弁であり、主搬送管5と、左配管9または右配管10または後方配管11のいずれか1つの配管とを選択的に連通させる構成になっている。1つの側面に主搬送管5が連結された切換弁8には、別の側面に、図4に例示するように左配管9と後方配管11とがそれぞれ異なる側面に連結され、右配管10が底面に連結される。このとき、左配管9と右配管10は、切換弁8から側方吐出し口12に向かって下方に傾斜した状態で連結され、その傾斜角度をθ2で示している。
次に、タンク装置1を搭載したタンクローリ等が、ガソリンスタンドに停止して荷卸しをする際の方法を説明する。まず、作業員によりガソリンスタンドのガソリン貯蔵タンクと例えば左配管9に対応する側方吐出し口12とがホースで連結される。連結後、作業員が左配管9に対応する側方吐出し口12近傍のスイッチを操作すると、切換弁8が動作して主搬送管5と左配管9とだけを連通させる。その後、ガソリンを搭載した液体貯蔵室4の底弁6が作業員により開放される。
ガソリンは、特別な外力を加えなくても自重によって液体貯蔵室4から枝管7と主搬送管5を通り、切換弁8を通過して左配管9からガソリンスタンドのガソリン貯蔵タンクに荷卸しされる。このとき、右配管10と後方配管11は切換弁8で閉止されているので、右配管10または後方配管11にガソリンが流れ込み、右配管10に対応する側方吐出し口12近傍または後方配管11に対応する後方吐出し口13の近傍にガソリンが溜まり、残液となることはない。そのため、ガソリンの荷役が完了した後に例えば灯油の荷卸しをする際に、配管内にガソリンの残液がないので灯油にガソリンが混ざることを防止できる。また右配管10および後方配管11の残液を処理する従来は必要であった作業が不要となり、作業者の荷卸し作業における負担を大幅に低減することができる。
左右配管が水平であった従来の場合は、例えばタンクローリの左側が高くなるように傾いているときに左配管から荷卸しすると、左配管は上り傾斜となり、荷卸し完了後に左配管と主搬送管との分岐部分に残液が発生していた。
これに対して、この本発明の左配管9と右配管10は、切換弁8から側方吐出し口12に向かって下方に傾斜しているので、例えばタンクローリの左側が高くなるように傾いている場合であっても、左配管9は下り傾斜となり、荷卸し完了後に左配管9内の切換弁8近傍に残液が発生することを防止できる。
図4に例示する左右配管9、10の傾きの角度θ2は、水平面に対して3°以上8°以下とすることが望ましい。ガソリンスタンドの地面の傾きはおおむね2°以内となっているが、たとえ2°の傾きがあったとしても、荷卸しに使用する側の左右配管9、10を下り傾斜に維持できるからである。同様に、後方配管11の傾きの角度θ1も、水平面に対して3°以上8°以下とすることが望ましい。
ガソリンの荷卸しが完了した後に灯油を荷卸しする際には、ガソリンスタンドの灯油貯蔵タンクと左配管9に対応する側方吐出し口12が作業員によりホースで連結される。連結後、灯油を搭載した液体貯蔵室4の底弁6が作業員により開放されると、灯油は対応する枝管7から主搬送管5を通り、切換弁8を通過して左配管9からガソリンスタンドの灯油貯蔵タンクに荷卸しされる。各液体貯蔵室4に積載された液体燃料は、上記の作業を繰り返し順次荷卸しされる。
ガソリンスタンドにおけるガソリン等の貯蔵タンクの配置や、タンクローリ等の車両の停車位置に応じて、左右配管9、10や後方配管11のいずれかが選択され、荷卸しに利
用される。
例えば後方配管11を利用して荷卸しする場合には、作業員が後方吐出し口13近傍のスイッチを操作すると、切換弁8は主搬送管5と後方配管11とだけを連通させる。このように、切換弁8は、例えば後方吐出し口13等の作業者が作業を行っている場所のスイッチにより、対応する配管と主搬送管5とを連通するので、誤って荷役に使用しない配管と主搬送管5が連通して液体が流れ込むことを防止できる。
また図4に例示するように、この実施形態では切換弁8の側方に後方配管11を連結しているので、後方配管11は切換弁8の底面に連結する場合に比べて、鉛直方向(図4z軸方向)において切換弁8の高い位置に連結することができる。そのため、図2に例示する後方配管11の傾斜角度θ1を大きくすることができるので、後方配管11の途中に液体が溜まり残液となることを防止できる。
図4に例示する実施形態では右配管10を切換弁8の底面に連結しているが、左配管9を切換弁8の底面に連結する構成とすることもできる。
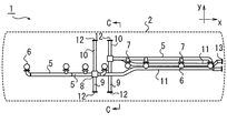
図5〜7に例示するように、例えば液体貯蔵室4を前方の3つと後方の4つの2組にわけて、それぞれに主搬送管5と切換弁8と左右配管9、10と後方配管11とを設置して、配管を2系統とすることもできる。図5では左配管9を省略している。配管を2系統とすると、前方の液体貯蔵室4と後方の液体貯蔵室4からそれぞれ独立した配管で荷卸しできるので、異種の液体であっても同時に荷卸しできる。そのため、荷卸しにかかる時間を短縮して、作業者の荷卸し作業の負担をさらに軽減することができる。
この実施形態において配管にポンプ14を設置する場合には、例えば後方側の右配管10と前方側の主搬送管5とを、開閉弁15を介して連結することが望ましい。この開閉弁15を開放すると後方側の液体貯蔵室4の液体は、枝管7と後方側の主搬送管5と後方側の右配管10から開閉弁15を経由して、前方側の主搬送管5を通りポンプ14に移動することができる。そのため、前方側と後方側の両方の液体貯蔵室4に搭載された液体を1台のポンプ14で強制的に荷卸しできる。
また図6と図7に例示するように、前方側の切換弁8は前方側の側面に主搬送管5を連結され底面に右配管10を連結され、後方側の切換弁8は後方側の側面に主搬送管5を連結され底面に左配管9を連結される。これにより、タンク2の下方の空間が狭い場合であっても、配管を効率的に配置することができる。
図8〜10に例示するように、切換弁8の天面に主搬送管5を連結する構成とすることもできる。この実施形態は、2系統の配管を備えてポンプを設置しない構成である。この実施形態の切換弁8は、左配管9と右配管10と後方配管11を側面に連結される。切換弁8の上から液体が流れ込むことにより、切換弁8を通過する液体の流速が相対的に大きくなるので、左右配管9、10や後方配管11の途中で液体の流速が減少し停滞して残液となる可能性を抑制できる。また左配管9と右配管10の両方を切換弁8の側面に連結できるので、左右配管9、10の傾斜角度θ2を大きくするには有利である。
この実施形態のタンク装置1は、切換弁8の上方に主搬送管5を連結するための空間が必要となるので、タンク2の下方の空間が広いタンクトレーラに採用することが望ましい。またこの実施形態のタンク装置1において、配管を1系統としてもよい。また図5〜7の実施形態と同様にポンプ14および開閉弁15を設置する構成とすることもできる。
図11〜13に例示するように切換弁8を三方弁で構成し、主搬送管5と左配管9と右
配管10とを切換弁8の側方に連結する構成とすることもできる。この実施形態は1系統の配管を備えてポンプ14を設置する構成である。この実施形態では、この三方弁は主搬送管5と、左配管9または右配管10のいずれか1つを選択的に連通する。三方弁は四方弁に比べて簡易な構成であり、安価に製造できるので、タンク装置1の製造コストを抑制するには有利である。また三方弁は四方弁に比べ小さく作成することができるので、タンク2の下方に十分な空間がない場合であっても利用することができる。
この実施形態では、例えば左配管9に後方開閉弁16を介して後方配管11を連結する。後方配管11に対応する後方吐出し口13から荷卸しをする場合には、切換弁8で主搬送管5と左配管9を連通させる。液体は左配管9と開放された後方開閉弁16を経由して後方配管11に移動する。
このとき微量ではあるが、左配管9の側方吐出し口12の近傍に残液が生じる可能性はある。しかし、後方配管11を利用した荷卸しが行われる頻度は低いので、この実施形態のタンク装置1であっても、作業者が残液処理を行う頻度は従来に比べて格段に低く、作業者の負担を十分に低減することができる。
本発明のタンク装置1は、液体燃料を運搬する物に限らず、その他の化学物質等の液体を運搬する際にも利用することができる。
1 タンク装置
2 タンク
3 隔離壁
4 液体貯蔵室
5 主搬送管
6 底弁
7 枝管
8 切換弁
9 左配管
10 右配管
11 後方配管
12 側方吐出し口
13 後方吐出し口

Claims (4)

  1. 内部を隔離壁により複数の液体貯蔵室に分割されたタンクと、このタンク外側でタンク底部に配置されてタンク前後方向に延設された主搬送管と、この主搬送管から分岐してそれぞれの液体貯蔵室の底弁に連結された複数の枝管と、前記主搬送管から分岐して前記タンク外側のタンク左右両側側方に配置されたそれぞれの側方吐出し口に連結された左配管および右配管とを備えた、車両とともに移動するタンク装置において、
    前記左配管および右配管は、それぞれの一端が前記主搬送管との分岐部分に設置された切換弁に連結され、それぞれの他端が前記側方吐出し口のうちの同じ側に設けられた側方吐出し口に連結され、前記切換弁から前記側方吐出し口に向かって下方に傾斜した状態で延設され、
    前記切換弁は、前記主搬送管とこの切換弁に連結された他のいずれか1つの配管とを選択的に連通させる構成を備えたことを特徴とするタンク装置。
  2. 一端が前記切換弁に連結され、他端が前記タンク外側でタンク後方に配置された後方吐出し口に連結されて、前記切換弁から前記後方吐出し口に向かって下方に傾斜した状態で延設された後方配管を備えた請求項1に記載のタンク装置。
  3. 前記切換弁が四方弁であり、前記左配管または前記右配管のいずれか一方の配管と、前記主搬送管と、前記後方管とがそれぞれ、前記切換弁の異なる側面に連結され、前記左配管または前記右配管のいずれか他方の配管が前記切換弁の底面に連結された請求項2に記載のタンク装置。
  4. 前記切換弁が四方弁であり、前記主搬送管が前記切換弁の天面に連結され、前記切換弁に連結された他の配管がそれぞれ、前記切換弁の異なる側面に連結された請求項1または2に記載のタンク装置。
JP2014038887A 2014-02-28 2014-02-28 タンク装置 Active JP6182477B2 (ja)

Priority Applications (1)

Application Number Priority Date Filing Date Title
JP2014038887A JP6182477B2 (ja) 2014-02-28 2014-02-28 タンク装置

Applications Claiming Priority (1)

Application Number Priority Date Filing Date Title
JP2014038887A JP6182477B2 (ja) 2014-02-28 2014-02-28 タンク装置

Publications (2)

Publication Number Publication Date
JP2015160661A true JP2015160661A (ja) 2015-09-07
JP6182477B2 JP6182477B2 (ja) 2017-08-16

Family

ID=54184028

Family Applications (1)

Application Number Title Priority Date Filing Date
JP2014038887A Active JP6182477B2 (ja) 2014-02-28 2014-02-28 タンク装置

Country Status (1)

Country Link
JP (1) JP6182477B2 (ja)

Cited By (1)

* Cited by examiner, † Cited by third party
Publication number Priority date Publication date Assignee Title
CN113945199A (zh) * 2021-09-30 2022-01-18 广东石油化工学院 一种基于姿态检测的危险品运输车辆液压检测方法及系统

Citations (9)

* Cited by examiner, † Cited by third party
Publication number Priority date Publication date Assignee Title
JPS6212553U (ja) * 1985-07-09 1987-01-26
JPH054675A (ja) * 1991-06-28 1993-01-14 Tatsuno Co Ltd タンクローリ
JPH06127600A (ja) * 1992-10-21 1994-05-10 Tatsuno Co Ltd ボトムローリ用配管装置
JPH11105978A (ja) * 1997-10-03 1999-04-20 Tokyu Car Corp タンク車
JP2006027681A (ja) * 2004-07-16 2006-02-02 Tokyu Car Corp タンクローリー用の配管構造
JP2006062749A (ja) * 2004-07-26 2006-03-09 Tokyu Car Corp タンクローリー用の配管構造
US20070006927A1 (en) * 2005-07-05 2007-01-11 Oshkosh Truck Corporation Apparatus for discharging fluid
JP2007239797A (ja) * 2006-03-06 2007-09-20 Showa Aircraft Ind Co Ltd タンクローリの四方弁
JP2010126194A (ja) * 2008-11-27 2010-06-10 Tokiko Techno Kk タンクローリ車の荷卸しシステム

Patent Citations (9)

* Cited by examiner, † Cited by third party
Publication number Priority date Publication date Assignee Title
JPS6212553U (ja) * 1985-07-09 1987-01-26
JPH054675A (ja) * 1991-06-28 1993-01-14 Tatsuno Co Ltd タンクローリ
JPH06127600A (ja) * 1992-10-21 1994-05-10 Tatsuno Co Ltd ボトムローリ用配管装置
JPH11105978A (ja) * 1997-10-03 1999-04-20 Tokyu Car Corp タンク車
JP2006027681A (ja) * 2004-07-16 2006-02-02 Tokyu Car Corp タンクローリー用の配管構造
JP2006062749A (ja) * 2004-07-26 2006-03-09 Tokyu Car Corp タンクローリー用の配管構造
US20070006927A1 (en) * 2005-07-05 2007-01-11 Oshkosh Truck Corporation Apparatus for discharging fluid
JP2007239797A (ja) * 2006-03-06 2007-09-20 Showa Aircraft Ind Co Ltd タンクローリの四方弁
JP2010126194A (ja) * 2008-11-27 2010-06-10 Tokiko Techno Kk タンクローリ車の荷卸しシステム

Cited By (2)

* Cited by examiner, † Cited by third party
Publication number Priority date Publication date Assignee Title
CN113945199A (zh) * 2021-09-30 2022-01-18 广东石油化工学院 一种基于姿态检测的危险品运输车辆液压检测方法及系统
CN113945199B (zh) * 2021-09-30 2023-08-22 广东石油化工学院 一种基于姿态检测的危险品运输车辆液压检测方法及系统

Also Published As

Publication number Publication date
JP6182477B2 (ja) 2017-08-16

Similar Documents

Publication Publication Date Title
US10926996B2 (en) Mobile distribution station having adjustable feed network
US10753497B2 (en) Shutoff-opening device
US20150036453A1 (en) Hydro-blender
JP6182477B2 (ja) タンク装置
US10442676B1 (en) Mobile auxiliary distribution station
JP2005088930A (ja) 液体輸送車の混液防止装置
CN210795094U (zh) 一种可移动液体散货定量卸船装置
US20220194290A1 (en) Tank trailer with fluid collection system
CN102873753B (zh) 水箱及混凝土搅拌运输车
CA3051985A1 (en) Mobile distribution station having satellite dish
JP6774327B2 (ja) 洗浄薬液供給装置、洗浄ユニット、及びプログラムを格納した記憶媒体
CN204005245U (zh) 一种码头甲a类多物料输送系统
US10030676B2 (en) Hydraulic fluid supply apparatus and methods
JP5660929B2 (ja) タンカーの荷役設備
US10654704B2 (en) Fluid delivery device
US11795050B2 (en) Device and method for pumping low evaporation products under vacuum
US20130113203A1 (en) Kit of parts for assembling a hose connection, a fuel dispensing unit having such a hose connection, and a method for assembling such a hose connection
CN103979464A (zh) 用于叉车推出器与侧移器的联合液压系统
CN111745414B (zh) 自动化流水线及其控制方法
CN109515295A (zh) 液罐车
CN205087908U (zh) 一种加油装置及加油车
KR102768902B1 (ko) 이송 스테이지를 구비한 케미컬 자동공급 시스템
CN222271907U (zh) 罐箱连通管路及具有其的液体运输罐车
JPS6154679B2 (ja)
CN104879650A (zh) 一种浆料输送系统

Legal Events

Date Code Title Description
A621 Written request for application examination

Free format text: JAPANESE INTERMEDIATE CODE: A621

Effective date: 20160520

A977 Report on retrieval

Free format text: JAPANESE INTERMEDIATE CODE: A971007

Effective date: 20170306

A131 Notification of reasons for refusal

Free format text: JAPANESE INTERMEDIATE CODE: A131

Effective date: 20170314

A521 Request for written amendment filed

Free format text: JAPANESE INTERMEDIATE CODE: A523

Effective date: 20170427

TRDD Decision of grant or rejection written
A01 Written decision to grant a patent or to grant a registration (utility model)

Free format text: JAPANESE INTERMEDIATE CODE: A01

Effective date: 20170711

A61 First payment of annual fees (during grant procedure)

Free format text: JAPANESE INTERMEDIATE CODE: A61

Effective date: 20170724

R150 Certificate of patent or registration of utility model

Ref document number: 6182477

Country of ref document: JP

Free format text: JAPANESE INTERMEDIATE CODE: R150

R250 Receipt of annual fees

Free format text: JAPANESE INTERMEDIATE CODE: R250

R250 Receipt of annual fees

Free format text: JAPANESE INTERMEDIATE CODE: R250

R250 Receipt of annual fees

Free format text: JAPANESE INTERMEDIATE CODE: R250

R250 Receipt of annual fees

Free format text: JAPANESE INTERMEDIATE CODE: R250

R250 Receipt of annual fees

Free format text: JAPANESE INTERMEDIATE CODE: R250

S531 Written request for registration of change of domicile

Free format text: JAPANESE INTERMEDIATE CODE: R313532

R350 Written notification of registration of transfer

Free format text: JAPANESE INTERMEDIATE CODE: R350

R250 Receipt of annual fees

Free format text: JAPANESE INTERMEDIATE CODE: R250