JP2014214948A - Air conditioner - Google Patents

Air conditioner Download PDF

Info

Publication number
JP2014214948A
JP2014214948A JP2013091831A JP2013091831A JP2014214948A JP 2014214948 A JP2014214948 A JP 2014214948A JP 2013091831 A JP2013091831 A JP 2013091831A JP 2013091831 A JP2013091831 A JP 2013091831A JP 2014214948 A JP2014214948 A JP 2014214948A
Authority
JP
Japan
Prior art keywords
indoor
air
air conditioner
drain
indoor unit
Prior art date
Legal status (The legal status is an assumption and is not a legal conclusion. Google has not performed a legal analysis and makes no representation as to the accuracy of the status listed.)
Granted
Application number
JP2013091831A
Other languages
Japanese (ja)
Other versions
JP6126447B2 (en
Inventor
中村 芳郎
Yoshiro Nakamura
芳郎 中村
尚宣 日野
Naonobu Hino
尚宣 日野
克明 矢部
Katsuaki Yabe
克明 矢部
哲也 毛利
Tetsuya Mori
哲也 毛利
浩 高西
Hiroshi Takanishi
浩 高西
直樹 相澤
Naoki Aizawa
直樹 相澤
池田 昌弘
Masahiro Ikeda
昌弘 池田
柴田 克彦
Katsuhiko Shibata
克彦 柴田
正憲 井上
Masanori Inoue
正憲 井上
博之 森本
Hiroyuki Morimoto
博之 森本
Current Assignee (The listed assignees may be inaccurate. Google has not performed a legal analysis and makes no representation or warranty as to the accuracy of the list.)
Takasago Thermal Engineering Co Ltd
Toshiba Corp
Kanden Energy Solution Co Inc
Carrier Japan Corp
Original Assignee
Takasago Thermal Engineering Co Ltd
Toshiba Corp
Toshiba Carrier Corp
Kanden Energy Solution Co Inc
Priority date (The priority date is an assumption and is not a legal conclusion. Google has not performed a legal analysis and makes no representation as to the accuracy of the date listed.)
Filing date
Publication date
Application filed by Takasago Thermal Engineering Co Ltd, Toshiba Corp, Toshiba Carrier Corp, Kanden Energy Solution Co Inc filed Critical Takasago Thermal Engineering Co Ltd
Priority to JP2013091831A priority Critical patent/JP6126447B2/en
Priority to PCT/JP2014/060664 priority patent/WO2014175109A1/en
Priority to TW103114393A priority patent/TW201512605A/en
Publication of JP2014214948A publication Critical patent/JP2014214948A/en
Application granted granted Critical
Publication of JP6126447B2 publication Critical patent/JP6126447B2/en
Active legal-status Critical Current
Anticipated expiration legal-status Critical

Links

Images

Classifications

    • FMECHANICAL ENGINEERING; LIGHTING; HEATING; WEAPONS; BLASTING
    • F24HEATING; RANGES; VENTILATING
    • F24FAIR-CONDITIONING; AIR-HUMIDIFICATION; VENTILATION; USE OF AIR CURRENTS FOR SCREENING
    • F24F1/00Room units for air-conditioning, e.g. separate or self-contained units or units receiving primary air from a central station
    • F24F1/06Separate outdoor units, e.g. outdoor unit to be linked to a separate room comprising a compressor and a heat exchanger
    • F24F1/26Refrigerant piping
    • F24F1/32Refrigerant piping for connecting the separate outdoor units to indoor units
    • FMECHANICAL ENGINEERING; LIGHTING; HEATING; WEAPONS; BLASTING
    • F24HEATING; RANGES; VENTILATING
    • F24FAIR-CONDITIONING; AIR-HUMIDIFICATION; VENTILATION; USE OF AIR CURRENTS FOR SCREENING
    • F24F1/00Room units for air-conditioning, e.g. separate or self-contained units or units receiving primary air from a central station
    • F24F1/0003Room units for air-conditioning, e.g. separate or self-contained units or units receiving primary air from a central station characterised by a split arrangement, wherein parts of the air-conditioning system, e.g. evaporator and condenser, are in separately located units
    • GPHYSICS
    • G06COMPUTING OR CALCULATING; COUNTING
    • G06FELECTRIC DIGITAL DATA PROCESSING
    • G06F1/00Details not covered by groups G06F3/00 - G06F13/00 and G06F21/00
    • G06F1/16Constructional details or arrangements
    • G06F1/20Cooling means

Landscapes

  • Engineering & Computer Science (AREA)
  • General Engineering & Computer Science (AREA)
  • Theoretical Computer Science (AREA)
  • Chemical & Material Sciences (AREA)
  • Combustion & Propulsion (AREA)
  • Mechanical Engineering (AREA)
  • Human Computer Interaction (AREA)
  • Physics & Mathematics (AREA)
  • General Physics & Mathematics (AREA)
  • Devices For Blowing Cold Air, Devices For Blowing Warm Air, And Means For Preventing Water Condensation In Air Conditioning Units (AREA)
  • Cooling Or The Like Of Electrical Apparatus (AREA)
  • Air Filters, Heat-Exchange Apparatuses, And Housings Of Air-Conditioning Units (AREA)

Abstract

【課題】室内ユニットの設置スペースの省スペース化を図った空気調和機を提供する。【解決手段】機械室2b,3bをそれぞれ有する複数台の室内ユニット2,3と複数台の室外ユニット4,5とを有する。複数台の室内ユニット2,3を上下方向に重ねて複数段に形成し、これら室内ユニット2,3の各機械室2b,3b同士を上下方向に連通させる。室外ユニット4,5の液側,ガス側冷媒接続配管19,20に接続される前記室内ユニット2,3の液側,ガス側配管接続端部17,18を、上段の室内ユニット2の上部に設ける。【選択図】 図1An air conditioner that saves space for installing an indoor unit is provided. A plurality of indoor units 2 and 3 each having machine rooms 2b and 3b and a plurality of outdoor units 4 and 5 are provided. A plurality of indoor units 2, 3 are vertically stacked to form a plurality of stages, and the machine chambers 2 b, 3 b of the indoor units 2, 3 are communicated with each other in the vertical direction. The liquid side of the outdoor units 4, 5, the liquid side of the indoor units 2, 3 connected to the gas side refrigerant connection pipes 19, 20, and the gas side pipe connection ends 17, 18 are arranged at the upper part of the upper indoor unit 2. Provide. [Selection] Figure 1

Description

本発明の実施形態は、空気調和機に関する。   Embodiments described herein relate generally to an air conditioner.

一般に、データセンターやサーバルームでは、種々の機能を有するサーバやネットワークを構築するための通信機器等の情報処理機器を収容している。   In general, a data center or a server room accommodates information processing devices such as a server having various functions and a communication device for constructing a network.

そして、これらデータセンターやサーバルームでは、これら情報処理機器を安定して動作させるために、常に機器動作に適した温度に維持するために、空調システムを具備している。   In these data centers and server rooms, in order to stably operate these information processing devices, an air conditioning system is provided in order to always maintain a temperature suitable for the device operation.

この種の従来の空調システムとしては、例えば特許文献1のようなものが知られている。   As this type of conventional air conditioning system, for example, the one disclosed in Patent Document 1 is known.

特開2011−220665号公報JP 2011-220665 A

上記特許文献1の空調システムは、室内ユニットである冷却ユニット10を、複数のドライコイルユニット12により構成している。各ドライコイルユニット12には熱交換器が設けられ、熱交換器13の冷媒供給口14および冷媒排出口15がドライコイルユニット12の側面から突出して設けられている。   In the air conditioning system of Patent Document 1, the cooling unit 10 that is an indoor unit is configured by a plurality of dry coil units 12. Each dry coil unit 12 is provided with a heat exchanger, and a refrigerant supply port 14 and a refrigerant discharge port 15 of the heat exchanger 13 are provided so as to protrude from the side surface of the dry coil unit 12.

このため、複数のドライコイルユニット12を並べて室内ユニットの冷却ユニットを構成する際に、熱源部分200からの冷媒配管と冷媒供給口14および冷媒排出口15とを接続するためのスペースが必要となるため、複数のドラルコイルユニット12同士を密接して配置することができず、室内ユニットの冷却ユニット10全体の設置スペースが大きくなっていた。   For this reason, when a plurality of dry coil units 12 are arranged to form a cooling unit for an indoor unit, a space for connecting the refrigerant piping from the heat source portion 200 to the refrigerant supply port 14 and the refrigerant discharge port 15 is required. For this reason, the plurality of dolar coil units 12 cannot be arranged in close contact with each other, and the installation space for the entire cooling unit 10 of the indoor unit is large.

このような事情から、設置スペースの省スペース化を図った室内ユニットが求められている。   Under such circumstances, there is a demand for an indoor unit that saves installation space.

本発明が解決しようとする課題は、室内ユニットの設置スペースの省スペース化を図った空気調和機を提供することにある。   The problem to be solved by the present invention is to provide an air conditioner that saves space for installing an indoor unit.

実施形態の空気調和機は、機械室をそれぞれ有する複数台の室内ユニットと少なくとも1台の室外ユニットとを有する空気調和機において、複数台の室内ユニットを上下方向に重ねて複数段に形成している。   An air conditioner according to an embodiment is an air conditioner having a plurality of indoor units each having a machine room and at least one outdoor unit, and the plurality of indoor units are vertically stacked to form a plurality of stages. Yes.

また、これら室内ユニットの各機械室同士を上下方向に連通させ、室外ユニットの配管に接続される室内ユニットの配管接続端部を、最上段の室内ユニットの上部に設けた。   In addition, the machine rooms of these indoor units communicate with each other in the vertical direction, and the pipe connection end of the indoor unit connected to the pipe of the outdoor unit is provided in the upper part of the uppermost indoor unit.

実施形態に係る空気調和機の全体構成を示す模式図。The schematic diagram which shows the whole structure of the air conditioner which concerns on embodiment. 図1で示す室内ユニットの空気吹出口側の正面図。The front view by the side of the air blower outlet of the indoor unit shown in FIG. 図2のIII−III線断面図。III-III sectional view taken on the line of FIG. 図2のIV−IV線断面図。IV-IV sectional view taken on the line of FIG. 図1で示す室内ユニット装置の空気吹出口側から見たときの斜視図。The perspective view when it sees from the air blower outlet side of the indoor unit apparatus shown in FIG. 図4のVI−VI線断面図。VI-VI sectional view taken on the line of FIG. 図1で示す室内ユニット装置の空気吸込口側から見たときの斜視図。The perspective view when it sees from the air inlet side of the indoor unit apparatus shown in FIG. 図4等で示す第1,第2ドレンパンや傾斜板等の位置関係を示す模式図。The schematic diagram which shows the positional relationship of the 1st, 2nd drain pan, inclination board, etc. which are shown by FIG. 主に第1〜第3のドレンパンの位置関係を示すも模式図。The schematic diagram which mainly shows the positional relationship of the 1st-3rd drain pan. 図3で示すインナーダクトの変形例を示す室内ユニットの平断面図。The plane sectional view of the indoor unit which shows the modification of the inner duct shown in FIG. 図2で示す室内ファンの変形例を示す室内ユニットの正面図。The front view of the indoor unit which shows the modification of the indoor fan shown in FIG. 図1で示す空気調和機の変形例を示す模式図。The schematic diagram which shows the modification of the air conditioner shown in FIG. 図1で示す空気調和機の他の変形例を示す模式図。The schematic diagram which shows the other modification of the air conditioner shown in FIG. 図1で示す空気調和機を複数設置した状態を示す模式図。The schematic diagram which shows the state which installed multiple air conditioners shown in FIG.

以下、本発明の実施形態を図面を参照して説明する。なお、複数の図面中、同一または相当部分には同一符号を付している。   Hereinafter, embodiments of the present invention will be described with reference to the drawings. In addition, the same code | symbol is attached | subjected to the same or an equivalent part in several drawing.

図1は実施形態に係る空気調和機の全体構成を示す模式図であり、フリークーリングシステム(FC)は図示省略している。この実施形態に係る空気調和機1は、R410A等の冷媒が循環する冷凍サイクルの冷媒熱交換器(室内熱交換器)と、フリークーリングシステム(FC)の水熱交換器を併設できるように構成されている。まず、図1に基づいて空気調和機の冷凍サイクルについて説明する。   Drawing 1 is a mimetic diagram showing the whole air conditioner composition concerning an embodiment, and omits illustration of a free cooling system (FC). The air conditioner 1 according to this embodiment is configured such that a refrigerant heat exchanger (indoor heat exchanger) of a refrigeration cycle in which refrigerant such as R410A circulates and a water heat exchanger of a free cooling system (FC) can be provided. Has been. First, the refrigeration cycle of the air conditioner will be described based on FIG.

すなわち、図1に示すように空気調和機1は、同形同大の複数台、例えば2台の室内ユニット2,3と、1台以上複数台、例えば2台の室外ユニット4,5とを具備している。ここで、各室内ユニット2,3の冷房定格(最大)能力はそれぞれ10馬力(28kW)であり、空気調和機1全体で20馬力(56kW)である。   That is, as shown in FIG. 1, the air conditioner 1 includes a plurality of units of the same shape and size, for example, two indoor units 2 and 3, and one or more units, for example, two outdoor units 4 and 5. It has. Here, the cooling rated (maximum) capacity of each of the indoor units 2 and 3 is 10 horsepower (28 kW), and the entire air conditioner 1 is 20 horsepower (56 kW).

これら2台の室内ユニット2,3は上下方向に複数段に積み重ねられて互いに固定され、1台の室内ユニット装置6に構成されている。   These two indoor units 2 and 3 are stacked in a plurality of stages in the vertical direction and fixed to each other to constitute one indoor unit device 6.

上記各室内ユニット2,3は、後述するように立方体のフレーム構造(骨組み構造)の筺体7,8をそれぞれ有し、上段の室内ユニット2の筺体7の上端には、後述の天板39を設けている。また、これらの各筺体7,8内には、室内熱交換器9,10、室内ファン11,12等を収容する通風室2a,3aと、冷媒配管13等を収容する機械室2b,3bとを形成している。機械室2b,3bは上下一対の室内ユニット2,3を上下方向に連通可能に形成されている。冷媒配管13は、各室内熱交換器9,10に接続される液側冷媒配管13aと、ガス側冷媒配管13bとを具備している。   Each of the indoor units 2 and 3 has a cubic frame structure (frame structure) 7 and 8 as will be described later, and a top plate 39 to be described later is provided at the upper end of the housing 7 of the upper indoor unit 2. Provided. Further, in each of these housings 7 and 8, ventilation chambers 2a and 3a for accommodating indoor heat exchangers 9 and 10, indoor fans 11 and 12 and machine rooms 2b and 3b for accommodating refrigerant pipes 13 and the like. Is forming. The machine rooms 2b and 3b are formed so that a pair of upper and lower indoor units 2 and 3 can communicate with each other in the vertical direction. The refrigerant pipe 13 includes a liquid side refrigerant pipe 13a connected to each of the indoor heat exchangers 9 and 10, and a gas side refrigerant pipe 13b.

すなわち、液側冷媒配管13aは、その先端部を2股に分岐する分岐管13a,13aを介して上下一対の室内熱交換器9,10の冷媒入口にそれぞれ接続されている。これら2股の各分岐管13a,13aは、その途中に、膨張弁15,16をそれぞれ介装している。この膨張弁15,16は、開度を調節可能な電子膨張弁である。 That is, the liquid-side refrigerant pipe 13a is connected to the refrigerant inlets of the pair of upper and lower indoor heat exchangers 9 and 10 via branch pipes 13a 1 and 13a 2 that branch the tip part into two branches. These bifurcated branch pipes 13a 1 and 13a 2 are respectively provided with expansion valves 15 and 16 in the middle thereof. The expansion valves 15 and 16 are electronic expansion valves whose opening degree can be adjusted.

ガス側冷媒配管13bも、その先端部を2股に分岐する分岐管13b,13bを介して上下一対の室内熱交換器9,10の各冷媒出口にそれぞれ接続されている。すなわち、上下2台の室内熱交換器9,10同士は並列に接続されている。 The gas-side refrigerant pipe 13b is also connected to the refrigerant outlets of the pair of upper and lower indoor heat exchangers 9 and 10 via branch pipes 13b 1 and 13b 2 that divide the tip part into two branches. That is, the two upper and lower indoor heat exchangers 9 and 10 are connected in parallel.

そして、これら液側,ガス側冷媒配管13a,13bは、その図1中の上端部を、最上段の室内ユニット2の天板39の上端貫通孔14より上方外方へそれぞれ延出させ、その端部に液側,ガス側配管接続端部17,18をそれぞれ形成している。なお、液側,ガス側配管接続端部17,18は上段の室内ユニット2の上端部上に設けなくてもよく、配管接続作業を行う作業員の手が届く上端部近傍であれば上段の室内ユニット2の機械室2bの内部でもよい。   And these liquid side and gas side refrigerant | coolant piping 13a, 13b are each extended from the upper end through-hole 14 of the top plate 39 of the top plate 39 of the uppermost indoor unit 2 to the outer side in FIG. Liquid-side and gas-side pipe connection ends 17 and 18 are formed at the ends, respectively. The liquid-side and gas-side pipe connection ends 17 and 18 do not have to be provided on the upper end of the upper indoor unit 2, and the upper stage is close to the upper end where a worker who performs the pipe connection work can reach. It may be inside the machine room 2b of the indoor unit 2.

この液側配管接続端部17には、少なくとも1台、例えば2台の冷媒室外ユニット4,5の各液側配管接続部にそれぞれ接続された液側冷媒接続配管19が接続される。   The liquid side pipe connection end portion 17 is connected to at least one liquid side refrigerant connection pipe 19 connected to each liquid side pipe connection portion of, for example, two refrigerant outdoor units 4 and 5.

また、室内ユニット2,3側のガス側配管接続端部18には、冷媒室外ユニット4,5の各ガス側配管接続部に接続されたガス側冷媒接続配管20が接続されている。すなわち、2台の冷媒室外ユニット4,5同士も並列に接続されている。   Further, gas side refrigerant connection pipes 20 connected to the gas side pipe connection parts of the refrigerant outdoor units 4 and 5 are connected to the gas side pipe connection ends 18 on the indoor units 2 and 3 side. That is, the two refrigerant outdoor units 4, 5 are also connected in parallel.

各室外ユニット4,5は、その筺体内に、少なくとも図示省略の圧縮機、室外熱交換器、室外ファン等を配設しており、各室内ユニット2,3の室内熱交換器9,10とはマルチ接続されている。   Each outdoor unit 4, 5 is provided with at least a compressor, an outdoor heat exchanger, an outdoor fan, etc. (not shown) in its housing, and the indoor heat exchangers 9, 10 of each indoor unit 2, 3 Are multi-connected.

次に、上記室内ユニット装置6のより具体的な構成を説明する。   Next, a more specific configuration of the indoor unit device 6 will be described.

本実施形態においては、フリークーリングシステム(FC)の水熱交換器を併設した場合について説明する。   In the present embodiment, a case where a water heat exchanger of a free cooling system (FC) is provided will be described.

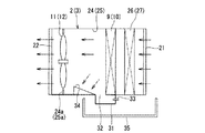
図2〜図9に示すように、室内ユニット装置6は、各室内ユニット2,3の筺体7,8を、例えばC形,L形等の形鋼により直方体のフレーム構造(骨組み構造)に構成しており、筺体7,8の背面(図3では上端)側に、空気の吸込口21を形成し、その正面(図3では下端)側に、空気の吹出口22を形成している。吸込口21は室内ユニット2,3の背面側をほぼ全面的に開口させて形成されており、水熱交換器26,27の背面のほぼ全面を露出させている。吹出口22は室内ユニット2,3の正面のほぼ全面を開口させて例えば正方形に形成されている。また、これら上下一対の筺体7,8同士の接合部の外周の各辺(四辺)には、金属製帯板状の補強板23をほぼ全周に亘って固定しており、この接合部の固定強度の向上が図られている。   As shown in FIG. 2 to FIG. 9, the indoor unit device 6 is configured such that the casings 7 and 8 of the indoor units 2 and 3 have a rectangular parallelepiped frame structure (frame structure) using, for example, C-shaped and L-shaped steel. The air suction port 21 is formed on the back surface (upper end in FIG. 3) side of the housings 7 and 8, and the air outlet 22 is formed on the front surface (lower end in FIG. 3). The suction port 21 is formed so that the back sides of the indoor units 2 and 3 are opened almost entirely, and almost the entire back surfaces of the water heat exchangers 26 and 27 are exposed. The air outlet 22 is formed, for example, in a square shape by opening almost the entire front surface of the indoor units 2 and 3. In addition, a metal strip-shaped reinforcing plate 23 is fixed over almost the entire circumference of each side (four sides) of the outer periphery of the joint portion between the pair of upper and lower housings 7 and 8. Improvement of fixing strength is achieved.

そして、図3に示すように、各筺体7,8は、その通風室2a,3aに、板金製等のほぼ角筒直胴状のインナーダクト(通風路)24,25を配設している。   As shown in FIG. 3, the casings 7 and 8 are provided with inner ducts (ventilation passages) 24 and 25 having a substantially straight cylindrical shape made of sheet metal or the like in the ventilation chambers 2 a and 3 a. .

各インナーダクト24,25は、その吸込口21側に、室内熱交換器9,10をそれぞれ設け、その内部の吹出口22側に室内ファン11,12をそれぞれ設け、インナーダクト24,25を介して吸込口21と吹出口22とを対向させると共に連通させている。   Each of the inner ducts 24 and 25 is provided with the indoor heat exchangers 9 and 10 on the inlet 21 side, and the indoor fans 11 and 12 are provided on the outlet 22 side of the inner ducts 24 and 25, respectively. The suction port 21 and the air outlet 22 are opposed to each other and communicated with each other.

また、インナーダクト24,25は、室内熱交換器9,10と吸込口21側との間にて、フリークーリングシステムの水熱交換器26,27を追加して併設できるようにそれぞれ構成されている。   Further, the inner ducts 24 and 25 are respectively configured so that the water heat exchangers 26 and 27 of the free cooling system can be additionally provided between the indoor heat exchangers 9 and 10 and the suction port 21 side. Yes.

フリークーリングシステムは、上下一対の水熱交換器26,27の図示省略の水入口同士と、各水出口同士を図示しない水配管の入側,出側水配管によりそれぞれ連結して上下一対の水熱交換器26,27同士を並列に接続している。そして、これら入側,出側水配管は機械室2bの上方へ延出し、図5、図7に示すように冷媒配管の液側,ガス側配管接続端部17,18と同様に入側,出側配管接続端部50,51を形成している。これら水配管の入側,出側配管接続端部50,51は図示省略の接続水配管を介してクーリングタワー等の水冷却器に接続される。クーリングタワーも少なくとも1台でよいが、複数台、例えば2台の場合には、室外ユニット4,5と同様に図示省略の連結用水配管により並列に接続される。水熱交換器26,27内を通水する冷却水流量は水配管途中に介装された電動二方弁の開度と水循環ポンプ(いずれも図示しない)の回転数により制御される。なお、フリークーリングシステムは、空気調和機1の冷凍サイクルによる冷房定格(最大)能力と同等の能力を出力できるように水熱交換器26,27の容量が設定されている。   In the free cooling system, a pair of upper and lower water heat exchangers 26 and 27 are connected to each other by an unillustrated water inlet and water outlets connected to each other by an inlet side and an outlet side water pipe of a water pipe (not shown). The heat exchangers 26 and 27 are connected in parallel. These inlet and outlet water pipes extend upward of the machine room 2b, and as shown in FIGS. 5 and 7, the inlet side, as well as the liquid side and gas side pipe connecting ends 17 and 18 of the refrigerant pipe. Outlet piping connection ends 50 and 51 are formed. The inlet and outlet pipe connection ends 50 and 51 of these water pipes are connected to a water cooler such as a cooling tower via a connection water pipe (not shown). Although at least one cooling tower may be used, in the case of a plurality of, for example, two, the cooling towers are connected in parallel by a connection water pipe (not shown) as in the outdoor units 4 and 5. The flow rate of the cooling water passing through the water heat exchangers 26 and 27 is controlled by the opening degree of the electric two-way valve interposed in the middle of the water pipe and the rotation speed of the water circulation pump (both not shown). In addition, the capacity | capacitance of the water heat exchangers 26 and 27 is set so that the free cooling system can output the capacity | capacitance equivalent to the air_conditioner | coolant rated (maximum) capacity | capacitance by the refrigerating cycle.

インナーダクト24,25は、ほぼ角筒直胴状のダクトよりなり、水熱交換器26,27、室内熱交換器9,10と、室内ファン11,12とを結ぶ空気流路を、これら熱交換器9,10、水熱交換器26,27の横幅とほぼ同じ断面の空気流路(通風路)に形成している。   The inner ducts 24 and 25 are substantially rectangular tube-shaped ducts, and these heat passages connect the water heat exchangers 26 and 27, the indoor heat exchangers 9 and 10, and the indoor fans 11 and 12. It forms in the air flow path (ventilation path) of the cross section substantially the same as the width of the exchangers 9 and 10 and the water heat exchangers 26 and 27.

室内ファン11,12は、例えばプロペラファンやターボファン等のファンに、DC直流ファンモータ等のモータを一体に設けることにより構成されている。図2〜図5に示すように本実施形態では、ファンにターボファンを採用している。室内ファン11,12はファン外面を覆う図示省略のファンガードを備えており、このファンガードの中央部外面には、ファンモータの外面を被覆して保護する保護カバーを設けている。   The indoor fans 11 and 12 are configured, for example, by providing a motor such as a DC direct current fan motor integrally with a fan such as a propeller fan or a turbo fan. As shown in FIGS. 2 to 5, in this embodiment, a turbo fan is employed as the fan. The indoor fans 11 and 12 include a fan guard (not shown) that covers the outer surface of the fan, and a protective cover that covers and protects the outer surface of the fan motor is provided on the outer surface of the central portion of the fan guard.

室内ファン11,12は、インナーダクト24,25に設けられた取付板24a,25bに取り付けられている。この取付板24a,25bによって、インナーダクト24,25は室内ファン11,12の一次側(室内熱交換器側)と二次側(吹出口22側)とに仕切られている。図2に示すように、インナーダクト24,25の二次側は、その流路断面が略正方形に形成されている。インナーダクト24,25の一次側と二次側の横幅寸法は同一である。インナーダクト24,25の縦方向寸法は、一次側の下面に後述する傾斜板34(図8)を設ける分、二次側に比べて一次側の方が小さくなる。そして、インナーダクト24,25の二次側流路断面(吹出口22)の縦方向寸法Lh、幅方向寸法Lwをそれぞれ1000mmとしている。そして、室内ファン11,12のターボファンの直径D1を500mmとしている。二次側流路形状を正方形とし、ターボファンの直径D1を流路断面寸法(Lh,Lw)の略1/2とすることが送風効率の面で最も好ましい。   The indoor fans 11 and 12 are attached to attachment plates 24a and 25b provided in the inner ducts 24 and 25, respectively. The inner ducts 24, 25 are partitioned by the mounting plates 24 a, 25 b into a primary side (indoor heat exchanger side) and a secondary side (outlet 22 side) of the indoor fans 11, 12. As shown in FIG. 2, on the secondary side of the inner ducts 24 and 25, the flow path cross section is formed in a substantially square shape. The lateral dimensions of the primary and secondary sides of the inner ducts 24 and 25 are the same. The longitudinal dimensions of the inner ducts 24 and 25 are smaller on the primary side than on the secondary side by providing an inclined plate 34 (FIG. 8) to be described later on the lower surface of the primary side. And the longitudinal direction dimension Lh and the width direction dimension Lw of the secondary side flow-path cross section (blower 22) of the inner ducts 24 and 25 are 1000 mm, respectively. And the diameter D1 of the turbo fan of the indoor fans 11 and 12 is 500 mm. It is most preferable in terms of air blowing efficiency that the secondary side channel shape is square and the diameter D1 of the turbofan is approximately ½ of the channel cross-sectional dimension (Lh, Lw).

図11に室内ファン11,12のファンにプロペラファンを採用した室内ユニット装置6を示す。インナーダクト24,25の2次側流路断面寸法Lh,Lwは1000mmで同じであるが、プロペラファンの直径D2を630mmとしている。このようにプロペラファンを用いる場合には、プロペラファンの直径D2を流路断面寸法(Lh,Lw)の略3/5とすることが送風効率の面で最も好ましい。   FIG. 11 shows an indoor unit device 6 in which a propeller fan is adopted as the fans of the indoor fans 11 and 12. The secondary side channel cross-sectional dimensions Lh and Lw of the inner ducts 24 and 25 are the same at 1000 mm, but the diameter D2 of the propeller fan is 630 mm. Thus, when using a propeller fan, it is most preferable from the surface of ventilation efficiency that the diameter D2 of a propeller fan shall be about 3/5 of flow-path cross-sectional dimension (Lh, Lw).

図3等に示すように、インナーダクト24,25の一側面と、室内ユニット2,3の外側面(図3では右側面)との間には、上記機械室2b,3bが形成されている。この機械室2b,3bは図1,図6に示すように、上下一対の室内ユニット2,3の上下方向に連通するように形成され、上記冷媒配管13や水配管、図5で示す主制御基板28、副制御基板29、冷媒配管13に介装された膨張弁15,16等が収容される。   As shown in FIG. 3 and the like, the machine chambers 2b and 3b are formed between one side surface of the inner ducts 24 and 25 and the outer side surface (the right side surface in FIG. 3) of the indoor units 2 and 3. . As shown in FIGS. 1 and 6, the machine rooms 2b and 3b are formed so as to communicate with the pair of upper and lower indoor units 2 and 3 in the vertical direction. The refrigerant pipes 13 and the water pipes, and the main control shown in FIG. The board 28, the sub-control board 29, the expansion valves 15 and 16 interposed in the refrigerant pipe 13, and the like are accommodated.

図7に示すように膨張弁15,16は室内ユニット2,3の背面側または、その近傍に配設され、背面側から容易にアクセスし、メンテナンスできるようになっている。   As shown in FIG. 7, the expansion valves 15 and 16 are disposed on the back side of the indoor units 2 and 3 or in the vicinity thereof, and can be easily accessed and maintained from the back side.

また、図5で示す主制御基板28は、2台の室内ユニット2,3の運転を統合制御する制御装置であり、例えば上段の室内ユニット2の機械室2b内に配設される。副制御基板29は室内ユニット2,3の各々の機械室2b,3b内に配設され、室外ユニットの制御装置からの指令により、各膨張弁15,16の開度等を制御する制御装置である。   Further, the main control board 28 shown in FIG. 5 is a control device that integrally controls the operation of the two indoor units 2 and 3, and is disposed, for example, in the machine room 2 b of the upper indoor unit 2. The sub control board 29 is a control device that is disposed in each of the machine chambers 2b and 3b of the indoor units 2 and 3, and controls the opening degree and the like of the expansion valves 15 and 16 according to a command from the control device of the outdoor unit. is there.

下段の室内ユニット3の筐体8には、その底部左右端部の外面に、所定高さ(厚さ)の左右一対の角柱状の基台30a,30bを配設し、これら基台30a,30bを介して室内ユニット装置6を所要の設置面に設置固定し、この設置面と下段の室内ユニット3の外底面との間に所要の間隙を形成している。   The casing 8 of the lower indoor unit 3 is provided with a pair of left and right prism bases 30a and 30b having a predetermined height (thickness) on the outer surfaces of the bottom left and right ends thereof. The indoor unit device 6 is installed and fixed on a required installation surface via 30b, and a required gap is formed between this installation surface and the outer bottom surface of the lower indoor unit 3.

そして、図8,図9に示すように各室内ユニット2,3は、各室内熱交換器9,10と各水熱交換器26,27の下部かつインナーダクト24,25の下部であって、室内熱交換器9,10の空気流下流側(二次側)に、これら室内,水熱交換器9,10,26,27で発生したドレンを受ける第1のドレンパン31を設けている。第1のドレンパン31は、その図8中上面に、室内熱交換器9,10よりも空気流下流側で連通する受水口32を設ける一方、第1のドレンパン31の下部に排水口33を設けている。この排水口33は図8では短管状に図示しているが、単なる排水口でもよい。この第1のドレンパン31は、その受水口32を有する図8中の上面と、排水口33の高さを、室内ファン11,12の一次側(室内熱交換器9,10の二次側)の静圧と室内静圧との最大差圧よりも十分に余裕のある高さに設定している。   As shown in FIGS. 8 and 9, the indoor units 2 and 3 are located below the indoor heat exchangers 9 and 10 and the water heat exchangers 26 and 27 and below the inner ducts 24 and 25, respectively. On the downstream side (secondary side) of the indoor heat exchangers 9 and 10, a first drain pan 31 that receives drain generated in the indoor and water heat exchangers 9, 10, 26, and 27 is provided. The first drain pan 31 is provided with a water receiving port 32 communicating on the downstream side of the air flow with respect to the indoor heat exchangers 9 and 10 on the upper surface in FIG. 8, while a drain port 33 is provided below the first drain pan 31. ing. Although the drain port 33 is illustrated in a short tube shape in FIG. 8, it may be a simple drain port. The first drain pan 31 has the upper surface in FIG. 8 having the water receiving port 32 and the height of the drain port 33 on the primary side of the indoor fans 11 and 12 (secondary side of the indoor heat exchangers 9 and 10). Is set to a height that is sufficiently larger than the maximum differential pressure between the static pressure and the indoor static pressure.

これにより、室内ファン11,12による静圧低下によりインナーダクト24,25内にドレンが滞留することを未然に防止できる。   Thereby, it is possible to prevent the drain from staying in the inner ducts 24 and 25 due to the static pressure drop by the indoor fans 11 and 12.

また、インナーダクト24,25の底面には、室内熱交換器9,10の空気流下流側にて、傾斜板34を設けている。傾斜板34は室内ファン11,12側から室内熱交換器9,10に向けて漸次低くなる所要の傾斜角により形成されており、室内熱交換器9,10からのドレンの飛沫を受けて、第1のドレンパン31の受水口32へ案内し排水するようになっている。   Further, inclined plates 34 are provided on the bottom surfaces of the inner ducts 24 and 25 on the downstream side of the air flow of the indoor heat exchangers 9 and 10. The inclined plate 34 is formed with a required inclination angle that gradually decreases from the indoor fans 11, 12 side toward the indoor heat exchangers 9, 10, and receives the splash of drain from the indoor heat exchangers 9, 10, The water is guided to the water receiving port 32 of the first drain pan 31 and drained.

そして、図9にも示すように、第1のドレンパン31の下方には、このドレンパン31の排水口33から排水されるドレンと、室内熱交換器9,10と水熱交換器26,27からのドレンを受ける第2のドレンパン35をそれぞれ設けている。第2のドレンパン35は、そのドレン受水側開口を第1のドレンパン31よりも大きく形成し、その一端部(図9では左端部)を機械室2b,3b側まで若干延在させている。   As shown in FIG. 9, below the first drain pan 31, there are drains drained from the drain port 33 of the drain pan 31, the indoor heat exchangers 9 and 10, and the water heat exchangers 26 and 27. The second drain pans 35 for receiving the drains are provided. The second drain pan 35 has a drain water receiving side opening larger than the first drain pan 31 and has one end portion (left end portion in FIG. 9) slightly extended to the machine chambers 2b and 3b.

また、下段の室内ユニット3の機械室2bの下部には、機械室2b,3bの冷媒配管13等から滴下するドレンを受けて第2のドレンパン35内へ案内する第3のドレンパン36を設けている。   Further, a third drain pan 36 is provided at the lower part of the machine room 2b of the lower indoor unit 3 to receive the drain dripping from the refrigerant pipes 13 and the like of the machine rooms 2b and 3b and to guide it into the second drain pan 35. Yes.

さらに、図7に示すように各室内ユニット2,3の機械室2b,3bの背面側底部外面には、短管状の外部ドレン排水口部37と短管状の予備ドレン管38を並設している。   Further, as shown in FIG. 7, a short tubular external drain outlet 37 and a short tubular preliminary drain pipe 38 are arranged in parallel on the rear bottom outer surfaces of the machine rooms 2b and 3b of the indoor units 2 and 3, respectively. Yes.

外部ドレン排水口部37は、その内側開口端を各第2のドレンパン35の内部に連通させ、第2のドレンパン35内のドレンを外部ドレン排水口部37から外部へ排水する。この外部ドレン排水口部37には、例えば防臭用のトラップを有する図示省略の外部ドレン排水管が接続される。   The external drain drain port portion 37 communicates the inner opening end with the inside of each second drain pan 35, and drains the drain in the second drain pan 35 from the external drain drain port portion 37 to the outside. For example, an external drain drain pipe (not shown) having a deodorizing trap is connected to the external drain drain port 37.

予備ドレン管38は、外部ドレン排水口37より上部に配置され、通常は排水されないが、万一、外部ドレン排水口37が詰まった場合にも、第2のドレンパン35内のドレンを排水するので、空調運転の継続が可能である。予備ドレン管38に接続される図示省略の接続管に水を検知するセンサを設けることにより、外部ドレン排水口37の詰まりを検出できる。   The preliminary drain pipe 38 is arranged above the external drain drain port 37 and is not normally drained. However, even if the external drain drain port 37 is clogged, the drain in the second drain pan 35 is drained. The air-conditioning operation can be continued. By providing a sensor for detecting water in a connection pipe (not shown) connected to the preliminary drain pipe 38, it is possible to detect clogging of the external drain outlet 37.

そして、上述したように図5や図7等で示す上段の室内ユニット2の上端に、天板39を設けている。天板39の図中上面には、その正面から見て左右端部に、図示省略の運搬用ロープを掛止させる左右一対のロープガイド40a,40bが設けられている。これらロープガイド40a,40bは、例えばコ字形の形鋼よりなり、そのコ字形開口を図中上方へ向けて天板39の正面側一端から背面側他端までほぼ全長に亘って取付けられている。   As described above, the top plate 39 is provided at the upper end of the upper indoor unit 2 shown in FIGS. A pair of left and right rope guides 40a and 40b for hooking a transportation rope (not shown) are provided on the upper and lower ends of the top plate 39 in the figure as viewed from the front. These rope guides 40a and 40b are made of, for example, a U-shaped steel, and are attached over almost the entire length from one front side end to the other rear side end of the top plate 39 with the U-shaped opening directed upward in the figure. .

したがって、大重量の室内ユニット装置6を運搬する場合に、これら左右一対のロープガイド40a,40bに運搬用ロープを掛け、運搬中のロープの外れを未然に防止できる。   Therefore, when the heavy indoor unit device 6 is transported, the transporting rope is hung on the pair of left and right rope guides 40a and 40b, so that the rope being transported can be prevented from coming off.

また、ロープガイド40a,40bは室内ユニット装置6の筐体の強度を補強できるので、室内ユニット装置6の運搬時の室内ユニット装置6の変形や歪みの発生の防止または低減を図ることができる。   Moreover, since the rope guides 40a and 40b can reinforce the strength of the housing of the indoor unit device 6, it is possible to prevent or reduce the deformation and distortion of the indoor unit device 6 when the indoor unit device 6 is transported.

さらに、図5,図7に示すように室内ユニット装置6は、その上下一対の各室内ユニット2,3の背面側の吸込口21,21を含む開口を所要の間隔を置いてほぼ全面的にそれぞれ閉塞する、例えば板金製の背面パネル41a,41bを取付可能に構成されている。   Further, as shown in FIGS. 5 and 7, the indoor unit device 6 is configured so that the openings including the suction ports 21 and 21 on the back side of the pair of upper and lower indoor units 2 and 3 are almost entirely spaced with a predetermined interval. Each rear panel 41a, 41b made of sheet metal, for example, is configured to be attachable.

これら背面パネル41a,41bは、例えば空調負荷が小さいために、室内ユニット2,3の一方の運転を停止させる場合や故障で運転停止させる場合に、その一方の運転を停止させる室内ユニット2,3の背面に取り付けて吸込口21を閉塞することにより、吹出口22から吹き出された調温吹出風が吸込口21,21に吸い込まれるショートサーキットの防止または低減を図ることができる。   These rear panels 41a and 41b have, for example, a small air-conditioning load, so that when one operation of the indoor units 2 and 3 is stopped or when the operation is stopped due to a failure, the one of the indoor units 2 and 3 is stopped. It is possible to prevent or reduce a short circuit in which the temperature-controlled air blown from the air outlet 22 is sucked into the air inlets 21 and 21 by closing the air inlet 21 by attaching to the rear surface of the air outlet.

また、各室内ユニット2,3は、その左右側面に、その左右側面開口を閉塞する左右一対の板金製の側面パネル42a,42bを取付可能に構成されている。これら側面パネル42a,42bは取り付けない場合でも、インナーダクト24,25により通風路が確保され、空調運転可能であるので、取り付けなくてもよく、その場合はコスト低減と軽量化を図ることができる。側面パネル42a,42bを取り付ける場合には外観の向上を図ることができる。   Each of the indoor units 2 and 3 is configured such that a pair of left and right sheet metal side panels 42a and 42b for closing the left and right side openings can be attached to the left and right side surfaces. Even when these side panels 42a and 42b are not attached, the air ducts are secured by the inner ducts 24 and 25 and the air conditioning operation is possible. Therefore, the side panels 42a and 42b need not be attached. In that case, cost reduction and weight reduction can be achieved. . When the side panels 42a and 42b are attached, the appearance can be improved.

さらにまた、各室内ユニット2,3は、その機械室2b,3bの正面側に、その正面開口を閉塞する上下一対の板金製の上下一対の正面パネル43a,43bを取付可能に構成されている。上部の正面パネル43aの外面には、空調運転を操作するための操作部44を設けている。   Furthermore, each indoor unit 2, 3 is configured to be able to attach a pair of upper and lower front panels 43 a, 43 b made of sheet metal that closes the front opening to the front side of the machine room 2 b, 3 b. . An operation unit 44 for operating the air conditioning operation is provided on the outer surface of the upper front panel 43a.

このように構成された空気調和機1では、空調負荷とFC(フリークーリング)の冷却水温度とに基づいて、次の4つの運転モードにより運転制御される。
(1)外気温が低く、空調負荷が小さいときは、FCのみを運転し、冷凍サイクルは運転を停止する。FCは省電力であるので、FCを最大限利用する。
(2)上記(1)よりも空調負荷が所定値大きい場合は、冷凍サイクルの圧縮機を最小能力に固定して運転し、FCの能力を可変に制御する。FCの能力は図示省略の二方弁の開度制御と、水循環ポンプの回転数制御等により行われる。
(3)さらに、上記(2)よりも空調負荷が所定値大きい場合は、FCの能力を最大に固定(例えば二方弁の開度を全開(100%)に固定)し、冷凍サイクルの圧縮機の能力を可変に制御する。
(4)盛夏期等外気温が高く、FCの温水が高温である場合、FCを運転すると、冷房ではなく、むしろ暖房してしまうような状態ではFCの運転を停止し、冷凍サイクルのみを運転する。
In the air conditioner 1 configured as described above, the operation is controlled in the following four operation modes based on the air conditioning load and the cooling water temperature of FC (free cooling).
(1) When the outside air temperature is low and the air conditioning load is small, only the FC is operated, and the refrigeration cycle is stopped. Since FC saves power, it uses FC as much as possible.
(2) When the air conditioning load is larger than the above (1) by a predetermined value, the compressor of the refrigeration cycle is operated with the minimum capacity, and the FC capacity is controlled variably. The FC capacity is controlled by controlling the opening of a two-way valve (not shown) and controlling the rotational speed of a water circulation pump.
(3) Furthermore, when the air conditioning load is larger than the above (2), the FC capacity is fixed to the maximum (for example, the opening of the two-way valve is fully opened (100%)) and the refrigeration cycle is compressed. Variable control of the machine's ability.
(4) When the outside air temperature is high, such as in midsummer, and the hot water of the FC is hot, when the FC is operated, it is not cooled but rather it is heated, and the FC is stopped and only the refrigeration cycle is operated. To do.

このように空気調和機1によれば、冷凍サイクルとFCの連携制御が可能であり、また、空調負荷に応じて、これら両系の運転を統合的に制御できるので、省電力を図ることができる。   Thus, according to the air conditioner 1, cooperative control of the refrigeration cycle and FC can be performed, and the operation of both systems can be controlled in an integrated manner in accordance with the air conditioning load. it can.

そして、この空気調和機1によれば、2台の室内ユニット2,3を上下方向に積み重ねて複数段に形成しているので、これら室内ユニット2,3を横並びで設置する場合よりも、設置スペースの節約を図ることができる。   And according to this air conditioner 1, since the two indoor units 2 and 3 are stacked in a vertical direction and formed in a plurality of stages, the indoor units 2 and 3 are installed rather than side by side. Space can be saved.

さらに、冷凍サイクルの液側,ガス側配管接続端部17,18とFC系の入側,出側配管接続端部(図示省略)を上段の室内ユニット2の上端面上に設けたので、サーバルーム等室内の天井スペースを利用して冷媒系とFC系の配管を設けることにより、これら配管接続端部17,18との配管接続スペースの節約を図ることができる。これにより、図14に示すように複数の室内ユニット装置6を横並びで設置する場合、室内ユニット装置6を互いに密接して設置することが可能になり、設置スペースの節約を図ることができる上に、室内ユニット装置6の増設時や交換時において、配管類が邪魔になることがないので、室内ユニット装置6を追加、撤去作業が容易となる。   Further, since the liquid side and gas side pipe connection ends 17 and 18 of the refrigeration cycle and the inlet side and outlet side pipe connection ends (not shown) of the FC system are provided on the upper end surface of the upper indoor unit 2, the server By providing the refrigerant system and FC system pipes using the ceiling space in the room or the like, it is possible to save the pipe connection space between the pipe connection ends 17 and 18. As a result, when a plurality of indoor unit devices 6 are installed side by side as shown in FIG. 14, the indoor unit devices 6 can be installed in close contact with each other, and the installation space can be saved. When the indoor unit device 6 is added or replaced, the piping does not get in the way, so that the indoor unit device 6 can be added and removed easily.

また、この空気調和機1によれば、複数台の室内ユニット2,3を、室外ユニット4,5に対し並列に接続して、いわゆるマルチ接続しているので、これら室内ユニット2,3の一方が故障等により万一運転停止した場合でも、その他方により運転を継続できる。このために、高価なサーバや通信機器等、情報処理機器等が温度上昇によりダウンすることを防止または低減できる。   Further, according to the air conditioner 1, since a plurality of indoor units 2 and 3 are connected in parallel to the outdoor units 4 and 5 and are so-called multi-connected, one of the indoor units 2 and 3 is connected. Even if the operation stops due to a failure, etc., the operation can be continued by the other party. For this reason, it is possible to prevent or reduce an information processing device such as an expensive server or communication device from being down due to a temperature rise.

さらに、インナーダクト24,25は、室内熱交換器9,10や水熱交換器26,27の横幅とほぼ同一の流路の断面を有する空気流路を形成するので、圧損を低減できる。すなわち、吸込口21から室内ユニット2,3内に吸い込まれた空気が水熱交換器26,27、室内熱交換器9,10を経て室内ファン11,12に至るまでの空気流路に、拡幅や縮小が発生すると圧損が発生するが、インナーダクト24,25はこの空気流路の断面の横幅を、室内,水熱交換器9,10,26,27の横幅とほぼ同一に維持するので、圧損を低減できる。このために、室内ファン11,12の消費電力の節電を図ることができる。   Furthermore, since the inner ducts 24 and 25 form an air flow path having substantially the same cross section as the horizontal widths of the indoor heat exchangers 9 and 10 and the water heat exchangers 26 and 27, pressure loss can be reduced. That is, the air sucked into the indoor units 2 and 3 from the suction port 21 is widened in the air flow path from the water heat exchangers 26 and 27 and the indoor heat exchangers 9 and 10 to the indoor fans 11 and 12. However, the inner ducts 24 and 25 maintain the width of the cross section of the air flow path substantially the same as the width of the indoor and water heat exchangers 9, 10, 26 and 27. Pressure loss can be reduced. For this reason, the power consumption of the indoor fans 11 and 12 can be saved.

また、室内熱交換器9,10で発生したドレンを受ける第1のドレンパン31の受水口32を室内熱交換器9,10の下流側にて、インナーダクト24,25の下部に設け、この受水口32を有する第1のドレンパン31の図中上面と排水口33との高さを、室内ファン11,12の一次側の最大負圧よりも十分に低い負圧になるように形成している。   Further, a water receiving port 32 of the first drain pan 31 that receives the drain generated in the indoor heat exchangers 9 and 10 is provided at the lower part of the inner ducts 24 and 25 on the downstream side of the indoor heat exchangers 9 and 10. The height of the upper surface of the first drain pan 31 having the water port 32 in the figure and the drain port 33 is formed so as to be a negative pressure sufficiently lower than the maximum negative pressure on the primary side of the indoor fans 11 and 12. .

このために、負圧差により、第1のドレンパン31内のドレンを排水口33から第2のドレンパン35内へ強制的に排水できる。これにより、インナーダクト24,25の内底面にドレンが滞留することを低減できる。また、第2のドレンパン35のドレンは外部ドレン排水口部37から外部へ排水できる。さらに、万一、この外部ドレン排水口部37に詰まりが発生した場合でも予備ドレン管38により外部へ排水できる。   For this reason, the drain in the first drain pan 31 can be forcibly drained from the drain port 33 into the second drain pan 35 due to the negative pressure difference. Thereby, it is possible to reduce the retention of drain on the inner bottom surfaces of the inner ducts 24 and 25. Further, the drain of the second drain pan 35 can be drained to the outside from the external drain drain port 37. Furthermore, even if this external drain drain port 37 is clogged, it can be drained to the outside by the preliminary drain pipe 38.

さらにまた、室内熱交換器9,10の空気流下流側にて、インナーダクト24,25の底面に、傾斜板34を設けたので、室内,水熱交換器9,10,26,27から空気流に乗って飛散する飛沫状のドレンを傾斜板34により受けて、その下り傾斜面により第1のドレンパン31に案内し排水できる。これによっても、インナーダクト24,25の内底面に滞留するドレンの低減を図ることができる。   Furthermore, since the inclined plate 34 is provided on the bottom surface of the inner ducts 24 and 25 on the downstream side of the air flow of the indoor heat exchangers 9 and 10, air is passed from the indoor and water heat exchangers 9, 10, 26, and 27. Splash-like drain scattered on the flow is received by the inclined plate 34, and the first drain pan 31 can be guided and drained by the downward inclined surface. This also makes it possible to reduce drainage accumulated on the inner bottom surfaces of the inner ducts 24 and 25.

そして、適宜フリークーリング(FC)の水熱交換器26,27を追加し、併設できるので、冷凍サイクルを用いた空気調和機とFCによる水熱交換器とを別々に設置する場合に比して設置スペースの節約とコスト低減を図ることができる。   And, since free cooling (FC) water heat exchangers 26 and 27 can be added as appropriate, it is possible to install them side by side, compared to the case where an air conditioner using a refrigeration cycle and a water heat exchanger using FC are installed separately. The installation space can be saved and the cost can be reduced.

図10は上記室内ユニット2,3の変形例を示す平断面図である。この変形例は上記図3で示すインナーダクト24,25の室内ファン11,12側端部に、所要の直径に縮径する縮径部45を形成したものであり、これ以外の構成は上記図3で示すインナーダクト24,25と同様の構成である。   FIG. 10 is a plan sectional view showing a modification of the indoor units 2 and 3. In this modification, a diameter-reduced portion 45 that is reduced in diameter to a required diameter is formed at the end of the inner ducts 24, 25 shown in FIG. 3 on the indoor fan 11, 12 side. This is the same configuration as the inner ducts 24 and 25 shown in FIG.

この図10で示すインナーダクト24,25によれば、室内ファン11,12をインナーダクト24,25に取り付ける平板状の取付板24a,25aと、この取付板24a,25a側のインナーダクト24,25の一端とにより形成される角部に流入する空気流を縮径部45により室内ファン11,12へスムースに案内することができるので、流路抵抗を低減できる。このために、室内ファン11,12の消費電力の節約を図ることができる。   According to the inner ducts 24 and 25 shown in FIG. 10, flat mounting plates 24a and 25a for attaching the indoor fans 11 and 12 to the inner ducts 24 and 25, and the inner ducts 24 and 25 on the mounting plates 24a and 25a side. Since the reduced diameter portion 45 can smoothly guide the air flow flowing into the corner formed by one end of the indoor fan 11, 12, the flow path resistance can be reduced. For this reason, the power consumption of the indoor fans 11 and 12 can be saved.

図12は上記空気調和機1の変形例の全体構成を示す模式図である。この変形例は上記図1で示す室内ユニット2と室内ユニット3が並列に接続されたマルチ接続ではなく、室内ユニット2と室内ユニット3が独立して室外ユニット4,5にそれぞれ接続された1対1接続としたものである。この場合、室内ユニット2,3が並列に接続されていないため、分岐管は不要となる。また、室外ユニット4,5もマルチ接続に対応した室外ユニットではなく、より安価な1対1接続用の室外ユニットを用いることができる。   FIG. 12 is a schematic diagram showing an overall configuration of a modification of the air conditioner 1. This modification is not a multi-connection in which the indoor unit 2 and the indoor unit 3 shown in FIG. 1 are connected in parallel, but a pair in which the indoor unit 2 and the indoor unit 3 are independently connected to the outdoor units 4 and 5, respectively. One connection is used. In this case, since the indoor units 2 and 3 are not connected in parallel, a branch pipe becomes unnecessary. Also, the outdoor units 4 and 5 are not outdoor units that support multi-connection, and cheaper outdoor units for one-to-one connection can be used.

この図12に示す空気調和機1によれば、さらにコスト低減を図ることができる。   According to the air conditioner 1 shown in FIG. 12, further cost reduction can be achieved.

なお、上記機械室2b,3bでは、室内ユニット2,3の上下方向に単に連通する連通空間に形成する場合について述べたが、本発明はこれに限定されるものではなく、例えば機械室2b,3b内を室内ユニット2,3に対応して上下方向に仕切る仕切り板を設け、この仕切り板に、冷媒配管13や水配管等を貫通させる貫通孔を設けることにより、上下の機械室2b,3bを連通させてもよい。また、これら連通孔の所要数をノックアウト孔により形成してもよい。   In the machine rooms 2b and 3b, the case where the indoor units 2 and 3 are formed in a communication space that communicates in the vertical direction is described. However, the present invention is not limited to this. A partition plate for vertically partitioning the interior of 3b corresponding to the indoor units 2 and 3 is provided, and by providing a through-hole through which the refrigerant pipe 13 and the water pipe and the like penetrate the partition plate, the upper and lower machine chambers 2b and 3b are provided. May be communicated. Further, the required number of these communication holes may be formed by knockout holes.

図13は上記空気調和機1の他の変形例の全体構成を示す模式図である。この変形例は上記図1で示す液側,ガス側配管接続部17,18を最下段の室内ユニット3の下面に設けたものであり、これ以外の構成は上記図1で示す室内ユニット装置6と同様の構成である。この図13に示す空気調和機1においても設置スペースの節約によれば、さらにコスト低減を図ることができる。   FIG. 13 is a schematic diagram showing an overall configuration of another modification of the air conditioner 1. In this modification, the liquid-side and gas-side pipe connecting portions 17 and 18 shown in FIG. 1 are provided on the lower surface of the lowermost indoor unit 3, and the other configuration is the indoor unit device 6 shown in FIG. It is the same composition as. Also in the air conditioner 1 shown in FIG. 13, the cost can be further reduced by saving the installation space.

以上、本発明の幾つかの実施形態を説明したが、これらの実施形態は、例として提示したものであり、本発明の範囲を限定することは意図していない。これら新規な実施形態は、その他の様々な形態で実施されることが可能であり、本発明の要旨を逸脱しない範囲で、種々の省略、置換え、変更を行なうことができる。これら実施形態やその変形は、本発明の範囲や要旨に含まれるとともに、特許請求の範囲に記載された発明とその均等の範囲に含まれる。   As mentioned above, although several embodiment of this invention was described, these embodiment is shown as an example and is not intending limiting the range of this invention. These novel embodiments can be implemented in various other forms, and various omissions, substitutions, and changes can be made without departing from the scope of the present invention. These embodiments and modifications thereof are included in the scope and gist of the present invention, and are included in the invention described in the claims and the equivalents thereof.

1…空気調和機、2,3…室内ユニット、2b,3b…機械室、4,5…室外ユニット、9,10…室内熱交換器、11,12…室内ファン、13…冷媒配管、17…液側配管接続端部、18…ガス側配管接続端部、24,25…インナーダクト(通風路)、26,27…水熱交換器、31…第1のドレンパン、32…受水口、33…排水口、34…傾斜板、35…第2のドレンパン、36…第3のドレンパン、37…外部ドレン排水口部、39…天板、40a,40b…ロープガイド。   DESCRIPTION OF SYMBOLS 1 ... Air conditioner, 2, 3 ... Indoor unit, 2b, 3b ... Machine room, 4, 5 ... Outdoor unit, 9, 10 ... Indoor heat exchanger, 11, 12 ... Indoor fan, 13 ... Refrigerant piping, 17 ... Liquid side pipe connection end, 18 ... Gas side pipe connection end, 24, 25 ... Inner duct (ventilation path), 26, 27 ... Water heat exchanger, 31 ... First drain pan, 32 ... Water inlet, 33 ... Drain port, 34 ... inclined plate, 35 ... second drain pan, 36 ... third drain pan, 37 ... external drain drain port portion, 39 ... top plate, 40a, 40b ... rope guide.

Claims (6)

機械室をそれぞれ有する複数台の室内ユニットと少なくとも1台の室外ユニットとを有する空気調和機において、
前記複数台の室内ユニットを上下方向に重ねて複数段に形成し、これら室内ユニットの各機械室同士を上下方向に連通させ、前記室外ユニットの配管に接続される前記室内ユニットの配管接続端部を、前記最上段の室内ユニットの上部に設けたことを特徴とする空気調和機。
In an air conditioner having a plurality of indoor units each having a machine room and at least one outdoor unit,
The plurality of indoor units are vertically stacked to form a plurality of stages, the machine rooms of these indoor units communicate with each other in the vertical direction, and the pipe connection end of the indoor unit connected to the pipe of the outdoor unit Is provided above the uppermost indoor unit.
前記各室内ユニットは、その内部に、熱交換器、これに空気を送風するファンおよび空気吸込口と空気吹出口に連通し前記ファンの送風を通風させる通風路を設け、前記熱交換器同士は前記機械室内で配管により並列に連結されていることを特徴とする請求項1記載の空気調和機。 Each of the indoor units is provided with a heat exchanger, a fan for blowing air to the indoor unit, an air intake port and an air outlet for communicating with the air blower, and the heat exchangers The air conditioner according to claim 1, wherein the air conditioners are connected in parallel by piping in the machine room. 前記各室内ユニットは、前記熱交換器からのドレンを受ける第1のドレンパンをそれぞれ具備していることを特徴とする請求項2記載の空気調和機。 The air conditioner according to claim 2, wherein each of the indoor units includes a first drain pan that receives drain from the heat exchanger. 前記各室内ユニットは、前記第1のドレンパンと前記機械室内の配管からのドレンを受ける第2のドレンパンを具備していることを特徴とする請求項3記載の空気調和機。 4. The air conditioner according to claim 3, wherein each of the indoor units includes a second drain pan that receives drain from the first drain pan and piping in the machine room. 5. 最上段の室内ユニットの上端に天板を設け、この天板に運搬用ロープを掛止させるロープガイドを形成したことを特徴とする請求項1ないし4のいずれか一記載の空気調和機。 The air conditioner according to any one of claims 1 to 4, wherein a top plate is provided at an upper end of the uppermost indoor unit, and a rope guide is formed on the top plate for hooking a transport rope. 前記室内ユニットの運転を停止させる場合に、前記空気吸込口を閉鎖するパネルを取付可能としたことを特徴とする請求項2ないし5のいずれかに一記載の空気調和機。 The air conditioner according to any one of claims 2 to 5, wherein when the operation of the indoor unit is stopped, a panel for closing the air suction port can be attached.
JP2013091831A 2013-04-24 2013-04-24 Air conditioner Active JP6126447B2 (en)

Priority Applications (3)

Application Number Priority Date Filing Date Title
JP2013091831A JP6126447B2 (en) 2013-04-24 2013-04-24 Air conditioner
PCT/JP2014/060664 WO2014175109A1 (en) 2013-04-24 2014-04-15 Air conditioner
TW103114393A TW201512605A (en) 2013-04-24 2014-04-21 Air conditioner

Applications Claiming Priority (1)

Application Number Priority Date Filing Date Title
JP2013091831A JP6126447B2 (en) 2013-04-24 2013-04-24 Air conditioner

Publications (2)

Publication Number Publication Date
JP2014214948A true JP2014214948A (en) 2014-11-17
JP6126447B2 JP6126447B2 (en) 2017-05-10

Family

ID=51791688

Family Applications (1)

Application Number Title Priority Date Filing Date
JP2013091831A Active JP6126447B2 (en) 2013-04-24 2013-04-24 Air conditioner

Country Status (3)

Country Link
JP (1) JP6126447B2 (en)
TW (1) TW201512605A (en)
WO (1) WO2014175109A1 (en)

Cited By (5)

* Cited by examiner, † Cited by third party
Publication number Priority date Publication date Assignee Title
JP2017146026A (en) * 2016-02-17 2017-08-24 東芝キヤリア株式会社 Air conditioner
JP2018205426A (en) * 2017-05-31 2018-12-27 株式会社荏原製作所 Silencing unit and silencing structure using the same
JP2020085412A (en) * 2018-11-30 2020-06-04 国立研究開発法人農業・食品産業技術総合研究機構 Heat exchanger
JP2020527800A (en) * 2017-07-14 2020-09-10 イナーテック アイピー エルエルシー Modular air cooling and distribution system and method
JP7648933B1 (en) 2023-09-29 2025-03-19 ダイキン工業株式会社 Refrigeration Cycle Equipment

Families Citing this family (1)

* Cited by examiner, † Cited by third party
Publication number Priority date Publication date Assignee Title
US11384972B2 (en) * 2018-08-17 2022-07-12 Mitsubishi Electric Corporation Free cooling system

Citations (10)

* Cited by examiner, † Cited by third party
Publication number Priority date Publication date Assignee Title
JP2000283548A (en) * 1999-03-29 2000-10-13 Sanyo Electric Co Ltd Built-in air conditioner
US20090188264A1 (en) * 2008-01-25 2009-07-30 Philip Chappelle Fair Modular in-frame pumped refrigerant distribution and heat removal system
US20090241578A1 (en) * 2008-03-31 2009-10-01 Exaflop Llc Warm Floor Data Center
JP2010243081A (en) * 2009-04-07 2010-10-28 Hitachi Appliances Inc Air conditioner indoor unit
US20110056651A1 (en) * 2008-05-05 2011-03-10 Carrier Corporation Integrated computer equipment container and cooling unit
JP2011220665A (en) * 2010-03-23 2011-11-04 Kanden Energy Solution Co Inc Air conditioning system
US20120138285A1 (en) * 2010-12-01 2012-06-07 Hitachi, Ltd. Electronic apparatus rack and data center
US20120302150A1 (en) * 2008-10-31 2012-11-29 Ty Schmitt System And Method For Vertically Stacked Information Handling System And Infrastructure Enclosures
US20130010423A1 (en) * 2010-04-16 2013-01-10 Exaflop LLC, a Delaware corporation Evaporative Induction Cooling
US20130019627A1 (en) * 2010-03-30 2013-01-24 Nec Corporation Cooling apparatus and cooling system for electronic-device exhaustion

Patent Citations (10)

* Cited by examiner, † Cited by third party
Publication number Priority date Publication date Assignee Title
JP2000283548A (en) * 1999-03-29 2000-10-13 Sanyo Electric Co Ltd Built-in air conditioner
US20090188264A1 (en) * 2008-01-25 2009-07-30 Philip Chappelle Fair Modular in-frame pumped refrigerant distribution and heat removal system
US20090241578A1 (en) * 2008-03-31 2009-10-01 Exaflop Llc Warm Floor Data Center
US20110056651A1 (en) * 2008-05-05 2011-03-10 Carrier Corporation Integrated computer equipment container and cooling unit
US20120302150A1 (en) * 2008-10-31 2012-11-29 Ty Schmitt System And Method For Vertically Stacked Information Handling System And Infrastructure Enclosures
JP2010243081A (en) * 2009-04-07 2010-10-28 Hitachi Appliances Inc Air conditioner indoor unit
JP2011220665A (en) * 2010-03-23 2011-11-04 Kanden Energy Solution Co Inc Air conditioning system
US20130019627A1 (en) * 2010-03-30 2013-01-24 Nec Corporation Cooling apparatus and cooling system for electronic-device exhaustion
US20130010423A1 (en) * 2010-04-16 2013-01-10 Exaflop LLC, a Delaware corporation Evaporative Induction Cooling
US20120138285A1 (en) * 2010-12-01 2012-06-07 Hitachi, Ltd. Electronic apparatus rack and data center

Cited By (9)

* Cited by examiner, † Cited by third party
Publication number Priority date Publication date Assignee Title
JP2017146026A (en) * 2016-02-17 2017-08-24 東芝キヤリア株式会社 Air conditioner
JP2018205426A (en) * 2017-05-31 2018-12-27 株式会社荏原製作所 Silencing unit and silencing structure using the same
JP2020527800A (en) * 2017-07-14 2020-09-10 イナーテック アイピー エルエルシー Modular air cooling and distribution system and method
JP2024109941A (en) * 2017-07-14 2024-08-14 イナーテック アイピー エルエルシー Modular air cooling and distribution system and method
JP2020085412A (en) * 2018-11-30 2020-06-04 国立研究開発法人農業・食品産業技術総合研究機構 Heat exchanger
JP7082814B2 (en) 2018-11-30 2022-06-09 国立研究開発法人農業・食品産業技術総合研究機構 Heat exchanger
JP7648933B1 (en) 2023-09-29 2025-03-19 ダイキン工業株式会社 Refrigeration Cycle Equipment
WO2025069668A1 (en) * 2023-09-29 2025-04-03 ダイキン工業株式会社 Refrigeration cycle device
JP2025059998A (en) * 2023-09-29 2025-04-10 ダイキン工業株式会社 Refrigeration Cycle Equipment

Also Published As

Publication number Publication date
TW201512605A (en) 2015-04-01
JP6126447B2 (en) 2017-05-10
WO2014175109A1 (en) 2014-10-30

Similar Documents

Publication Publication Date Title
CN113124467B (en) Kitchen air conditioning system
US8286445B2 (en) Water-cooled air conditioner
JP4263740B2 (en) Modular rooftop air conditioning system configuration
JP6126447B2 (en) Air conditioner
US10274208B2 (en) Air conditioner
US11519615B2 (en) Outdoor unit of an air conditioner
US20100041327A1 (en) Apparatus, system and method for air conditioning using fans located under flooring
US20130269385A1 (en) Air conditioning system for utilizing outside air and air conditioning device thereof
WO2016166988A1 (en) Compressor unit, heat source unit, and air conditioner
CN108119963B (en) Outdoor unit and air conditioner having the same
EP3081870B1 (en) Air conditioner
JP2014005954A (en) Indoor equipment of air-conditioning device
JP5123018B2 (en) Air conditioner
JP5743685B2 (en) Refrigeration air conditioning system
JP6618517B2 (en) Air conditioning structure
JP2013134011A (en) Air conditioner and air conditioning system
JP2014047970A (en) Refrigerant pipe structure of air conditioner
CN108027153B (en) Outdoor machine
US11435093B2 (en) Air-conditioning outdoor device and air conditioner unit
JP2012063049A (en) Air conditioning system for data center
US7007498B2 (en) HVAC cabinet with configurable duct connections
KR101198457B1 (en) Water cooling type air conditioner
EP3961111B1 (en) Ceiling-embedded indoor unit and air-conditioning device
CN111868391A (en) Fan and air conditioning unit including the same
CN107965855B (en) Air conditioner outdoor unit and air conditioning unit

Legal Events

Date Code Title Description
A621 Written request for application examination

Free format text: JAPANESE INTERMEDIATE CODE: A621

Effective date: 20160420

A131 Notification of reasons for refusal

Free format text: JAPANESE INTERMEDIATE CODE: A131

Effective date: 20161025

A521 Request for written amendment filed

Free format text: JAPANESE INTERMEDIATE CODE: A523

Effective date: 20161226

TRDD Decision of grant or rejection written
A01 Written decision to grant a patent or to grant a registration (utility model)

Free format text: JAPANESE INTERMEDIATE CODE: A01

Effective date: 20170328

A61 First payment of annual fees (during grant procedure)

Free format text: JAPANESE INTERMEDIATE CODE: A61

Effective date: 20170407

R150 Certificate of patent or registration of utility model

Ref document number: 6126447

Country of ref document: JP

Free format text: JAPANESE INTERMEDIATE CODE: R150

S111 Request for change of ownership or part of ownership

Free format text: JAPANESE INTERMEDIATE CODE: R313115

R350 Written notification of registration of transfer

Free format text: JAPANESE INTERMEDIATE CODE: R350

R250 Receipt of annual fees

Free format text: JAPANESE INTERMEDIATE CODE: R250

R250 Receipt of annual fees

Free format text: JAPANESE INTERMEDIATE CODE: R250

R250 Receipt of annual fees

Free format text: JAPANESE INTERMEDIATE CODE: R250

R250 Receipt of annual fees

Free format text: JAPANESE INTERMEDIATE CODE: R250

R250 Receipt of annual fees

Free format text: JAPANESE INTERMEDIATE CODE: R250

R250 Receipt of annual fees

Free format text: JAPANESE INTERMEDIATE CODE: R250

S111 Request for change of ownership or part of ownership

Free format text: JAPANESE INTERMEDIATE CODE: R313115

R350 Written notification of registration of transfer

Free format text: JAPANESE INTERMEDIATE CODE: R350