JP2014005954A - Indoor equipment of air-conditioning device - Google Patents

Indoor equipment of air-conditioning device Download PDF

Info

Publication number
JP2014005954A
JP2014005954A JP2012140044A JP2012140044A JP2014005954A JP 2014005954 A JP2014005954 A JP 2014005954A JP 2012140044 A JP2012140044 A JP 2012140044A JP 2012140044 A JP2012140044 A JP 2012140044A JP 2014005954 A JP2014005954 A JP 2014005954A
Authority
JP
Japan
Prior art keywords
unit
heat exchanger
blower
indoor unit
air
Prior art date
Legal status (The legal status is an assumption and is not a legal conclusion. Google has not performed a legal analysis and makes no representation as to the accuracy of the status listed.)
Pending
Application number
JP2012140044A
Other languages
Japanese (ja)
Inventor
Kazuhiro Fukuda
一弘 福田
Current Assignee (The listed assignees may be inaccurate. Google has not performed a legal analysis and makes no representation or warranty as to the accuracy of the list.)
Mitsubishi Electric Corp
Original Assignee
Mitsubishi Electric Corp
Priority date (The priority date is an assumption and is not a legal conclusion. Google has not performed a legal analysis and makes no representation as to the accuracy of the date listed.)
Filing date
Publication date
Application filed by Mitsubishi Electric Corp filed Critical Mitsubishi Electric Corp
Priority to JP2012140044A priority Critical patent/JP2014005954A/en
Priority to US13/710,510 priority patent/US20130340972A1/en
Publication of JP2014005954A publication Critical patent/JP2014005954A/en
Pending legal-status Critical Current

Links

Images

Classifications

    • FMECHANICAL ENGINEERING; LIGHTING; HEATING; WEAPONS; BLASTING
    • F28HEAT EXCHANGE IN GENERAL
    • F28FDETAILS OF HEAT-EXCHANGE AND HEAT-TRANSFER APPARATUS, OF GENERAL APPLICATION
    • F28F17/00Removing ice or water from heat-exchange apparatus
    • FMECHANICAL ENGINEERING; LIGHTING; HEATING; WEAPONS; BLASTING
    • F24HEATING; RANGES; VENTILATING
    • F24FAIR-CONDITIONING; AIR-HUMIDIFICATION; VENTILATION; USE OF AIR CURRENTS FOR SCREENING
    • F24F1/00Room units for air-conditioning, e.g. separate or self-contained units or units receiving primary air from a central station
    • F24F1/0007Indoor units, e.g. fan coil units
    • F24F1/0011Indoor units, e.g. fan coil units characterised by air outlets
    • FMECHANICAL ENGINEERING; LIGHTING; HEATING; WEAPONS; BLASTING
    • F28HEAT EXCHANGE IN GENERAL
    • F28FDETAILS OF HEAT-EXCHANGE AND HEAT-TRANSFER APPARATUS, OF GENERAL APPLICATION
    • F28F9/00Casings; Header boxes; Auxiliary supports for elements; Auxiliary members within casings
    • FMECHANICAL ENGINEERING; LIGHTING; HEATING; WEAPONS; BLASTING
    • F24HEATING; RANGES; VENTILATING
    • F24FAIR-CONDITIONING; AIR-HUMIDIFICATION; VENTILATION; USE OF AIR CURRENTS FOR SCREENING
    • F24F13/00Details common to, or for air-conditioning, air-humidification, ventilation or use of air currents for screening
    • F24F13/22Means for preventing condensation or evacuating condensate
    • F24F13/222Means for preventing condensation or evacuating condensate for evacuating condensate
    • FMECHANICAL ENGINEERING; LIGHTING; HEATING; WEAPONS; BLASTING
    • F24HEATING; RANGES; VENTILATING
    • F24FAIR-CONDITIONING; AIR-HUMIDIFICATION; VENTILATION; USE OF AIR CURRENTS FOR SCREENING
    • F24F13/00Details common to, or for air-conditioning, air-humidification, ventilation or use of air currents for screening
    • F24F13/30Arrangement or mounting of heat-exchangers

Landscapes

  • Engineering & Computer Science (AREA)
  • Mechanical Engineering (AREA)
  • General Engineering & Computer Science (AREA)
  • Physics & Mathematics (AREA)
  • Thermal Sciences (AREA)
  • Chemical & Material Sciences (AREA)
  • Combustion & Propulsion (AREA)
  • Air Filters, Heat-Exchange Apparatuses, And Housings Of Air-Conditioning Units (AREA)
  • Devices For Blowing Cold Air, Devices For Blowing Warm Air, And Means For Preventing Water Condensation In Air Conditioning Units (AREA)

Abstract

【課題】配管の取り出し位置の変更が容易となっている空気調和装置の室内機を提供することを目的としている。
【解決手段】熱交換器ユニットは、当該熱交換器ユニットの底面及び上面の関係を維持した状態で前後に反転させて、一対の開口部が選択的に送風機ユニットの吹出口に接続可能であり、送風機ユニットは、吹出口が熱交換器ユニットの一対の開口部うちの選択された方の開口部に、上下に反転させて接続可能である。
【選択図】図8
An object of the present invention is to provide an indoor unit of an air conditioner in which a change of a pipe take-out position is easy.
The heat exchanger unit can be reversed back and forth while maintaining the relationship between the bottom surface and the top surface of the heat exchanger unit, and a pair of openings can be selectively connected to the blower outlet of the blower unit. The blower unit can be connected to the opening of the pair of openings of the heat exchanger unit that is turned upside down.
[Selection] Figure 8

Description

本発明は、空気調和装置の室内機に関するものである。   The present invention relates to an indoor unit of an air conditioner.

従来の天埋め型の室内機には、据え付け向きが一方向に固定されている送風機ユニットと、熱交換器ユニットとを連結するものが提案されている(たとえば、特許文献1参照)。
特許文献1に記載の技術は、据え付け向きが一方向であり、室内機内に設けられた熱交換器に接続される冷媒配管の引き出し部についても、室内機の側面のいずれか一方に設けられている。
A conventional buried type indoor unit has been proposed in which a blower unit whose installation direction is fixed in one direction and a heat exchanger unit are connected (for example, see Patent Document 1).
In the technique described in Patent Document 1, the installation direction is unidirectional, and the refrigerant piping drawer connected to the heat exchanger provided in the indoor unit is also provided on either one of the side surfaces of the indoor unit. Yes.

特開2009−41836号公報(たとえば、図1及び図2参照)JP 2009-41836 A (see, for example, FIGS. 1 and 2)

特許文献1に記載の技術では、ホテルなどのように客室内の作りが左右対称である客室に室内機を設置する場合には、隣室同士の各冷媒配管の引き回し時に、ユニットを一周するように配管施工する必要がある。この一例について以下に説明する。
右側の客室と左側の客室の作りが左右対称であるとき、右側の客室用の室内機と、左側の客室用の室内機とが並ぶように配置され、これらの室内機の間に冷媒配管の主管が配置される場合がある。この場合において、室内機内に設けられた熱交換器に接続される冷媒配管が室内機の右側の側面に設けられているとしたとき、左側の客室用の室内機については直線的に冷媒配管の主管に接続することができるが、右側の客室用の室内機については、当該室内機の左側まで室内機の周囲を引き回してからでないと冷媒配管の主管に接続することができない。
すなわち、特許文献1に記載の技術では、室内機の周囲を引き回してからでないと冷媒配管の主管に接続することができず、室内機の周囲を回りこむ形で新たな配管を追加している。
In the technique described in Patent Document 1, when installing an indoor unit in a guest room where the interior of the guest room is symmetrical as in a hotel or the like, the unit is circulated when each refrigerant pipe is routed between adjacent rooms. It is necessary to install piping. An example of this will be described below.
When the right and left guest rooms are symmetric, the right indoor unit and the left indoor unit are arranged side by side, and the refrigerant piping is placed between these indoor units. A main pipe may be arranged. In this case, when the refrigerant pipe connected to the heat exchanger provided in the indoor unit is provided on the right side surface of the indoor unit, the indoor unit for the left cabin is linearly connected to the refrigerant pipe. Although it can be connected to the main pipe, the indoor unit for the right guest room cannot be connected to the main pipe of the refrigerant pipe unless it is routed around the indoor unit to the left side of the indoor unit.
That is, in the technique described in Patent Document 1, it is not possible to connect to the main pipe of the refrigerant pipe unless the surroundings of the indoor unit is routed, and a new pipe is added so as to go around the indoor unit. .

また、老朽化により室内機を入れ替える場合においても、天井内に既設の冷媒配管や排水配管はそのまま使用することが多く、入れ替え用の室内機の配管取り出し方向は既設配管の状況に応じて変更する必要がある。
この場合においても、特許文献1に記載の技術では、入れ替え用の室内機の配管取り出し方向は既設配管の状況に応じて変更するため、新たな配管などを追加する必要がある。
In addition, when replacing indoor units due to aging, existing refrigerant pipes and drain pipes are often used as they are in the ceiling, and the direction of taking out the pipes for replacement indoor units is changed according to the conditions of the existing pipes. There is a need.
Even in this case, in the technique described in Patent Document 1, the piping take-out direction of the replacement indoor unit is changed according to the state of the existing piping, so that it is necessary to add new piping or the like.

しかしながら、この新たな配管を追加すると、施工現場での配管作業に要する時間及び労力、配管長(材料)の増加、配管接続部の増加による接続部からの冷媒漏れリスクの増加、及び配管の振動による騒音増加や疲労損壊などが伴う可能性があるという課題があった。   However, when this new pipe is added, the time and labor required for piping work at the construction site, an increase in pipe length (material), an increased risk of refrigerant leakage from the connection due to an increase in the pipe connection, and vibration of the pipe There was a problem that there was a possibility of noise increase and fatigue damage due to the damage.

なお、上記課題を解決するために、ユニットの設置姿勢を上下反転させることで配管方向を反転し、設置場所に適した方向に変更する方法が考えられる。しかし、この方法では、室内機ユニット全体を上下両用形態にするためには、熱交換器からの結露水を受けるためのドレンパンの取付位置を変えるか、或いは、上下両側にドレンパンを取り付けておくことが必要になる。
しかし、ドレンパンの取付位置の変更をしたり、上下両側にドレンパンを取り付けたりすると、その分、コストアップが生じてしまうことになる。また、熱交換器の取り付け姿勢を前後反転する対応が必要になり、重量増加や大幅な部品点数増加を招くなどの新たな問題が生じうる。
In order to solve the above problem, a method is conceivable in which the installation direction of the unit is inverted upside down to reverse the piping direction and change the direction to a direction suitable for the installation location. However, in this method, in order to make the whole indoor unit unit up and down, either change the installation position of the drain pan for receiving condensed water from the heat exchanger, or install the drain pan on both the upper and lower sides. Is required.
However, if the installation position of the drain pan is changed or the drain pan is attached to both the upper and lower sides, the cost will increase accordingly. In addition, it becomes necessary to reverse the mounting orientation of the heat exchanger, and new problems such as an increase in weight and a significant increase in the number of parts may occur.

本発明は、以上のような課題のうちの少なくとも1つを解決するためになされたもので、配管の取り出し位置の変更を容易とすることを実現する空気調和装置の室内機を提供することを目的としている。   The present invention has been made to solve at least one of the problems as described above, and provides an indoor unit of an air conditioner that realizes facilitating the change of the piping extraction position. It is aimed.

本発明に係る空気調和装置の室内機は、吸込口及び吹出口を有し、送風機が収納された送風機ユニットと、対向位置に一対の開口部が形成され、室内機側熱交換器が収容された熱交換器ユニットと、を有し、熱交換器ユニットは、当該熱交換器ユニットの底面及び上面の関係を維持した状態で前後に反転させて、一対の開口部が選択的に送風機ユニットの吹出口に接続可能であり、送風機ユニットは、吹出口が熱交換器ユニットの一対の開口部のうちの選択された方の開口部に、上下に反転させて接続可能である。   An indoor unit of an air conditioner according to the present invention has a suction port and a blower outlet, a blower unit in which a blower is housed, a pair of openings are formed at opposing positions, and an indoor unit side heat exchanger is housed. A heat exchanger unit, and the heat exchanger unit is reversed in the front-rear direction while maintaining the relationship between the bottom surface and the top surface of the heat exchanger unit, and the pair of openings are selectively connected to the fan unit. The blower unit can be connected to the blower outlet, and the blower unit can be connected to the selected opening part of the pair of opening parts of the heat exchanger unit by being inverted up and down.

本発明に係る空気調和装置の室内機によれば、送風機ユニットを上下反転可能とし、熱交換器ユニットを前後反転可能としているので、配管引出部の位置の変更が容易である分、配管の取り出し位置の変更も容易である。   According to the indoor unit of the air conditioner according to the present invention, the blower unit can be turned upside down and the heat exchanger unit can be turned upside down. The position can be easily changed.

本発明の実施の形態に係る空気調和装置の室内機の模式図である。It is a mimetic diagram of an indoor unit of an air harmony device concerning an embodiment of the invention. 図1に示す送風機ユニットと熱交換器ユニットとの連結状態を変化させた状態の断面図である。It is sectional drawing of the state which changed the connection state of the air blower unit and heat exchanger unit shown in FIG. 図1に示す室内機のドレンパンの斜視図である。It is a perspective view of the drain pan of the indoor unit shown in FIG. 本発明の実施の形態に係る室内機の分解斜視図である。It is a disassembled perspective view of the indoor unit which concerns on embodiment of this invention. 本発明の実施の形態に係る送風機ユニットの斜視図である。It is a perspective view of the air blower unit which concerns on embodiment of this invention. 本発明の電気品箱の斜視図である。It is a perspective view of the electrical component box of this invention. 本発明の実施の形態に係る空気調和装置の室内機の吹出口部の付近の説明図である。It is explanatory drawing of the vicinity of the blower outlet part of the indoor unit of the air conditioning apparatus which concerns on embodiment of this invention. 本発明の実施の形態に係る室内機の配管取出し方向の説明図である。It is explanatory drawing of the piping extraction direction of the indoor unit which concerns on embodiment of this invention. 図1に示す室内機の状態から送風機ユニットを上下反転させた場合の熱交換器に供給される風量の説明図である。It is explanatory drawing of the air volume supplied to the heat exchanger at the time of flipping a fan unit upside down from the state of the indoor unit shown in FIG. 図1に示す室内機の熱交換器に供給される風量の説明図である。It is explanatory drawing of the air volume supplied to the heat exchanger of the indoor unit shown in FIG. 図9及び図10に示す(1)〜(3)のグラフが熱交換器のどの位置に対応する結果であるかを説明する図である。It is a figure explaining which position of the heat exchanger corresponds to the graph of (1)-(3) shown in FIG.9 and FIG.10.

以下、本発明の実施の形態を図面に基づいて説明する。
実施の形態.
図1は、実施の形態に係る空気調和装置の室内機100の模式図である。図2は、図1に示す送風機ユニット50と熱交換器ユニット10との連結状態を変化させた状態の断面図である。図3は、図1に示す室内機100のドレンパン3の斜視図である。図4は、実施の形態に係る室内機100の分解斜視図である。図1〜図4を参照して、空気調和装置の室内機100の構成について説明する。
なお、図2は、図1に示す送風機ユニット50の上下を反転させ、図1に示す熱交換器ユニット10の上下を反転させないで前後のみ反転させた状態の断面図である。以下の説明において、図1の送風機ユニット50と送風機ユニット50との連結状態を連結状態Aと称し、図3の連結状態を連結状態Bと称する。また、以下の図面では、各構成の大きさや形状が一部異なる場合がある。
本実施の形態に係る室内機100は、コストアップの抑制、部品点数増加の抑制、本体重量増加の抑制、冷媒漏れリスクの低減及び空調性能低下の抑制などを実現しながら、室内機100に接続される配管の取り出し位置の変更を容易とする改良が加えられたものである。
Hereinafter, embodiments of the present invention will be described with reference to the drawings.
Embodiment.
Drawing 1 is a mimetic diagram of indoor unit 100 of the air harmony device concerning an embodiment. FIG. 2 is a cross-sectional view of a state in which the connection state between the blower unit 50 and the heat exchanger unit 10 illustrated in FIG. 1 is changed. FIG. 3 is a perspective view of the drain pan 3 of the indoor unit 100 shown in FIG. FIG. 4 is an exploded perspective view of the indoor unit 100 according to the embodiment. With reference to FIGS. 1-4, the structure of the indoor unit 100 of an air conditioning apparatus is demonstrated.
2 is a cross-sectional view showing a state where the blower unit 50 shown in FIG. 1 is turned upside down and the heat exchanger unit 10 shown in FIG. 1 is turned upside down without being turned upside down. In the following description, the connection state between the blower unit 50 and the blower unit 50 in FIG. 1 is referred to as a connection state A, and the connection state in FIG. In the following drawings, the size and shape of each component may be partially different.
The indoor unit 100 according to the present embodiment is connected to the indoor unit 100 while realizing an increase in cost, a reduction in the number of components, an increase in the body weight, a reduction in refrigerant leakage risk, a reduction in air conditioning performance, and the like. The improvement which makes easy the change of the taking-out position of piping to be performed is added.

[構成説明]
室内機100は、蒸発器や凝縮器として機能する室内機側熱交換器2が設けられた熱交換器ユニット10と、室内機100内に空気を取り込んだ後に室内機100外に空気を放出する送風機4が設けられた送風機ユニット50とを有している。なお、図1及び図2の連結状態において、室内機100の熱交換器ユニット10と送風機ユニット50とが連結されている状態を図示しているが、熱交換器ユニット10と送風機ユニット50とは、分離することができるようになっている。室内機100は、図2に示すように、たとえば、天井裏(天井6の上面)に設置される天埋め型として利用される。
[Description of configuration]
The indoor unit 100 and the heat exchanger unit 10 provided with the indoor unit side heat exchanger 2 functioning as an evaporator and a condenser, and the air is taken into the indoor unit 100 and then released to the outside of the indoor unit 100. It has a blower unit 50 provided with a blower 4. In addition, although the heat exchanger unit 10 and the air blower unit 50 of the indoor unit 100 are illustrated in the connected state in FIGS. 1 and 2, the heat exchanger unit 10 and the air blower unit 50 are illustrated as follows. Can be separated. As shown in FIG. 2, the indoor unit 100 is used, for example, as a ceiling-mounted type installed on the back of the ceiling (the upper surface of the ceiling 6).

(熱交換器ユニット10)
熱交換器ユニット10は、送風機ユニット50から空気が供給されるように送風機ユニット50と連結して設けられるものである。熱交換器ユニット10は、外郭として、略直方体であってそのうちの対向する2面が開放された筐体11を有している。
また、熱交換器ユニット10には、「送風機ユニット50から供給される空気と、図示省略の室外機から供給された冷媒とを熱交換させる室内機側熱交換器2」と、「室内機側熱交換器2で生成された結露水(ドレン水)を貯留するドレンパン3」とが筐体11に搭載されている。
さらに、送風機ユニット50は、上下を反転させることなく、前後を反転させて熱交換器ユニット10に連結させることができる。より詳細には、図1の連結状態Aから送風機ユニット50の前後を反転させると、後述の吹出口部14側が、送風機ユニット50側に連結されることとなる。なお、上下を反転させないようにしているのは、ドレンパン3の位置が室内機側熱交換器2の上側とならないようにするためである。
(Heat exchanger unit 10)
The heat exchanger unit 10 is connected to the blower unit 50 so that air is supplied from the blower unit 50. The heat exchanger unit 10 has a casing 11 that is a substantially rectangular parallelepiped and has two opposing surfaces open as an outer shell.
The heat exchanger unit 10 includes “an indoor unit side heat exchanger 2 that exchanges heat between air supplied from the blower unit 50 and refrigerant supplied from an outdoor unit (not shown)”, and “ A drain pan 3 ”that stores the condensed water (drain water) generated by the heat exchanger 2 is mounted on the casing 11.
Further, the blower unit 50 can be connected to the heat exchanger unit 10 by reversing the front and rear without reversing the top and bottom. More specifically, when the front and rear of the blower unit 50 are reversed from the connection state A in FIG. 1, the blower outlet portion 14 side described later is connected to the blower unit 50 side. The reason why the top and bottom are not reversed is to prevent the position of the drain pan 3 from being above the indoor unit side heat exchanger 2.

(筐体11)
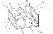
筐体11は、図4に示すように、熱交換器ユニット10の外郭を構成するものであり、送風機ユニット50側と、その反対側とが開放されている。すなわち、筐体11は、「送風機ユニット50側の側面を構成する連結側側面部12に形成された開口部13A」が形成され、「開口部13A側と対向するように形成され、筐体11内の空気を放出するための開口部13B」が形成され、「開口部13Aと開口部13Bとの間には、送風機ユニット50側から供給される空気が流れる風路13C」が形成されている。
また、筐体11には、「開口部13A及び開口部13Bのうち、送風機ユニット50側でない方に設けられる吹出口14部」が着脱自在に取り付けられ、「室内機側熱交換器2に接続される冷媒配管が筐体11内外を連通させるようにする配管引出部10A」が設けられている。
(Case 11)
As shown in FIG. 4, the housing 11 constitutes the outer shell of the heat exchanger unit 10, and the blower unit 50 side and the opposite side are open. That is, the housing 11 is formed with “opening 13A formed in the connecting side surface portion 12 constituting the side surface on the side of the blower unit 50” and is formed so as to face the opening 13A side. The opening 13B for discharging the air inside ”is formed, and“ the air passage 13C through which the air supplied from the blower unit 50 side flows ”is formed between the opening 13A and the opening 13B. .
In addition, the casing 11 is detachably attached with “the air outlet 14 portion provided on the side of the opening 13A and the opening 13B that is not on the fan unit 50 side”, and is connected to the “indoor unit-side heat exchanger 2”. A pipe lead-out portion 10 </ b> A ”is provided to allow the refrigerant pipe to be communicated between the inside and outside of the housing 11.

ここで、筐体11は、図1及び図4において、「開口部13A側」で送風機ユニット50と連結している状態を示しているが、「吹出口部14側」で送風機ユニット50に連結させることも可能となっている。すなわち、筐体11は、図1及び図4に示す状態から、上下を反転させないで前後を反転させて送風機ユニット50と連結させることができるようになっている。これにより、配管引出部10Aの位置が図1及び図4の紙面手前側から紙面奥側になり、配管の取り出し位置を変更することができる。
なお、図1に示す連結状態Aにおいて、開口部13Aは、熱交換器ユニット10の空気吸込側であり、開口部13Bは、熱交換器ユニット10の空気吹出側である。
一方、筐体11の上下を反転させないで前後を反転させた場合(連結状態B)には、開口部13Aは、熱交換器ユニット10の空気吹出側であり、開口部13Bは、熱交換器ユニット10の空気吸込側である。
Here, in FIG. 1 and FIG. 4, the housing 11 is connected to the blower unit 50 on the “opening portion 13A side”, but is connected to the blower unit 50 on the “outlet portion 14 side”. It is also possible to make it. That is, the casing 11 can be connected to the blower unit 50 from the state shown in FIGS. 1 and 4 by inverting the front and back without inverting the top and bottom. As a result, the position of the pipe lead-out portion 10A is changed from the front side of the drawing in FIGS. 1 and 4 to the back side of the drawing, and the extraction position of the piping can be changed.
In the connection state A shown in FIG. 1, the opening 13 </ b> A is on the air suction side of the heat exchanger unit 10, and the opening 13 </ b> B is on the air outlet side of the heat exchanger unit 10.
On the other hand, when the front and rear of the casing 11 are reversed without being reversed (connected state B), the opening 13A is the air outlet side of the heat exchanger unit 10, and the opening 13B is the heat exchanger. This is the air suction side of the unit 10.

吹出口部14は、開口部13Bの形成位置に設けられ、筐体11から着脱自在である。これにより、筐体11の前後を反転させたときにおいても、送風機ユニット50に接続されていた側の開口部13Bに吹出口部14を取り付けることができる。
なお、吹出口部14の取付位置は、開口部13Aと対向する開口部13A側に設けられた場合を例に説明したがそれに限定されるものではない。たとえば、室内機100の底面側が開放されたような態様の場合には、筐体11の底面側に吹出口部14を設けてもよい。
The air outlet 14 is provided at the position where the opening 13 </ b> B is formed, and is detachable from the housing 11. Thereby, even when the front and rear of the housing 11 are reversed, the air outlet 14 can be attached to the opening 13B on the side connected to the blower unit 50.
In addition, although the attachment position of the blower outlet part 14 demonstrated to the example the case where it provided in the opening part 13A side facing the opening part 13A, it is not limited to it. For example, in the case where the bottom surface side of the indoor unit 100 is opened, the air outlet 14 may be provided on the bottom surface side of the housing 11.

筐体11には、送風機ユニット50を上下反転させても設置を可能とする第1吊り下げ金具1Aが設けられている。第1吊り下げ金具1Aの設けられる位置は、筐体11の8つの頂点のうち、下側に位置する4つの頂点付近とするとよい。より詳細には、第1吊り下げ金具1Aの設けられる位置は、筐体11の下側であり、空気流れ方向の上流側の端部側及び下流側の端部側であり、空気流れ方向を正面としたときの幅方向の両端部側とするとよい。   The housing 11 is provided with a first hanging metal fitting 1A that can be installed even if the blower unit 50 is turned upside down. The position at which the first hanging bracket 1A is provided may be in the vicinity of the four apexes located on the lower side of the eight apexes of the housing 11. More specifically, the position where the first hanging bracket 1A is provided is on the lower side of the housing 11, on the upstream end side and the downstream end side in the air flow direction, and in the air flow direction. It is good to be the both end parts side of the width direction when it is set as the front.

(室内機側熱交換器2)
室内機側熱交換器2は、筐体11内に取り込まれた空気と、図示省略の室外機から供給される冷媒とを熱交換させるものであり、たとえば、複数平行に立設されたフィンと、当該フィンに接続され、冷媒が供給されるチューブとを有するフィンチューブ熱交換器などで構成するとよい。
室内機側熱交換器2は、筐体11の底面に対して傾斜した姿勢で、ドレンパン3上に支持されて設けられている。すなわち、室内機側熱交換器2は、図2に示す状態においては、送風機ユニット50側の端部側がドレンパン3に支持されている。
(Indoor unit side heat exchanger 2)
The indoor unit-side heat exchanger 2 exchanges heat between the air taken into the housing 11 and refrigerant supplied from an outdoor unit (not shown). For example, a plurality of fins standing in parallel A fin tube heat exchanger having a tube connected to the fin and supplied with a refrigerant may be used.
The indoor unit side heat exchanger 2 is supported and provided on the drain pan 3 in a posture inclined with respect to the bottom surface of the housing 11. That is, in the state shown in FIG. 2, the end side on the blower unit 50 side of the indoor unit side heat exchanger 2 is supported by the drain pan 3.

より詳細には、室内機側熱交換器2は、図1及び図2の連結状態A及び連結状態Bにおいて、一方の端部側が送風機ユニット50側に位置し、他方の端部側が吹出口部14側に位置するように、筐体11の底面に対して傾斜して設けられている。
なお、連結状態Aのとき、室内機側熱交換器2は、一方の端部側よりも、他方の端部側の方が上側に位置するように、筐体11の底面に対して傾斜して設けられている。
また、連結状態Bのとき、熱交換器ユニット10は、他方の端部側よりも、一方の端部側の方が上側に位置するように、筐体11の底面に対して傾斜して設けられている。
More specifically, the indoor unit side heat exchanger 2 has one end side located on the blower unit 50 side and the other end side on the blowout port part in the connected state A and the connected state B in FIGS. 1 and 2. It is inclined with respect to the bottom surface of the housing 11 so as to be located on the 14 side.
In the connected state A, the indoor unit-side heat exchanger 2 is inclined with respect to the bottom surface of the housing 11 so that the other end side is positioned higher than the one end side. Is provided.
Further, in the connected state B, the heat exchanger unit 10 is provided to be inclined with respect to the bottom surface of the housing 11 so that one end side is located on the upper side than the other end side. It has been.

(ドレンパン3)
ドレンパン3は、室内機側熱交換器2を支持するとともに、室内機側熱交換器2から滴下するドレン水を貯留するものであり、たとえば、樹脂などを所定の形状に形成して構成されるものである。
ドレンパン3には、図3に示すように、ドレンパン3の一方の端部側であって紙面の手前側から奥行側に伸びるように形成された第1傾斜部aと、ドレンパン3の他方の端部側であって紙面の手前側から奥行側に伸びるように形成された第2傾斜部bとを有している。
なお、図1に示す送風機ユニット50と熱交換器ユニット10との連結状態Aにおいて、第1傾斜部aは送風機ユニット50側に位置しており、第2傾斜部bは吹出口部14側に位置している。一方、図2に示す送風機ユニット50と熱交換器ユニット10との連結状態Bにおいて、第1傾斜部aは熱交換器ユニット10側に位置しており、第2傾斜部bは送風機ユニット50側に位置している。
(Drain pan 3)
The drain pan 3 supports the indoor unit side heat exchanger 2 and stores drain water dripped from the indoor unit side heat exchanger 2, and is configured by forming a resin or the like into a predetermined shape, for example. Is.
As shown in FIG. 3, the drain pan 3 includes a first inclined portion a formed on one end side of the drain pan 3 so as to extend from the near side of the paper surface to the depth side, and the other end of the drain pan 3. And a second inclined portion b formed so as to extend from the near side of the drawing to the depth side.
In addition, in the connection state A of the air blower unit 50 and the heat exchanger unit 10 shown in FIG. 1, the 1st inclination part a is located in the air blower unit 50 side, and the 2nd inclination part b is in the blower outlet part 14 side. positioned. On the other hand, in the connection state B between the blower unit 50 and the heat exchanger unit 10 shown in FIG. 2, the first inclined portion a is located on the heat exchanger unit 10 side, and the second inclined portion b is on the blower unit 50 side. Is located.

第1傾斜部a及び第2傾斜部bは、室内機側熱交換器2の傾斜方向とは逆方向に傾斜している。たとえば、図1では、室内機側熱交換器2が送風機ユニット50側から吹出口部14側に向かって下側に傾斜しているが、第1傾斜部a及び第2傾斜部bは、吹出口部14側から送風機ユニット50側に向かって下側に傾斜している。
このように、第1傾斜部aが形成されているため、図1の連結状態Aでは、第1傾斜部aが送風機4から吹き出される斜め上側方向の空気の流れを阻害することを抑制することができる。また、第2傾斜部bが形成されているため、図2の連結状態Bでは、第2傾斜部bが送風機4から吹き出される斜め下側方向の空気の流れを阻害することを抑制することができる。
The first inclined part a and the second inclined part b are inclined in a direction opposite to the inclination direction of the indoor unit side heat exchanger 2. For example, in FIG. 1, the indoor unit-side heat exchanger 2 is inclined downward from the blower unit 50 side toward the outlet part 14, but the first inclined part a and the second inclined part b are It inclines below toward the fan unit 50 side from the exit part 14 side.
Thus, since the 1st inclination part a is formed, in the connection state A of FIG. 1, it suppresses that the 1st inclination part a inhibits the flow of the air of the diagonal upper direction which blows off from the air blower 4. FIG. be able to. Moreover, since the 2nd inclination part b is formed, in the connection state B of FIG. 2, it suppresses that the 2nd inclination part b inhibits the flow of the air of the diagonally downward direction which blows off from the air blower 4. Can do.

第2傾斜部bは、第2傾斜部bの頂部の高さ位置が第1傾斜部aよりも高くなるように形成されている。このため、ドレンパン3は、前側と後側の形状が異なることとなり、熱交換器ユニット10を前後反転させたときに圧損が生じて風量に差が生じる。そこで、吹出口部14が設けることで、この風量差を低減し、前後反転させても空調能力が安定するようにしている。この点については、後述の[吹出口部14の詳細な構成]で説明する。   The 2nd inclination part b is formed so that the height position of the top part of the 2nd inclination part b may become higher than the 1st inclination part a. For this reason, the drain pan 3 has different shapes on the front side and the rear side, and when the heat exchanger unit 10 is reversed in the front-rear direction, pressure loss occurs and a difference in air volume occurs. Therefore, by providing the air outlet 14, this air volume difference is reduced, and the air conditioning capability is stabilized even if the airflow is reversed. This point will be described later in [Detailed configuration of air outlet 14].

(送風機ユニット50)
送風機ユニット50は、送風機ユニット50の外郭である筐体51と、筐体51内に設けられた送風機4とを有しており、筐体51内に空気を取り込んだ後に熱交換器ユニット10に供給するものである。送風機ユニット50は、送風機ユニット50と連結して設けられる。なお、この送風機ユニット50は、上下を反転させて熱交換器ユニット10に連結させることができる。
送風機ユニット50は、外郭として、略直方体であってそのうちの対向する2面が開放された形状の筐体51を有している。
(Blower unit 50)
The blower unit 50 includes a casing 51 that is an outline of the blower unit 50 and a blower 4 provided in the casing 51. After the air is taken into the casing 51, the blower unit 50 is connected to the heat exchanger unit 10. To supply. The blower unit 50 is provided in connection with the blower unit 50. The blower unit 50 can be connected to the heat exchanger unit 10 by turning upside down.
The blower unit 50 has a casing 51 that is a substantially rectangular parallelepiped shape and has two open surfaces facing each other.

(筐体51)
筐体51は、図4に示すように、送風機4を収容するものであり、熱交換器ユニット10側と、その反対側とが開放されている。すなわち、筐体51は、「送風機ユニット50側の側面を構成する連結側側面部52に形成された吹出口55(図5参照)」と、「吹出口55側の対向側に形成され、筐体51内に空気を取り込むための吸込口54」とを有している。
また、筐体51には、2台の送風機4が、空気流れ方向とは略垂直な方向に並ぶようにして設けられている。なお、送風機4の台数は、2台に限定されるものではない。
ここで、筐体51は、図1、図2及び図4において、「連結側側面部52側と、熱交換器ユニット10の連結側側面部12側と」が連結している状態を示しているが、熱交換器ユニット10の前後を反転させた際には、「連結側側面部52側と、熱交換器ユニット10の吹出口部14側と」が連結する。
(Case 51)
As shown in FIG. 4, the housing 51 houses the blower 4, and the heat exchanger unit 10 side and the opposite side are open. That is, the casing 51 is formed on the opposite side of the blower outlet 55 side with the “blower outlet 55 (see FIG. 5) formed in the connecting side surface portion 52 constituting the side face on the blower unit 50 side”. And a suction port 54 "for taking air into the body 51.
The casing 51 is provided with two blowers 4 arranged in a direction substantially perpendicular to the air flow direction. Note that the number of blowers 4 is not limited to two.
Here, the casing 51 shows a state in which “the connection side surface portion 52 side and the connection side surface portion 12 side of the heat exchanger unit 10 side” are connected in FIGS. 1, 2, and 4. However, when the front and rear of the heat exchanger unit 10 are reversed, the “connection side surface portion 52 side and the air outlet portion 14 side of the heat exchanger unit 10” are connected.

筐体51は、上下を反転させて、送風機ユニット50に連結させることが可能となっている。すなわち、筐体51は、図1及び図2に示す筐体51の底面と、上面とが反転とした状態においても、熱交換器ユニット10に連結させることができる。なお、図1及び図2に示す筐体51の上下を反転にした場合には、熱交換器ユニット10が、上下を反転させないで前後を反転させた状態で連結される。これにより、室内機側熱交換器2に供給される風量が低減してしまうことを抑制することができる。なお、この風量の低減の抑制については、後述の図8〜図10で説明する。   The casing 51 can be connected to the blower unit 50 by turning the casing 51 upside down. That is, the casing 51 can be connected to the heat exchanger unit 10 even when the bottom surface and the top surface of the casing 51 shown in FIGS. 1 and 2 are reversed. When the casing 51 shown in FIGS. 1 and 2 is turned upside down, the heat exchanger unit 10 is connected in a state where the front and back are turned upside down without being turned upside down. Thereby, it can suppress that the air volume supplied to the indoor unit side heat exchanger 2 reduces. In addition, suppression of the reduction | decrease of this air volume is demonstrated in below-mentioned FIGS. 8-10.

筐体51には、略直方体形状をしており、送風機ユニット50の連結側側面部52と直交する側面に沿って設けられる電気品箱80が固定されている。
より詳細には、電気品箱80は、筐体51のうち吸込口54が形成された面及び連結側側面部52が形成された面と直交する側面に設けられている。このように、筐体51の上下を反転したとしても電気品箱80の位置がそれほど変化しないように、真横からの配線引き込みとしている(図6参照)。これにより、配線81の長さを調整するなどの作業負担を軽減することができる。
The casing 51 has a substantially rectangular parallelepiped shape, and an electrical component box 80 provided along a side surface orthogonal to the connection side surface portion 52 of the blower unit 50 is fixed.
More specifically, the electrical component box 80 is provided on the side surface of the housing 51 that is orthogonal to the surface on which the suction port 54 is formed and the surface on which the connection side surface portion 52 is formed. In this manner, wiring is drawn from the side so that the position of the electrical component box 80 does not change so much even if the casing 51 is turned upside down (see FIG. 6). Thereby, the work load of adjusting the length of the wiring 81 can be reduced.

筐体51には、送風機ユニット50を前後反転させても筐体51を吊り下げて固定することを可能とする第2吊り下げ金具1Bが設けられている。第2吊り下げ金具1Bの設けられる位置は、筐体51の8つの頂点のうち、上流側に位置する4つの頂点付近とするとよい。より詳細には、第2吊り下げ金具1Bの設けられる位置は、筐体51の上側であり、空気流れ方向の上流側であり、空気流れ方向を正面としたときの幅方向の端部側とするとよい。   The casing 51 is provided with a second hanging metal fitting 1B that allows the casing 51 to be suspended and fixed even when the blower unit 50 is reversed up and down. The position where the second hanging bracket 1B is provided may be in the vicinity of four vertices located on the upstream side among the eight vertices of the housing 51. More specifically, the position where the second hanging bracket 1B is provided is the upper side of the casing 51, the upstream side in the air flow direction, and the end side in the width direction when the air flow direction is the front. Good.

(送風機4)
送風機4は、たとえばシロッコファンなどで構成されるものであり、吸込口54から取り込んだ空気を、熱交換器ユニット10側に供給するものである。送風機4は、図示省略の回転する羽根と、この羽根を回転させるモーター5とを有している。このモーター5は、電気品箱80内に設けられた制御装置などに接続されている。また、送風機4は、図3に示すように、空気の吹出部4Aを有している。
(Blower 4)
The blower 4 is constituted by a sirocco fan, for example, and supplies air taken in from the suction port 54 to the heat exchanger unit 10 side. The blower 4 has a rotating blade (not shown) and a motor 5 that rotates the blade. The motor 5 is connected to a control device or the like provided in the electrical component box 80. Moreover, the air blower 4 has the air blowing part 4A, as shown in FIG.

図1に示す連結状態Aでは、この吹出部4Aから吹き出される空気の流れが、上側、より詳細には斜め上側となるように送風機ユニット50と熱交換器ユニット10とが連結している。
一方、図2に示す連結状態Bでは、図1の連結状態Aから送風機ユニット50の上下を反転させたため、吹出部4Aから吹き出される空気の流れが、下側、より詳細には斜め下側となるように送風機ユニット50と熱交換器ユニット10とが連結している。
In the connection state A shown in FIG. 1, the blower unit 50 and the heat exchanger unit 10 are connected so that the flow of air blown out from the blowing portion 4A is on the upper side, more specifically, on the oblique upper side.
On the other hand, in the connection state B shown in FIG. 2, since the upper and lower sides of the blower unit 50 are inverted from the connection state A of FIG. 1, the flow of air blown out from the blowing portion 4A is lower, more specifically, obliquely lower The blower unit 50 and the heat exchanger unit 10 are connected so that

[送風機ユニット50の吹出口55及び電気品箱80について]
図5は、実施の形態に係る送風機ユニット50の斜視図である。図6は、電気品箱80の斜視図である。図5及び図6を参照して、送風機ユニット50に形成された吹出口55及び電気品箱80から引き出される配線81について説明する。
図5に示すように、送風機ユニット50には、吹出口55が2つ併設されている。この吹出口55は、送風機4の吹出部4Aと連通するように形成されている。この吹出口55から吹き出された空気は、熱交換器ユニット10側へ供給される。
[About the air outlet 55 and the electrical component box 80 of the blower unit 50]
FIG. 5 is a perspective view of the blower unit 50 according to the embodiment. FIG. 6 is a perspective view of the electrical component box 80. With reference to FIG.5 and FIG.6, the wiring 81 withdraw | derived from the blower outlet 55 formed in the air blower unit 50 and the electrical component box 80 is demonstrated.
As shown in FIG. 5, the blower unit 50 is provided with two air outlets 55. The air outlet 55 is formed so as to communicate with the air outlet 4 </ b> A of the blower 4. The air blown out from the air outlet 55 is supplied to the heat exchanger unit 10 side.

また、電気品箱80については、送風機4の側方に設けられている。このため、送風機ユニット50の上下の反転をした後であっても、配線81によって接続されるもの同士の位置が変化してしまわないようにすることができ、別途配線を交換する必要などがない。   Further, the electrical component box 80 is provided on the side of the blower 4. For this reason, even after the fan unit 50 is turned upside down, the positions of those connected by the wiring 81 can be prevented from changing, and there is no need to separately replace the wiring. .

[吹出口部14の詳細な構成]
図7は、室内機100の吹出口部14の付近の説明図である。図7を参照して、吹出口部14の詳細な構成について説明する。なお図7(a)は、吹出口部14が熱交換器ユニット10に取り付けられた状態の図であり、図7(b)は、吹出口部14を側方から見た図であり、図7(c)は、開放部14Aの斜視図である。
吹出口部14は、筐体11から分離可能であり、開口部13A及び開口部13Bのうちの前方側の開口部に取り付けることができるようになっている。吹出口部14は、空気が連通する開放部14Aと、空気の流れを閉塞する閉塞部14Bとから構成されている。
開放部14Aは、その下端側の高さ位置が、ドレンパン3の第2傾斜部bの頂部の高さ位置と略同一となるように形成されている。また、開放部14Aは、平面視形状が略長方形であり、空気流れ方向に対して略平行に突出するように吹出口部14に形成されている。
閉塞部14Bは、空気流れ方向に対して略直交するように設けられる平板状部材であり、ドレンパン3の第1傾斜部a、又は、第2傾斜部bに対向するように設けられる。閉塞部14Bは、その高さ方向の幅が第1傾斜部aよりも大きく、第2傾斜部bと略同一となっている。
[Detailed configuration of the outlet 14]
FIG. 7 is an explanatory diagram of the vicinity of the air outlet 14 of the indoor unit 100. With reference to FIG. 7, the detailed structure of the blower outlet part 14 is demonstrated. 7A is a view of the state where the air outlet 14 is attached to the heat exchanger unit 10, and FIG. 7B is a view of the air outlet 14 viewed from the side. 7 (c) is a perspective view of the opening 14A.
The blower outlet part 14 is separable from the housing | casing 11, and can be attached to the opening part of the front side among the opening part 13A and the opening part 13B. The air outlet 14 includes an open portion 14A through which air communicates and a closing portion 14B that closes the flow of air.
The opening portion 14 </ b> A is formed such that the height position on the lower end side thereof is substantially the same as the height position of the top portion of the second inclined portion b of the drain pan 3. The open portion 14A has a substantially rectangular shape in plan view, and is formed in the outlet portion 14 so as to protrude substantially parallel to the air flow direction.
The closing portion 14B is a flat plate member provided so as to be substantially orthogonal to the air flow direction, and is provided so as to face the first inclined portion a or the second inclined portion b of the drain pan 3. The closing part 14B has a width in the height direction larger than that of the first inclined part a, and is substantially the same as the second inclined part b.

仮に、室内機100にこの吹出口部14が設けられていないと、連結状態Aのときよりも連結状態Bのときの方が、空気の吹出面が大きくなってしまい、連結状態の変更前後で同様の風量を確保することができない。
しかしながら、室内機100は、この吹出口部14が設けられることにより、連結状態Aであっても連結状態Bであっても、空気の吹出面の面積が開放部14Aとなる。すなわち、熱交換器ユニット10を前後に反転させたときでも、変更前と同様の風量を確保し、空調性能の低下を抑制することができる。
If the air outlet 14 is not provided in the indoor unit 100, the air blowing surface becomes larger in the connected state B than in the connected state A, and before and after the change of the connected state. A similar air volume cannot be secured.
However, the indoor unit 100 is provided with the air outlet 14 so that the area of the air blowing surface becomes the open part 14A regardless of the connected state A or the connected state B. That is, even when the heat exchanger unit 10 is reversed back and forth, the same air volume as before the change can be ensured, and the deterioration of the air conditioning performance can be suppressed.

[連結状態A及び連結状態Bについて]
図8は、実施の形態に係る室内機100の配管取出し方向の説明図である。なお、この図8の説明では、図8(a)の連結状態から、図8(b)の連結状態に変化させた場合を例に説明する。
図8(a)の変更前においては、送風機ユニット50から放出される空気が上側に向くように、送風機ユニット50と熱交換器ユニット10とが連結される。また、変更前においては、室内機側熱交換器2の上端部側が送風機ユニット50側にくるように、送風機ユニット50と熱交換器ユニット10とが連結される。なお、図8(a)の状態においては、配管引出部10Aが紙面の手前側の側面に位置している。
[About connected state A and connected state B]
FIG. 8 is an explanatory diagram of the pipe take-out direction of the indoor unit 100 according to the embodiment. In the description of FIG. 8, a case where the connection state in FIG. 8A is changed to the connection state in FIG. 8B will be described as an example.
Before the change of FIG. 8A, the blower unit 50 and the heat exchanger unit 10 are connected so that the air discharged from the blower unit 50 faces upward. In addition, before the change, the blower unit 50 and the heat exchanger unit 10 are coupled so that the upper end side of the indoor unit side heat exchanger 2 is on the blower unit 50 side. In addition, in the state of Fig.8 (a), 10 A of piping drawer parts are located in the side surface of the near side of a paper surface.

図8(b)の変更後においては、送風機ユニット50から放出される空気が下側に向くように、送風機ユニット50と熱交換器ユニット10とが連結される。また、変更後においては、室内機側熱交換器2の下端部側が送風機ユニット50側にくるように、送風機ユニット50と熱交換器ユニット10とが連結される。なお、図8(b)の状態においては、配管引出部10Aが紙面の奥側の側面に位置している。   After the change in FIG. 8B, the blower unit 50 and the heat exchanger unit 10 are connected so that the air discharged from the blower unit 50 faces downward. In addition, after the change, the blower unit 50 and the heat exchanger unit 10 are connected so that the lower end side of the indoor unit side heat exchanger 2 comes to the blower unit 50 side. In addition, in the state of FIG.8 (b), 10 A of piping drawer parts are located in the side surface of the back | inner side of a paper surface.

このように、室内機100は、送風機ユニット50が上下に反転可能であり、熱交換器ユニット10が上下を反転させないで前後を反転可能となっており、配管引出部10Aの位置を変更することができるようになっている。これにより、コストアップの抑制、部品点数増加の抑制、室内機100の重量増加の抑制、冷媒漏れリスクの低減及び空調性能低下の抑制などを実現しながら、室内機100に接続される配管の取り出し位置の変更が容易となっている。   Thus, in the indoor unit 100, the blower unit 50 can be turned upside down, and the heat exchanger unit 10 can be turned upside down without turning upside down, and the position of the pipe lead-out portion 10A can be changed. Can be done. As a result, the pipe connected to the indoor unit 100 can be taken out while realizing an increase in cost, a reduction in the number of parts, a reduction in the weight of the indoor unit 100, a reduction in the risk of refrigerant leakage, and a reduction in air conditioning performance. The position can be easily changed.

[連結状態Aの効果について]
図9は、図1に示す室内機100の状態から送風機ユニット50を上下反転させた場合の室内機側熱交換器2に供給される風量の説明図である。図10は、図1に示す室内機100の室内機側熱交換器2に供給される風量の説明図である。図11は、図9及び図10に示す(1)〜(3)のグラフが室内機側熱交換器2のどの位置に対応する結果であるかを説明する図である。
なお、図9及び図10の縦軸は風量(m/s)を示し、横軸は室内機側熱交換器2のうちの送風機ユニット50側の端部から吹出口部14側の端部にかけての位置に対応している。
また、図10は、連結状態A(図8(a)に対応)であるが、図9は、連結状態A及び連結状態Bのいずれにも該当しない連結状態である。
[About the effect of connected state A]
FIG. 9 is an explanatory diagram of the amount of air supplied to the indoor unit side heat exchanger 2 when the blower unit 50 is turned upside down from the state of the indoor unit 100 shown in FIG. FIG. 10 is an explanatory diagram of the air volume supplied to the indoor unit side heat exchanger 2 of the indoor unit 100 shown in FIG. FIG. 11 is a diagram for explaining which position of the indoor unit side heat exchanger 2 corresponds to the graphs (1) to (3) shown in FIGS. 9 and 10.
9 and 10, the vertical axis represents the air volume (m / s), and the horizontal axis from the end on the blower unit 50 side of the indoor unit side heat exchanger 2 to the end on the outlet 14 side. Corresponds to the position of.
FIG. 10 shows a connection state A (corresponding to FIG. 8A), but FIG. 9 shows a connection state that does not correspond to either the connection state A or the connection state B.

図9に示すように、室内機側熱交換器2の「(1)端」、「(3)中央」及び「(2)(1)と(3)との間」のいずれにおいても、風速が3(m/s)に満たないことがわかる。すなわち、図9の連結状態においては、充分な空調能力を確保することができないことがわかる。これは、送風機4から吹き出された空気の流れ方向と、室内機側熱交換器2とが形成する角度が小さくなっているためである。   As shown in FIG. 9, the wind speed is “(1) end”, “(3) center” and “between (2) (1) and (3)” of the indoor unit side heat exchanger 2. Is less than 3 (m / s). That is, it can be seen that sufficient air conditioning capability cannot be secured in the connected state of FIG. This is because the angle formed by the flow direction of the air blown out from the blower 4 and the indoor unit side heat exchanger 2 is small.

一方、図10に示す連結状態Aでは、室内機側熱交換器2の「(1)端」、「(3)中央」及び「(2)(1)と(3)との間」のいずれにおいても、図9の連結状態の風量特性が向上している。特に、「(2)(1)と(3)との間」の風量については、5(m/s)に近い値を確保でき、「(3)中央」の風量については、7(m/s)に近い値を確保できる。また、「(1)端」においても、概ね図9の「(1)端」よりも高い風量となっている。これは、送風機4から吹き出された空気の流れ方向と、室内機側熱交換器2とが形成する角度が、垂直に近い角度となっているためである。   On the other hand, in the connection state A shown in FIG. 10, any one of “(1) end”, “(3) center” and “between (2) (1) and (3)” of the indoor unit side heat exchanger 2 is used. In FIG. 9, the air flow characteristics in the connected state of FIG. 9 are improved. In particular, for the air volume “between (2) (1) and (3)”, a value close to 5 (m / s) can be secured, and for the air volume “(3) center”, 7 (m / s A value close to s) can be secured. Further, the “(1) end” also has a higher air volume than the “(1) end” in FIG. 9. This is because the angle formed by the flow direction of the air blown out from the blower 4 and the indoor unit side heat exchanger 2 is an angle close to vertical.

[実施の形態に係る室内機100の有する効果]
実施の形態に係る室内機100は、連結状態A及び連結状態Bを有する熱交換器ユニット10と送風機ユニット50を備えたので、配管を引き回したり、別途新たな配管を追加したりすることが不要となり、コストアップの抑制、部品点数増加の抑制、本体重量増加の抑制、冷媒漏れリスクの低減及び空調性能低下の抑制などを実現しながら、配管引出部10Aの位置を容易に変更することができる。
[Effects of Indoor Unit 100 According to Embodiment]
Since the indoor unit 100 according to the embodiment includes the heat exchanger unit 10 and the blower unit 50 having the connected state A and the connected state B, it is not necessary to route the piping or add new piping separately. Thus, the position of the pipe lead-out portion 10A can be easily changed while realizing suppression of cost increase, suppression of increase in the number of parts, suppression of increase in the weight of the main body, reduction of refrigerant leakage risk, suppression of deterioration of air conditioning performance, and the like. .

また、たとえば性能の良い送風機ユニットや熱交換器ユニットがある場合には、送風機ユニット及び熱交換器ユニットのうちのいずれか一方を単独で交換することを容易にすることができる。すなわち、室内機100は、スペック変更が容易となっている。   Further, for example, when there is a fan unit or a heat exchanger unit with good performance, it is possible to easily replace any one of the fan unit and the heat exchanger unit. That is, the specification change of the indoor unit 100 is easy.

1A 第1吊り下げ金具、1B 第2吊り下げ金具、2 室内機側熱交換器、3 ドレンパン、4 送風機、4A 吹出部、5 モーター、6 天井、10 熱交換器ユニット(第2のユニット)、10A 配管引出部、11 筐体、12 連結側側面部、13A 開口部、13B 開口部、13C 風路、14 吹出口部、14A 開放部、14B 閉塞部、50 送風機ユニット(第1のユニット)、51 筐体、52 連結側側面部、54 吸込口、55 吹出口、80 電気品箱、81 配線、100 室内機、a 第1傾斜部、b 第2傾斜部。   1A 1st hanging bracket, 1B 2nd hanging bracket, 2 indoor unit side heat exchanger, 3 drain pan, 4 blower, 4A outlet, 5 motor, 6 ceiling, 10 heat exchanger unit (second unit), 10A Pipe extraction part, 11 Housing, 12 Connection side surface part, 13A opening part, 13B opening part, 13C Air passage, 14 Air outlet part, 14A Opening part, 14B Closure part, 50 Blower unit (first unit), DESCRIPTION OF SYMBOLS 51 Housing | casing, 52 Connection side surface part, 54 Inlet, 55 Outlet, 80 Electrical component box, 81 Wiring, 100 Indoor unit, a 1st inclination part, b 2nd inclination part.

Claims (8)

吸込口及び吹出口を有し、送風機が収納された送風機ユニットと、
対向位置に一対の開口部が形成され、室内機側熱交換器が収容された熱交換器ユニットと、
を有し、
前記熱交換器ユニットは、
当該熱交換器ユニットの底面及び上面の関係を維持した状態で前後に反転させて、前記一対の開口部が選択的に前記送風機ユニットの前記吹出口に接続可能であり、
前記送風機ユニットは、
前記吹出口が前記熱交換器ユニットの前記一対の開口部のうちの選択された方の開口部に、上下に反転させて接続可能である
ことを特徴とする空気調和装置の室内機。
A blower unit having a suction port and a blower outlet, in which the blower is stored;
A heat exchanger unit in which a pair of openings are formed at the opposed positions and the indoor unit side heat exchanger is accommodated, and
Have
The heat exchanger unit is
The pair of openings can be selectively connected to the outlet of the blower unit by inverting the front and back while maintaining the relationship between the bottom and top surfaces of the heat exchanger unit,
The blower unit is
The indoor unit of an air conditioner, wherein the air outlet is connectable by being inverted upside down to a selected one of the pair of openings of the heat exchanger unit.
前記送風機ユニットには、
当該送風機ユニットの上面側及び下面側に、当該送風機ユニットを据え付ける際に利用される第1吊り下げ金具が設けられ、
前記熱交換器ユニットには、
前記一対の開口部が形成されている端部側に、前記熱交換器ユニットを据え付ける際に利用される第2吊り下げ金具が設けられた
ことを特徴とする請求項1に記載の空気調和装置の室内機。
In the blower unit,
On the upper surface side and the lower surface side of the blower unit, a first hanging bracket used when installing the blower unit is provided,
The heat exchanger unit includes
2. The air conditioner according to claim 1, wherein a second hanging metal fitting used when installing the heat exchanger unit is provided on an end portion side where the pair of openings are formed. Indoor unit.
前記室内機側熱交換器は、
前記熱交換器ユニットの一方の前記開口部側から他方の前記開口部側に向かって傾斜するように設置された
ことを特徴とする請求項1又は2に記載の空気調和装置の室内機。
The indoor unit side heat exchanger is
The indoor unit of an air conditioner according to claim 1 or 2, wherein the indoor unit is installed so as to be inclined from one opening side of the heat exchanger unit toward the other opening side.
前記熱交換器ユニットは、
前記室内機側熱交換器の一方の端部側を支持するように、前記室内機側熱交換器の下側に設けられたドレンパンを有する
ことを特徴とする請求項3に記載の空気調和装置の室内機。
The heat exchanger unit is
The air conditioner according to claim 3, further comprising a drain pan provided below the indoor unit side heat exchanger so as to support one end side of the indoor unit side heat exchanger. Indoor unit.
前記ドレンパンには、
前記室内機側熱交換器の接触位置に第1傾斜面が形成され、当該第1傾斜面の対向側に第2傾斜面が形成され、
前記第1傾斜面及び前記第2傾斜面は、
前記室内機側熱交換器の傾斜する方向と逆方向に傾斜している
ことを特徴とする請求項4に記載の空気調和装置の室内機。
In the drain pan,
A first inclined surface is formed at the contact position of the indoor unit side heat exchanger, and a second inclined surface is formed on the opposite side of the first inclined surface,
The first inclined surface and the second inclined surface are:
The indoor unit of an air conditioner according to claim 4, wherein the indoor unit side heat exchanger is inclined in a direction opposite to a direction in which the indoor unit side heat exchanger is inclined.
前記熱交換器ユニットに形成されている前記一対の開口部のうち、吹出口として機能する開口部に分離可能な吹出口部を有し、
前記吹出口部は、
前記ドレンパンの前記第1傾斜面及び前記第2傾斜面のうち高さ位置の高い方の傾斜面より上側が開放され、
前記ドレンパンの前記第1傾斜面及び前記第2傾斜面のうち高さ位置の高い方の傾斜面より下側が閉塞されている
ことを特徴とする請求項5に記載の空気調和装置の室内機。
Of the pair of openings formed in the heat exchanger unit, having an air outlet portion separable into an opening functioning as an air outlet,
The air outlet is
The upper side of the first inclined surface and the second inclined surface of the drain pan is opened above the inclined surface having the higher height position,
The indoor unit of the air conditioner according to claim 5, wherein a lower side of the first inclined surface and the second inclined surface of the drain pan is blocked from an inclined surface having a higher height position.
前記送風機ユニットには、
前記送風機ユニットの側面に前記送風機を制御する電気品箱が設けられた
ことを特徴とする請求項1〜6のいずれか一項に記載の空気調和装置の室内機。
In the blower unit,
The indoor unit of the air conditioner according to any one of claims 1 to 6, wherein an electrical component box for controlling the blower is provided on a side surface of the blower unit.
送風機を収容した第1のユニットと、
熱交換器を収容した第2のユニットとを備え、
第2のユニット内には、
前記送風機から送られた風が横断する風路と、
複数のフィンと冷媒流路からなる熱交換器と、
熱交換器と外部機器との間で冷媒を循環させるための冷媒配管の一部と、
熱交換器に結露し滴下する結露水を受けるドレンパンを有すると共に、
前記熱交換器は、
風流に対して傾斜して配置されており、
前記第2のユニットを前後反転可能、前記第1のユニットを上下反転可能に、第1のユニットと第2のユニットとを接続する
ことを特徴とする空気調和装置の室内機。
A first unit containing a blower;
A second unit containing a heat exchanger,
In the second unit,
An air path traversed by the wind sent from the blower;
A heat exchanger comprising a plurality of fins and a refrigerant flow path;
A part of the refrigerant pipe for circulating the refrigerant between the heat exchanger and the external device;
It has a drain pan that receives the condensed water that is condensed and dripped onto the heat exchanger,
The heat exchanger is
It is arranged to be inclined with respect to the wind flow,
An indoor unit of an air conditioner, wherein the first unit and the second unit are connected such that the second unit can be reversed upside down and the first unit can be turned upside down.
JP2012140044A 2012-06-21 2012-06-21 Indoor equipment of air-conditioning device Pending JP2014005954A (en)

Priority Applications (2)

Application Number Priority Date Filing Date Title
JP2012140044A JP2014005954A (en) 2012-06-21 2012-06-21 Indoor equipment of air-conditioning device
US13/710,510 US20130340972A1 (en) 2012-06-21 2012-12-11 Indoor unit of air-conditioning apparatus

Applications Claiming Priority (1)

Application Number Priority Date Filing Date Title
JP2012140044A JP2014005954A (en) 2012-06-21 2012-06-21 Indoor equipment of air-conditioning device

Publications (1)

Publication Number Publication Date
JP2014005954A true JP2014005954A (en) 2014-01-16

Family

ID=49773411

Family Applications (1)

Application Number Title Priority Date Filing Date
JP2012140044A Pending JP2014005954A (en) 2012-06-21 2012-06-21 Indoor equipment of air-conditioning device

Country Status (2)

Country Link
US (1) US20130340972A1 (en)
JP (1) JP2014005954A (en)

Cited By (3)

* Cited by examiner, † Cited by third party
Publication number Priority date Publication date Assignee Title
WO2017203702A1 (en) * 2016-05-27 2017-11-30 三菱電機株式会社 Air conditioning device
JP2017214900A (en) * 2016-06-01 2017-12-07 三菱電機株式会社 Air blowing device and air conditioning device including the same
JP7572506B1 (en) 2023-06-01 2024-10-23 新晃工業株式会社 Fan coil unit

Families Citing this family (5)

* Cited by examiner, † Cited by third party
Publication number Priority date Publication date Assignee Title
CN204460456U (en) * 2014-07-03 2015-07-08 青岛海尔空调器有限总公司 A kind of dehydrating unit and air treatment system
CN105588196A (en) * 2015-12-03 2016-05-18 青岛海信日立空调系统有限公司 Indoor unit of air conditioner
US10865798B2 (en) * 2016-05-30 2020-12-15 Zhongshan Broad-Ocean Motor Co., Ltd. Fan coil unit
CN107957129B (en) * 2017-11-29 2020-06-09 海信(山东)空调有限公司 Spacing cardboard of tuber pipe machine water collector and tuber pipe machine
US20220192057A1 (en) * 2019-04-25 2022-06-16 Nec Corporation Local cooling device and local cooling method

Citations (9)

* Cited by examiner, † Cited by third party
Publication number Priority date Publication date Assignee Title
US3012762A (en) * 1958-08-18 1961-12-12 Lennox Ind Inc Modular units for air heating, cooling and ventilating systems
JPS62293028A (en) * 1986-06-10 1987-12-19 Hitachi Ltd Drain pan for air conditioner
JPH0658564A (en) * 1992-08-07 1994-03-01 Daikin Ind Ltd Air conditioner
JPH10176840A (en) * 1996-12-17 1998-06-30 Mitsubishi Electric Corp Air conditioner
JP2001227771A (en) * 2000-02-18 2001-08-24 Fujitsu General Ltd Air conditioner
JP2001304610A (en) * 2000-02-14 2001-10-31 Mitsubishi Electric Corp Air conditioner
JP2006343021A (en) * 2005-06-08 2006-12-21 Shimizu Corp Fan coil unit installation structure
JP2008261541A (en) * 2007-04-11 2008-10-30 Kimura Kohki Co Ltd Ceiling-mounted fan coil unit
JP2011158187A (en) * 2010-02-01 2011-08-18 Mitsubishi Electric Corp Indoor unit for air conditioner

Family Cites Families (6)

* Cited by examiner, † Cited by third party
Publication number Priority date Publication date Assignee Title
US2282373A (en) * 1938-12-01 1942-05-12 Westinghouse Electric & Mfg Co Air conditioning apparatus
US3985295A (en) * 1975-03-17 1976-10-12 Monninger Robert C Heat collector and diffuser
US4088466A (en) * 1976-09-30 1978-05-09 Westinghouse Electric Corp. Multi-position air conditioning unit
US4129013A (en) * 1977-09-01 1978-12-12 Westinghouse Electric Corp. Air-conditioning unit with multi-position coil
US4410033A (en) * 1981-07-02 1983-10-18 Carrier Corporation Combination coupling retainer and support for a heat exchange unit
US5904053A (en) * 1996-12-11 1999-05-18 International Comfort Products Drainage management system for refrigeration coil

Patent Citations (9)

* Cited by examiner, † Cited by third party
Publication number Priority date Publication date Assignee Title
US3012762A (en) * 1958-08-18 1961-12-12 Lennox Ind Inc Modular units for air heating, cooling and ventilating systems
JPS62293028A (en) * 1986-06-10 1987-12-19 Hitachi Ltd Drain pan for air conditioner
JPH0658564A (en) * 1992-08-07 1994-03-01 Daikin Ind Ltd Air conditioner
JPH10176840A (en) * 1996-12-17 1998-06-30 Mitsubishi Electric Corp Air conditioner
JP2001304610A (en) * 2000-02-14 2001-10-31 Mitsubishi Electric Corp Air conditioner
JP2001227771A (en) * 2000-02-18 2001-08-24 Fujitsu General Ltd Air conditioner
JP2006343021A (en) * 2005-06-08 2006-12-21 Shimizu Corp Fan coil unit installation structure
JP2008261541A (en) * 2007-04-11 2008-10-30 Kimura Kohki Co Ltd Ceiling-mounted fan coil unit
JP2011158187A (en) * 2010-02-01 2011-08-18 Mitsubishi Electric Corp Indoor unit for air conditioner

Cited By (5)

* Cited by examiner, † Cited by third party
Publication number Priority date Publication date Assignee Title
WO2017203702A1 (en) * 2016-05-27 2017-11-30 三菱電機株式会社 Air conditioning device
JP2017214900A (en) * 2016-06-01 2017-12-07 三菱電機株式会社 Air blowing device and air conditioning device including the same
JP7572506B1 (en) 2023-06-01 2024-10-23 新晃工業株式会社 Fan coil unit
WO2024247305A1 (en) * 2023-06-01 2024-12-05 新晃工業株式会社 Fan coil unit
JP2024172760A (en) * 2023-06-01 2024-12-12 新晃工業株式会社 Fan coil unit

Also Published As

Publication number Publication date
US20130340972A1 (en) 2013-12-26

Similar Documents

Publication Publication Date Title
AU2018330131B2 (en) Ceiling-type indoor unit of air conditioner
JP2014005954A (en) Indoor equipment of air-conditioning device
JP6038328B2 (en) Air conditioner indoor unit
JP6800339B2 (en) How to install the indoor unit of the air conditioner, the indoor unit of the air conditioner and the indoor unit of the air conditioner
WO2015145483A1 (en) Indoor unit for air-conditioning device
JP2008275231A (en) Air conditioner
JP6126447B2 (en) Air conditioner
CN102141275B (en) Outdoor unit for air conditioner
JP2019178835A (en) Ceiling embedded type air conditioner
JP6508465B2 (en) Duct type air conditioner
JP6398550B2 (en) Embedded ceiling air conditioner
JP2006071226A (en) Ceiling hung-up air conditioning system
JP2019178825A (en) Ceiling embedded type air conditioner
JP2014092333A (en) Heat exchange ventilation device
JP2005195199A (en) Air conditioner
JP2017053559A (en) Indoor unit of air conditioner
JP4425007B2 (en) Ventilation unit
JP2008045780A (en) Indoor unit of air conditioner
JP2015099000A (en) Indoor unit for air conditioner
JP6375837B2 (en) Embedded ceiling air conditioner
JP2016099034A (en) Air conditioning apparatus, method for adjusting air conditioning apparatus, and method for manufacturing air conditioning equipment
JP2016070613A (en) Embedded ceiling air conditioner
JP2018059641A (en) Air conditioner indoor unit
JP4552945B2 (en) Air conditioner
JP2012032035A (en) Air conditioner

Legal Events

Date Code Title Description
A621 Written request for application examination

Free format text: JAPANESE INTERMEDIATE CODE: A621

Effective date: 20150202

A977 Report on retrieval

Free format text: JAPANESE INTERMEDIATE CODE: A971007

Effective date: 20160217

A131 Notification of reasons for refusal

Free format text: JAPANESE INTERMEDIATE CODE: A131

Effective date: 20160223

A521 Request for written amendment filed

Free format text: JAPANESE INTERMEDIATE CODE: A523

Effective date: 20160411

A02 Decision of refusal

Free format text: JAPANESE INTERMEDIATE CODE: A02

Effective date: 20160719