JP2014166314A - 遊技機 - Google Patents

遊技機 Download PDF

Info

Publication number
JP2014166314A
JP2014166314A JP2013257546A JP2013257546A JP2014166314A JP 2014166314 A JP2014166314 A JP 2014166314A JP 2013257546 A JP2013257546 A JP 2013257546A JP 2013257546 A JP2013257546 A JP 2013257546A JP 2014166314 A JP2014166314 A JP 2014166314A
Authority
JP
Japan
Prior art keywords
display
game
special
seg
state
Prior art date
Legal status (The legal status is an assumption and is not a legal conclusion. Google has not performed a legal analysis and makes no representation as to the accuracy of the status listed.)
Granted
Application number
JP2013257546A
Other languages
English (en)
Other versions
JP5810148B2 (ja
Inventor
Atsushi Jinbo
淳 神保
Current Assignee (The listed assignees may be inaccurate. Google has not performed a legal analysis and makes no representation or warranty as to the accuracy of the list.)
Sophia Co Ltd
Original Assignee
Sophia Co Ltd
Priority date (The priority date is an assumption and is not a legal conclusion. Google has not performed a legal analysis and makes no representation as to the accuracy of the date listed.)
Filing date
Publication date
Application filed by Sophia Co Ltd filed Critical Sophia Co Ltd
Priority to JP2013257546A priority Critical patent/JP5810148B2/ja
Publication of JP2014166314A publication Critical patent/JP2014166314A/ja
Application granted granted Critical
Publication of JP5810148B2 publication Critical patent/JP5810148B2/ja
Active legal-status Critical Current
Anticipated expiration legal-status Critical

Links

Images

Landscapes

  • Pinball Game Machines (AREA)
  • Display Devices Of Pinball Game Machines (AREA)

Abstract

【課題】遊技の興趣を高めた遊技機を提供する
【解決手段】遊技機10は、表示装置41の表示部の前方に配置された導光板731と、導光板731の上方、下方または側方に配置され導光板731へと光を照射する光源732と、を備えている。そして、導光板731には、溝Tが、所定の情報を表す形状となるように、かつ、光源732からの光を反射するように形成されている。このようにすれば、表示部の表示とは別に、表示部前方の導光板においても情報が表示されるので、様々な演出が可能となる。
【選択図】図10

Description

本発明は、表示装置を備える遊技機に関する。
従来、遊技領域に、複数の識別情報(図柄、記号など)を変動させる変動表示ゲームを表示する液晶表示装置などの表示装置を備えた遊技機がある。また、かかるパチンコ遊技機においては、表示装置前方で該表示装置に対して移動可能な可動装置を有する役物装置を備えたもの等も知られている(特許文献1参照)。
特開2007−175174号公報
しかし、上記のような遊技機は既に広く普及しており、遊技者に飽きられてしまっているので、遊技の興趣が高めることが困難であるという課題がある。
この発明は、上記のような課題に着目してなされたもので、遊技の興趣を高めた遊技機を提供することを目的としている。
上記課題を解決するため、請求項1に記載の発明は、表示部に識別情報を可変表示する表示装置を備える遊技機において、
前記表示部の前方に配置された導光板と、
前記導光板の上方、下方または側方に配置され、前記導光板へと光を照射する光源と、を備え、
前記導光板には、溝が、所定の情報を表す形状となるように、かつ、前記光源からの光を反射するように形成されていることを特徴とする。
本発明によれば、表示部の表示とは別に、表示部前方の導光板においても情報が表示されるので、様々な演出が可能となり、遊技の興趣を高めることができる。
本発明の一実施形態の遊技機を前面側から見た正面図である。 本発明の一実施形態の遊技機の背面図である。 実施形態の遊技機を構成する遊技盤の構成例を示す正面図である。 実施形態の遊技機の裏面に設けられる制御システム及び遊技制御装置の構成例を示すブロック図である。 図3の制御システムにおける演出制御装置の構成例を示すブロック図である。 (a)は遊技機の遊技状態を説明するための状態遷移図、(b)は特図1変動表示ゲームにおける大当りの発生割合を示す図、(c)は特図2変動表示ゲームにおける大当りの発生割合を示す図である。 実施形態の遊技盤の構造を模式的に示す分解斜視図である。 実施形態の役物装置の構造を模式的に示す分解斜視図である。 実施形態の側方入光表示装置の構造を模式的に示す分解斜視図である。 実施形態のセンターケースが取り付けられた部分の断面構造を示す断面図である。 実施形態の側方入光表示装置の背面図である。 実施形態の側方入光表示装置を構成するLEDユニットの構造を模式的に示す分解斜視図である。 実施形態の側方入光表示装置を構成するLEDユニットの一例を模式的に示す拡大説明図である。 実施形態の側方入光表示装置による発光表示の原理を説明するための図である。 実施形態の側方入光表示装置による発光表示の表示例を示す図である。 実施形態のLEDユニットが取り付けられた部分の断面構造を示す断面図である。 実施形態の役物ベース部材を示す正面図である。 図17の左上部を拡大して示した部分拡大図である。 図18に示した部分の斜視図である。 セグ装置と配線導出部との位置関係を示す図である。 実施形態のセグ装置を示す正面図(a)と、セグ装置の分解斜視図(b)である。 図21(b)の一部を拡大して示した部分拡大図である。 実施形態のリフレクタとセグ基板のLEDとの対応関係を示す図(a)と、実施形態のセグ装置の縦断面図(b)である。 実施形態の役物装置を背面側から見た斜視図である。 実施形態のシャッター装置を示す正面図(a)と、シャッター装置の側面図(b)である。 実施形態のシャッター装置の分解斜視図である。 実施形態の役物装置の上部を示した縦断面図である。 (a)はシャッター装置カバー部材を取り外した状態のシャッター装置を上から見た図、(b)はさらに第1〜第3ギア及び初期位置検出基板を取り外した状態のシャッター装置を上から見た図である。 モータギアの回動角度と第1,第2シャッター飾り部材の回動角度との関係を示す図である。 実施形態のシャッター装置の変形例を示した図である。 (a)はモータギアの回動角度が0度のときのシャッター装置の開閉状態を示す図、(b)はモータギアの回動角度が60度のときのシャッター装置の開閉状態を示す図、(c)はモータギアの回動角度が80度のときのシャッター装置の開閉状態を示す図である。 実施形態の第1シャッター飾り部材及び第2シャッター飾り部材が全開の状態を示す図である。 蓋揺れ制御処理を説明するためのフローチャートである。 実施形態の下可動役物ユニットを示す斜視図である。 実施形態の下可動役物ユニットの構造を模式的に示す分解斜視図である。 実施形態の下可動役物裏面カバー部材を外した状態における下可動役物ユニットの背面図である。 実施形態の下可動役物ユニットが取り付けられた部分の断面構造を示す断面図である。 実施形態のセンターケースのステージ部が配設された部分の概略を示す部分拡大図である。 実施形態の役物装置の動作の流れの一例を示した図である。 実施形態の役物装置の動作の流れの一例を示した図である。 実施形態の役物装置の動作の流れの一例を示した図である。 実施形態の役物装置の動作の流れの一例を示した図である。
以下、本発明の好適な実施の形態を図面に基づいて説明する。
図1は、本発明の一実施形態の遊技機の説明図である。
本実施形態の遊技機10は前面枠12を備え、該前面枠12は本体枠(外枠)11にヒンジ13を介して開閉回動可能に組み付けられている。遊技盤30(図3参照)は前面枠12の表側に形成された収納部(図示省略)に収納されている。また、前面枠(内枠)12には、遊技盤30の前面を覆うカバーガラス(透明部材)14を備えたガラス枠15が取り付けられている。
また、ガラス枠15の上部には、内部にランプ及びモータを内蔵した照明装置(ムービングライト)16や払出異常報知用のランプ(LED)17が設けられている。また、ガラス枠15の左右には内部にランプ等を内蔵し装飾や演出のための発光をする枠装飾装置18や、音響(例えば、効果音)を発するスピーカ(上スピーカ)19aが設けられている。さらに、前面枠12の下部にもスピーカ(下スピーカ)19bが設けられている。
また、前面枠12の下部には、図示しない打球発射装置に遊技球を供給する上皿21、遊技機10の裏面側に設けられている球払出装置84(図2参照)から払い出された遊技球が流出する上皿球出口(図示省略)、上皿21が一杯になった状態で払い出された遊技球を貯留する下皿23及び打球発射装置の操作部24等が設けられている。さらに、上皿21の上縁部には、遊技者からの操作入力を受け付けるための操作スイッチを内蔵した演出ボタン25が設けられている。また、上皿21には、上皿21に貯まった遊技球を下皿23に排出するための上皿球抜き機構22が設けられ、下皿23にも同様に、下皿23に貯まった遊技球を排出するための下皿球抜き機構26が設けられている。さらに、前面枠12下部右側には、前面枠12を開放したり施錠したりするための鍵27が設けられている。
この実施形態の遊技機10においては、遊技者が上記操作部24を回動操作することによって、打球発射装置が、上皿21から供給される遊技球を遊技盤30前面の遊技領域32に向かって発射する。また、遊技者が演出ボタン25を操作することによって、表示装置41(図3参照)における変動表示ゲーム(飾り特図変動表示ゲーム)において、遊技者の操作を介入させた演出等を行わせることができる。さらに、上皿21上方のガラス枠15の前面には、遊技者が隣接する球貸機から球貸しを受ける場合に操作する球貸ボタン28、球貸機のカードユニットからプリペイドカードを排出させるために操作する排出ボタン29、プリペイドカードの残高を表示する残高表示部(図示省略)等が設けられている。
図2には、遊技機10の裏面の構造が示されている。前面枠12の裏面上部には、払出し前の遊技球を貯留する貯留タンク81と外部への情報(例えば、賞球信号や貸球信号等)を出力する枠用外部出力基板71が設けられている。また、該貯留タンク81の底部には、緩やかな傾斜を有し遊技球を遊技機の一側へ向かって誘導するシュート82が接続され、シュート82の終端に、遊技球の流下方向を水平方向から垂直方向へ変換する屈曲流路装置83が接続されている。そして、この屈曲流路装置83の下端に駆動源を有する球払出装置84が配設され、該球払出装置84により所定数の遊技球を払出し可能に構成されている。
さらに、前面枠12の裏面下部には、上記球払出装置84を制御する払出制御装置200、表示装置41における変動表示ゲームの演出の制御を行う演出制御装置300、払出制御装置200や演出制御装置300等を統括制御する遊技制御装置100、電源回路を有し払出制御装置200や演出制御装置300等に電源供給を行う電源装置400などが配設されている。
また、前面枠12の裏面下部には、外部への情報(例えば、図柄確定情報、大当り情報、確率変動情報等)を出力する盤用外部出力基板72、遊技機側とカードユニット側とで授受される信号を中継するカードユニット中継基板210等が設けられている。
次に、遊技機10の前面に設けられる遊技盤30のうち遊技球によって遊技を行う遊技領域32の構成例を、図3を用いて説明する。
図3に示すように、遊技領域32は、略円形状のガイドレール31に囲繞されて構成される。遊技領域32には、ほぼ中央に特図変動表示ゲームの表示領域となる窓部40aを形成したセンターケース40が配置されている。このセンターケース40に形成された窓部40aの後方には、側方入光表示装置730(詳細後述)及び表示装置41が配されるようになっており、具体的には表示装置41の手前側に側方入光表示装置730が配されるようになっている。
表示装置41は、例えば、LCD(液晶表示器)、CRT(ブラウン管)等の表示画面を有する装置で構成されている。表示画面の画像を表示可能な領域(表示領域)には、複数の識別情報(特別図柄)や特図変動表示ゲームを演出するキャラクタや演出効果を高める背景画像等が表示される。表示装置41の表示画面においては、識別情報として割り当てられた複数の特別図柄が変動表示(可変表示)されて、特図変動表示ゲームに対応した飾り特図変動表示ゲームが行われる。また、表示画面には遊技の進行に基づく演出のための画像(例えば、大当たり表示画像、ファンファーレ表示画像、エンディング表示画像等)が表示される。
遊技領域32のセンターケース40の右側には、普通図柄始動ゲート(普図始動ゲート)34が設けられている。センターケース40の左下側には、三つの一般入賞口35が配置され、センターケース40の右下側には、一つの一般入賞口35が配置されている。
これら一般入賞口35、…には、各一般入賞口35に入った遊技球を検出するための入賞口スイッチ35a〜35n(図4参照)が配設されている。
また、センターケース40の下方には、特図変動表示ゲームの開始条件を与える始動入賞口36が設けられ、その直下には上部に逆「ハ」の字状に開いて遊技球が流入し易い状態に変換する一対の開閉部材37b、37bを備えるとともに内部に第2始動入賞口を有する普通変動入賞装置(普電)37が配設されている。
普通変動入賞装置37の一対の開閉部材37b,37bは、常時は遊技球の直径程度の間隔をおいた閉じた閉状態(遊技者にとって不利な状態)を保持している。ただし、普通変動入賞装置37の上方には、始動入賞口36が設けられているので、閉じた状態では遊技球が入賞できないようになっている。
そして、普図変動表示ゲームの結果が所定の停止表示態様となった場合には、駆動装置としての普電ソレノイド37c(図4参照)によって、逆「ハ」の字状に開いて普通変動入賞装置37に遊技球が流入し易い開状態(遊技者にとって有利な状態)に変化させられるようになっている。
さらに、普通変動入賞装置37の下方には、特図変動表示ゲームの結果によって遊技球を受け入れない状態と受け入れ易い状態とに変換可能な特別変動入賞装置(大入賞口)38が配設されている。
特別変動入賞装置38は、上端側が手前側に倒れる方向に回動して開放可能になっているアタッカ形式の開閉扉38cを有しており、補助遊技としての特図変動表示ゲームの結果如何によって大入賞口を閉じた状態(遊技者にとって不利な閉塞状態)から開放状態(遊技者にとって有利な状態)に変換する。
即ち、特別変動入賞装置38は、例えば、駆動装置としての大入賞口ソレノイド38b(図4参照)により駆動される開閉扉38cによって開閉される大入賞口を備え、特別遊技状態中は、大入賞口を閉じた状態から開いた状態に変換することにより大入賞口内への遊技球の流入を容易にさせ、遊技者に所定の遊技価値(賞球)を付与するようになっている。
なお、大入賞口の内部(入賞領域)には、当該大入賞口に入った遊技球を検出する検出手段としてのカウントスイッチ38a(図4参照)が配設されている。
特別変動入賞装置38の下方には、入賞口などに入賞しなかった遊技球を回収するアウト口39が設けられている。
また、遊技領域32の外側(例えば、遊技盤30の上部)には、特図変動表示ゲームをなす第1特図変動表示ゲームや第2特図変動表示ゲーム及び普図始動ゲート34への入賞をトリガとする普図変動表示ゲームを一箇所で実行する一括表示装置50(図4参照)が設けられている。
一括表示装置50は、図示は省略するが、7セグメント型の表示器(LEDランプ)等で構成された第1特図変動表示ゲーム用の第1特図変動表示部(特図1表示器)及び第2特図変動表示ゲーム用の第2特図変動表示部(特図2表示器)と、普図変動表示ゲーム用の変動表示部(普図表示器)と、同じくLEDランプで構成された各変動表示ゲームの始動記憶数報知用の記憶表示部を備える。また、一括表示装置50には、大当りが発生すると点灯して大当り発生を報知する第1遊技状態表示部(第1遊技状態表示器)、時短状態が発生すると点灯して時短状態発生を報知する第2遊技状態表示部(第2遊技状態表示器)、遊技機10の電源投入時に大当りの確率状態が高確率状態となっているエラーを表示するエラー表示部、大当り時のラウンド数(特別変動入賞装置38の開閉回数)を表示するラウンド表示部が設けられている。
本実施形態の遊技機10では、図示しない発射装置から遊技領域32に向けて遊技球(パチンコ球)が打ち出されることによって遊技が行われる。打ち出された遊技球は、遊技領域32内の各所に配置された障害釘や風車等の方向転換部材によって転動方向を変えながら遊技領域32を流下し、普図始動ゲート34、一般入賞口35、始動入賞口36、普通変動入賞装置37又は特別変動入賞装置38に入賞するか、遊技領域32の最下部に設けられたアウト口39へ流入し遊技領域32から排出される。そして、一般入賞口35、始動入賞口36、普通変動入賞装置37又は特別変動入賞装置38に遊技球が入賞すると、入賞した入賞口の種類に応じた数の賞球が、払出制御装置200によって制御される球払出装置84から、前面枠12の上皿21又は下皿23に排出される。
一方、普図始動ゲート34内には、該普図始動ゲート34を通過した遊技球を検出するための非接触型のスイッチなどからなるゲートスイッチ34a(図4参照)が設けられており、遊技領域32内に打ち込まれた遊技球が普図始動ゲート34内を通過すると、ゲートスイッチ34aにより検出されて普図変動表示ゲームが行われる。
また、普図変動表示ゲームを開始できない状態、例えば、既に普図変動表示ゲームが行われ、その普図変動表示ゲームが終了していない状態や、普図変動表示ゲームが当って普通変動入賞装置37が開状態に変換されている場合に、普図始動ゲート34を遊技球が通過すると、普図始動記憶数の上限数未満でならば、普図始動記憶数が加算(+1)されて普図始動記憶が1つ記憶されることとなる。この普図始動入賞の記憶数は、一括表示装置50の始動入賞数報知用の記憶表示部に表示される。
また、普図始動記憶には、普図変動表示ゲームの当りはずれを決定するための当り判定用乱数値が記憶されるようになっていて、この当り判定用乱数値が判定値と一致した場合に、当該普図変動表示ゲームが当りとなって特定の結果態様(特定結果)が導出されることとなる。
普図変動表示ゲームは、一括表示装置50に設けられた変動表示部(普図表示器)で実行されるようになっている。普図表示器は、普通識別情報(普図、普通図柄)として点灯状態の場合に当たりを示し、消灯状態の場合にはずれを示すLEDから構成され、このLEDを点滅表示することで普通識別情報の変動表示を行い、所定の変動表示時間の経過後、LEDを点灯又は消灯することで結果を表示するようになっている。
なお、普通識別情報として例えば数字、記号、キャラクタ図柄などを用い、これを所定時間変動表示させた後、停止表示させることにより行うように構成しても良い。この普図変動表示ゲームの停止表示が特定結果となれば、普図の当りとなって、普通変動入賞装置37の一対の開閉部材37bが所定時間(例えば、0.3秒間)開放される開状態となる。これにより、普通変動入賞装置37の内部の第2始動入賞口へ遊技球が入賞し易くなり、第2特図変動表示ゲームが実行される回数が多くなる。
普図始動ゲート34への通過検出時に抽出した普図乱数値が当たり値であるときには、普図表示器に表示される普通図柄が当たり状態で停止し、当たり状態となる。このとき、普通変動入賞装置37は、内蔵されている普電ソレノイド37c(図4参照)が駆動されることにより、開閉部材37bが所定の時間(例えば、0.3秒間)だけ開放する状態に変換され、遊技球の入賞が許容される。
始動入賞口36への入賞球及び普通変動入賞装置37への入賞球は、それぞれは内部に設けられた始動口1スイッチ36aと始動口2スイッチ37aによって検出される。始動入賞口36へ入賞した遊技球は第1特図変動表示ゲームの始動入賞球として検出され、4個を限度に記憶されるとともに、普通変動入賞装置37へ入賞した遊技球は第2特図変動表示ゲームの始動入賞球として検出され、4個を限度に記憶される。また、この始動入賞球の検出時にそれぞれ大当り乱数値や大当り図柄乱数値、並びに各変動パターン乱数値が抽出され、抽出された乱数値は、遊技制御装置100(図4参照)内の特図記憶領域(RAMの一部)に特図始動記憶として各々所定回数(例えば、最大で4回分)を限度に記憶される。そして、この特図始動記憶の記憶数は、一括表示装置50の始動入賞数報知用の記憶表示部に表示されるとともに、センターケース40の表示装置41においても表示される。
遊技制御装置100は、始動入賞口36若しくは普通変動入賞装置37への入賞、又はそれらの始動記憶に基づいて、特図1表示器又は特図2表示器で第1又は第2特図変動表示ゲームを行う。
第1特図変動表示ゲーム及び第2特図変動表示ゲームは、複数の特別図柄(特図、識別情報)を変動表示したのち、所定の結果態様を停止表示することで行われる。また、表示装置41にて各特図変動表示ゲームに対応して複数種類の識別情報(例えば、数字、記号、キャラクタ図柄など)を変動表示させる飾り特図変動表示ゲームが実行されるようになっている。
そして、特図変動表示ゲームの結果として、特図1表示器若しくは特図2表示器の表示態様が特別結果態様となった場合には、大当りとなって特別遊技状態(いわゆる、大当り状態)となる。また、これに対応して表示装置41の表示態様も特別結果態様となる。
表示装置41における飾り特図変動表示ゲームは、例えば前述した数字等で構成される飾り特別図柄(識別情報)が左(第一特別図柄)、右(第二特別図柄)、中(第三特別図柄)の順に変動表示を開始して、所定時間後に変動している図柄を順次停止させて、特図変動表示ゲームの結果を表示することで行われる。また、表示装置41では、特図始動記憶数に対応する飾り特別図柄による変動表示ゲームを行うとともに、興趣向上のためにキャラクタの出現など多様な演出表示が行われる。
なお、特図1表示器、特図2表示器は、別々の表示器でも良いし同一の表示器でも良いが、各々独立して、また、同時には実行しないように各特図変動表示ゲームが表示される。また、表示装置41も、第1特図変動表示ゲームと第2特図変動表示ゲームで別々の表示装置や別々の表示領域を使用するとしても良いし、同一の表示装置や表示領域を使用するとしても良いが、各々独立して、また、同時には実行しないように飾り特図変動表示ゲームが表示される。また、遊技機10に特図1表示器、特図2表示器を備えずに、表示装置41のみで特図変動表示ゲームを実行するようにしても良い。
また、第2特図変動表示ゲームは、第1特図変動表示ゲームよりも優先して実行されるようになっている。即ち、第1特図変動表示ゲームと第2特図変動表示ゲームの始動記憶がある場合であって、特図変動表示ゲームの実行が可能となった場合は、第2特図変動表示ゲームが実行されるようになっている。
また、第1特図変動表示ゲーム(第2特図変動表示ゲーム)が開始可能な状態で、且つ、始動記憶数が0の状態で、始動入賞口36(若しくは、普通変動入賞装置37)に遊技球が入賞すると、始動権利の発生に伴って始動記憶が記憶されて、始動記憶数が1加算されるととともに、直ちに始動記憶に基づいて、第1特図変動表示ゲーム(第2特図変動表示ゲーム)が開始され、この際に始動記憶数が1減算される。
一方、第1特図変動表示ゲーム(第2特図変動表示ゲーム)が直ちに開始できない状態、例えば、既に第1若しくは第2特図変動表示ゲームが行われ、その特図変動表示ゲームが終了していない状態や、特別遊技状態となっている場合に、始動入賞口36(若しくは、普通変動入賞装置37)に遊技球が入賞すると、始動記憶数が上限数未満ならば、始動記憶数が1加算されて始動記憶が1つ記憶されることになる。そして、始動記憶数が1以上となった状態で、第1特図変動表示ゲーム(第2特図変動表示ゲーム)が開始可能な状態(前回の特図変動表示ゲームの終了若しくは特別遊技状態の終了)となると、始動記憶数が1減算されるとともに、記憶された始動記憶に基づいて第1特図変動表示ゲーム(第2特図変動表示ゲーム)が開始される。
なお、以下の説明において、第1特図変動表示ゲームと第2特図変動表示ゲームを区別しない場合は、単に特図変動表示ゲームと称する。
なお、特に限定されるわけではないが、上記始動入賞口36内の始動口1スイッチ36a、普通変動入賞装置37内の始動口2スイッチ37a、ゲートスイッチ34a、一般入賞口スイッチ35a〜35n、カウントスイッチ38aには、磁気検出用のコイルを備え該コイルに金属が近接すると磁界が変化する現象を利用して遊技球を検出する非接触型の磁気近接センサ(以下、近接スイッチと称する)が使用されている。遊技機10のガラス枠15等に設けられた前枠開放検出スイッチ63や前面枠(遊技枠)12等に設けられた遊技枠開放検出スイッチ64には、機械的な接点を有するマイクロスイッチを用いることができる。
図4は、本実施形態のパチンコ遊技機10の制御システムのブロック図である。
遊技機10は遊技制御装置100を備え、遊技制御装置100は、遊技を統括的に制御する主制御装置(主基板)であって、遊技用マイクロコンピュータ(以下、遊技用マイコンと称する)111を有するCPU部110と、入力ポートを有する入力部120と、出力ポートやドライバなどを有する出力部130、CPU部110と入力部120と出力部130との間を接続するデータバス140などからなる。
上記CPU部110は、アミューズメントチップ(IC)と呼ばれる遊技用マイコン(CPU)111と、入力部120内の近接スイッチ用のインタフェースチップ(近接I/F)121からの信号(始動入賞検出信号)を論理反転して遊技用マイコン111に入力させるインバータなどからなる反転回路112と、水晶振動子のような発振子を備え、CPUの動作クロックやタイマ割込み、乱数生成回路の基準となるクロックを生成する発振回路(水晶発振器)113などを有する。遊技制御装置100及び該遊技制御装置100によって駆動されるソレノイドやモータなどの電子部品には、電源装置400で生成されたDC32V,DC12V,DC5Vなど所定のレベルの直流電圧が供給されて動作可能にされる。
電源装置400は、24Vの交流電源から上記DC32Vの直流電圧を生成するAC−DCコンバータやDC32Vの電圧からDC12V,DC5Vなどのより低いレベルの直流電圧を生成するDC−DCコンバータなどを有する通常電源部410と、遊技用マイコン111の内部のRAMに対して停電時に電源電圧を供給するバックアップ電源部420と、停電監視回路や初期化スイッチを有し遊技制御装置100に停電の発生、回復を知らせる停電監視信号や初期化スイッチ信号、リセット信号などの制御信号を生成して出力する制御信号生成部430などを備える。
この実施形態では、電源装置400は、遊技制御装置100と別個に構成されているが、バックアップ電源部420及び制御信号生成部430は、別個の基板上あるいは遊技制御装置100と一体、即ち、主基板上に設けるように構成してもよい。遊技盤30及び遊技制御装置100は機種変更の際に交換の対象となるので、実施例のように、電源装置400若しくは主基板とは別の基板にバックアップ電源部420及び制御信号生成部430を設けることにより、交換の対象から外しコストダウンを図ることができる。
上記バックアップ電源部420は、電解コンデンサのような大容量のコンデンサ1つで構成することができる。バックアップ電源は、遊技制御装置100の遊技用マイコン111(特に内蔵RAM)に供給され、停電中あるいは電源遮断後もRAMに記憶されたデータが保持されるようになっている。制御信号生成部430は、例えば通常電源部410で生成された32Vの電圧を監視してそれが例えば17V以下に下がると停電発生を検出して停電監視信号を変化させるとともに、所定時間後にリセット信号を出力する。また、電源投入時や停電回復時にもその時点から所定時間経過後にリセット信号を出力する。
初期化スイッチ信号は初期化スイッチがオン状態にされたときに生成される信号で、遊技用マイコン111内のRAM111C及び払出制御装置200内のRAMに記憶されている情報を強制的に初期化する。特に限定されるわけではないが初期化スイッチ信号は電源投入時に読み込まれ、停電監視信号は遊技用マイコン111が実行するメインプログラムのメインループの中で繰り返し読み込まれる。リセット信号は強制割込み信号の一種であり、制御システム全体をリセットさせる。
遊技用マイコン111は、CPU(中央処理ユニット:マイクロプロセッサ)111A、読出し専用のROM(リードオンリメモリ)111B及び随時読出し書込み可能なRAM(ランダムアクセスメモリ)111Cを備える。
ROM111Bは、遊技制御のための不変の情報(プログラム、固定データ、各種乱数の判定値等)を不揮発的に記憶し、RAM111Cは、遊技制御時にCPU111Aの作業領域や各種信号や乱数値の記憶領域として利用される。ROM111B又はRAM111Cとして、EEPROMのような電気的に書換え可能な不揮発性メモリを用いてもよい。
また、ROM111Bは、例えば、特図変動表示ゲームの実行時間、演出内容、リーチ状態の発生の有無などを規定する変動パターンを決定するための変動パターンテーブルを記憶している。
変動パターンテーブルとは、始動記憶として記憶されている変動パターン乱数1〜3をCPU111Aが参照して変動パターンを決定するためのテーブルである。また、変動パターンテーブルには、結果がはずれとなる場合に選択されるはずれ変動パターンテーブル、結果が15R当りや2R当りとなる場合に選択される大当り変動パターンテーブル等が含まれる。さらに、これらのパターンテーブルには、後半変動パターンテーブル、前半変動パターンテーブルが含まれている。
また、リーチ(リーチ状態)とは、表示状態が変化可能な表示装置を有し、該表示装置が時期を異ならせて複数の表示結果を導出表示し、該複数の表示結果が予め定められた特別結果態様となった場合に、遊技状態が遊技者にとって有利な遊技状態(特別遊技状態)となる遊技機10において、複数の表示結果の一部がまだ導出表示されていない段階で、既に導出表示されている表示結果が特別結果態様となる条件を満たしている表示状態をいう。また、別の表現をすれば、リーチ状態とは、表示装置の変動表示制御が進行して表示結果が導出表示される前段階にまで達した時点でも、特別結果態様となる表示条件からはずれていない表示態様をいう。そして、例えば、特別結果態様が揃った状態を維持しながら複数の変動表示領域による変動表示を行う状態(いわゆる全回転リーチ)もリーチ状態に含まれる。また、リーチ状態とは、表示装置の表示制御が進行して表示結果が導出表示される前段階にまで達した時点での表示状態であって、表示結果が導出表示される以前に決定されている複数の変動表示領域の表示結果の少なくとも一部が特別結果態様となる条件を満たしている場合の表示状態をいう。
よって、例えば、特図変動表示ゲームに対応して表示装置に表示される飾り特図変動表示ゲームが、表示装置における左、中、右の変動表示領域の各々で所定時間複数の識別情報を変動表示した後、左、右、中の順で変動表示を停止して結果態様を表示するものである場合、左、右の変動表示領域で、特別結果態様となる条件を満たした状態(例えば、同一の識別情報)で変動表示が停止した状態がリーチ状態となる。またこの他に、すべての変動表示領域の変動表示を一旦停止した時点で、左、中、右のうち何れか二つの変動表示領域で特別結果態様となる条件を満たした状態(例えば、同一の識別情報となった状態、ただし特別結果態様は除く)をリーチ状態とし、このリーチ状態から残りの一つの変動表示領域を変動表示するようにしても良い。そして、このリーチ状態には複数のリーチ演出が含まれ、特別結果態様が導出される可能性が異なる(信頼度が異なる)リーチ演出として、ノーマルリーチ、スペシャル1リーチ、スペシャル2リーチ、プレミアリーチ等が設定されている。なお、信頼度は、リーチなし<ノーマルリーチ<スペシャル1リーチ<スペシャル2リーチ<プレミアリーチの順に高くなるようになっている。また、このリーチ状態は、少なくとも特図変動表示ゲームで特別結果態様が導出される場合(大当りとなる場合)における変動表示態様に含まれるようになっている。即ち、特図変動表示ゲームで特別結果態様が導出されないと判定する場合(はずれとなる場合)における変動表示態様に含まれることもある。よって、リーチ状態が発生した状態は、リーチ状態が発生しない場合に比べて大当りとなる可能性の高い状態である。
CPU111Aは、ROM111B内の遊技制御用プログラムを実行して、払出制御装置200や演出制御装置300に対する制御信号(コマンド)を生成したりソレノイドや表示装置の駆動信号を生成して出力して遊技機10全体の制御を行う。
また、図示しないが、遊技用マイコン111は、特図変動表示ゲームの大当り判定用乱数や大当りの図柄を決定するための大当り図柄用乱数、特図変動表示ゲームでの変動パターン(各種リーチやリーチ無しの変動表示における変動表示ゲームの実行時間等を含む)を決定するための変動パターン乱数、普図変動表示ゲームの当たり判定用乱数等を生成するための乱数生成回路と、発振回路113からの発振信号(原クロック信号)に基づいてCPU111Aに対する所定周期(例えば、4ミリ秒)のタイマ割込み信号や乱数生成回路の更新タイミングを与えるクロックを生成するクロックジェネレータを備えている。
また、CPU111Aは、ROM111Bに記憶されている複数の変動パターンテーブルの中から、何れか一の変動パターンテーブルを取得する。具体的には、CPU111Aは、特図変動表示ゲームの遊技結果(大当り或いははずれ)や、現在の遊技状態としての特図変動表示ゲームの確率状態(通常確率状態或いは高確率状態)、現在の遊技状態としての普通変動入賞装置37の動作状態(通常動作状態或いは時短動作状態)、始動記憶数などに基づいて、複数の変動パターンテーブルの中から、何れか一の変動パターンテーブルを選択して取得する。
払出制御装置200は、図示しないが、CPU、ROM、RAM、入力インタフェース、出力インタフェース等を備え、遊技制御装置100からの賞球払出し指令(コマンドやデータ)に従って、球払出装置84の払出モータを駆動させ、賞球を払い出させるための制御を行う。また、払出制御装置200は、カードユニットからの貸球要求信号に基づいて球払出装置84の払出モータを駆動させ、貸球を払い出させるための制御を行う。
遊技用マイコン111の入力部120には、始動入賞口36内の始動口1スイッチ36a、普通変動入賞装置37内の始動口2スイッチ37a、普図始動ゲート34内のゲートスイッチ34a、一般入賞口スイッチ35a〜35n、カウントスイッチ38aに接続され、これらのスイッチから供給されるハイレベルが11Vでロウレベルが7Vのような負論理の信号が入力され、0V−5Vの正論理の信号に変換するインタフェースチップ(近接I/F)121が設けられている。近接I/F121は、入力の範囲が7V−11Vとされることで、近接スイッチのリード線が不正にショートされたり、スイッチがコネクタから外されたり、リード線が切断されてフローティングになったような異常な状態を検出することができ、異常検知信号を出力するように構成されている。
近接I/F121の出力はすべて第2入力ポート122へ供給されデータバス140を介して遊技用マイコン111に読み込まれるとともに、主基板100から中継基板70を介して図示しない試射試験装置へ供給されるようになっている。また、近接I/F121の出力のうち始動口1スイッチ36aと始動口2スイッチ37aの検出信号は、第2入力ポート122の他、反転回路112を介して遊技用マイコン111へ入力されるように構成されている。反転回路112を設けているのは、遊技用マイコン111の信号入力端子が、マイクロスイッチなどからの信号が入力されることを想定し、かつ負論理、即ち、ロウレベル(0V)を有効レベルとして検知するように設計されているためである。
従って、始動口1スイッチ36aと始動口2スイッチ37aとしてマイクロスイッチを使用する場合には、反転回路112を設けずに直接遊技用マイコン111へ検出信号を入力させるように構成することができる。つまり、始動口1スイッチ36aと始動口2スイッチ37aからの負論理の信号を直接遊技用マイコン111へ入力させたい場合には、近接スイッチを使用することはできない。上記のように近接I/F121は、信号のレベル変換機能を有する。このようなレベル変換機能を可能にするため、近接I/F121には、電源装置400から通常のICの動作に必要な例えば5Vのような電圧の他に、12Vの電圧が供給されるようになっている。
また、入力部120には、遊技機10の前面枠12等に設けられた不正検出用の磁気センサスイッチ61及び振動センサスイッチ62からの信号及び上記近接I/F121により変換された始動入賞口36内の始動口1スイッチ36a、普通変動入賞装置37内の始動口2スイッチ37a、ゲートスイッチ34a、一般入賞口スイッチ35a〜35n、カウントスイッチ38aからの信号を取り込んでデータバス140を介して遊技用マイコン111に供給する第2入力ポート122が設けられている。第2入力ポート122が保持しているデータは、遊技用マイコン111が第2入力ポート122に割り当てられているアドレスをデコードすることによってイネーブル信号CE1をアサート(有効レベルに変化)することよって、読み出すことができる。後述の他のポートも同様である。
さらに、入力部120には、遊技機10のガラス枠15等に設けられた前枠開放検出スイッチ63及び前面枠(遊技枠)12等に設けられた遊技枠開放検出スイッチ64からの信号及び払出制御装置200からの払出異常を示すステータス信号や払出し前の遊技球の不足を示すシュート球切れスイッチ信号、オーバーフローを示すオーバーフロースイッチ信号を取り込んでデータバス140を介して遊技用マイコン111に供給する第1入力ポート123が設けられている。オーバーフロースイッチ信号は、下皿23に遊技球が所定量以上貯留されていること(満杯になったこと)を検出したときに出力される信号である。
また、入力部120には、電源装置400からの停電監視信号や初期化スイッチ信号、リセット信号などの信号を遊技用マイコン111等に入力するためのシュミットトリガ回路124が設けられており、シュミットトリガ回路124はこれらの入力信号からノイズを除去する機能を有する。電源装置400からの信号のうち停電監視信号と初期化スイッチ信号は、一旦第1入力ポート123に入力され、データバス140を介して遊技用マイコン111に取り込まれる。つまり、前述の各種スイッチからの信号と同等の信号として扱われる。遊技用マイコン111に設けられている外部からの信号を受ける端子の数には制約があるためである。
一方、シュミットトリガ回路124によりノイズ除去されたリセット信号RSTは、遊技用マイコン111に設けられているリセット端子に直接入力されるとともに、出力部130の各ポートに供給される。また、リセット信号RSTは出力部130を介さずに直接中継基板70に出力することで、試射試験装置へ出力するために中継基板70のポート(図示省略)に保持される試射試験信号をオフするように構成されている。また、リセット信号RSTを中継基板70を介して試射試験装置へ出力可能に構成するようにしてもよい。なお、リセット信号RSTは入力部120の各ポート122,123には供給されない。リセット信号RSTが入る直前に遊技用マイコン111によって出力部130の各ポートに設定されたデータはシステムの誤動作を防止するためリセットする必要があるが、リセット信号RSTが入る直前に入力部120の各ポートから遊技用マイコン111が読み込んだデータは、遊技用マイコン111のリセットによって廃棄されるためである。
出力部130は、データバス140に接続され払出制御装置200へ出力する4ビットのデータ信号とデータの有効/無効を示す制御信号(データストローブ信号)及び演出制御装置300へ出力するデータストローブ信号SSTBを生成する第1出力ポート131と、演出制御装置300へ出力する8ビットのデータ信号を生成する第2出力ポート132とを備える。遊技制御装置100から払出制御装置200及び演出制御装置300へは、パラレル通信でデータが送信される。また、出力部130には、演出制御装置300の側から遊技制御装置100へ信号を入力できないようにするため、即ち、片方向通信を担保するために第1出力ポート131からの上記データストローブ信号SSTB及び第2出力ポート132からの8ビットのデータ信号を出力する単方向のバッファ133が設けられている。なお、第1出力ポート131から払出制御装置200へ出力する信号に対してもバッファを設けるようにしてもよい。
さらに、出力部130には、データバス140に接続され図示しない認定機関の試射試験装置へ変動表示ゲームの特図図柄情報を知らせるデータや大当りの確率状態を示す信号などを中継基板70を介して出力するバッファ134が実装可能に構成されている。このバッファ134は遊技店に設置される実機(量産販売品)としてのパチンコ遊技機の遊技制御装置(主基板)には実装されない部品である。なお、前記近接I/F121から出力される始動口スイッチなど加工の必要のないスイッチの検出信号は、バッファ134を通さずに中継基板70を介して試射試験装置へ供給される。
一方、磁気センサスイッチ61や振動センサスイッチ62のようにそのままでは試射試験装置へ供給できない検出信号は、一旦遊技用マイコン111に取り込まれて他の信号若しくは情報に加工されて、例えば遊技機が遊技制御できない状態であることを示すエラー信号としてデータバス140からバッファ134、中継基板70を介して試射試験装置へ供給される。なお、中継基板70には、上記バッファ134から出力された信号を取り込んで試射試験装置へ供給するポートや、バッファを介さないスイッチの検出信号の信号線を中継して伝達するコネクタなどが設けられている。中継基板70上のポートには、遊技用マイコン111から出力されるチップイネーブル信号CEも供給され、該信号CEにより選択制御されたポートの信号が試射試験装置へ供給されるようになっている。
また、出力部130には、データバス140に接続され特別変動入賞装置38を開成させるソレノイド(大入賞口ソレノイド)38bや普通変動入賞装置37の開閉部材37bを開成させるソレノイド(普電ソレノイド)37cの開閉データと、一括表示装置50のLEDのカソード端子が接続されているデジット線のオン/オフデータを出力するための第3出力ポート135、一括表示装置50に表示する内容に応じてLEDのアノード端子が接続されているセグメント線のオン/オフデータを出力するための第4出力ポート136、大当り情報など遊技機10に関する情報を枠用外部出力基板71や盤用外部出力基板72へ出力するための第5出力ポート137が設けられている。枠用外部出力基板71や盤用外部出力基板72から出力された遊技機10に関する情報は、例えば遊技店に設置された情報収集端末や遊技場内部管理装置(図示省略)に供給される。
さらに、出力部130には、第3出力ポート135から出力される大入賞口ソレノイド38bの開閉データ信号を受けてソレノイド駆動信号や普電ソレノイド37cの開閉データ信号を受けてソレノイド駆動信号を生成し出力する第1ドライバ(駆動回路)138a、第3出力ポート135から出力される一括表示装置50の電流引き込み側のデジット線のオン/オフ駆動信号を出力する第2ドライバ138b、第4出力ポート136から出力される一括表示装置50の電流供給側のセグメント線のオン/オフ駆動信号を出力する第3ドライバ138c、第5出力ポート137から管理装置等の外部装置へ供給する外部情報信号を枠用外部出力基板71や盤用外部出力基板72へ出力する第4ドライバ138dが設けられている。
上記第1ドライバ138aには、32Vで動作するソレノイドを駆動できるようにするため、電源電圧としてDC32Vが電源装置400から供給される。また、一括表示装置50のセグメント線を駆動する第3ドライバ138cには、DC12Vが供給される。デジット線を駆動する第2ドライバ138bは、表示データに応じたデジット線を電流で引き抜くためのものであるため、電源電圧は12V又は5Vのいずれであってもよい。12Vを出力する第3ドライバ138cによりセグメント線を介してLEDのアノード端子に電流を流し込み、接地電位を出力する第2ドライバ138bによりカソード端子よりセグメント線を介して電流を引き抜くことで、ダイナミック駆動方式で順次選択されたLEDに電源電圧が流れて点灯される。外部情報信号を枠用外部出力基板71や盤用外部出力基板72へ出力する第4ドライバ138dは、外部情報信号に12Vのレベルを与えるため、DC12Vが供給される。なお、バッファ134や第3出力ポート135、第1ドライバ138a等は、遊技制御装置100の出力部130、即ち、主基板ではなく、中継基板70側に設けるようにしてもよい。
さらに、出力部130には、外部の検査装置500へ各遊技機の識別コードやプログラムなどの情報を送信するためのフォトカプラ139が設けられている。フォトカプラ139は、遊技用マイコン111が検査装置500との間でシリアル通信によってデータの送受信を行なえるように双方通信可能に構成されている。なお、かかるデータの送受信は、通常の汎用マイクロプロセッサと同様に遊技用マイコン111が有するシリアル通信端子を利用して行なわれるため、入力ポート122,123のようなポートは設けられていない。
次に、図5を用いて、演出制御装置300の構成について説明する。
演出制御装置300は、遊技用マイコン111と同様にアミューズメントチップ(IC)からなる主制御用マイコン(1stCPU)311と、該1stCPU311の制御下でもっぱら映像制御を行う映像制御用マイコン(2ndCPU)312と、該2ndCPU312からのコマンドやデータに従って表示装置41への映像表示のための画像処理を行うグラフィックプロセッサとしてのVDP(Video Display Processor)313と、各
種のメロディや効果音などをスピーカ19a,19bから再生させるため音の出力を制御する音源LSI314を備えている。
上記主制御用マイコン(1stCPU)311と映像制御用マイコン(2ndCPU)312には、各CPUが実行するプログラムを格納したPROM(プログラマブルリードオンリメモリ)からなるプログラムROM321、322がそれぞれ接続され、VDP313にはキャラクタ画像や映像データが記憶された画像ROM323が接続され、音源LSI314には音声データが記憶された音ROM324が接続されている。主制御用マイコン(1stCPU)311は、遊技用マイコン111からのコマンドを解析し、演出内容を決定して映像制御用マイコン312へ出力映像の内容を指示したり、音源LSI314への再生音の指示、装飾ランプの点灯、モータの駆動制御、演出時間の管理などの処理を実行する。主制御用マイコン(1stCPU)311と映像制御用マイコン(2ndCPU)312の作業領域を提供するRAMは、それぞれのチップ内部に設けられている。なお、作業領域を提供するRAMはチップの外部に設けるようにしてもよい。
特に限定されるわけではないが、主制御用マイコン(1stCPU)311と映像制御用マイコン(2ndCPU)312との間、主制御用マイコン(1stCPU)311と音源LSI314との間は、それぞれシリアル方式でデータの送受信が行なわれ、映像制御用マイコン(2ndCPU)312との間、主制御用マイコン(1stCPU)311とVDP313との間は、パラレル方式でデータの送受信が行なわれるように構成されている。パラレル方式でデータを送受信することで、シリアルの場合よりも短時間にコマンドやデータを送信することができる。VDP313には、画像ROM323から読み出されたキャラクタなどの画像データを展開したり加工したりするのに使用される超高速なVRAM(ビデオRAM)313aや、画像を拡大、縮小処理するためのスケーラ313b、LVDS(小振幅信号伝送)方式で表示装置41へ送信する映像信号を生成する信号変換回路313cなどが設けられている。
VDP313から主制御用マイコン311へは表示装置41の映像と前面枠12や遊技盤30に設けられている装飾ランプの点灯を同期させるために垂直同期信号VSYNCが入力される。さらに、VDP313から映像制御用マイコン312へは、VRAMへの描画の終了等処理状況を知らせるため割込み信号INT0〜n及び映像制御用マイコン312からのコマンドやデータの受信待ちの状態にあることを知らせるためのウェイト信号WAITが入力される。また、映像制御用マイコン312から主制御用マイコン311へは、映像制御用マイコン312が正常に動作していることを知らせるとともにコマンドの送信タイミングを与える同期信号SYNCが入力される。主制御用マイコン311と音源LSI314との間は、ハンドシェイク方式でコマンドやデータの送受信を行うために、呼び掛け(コール)信号CTSと応答(レスポンス)信号RTSが交換される。
なお、映像制御用マイコン(2ndCPU)312には、主制御用マイコン(1stCPU)311よりも高速なつまり高価なCPUが使用されている。主制御用マイコン(1stCPU)311とは別に映像制御用マイコン(2ndCPU)312を設けて処理を分担させることによって、主制御用マイコン(1stCPU)311のみでは実現困難な大画面で動きの速い映像を表示装置41に表示させることが可能となるとともに、映像制御用マイコン(2ndCPU)312と同等な処理能力を有するCPUを2個使用する場合に比べてコストの上昇を抑制することができる。また、CPUを2つ設けることによって、2つのCPUの制御プログラムを別々に並行して開発することが可能となり、これによって新機種の開発期間を短縮することができる。
また、演出制御装置300には、遊技制御装置100から送信されてくるコマンドを受信するインタフェースチップ(コマンドI/F)331が設けられている。このコマンドI/F331を介して、遊技制御装置100から演出制御装置300へ送信された変動開始コマンド、客待ちデモコマンド、ファンファーレコマンド、確率情報コマンド、及びエラー指定コマンド等を、演出制御指令信号として受信する。遊技制御装置100の遊技用マイコン111はDC5Vで動作し、演出制御装置300の主制御用マイコン(1stCPU)311はDC3.3Vで動作するため、コマンドI/F331には信号のレベル変換の機能が設けられている。
また、演出制御装置300には、遊技盤30(センターケース40を含む)に設けられているLED(発光ダイオード)を有する盤装飾装置42(例えば表示装置41における演出表示と協働して演出効果を高める役物装置700等)を駆動制御する盤装飾LED制御回路332、前面枠12に設けられているLED(発光ダイオード)を有する枠装飾装置(例えば枠装飾装置18等)を駆動制御する枠装飾LED制御回路333、遊技盤30(センターケース40を含む)に設けられている盤演出装置(例えば役物装置700等)44を駆動制御する盤演出モータ/SOL制御回路334、前面枠12に設けられているモータ(例えば前記ムービングライト16を動作させるモータ等)45を駆動制御する枠演出モータ制御回路335が設けられている。なお、ランプやモータ及びソレノイドなどを駆動制御するこれらの制御回路332〜335は、アドレス/データバス304を介して主制御用マイコン(1stCPU)311と接続されている。
さらに、演出制御装置300には、前面枠12に設けられた演出ボタン25に内蔵されているスイッチ25aや上記盤演出装置44内のモータの初期位置を検出する演出モータスイッチのオン/オフ状態を検出して主制御用マイコン(1stCPU)311へ検出信号を入力するスイッチ入力回路336、前面枠12に設けられた上スピーカ19aを駆動するオーディオパワーアンプなどからなるアンプ回路337a、前面枠12に設けられた下スピーカ19bを駆動するアンプ回路337bが設けられている。
電源装置400の通常電源部410は、上記のような構成を有する演出制御装置300やそれによって制御される電子部品に対して所望のレベルの直流電圧を供給するため、モータやソレノイドを駆動するためのDC32V、液晶パネルからなる表示装置41を駆動するためのDC12V、コマンドI/F331の電源電圧となるDC5Vの他に、LEDやスピーカを駆動するためのDC18Vやこれらの直流電圧の基準としたり電源モニタランプを点灯させるのに使用するNDC24Vの電圧を生成するように構成されている。さらに、主制御用マイコン(1stCPU)311や映像制御用マイコン(2ndCPU)312として、3.3Vあるいは1.2Vのような低電圧で動作するLSIを使用する場合には、DC5Vに基づいてDC3.3VやDC1.2Vを生成するためのDC−DCコンバータが演出制御装置300に設けられる。なお、DC−DCコンバータは通常電源部410に設けるようにしてもよい。
電源装置400の制御信号生成部430により生成されたリセット信号RSTは、主制御用マイコン311、映像制御用マイコン312、VDP313、音源LSI314、ランプやモータなどを駆動制御する制御回路332〜335、スピーカを駆動するアンプ回路337a、337bに供給され、これらをリセット状態にする。また、この実施例においては、映像制御用マイコン312の有する汎用のポートを利用して、VDP313に対するリセット信号を生成して供給する機能を有するように構成されている。これにより、映像制御用マイコン312とVDP313の動作の連携性を向上させることができる。
次に、これらの制御回路において行われる遊技制御について説明する。
遊技制御装置100の遊技用マイコン111のCPU111Aでは、普図始動ゲート34に備えられたゲートスイッチ34aからの遊技球の検出信号の入力に基づき、普図の当たり判定用乱数値を抽出してROM111Bに記憶されている判定値と比較し、普図変動表示ゲームの当たり外れを判定する処理を行う。そして、普図表示器に、識別図柄を所定時間変動表示した後、停止表示する普図変動表示ゲームを表示する処理を行う。この普図変動表示ゲームの結果が当たりの場合は、普図表示器に特別の結果態様を表示するとともに、普電ソレノイド37cを動作させ、普通変動入賞装置37の開閉部材37b、37bを所定時間(例えば、0.3秒間)上述のように開放する制御を行う。なお、普図変動表示ゲームの結果がはずれの場合は、普図表示器にはずれの結果態様を表示する制御を行う。
また、始動入賞口36に備えられた始動口1スイッチ36aからの遊技球の検出信号の入力に基づき始動入賞(始動記憶)を記憶し、この始動記憶に基づき、第1特図変動表示ゲームの大当たり判定用乱数値を抽出してROM111Bに記憶されている判定値と比較し、第1特図変動表示ゲームの当たり外れを判定する処理を行う。
また、普通変動入賞装置37に備えられた始動口2スイッチ37aからの遊技球の検出信号の入力に基づき始動記憶を記憶し、この始動記憶に基づき、第2特図変動表示ゲームの大当たり判定用乱数値を抽出してROM111Bに記憶されている判定値と比較し、第2特図変動表示ゲームの当たり外れを判定する処理を行う。
そして、遊技制御装置100のCPU111Aは、上記の第1特図変動表示ゲームや第2特図変動表示ゲームの判定結果を含む制御信号(演出制御コマンド)を、演出制御装置300に出力する。そして、特図1表示器や特図2表示器に、識別図柄を所定時間変動表示した後、停止表示する特図変動表示ゲームを表示する処理を行う。
また、演出制御装置300では、遊技制御装置100からの制御信号に基づき、表示装置41で特図変動表示ゲームに対応した飾り特図変動表示ゲームを表示する処理を行う。
さらに、演出制御装置300では、遊技制御装置100からの制御信号に基づき、スピーカ19a,19bからの音の出力、各種LEDの発光を制御する処理等を行う。
そして、遊技制御装置100のCPU111Aは、特図変動表示ゲームの結果が当たりの場合は、特図1表示器や特図2表示器に特別結果態様を表示するとともに、特別遊技状態を発生させる処理を行う。
特別遊技状態を発生させる処理においては、CPU111Aは、例えば、大入賞口ソレノイド38bにより特別変動入賞装置38の開閉扉38cを開放させ、大入賞口内への遊技球の流入を可能とする制御を行う。
そして、大入賞口に所定個数(例えば、10個)の遊技球が入賞するか、大入賞口の開放から所定時間(例えば、25秒又は1秒)が経過するかの何れかの条件が達成されるまで大入賞口を開放することを1ラウンドとし、これを所定ラウンド回数(例えば、15回又は2回)継続する(繰り返す)制御(サイクル遊技)を行う。
また、特図変動表示ゲームの結果がはずれの場合は、特図1表示器や特図2表示器にはずれの結果態様を表示する制御を行う。
また、遊技制御装置100は、特図変動表示ゲームの結果態様に基づき、特別遊技状態の終了後に、遊技状態として確変状態を発生可能となっている。この確変状態は、特図変動表示ゲームにて当り結果となる確率が、通常確率状態に比べて高い状態(高確率状態)である。また、第1特図変動表示ゲーム及び第2特図変動表示ゲームのどちらの特図変動表示ゲームの結果態様に基づき確変状態となっても、第1特図変動表示ゲーム及び第2特図変動表示ゲームの両方が確変状態となる。
また、遊技制御装置100は、特図変動表示ゲームの結果態様に基づき、特別遊技状態の終了後に、遊技状態として時短状態を発生可能となっている。
この時短状態においては、普図変動表示ゲーム及び普通変動入賞装置37を時短動作状態とする制御を行う。具体的には、時短状態においては、上述の普図変動表示ゲームの実行時間が第1の変動表示時間よりも短い第2の変動表示時間となるように制御され(例えば、10秒が1秒)、これにより、単位時間当りの普通変動入賞装置37の開放回数が実質的に多くなるように制御される。また、時短状態においては、普図変動表示ゲームが当り結果となって普通変動入賞装置37が開放される場合に、開放時間が通常状態の第1開放時間よりも長い第2開放時間となるように制御される(例えば、0.3秒が1.7秒)。また、時短状態においては、普図変動表示ゲームの1回の当り結果に対して、普通変動入賞装置37の開放回数が1回の第1開放回数ではなく、2回以上の複数回(例えば、3回)の第2開放回数に設定される。
なお、普図変動表示ゲームの実行時間を第2の変動表示時間(例えば、1秒)とする制御と、普通変動入賞装置37の開放態様を開放時間が第2開放時間(例えば、1.7秒)とし、且つ、普図変動表示ゲームの1回の当り結果に対する開放回数が第2開放回数(例えば、3回)とする制御は、何れか一方のみを行っても良いし、両方を行っても良い。また、時短動作状態においては、普図変動表示ゲームの当り結果となる確率が通常動作状態より高くなるように制御してもよい。
これにより、普通変動入賞装置37に遊技球が入賞し易くなり、第2特図変動表示ゲームの始動が容易となる。
なお、確変状態と普図変動表示ゲーム及び普通変動入賞装置37の時短動作状態は、それぞれ独立して発生可能であり、両方を同時に発生することも可能であるし、一方のみを発生させることも可能である。
次に、本実施形態の遊技機10における特図変動表示ゲームにて発生し得る当りの種類、及び各当たり終了後に移行する遊技状態について、図6(a)〜(c)を用いて説明する。なお、図6(a)では、通常状態Uにおいて特図当たり抽選に当選した場合について示しているが、遊技状態D又はEにおいて特図当たり抽選に当選した場合もほぼ同様である。
図6(a)に示すように、通常状態Uにおいて2R当たりに当選すると、2R当たり状態Bが発生し、特別変動入賞装置38の開閉扉38cが0.3秒×2R開放(0.3秒の開放を2回繰り返す動作)される。そして、大当たり終了後に高確率状態(電サポ有り)Dに移行する。なお、次回大当たりが発生するまでこの状態Dが継続される。
ここで、電サポとは、特図変動表示ゲームが所定回数(例えば100回)消化されるまで、普図変動表示ゲームにおける普図当たりの当選確率を高くするとともに、普図変動表示ゲームの変動表示時間を短縮することにより、普通変動入賞装置37の開閉部材37b,37bの開閉動作を頻発させて普通変動入賞装置37に遊技球が入賞しやすくした電動役物サポート状態であり、時短とも呼ばれる。
また、通常状態Uにおいて15R当りのうち15R確変当たりに当選すると、15R当たり状態Cが発生し、特別変動入賞装置38の開閉扉38cが25秒又は最大で10個の入賞球があるまで開放される動作を15回(15R)繰り返す。そして、大当たり終了後に高確率状態(電サポ有り)Dに移行する。なお、次回大当たりが発生するまでこの状態Dが継続される。
一方、通常状態Uにおいて15R当りのうち15R通常当たりに当選すると、15R当たり状態Cが発生し、特別変動入賞装置38の開閉扉38cが25秒又は最大で10個の入賞球があるまで開放される動作を15回繰り返す。そして、大当たり終了後に低確率状態(電サポのみ有り)Eに移行する。この状態Eにおいて、特図変動表示ゲームが100回消化されると低確率状態(電サポのみ有り)Eから通常状態Uに移行する。
また、通常状態Uにおいて小当たりに当選すると、小当たり状態Aが発生し、2R当たり状態Bと同様に特別変動入賞装置38の開閉扉38cが0.3秒の開放を2回繰り返す動作がなされる。そして、小当たり終了後に通常状態Uに戻る。なお、通常状態Uとは異なる遊技状態D又はEのいずれかにおいて小当たり抽選に当選した場合は、小当たり終了後には元の遊技状態に戻ることとなる。つまり、例えば高確率状態Dにおいて小当たり抽選に当選した場合は、小当たり終了後も高確率状態Dは継続される。
図6(b)は、始動入賞口(特図1始動口)36に遊技球が入賞したことを契機とする第1特図変動表示ゲームにおける条件装置の作動を伴う大当りの内訳を示す説明図であり、図6(c)は、普通変動入賞装置(特図2始動口)37に遊技球が入賞したことを契機とする第2特図変動表示ゲームにおける条件装置の作動を伴う大当りの内訳を示す説明図である。
ここで、条件装置とは、特図変動表示ゲームで大当たりが発生(大当たり図柄の停止表示)した場合に作動するもので、条件装置が作動するとは、例えば大当たり状態が発生して特別変動入賞装置38の開閉扉38cを連続して作動させるための特定のフラグがセットされることを意味する。条件装置が作動しないとは、例えば小当たり抽選に当選したような場合のように上述のフラグはセットされないことを意味する。なお、「条件装置」は上記のようなソフトウェア的にオンオフされるフラグのようなソフトウェア手段であっても良いし、電気的にオンオフされるスイッチのようなハードウェア手段であっても良い。また、「条件装置」は、その作動が電動役物の連続作動に必要条件とされる装置として、パチンコ遊技機の分野においては一般的に使用されている用語であり、本明細書においても同様な意味を有する用語として使用している。
図6(b)に示すように、第1特図変動表示ゲームにおいて条件装置の作動を伴う大当りが発生する割合は、15R確変当たりと15R通常当たりがともに38%であり、2R確変当たりが24%となっている。一方、図6(c)に示すように、第2特図変動表示ゲームにおいて条件装置の作動を伴う大当りが発生する割合は、15R確変当たりが62%、15R通常当たりが38%となっており、2R確変当たりが発生しない分だけ15R確変当たりの割合が第1特図変動表示ゲームの場合よりも高く設定されている。
なお、第1特図変動表示ゲーム、第2特図変動表示ゲームにおいて条件装置の作動を伴う大当りが発生する確率はともに1/349に設定され、また、条件装置の作動を伴わない小当たりが発生する確率はともに1/200に設定されている。
次に、遊技盤30について図7及び図10を参照して説明する。
図7は、遊技盤30の構造を模式的に示す分解斜視図であり、図10は、遊技盤30のセンターケース40が取り付けられた部分の断面構造を示す断面図である。
図7及び図10に示すように、遊技盤30は、略中央部にセンターケース40を取り付けるための取付用開口部601が形成された略矩形板状の遊技盤ベース部材600を備え、この遊技盤ベース部材600に対して、手前側からセンターケース40、並びに、当該センターケース40の左下方に一般入賞口35を有するとともに左サイドランプ621を有する左サイドランプ部材620、当該センターケース40の下方に一般入賞口35を有するとともに特別変動入賞装置38を有する大入賞口部材640、当該センターケース40の右下方に右サイドランプ661を有する右サイドランプ部材660がそれぞれ取り付けられている。
また、遊技盤ベース部材600の裏側から後述するセグ装置(可動装置)721、シャッター装置722、左サイド装飾部材723、右サイド装飾部材724、側方入光表示装置730、及び下可動役物ユニット740を備える役物装置700、並びに、当該役物装置700の下方には、各入賞口(例えば、一般入賞口35、特別変動入賞装置38など)に入賞した入賞球を集合させて入賞球排出路(図示省略)に流下案内するための球寄せ部材800が取り付けられている。
具体的には、センターケース40は、遊技盤ベース部材600の取付用開口部601に嵌め込まれるように取り付けられ、当該センターケース40の窓部40aの窓枠内にセグ装置721、シャッター装置722、左サイド装飾部材723、及び右サイド装飾部材724が配置されるように役物装置700が取り付けられている。
また、役物装置700の裏側には、表示装置41が配設されている(図10参照)。具体的には、役物装置700の略中央部には、略矩形状の開口701が設けられ、当該開口701を介して特図変動表示ゲームが表示される表示部が視認されるように表示装置41が配設されている。
次に、センターケース40について図7及び図10を参照して説明する。
図7及び図10に示すように、センターケース40は、前面側が開口するとともに、奥側に表示装置41の表示部や後述する側方入光表示装置730の表示部を前側に臨ませる窓部40aが形成されている。すなわち、センターケース40は、遊技盤ベース部材600に螺着するためのネジ穴が複数形成された枠状のケース取付ベース部材40bを備え、このケース取付ベース部材40bの前面側に各種複数の装飾部材40c、…が取り付けられている。
ケース取付ベース部材40bの上部には、当該取付ベース部材40bの表面から前方に庇状に突出した鎧部40dが設けられている。
鎧部40dは、その前端が遊技領域32の前側を規制するガラス板の裏面近傍に配置され、これにより、遊技球がセンターケース40の内側に流入するのを防止している。
また、鎧部40dは、その上端部から左下側に傾斜して形成された傾斜面部40eを備え、当該傾斜面部40eの下端部に連続して左側面部40fが形成され、その左側面部の略中央部分に、ワープ流路構成部材(図示省略)が設けられている。
このワープ流路構成部材は、センターケース40の外側を流下する遊技球をセンターケース40の内側に流入させるためのワープ入口(図示省略)とワープ入口に流入した遊技球を当該センターケース40の内側に排出させるためのワープ出口40gとを備えている。
ワープ出口40gは、センターケース40の内周壁の左側端部に右方に向けて開口するように形成されている。そして、ワープ出口40gから排出された遊技球は、右斜め下方に向かって緩やかに傾斜した傾斜部40hを通ってステージ部40i上に排出される。
ステージ部40iはセンターケース40の前側開口の下部、具体的には、窓部40aの手前側下部に形成され、遊技球が転動可能となっている。
また、ステージ部40iは、奥側から手前側に緩やかに傾斜して形成され、ステージ部40i上に流入された遊技球は、ステージ部40iの前面側からセンターケース40外側に流下する。また、ステージ部40iは、クリア部材で形成され、当該ステージ部40iの後方に配設される下可動役物ユニット740(詳細後述)の動作を視認可能となっている(図38参照)。
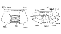
次に、役物装置700について図8を参照して説明する。
図8は、役物装置700の構造を模式的に示す分解斜視図である。
図8に示すように、役物装置700は、カバー部材710と、このカバー部材710の内側に配設され、セグ装置(セグメント型の表示装置)721、シャッター装置(揺動役物装置)722、左サイド装飾部材723、及び右サイド装飾部材724が取り付けられる役物ベース装置720と、当該役物ベース装置720の裏側に配設される側方入光表示装置730と、当該役物ベース装置720の下部に配設される下可動役物ユニット740とを備えている。
カバー部材710は、遊技盤ベース部材600に取り付け固定されるものであり、役物ベース装置720及び側方入光表示装置730が収納される前面開口の箱形状に形成されるとともに、後面略中央に表示装置41の表示部が視認される略矩形状の開口711が形成されている。
また、カバー部材710の手前側の縁部には、遊技盤ベース部材600に螺着するためのネジ穴が複数形成されている。
役物ベース装置720は、略中央部に略矩形状の開口部720aが形成され、当該開口部720aの上縁部にセグ装置721及び当該セグ装置721のセグ表示部7211を覆うシャッター装置722が設けられている。また、当該開口部720aの左側部にはセグ装置721を上下動させる第1上下動機構725が設けられるとともに当該第1上下動機構725の前面を覆う左サイド装飾部材723が設けられている。また同様に当該開口部720aの右側部には第2上下動機構726が設けられるとともに当該第2上下動機構726の前面を覆う右サイド装飾部材724が設けられている。
また、当該開口部720aの下縁部は、遊技機10の前面側から下可動役物ユニット740の動作を視認可能なようにクリア部材で形成され、下可動役物ユニット740の上面及び前面を覆うように形成されている。
さらに、役物ベース装置720の裏面側には、当該役物ベース装置720の開口部720aを閉塞するように側方入光表示装置730の表示部を構成する導光板731(後述)が取り付けられている(図11参照)。
側方入光表示装置730は、導光板731の側面から照射した光を当該導光板731の平面部に形成されたパターン溝(異方性反射パターン)で反射させることにより、当該パターン溝で表される識別情報(例えば文字や図形)を発光表示させる装置であり、役物ベース装置720の開口部720aを介して遊技機10の前面側から当該発光表示を視認可能となっている。
下可動役物ユニット740は、表示装置41の前面側で動作する下可動役物装置であり、クリア部材で形成されたセンターケース40のステージ部40i及び役物ベース装置720の下縁部を通してその動作を視認できるように配設されている(図38参照)。
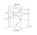
次に、側方入光表示装置730の詳細について図9〜図16を参照して説明する。
側方入光表示装置730は、図9に示すように、識別情報(例えば、文字や図形)を発光表示させるためのパターン溝(異方性反射パターン)が形成された導光板731と、当該導光板731の側面から光を照射する複数のLEDユニット732,…と、当該複数の
LEDユニット732,…をそれぞれ所定の位置に配設するためのLEDユニット止着部
材733とを備えている。
導光板731は、例えば略矩形板状の透明なアクリル板で形成され、導光板731の平面部には4分割してなる領域のうち、右上部(遊技機10の前面側から見て)の第1領域H1、左上部の第2領域H2、右下部の第3領域H3、及び左下部の第4領域H4のそれぞれに識別情報(例えば、文字や図形)を発光表示させるためのパターン溝が形成されている。具体的には、図15(e)に示すように、第1領域H1には×印、第2領域H2には○印、第3領域には□印、第4領域H4には△印を発光表示させるためのパターン溝がそれぞれ形成されている。
また、導光板731の縁部には、役物ベース装置720に螺着するためのネジ穴が複数形成されている。
LEDユニット(発光ユニット)732は、導光板731の側面から光を照射させるための装置である。図12に示すように、LEDユニット732は、複数のLED732a1,…、及び当該複数のLED732a1,…それぞれに電力を供給する配線を接続するためのコネクタ部732a2を一列に配設した短冊状のLED基板732aと、複数のLED732a1,…それぞれから照射される光を拡散するレンズ部材732bと、LED基板732a及びレンズ部材732bを挟着する一対のLEDユニット部材732cとを備えている。
レンズ部材732bは平板状をなしており、その長手方向の一側面には複数のLED732a1,…それぞれに対応した位置に半円状の円弧部732b1,…が形成され、各LED732a1から照射された光を拡散することが可能となっている。これにより、レンズ部材732bで光を拡散することによって、導光板731の側面を均等に照射することができ、光を照射したい範囲を適切に照射することができるようになる。
なお、レンズ部材732bの円弧部732b1,…のうち両端のレンズの形状は、図1
3に示すように、例えば、レンズ部材732bの両端が該レンズ部材732bの長手方向に対して垂直な面を有する扇状のものであっても良い。また、レンズ部材732bの両端に沿うような光規制部732c3をレンズユニット部材732cに設けるようにしても良い(図13参照)。これにより、LED732a1から照射される光が導光板731の側面以外に漏れることを防止することができるようになる。
一対のLEDユニット部材732cは、それぞれの端部の互いに対向する位置にネジ穴732c1,…が形成されており、一対のLEDユニット部材732cを挟着した状態(
図10及び図16参照)でLEDユニット止着部材733の所定の位置に螺着可能となっている。また、LEDユニット部材732cは、LED基板732aを挟着する面に該LED基板732aに設けられた切欠部732a3と係合する突起部732c2を備えている。これにより、切欠部732a3と突起部732c2とを係合させることで、LED基板732aを所定位置に合わせた状態で一対のLEDユニット部材732cに取り付けられるようになる。
具体的には、図11に示すように、導光板731の第1領域H1の右側(遊技機10の前面側から見て)に第1LEDユニット732w、第2領域H2の上側に第2LEDユニット732x、第3領域H3の下側に第3LEDユニット732y、そして第4領域H4の左側に第4LEDユニット732zがそれぞれ配設され、各領域に光を照射するようになっている。なお、図11は、導光板731を遊技機10の裏面側から見た図である。
LEDユニット止着部材733は、図9に示すように、略中央部に略矩形状の開口部733aが形成され、その前面側より導光板731によって閉塞されるようになっている。また、当該開口部733aを介して表示装置41の表示部を視認可能となっている。
また、当該開口部733a右側縁部の略中央より上側に上述した第1LEDユニット732w、当該開口部733a上縁部の略中央より左側に上述した第2LEDユニット732x、当該開口部733a下縁部の略中央より右側に上述した第3LEDユニット732y、及び当該開口部733a左側縁部の略中央より下側に上述した第4LEDユニット732zが配設され、それぞれ導光板731の側面から光を照射可能となっている(図10及び図16参照)。
次に、側方入光表示装置730における発光表示の原理について図14を参照して説明する。図14に示すように、導光板731の裏面には、当該導光板731の一側面と平行な垂直面f1と、この一側面から入光して当該垂直面f1を透過した光を導光板731の前面側(遊技機10の前面側)に反射させる傾斜面f2と、を備える断面レの字状の溝Tが形成されている。これにより、LEDから照射された光を導光板731の一側面から入光させ、垂直面f1にてそのまま透過させた光を傾斜面f2で反射させ導光板731の前面側に導くことが可能となる。
そして、本実施形態では、導光板731の第1領域H1には×印を表示するための複数の溝T(異方性反射パターン)、同様に、第2領域H2には○印、第3領域H3には□印、そして第4領域には△印を表示するための複数の溝T(異方性反射パターン)がそれぞれ形成されている。
また、導光板731の第1〜第4の各領域に形成された溝は、当該導光板731の第1〜第4の各領域それぞれの側面に対向配置された各LEDユニット732の光の照射方向に合わせた所定の向き(第1〜第4の各領域における識別情報が遊技機10の前面側に発光表示される方向)に形成されている。
図15(a)〜(e)には、側方入光表示装置730による発光表示の表示例が示されている。図15(a)は、第1〜第4の各LEDユニット732の何れからも光を照射していないときであり、側方入光表示装置730の表示部には何の表示もなされずに後方に配置された表示装置41による表示画像だけが視認されることとなる。また、図15(b)は、第1〜第4の各LEDユニット732のうち、第2LEDユニット732xにより光が照射されたときの表示例であり、このとき側方入光表示装置730の表示部(第2表示領域H2)には○印が発光表示されることとなる。
同様に、図15(c)は、第1〜第4の各LEDユニット732のうち、第1LEDユニット732w及び第2LEDユニット732xにより光が照射されたときの表示例であり、このとき第1表示領域H1には×印そして第2表示領域H2には○印が発光表示されることとなる。また、図15(d)は、第1〜第4の各LEDユニット732のうち、第1LEDユニット732w、第2LEDユニット732x、及び第4LEDユニット732zにより光が照射されたときの表示例であり、このとき第1表示領域H1には×印、第2表示領域H2には○印、そして第4表示領域H4には△印が発光表示されることとなる。さらに、図15(e)は、第1〜第4の各LEDユニット732全てにより光が照射されたときの表示例であり、このとき第1表示領域H1には×印、第2表示領域H2には○印、第3表示領域H3には□印、そして第4表示領域H4には△印が発光表示されることとなる。
次に、役物ベース装置720の構成について図17〜図27を参照して説明する。
図17は、役物ベース装置720の正面図である。役物ベース装置720は、図17に示すように、正面視で略矩形の枠状をしたフレーム750と、フレーム750の前面側に取り付けられ、フレーム750に対して上下方向に移動可能なセグ装置721と、フレーム750の左側部に設けられる第1上下動機構725と、フレーム750の右側部に設けられる第2上下動機構726と、フレーム750の上部からセグ装置721の前面側にかけて設けられるシャッター装置722と、フレーム750の前面下部を覆う下部前面カバー部材727などから構成されている。フレーム750中央の開口部720aからは、表示装置41の表示部及び側方入光表示装置730の表示部が視認可能となっている。フレーム750の上部左側端には第1配線係止部750aが形成されている。また、フレーム750の上部右側端には第2配線係止部750b、フレーム750の右側上端には第1結束部750c、フレーム750の左側上部には第2結束部750dがそれぞれ形成されている。
図18は、図17の左上部を拡大した図である。
フレーム750の前面には、図18に示すように、第1上下動機構725から斜め上方へ向かう外側起立壁(第1の起立壁)750eが形成されている。外側起立壁750eの上部は鉛直方向に沿って延設されている。また、フレーム750の前面であって外側起立壁750eよりもセグ装置721側には、軸側起立壁(第2の起立壁)750fが鉛直方向に沿って形成されている。また、軸側起立壁750fの下端には、円柱状の配線軸部750gが軸側起立壁750fと一体に形成されている。外側起立壁750eの上部と軸側起立壁750fの下部とは、所定間隔を空けて水平方向に並びつつ対向している。
図19は、図18に示した箇所を斜め前方から見た斜視図である。
外側起立壁750e及び軸側起立壁750fは、図19に示すように、フレーム750前面に対し垂直に起立している。配線軸部750gもフレーム750に対し垂直に立てられている。外側起立壁750e及び軸側起立壁750fはともに、第1上下動機構725の第1ラック725dの前後方向の厚さとほぼ等しい高さに形成されている。このように構成されたフレーム750左側部前面に左サイド装飾部材723(図8参照)が取り付けられることにより、外側起立壁750eの上部、軸側起立壁750fの下部、フレーム750の前面及び左サイド装飾部材723の裏面によって、図18に示したように、セグ装置721の左側端に接続されるセグ用配線721c3を役物ベース装置720の外側に導出する配線導出部720bが形成されるとともに、配線可動領域720cが形成される。配線可動領域720cは、セグ装置721との接続部近傍のセグ用配線721c3がセグ装置721の上下動に伴って上下動するのを可能とする。一方、配線導出部720bにおいてはセグ用配線721c3の上下動がほぼ規制されている。配線導出部720bでは前述したように、外側起立壁750eの上部と軸側起立壁750fの下部とが、所定間隔を空けて水平方向に並びつつ対向しているとともに、鉛直方向を向いているため、配線導出部720bが役物ベース装置720の側方から針金等の侵入を防ぐための忍び返し領域として機能する。
図20(a)は、セグ装置721が最も上に位置するときの役物ベース装置720の正面図、図20(b)は、セグ装置721が最も下に位置するときの役物ベース装置720の正面図である。前述したように、セグ装置721は、フレーム750に対し上下動可能となっている。具体的には、図20(a)に示す最も上の位置(第1の位置)と図20(b)に示す最も下の位置(第2の位置)との間を、フレーム750前面に沿って上下動する。配線導出部720bは、セグ装置721が最も上の位置にあるときのセグ装置721とセグ用配線721c3との接続部(後述する配線挿通口7215)と、セグ装置721が最も下の位置にあるときの接続部とから略等距離に位置している。すなわち、配線導出部720bは、セグ装置721が最も上の位置にあるときの接続部の位置と、セグ装置721が最も下にあるときの接続部の位置との略中間の高さに位置している。セグ装置721が最も下にあるとき、セグ用配線721c3は、接続部から配線導出部720bにかけてほぼ真っ直ぐに延び、セグ装置721が上昇すると、セグ用配線721c3が配線軸部750gに当接して折り曲げられる。このとき、外側起立壁750e、軸側起立壁750f、フレーム750前面、左サイド装飾部材723の裏面は、セグ用配線721c3が配線可動領域720cの外部にはみ出さないようにその動きを規制する規制部として機能している。
第1上下動機構725は、図18に示したように、第1モータ725aと、第1モータ725aの回転軸に取り付けられたピニオン(図示省略)と咬合する第1ギア725bと、第1ギア725bと咬合する第2ギア725cと、第2ギア725cと咬合しフレーム750の側部に沿って上下方向に摺動する第1ラック725dなどを有している。外側起立壁750eの下部は、第1モータ725aの外周形状に沿うように、セグ装置721が配置された方向に向かって円弧状に湾曲した湾曲部750e1となっており、第1モータ725aは、この湾曲部750e1にガイドされる形でフレーム750に固定されている。第1モータ725aは演出制御装置300の盤演出モータ/SOL制御回路334に接続され、盤演出モータ/SOL制御回路334から電力が供給されることにより回転する。そして、第1モータ725aの回転により、第1ラック725dがフレーム750に対し上下方向に移動する。
第2上下動機構726は、図17に示したように、第2モータ726aと、第2モータ726aの回転軸に取り付けられたピニオン(図示省略)と咬合する第3ギア726b(図11参照)と、第3ギア726bと咬合する第4ギア726c(図11参照)と、第4ギア726cと咬合しフレーム750の側部に沿って上下方向に摺動する第2ラック726dなどを有している。第2モータ726a、第3ギア726b、第4ギア726c及び第2ラック726dは、役物ベース装置720の中心に関して第1上下動機構725と線対称に配置されている。第2モータ726aも演出制御装置300の盤演出モータ/SOL制御回路334に接続され、盤演出モータ/SOL制御回路334から電力が供給されることにより回転する。第2モータ726aは、第1モータ725aと同時かつ第1モータ725aとは反対方向に回転するように制御される。そして、第2モータ726aの回転により、第2ラック726dが、常に第1ラック725dと同じ高さに位置するようにフレーム750に対して上下方向に移動する。
下部前面カバー部材727は、クリア部材で形成されている。この下部前面カバー部材727の後方には、下可動役物ユニット740が配置され、図10に示したように、下可動役物ユニット740の前面及び上面が下部前面カバー部材727によって覆われる。このため、前方から下部前面カバー部材727を通して下可動役物ユニット740の動作が視認可能となるとともに、下可動役物ユニット740への遊技球の進入を防止可能となっている。
図21(a)は、セグ装置721の正面図である。セグ装置721は、フレーム750に対し上下動可能に設けられる可動装置である。セグ装置721の中央部には、セグ表示部7211が設けられている。セグ表示部7211は、左側の第一特別図柄を表示する第1特図表示部7212、右側の第二特別図柄を表示する第2特図表示部7213、中央の第三特別図柄を表示する第3特図表示部7214で構成されている。各特図表示部7212〜7214は、7セグメント表示によりそれぞれ0〜9の10種類の数字を表示可能である。また、セグ装置721は、セグ表示部7211の周囲を発光させる演出表示が可能となっている。セグ装置721の左右両端には、第1,第2ラック725d,726dの上部と連結するための連結部721b,721bがそれぞれ形成されている。
図21(b)は、セグ装置721の分解斜視図である。セグ装置721は、図21(b)に示すように、セグ装置ベース部材721aと、セグ装置ベース部材721aの左側部に被せられる第1配線カバー721b1及び右側部に被せられる第2配線カバー721b2と、セグ装置ベース部材721aの中央部前面側に取り付けられるセグ基板721cと、セグ基板721cの前面側に配置されるリフレクタ721dと、リフレクタ721dの前面側に配置される拡散シート721eと、拡散シート721eの前面側に配置されセグレンズ721fと、セグレンズ721fの周縁部を囲む内フレーム721gと、これらの各部材を収納するとともに固定する外フレーム721hなどを有している。
図22は、図21(b)の一部を拡大した図である。リフレクタ721dは、リフレクタ721dの背後で発光するLED721c1の光を前方へ向けるとともにセグ表示部7211の周囲の光を遮断し、セグ表示部7211で表示される数字の視認性を高めるものである。リフレクタ721dは、略楕円形の基部721d1と基部721d1の前面に複数設けられた筒部721d2とからなる。基部721d1にはセグ表示部7211の各特図表示部7212〜7214の個々のセグメントごとに対応する複数の開口721d3(図23参照)が形成されている。基部721d1前面には、各開口721d3ごとに、各開口721d3の形状に対応した断面形状を有する複数の筒部721d2が前方に向かって形成されている。各筒部721d2の内部は前後方向に貫通する空洞となっており、各開口721d3と連通している。また基部721d1であって各開口721d3の周囲には、開口721d3を囲むようにして複数の孔721d4が形成されている。
セグ基板721cの表面には、複数のLED721c1が実装されている。各LED721c1は、図23(a)に示すように、各特図表示部7212〜7214の個々のセグメント及び各孔721d4にそれぞれ対応するように、すなわち、セグ基板721cをリフレクタ721dと重ねたときに、リフレクタ721dの各開口721d3及びその周囲の孔721d4に一つずつ配置されるように実装されている。セグメント用のLED721c1は、筒部721d2によって囲繞されるとともに、周囲部用のLED721c1と隔てられている。セグ基板721cの裏面には、図22に示したように、コネクタ721c2が取り付けられている。コネクタ721c2にはセグ用配線721c3の一端が接続されている。セグ用配線721c3の他端は演出制御装置300の盤装飾LED制御回路332に接続され、盤装飾LED制御回路332から供給される電力によって所定のLED721c1が点灯するようになっている。例えば、数字を表示するときにはセグメント表示用のLED721c1を点灯させ、数字の周囲を光らせたいときには周囲部用のLED721c1を点灯させる。
セグ装置ベース部材721aの上下には、図22に示したように、その形状に沿って前方に起立する上起立壁721a1と下起立壁721a2がそれぞれ形成されている。セグ装置ベース部材721aの左右両側部に第1配線カバー721b1及び第2配線カバー721b2が被せられることにより、セグ用配線721c3を通すための配線連通部721a3が形成される。セグ装置ベース部材721aの中央部には、電子部品用開口部721a4が形成されている。電子部品用開口部721a4は、セグ装置ベース部材721aをセグ基板721cに重ねて背面側から見たときに、セグ基板721cの裏面から突出する各LED721c1のピンなどの突起が全て囲まれるように形成されている。電子部品用開口部721a4の周囲には前方に向かって起立壁721a5が形成されている。起立壁721a5の高さは、セグ基板721c裏面から突出するピンなどの突起の高さと同程度となっている。また、電子部品用開口部721a4の側方であってセグ基板721cのコネクタ721c2に対応する箇所(LED721c1の裏面に対応しない箇所)にはコネクタ用開口部721a6が形成されている。コネクタ用開口部721a6の周囲であって、セグ基板721cからセグ用配線721c3が延出する方向(図21の左側)には、セグ基板721cに向かって起立する起立壁を形成しない配線延出空間が形成されている。なお、強度の面などで問題がある場合には、必ずしも一つの電子部品用開口部721a4で全てのLED721c1を囲む必要は無く、複数(例えば2,3個)の開口でそれぞれ囲むようにしてもよい。また、セグ装置ベース部材721aの各LED721c1の裏面及び他の突起と対応する位置に、複数の小さな孔を電子部品用開口部721a4としてそれぞれ形成し、電子部品用開口部721a4の形成面積を最小限にとどめるようにしてもよい。また、コネクタ用開口部721a6に、セグ用配線721c3が通る左側の配線連通部721a3の方向に向かって開放するコ字状あるいはC字状の起立壁を形成し、コネクタ用開口部721a6の周縁部であって起立壁の形成されていない箇所をセグ用配線721c3を通すための配線延出空間としてもよい。
セグ装置ベース部材721aの左右両端部では、上起立壁721a1と下起立壁721a2との間隔が狭められることにより、配線挿通口7215(セグ装置721とセグ用配線721c3との接続部)が形成されている。また、配線挿通口7215から外側に向かうに従って互いに上下方向に離れていく上起立壁721a1と下起立壁721a2、セグ装置ベース部材721aの裏面及び第1配線カバー721b1によって正面視扇状の配線誘導部7216が形成されている。配線誘導部7216における上起立壁721a1は、セグ装置721が最も下に位置したときにフレーム750の配線導出部720bの方向を向くように形成されている。また、配線誘導部7216における下起立壁721a2は、セグ装置721が最も上に位置したときに配線導出部720bの方向を向くように形成されている。セグ用配線721c3は、正面視左側の配線連通部721a3を通り、配線挿通口7215からセグ装置721の外部に導出される。導出されたセグ用配線721c3は、セグ装置721が上下動するときに配線挿通口7215を中心として上下に回動するようにして曲がるが、セグ用配線721c3の曲がる範囲は配線誘導部7216によって規制される。
拡散シート721eは、図21(b)に示したように、楕円形の板状をした透明部材で、リフレクタ721dから出てきたLED721c1の光、特にリフレクタ721dの筒部721d2の周囲に設けられた周囲部用のLED721c1から入射された光を面状に拡散して射出する。
セグレンズ721fは、周縁部に対し中央部が前方に突出した楕円形の透明部材である。また、セグレンズ721fの中央部には、正面視の形状がセグ表示部7211の個々のセグメントごとに対応する形状をなし、前方に向かって突出する複数の凸部721f1が形成されている。そして、各凸部721f1は、リフレクタ721dと重ねたときに、セグ表示部7211の個々のセグメントとそれぞれ重なるようになっている。
内フレーム721gは、楕円枠状をした部材である。内フレーム721gにはセグレンズ721fの中央部が嵌め込まれるようになっている。外フレーム721hは、内フレーム721gよりも一回り大きな楕円枠状をしており、前述したセグ基板721c、リフレクタ721d、拡散シート721e、セグレンズ721fおよび内フレーム721gが収納される。
図23(b)は、セグ装置721中央部の縦断面図である。
外フレーム721hがネジなどによってセグ装置ベース部材721aに固定されることにより、セグ基板721c、リフレクタ721d、拡散シート721e、セグレンズ721f、内フレーム721gがセグ装置ベース部材721aと外フレーム721hとによって挟持される。そして、リフレクタ721dの筒部721d2を通る光がセグレンズ721fの凸部721f1から射出可能となる。このことにより、セグ表示部7211が強調された迫力ある演出を可能としている。また、セグ基板721c裏面に形成されている突起が電子部品用開口部721a4の起立壁721a5によって囲まれる空間に収まり、セグ装置721の裏面から突出しないようになっている。また、コネクタ721c2がコネクタ用開口部721a6に収まり、こちらもセグ装置721の裏面から突出しないようになっている。この電子部品用開口部721a4及びコネクタ用開口部721a6により、各開口部721a4、721a6を設けない場合に比べてセグ装置721の前後方向の幅を薄くすることができる。なお、コネクタ用開口部721a6には起立壁が形成されていないので、コネクタ721c2に接続されているセグ用配線721c3はセグ装置ベース部材721aに邪魔されること無くセグ装置721の外部へ導出可能となっている。
図24は、カバー部材710を取り外した状態の役物装置700を背面側から見た斜視図である。側方入光表示装置730の第2LEDユニット732xに接続された配線732x1は、第1配線係止部750aに掛けられるとともに、役物ベース装置720の側部に沿って下方へ延びている。配線導出部720bから導出されたセグ用配線721c3は、シャッター装置722の初期位置検出基板722gに接続されている配線722g1、第2LEDユニット732xに接続されている配線732x1などとともに結束部材750d1によって束ねられるとともに、配線導出部720bの上方に形成された第2結束部750dに係止されている。束ねられた各種配線は、第2結束部750dから下方へと延び、各基板へそれぞれ接続されている。なお、図示しないが第1モータ725aに接続された配線は、外側起立壁750eの外側を通っており、外側起立壁750eの内側を通るセグ用配線721c3と隔てられている。
図25(a)は、シャッター装置722の正面図、図25(b)は、シャッター装置722の側面図である。シャッター装置722は、シャッター装置ベース部材722a、シャッター装置ベース部材722aに取り付けられ、シャッター装置ベース部材722aに対して回動する第1,第2シャッター部材722b,722c、第1,第2シャッター部材722b,722cの前端部から下方に向かってそれぞれ延設される揺動部材としての第1,第2シャッター飾り部材722b1,722c1、シャッター装置ベース部材722aに設けられ、第1,第2シャッター部材722b,722cを開閉させる駆動力伝達機構としての開閉機構722d、開閉機構722dを上から覆うシャッター装置カバー部材722eなどを備えている。これにより、シャッター装置722は揺動役物装置として機能し、第1,第2シャッター飾り部材722b1,722c1を開閉(揺動)させることにより、背後に位置するセグ装置721のセグ表示部7211を遮蔽したり、一部または全体を露出させたりする演出を行う。
なお、図30に示すように、第1,第2シャッター飾り部材722b1,722c1はその一部を、文字(例えば「封」;図30参照)を形どったクリア部材で構成しても良い。これにより、シャッター装置722の後方に配設されたセグ装置721からの光を当該クリア部材で透過させることで、「封」の文字が浮き出て見えるようになる。
図26は、シャッター装置722の分解斜視図である。シャッター装置722は、前述した構成に加えて、シャッター装置ベース部材722aに取り付けられ、第1,第2シャッター部材722b,722cをガイドするシャッターレール722f、シャッター装置カバー部材722eに取り付けられる初期位置検出基板722g等を備えている。第1,第2シャッター部材722b,722cの後端には回動軸722b2,722c2がそれぞれ形成されている。また、シャッター装置ベース部材722aの中央部にはその回動軸722b2,722c2を差し込むための二つの孔722a1,722a1が形成されている。回動軸722b2,722c2を孔722a1,722a1に差し込むと第1,第2シャッター部材722b,722cがシャッターレール722fに係合し、第1,第2シャッター部材722b,722cがシャッターレール722fにガイドされながら回動軸722b2,722c2を中心として水平方向に回動する。
開閉機構722dは、シャッター装置ベース部材722aに組みつけられて回転する第1〜第3ギア722d2〜722d4、第1〜第3ギア722d2〜722d4を回転させる駆動源としてのシャッター用モータ722d1などを有している。シャッター用モータ722d1は演出制御装置300の盤演出モータ/SOL制御回路334に接続され、盤演出モータ/SOL制御回路334から電力が供給されることにより回転可能となっている。
初期位置検出基板722gは、第1シャッター部材722bの初期位置を検出するものである。初期位置検出基板722gは、例えば、フォトインタラプタなどのシャッター部材位置検出センサを基板に実装したものであり、この基板がシャッター装置カバー部材722eに形成された開口722e1から嵌め込まれている。初期位置検出基板722gは、演出制御装置300の演出モータスイッチ25aに接続され、検出した第1,第2シャッター部材722b,722cの開閉状態を演出制御装置300のスイッチ入力回路336に出力するようになっている。
ここで、初期位置検出基板722gは、初期状態検出手段として機能する。
図27は、役物ベース装置720上部の縦断面図である。
図27に示したセグ装置721は、最も上に位置した状態となっている。このとき、セグ装置721は第1,第2シャッター飾り部材722b1,722c1の後方に位置している。この状態で、第1,第2シャッター飾り部材722b1,722c1が閉じていると、遊技者側から見たときに、セグ装置721が第1,第2シャッター飾り部材722b1,722c1によって遮蔽される。
図28(a)には、シャッター装置カバー部材722eを取り外した状態のシャッター装置722を上から見た図が、図28(b)には、さらに第1〜第3ギア722d2〜722d4及びシャッター部材位置検出センサを備える初期位置検出基板722gを取り外した状態のシャッター装置722を上から見た図が示されている。
図28(b)に示すように、第1シャッター部材722bは、その平面上に第1シャッター部材722bが初期位置(第1シャッター飾り部材722b1が閉じた状態)にあることを検出するための第1シャッター部材検出突部722b3と、長孔状の第1リンク係合溝722b4とを備えている。また、第2シャッター部材722cは、その平面上に第1リンク係合溝722b4と同形状の第2リンク係合溝722c4を備えている。これにより、第1シャッター部材722b及び第2シャッター部材722cは、それぞれ第1、第2シャッターリンク軸(クランク軸)722d6,722d7が挿入される第1,第2リンク係合溝(案内溝部)722b4を有する移動板を構成することとなる。
そして、第1シャッター部材722bが初期位置にあるとき、第1シャッター部材検出突部722b3は、図28(a)に示す初期位置検出基板722gの裏面に設けられたシャッター部材位置検出センサによって、検出された状態となっている。また、この初期位置にあるとき、第1ギア722d2の平面上に設けられた第1シャッターリンク軸722d6が第1リンク係合溝722b4の略中央に、第2ギア722d3の平面上に設けられた第2シャッターリンク軸722d7が第2リンク係合溝722c4の略中央に位置するように、シャッター用モータ722d1の駆動軸に軸支されたモータギア722d5、このモータギア722d5に歯合する第3ギア722d4、第3ギア722d4に歯合する第2ギア722d3、第2ギア722d3に歯合する第1ギア722d2がそれぞれ配設されている。これにより、第1ギア722d2及び第2ギア722d3は、それぞれ第1シャッターリンク軸722d6,第2シャッターリンク軸722d7を回転軸の中心から外れた外周部に突設したクランク板を構成することとなる。また、当該第1ギア722d2及び第2ギア722d3、第1シャッター部材722b及び第2シャッター部材722c、並びに初期位置検出基板722gは、クランク機構部を構成することとなる。
次に、シャッター装置722の開動作について図29、図31、及び図32を参照して説明する。図29は、モータギア722d5の回動角度と第1,第2シャッター飾り部材722b1,722c1の回動角度との関係を示すグラフである。また、図31(a)は、モータギア722d5の回動角度が0度のときのシャッター装置722の開閉状態を示す図、図31(b)は、モータギア722d5の回動角度が60度のときのシャッター装置722の開閉状態を示す図、図31(c)は、モータギア722d5の回動角度が80度のときのシャッター装置722の開閉状態を示す図である。また、図32は、第1シャッター飾り部材722b1及び第2シャッター飾り部材722c1が全開の状態を示す図である。
図29、及び図31(a)に示すように、モータギア722d5の回動角度が0度から60度に達するまでは、第1、第2シャッターリンク軸722d6,722d7はそれぞ
れ第1、第2リンク係合溝722b4,722c4の内壁に沿って摺動している状態であ
るため、第1,第2シャッター飾り部材722b1,722c1の回動角度は徐々に拡がるもののその回動角度は僅かである。
そして、図29、及び図31(b)に示すように、モータギア722d5の回動角度が60度に達すると、第1、第2シャッターリンク軸722d6,722d7がそれぞれ第
1、第2リンク係合溝722b4,722c4の端部に当接した状態となり、モータギア
722d5の回動角度が60度以降はほぼ一定の角度で第1,第2シャッター飾り部材722b1,722c1が回動し、図32に示すように、モータギア722d5の回動角度が180度に達すると、第1,第2シャッター飾り部材722b1,722c1がそれぞれ26度回動し、全開の状態となる。
次に、シャッター装置722の開閉動作を利用した蓋(第1,第2シャッター飾り部材722b1,722c1)揺れ制御処理について図33を参照して説明する。
この蓋揺れ制御処理は、演出制御装置300による処理であり、遊技制御装置100から特図変動表示ゲームの遊技結果を示す制御コマンドを受信して当該特図変動表示ゲームが開始される前に行われる制御処理である。
図33に示すように、蓋揺れ制御処理では、まず、遊技制御装置100から受信した制御コマンドに基づき、特図変動表示ゲームの遊技結果が大当たりであるか否かを判定する(ステップS1)。
ここで、特図変動表示ゲームの遊技結果が大当たりである場合(ステップS1;Yes)は、盤演出モータ/SOL制御回路334の制御下において、モータギア722d5の回動角度が初期位置である0度から60度に達した後は、60度→80度→60度→80度…と回動角度が60度と80度の状態を繰り返すシャッター用モータ722d1の駆動制御(図31(b),(c)参照)を行う「揺れ大」処理(ステップS2)が1/2の確率で選択され、モータギア722d5の回動角度が初期位置である0度の状態から20度に達した後は、20度→0度→20度…と回動角度が0度と20度の状態を繰り返すシャッター用モータ722d1の駆動制御を行う「揺れ小」処理(ステップS3)が1/5の確率で選択され、シャッター用モータ722d1を駆動させない「揺れ無し」処理(ステップS4)が3/10の確率で選択される処理を行い、本処理を終了する。
一方、特図変動表示ゲームの遊技結果が大当たりでない場合(ステップS1;No)は、「揺れ大」処理(ステップS5)が1/600の確率で選択され、「揺れ小」処理(ステップS6)が3/600の確率で選択され、「揺れ無し」処理(ステップS6)が597/600の確率で選択される処理を行い、本処理を終了する。
このように、蓋揺れ制御処理では、特図変動表示ゲームの結果が大当りの場合は、「揺れ大」の演出が行われる割合が大きく、一方、特図変動表示ゲームの結果がはずれの場合は、「揺れ大」の演出が行われる割合が小さいので、当該「揺れ大」の演出が行われた場合には、遊技結果が大当りとなることへの期待感を持たせることが可能となり、遊技の興趣を高めることができる。
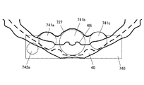
次に、下可動役物ユニット740について図34〜図36を参照して説明する。
図34は、下可動役物ユニット740を示す斜視図であり、図35は、下可動役物ユニット740を示す分解斜視図である。また、図36は、下可動役物裏面カバー部材745を外した状態における下可動役物ユニット740の背面図である。
図34及び図35に示すように、下可動役物ユニット740は、表示装置41の前面下側で動作する下可動役物装置であり、所定角度内で揺動する第1、第2、及び第3回転体741a,741b,741cを備える下可動役物741と、下可動役物741を揺動させる揺動機構742と、下可動役物741の背面側から光を照射する下可動役物LED基板743と、下可動役物741、揺動機構742、及び下可動役物LED基板743を取り付けるための下可動役物ベース部材744と、下可動役物ベース部材744の裏面を閉塞する下可動役物裏面カバー部材745と、を備えている。
下可動役物741は、第1回転体741aと、第2回転体741bと、第3回転体741cと、を備えている。第1、第2、第3回転体741a,741b,741cはそれぞれ円形状の平板で形成され、それぞれの表面上には装飾部材741a1,741b1,741c1が取り付けられ、それぞれの裏面には回動軸741a2,741b2,741c2が取り付けられている。
揺動機構742は、下可動役物用モータ742aと、下可動役物741を揺動させるための下可動役物回転ギア部742bと、下可動役物回転ギア部742bの位置を検出するためのギア位置検出器742c(図36参照)と、を備えている。
下可動役物用モータ742aは、盤演出装置44を構成する下可動役物741を所定角度で揺動制御が可能なステッピングモータであり、具体的には、たとえば盤演出モータ/SOL制御回路334からの制御信号に基づき、その駆動軸を所定の方向に所定の角度回転させた後、逆方向に回転させる。
下可動役物回転ギア部742bは、図35及び図36に示すように、下可動役物用モータ742aによる回転駆動力を伝達する駆動力伝達歯車742b1と、駆動力伝達歯車742b1に歯合する第1従動歯車742b2と、第1従動歯車742b2に歯合するとともに第1回転体741aの回動軸741a2で軸支される第1回転歯車742b3と、第1回転歯車742b3に歯合する第2従動歯車742b4と、第2従動歯車742b4に歯合する第3従動歯車742b5と、第3従動歯車742b5に歯合するとともに第2回転体741bの回動軸741b2で軸支される第2回転歯車742b6と、第2回転歯車742b6に歯合する第4従動歯車742b7と、第4従動歯車742b7に歯合する第5従動歯車742b8と、第5従動歯車742b8に歯合するとともに第3回転体741cの回動軸741c2で軸支される第3回転歯車742b9と、を備えている。
また、駆動力伝達歯車742b1の円周上には突片742b1aが設けられており、後述するギア位置検出器742cでこの突片742b1aを検出することで、下可動役物741を揺動させる際の初期位置を確認可能となっている。
ギア位置検出器742cは、例えば発光部と受光部とを備えるフォトインタラプタであり、演出モータSW25aを構成するものである。ギア位置検出器742cは、突片742b1aが発光部と受光部との間を通り発光部からの光を遮ることで、下可動役物741が初期位置にあることを検出し、SW入力回路336に検出信号を送信する。そして、当該検出信号がSW入力回路336に送信されることにより、CPU311の制御下において、盤演出モータ/SOL制御回路334から下可動役物用モータ742aに下可動役物741を揺動させる制御信号が送信可能となっている。
下可動役物LED基板743は、その表面に複数のLEDが所定間隔を空けて配設されており、下可動役物ベース部材744の裏面に取り付けられるようになっている。
また、下可動役物LED基板743の略中央部水平方向に並んで5つの挿通穴が設けられている。こられ下可動役物LED基板743の略中央部の5つの挿通穴はそれぞれ、図35に示すように、左側から順に、第2従動歯車742b4の回動軸、第3従動歯車742b5の回動軸、第2回転体741bの回動軸741b2、第4従動歯車742b7の回動軸、第5従動歯車742b8の回動軸を挿通可能となっている。
下可動役物ベース部材744は、クリア部材で形成され下可動役物LED基板743に配設されたLEDによって照射された光を透過可能となっている。
また、下可動役物ベース部材744の左端部には、下可動役物用モータ742aを取り付けるためのモータ取付用開口部744aが設けられており、下可動役物ベース部材744の裏面側から下可動役物用モータ742aを取り付けられるようになっている。
また、下可動役物ベース部材744の略中央部水平方向に並んで3つの軸穴744b,
744c,744dが設けられている。軸穴744bは、第1回転体741aの回動軸7
41a2を、軸穴744cは、第2回転体741bの回動軸741b2を、軸穴744dは、第3回転体741cの回動軸741c2を挿通可能となっている。また、下可動役物ベース部材744表面上の軸穴744b及び軸穴744dの周囲には装飾部材744eが取り付けられている。
下可動役物裏面カバー部材745は、下可動役物ベース部材744の裏面を閉塞する平板状のクリア部材で形成され、その平面上には第1〜第5従動歯車742b2,742b
4,742b5,742b7,742b8それぞれの回動軸を挿通可能な挿通穴が設けられ
ている。そして、下可動役物裏面カバー部材745により下可動役物ベース部材744の裏面を閉塞することで、第1〜第5従動歯車742b2,742b4,742b5,742
b7,742b8それぞれを軸着可能となっている。また、下可動役物裏面カバー部材7
45の平面上には、これらの挿通穴の他、下可動役物用モータ742aの回転軸や、第1、第2、第3回転体741a,741b,741cの回動軸741a2,741b2,741c2を挿通可能な挿通穴が複数設けられている。
図37は、図10に示された下可動役物ユニット740の部分拡大図である。図37に示すように、下可動役物ユニット740は、その後方に導光板731の下部が配設される位置に設けられている。このため、下可動役物LED基板743によって下可動役物741の背面側から光を照射するだけではなく、導光板731の第3領域H3や第4領域H4に光が照射される場合にも下可動役物741の背面側から光を照射することができるようになるので、下可動役物ユニット740を動作させる場合に多種多様な演出が可能となる。
図38は、図3に示されたセンターケース40のステージ部40iが配設された部分の概略を示す部分拡大図である。図38に示すように、ステージ部40iは、当該ステージ部40iの遊技球が転動する転動面の高さが下可動役物ユニット740の垂直方向中央部の高さと一致するように水平方向に延出して設けられているため、遊技者はステージ部40iを転動する遊技球を見て楽しむとともに後方に配設された第1、第2、及び第3回転体741a,741b,741cの動作を見て楽しむことができるようになる。
なお、図38に示す点線は遊技盤ベース部材600の取付用開口部601の縁部を示す線であり、当該点線の外側にある部材、例えば下可動役物用モータ742aや下可動役物ベース部材744の下部は遊技盤ベース部材600の後方に配設され視認できないようになっている。
上記のように本実施形態の遊技機によれば、可動装置(セグ装置721)をその前面側にシャッター装置722を備えることにより、可動装置(セグ装置721)の移動以外にも、シャッター部材(第1,第2シャッター飾り部材722b1,722c1)によってセグ装置721を遮蔽して遊技者から見えなくしたり、セグ装置721を露出させたりするという動作が新たに加わる。これにより、従来に比べて様々な演出表示が可能となるので、遊技者のセグ装置721に対する期待感が高まり、遊技の興趣を高めることができる。
また、制御手段(盤演出モータ/SOL制御回路334)は、シャッター装置722が遮蔽状態にあるとき、可動装置(セグ装置721)を移動させず、シャッター装置721が非遮蔽状態となった後に、可動装置(セグ装置721)を移動させるように駆動源を制御するので、例えば、表示装置の上部にシャッター部材を設け、遮蔽状態のときは可動装置を表示装置の上方に位置させておき、シャッター装置が非遮蔽状態となった後に可動装置を下方に移動させるようにすることにより、シャッター部材が遮蔽状態から非遮蔽状態に切り替わるとき、容器に見立てたシャッター部材の中から可動装置が出てきて下方に落下していくかのように、段階的な動きを順序立ててみせる演出が出来、遊技の興趣を高めることができる。
また、可動装置(セグ装置721)のセグ表示部7211は、発光源(LED721c1)が配置されたセグ基板721cと、リフレクタ721dと、拡散シート721eと、セグレンズ721fとからなるので、セグメント用の発光源(LED721c1)が点灯すると、セグレンズの凸部721f1によってセグメント表示が前方に突出して見えるようになる。このため、演出に迫力を与えることができる。
また、セグ表示部7211の周囲に設けられた装飾用の発光源(LED721c1)が点灯すると、その光が拡散シート721eにより拡散されて、セグ表示部7211の周囲が面発光しているように見える。このため可動装置(セグ装置721)の装飾性が高くなる。
また、リフレクタの筒部721dによってセグメント用の発光源(LED721c1)からの光と装飾用の発光源(LED721c1)からの光が隔てられるので、セグメント部分の発光状態もはっきりと遊技者に報知することが出来る。
また、セグ装置ベース部材721aには、セグ基板721cの裏面と対応する位置に発光源(LED721c1)用の開口部721a4が、また、セグ基板721cの裏面と対向しない位置にコネクタ用の開口部がそれぞれ形成されているので、基板裏面から突出するピンやコネクタ721c2をセグ装置ベース部材721aの対応する開口部721a4,721a6内にそれぞれ臨ませることにより、可動装置(セグ装置721)の前後方向の幅を狭くすることが出来る。したがって、遊技機10の限られた空間を有効に使うことが出来る。
また、光源用の開口部721a4に起立壁721a5を設けることにより、セグ装置ベース部材721aの強度をアップすることが出来ると共に、コネクタからの配線721c
3が基板裏面に侵入することを防止できる。
また、コネクタ用の開口部721a6には起立壁を形成しないので、セグ基板721cから延出する配線721c3がセグ装置ベース部材721aに引っかからず、セグ用配線721c3を容易に外部へと導出させることが出来る。
なお、今回開示された実施の形態はすべての点で例示であって制限的なものではないと考えられるべきである。本発明の範囲は上記した説明ではなくて特許請求の範囲によって示され、特許請求の範囲と均等の意味及び範囲内でのすべての変更が含まれることが意図される。
例えば、演出制御回路300の盤演出モータ/SOL制御回路334が下可動役物用モータ742aを駆動させる。すると、下可動役物ユニット740の第1〜第3回転体741a〜741cが発光しながら回転を始める。このとき、図39(a)に示すように、表示装置41によって第1〜第3回転体741a〜741cから周囲に向かって照射される光の画像を表示することにより、第1〜第3回転体741a〜741cによる演出を強調しても良い。このとき、セグ装置721は、図20(a)に示したように最も上に位置させておく。続いて、盤演出モータ/SOL制御回路334がシャッター装置722の開閉機構722dを駆動させる。すると、第1,第2シャッター飾り部材722b1,722c1が左右に開いてセグ装置721のセグ表示部7211が露出する。このとき、図39(b)に示すように、表示装置41によってセグ装置721から周囲に向かって照射される光の画像を表示しても良い。続いて、盤演出モータ/SOL制御回路334が第1上下動機構725及び第2上下動機構726を同時に駆動させる。すると、セグ装置721が下方へ移動する。また、表示装置41によって表示されていた光の画像もセグ装置721の移動に合わせて移動する。遊技者からは、この一連の動作が容器に見立てたシャッター飾り部材722b1,722c1が割れて、その中からセグ装置721が落下したかのように見える。セグ装置721は、表示部の中央付近、すなわち、図20(b)に示した位置に到達すると停止し、このとき、図39(c)に示すように、セグ表示部7211にて特図変動表示ゲームを行うようにしても良い。この間、表示装置41に表示されているセグ表示部7211の周囲を照らす光の画像によって、セグ装置721の発光をより強調させることができる。
また、側方入光表示装置730の表示制御およびセグ装置721の表示制御は適宜変更可能である。例えば、通常状態Uのときは、図40(a)に示すように、側方入光表示装置730およびセグ装置721の表示制御は行わずに、表示装置41において特図変動表示ゲームを行う。そして、大当たり終了後所定回数(例えば40回)の特図変動表示ゲームが消化される間のみ高確率状態となる遊技機10において、当該高確率状態の間は、図40(b)に示すように、導光板731の第1〜第4の表示領域H1,H2,H3,H4をそれぞれ順番(例えば時計周り)に発光表示するようにして最終的に第2表示領域H2にて○印が表示された状態で発光表示が終了した場合、特図変動表示ゲームの結果が大当たりとなる遊技制御を行うようにしても良い。その他、大当たり終了時に導光板731の第1〜第4の表示領域H1,H2,H3,H4をそれぞれ順番(例えば時計周り)に発光表示するようにして最終的に第2表示領域H2にて○印が表示された状態で発光表示が終了した場合、大当たり終了後に高確率状態に移行するような遊技制御を行うようにしても良い。また、図40(c)に示すように、電サポ中は、セグ装置721を表示装置41の表示部の前面に移動させ、当該セグ装置721のセグ表示部7211にて特図変動表示ゲームを行うようにしても良い。そして、当該特図変動表示ゲームにて大当りが発生した場合、図41に示すように、セグ表示部7211の周囲を装飾する演出表示を表示装置41にて行うようにしても良い。
また、図42(a)に示すように、上記同様、通常状態Uでは、側方入光表示装置730およびセグ装置721の表示制御は行わずに、表示装置41において特図変動表示ゲームを行う。そして、高確率状態Dでは、例えば、図42(b)に示すような演出を行うことも可能である。具体的には、第1上下動機構725及び第2上下動機構726の構成を、セグ装置721がセンターケース40の窓部40aの下部に達するまで下降できるように変更する。そして、特図変動表示ゲームを主にセグ装置721で行い、ぞろ目などの特殊な表示がなされたときに、その表示を表示装置41の表示領域下部に表示し、表示領域中央部へとその表示を上昇させる、といった表示装置41とセグ装置721の組み合わせ演出も可能である。
また、本発明の遊技機は、遊技機として、前記実施の形態に示されるようなパチンコ遊技機に限られるものではなく、例えば、その他のパチンコ遊技機、アレンジボール遊技機、雀球遊技機などの遊技球を使用する全ての遊技機に適用可能である。
10 遊技機
300 演出制御装置
720 役物ベース装置
721 セグ装置
721a セグ装置ベース部材
721a4 電子部品用開口部
721a5 起立壁
721a6 コネクタ用開口部
721c セグ基板
721d リフレクタ
721d1 基部
721d2 筒部
721d3 開口
721d4 孔
721e 拡散シート
721f セグレンズ
721f1 凸部
722 シャッター装置
722a シャッター装置ベース部材
722b 第1シャッター部材
722b1 第1シャッター飾り部材
722b2,722c2 回動軸
722c 第2シャッター部材
722c1 第2シャッター飾り部材
722d 開閉機構
722e シャッター装置カバー部材
722f シャッターレール
722g 初期位置検出基板

Claims (1)

  1. 表示部に識別情報を可変表示する表示装置を備える遊技機において、
    前記表示部の前方に配置された導光板と、
    前記導光板の上方、下方または側方に配置され、前記導光板へと光を照射する光源と、を備え、
    前記導光板には、溝が、所定の情報を表す形状となるように、かつ、前記光源からの光を反射するように形成されていることを特徴とする遊技機。
JP2013257546A 2013-12-13 2013-12-13 遊技機 Active JP5810148B2 (ja)

Priority Applications (1)

Application Number Priority Date Filing Date Title
JP2013257546A JP5810148B2 (ja) 2013-12-13 2013-12-13 遊技機

Applications Claiming Priority (1)

Application Number Priority Date Filing Date Title
JP2013257546A JP5810148B2 (ja) 2013-12-13 2013-12-13 遊技機

Related Parent Applications (1)

Application Number Title Priority Date Filing Date
JP2010004775A Division JP5581545B2 (ja) 2010-01-13 2010-01-13 遊技機

Related Child Applications (1)

Application Number Title Priority Date Filing Date
JP2015180356A Division JP6273450B2 (ja) 2015-09-14 2015-09-14 遊技機

Publications (2)

Publication Number Publication Date
JP2014166314A true JP2014166314A (ja) 2014-09-11
JP5810148B2 JP5810148B2 (ja) 2015-11-11

Family

ID=51616379

Family Applications (1)

Application Number Title Priority Date Filing Date
JP2013257546A Active JP5810148B2 (ja) 2013-12-13 2013-12-13 遊技機

Country Status (1)

Country Link
JP (1) JP5810148B2 (ja)

Cited By (1)

* Cited by examiner, † Cited by third party
Publication number Priority date Publication date Assignee Title
JP2016154700A (ja) * 2015-02-24 2016-09-01 株式会社大一商会 遊技機

Citations (3)

* Cited by examiner, † Cited by third party
Publication number Priority date Publication date Assignee Title
JPS621682U (ja) * 1985-06-18 1987-01-08
JP2004081392A (ja) * 2002-08-26 2004-03-18 Taiyo Elec Co Ltd 遊技機
JP2005087356A (ja) * 2003-09-16 2005-04-07 Daiwa Seisakusho:Kk パチンコ機

Patent Citations (3)

* Cited by examiner, † Cited by third party
Publication number Priority date Publication date Assignee Title
JPS621682U (ja) * 1985-06-18 1987-01-08
JP2004081392A (ja) * 2002-08-26 2004-03-18 Taiyo Elec Co Ltd 遊技機
JP2005087356A (ja) * 2003-09-16 2005-04-07 Daiwa Seisakusho:Kk パチンコ機

Cited By (1)

* Cited by examiner, † Cited by third party
Publication number Priority date Publication date Assignee Title
JP2016154700A (ja) * 2015-02-24 2016-09-01 株式会社大一商会 遊技機

Also Published As

Publication number Publication date
JP5810148B2 (ja) 2015-11-11

Similar Documents

Publication Publication Date Title
JP5167289B2 (ja) 遊技機
JP5286492B2 (ja) 遊技機
JP2011142984A (ja) 遊技機
JP5411714B2 (ja) 遊技機
JP5999868B2 (ja) 遊技機
JP5498884B2 (ja) 遊技機
JP5422507B2 (ja) 遊技機
JP5581545B2 (ja) 遊技機
JP5568741B2 (ja) 遊技機
JP2011250932A (ja) 遊技機
JP2017012899A (ja) 遊技台
JP2012161364A (ja) 遊技機
JP6307741B2 (ja) 遊技機
JP5865434B2 (ja) 遊技機
JP5647708B2 (ja) 遊技機
JP5810148B2 (ja) 遊技機
JP5874088B2 (ja) 遊技機
JP6273450B2 (ja) 遊技機
JP2016025972A (ja) 遊技機
JP5833091B2 (ja) 遊技機
JP2016016093A (ja) 遊技台
JP2016016092A (ja) 遊技台
JP2013039477A (ja) 遊技機
JP5999961B2 (ja) 遊技機
JP6318350B2 (ja) 遊技機

Legal Events

Date Code Title Description
A131 Notification of reasons for refusal

Free format text: JAPANESE INTERMEDIATE CODE: A131

Effective date: 20141125

A521 Request for written amendment filed

Free format text: JAPANESE INTERMEDIATE CODE: A523

Effective date: 20150122

RD02 Notification of acceptance of power of attorney

Free format text: JAPANESE INTERMEDIATE CODE: A7422

Effective date: 20150318

TRDD Decision of grant or rejection written
A01 Written decision to grant a patent or to grant a registration (utility model)

Free format text: JAPANESE INTERMEDIATE CODE: A01

Effective date: 20150908

A61 First payment of annual fees (during grant procedure)

Free format text: JAPANESE INTERMEDIATE CODE: A61

Effective date: 20150914

R150 Certificate of patent or registration of utility model

Ref document number: 5810148

Country of ref document: JP

Free format text: JAPANESE INTERMEDIATE CODE: R150

R250 Receipt of annual fees

Free format text: JAPANESE INTERMEDIATE CODE: R250

R250 Receipt of annual fees

Free format text: JAPANESE INTERMEDIATE CODE: R250

R250 Receipt of annual fees

Free format text: JAPANESE INTERMEDIATE CODE: R250

R250 Receipt of annual fees

Free format text: JAPANESE INTERMEDIATE CODE: R250

R250 Receipt of annual fees

Free format text: JAPANESE INTERMEDIATE CODE: R250

R250 Receipt of annual fees

Free format text: JAPANESE INTERMEDIATE CODE: R250