JP2013166319A - 文鎮 - Google Patents

文鎮 Download PDF

Info

Publication number
JP2013166319A
JP2013166319A JP2012031414A JP2012031414A JP2013166319A JP 2013166319 A JP2013166319 A JP 2013166319A JP 2012031414 A JP2012031414 A JP 2012031414A JP 2012031414 A JP2012031414 A JP 2012031414A JP 2013166319 A JP2013166319 A JP 2013166319A
Authority
JP
Japan
Prior art keywords
piece
divided
split
protrusion
paperweight
Prior art date
Legal status (The legal status is an assumption and is not a legal conclusion. Google has not performed a legal analysis and makes no representation as to the accuracy of the status listed.)
Pending
Application number
JP2012031414A
Other languages
English (en)
Inventor
Noriyuki Okui
敬之 奥井
Current Assignee (The listed assignees may be inaccurate. Google has not performed a legal analysis and makes no representation or warranty as to the accuracy of the list.)
OKUI KK
Original Assignee
OKUI KK
Priority date (The priority date is an assumption and is not a legal conclusion. Google has not performed a legal analysis and makes no representation as to the accuracy of the date listed.)
Filing date
Publication date
Application filed by OKUI KK filed Critical OKUI KK
Priority to JP2012031414A priority Critical patent/JP2013166319A/ja
Publication of JP2013166319A publication Critical patent/JP2013166319A/ja
Pending legal-status Critical Current

Links

Images

Landscapes

  • Sheet Holders (AREA)

Abstract

【課題】分割式の文鎮を簡便かつ確実に連結すること。
【解決手段】一方の分割片1aの端部に凹溝2を形成するとともに、他方の分割片1bの端部に突条3を形成し、凹溝2に突条3を抜き差しし得るようにすることで、両分割片1a、1bの連結を簡便かつ確実に行い得るようにした。この一方の分割片1aの側面に凹部7を形成するとともに、この凹部7内に、対向する一対の案内溝8、8を形成し、この案内溝8にスライド片9をスライド自在に設ける。両分割片1a、1bを連結し、スライド片9を他方の分割片1b側にスライドすると、このスライド片9が他方の分割片1bの突条3の端部に当接してロック状態となる。このようにロック状態とすることで、連結状態を一層確実なものとすることができる。
【選択図】図5

Description

この発明は、書道の半紙等を押さえてずれを防止する文鎮であって、その長さ方向に複数に分割し得るようにしたものに関する。
書道等の際に用いる文鎮として、書道用の半紙の短辺と同程度の長さの角棒を用いるのが一般的である。この文鎮で半紙の上端を押さえるとともに、手で下端側を押さえることによって、筆を走らせる際に半紙がずれて動かないようにしている。
このように一般的な文鎮を用いる場合、片方の手で常に半紙を押さえる必要があり、不便であることが多い。そこで、例えば特許文献1に示す構成においては、文鎮を複数本に分割自在とし、半紙の複数箇所(例えば、上端と下端)を押さえる場合は分割した状態で使用し、長尺の状態のまま使用したい場合は分割片同士を連結させる等、適宜使い分けを行い得るようにしている。
この分割片同士の連結機構の一例として、各分割片の端部の両側面に、断面半円状の溝を上下方向に形成するとともに、四角筒状のスリーブの内面に前記溝に対応する突条を形成し、このスリーブの両端側から各分割片を挿し込んで、前記溝と突条の係合によってその抜け止めを図るようにしたものがある(同文献の図1等を参照)。また、この連結機構の他例として、連結する分割片の一方に雌ねじを、他方に雄ねじを形成し、両者を互いにねじ込んで連結するようにしたものもある(同文献の図6を参照)。
特開平11−123896号公報
特許文献1において、連結にスリーブを用いる構成のものは、部品点数が多くなり、取り扱い性及び製造コストの面で問題がある。また、ねじ込み式の構成のものは、ねじの加工精度によっては、連結した分割片同士の間に、ねじの回転方向に亘る段差が生じることがあり、この段差で半紙等を傷付ける恐れがある。
そこで、この発明は、分割式の文鎮の各分割片を、簡便かつ確実に連結することを課題とする。
上記課題を解決するため、この発明は、長さ方向に複数に分割した一方の分割片の端部に、あり溝状の凹溝を形成するとともに、この一方の分割片と連結する他方の分割片の端部に、前記凹溝に嵌って抜き挿しされる突条を形成し、この凹溝と突条を嵌合させて、その長さ方向に連結し得るように文鎮を構成した。
このように凹溝と突条の嵌合によって分割片を連結するようにすると、特許文献1の構成で用いたスリーブが不要となる。このため取り扱い性及び製造コストの点でメリットがある。また、同文献に記載のねじ込み式と異なり、各分割片を回転させることなく連結するため、両者の間に段差が生じることはない。このため、使用の際に半紙等を傷付ける恐れは低い。
前記構成においては、前記凹溝の一端側に壁部を形成し、一方の分割片を他方の分割片に所定深さまで嵌合させた際に、前記突条の先端が前記壁部に当接する構成とすることができる。
前記突条が凹溝内を自由に抜き差しし得る場合、連結状態の文鎮の一方の分割片側を手で持ち上げたときに、他方の分割片がその自重で不用意に抜け落ちて、半紙等を傷付ける等のトラブルが生じる恐れがある。そこで、このように突条が壁部に当接するようにすれば、分割片が、少なくともその当接方向に抜け落ちるトラブルを防止することができる。
また、分割片同士を連結する際には、両分割片の連結部に段差が生じないように、それらの位置合わせを行う必要がある。このように、突条が壁部に当接するまで挿し込むことによって、両分割片の連結部に段差が生じないようにしておけば、その連結作業を一層速やかに行うことができる。
前記各構成においては、前記凹溝及び突条を複数本並列して形成することができる。
このように複数本並列することにより、分割片同士の連結状態が一層確実なものとなって、連結した分割片同士が不用意に外れるのを極力防止することができる。
前記各構成においては、前記一方の分割片の側面に凹部を形成するとともに、その凹部内に、互いに対向する案内溝を形成し、この案内溝にスライド片をスライド自在に設け、両分割片を連結して、前記スライド片を前記一方の分割片の側面からその長さ方向に突出させて、このスライド片と、前記他方の分割片に形成した突条とを当接させて、この連結をロックした状態とする一方で、このスライド片を前記一方の分割片側に退去させることによって、ロック状態を解除するようにすることができる。
このようにすれば、連結状態の文鎮の一方の分割片側を手で持ち上げた際に、他方の分割片が不用意に抜け落ちて、半紙等を傷付けるトラブルを確実に防止することができる。
上記のように、前記一方の分割片の側面に凹部を形成する代わりに、連結する両分割片の側面に跨がる凹部を形成するとともに、その凹部内に、互いに対向する案内溝を形成し、この案内溝にスライド片をスライド自在に設け、両分割片を連結して、前記スライド片を両分割片の前記凹部に跨るようにスライドさせて、この連結をロックした状態とする一方で、このスライド片を一方の分割片側に退去させることによって、ロック状態を解除するようにすることもできる。
このように、他方の分割片の側面にも凹部を形成することにより、スライド片と、前記凹部の底面又は側壁面とが当接して、両分割片の抜き挿しの向きにかかわらず確実なロック作用を発揮することができる。
このスライド片を用いる構成においては、前記スライド片に第一突起を形成するとともに、前記案内溝内に第二突起を形成し、前記第一突起と第二突起との当接により、前記ロック状態において前記スライド片がロック解除方向にスライドするのを防止するとともに、ロック解除状態において一方の分割片側に退去させた前記スライド片がロック方向にスライドするのを防止するようにするのがより好ましい。
このように両突起を当接させることで、スライド片が不用意にスライドするのを防止することができるため、ロック状態を確実に維持できるとともに、ロック解除状態において、分割片からスライド片が脱落するのを防止することができる。この両突起の形状や数は、ロック状態の維持及び脱落防止の作用を発揮する限りにおいて、適宜決定することができる。
この発明では、分割片の一方側に凹溝、他方側に突条を形成し、前記凹溝に突条を嵌め込むことによって分割片同士を連結して文鎮を構成した。このようにすることにより、スリーブ等の連結用の部材が不要となって、その連結を簡便かつ確実に行うことができる。
本願発明に係る文鎮の第一実施形態であって、連結した状態を示す斜視図 第一実施形態に係る文鎮の分割片同士を連結する様子を示す斜視図 第一実施形態に係る分割片の端部を示す斜視図 第一実施形態に係る文鎮のIV−IV線に沿う断面図 第一実施形態に係る文鎮にロック機構を設けた状態を示し、(a)は分解斜視図、(b)は部分断面図 第一実施形態に係る文鎮の連結ロック状態を示し、(a)は平面図、(b)は側面図 第一実施形態に係る文鎮の連結ロック解除状態を示し、(a)は平面図、(b)は側面図 スライド片の作用を示す側面図 第一実施形態に係る文鎮の使用態様を示す平面図 本願発明に係る文鎮の第二実施形態であって、連結した状態を示す斜視図 第二実施形態に係る文鎮の分割片同士を連結する様子を示す斜視図 第二実施形態に係る文鎮の連結ロック状態を示し、(a)は平面図、(b)は側面図 第二実施形態に係る文鎮の連結ロック解除状態を示し、(a)は平面図、(b)は側面図
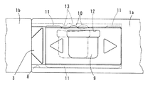
この発明に係る文鎮の第一実施形態を図1から図9に示す。この文鎮は、一本の角棒状の文鎮を、その長さ方向のほぼ中央で二つに分割した分割式のものである(図1及び図2を参照)。分割した一方の分割片1aの端部には、あり溝状の凹溝2が形成されるとともに、この分割片1aと連結する他方の分割片1bの端部には、この凹溝2に嵌って抜き挿しされる突条3が形成されている(図3を参照)。この凹溝2と突条3を嵌合させて、その長さ方向の連結がなされる。
各分割片1a、1bは、角棒状の鉄製基材4上に、約3mm厚のABS樹脂層5を形成することによって形成されている(図4を参照)。凹溝2及び突条3の部分はABS樹脂層5のみで構成されている。このため、鉄製基材4自体を凹溝2及び突条3の形状に加工する必要はなく、ABS樹脂材の射出成型などの成形法によって、この凹溝2及び突条3を簡便に形成することができる。両分割片1a、1bの嵌合強度をより高めるために、鉄製基材4自体を凹溝2及び突条3に加工することもできる。
この凹溝2の一端側(挿し込み方向の奥側)には壁部6が形成されていて、一方の分割片1aを他方の分割片1bに所定深さまで挿し込んだ際に、この他方の分割片1bに形成した突条3の先端が壁部6に当接するようになっている。この当接により、嵌合した分割片1a、1bが、少なくともその当接方向に抜け落ちるトラブルを防止することができるとともに、両分割片1a、1bの連結する際の位置合わせを一層速やかに行うことができるため利便性が高い。なお、この壁部6を設けない構成としても、連結強度自体には影響しない。
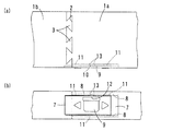
この文鎮の連結状態を一層確実なものとするため、図5から図8に示すように、ロック機構を設けることもできる。このロック機構においては、一方の分割片1aの側面に凹部7を形成するとともに、この凹部7内に、対向する一対の案内溝8、8を形成する。そして、この案内溝8にABS樹脂材からなるスライド片9をスライド自在に設ける(図5を参照)。
このスライド片9の一方の端辺には、案内溝8側に突出する第一突起10と、この第一突起10に対してスライド方向の両側に、第一突起10より高さが低い案内突起11が形成されている。スライド片9の本体には、第一突起10に近接して貫通孔12が形成されている。このスライド片9の前記一方の端辺と反対側の他方の端辺には、スライド方向の全長に亘って案内突起11が形成されている。第一突起10のみで、スライド片9のスライド機能を確保できる場合は、この第一突起10の両側の案内突起11を設けない構成としたり、片方のみ設ける構成としたりすることもできる。
一方の分割片1aの第一突起10と対向する案内溝8には、一対の第二突起13、13が形成されている。この第二突起13は、スライド片9がスライドした際に、第一突起10と当接する一方で、案内突起11、11とは接触しない程度の高さとなっている。
両分割片1a、1bを連結し、スライド片9を他方の分割片1b側にスライドした状態で分割片同士を抜き差ししようとしても、このスライド片9が他方の分割片1bの突条3の端部に当接して、その抜き挿しが自在にできない状態(ロック状態)となる(図6を参照)。このとき、スライド片9の第一突起10が、一対の第二突起13の間にちょうど嵌まり込んだ状態となっている。このため、スライド片9が不用意にスライドして、このロック状態が解除される恐れは低い。
このロック状態から、スライド片9を一方の分割片1a側にスライドすると、ロック状態が解除されて(図7を参照)、分割片同士を自在に抜き差しすることができる。
このロック及びロック解除の過程においては、第一突起10が第二突起13を一旦乗り越える必要がある。この乗り越えに際し、図8に示すように、第一突起10と第二突起13の当接力によって、この第一突起10が、スライド片9に形成した貫通孔12側に一旦退去する。このため、この乗り越えが容易となって、ロック及びロック解除をスムーズに行うことができる。
この文鎮は、連結状態として通常の文鎮と同様に使用できる一方で、図9に示すように、書道用の半紙P等の上下端側に各分割片1a、1bを置くことにより、この半紙Pの下端側を手で押さえることなくスムーズに筆を走らせることができる。
この第一実施形態においては、分割片1a、1bに水平方向に延びる凹溝2及び突条3を形成する構成としたが、垂直方向に延びる凹溝2及び突条3を形成し、両分割片1a、1bの抜き挿し方向に垂直な面にスライド片9を設ける構成とすることもできる。
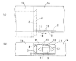
この発明に係る文鎮の第二の実施形態を図10から図13に示す。この文鎮は、第一実施形態と同様に、一本の角棒状の文鎮を、その長さ方向のほぼ中央で二つに分割した分割式のものである(図10及び図11を参照)。分割した一方の分割片1aの端部には、あり溝状の凹部2が形成されるとともに、この一方の分割片1aと連結する他方の分割片1bの端部には、この凹溝2に嵌ってスライドする突条3が形成されている。
この第二実施形態においては、凹溝2及び突条3が複数本並列して形成されている。このように複数本並列して、両者の間の嵌合力を高めることによって、連結した分割片が不用意にスライドして分離してしまうトラブルを極力防止することができる。
この第二実施形態においては、図12及び図13に示すように、ロック機構を設けることもできる。このロック機構においては、連結する両分割片1a、1bの側面に跨る凹部7を形成するとともに、この凹部7内に、対向する一対の案内溝8、8を形成する。そして、この案内溝8にABS樹脂材からなるスライド片9をスライド自在に設ける。第一実施形態と同様に、このスライド片9には第一突起10及び案内突起11が形成されるとともに、案内溝8には第二突起13が形成されている。各突起10、11、13の作用は第一実施形態において説明したので、その説明は省略する。
両分割片1a、1bを連結し、スライド片9を他方の分割片1b側にスライドした状態で分割片同士を抜き差ししようとすると、このスライド片9が他方の分割片1bの凹部7の側壁に当接して、ロック状態となる(図12を参照)。このロック状態から、スライド片9を一方の分割片1a側にスライドすると、ロック状態が解除されて(図13を参照)、分割片同士を自在に抜き差しすることができる。
この第二実施形態においては、抜き差し方向に垂直な側面にスライド片9を設ける構成としたが、抜き差し方向に平行な側面にスライド片9を設ける構成とすることもできる。この場合、スライド片9と他方の分割片1bに形成した凹部7の底面とが当接することによってロック作用が発揮される。
上記の各実施形態においては、二つの分割片1a、1bを連結して一本の角棒状の文鎮を構成する態様について示したが、文鎮の分割数はもちろんこれに限定されず、さらに多分割の構成とすることもできる。
また、各分割片1a、1b、スライド片9の素材は、ロック機構の機能が発揮される限りにおいて、適宜変更することができる。また、第一及び第二実施形態における凹溝2及び突条3、スライド片9の形状は例示であって、両分割片1a、1bの連結作用、ロック機構の機能が発揮される限りにおいて、適宜他の形状を採用することもできる。
1a (一方の)分割片
1b (他方の)分割片
2 凹溝
3 突条
4 鉄製基材
5 ABS樹脂層
6 壁部
7 凹部
8 案内溝
9 スライド片
10 第一突起
11 案内突起
12 貫通孔
13 第二突起

Claims (6)

  1. 長さ方向に複数に分割した一方の分割片(1a)の端部に、あり溝状の凹溝(2)を形成するとともに、この一方の分割片(1a)と連結する他方の分割片(1b)の端部に、前記凹溝(2)に嵌って抜き挿しされる突条(3)を形成し、この凹溝(2)と突条(3)を嵌合させて、その長さ方向に連結し得るようにした文鎮。
  2. 前記凹溝(2)の一端側に壁部(6)を形成し、一方の分割片(1a)を他方の分割片(1b)に所定深さまで嵌合させた際に、前記突条(3)の先端が前記壁部(6)に当接するようにした請求項1に記載の文鎮。
  3. 前記凹溝(2)及び突条(3)を複数本並列して形成した請求項1又は2に記載の文鎮。
  4. 前記一方の分割片(1a)の側面に凹部(7)を形成するとともに、その凹部(7)内に、互いに対向する案内溝(8)を形成し、この案内溝(8)にスライド片(9)をスライド自在に設け、両分割片(1a、1b)を連結して、前記スライド片(9)を前記一方の分割片(1a)の側面からその長さ方向に突出させて、このスライド片(9)と、前記他方の分割片(1b)に形成した突条(3)とを当接させて、この連結をロックした状態とする一方で、このスライド片(9)を前記一方の分割片(1a)側に退去させることによって、ロック状態を解除するようにした請求項1から3のいずれか一つに記載の文鎮。
  5. 連結する両分割片(1a、1b)の側面に跨がる凹部(7)を形成するとともに、その凹部(7)内に、互いに対向する案内溝(8)を形成し、この案内溝(8)にスライド片(9)をスライド自在に設け、両分割片(1a、1b)を連結して、前記スライド片(9)を両分割片(1a、1b)の前記凹部(7)に跨るようにスライドさせて、この連結をロックした状態とする一方で、このスライド片(9)を前記一方の分割片(1a)側に退去させることによって、ロック状態を解除するようにした請求項1から3のいずれか一つに記載の文鎮。
  6. 前記スライド片(9)に第一突起(10)を形成するとともに、前記一方の分割片(1a)の案内溝(8)内に第二突起(13)を形成し、前記第一突起(10)と第二突起(13)との当接により、前記ロック状態において前記スライド片(9)がロック解除方向にスライドするのを防止するとともに、ロック解除状態において一方の分割片(1a)側に退去させた前記スライド片(9)がロック方向にスライドするのを防止するようにした請求項4又は5に記載の文鎮。
JP2012031414A 2012-02-16 2012-02-16 文鎮 Pending JP2013166319A (ja)

Priority Applications (1)

Application Number Priority Date Filing Date Title
JP2012031414A JP2013166319A (ja) 2012-02-16 2012-02-16 文鎮

Applications Claiming Priority (1)

Application Number Priority Date Filing Date Title
JP2012031414A JP2013166319A (ja) 2012-02-16 2012-02-16 文鎮

Publications (1)

Publication Number Publication Date
JP2013166319A true JP2013166319A (ja) 2013-08-29

Family

ID=49177151

Family Applications (1)

Application Number Title Priority Date Filing Date
JP2012031414A Pending JP2013166319A (ja) 2012-02-16 2012-02-16 文鎮

Country Status (1)

Country Link
JP (1) JP2013166319A (ja)

Cited By (1)

* Cited by examiner, † Cited by third party
Publication number Priority date Publication date Assignee Title
CN106364238A (zh) * 2016-09-30 2017-02-01 太仓福缘琉璃工艺品有限公司 一种便于调节使用的镇纸琉璃工艺品

Citations (1)

* Cited by examiner, † Cited by third party
Publication number Priority date Publication date Assignee Title
JPS6325599U (ja) * 1986-07-31 1988-02-19

Patent Citations (1)

* Cited by examiner, † Cited by third party
Publication number Priority date Publication date Assignee Title
JPS6325599U (ja) * 1986-07-31 1988-02-19

Cited By (1)

* Cited by examiner, † Cited by third party
Publication number Priority date Publication date Assignee Title
CN106364238A (zh) * 2016-09-30 2017-02-01 太仓福缘琉璃工艺品有限公司 一种便于调节使用的镇纸琉璃工艺品

Similar Documents

Publication Publication Date Title
US9178309B2 (en) Socket with a metal fitting with a lock portion movable in a width direction
US9820404B1 (en) Slot assembly and workpiece
US9167717B2 (en) Connection device for cable management arm and slide assembly
US20070253794A1 (en) Fastening device
US20090137142A1 (en) Positive lock connector
TWI511680B (zh) buckle
CN105264716A (zh) 连接器
TWM482871U (zh) 電連接器模組
US20150325950A1 (en) Lever type connector
CN100572831C (zh) 滚珠滑轨
US10133009B1 (en) Fiber optic adaptor
JP2013166319A (ja) 文鎮
JP6306387B2 (ja) コネクタ離脱防止装置
CN204205169U (zh) 一种快速锁紧矩形连接器
CN107039840A (zh) 连接器
JP6587595B2 (ja) レバー式コネクタ
US20060154506A1 (en) Card connector
US20200039058A1 (en) Reversible wrench rack
KR101347433B1 (ko) 로크·릴리스 기구
CN103022838B (zh) 连接器
JP6830809B2 (ja) 長尺物繰り出し装置
JP2010099291A (ja) 連結機構
EP2156520A1 (en) Holder for two plugs
JP5959863B2 (ja) 錠装置
WO2014177981A1 (en) Connector plug and connector assembly

Legal Events

Date Code Title Description
A621 Written request for application examination

Free format text: JAPANESE INTERMEDIATE CODE: A621

Effective date: 20150213

RD13 Notification of appointment of power of sub attorney

Free format text: JAPANESE INTERMEDIATE CODE: A7433

Effective date: 20150213

A521 Written amendment

Free format text: JAPANESE INTERMEDIATE CODE: A821

Effective date: 20150213

A131 Notification of reasons for refusal

Free format text: JAPANESE INTERMEDIATE CODE: A131

Effective date: 20160119

A02 Decision of refusal

Free format text: JAPANESE INTERMEDIATE CODE: A02

Effective date: 20160524