JP2012500690A - 収着乾燥装置を備える家庭用食器洗浄機ならびに家庭用食器洗浄機の収着乾燥装置の制御方法 - Google Patents
収着乾燥装置を備える家庭用食器洗浄機ならびに家庭用食器洗浄機の収着乾燥装置の制御方法 Download PDFInfo
- Publication number
- JP2012500690A JP2012500690A JP2011524306A JP2011524306A JP2012500690A JP 2012500690 A JP2012500690 A JP 2012500690A JP 2011524306 A JP2011524306 A JP 2011524306A JP 2011524306 A JP2011524306 A JP 2011524306A JP 2012500690 A JP2012500690 A JP 2012500690A
- Authority
- JP
- Japan
- Prior art keywords
- sorption
- control unit
- auxiliary control
- sorption drying
- ste
- Prior art date
- Legal status (The legal status is an assumption and is not a legal conclusion. Google has not performed a legal analysis and makes no representation as to the accuracy of the status listed.)
- Pending
Links
Images
Classifications
-
- A—HUMAN NECESSITIES
- A47—FURNITURE; DOMESTIC ARTICLES OR APPLIANCES; COFFEE MILLS; SPICE MILLS; SUCTION CLEANERS IN GENERAL
- A47L—DOMESTIC WASHING OR CLEANING; SUCTION CLEANERS IN GENERAL
- A47L15/00—Washing or rinsing machines for crockery or tableware
- A47L15/42—Details
- A47L15/48—Drying arrangements
- A47L15/481—Drying arrangements by using water absorbent materials, e.g. Zeolith
-
- A—HUMAN NECESSITIES
- A47—FURNITURE; DOMESTIC ARTICLES OR APPLIANCES; COFFEE MILLS; SPICE MILLS; SUCTION CLEANERS IN GENERAL
- A47L—DOMESTIC WASHING OR CLEANING; SUCTION CLEANERS IN GENERAL
- A47L15/00—Washing or rinsing machines for crockery or tableware
- A47L15/0018—Controlling processes, i.e. processes to control the operation of the machine characterised by the purpose or target of the control
- A47L15/0021—Regulation of operational steps within the washing processes, e.g. optimisation or improvement of operational steps depending from the detergent nature or from the condition of the crockery
- A47L15/0034—Drying phases, including dripping-off phases
-
- A—HUMAN NECESSITIES
- A47—FURNITURE; DOMESTIC ARTICLES OR APPLIANCES; COFFEE MILLS; SPICE MILLS; SUCTION CLEANERS IN GENERAL
- A47L—DOMESTIC WASHING OR CLEANING; SUCTION CLEANERS IN GENERAL
- A47L15/00—Washing or rinsing machines for crockery or tableware
- A47L15/0018—Controlling processes, i.e. processes to control the operation of the machine characterised by the purpose or target of the control
- A47L15/0049—Detection or prevention of malfunction, including accident prevention
-
- A—HUMAN NECESSITIES
- A47—FURNITURE; DOMESTIC ARTICLES OR APPLIANCES; COFFEE MILLS; SPICE MILLS; SUCTION CLEANERS IN GENERAL
- A47L—DOMESTIC WASHING OR CLEANING; SUCTION CLEANERS IN GENERAL
- A47L15/00—Washing or rinsing machines for crockery or tableware
- A47L15/42—Details
- A47L15/46—Devices for the automatic control of the different phases of cleaning ; Controlling devices
-
- A—HUMAN NECESSITIES
- A47—FURNITURE; DOMESTIC ARTICLES OR APPLIANCES; COFFEE MILLS; SPICE MILLS; SUCTION CLEANERS IN GENERAL
- A47L—DOMESTIC WASHING OR CLEANING; SUCTION CLEANERS IN GENERAL
- A47L2401/00—Automatic detection in controlling methods of washing or rinsing machines for crockery or tableware, e.g. information provided by sensors entered into controlling devices
- A47L2401/18—Air temperature
-
- A—HUMAN NECESSITIES
- A47—FURNITURE; DOMESTIC ARTICLES OR APPLIANCES; COFFEE MILLS; SPICE MILLS; SUCTION CLEANERS IN GENERAL
- A47L—DOMESTIC WASHING OR CLEANING; SUCTION CLEANERS IN GENERAL
- A47L2401/00—Automatic detection in controlling methods of washing or rinsing machines for crockery or tableware, e.g. information provided by sensors entered into controlling devices
- A47L2401/30—Variation of electrical, magnetical or optical quantities
-
- A—HUMAN NECESSITIES
- A47—FURNITURE; DOMESTIC ARTICLES OR APPLIANCES; COFFEE MILLS; SPICE MILLS; SUCTION CLEANERS IN GENERAL
- A47L—DOMESTIC WASHING OR CLEANING; SUCTION CLEANERS IN GENERAL
- A47L2501/00—Output in controlling method of washing or rinsing machines for crockery or tableware, i.e. quantities or components controlled, or actions performed by the controlling device executing the controlling method
- A47L2501/11—Air heaters
-
- A—HUMAN NECESSITIES
- A47—FURNITURE; DOMESTIC ARTICLES OR APPLIANCES; COFFEE MILLS; SPICE MILLS; SUCTION CLEANERS IN GENERAL
- A47L—DOMESTIC WASHING OR CLEANING; SUCTION CLEANERS IN GENERAL
- A47L2501/00—Output in controlling method of washing or rinsing machines for crockery or tableware, i.e. quantities or components controlled, or actions performed by the controlling device executing the controlling method
- A47L2501/12—Air blowers
Landscapes
- Washing And Drying Of Tableware (AREA)
- Accessory Of Washing/Drying Machine, Commercial Washing/Drying Machine, Other Washing/Drying Machine (AREA)
Abstract
家庭用食器洗浄機(GS)において、家庭用食器洗浄機の収着乾燥装置(STE)の少なくとも1つの電気要素(HZ)を制御するために、主制御装置(HE)に加えてさらに少なくとも1つの補助制御ユニット(ZE)が設けられている。
Description
本発明は、主制御装置および少なくとも1つの収着乾燥装置を備える家庭用食器洗浄機に関する。
例えばDE10353577A1のような収着乾燥システムを備える家庭用食器洗浄機では、食器具を乾燥させるための各食器洗浄プログラムの個別のプログラムステップ「乾燥」において、食器洗浄機の洗浄容器からの湿熱空気がファンによって持続的に収着乾燥装置の収着カラムを通って導かれる。この際収着カラムの可逆的に脱水可能な収着乾燥材料は、貫流する空気から凝縮によって湿気を奪取する。このようにして乾燥された空気は洗浄容器に戻される。洗浄容器においてこの乾燥された空気には既存の湿熱空気からの湿気が改めて充填され、再び収着乾燥装置の循環システムに供給される。収着カラムの可逆的に脱水可能な収着乾燥材料を再生、つまり脱着して、後続の食器洗浄プログラムにおける次回の乾燥ステップのために乾燥された状態で再利用するために、収着乾燥材料は少なくとも1つの加熱装置を用いて以下のような高い温度まで加熱される。すなわち収着材料に蓄積された水が熱い水蒸気としてできるだけ完全に流出でき、かつ、ファンによって生成された空気流によって洗浄容器の中へと流入できるような高い温度まで加熱される。この脱着によって加熱された空気は付加的に、新規に開始された食器洗浄プログラムの洗浄ステップにおいて洗浄容器内の洗浄溶剤、空気、および/または被洗浄物を、各脱着プロセス時に形成された熱い空気流によって加温ないし加熱するためにも使用することができる。これによってエネルギ効率的な被洗浄物の洗浄および乾燥が可能である。
このような家庭用食器洗浄機の収着乾燥装置においては、所期の製造寿命全体に亘って家庭用食器洗浄機が欠陥無く確実に作動できるようにするために、実際には収着乾燥装置の機能安全性に高い要求が設定される。
本発明の基礎となる課題は、家庭用食器洗浄機の少なくとも1つの収着乾燥装置を簡単に充分に機能安全に作動させることができる方法を提供することである。この課題は、冒頭に述べた形式の家庭用食器洗浄機において、収着乾燥装置の少なくとも1つの電気要素を特別に制御するために、主制御装置に加えてさらに少なくとも1つの補助制御ユニットが設けられていることを特徴とする家庭用食器洗浄機によって解決される。
収着乾燥装置のために、家庭用食器洗浄機の主制御装置に加えてさらに少なくとも1つの補助制御ユニットがわざわざ設けられていることによって、収着乾燥装置を、各収着および/または脱着プロセスにおいて機能安全に制御ないし調整することができるようになる。というのは、収着乾燥装置の少なくとも1つ電気要素のためにわざわざ設けられた補助制御ユニットによって、収着乾燥装置の1つまたは複数の電気要素の許容できる動作状態に対する特別な要求が改善されて監視および/または実行することができるからである。とりわけ補助制御ユニットにより、収着乾燥装置が各収着および/または脱着プロセス中に所期の許容できる動作領域で安全に動作することができるよう、収着乾燥装置の1つまたは複数の電気要素の1つまたは複数の動作パラメータの特別な協働関係を互いに調整することができる。
このようにして家庭用食器洗浄機の所期の製品寿命全体に亘って、各収着プロセスおよび/または脱着プロセスにおける収着乾燥装置の機能安全性および/または機能性を簡単かつ確実に維持することができる。
第1の有利な実施形態によれば、補助制御ユニットを主制御装置の構成部分とすることができる。これによって高い構造密度を保証することができるので、家庭用食器洗浄機内において、補助制御ユニットを備える主制御装置のために僅かなスペースしか要求されなくなる。とりわけ補助制御ユニットを別個のロジックモジュールに組み込むか、または、主制御装置の既存のロジックモジュールに組み込むことが有利である。これによって補助制御ユニットのロジック機能と主制御装置のロジック機能の間の通信接続を、製造技術的に簡単かつ確実にすることができる。主制御装置は有利にも家庭用食器洗浄機内で保護された設置場所に配置されているので、ここには補助制御ユニットも安全に収容することができ、不要な取り付けコストや、とりわけ家庭用食器洗浄機の洗浄容器または液体循環システムの故障が発生した場合における湿気または液体接触に対する追加的な補助手段が充分に節約されている。
これに代えて本発明の1つの有利な実施形態によれば、補助制御ユニットを別個の機能要素として構成して主制御装置とは空間的に離れて配置することもとりわけ特に有利である。これによって有利には、主制御装置でエラーが発生した場合に、収着乾燥装置の1つまたは複数の電気要素を担当している補助制御ユニットに対する機能安全性を高めることができる。反対に、主制御装置を補助制御ユニットから分離することができ、こうして補助ユニットが故障するかまたはその他のエラー機能を有する場合にも、主制御装置は自身に割り当てられた動作機能を引き続き欠陥なく実施することができる。とりわけ補助制御ユニットにより、家庭用食器洗浄機内の主制御装置とは別の場所に収容されている場合には、主制御装置に対する機能安全性ならびに補助制御ユニットに対する機能安全性を充分に保証することができる。
とりわけ補助制御ユニットが、収着乾燥装置から空間的に所定の最低距離を置いて離れて配置されている場合は有利である。この維持すべき最低距離によって、収着乾燥装置の収着容器での少なくとも1つの加熱装置による収着乾燥材料の加熱によって生じ得る、補助制御ユニットの許容できないほど高い熱的ストレスを充分に回避することができる。したがって収着乾燥装置の機能安全な動作が保証されている。
とりわけ主制御装置および/または補助制御ユニットを、洗浄容器の底部の下にあるベースモジュールの中に収容することは有利である。ここには保護された、とりわけ防湿および防滴の乾燥した収容領域が存在しているので、主制御装置および/または補助制御ユニットの障害または損傷が充分に回避されている。さらには、収着乾燥装置の収着容器、すなわち収着容器に割り当てられた少なくとも1つの加熱装置および/またはファンユニットも同様に、洗浄容器の底部の下にてベースモジュールの中に収容することは有利である。これによってこれら種々の電気要素と補助制御ユニットおよび/または主制御装置との配線が簡単に可能となる。
本発明の別の1つの有利な実施形態によれば、補助制御ユニットは、少なくとも1つの動作パラメータを監視および/または調整するために、収着乾燥装置の加熱装置および/またはファンユニットに割り当てられている。とりわけこれによって、各収着プロセスおよび/または脱着プロセス中の収着乾燥装置の機能安全な動作を充分に保証することができる。補助制御ユニットによれば、とりわけ収着乾燥装置の加熱装置および/またはファンユニットの特別なコントロールが可能となる。
補助制御ユニットが収着乾燥装置の加熱装置および/またはファンユニットに対してスイッチオン/オフ機能を有する場合にはとりわけ有利である。これによって、補助制御ユニットが収着乾燥装置の加熱装置および/またはファンユニットをスイッチオフする場合、主制御装置と補助制御ユニットの間の通信接続のエラーないし障害または断線が発生した場合、および/または、洗浄容器および/または収着容器の領域にて温度上限が超過された場合に、各脱着プロセス時の熱発生による補助制御ユニットの熱的過負荷を充分に回避することができる。
本発明の別の1つの有利な実施形態によれば、補助制御ユニットは、少なくとも1つの制御線、とりわけデータバスを介して主制御装置に接続されている。こうすることにより、補助制御ユニットには収着乾燥装置の加熱装置および/またはファンユニットに対するスイッチオン/オフ機能だけを設けて、その一方で、各実行されている食器洗浄プログラム中での収着乾燥装置の各収着プロセスおよび/または脱着プロセスに対する本来の制御機能は、主制御装置の制御ロジックの中に組み込むことが可能である。とりわけこれによって、補助制御ユニットの特別の機能を主制御装置によって簡単かつ確実に監視、および/またはコントロール、および/または確認することができる。
本発明の別の1つの有利な実施形態によれば、補助制御ユニットは「ウォッチドッグ」監視ロジック、つまり「デッドマン監視ロジック」を有しており、この監視ロジックによって、収着乾燥プロセスおよび/脱着プロセス時における収着乾燥装置の作動中の機能性をチェックすることができる。この「ウォッチドッグ」監視ロジックにより、制御線にエラーないし障害または断線が存在するか否か、ひいては主制御装置と補助制御ユニットの間の通信接続が存在するか否かを簡単かつ確実に識別することができる。エラーが存在する場合には、補助制御ユニットは有利には、例えば加熱装置および/またはファンユニット等のような収着乾燥装置の1つまたは複数の要素をスイッチオフすることができる。とりわけ補助制御ユニットは、自身の「ウォッチドッグ」監視ロジックによって制御線におけるエラーが検出された場合に、収着乾燥装置の加熱装置がスイッチオフされるようにする。補助制御ユニットのこの反応はとりわけ、電気的な方法で収着乾燥装置に対する過熱保護機能を提供するために使用される。というのは補助制御ユニットによって加熱装置がスイッチオフ状態にされることにより、とりわけ各脱着プロセスは継続不能、すなわち加熱装置の加熱は継続されなくなるので、この補助制御ユニットによって有利にも、収着乾燥装置の収着容器内の収着材料のさらなる加熱を自動的に停止することが可能となるからである。補助制御ユニットは、制御線にエラーおよび/または遮断が存在する場合には自立的に、すなわち主制御装置とは独立して、脱着における収着材料の加熱プロセスを中断することができる。というのはこの場合には主制御装置は、正常に補助制御ユニットに到着し得るスイッチオフ命令を、制御線を介して制御信号によって補助制御ユニットに送信することはもはや完全に不可能だからである。つまり補助制御ユニットにより、補助制御ユニットの「ウォッチドッグ」監視ロジックによって制御線における通信エラーおよび/または断線が検出された場合に、いかなる場合でも、少なくとも加熱装置および場合によっては付属のファンユニットが脱着プロセス中にスイッチオフされるか、または脱着プロセスが全く開始されないよう保証されている。このようにして補助制御ユニットは、収着乾燥装置の収着容器内の収着材料の許容できないほど高い加熱に対して、および/または、収着乾燥装置に付属する加熱装置の過熱に対して、簡単かつ確実な保護手段を提供するのである。このようにして、とりわけ許容できないほど高い温度に基づく、熱による収着材料の材料損傷または許容できない材料ストレスを回避することができる。さらに加熱装置も、過熱による許容できない熱的ストレスまたは損傷から保護される。さらには加熱装置および/または収着乾燥装置の収着容器の周囲にある要素の許容できない熱的ストレスまたは損傷も、充分に回避されている。最後に、加熱装置のスイッチオフによって実行中の収着プロセスを早期の中断することにより、火災事故の可能性を排除することができる。補助制御ユニットの「ウォッチドッグ」監視ロジックがエラーを確認した場合に、加熱装置のスイッチオフに付加的にまたは独立して、例えばファンユニットのような収着乾燥装置の別の要素を停止させることも有利である。
収着装置の加熱装置が収着材料の脱着のためにスイッチオンされている場合に、補助制御ユニットの「ウォッチドッグ」監視ロジックが制御線の機能性を監視するよう作動されているようにすると意義深い。相応のことが有利には、主制御装置内のプログラムシーケンス制御ロジックが次のプログラムシーケンスステップとして脱着プロセスを開始しようとする場合には、場合によってはこれから実行される脱着プロセスに先行して実施される。そうすれば加熱装置および場合によってファンユニットは、補助制御ユニットによってもはやスイッチオンされなくなる。
本発明の別の1つの有利な実施形態によれば、主制御装置は、制御線を介して補助制御ユニットの「ウォッチドッグ」監視ロジックに複数のスイッチオン命令を送信する。とりわけ主制御装置は、スイッチオン命令を所定の時間間隔で周期的に反復して伝送する。これによって有利には、これから行われる脱着プロセスの開始前および/または脱着プロセス中のチェック期間において、制御線を連続的に監視することが可能となる。ここで補助制御ユニットの「ウォッチドッグ」監視ロジックは、有利には、各送信されたスイッチオン命令の検出以降の所定のクロック時間ないし待機時間の超過を監視する。とりわけこのために補助制御ユニットの「ウォッチドッグ」監視ロジックは、クロックまたはタイマユニットを有する。クロックまたはタイマユニットは、連続して送信された1つのスイッチオン命令の受信クロック時点間の待機時間に対する上限を定める。これによってクロックまたはタイマユニットは、次のスイッチオン命令を受信することなく待機時間に対する上限が超過されたか否か、を簡単に監視することができる。とりわけ補助制御ユニットは、「ウォッチドッグ」監視ロジックによって次のスイッチオン命令を受信することなく待機時間に対する上限が超過されたということが確認された場合には、少なくとも1つの電気要素、とりわけ収着乾燥装置の加熱装置および/またはファンユニットをスイッチオフする。
本発明の別の1つの実施形態によれば、収着装置の加熱装置が収着材料の脱着のためにスイッチオンされている場合に、補助制御ユニットの「ウォッチドッグ」監視ロジックが制御線の機能性を監視するよう作動されている。
「ウォッチドッグ」監視ロジックによって、各スイッチオン命令を受信することなく待機時間ないしクロック時間に対する所定の上限が超過されたということが確認された場合には、「ウォッチドッグ」監視ロジックは、収着乾燥装置の加熱装置を独立的に、すなわち自動的にスイッチオフする。この場合有利には、補助制御制御ユニットは付加的に、収着乾燥装置のファンユニットをスイッチオフすることができる。
本発明の別の1つの有利な実施形態によれば、場合よって補助制御ユニットが、収着乾燥装置のファンユニットを、加熱装置のスイッチオフ時点後に所定の後続時間が経過した後に初めてスイッチオフすることも有利である。ファンユニットが加熱装置のスイッチオフ時点後もなお所定の期間動作することによって、収着乾燥装置の加熱装置および/または収着容器内の収着材料に空気を貫流させ続けることができる。この継続される空気通流によって加熱装置および/または収着容器からの熱を排出することができ、これによって加熱装置および/または収着容器の領域における過熱を充分に回避することが可能となる。このファンユニットの継続作動はとりわけ有利である。なぜなら収着材料は、脱着中の自身の加熱プロセス時に、自身の蓄熱容量に基づき緩慢に反応して熱を蓄積するからである。したがってファンユニットは、継続される空気通流によって収着材料および収着容器から熱エネルギが充分に輸送されている間は、有利にも過熱装置のスイッチオフ時点を超えて継続作動される。したがって収着材料の材料損傷や、過熱装置ならびに収着容器のその他の要素、ならびに収着容器の周囲の要素、ないしは家庭用食器洗浄機の構成要素の許容できないほどのストレスは充分に回避されている。ファンユニットによって継続される空気循環によって、収着容器内の収着材料および/または加熱装置の冷却が促進されるよう保証される。これに対してファンユニットの継続がなければ収着容器内に熱溜まりが発生し、許容できないほどの高温が生じ得る。
本発明の別の1つの有利な実施形態によれば、家庭用食器洗浄機の洗浄容器の内部空間および/または収着乾燥容器の収着容器の領域における温度が危機的な限界温度を超過した場合に、主制御装置は補助制御ユニットに対して、収着乾燥装置、とりわけ収着乾燥容器の加熱装置をスイッチオフするためのスイッチオフ指示を供給することもできる。これによって、とりわけ収着乾燥装置の脱着プロセス時におけるさらなる熱的保護が提供される。洗浄容器の内部空間の温度は、例えば家庭用食器洗浄機の洗浄容器の側壁に取り付けられた少なくとも1つの温度センサを用いて検出することができる。相応にして、収着容器の領域における各温度を少なくとも1つの温度センサを用いて決定することができる。
本発明の別の1つの有利な実施形態によれば、危機的な特性量、とりわけ主制御装置および/または補助制御ユニットに有効接続されたエネルギ配電網の危機的な電圧変動および/または危機的な周波数変動が超過された場合に、補助制御ユニットは、収着乾燥装置、とりわけ収着乾燥装置の加熱装置および/またはファンユニットをスイッチオフすることができる。これによって収着乾燥装置は、電気的なエネルギ配電網の1つまたは複数の特性量の許容できないほど大きい変動に対しても充分に保護されている。とりわけこれによって、例えば許容できないほど高い過電圧の場合に、この過電圧によって収着容器の収着材料に過大な熱出力が供給される前に過熱装置がスイッチオフされるよう保証することができる。
すなわちより一般的に表現すると、補助制御ユニットによって、収着乾燥装置の収着容器内の収着材料の許容できないほど高い加熱が充分に阻止されるよう保証することができる。とりわけ収着材料の材料損傷をもたらし得る危機的な限界温度の超過が阻止される。このようにして収着材料は、加熱装置によって材料損傷のないようにのみ加熱されるよう保証される。このようにして修復不能な材料損傷は充分に回避されている。
本発明はまた、主制御装置を含む家庭用食器洗浄機の収着乾燥装置を制御するための方法において、前記収着乾燥装置の少なくとも1つの要素が、主制御装置に加えてさらに設けられている少なくとも1つの補助制御ユニットによって制御されることを特徴とする方法に関する。
本発明のその他の実施形態は従属請求項に記載されている。
以下では、図面を参照しながら本発明ならびに本発明の実施形態を詳細に説明する。
図1〜4において同じ機能および作用を有する要素には、それぞれ同一の参照符号を付してある。
図1は、本発明に基づいて構成された家庭用電化製品の実施例の1つとして、家庭用食器洗浄機GSを概略的に示す。家庭用食器洗浄機は主な要素として洗浄容器SPBと、ベースモジュールBGと、空気乾燥装置である収着乾燥装置STEとを有する。収着乾燥装置STEは有利には外部に、すなわち洗浄容器SPBの外側にて一部は側壁SWに、また一部はベースモジュールBGの中に設けられている。収着乾燥装置は主な構成部分として、少なくとも1つの空気ガイドチャネルLKならびに少なくとも1つの収着容器SBを含む。空気ガイドチャネルLKは、該空気ガイドチャネルLKの中に挿入された少なくとも1つのファンユニットないし送風機LTを備えており、収着容器SBは収着乾燥材料ZEO、とりわけゼオライト等を備えている。洗浄容器SPB内には有利には、例えば食器具等のような被洗浄物を収容および洗浄するための1つまたは複数の網籠GKが収容されている。洗浄すべき被洗浄物に液体を噴射するために、洗浄容器SPBの内部には1つまたは複数の噴射装置、例えば1つまたは複数の回転する噴射アームSAが設けられている。この実施例では洗浄容器SPBにおいて、下側の噴射アームならびに上側の噴射アームが回転可能に懸架されている。
被洗浄物を洗浄するために、家庭用食器洗浄機は、複数のプログラムステップを有する食器洗浄プログラムを実行する。各食器洗浄プログラムは、とりわけ少なくとも以下の時間的に前後連続した個別プログラムステップを含むことができる:つまりこの個別プログラムステップとは、浄水および/または充分に清潔な雑用水を用いて大まかな汚れを除去するための少なくとも1つの予備洗いステップと、洗浄溶液、とりわけ水に洗剤を添加することによる後続の本洗いステップと、後続の中間すすぎステップと、張力低下剤、とりわけリンスエイドが混合された液体、とりわけ水を供給する後続の仕上げすすぎステップと、洗浄された被洗浄物が乾燥される最後の乾燥ステップである。
選択された食器洗浄プログラムの洗浄ステップに応じて、例えば本洗いステップ、中間すすぎステップ、および/または仕上げすすぎステップのために、洗剤が混合された浄水および/または雑用水がそれぞれ洗浄すべき被洗浄物に供給される。本実施例においては、それぞれ使用される液体をいわゆる洗浄溶液と称することとする。
ファンユニットLTならびに収着容器SBは、本実施例では、洗浄容器SPBの底部BOの下にあるベースモジュールBGの中に収容されている。空気ガイドチャネルLKは、洗浄容器SPBの底部BOの上方にて洗浄容器の側壁SWに設けられた排出開口部ALAから、吸込側の管部分RA1を備えた前記側壁SWの外側において、ベースモジュールBG内のファンユニットLTへ向かって下方に延びている。空気ガイドチャネルLKの出口は、該空気ガイドチャネルLKの端部側の接続部分VAを介して、収着容器SBの入口開口部EOに接続されている。洗浄容器SPBの排出開口部ALAは、洗浄容器の底部BOの上方にて、各洗浄ステップの際に洗浄溶液または洗剤泡の侵入が充分に回避されるような高さに設けられている。
ファンユニットは有利には軸流ファンとして構成されている。ファンユニットは各乾燥プロセスの際に、収着容器SB内の収着ユニットSEに洗浄容器SPBからの湿熱空気LS1を強制的に通流させるために使用される。収着ユニットSEは、可逆的に脱水可能な収着材料ZEOを含む。収着材料ZEOは、該収着材料を通って流入してきた空気LS2から湿気を吸収して蓄積することができる。収着容器SBは、該収着容器のケーシングの蓋部近傍の領域において上面に流出開口部AOを有する。流出開口部AOは、排出エレメントAU、とりわけ流出接続管によって、洗浄容器SPBの底部BOにある貫通挿入開口部DGを貫通して、洗浄容器SPBの内部に接続されている。このようにして、洗浄された被洗浄物を乾燥するための食器洗浄プログラムの乾燥ステップ中には、洗浄容器SPBの内部からの湿熱空気LS1を、スイッチオンされたファンユニットLTを用いて排出開口部ALAを通して空気ガイドチャネルLKの中へと吸い込んで、ファンユニットと収着容器の間にある環状の接続部分VAを介して収着容器SBの内部へと輸送し、収着ユニットSE内の可逆的に脱水可能な収着材料ZEOを強制的に通流させることができる。収着ユニットSEの収着材料ZEOは、貫流する湿った空気から液滴、とりわけ水分を奪取する。そうして収着ユニットSEの後に乾燥された空気は、排出エレメントないし吐出エレメントAUSによって洗浄容器SPBの内部へと吐出することができる。このようにしてこの収着乾燥装置STEによる閉鎖式の空気循環システムが提供されている。
収着容器SBには、流れ方向に見て収着容器の収着ユニットSEの手前に、収着材料ZEOの脱着のため、ひいては再生のための少なくとも1つの空気加熱装置HZ1が配置されている。空気加熱装置HZ1は、空気LS1の加熱のために使用される。この空気LS1は、空気ファンユニットLTによって空気ガイドチャネルLKを通って収着容器SBに到着する空気LS1であって、収着容器SEの収着材料ZEOを貫通して通流される。収着材料ZEOを貫流する際にこの強制的に加熱された空気LS2は、収着材料ZEOから、蓄積された湿気、とりわけ水を受容する。この湿気ないし水は、実行されている食器洗浄プログラムでの先行する乾燥ステップの際に収着材料の中に堆積されたものである。収着材料ZEOから脱着された水は、加熱された空気により、収着容器SBの排出エレメントAUSを介して収着容器SBの内部へと輸送される。この脱着プロセスは有利には、洗浄ステップの開始時において、とりわけ食器洗浄プログラムの予備洗いステップおよび/または後続の本洗いプロセスの開始時に、洗浄溶液の加温ないし加熱が必要とされる場合に実施される。こうすると有利には、脱着プロセスのために空気加熱装置HZ1によって加熱された空気を、洗浄容器SPB内の洗浄溶液を加熱するため、洗浄容器SPBの内壁を加熱するため、および/または、洗浄容器内の被洗浄物を加熱するためにも同時に使用することができ、これによってエネルギを節約できる。この場合には各洗浄溶液の加熱を、場合によっては既に収着乾燥装置を用いるだけで脱着により実施することが可能である。
家庭用食器洗浄機GSはさらに洗浄容器SPBの底部BOに、フィルタシステムを使用するポンプサンプPSを有する。ポンプサンプPSは、各洗浄プロセス中に噴射アームSAによって噴射される洗浄溶液を収集するために使用される。ポンプサンプPSは、管路系ZLを介して上側および下側の噴射アームSAに接続されている。ポンプサンプSAの接続領域には循環ポンプUPが設けられており、循環ポンプは洗浄溶液をポンプサンプPSから管路系ZLの供給管へと供給する。さらにポンプサンプPSには吸引排出ポンプLPが接続されており、この吸引排出ポンプLPによって、使用済みの洗浄溶液をポンプサンプPSから部分的または完全に排水管ELへと排出することができる。
洗浄溶液を加熱するために、場合によって管路系ZLに、本実施形態では循環ポンプUPに、収着乾燥装置STEのための付加的な液体加熱装置であるフロースルーヒータDLEまたは熱交換器が設けられている。このフロースルーヒータによって、収着乾燥装置の脱着加熱プロセスに付加的に、または脱着加熱プロセスとは独立して、各洗浄溶液を加熱することができる。循環ポンプUPならびにフロースルーヒータDLEには、それぞれ一緒にまたは互いに別個に、少なくとも1つの電気エネルギ供給線SVL5を介して主制御装置HEから電気エネルギが供給される。とりわけ電気エネルギ供給線SVL5は、充電相として少なくとも1つの第1給電線と、中性線として少なくとも1つの第2給電線とを含む。さらに吸引排出ポンプLPも循環ポンプUPと同様に、電流供給線SVL6を介して主制御装置HEに接続されている。主制御装置HEは、主電源エネルギ供給線SVL1を介して公共配電網ENに接続されている。主制御装置HEは、各洗浄プロセスに対して洗浄溶液の加温ないし加熱が望まれる場合に、電気エネルギ供給線SVL5をフロースルーヒータDLEおよび/または循環ポンプUPに導通させ、洗浄溶液の加温が要求されない場合にはこれらをスイッチオフする。同様にして、洗浄ステップにて使用済みの洗浄溶液をポンプサンプPSから部分的または完全に排水管ELへと排出するように主制御装置HEによって要求されている場合には、主制御装置HEは吸引排出ポンプLPをスイッチオンする。
図1ではベースモジュールBGの中に、主制御装置HEに加えてさらに補助制御ユニットZEが設けられている。補助制御ユニットZEは、ファンユニットLTおよび収着乾燥装置STEの空気加熱装置HZ1の制御ならびに給電のために使用される。このために補助制御ユニットZEは、エネルギ供給線SVL2を介して主制御装置HEに接続されている。付加的に補助制御ユニットZEは、主制御装置HEから少なくとも1つのバス線ないし信号線DBによって制御される。補助制御ユニットZEから少なくとも1つのエネルギ供給線SVL3が、収着容器SBの加熱装置HZ1へと導かれている。とりわけこのエネルギ供給線SVL3は、充電相として少なくとも1つの第1給電線と、中性線として少なくとも1つの第2給電線とを含む。補助制御ユニットZEは、制御線SLV4を介してファンユニットLTも制御する。制御線SLV4には、とりわけファンユニットLTのための電流供給線も一緒に組み込むことができる。
補助制御ユニットZEをここでは主制御装置とは別個の機能要素として構成し、主制御装置から空間的に距離EFを置いて離れて配置することができる。こうすることによって有利には、主制御装置にエラーが発生した場合に、収着乾燥装置の1つまたは複数の電気要素を担当する補助制御ユニットに対する機能安全性を高めることが可能となる。反対に、主制御装置を補助制御ユニットから分離することができ、こうして補助制御ユニットが故障またはその他のエラー機能を有する場合であっても、主制御装置は自身に割り当てられた動作機能を引き続き欠陥なく実施することができる。図1の実施形態では補助制御ユニットは、家庭用食器洗浄機内の主制御装置とは別の場所に収容されている。これによって主制御装置に対しても補助制御ユニットに対しても機能安全性を充分に保証することができる。
さらにここでは補助制御ユニットZEは、収着乾燥装置STEの収着容器SBから空間的に所定の最低距離MAを置いて離れて配置されている。維持すべきこの最低距離によって、収着乾燥装置の収着容器での少なくとも1つの加熱装置による収着乾燥材料の加熱によって生じ得る、補助制御ユニットの許容できないほど高い熱的ストレスを、確実に充分に回避することができる。このようにして補助制御ユニットの機能安全な動作が保証されている。
食器洗浄プログラムの最後に収着乾燥装置STEによる乾燥プロセスが望まれると直ぐに、主制御装置HEは制御線DBを介して補助制御ユニットZEに制御信号SS1を伝送して、補助制御ユニットZEが制御線SVL4を介してファンユニットLTをスイッチオンするようにする。そうすることによって洗浄容器からの湿熱空気を空気ガイドチャネルLKに吸い込み、乾燥のために収着容器SBへと供給することができる。
主制御装置HEによってそれぞれ脱着プロセスが開始されると直ぐに、主制御装置HEは制御信号SS1を用いて補助制御ユニットZEに対し、収着容器SBの加熱装置HZ1ならびにファンユニットLTをスイッチオンすべきであると伝達する。それに従って補助制御ユニットZEは、収着乾燥装置STEのこれら2つの電気要素HZ1、LTをスイッチオンする。
制御線DBの機能性を監視するために、すなわちとりわけ制御線DBの通信エラーおよび/または断線を検出するために、補助制御ユニットZEは一種の「デッドマン監視ロジック」ないし「ウォッチドッグ」監視ロジックを有する。この監視ロジックはとりわけ、主制御装置HEのプログラムシーケンス制御ロジックによって脱着プロセスが計画されている場合、または、主制御装置HEのプログラムシーケンス制御ロジックによって脱着プロセスがとりわけ既に開始されている場合に作動される。その後主制御装置HEは、複数のスイッチオン命令を互いに所定の時間間隔ないし休止時間をおいて、制御線DBを介して補助制御ユニットZEへと伝送する。とりわけ主制御装置は、同一のスイッチオン命令P1を一定の時間間隔TZで、制御線DBを介して補助制御ユニットZEへと周期的に反復して伝送する。このことは図2に図示されている。横軸に沿って時間tが秒(sec)にてプロットされており、その一方で縦軸には、制御信号SS1の時間的な推移が割り当てられている。時点tEHで補助制御ユニットZEは、自身の「ウォッチドッグ」監視ロジックWDによって、主制御ユニットHEから到着する第1のスイッチオン命令P1,0の下降エッジを検出する。補助制御ユニットはこれに従って加熱装置HZ1をスイッチオンし、主制御装置によって望まれた脱着プロセスを開始する。この脱着プロセス中に主制御装置HEは、さらなるスイッチオン命令P1,1、P1,2、P1,3・・・P1,k+1を互いに所定の一定の時間間隔WZで送信する。すなわちこれらの継続するスイッチオン命令は、例えばスイッチオン命令の下降エッジに関連して、待機時間としてそれぞれ1つの時間間隔ないしクロック時間WZを有する。このために補助制御ユニットZEの「ウォッチドッグ」監視ロジックWDは、クロックまたはタイマユニットTAEを有している。クロックまたはタイマユニットTAEは、例えばP1,k、P1,k+1などのような連続して送信される2つのスイッチオン命令ごとに、tk、tk+1などのような受信クロック時点同士間の待機時間WZに対する上限TGを定める。ここで例えばP1,kのような各スイッチオン命令の下降エッジと、それぞれ後続するスイッチオン命令P1,k+1の上昇エッジとの間には、所定の休止時間ないしデッドタイムがある。「ウォッチドッグ」監視ロジックWDが、所定の時間的なトリガーパターンでスイッチオン命令P1,0からP1,k+1を受信している場合には、「ウォッチドッグ」監視ロジックWDはこの制御線DBを機能可能と類別する。しかしながら「ウォッチドッグ」監視ロジックWDがスイッチオン命令P1を検出することなく、例えばP1,k、P1,k+1のようなそれぞれ2つの連続するスイッチオン命令間の所定のクロック時間ないし待機時間WZに対する上限TGが超過された場合には、「ウォッチドッグ」監視ロジックはこれをエラーケースである、すなわち通信接続障害、および/または、主制御装置HEと補助制御ユニットZEの間の制御線DBの断線であると解釈する。とりわけ「ウォッチドッグ」監視ロジックWDのために上限として、例えばP1,k、P1,k+1のような2つの時間的に連続したスイッチオン命令間の待機時間ないしクロック時間WZよりも大きい危機的な待機時間TGを定めると有利である。図2ではこの待機時間TGに対する上限は、周期的に連続するスイッチオン命令間のクロック時間TZのI倍であり、ただしI>1である。スイッチオン命令を受信することなくこの危機的な待機時間TGが超過された場合には、「ウォッチドッグ」監視ロジックWDはこれをエラーケースであると識別ないし解釈し、収着乾燥装置STEの加熱装置HZ1を自動的にスイッチオフする。このような補助制御ユニットの自律的な自動スイッチオフシステムによって、いかなる場合にも加熱装置HZ1がスイッチオフされるよう保証されている。というのは、制御線DBに断線または障害が生じた場合には、もはや補助制御ユニットZEが主制御装置HEのスイッチオフ命令を受信することは不可能だからである。このようにして、収着容器SB内で収着材料ZEOが許容できないほど高い加熱温度に至るまでずっと加熱装置HZ1が加熱し続けるという事態が確実に回避される。
図3は、主制御装置HEと補助制御ユニットZEの間の制御線DBが監視される方法をフローチャートに基づいて図示している。主制御装置HEはスイッチオンステップS0以降、すなわち各脱着プロセスの開始ステップS0以降、それぞれスイッチオン命令を周期的な時間間隔WZを置いて制御線DBを介して補助制御ユニットZEへと送信する。補助制御ユニットの「ウォッチドッグ」監視ロジックは、後続のステップS1において安全タイマをロードし、後続のステップS2においてこれをスタートする。「ウォッチドッグ」監視ロジックは、定められた時間間隔、つまり待機時間WZで、それぞれ主制御装置HEからの例えばP1,0からP1,k+1のようなスイッチオン命令の到着を待ち受ける。このことは図3のステップS3において実施される。所定の待機時間WZが経過した後で「ウォッチドッグ」監視ロジックWDは、補助制御ユニットZEにスイッチオン命令が到着したか否かをチェックする。スイッチオン命令P1,0からP1,k+1が到着すると、「ウォッチドッグ」監視ロジックWDは、監視ループとして再びステップS1およびS2において、タイマによる時間クロックWZをロードおよびスタートする。これに対して「ウォッチドッグ」監視ロジックが、クロック時間WZの経過後にスイッチオフ命令が受信されなかったことを確認すると、「ウォッチドッグ」監視ロジックはステップS4において安全タイマをスイッチオフする。後続のステップS5において「ウォッチドッグ」監視ロジックは、加熱装置HZ1が収着材料ZEOの加熱を中止するようにする。このために「ウォッチドッグ」監視ロジックは、加熱装置HZ1へのエネルギ供給を中断する。
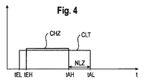
加熱装置HZ1をスイッチオフしたにもかかわらず加熱装置の残余熱によって収着材料ZEO内の温度が許容できないほど高く上昇してしまうことを回避するために、場合によっては、ファンユニットLTを加熱装置HZ1よりも後に初めてスイッチオフすると有利である。このことは図4のフローチャートに図示されている。加熱装置HZ1のスイッチオン状態の時間推移は曲線CHZによって図示されており、その一方で、ファンユニットLTのスイッチオン状態の推移は曲線CLTによって図示されている。加熱装置HZ1は、脱着プロセスを開始するために時点tEHでスイッチオンされる。補助制御ユニットZEは、自身の「ウォッチドッグ」監視ロジックによって制御線DBにおけるエラーケースを確認すると直ぐに、スイッチオフ時点tAHで加熱装置HZ1を遮断、すなわちスイッチオフする。所定の後続時間NLZが経過した後に初めて、補助制御ユニットZEはファンユニットLTもスイッチオフする。ファンユニットLTが、加熱装置のスイッチオフ時点tAHの後にも空気流LS2を、収着材料ZEOを備える収着容器SBを通って貫流させ続けることによって、収着容器SBからの熱エネルギがこの保持された空気流によって洗浄容器SPBの中に排出される。このようにして、加熱装置HZ1および/または収着容器SB内の収着乾燥材料ZEOの残余熱によってスイッチオフ時点tAH後にも温度上限を超過してしまうという事態を回避することができる。この温度上限とは、これを過ぎると収着材料の許容できない材料ストレスが生じ得るという上限である。このようにして収着材料ZEOを、障害発生時でも材料損傷することなく取り扱うことができる。
ファンユニットLTは補助制御ユニットによって、加熱装置HZ1のスイッチオン時点tEHの前に、または同時に、またはその後に若干時間をずらしてスイッチオンすることができる。図4の実施形態では、ファンユニットLTは、加熱装置HZ1のスイッチオン時点tEHより前の時点tELで作動される。
一般的に考慮すると、主制御装置HEと補助制御ユニットZEの間の通信接続が中断または阻害された場合には、安全性の理由から加熱装置HZ1は補助制御ユニットZEによって自動的に、つまり主制御装置HEがこれ以上関与することなくスイッチオフされる。とりわけ加熱装置は、所定のクロック時点においてスイッチオン命令が受信されなかった後で、最大180秒の危機的な待機時間が経過するとスイッチオフされる。これによって、エラー発生時に加熱装置が作動したまま加熱し続けるということが阻止される。
制御線にエラーが存在する場合には既に補助制御ユニットが介入して加熱装置をスイッチオフし、危機的な温度上限、すなわちこれ以上になると収着材料の材料損傷または許容できないストレスが発生し得るような危機的な温度上限に達するまで待たれることはないので、収着材料は充分損傷することなく取り扱われる。これによって収着材料の可逆的に脱水可能な材料特性は、家庭用食器洗浄機の製品寿命に亘って充分に維持される。
補助制御ユニットZEがエラー発生時に機能しなくなる場合であって、かつ加熱装置HZ1がスイッチオフされなくなる場合には、過熱に対する付加的な安全性のために過熱保護装置として少なくとも1つの温度保護ユニットSIを収着容器SBに直接設けることができる。この電気的な温度保護ユニットは、加熱装置HZ1の少なくとも1つの給電線に挿入されている。温度保護ユニットは、少なくとも1つの電気的な熱スイッチおよび/または溶融ヒューズを含む。つまり収着容器SBのケーシングの温度が温度上限を上回ると、電気的な温度保護ユニットSTが加熱装置HZ1の少なくとも1つの給電線を遮断する。このようにして収着材料の過熱に対して、加熱装置をスイッチオフするための二重の保護が設けられている。
脱着プロセス中に制御線にエラーが発生した時には既に、補助制御ユニットが加熱装置HZ1をスイッチオフし、これ以上になると収着材料の許容できないストレスや損傷が生じ得るような収着容器の危機的な限界温度を上回るまで待たれることはないので、収着材料の本来の可逆的の脱水可能な材料特性は充分にそのまま保持される。補助制御ユニットZEがエラー発生時に主制御装置をスイッチオフしなかった場合に初めて、最後の手段として収着容器SBの電気的な温度保護ユニットTS1が介入し、加熱装置HZ1のための少なくとも1つの給電線を切断する。この電気的な温度保護装置は、収着乾燥装置TSEのための2段階式温度保護の第2段階目である。
例えば各脱着プロセスに相応して各収着プロセスにおいても、制御線DBを補助制御ユニットによって監視することが可能である。この場合補助制御ユニットは、エラー発生時には、運転中のファンユニットLTだけをスイッチオフする。なぜなら加熱装置HZ1はいずれにせよ収着中はスイッチオフされているからである。
場合によっては補助制御ユニットZEは、例えばフロースルーヒータのような液体加熱装置の監視も引き受けることができる。主制御装置HEから補助制御ユニットZEへの信号線の通信エラー、伝送障害、または断線が発生すると、この場合には補助制御ユニットZEは、熱的損傷が生じ得る前に安全性の観点からこれらの電気要素もスイッチオフする。
場合によっては家庭用食器洗浄機GSの洗浄容器SPBの内部空間、および/または収着乾燥装置の収着容器SBの領域における温度が危機的な限界温度を超過した場合に、主制御装置HEが補助制御ユニットZEにスイッチオフ命令を送信して、収着乾燥装置の1つまたは複数の要素、とりわけ収着乾燥装置の加熱装置HZ1および/またはファンユニットLTをスイッチオフすることができる。これによってとりわけ収着乾燥装置STEの脱着プロセス時におけるさらなる熱的保護が提供されることとなる。洗浄容器SPBの内部空間の温度は例えば少なくとも1つの温度センサによって検出することができ、この温度センサは、家庭用食器洗浄機の洗浄容器SPBの側壁の1つに取り付けられている。図1においては、温度センサは、洗浄容器SPBの側壁にて測定線MLを介して主制御装置HEに接続されている。相応にして、これに対して付加的にまたは独立して、収着容器の領域における各温度を少なくとも1つの温度センサによって決定することができる。
一般的に考慮すると補助制御ユニットは、危機的な特性量が超過された場合、とりわけ主制御装置および/または補助制御ユニットに有効接続されている電気エネルギ配電網の電圧変動および/または周波数変動が超過された場合に、収着乾燥装置、とりわけ収着乾燥装置の加熱装置および/またはファンユニットをスイッチオフすることができる。これによって収着乾燥装置は、電気エネルギ配電網の1つまたは複数の特性量に許容できないほど大きな変動が起こった場合であっても保護されている。とりわけこれによって例えば許容できないほど高い過電圧の場合に、加熱装置がこの過電圧のせいで過大な加熱出力を収着容器の収着材料に出力してしまう前に、この加熱装置をスイッチオフするよう保証することができる。
つまりより一般的に表現すると、補助制御ユニットによって、収着乾燥装置の収着容器内の収着材料の許容できないほど高い加熱が充分に回避されるよう保証することができる。
とりわけ収着材料の材料損傷をもたらし得る危機的な限界温度の超過が阻止される。このようにして収着材料は加熱装置によって材料損傷が無いようにのみ加熱されるよう保証される。このようにして回復不可能な材料損傷が充分に回避されている。
Claims (19)
- 主制御装置(HE)と少なくとも1つの収着乾燥装置(STE)とを備える家庭用食器洗浄機(GS)において、
前記収着乾燥装置(STE)の少なくとも1つの電気要素(HZ1)の特別の制御のために、前記主制御装置(HE)に加えてさらに少なくとも1つの補助制御ユニット(ZE)が設けられている、
ことを特徴とする家庭用食器洗浄機。 - 前記補助制御ユニット(ZE)は、前記主制御装置(HE)の構成部分である、
ことを特徴とする請求項1記載の家庭用食器洗浄機。 - 前記補助制御ユニット(ZE)は、前記主制御装置(HE)とは別個の機能要素として構成されており、かつ前記主制御装置(HE)とは空間的に離れて、とりわけ所定の空間距離(EF)を置いて配置されている、
ことを特徴とする請求項1記載の家庭用食器洗浄機。 - 前記補助制御ユニット(ZE)は、前記収着乾燥装置(STE)から最低距離(MA)を置いて離れて配置されている、
ことを特徴とする請求項3記載の家庭用食器洗浄機。 - 前記主制御装置(HE)および/または前記補助制御ユニット(ZE)は、洗浄容器(SPB)の底部の下にあるベースモジュール(BG)の中に収容されている、
ことを特徴とする少なくとも請求項1から4のいずれか一項記載の家庭用食器洗浄機。 - 前記収着乾燥装置(STE)は、可逆的に脱水可能な収着材料(ZEO)を備える少なくとも1つの収着容器(SB)を含む、
ことを特徴とする少なくとも請求項1から5のいずれか一項記載の家庭用食器洗浄機。 - 前記収着乾燥装置(STE)は、前記電気要素として、少なくとも1つのファンユニット(LT)および/または前記収着容器(SB)に割り当てられた少なくとも1つの加熱装置(HZ1)を有する、
ことを特徴とする請求項6記載の家庭用食器洗浄機。 - 前記補助制御ユニット(ZE)は、少なくとも1つの動作パラメータ(HL,tD,n)を監視および/または調整するために、前記収着乾燥装置(STE)の前記加熱装置(HZ1)および/または前記ファンユニット(LT)に割り当てられている、
ことを特徴とする請求項7記載の家庭用食器洗浄機。 - 前記補助制御ユニット(ZE)は、少なくとも1つの制御線(DB)を介して前記主制御装置(HE)に接続されている、
ことを特徴とする少なくとも請求項1から8のいずれか一項記載の家庭用食器洗浄機。 - 前記補助制御ユニット(ZE)は、各収着乾燥プロセスおよび/または脱着プロセスにおける前記収着乾燥装置(STE)の作動中に前記制御線(DB)の機能性を監視するための「ウォッチドッグ」監視ロジック(WD)を有する、
ことを特徴とする請求項9記載の家庭用食器洗浄機。 - 前記主制御装置(HE)は、前記制御線(DB)を介して、前記補助制御ユニット(ZE)の「ウォッチドッグ」監視ロジック(WD)に、複数のスイッチオン命令(P1)を、とりわけ少なくとも1つのスイッチオン命令(P1)を周期的に反復して、連続的に送信する、
ことを特徴とする請求項10記載の家庭用食器洗浄機。 - 前記補助制御ユニット(ZE)の前記「ウォッチドッグ」監視ロジック(WD)は、クロックまたはタイマユニット(TAE)を有しており、
前記クロックまたはタイマユニット(TAE)は、各連続して送信された2つのスイッチオン命令(P1,k,P1,k+1)の受信クロック時点(tk,tk+1)間の待機時間(WZ)に対する上限(TG)を定める、
ことを特徴とする請求項11記載の家庭用食器洗浄機。 - 前記補助制御ユニット(ZE)の前記「ウォッチドッグ」監視ロジック(WD)は、次のスイッチオン命令(P1,k+1)を受信することなく前記待機時間(WZ)に対する前記上限(TG)が超過されたか否か、を監視する、
ことを特徴とする請求項12記載の家庭用食器洗浄機。 - 前記補助制御ユニット(ZE)は、前記「ウォッチドッグ」監視ロジック(WD)によって、次のスイッチオン命令(P1)を受信することなく前記待機時間(WD)に対する前記上限(TG)が超過されたということが確認された場合に、前記収着乾燥装置(STE)の少なくとも1つの電気要素(HZ1,LT)をスイッチオフする、
ことを特徴とする請求項13記載の家庭用食器洗浄機。 - 前記補助制御ユニット(ZE)の前記「ウォッチドッグ」監視ロジック(WD)は、前記収着乾燥装置(STE)の前記主制御装置(HZ1)が収着材料(ZEO)の脱着のためにスイッチオンされている場合に、前記制御線(DB)の機能性を監視するよう作動されている、
ことを特徴とする少なくとも請求項10から14のいずれか一項記載の家庭用食器洗浄機。 - 前記補助制御ユニット(ZE)は、前記収着乾燥装置(STE)の前記ファンユニット(LT)を、前記収着乾燥装置(STE)の前記主制御装置(HZ1)のスイッチオフ時点(tAH)後、所定の後続時間(NLZ)が経過した後に初めてスイッチオフする、
ことを特徴とする少なくとも請求項1から15のいずれか一項記載の家庭用食器洗浄機。 - 前記補助制御ユニット(ZE)は、前記家庭用食器洗浄機(GS)の前記洗浄容器(SPB)の内部空間および/または前記収着乾燥装置(STE)の収着容器(SB)の領域における温度が危機的な限界温度(TK)を超過した場合に、前記収着乾燥装置(STE)、とりわけ前記収着乾燥装置の加熱装置(HZ1)および/またはファンユニット(LT)をスイッチオフする、
ことを特徴とする少なくとも請求項1から16のいずれか一項記載の家庭用食器洗浄機。 - 前記補助制御ユニット(ZE)は、各収着プロセスおよび/または脱着プロセスにおいて危機的な特性量、とりわけ前記主制御装置(HE)および/または前記補助制御ユニット(ZE)に有効接続された電気的なエネルギ配電網(EN)の危機的な電圧変動(ΔU)および/または危機的な周波数変動(Δf)が超過された場合に、前記収着乾燥装置(STE)、とりわけ前記収着乾燥装置の加熱装置(HZ1)および/またはファンユニット(LT)をスイッチオフする、
ことを特徴とする少なくとも請求項1から17のいずれか一項記載の家庭用食器洗浄機。 - とりわけ請求項1から18のいずれか一項記載の、主制御装置(HE)を有する家庭用食器洗浄機(GS)の収着乾燥装置(STE)を制御するための方法において、
前記収着乾燥装置(STE)の少なくとも1つの電気要素(HZ1)を、前記主制御装置(HE)に加えてさらに設けられた少なくとも1つの補助制御ユニット(ZE)を用いて特別に制御する、
ことを特徴とする方法。
Applications Claiming Priority (5)
| Application Number | Priority Date | Filing Date | Title |
|---|---|---|---|
| DE102008039888A DE102008039888B4 (de) | 2008-08-27 | 2008-08-27 | Geschirrspülmaschine mit Sorptionstrockenvorrichtung |
| DE102008039888.8 | 2008-08-27 | ||
| DE200810056580 DE102008056580A1 (de) | 2008-11-10 | 2008-11-10 | Haushalts-Geschirrspülmaschine mit einer Sorptionstrocknungseinrichtung sowie zugehöriges Verfahren |
| DE102008056580.6 | 2008-11-10 | ||
| PCT/EP2009/060289 WO2010023088A2 (de) | 2008-08-27 | 2009-08-07 | Haushalts-geschirrspülmaschine mit einer sorptionstrocknungseinrichtung sowie zugehöriges verfahren |
Publications (1)
| Publication Number | Publication Date |
|---|---|
| JP2012500690A true JP2012500690A (ja) | 2012-01-12 |
Family
ID=41722006
Family Applications (1)
| Application Number | Title | Priority Date | Filing Date |
|---|---|---|---|
| JP2011524306A Pending JP2012500690A (ja) | 2008-08-27 | 2009-08-07 | 収着乾燥装置を備える家庭用食器洗浄機ならびに家庭用食器洗浄機の収着乾燥装置の制御方法 |
Country Status (10)
| Country | Link |
|---|---|
| US (1) | US9610003B2 (ja) |
| EP (2) | EP2599426B1 (ja) |
| JP (1) | JP2012500690A (ja) |
| CN (1) | CN102137614B (ja) |
| AU (1) | AU2009286903A1 (ja) |
| ES (1) | ES2437609T3 (ja) |
| NZ (1) | NZ590929A (ja) |
| PL (1) | PL2317907T3 (ja) |
| RU (1) | RU2011109920A (ja) |
| WO (1) | WO2010023088A2 (ja) |
Families Citing this family (10)
| Publication number | Priority date | Publication date | Assignee | Title |
|---|---|---|---|---|
| EP2389854B1 (en) | 2010-05-24 | 2016-08-24 | Electrolux Home Products Corporation N.V. | Device and method for a dishwasher |
| EP2389853A1 (en) * | 2010-05-24 | 2011-11-30 | Electrolux Home Products Corporation N.V. | Sorption drying device for a dishwasher and associated method |
| DE102011003955A1 (de) * | 2011-02-10 | 2012-08-16 | BSH Bosch und Siemens Hausgeräte GmbH | Geschirrspülmaschine sowie Verfahren zum Betreiben derselben |
| KR102443320B1 (ko) * | 2016-01-05 | 2022-09-15 | 엘지전자 주식회사 | 식기 세척기 및 식기 세척기의 제어방법 |
| US9854957B2 (en) * | 2016-01-20 | 2018-01-02 | Haier Us Appliance Solutions, Inc. | Methods for operating dishwasher appliances having energy recovery features |
| DE102017223262A1 (de) * | 2017-07-18 | 2019-01-24 | BSH Hausgeräte GmbH | Geschirrspülmaschine mit zumindest einer Lufttrocknungseinrichtung |
| CN112493958B (zh) * | 2020-11-30 | 2025-03-07 | 珠海格力电器股份有限公司 | 洗碗机、洗碗机的控制方法和存储介质 |
| CN112493957B (zh) * | 2020-11-30 | 2021-11-30 | 珠海格力电器股份有限公司 | 洗碗机、洗碗机的控制方法和存储介质 |
| CN112471994A (zh) * | 2020-11-30 | 2021-03-12 | 珠海格力电器股份有限公司 | 洗碗机、洗碗机的控制方法和存储介质 |
| CN112515599B (zh) * | 2020-11-30 | 2021-11-30 | 珠海格力电器股份有限公司 | 洗碗机、洗碗机的控制方法和存储介质 |
Family Cites Families (23)
| Publication number | Priority date | Publication date | Assignee | Title |
|---|---|---|---|---|
| US3378933A (en) * | 1966-01-13 | 1968-04-23 | Gen Electric | Drying system for dishwasher |
| DE8026939U1 (de) | 1980-10-08 | 1982-02-04 | Bosch-Siemens Hausgeräte GmbH, 7000 Stuttgart | Geschirrspuelmaschine |
| US4641671A (en) * | 1984-02-20 | 1987-02-10 | Daikin Industries Ltd. | Automatic dishwasher |
| US4756321A (en) * | 1985-11-22 | 1988-07-12 | Beta Technology, Inc. | Industrial dishwasher chemical dispenser |
| DE3830664A1 (de) | 1988-09-09 | 1990-03-22 | Bauknecht Hausgeraete | Einrichtung zum trocknen von geschirr in einer haushalt-geschirrspuelmaschine |
| US6149732A (en) * | 1998-10-28 | 2000-11-21 | Genca Corporation | Method and apparatus for removing plastic residue |
| DE10058188A1 (de) * | 2000-11-23 | 2002-05-29 | Miele & Cie | Verfahren zum Trocknen von Spülgut im Spülbehälter einer programmgesteuerten Geschirrspülmaschine |
| US20030084928A1 (en) * | 2001-11-07 | 2003-05-08 | Wood John T. | Control for multiple compartment dishwasher |
| US8601716B2 (en) * | 2003-07-30 | 2013-12-10 | Bsh Bosch Und Siemens Hausgeraete Gmbh | Method for operating a device with at least one partial programme step of drying |
| PL1667569T3 (pl) * | 2003-07-30 | 2021-03-08 | BSH Hausgeräte GmbH | Zmywarka do naczyń |
| DE10353774A1 (de) * | 2003-07-30 | 2005-02-24 | BSH Bosch und Siemens Hausgeräte GmbH | Geschirrspülmaschine |
| DE10353577A1 (de) | 2003-11-14 | 2005-06-16 | Behr Gmbh & Co. Kg | Hochtemperaturgelöteter Abgaswärmetauscher |
| DE102004003536A1 (de) * | 2004-01-23 | 2005-08-11 | BSH Bosch und Siemens Hausgeräte GmbH | Flüssigkeitsführendes elektrisches Haushaltsgerät |
| CN200987659Y (zh) * | 2004-12-09 | 2007-12-12 | Bsh博施及西门子家用器具有限公司 | 洗碗机 |
| DE102005004095A1 (de) * | 2004-12-09 | 2006-06-14 | BSH Bosch und Siemens Hausgeräte GmbH | Geschirrspülmaschine |
| DE102005004094A1 (de) * | 2004-12-09 | 2006-06-22 | BSH Bosch und Siemens Hausgeräte GmbH | Geschirrspülmaschine |
| DE102005004096A1 (de) * | 2004-12-09 | 2006-06-14 | BSH Bosch und Siemens Hausgeräte GmbH | Geschirrspülmaschine mit einer Sorptionstrockenvorrichtung |
| DE102005004097A1 (de) * | 2004-12-09 | 2006-06-14 | BSH Bosch und Siemens Hausgeräte GmbH | Geschirrspülmaschine und Verfahren zum Betreiben derselben |
| DE102005004092A1 (de) * | 2004-12-09 | 2006-06-14 | BSH Bosch und Siemens Hausgeräte GmbH | Geschirrspülmaschine mit einer Sorptionstrockenvorrichtung und Verfahren zum Betreiben derselben |
| WO2006075385A1 (ja) * | 2005-01-14 | 2006-07-20 | Hoshizaki Denki Kabushiki Kaisha | 食器洗浄機 |
| KR101203847B1 (ko) * | 2005-06-30 | 2012-11-21 | 엘지전자 주식회사 | 아바타 영상부를 갖는 식기 세척기 |
| DE102005062943A1 (de) | 2005-12-29 | 2007-07-05 | BSH Bosch und Siemens Hausgeräte GmbH | Hausgerät umfassend einen Adsorptionsapparat |
| DE202008011159U1 (de) | 2008-08-21 | 2008-11-06 | BSH Bosch und Siemens Hausgeräte GmbH | Geschirrspülmaschine und Sorptionstrockenvorrichtung, deren Sorptionsmaterial gewichtsmäßig an die Benetzungsmenge im Spülraum angepasst ist |
-
2009
- 2009-08-07 WO PCT/EP2009/060289 patent/WO2010023088A2/de not_active Ceased
- 2009-08-07 EP EP13156887.5A patent/EP2599426B1/de active Active
- 2009-08-07 NZ NZ590929A patent/NZ590929A/xx not_active IP Right Cessation
- 2009-08-07 AU AU2009286903A patent/AU2009286903A1/en not_active Abandoned
- 2009-08-07 RU RU2011109920/12A patent/RU2011109920A/ru not_active Application Discontinuation
- 2009-08-07 CN CN2009801339975A patent/CN102137614B/zh active Active
- 2009-08-07 JP JP2011524306A patent/JP2012500690A/ja active Pending
- 2009-08-07 PL PL09781623T patent/PL2317907T3/pl unknown
- 2009-08-07 EP EP09781623.5A patent/EP2317907B1/de active Active
- 2009-08-07 ES ES09781623.5T patent/ES2437609T3/es active Active
- 2009-08-07 US US13/058,879 patent/US9610003B2/en active Active
Also Published As
| Publication number | Publication date |
|---|---|
| NZ590929A (en) | 2013-03-28 |
| RU2011109920A (ru) | 2012-10-10 |
| US20110146718A1 (en) | 2011-06-23 |
| EP2317907B1 (de) | 2013-11-20 |
| PL2317907T3 (pl) | 2014-04-30 |
| AU2009286903A1 (en) | 2010-03-04 |
| WO2010023088A3 (de) | 2010-09-30 |
| WO2010023088A2 (de) | 2010-03-04 |
| CN102137614B (zh) | 2013-10-16 |
| US9610003B2 (en) | 2017-04-04 |
| CN102137614A (zh) | 2011-07-27 |
| EP2599426B1 (de) | 2015-03-04 |
| ES2437609T3 (es) | 2014-01-13 |
| EP2599426A1 (de) | 2013-06-05 |
| EP2317907A2 (de) | 2011-05-11 |
Similar Documents
| Publication | Publication Date | Title |
|---|---|---|
| JP2012500690A (ja) | 収着乾燥装置を備える家庭用食器洗浄機ならびに家庭用食器洗浄機の収着乾燥装置の制御方法 | |
| CN102209486B (zh) | 具有空气干燥装置和/或流体加热单元的家用电器以及相关方法 | |
| AU2009275994B2 (en) | Dishwasher comprising a sorption drying system | |
| US9055858B2 (en) | Method for operating a water-carrying household appliance | |
| US8834645B2 (en) | Dishwasher having a sorption drying device | |
| US20170164813A1 (en) | Dishwasher comprising a sorption drying machine | |
| US20110139195A1 (en) | Dishwasher comprising a sorption drying device | |
| JP2011528598A (ja) | 水案内式の家庭用機器、特に食器洗浄機に用いられる洗浄方法 | |
| US20110132412A1 (en) | Dishwasher comprising a sorption drying device | |
| CN111449594B (zh) | 餐具清洗系统 | |
| US10188264B2 (en) | Dishwasher comprising a sorption drying device | |
| US20110139194A1 (en) | Dishwasher comprising a sorption drying unit | |
| US20110120513A1 (en) | Dishwasher machine comprising a sorption drying device | |
| KR101356494B1 (ko) | 식기 세척기 및 이의 제어 방법 | |
| DK2868251T3 (en) | Dishwasher with starter | |
| JP2001087204A (ja) | 食器洗浄機 | |
| US20120042907A1 (en) | Dishwasher with an improved pump-off sequence | |
| JP4674556B2 (ja) | 食器洗い機 | |
| JPH0759713A (ja) | 食器洗い機 | |
| JPH07322995A (ja) | 食器洗浄機 | |
| DE102008056580A1 (de) | Haushalts-Geschirrspülmaschine mit einer Sorptionstrocknungseinrichtung sowie zugehöriges Verfahren | |
| JPS6397136A (ja) | 食器洗浄機 | |
| JP2009160245A (ja) | 食器洗浄機 | |
| JP2001061750A (ja) | 食器洗浄機 |