JP2012209098A - 給電プラグロック装置 - Google Patents
給電プラグロック装置 Download PDFInfo
- Publication number
- JP2012209098A JP2012209098A JP2011073125A JP2011073125A JP2012209098A JP 2012209098 A JP2012209098 A JP 2012209098A JP 2011073125 A JP2011073125 A JP 2011073125A JP 2011073125 A JP2011073125 A JP 2011073125A JP 2012209098 A JP2012209098 A JP 2012209098A
- Authority
- JP
- Japan
- Prior art keywords
- lock
- arm
- power supply
- plug
- locking
- Prior art date
- Legal status (The legal status is an assumption and is not a legal conclusion. Google has not performed a legal analysis and makes no representation as to the accuracy of the status listed.)
- Withdrawn
Links
- 238000006243 chemical reaction Methods 0.000 claims description 10
- 230000001105 regulatory effect Effects 0.000 claims description 2
- 230000000181 anti-adherent effect Effects 0.000 claims 1
- 238000001514 detection method Methods 0.000 description 9
- 210000000078 claw Anatomy 0.000 description 8
- 230000002265 prevention Effects 0.000 description 7
- 238000010586 diagram Methods 0.000 description 4
- 230000007704 transition Effects 0.000 description 3
- CURLTUGMZLYLDI-UHFFFAOYSA-N Carbon dioxide Chemical compound O=C=O CURLTUGMZLYLDI-UHFFFAOYSA-N 0.000 description 2
- 230000001276 controlling effect Effects 0.000 description 2
- 230000000694 effects Effects 0.000 description 2
- 238000003780 insertion Methods 0.000 description 2
- 230000037431 insertion Effects 0.000 description 2
- 230000000149 penetrating effect Effects 0.000 description 2
- 230000002159 abnormal effect Effects 0.000 description 1
- 229910002092 carbon dioxide Inorganic materials 0.000 description 1
- 239000001569 carbon dioxide Substances 0.000 description 1
- 150000001875 compounds Chemical class 0.000 description 1
- 230000003247 decreasing effect Effects 0.000 description 1
- 230000005489 elastic deformation Effects 0.000 description 1
- 230000007613 environmental effect Effects 0.000 description 1
- 238000005259 measurement Methods 0.000 description 1
- 238000000034 method Methods 0.000 description 1
- 230000000284 resting effect Effects 0.000 description 1
- 239000000758 substrate Substances 0.000 description 1
- 238000012795 verification Methods 0.000 description 1
Images
Classifications
-
- Y—GENERAL TAGGING OF NEW TECHNOLOGICAL DEVELOPMENTS; GENERAL TAGGING OF CROSS-SECTIONAL TECHNOLOGIES SPANNING OVER SEVERAL SECTIONS OF THE IPC; TECHNICAL SUBJECTS COVERED BY FORMER USPC CROSS-REFERENCE ART COLLECTIONS [XRACs] AND DIGESTS
- Y02—TECHNOLOGIES OR APPLICATIONS FOR MITIGATION OR ADAPTATION AGAINST CLIMATE CHANGE
- Y02T—CLIMATE CHANGE MITIGATION TECHNOLOGIES RELATED TO TRANSPORTATION
- Y02T10/00—Road transport of goods or passengers
- Y02T10/60—Other road transportation technologies with climate change mitigation effect
- Y02T10/70—Energy storage systems for electromobility, e.g. batteries
Landscapes
- Hybrid Electric Vehicles (AREA)
- Details Of Connecting Devices For Male And Female Coupling (AREA)
- Electric Propulsion And Braking For Vehicles (AREA)
Abstract
【課題】仮に操作アームが半嵌合をとっていても、ロック状態に移行することができる給電プラグロック装置を提供する。
【解決手段】ロックバー28をウォームギヤ機構32によって上下動するものとし、このロックバー28でロックアーム17を上から押さえ付けることにより、給電プラグ(充電ケーブル)をインレット14にロック可能とした。このため、本例の給電プラグロック装置23は、ロックバー28の高さによらず、ロックアーム17を上から押し付けた時点でロック状態に切り換わることが可能となる。よって、ロックアーム17が半嵌合していても、給電プラグロック装置23をロック状態に移行させることが可能となる。
【選択図】図6
【解決手段】ロックバー28をウォームギヤ機構32によって上下動するものとし、このロックバー28でロックアーム17を上から押さえ付けることにより、給電プラグ(充電ケーブル)をインレット14にロック可能とした。このため、本例の給電プラグロック装置23は、ロックバー28の高さによらず、ロックアーム17を上から押し付けた時点でロック状態に切り換わることが可能となる。よって、ロックアーム17が半嵌合していても、給電プラグロック装置23をロック状態に移行させることが可能となる。
【選択図】図6
Description
本発明は、例えば車両等の物品に接続された給電プラグを物品にロックして、給電プラグの不正取り外しを防止する給電プラグロック装置に関する。
近年、環境問題への意識の高まりから、二酸化炭素の排出量の少ない車両として、例えばハイブリッド車や電気自動車等の普及が進んでいる。これら車両は、バッテリの電力でモータを回転させ、モータの駆動力により走行するものである。よって、長距離走行してバッテリ残量が減ると、その度にバッテリを充電しなくてはならない(特許文献1等参照)。
ところで、バッテリ充電は、バッテリの構成要素である電池セルで化合物やイオンの電解反応を伴うため、充電時間が相対的に長くかかる現状がある。よって、バッテリ充電中、仮に車両から立ち去ってしまうと、その隙に第三者によって給電プラグを付け替えられるなどして、電力を盗電される可能性も否めない。従って、バッテリ充電可能な車両では、給電プラグを車両に接続した際、給電プラグが不正に車両から引き抜かれないようにロック装置を搭載することが検討されている。
この種の給電プラグロック装置としては、接続時の抜け止めとして給電プラグに設けられた揺動操作式の爪状の部材(通称、ロックアーム)を、インレット側のロックバーで操作規制する形式が考案されている。ロックアームは自身の軸回りに揺動可能であって、給電プラグがインレットに接続されたとき、インレットの突部に係止する動きをとり、この状態をとると、給電プラグをインレットに係止する。また、ロックアームは根元の操作部を押すと開き側に揺動し、突部との係止が解除可能となっている。
例えば、ロックアームがインレットの突部に係止したとき、インレット側のロックバーがロックアームの上方に位置して、ロックアームの開き側の揺動が制限されると、給電プラグロック装置がロック状態をとり、給電プラグがインレットにロックされる。一方、ロックバーがロックアームから離間して給電プラグロック装置がアンロック状態となると、ロックアームの開き操作が許容され、インレットから給電プラグを引き抜くことが可能となる。
ところで、この形式の給電プラグロック装置を使用した場合、状況によっては、ロックアームがインレットの突部にきっちり固定しない状態、いわゆる半嵌合が生じる可能性がある。ロックアームが突部に半嵌合の状態をとってしまうと、ロックバーをロックアームの上方に位置させようとしてロックバーをロック方向に動かしても、通常よりも上に位置するロックアームにてロックバーの動きが途中で止められてしまい、正常なロック位置に移行できない状況になる。こうなると、給電プラグロック装置をロック状態にすることができない問題に繋がる。
半嵌合の要因としては、例えば給電プラグとインレットが別メーカ同士であるときや、ロックアームに異物が噛み込んでいるときや、給電プラグ(充電ケーブル)の自重でロックアームが浮き上がってしまうときなどがある。
本発明の目的は、仮に操作アームが半嵌合をとっていても、ロック状態に移行することができる給電プラグロック装置を提供することにある。
前記問題点を解決するために、本発明では、インレットに給電プラグが接続されたとき、前記給電プラグに設けられた操作アームが前記インレット側の突部に抜け止めの係止をとり、この状態下で、前記インレット側のロック機構が前記操作アームの操作を規制する状態をとることにより、前記給電プラグの不正取り外しを防止する給電プラグロック装置において、前記ロック機構は、前記突部に対する前記操作アームの係脱方向に沿い往復移動可能であり、前記突部に係止された前記操作アームの操作を規制可能なロック部材と、前記ロック部材をロック位置又はアンロック位置に移動させる際の駆動源となる駆動手段と、前記ロック部材側のからの外部の力では動作せず、前記駆動手段からの駆動力を基に前記ロック部材をロック位置又はアンロック位置に切り換える変換機構とを備え、前記操作アームが前記突部に係止するとき、前記駆動手段にて動作する前記変換機構によって、前記ロック部材を前記係脱方向に沿い前記操作アーム側に移動させて、前記ロック部材によって前記操作アームを前記突部に押し付けることによりロック状態をとることを要旨とする。
本発明の構成によれば、インレットの突部に係止する操作アームを、例えば上からロック部材で押し付けて突部にロックするので、ロック機構のロック状態が操作アームの高さによらなくなる。このため、操作アームが仮にインレットの突部に半嵌合して通常よりも浮く状態をとったとしても、ロック部材にて操作アームを突部に固定する状態をとることが可能となる。よって、操作アームが突部に半嵌合していても、給電プラグロック装置をロック状態に移行させることが可能となる。
本発明では、前記変換機構は、ウォームギヤ機構であることを要旨とする。この構成によれば、給電プラグロック装置の構造を、ウォームギヤ機構を用いた簡素な構成とすることが可能となる。
本発明では、前記ロック部材がロック動作のときに前記操作アームに強く衝突することを要因に前記操作アームと前記ロック部材との間に生じ得る固着を防止する固着防止機構を備えたことを要旨とする。この構成によれば、ロック動作をとったロック部材がロック位置にて操作アームに固着する状況が回避されるので、ロック部材の正常な動作が確保される。よって、給電プラグロック装置の正常なロック動作/アンロック動作を確保することが可能となる。
本発明によれば、仮に操作アームが半嵌合をとっていても、ロック状態に移行することができる。
以下、本発明を具体化した給電プラグロック装置の一実施形態を図1〜図11に従って説明する。
図1に示すように、ハイブリッド車(以下、単に車両1と記す)には、車輪を回す動力をエンジン2及びモータ3にて発生させるハイブリッドシステム4が設けられている。ハイブリッドシステム4には、モータ3の電源としてバッテリ5が設けられている。車両1は、エンジン2の動力で発電してモータ3により走行するモード、エンジン2及びモータ3の両方を動力として走行するモード、モータ3のみで走行するモード等の各種モードにより走行する。
図1に示すように、ハイブリッド車(以下、単に車両1と記す)には、車輪を回す動力をエンジン2及びモータ3にて発生させるハイブリッドシステム4が設けられている。ハイブリッドシステム4には、モータ3の電源としてバッテリ5が設けられている。車両1は、エンジン2の動力で発電してモータ3により走行するモード、エンジン2及びモータ3の両方を動力として走行するモード、モータ3のみで走行するモード等の各種モードにより走行する。
車両1には、外部電源にてバッテリ5を充電する充電システム6が設けられている。充電システム6は、例えば街の一角に設置された充電スタンドや住宅の商用電源などを充電設備7として、充電設備7の充電ケーブル8の先端に設けられた給電プラグ9を車両1に接続してバッテリ5を充電する。
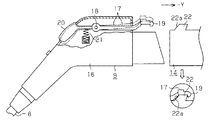
図1及び図2に示すように、車体10の側壁には、給電プラグ9の接続箇所として受電コネクタ11が設けられている。受電コネクタ11は、横開き式のリッド12によって開閉される収納室13に収納されている。受電コネクタ11には、電気接続端子(パワー端子、制御端子等)を有するインレット14が設けられている。インレット14には、給電プラグ9が完挿されたことを検出するプラグ接続検出センサ15が設けられている。
図2及び図3に示すように、給電プラグ9は、充電システム6の電源側であって、インレット14に接続される電気接続端子が設けられている。給電プラグ9のプラグ本体16には、接続時の抜け止めとしてロックアーム17が揺動可能に取り付けられている。ロックアーム17は、長手方向中央を回動軸18として、長手方向と交差する方向に揺動する。ロックアーム17は、先端の爪部19と根元の操作部20とがプラグ本体16の外部に露出されている。ロックアーム17には、操作部20寄りの位置に、ロックアーム17を閉じ側に常時付勢する付勢部材21が設けられている。なお、ロックアーム17が操作アームに相当する。
給電プラグ9を受電コネクタ11に接続する際には、給電プラグ9を受電コネクタ11へ挿入方向(図3の−Y軸方向)に真っ直ぐ挿し込む。このとき、爪部19がインレット14の突部22に当接すると、ロックアーム17は斜面22aに案内されて突部22を上る。そして、給電プラグ9がインレット14に完挿されると、付勢部材21の付勢力によってロックアーム17が閉じ側に揺動する。このため、爪部19が突部22に引っ掛かり、給電プラグ9がインレット14に抜け止めされる。
ハイブリッドシステム4は、インレット14に給電プラグ9が完挿されたことをプラグ接続検出センサ15により検出すると、給電プラグ9に充電開始要求を出力する。給電プラグ9は、ハイブリッドシステム4から充電開始要求を入力すると、受電コネクタ11に電流を流して、バッテリ5を充電する。ハイブリッドシステム4は、バッテリ5が満充電されたことを確認すると、充電終了要求を給電プラグ9に出力する。給電プラグ9は、ハイブリッドシステム4から充電終了要求を入力すると、受電コネクタ11への電流供給を停止し、充電を終了する。
給電プラグ9をインレット14から取り外す際には、操作部20を押してロックアーム17を開き側に揺動させ、突部22から離間させる。そして、この状態で給電プラグ9をインレット14から真っ直ぐ引き抜くことで、車両1から取り外す。
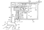
図4〜図6に示すように、受電コネクタ11には、インレット14に接続された給電プラグ9の不正取り外しを防止する給電プラグロック装置23が設けられている。図5及び図6に示すように、給電プラグロック装置23には、各種部品を収納するケース24が設けられている。ケース24は、本体部分をなすロックボディ25と、ロックボディ25の開口を閉じるリッド26とから形成されている。ケース24は、ロックボディ25を複数の係止部材(図示略)によってインレット14に強固に固定されている。
図4〜図6に示すように、ケース24には、給電プラグロック装置23の機構部分としてロック機構27が搭載されている。本例のロック機構27は、ロック時においてロックバー28を上から下に移動させて、ロックバー28でロックアーム17を上から押さえ付けることによりロック状態にする。このため、仮にロックアーム17が突部22に半嵌合する状態(図7及び図8の状態)をとっても、ロックはロックアーム17の高さによらなくなるので、給電プラグロック装置23のロック状態への移行が確保される。なお、ロックバー28がロック部材に相当する。
この場合、図4〜図6に示すように、ケース24の内部には、給電プラグロック装置23の動作駆動源として給電プラグロックモータ29がモータブラケット30を介して取り付けられている。給電プラグロックモータ29は、例えばDCモータが使用されるとともに、モータ軸31が装置幅方向(図4のX軸方向)を向くように配置されている。なお、給電プラグロックモータ29が駆動手段に相当する。
モータ軸31には、給電プラグロックモータ29の回転力をロックバー28側に伝達するウォームギヤ機構32が連結されている。ウォームギヤ機構32は、モータ軸31に取り付けられたウォームギヤ33と、ウォームギヤ33と噛合するヘリカルギヤ34とからなる。ウォームギヤ機構32は、入力の回転を、方向を略90度変換して出力するギヤの一種である。ウォームギヤ機構32は、ヘリカルギヤ34側からウォームギヤ33を故意に回されることを防止する機能、いわゆるセルフロック機能を持つ。なお、ウォームギヤ機構32が変換機構に相当する。
ヘリカルギヤ34の回転中心には、ヘリカルギヤ34と一体回動するシャフト35が、ヘリカルギヤ34の同一軸心位置に取り付け固定されている。シャフト35の外周略一帯には、ネジ部36が形成されている。シャフト35の両端には、ワッシャ37,37がそれぞれ取り付けられている。シャフト35は、給電プラグロックモータ29が一方向(図4の矢印K1方向)に回転(例えば正転)すると、ロック方向(図4の矢印K2方向)に回動し、給電プラグロックモータ29が他方向(図4の矢印S1方向)に回転(例えば逆転)すると、アンロック方向(図4の矢印S2方向)に回動する。
シャフト35のネジ部36には、インレット14の突部22に係止状態にあるロックアーム17を位置規制するロックバー28が、シャフト35の軸Laに沿って直線移動可能に取り付けられている。ロックバー28は、ロックバー本体部38に貫設されたネジ孔39が、シャフト35のネジ部36と螺合されることにより、シャフト35と連結されている。ロックバー28の側壁には、ロックアーム17との当接箇所となるアーム規制部40が突設されている。アーム規制部40は、ケース24(ロックボディ25)の底壁に貫設された通し孔41から、ケース24の外部に露出可能となっている。
例えば、給電プラグロックモータ29の駆動力によりシャフト35が図5のK2方向に回転すると、ロックバー28がロック方向(図5の矢印K3方向)に直線移動(下降)する。そして、ロックバー28がロックアーム17を上から押える状態をとると、給電プラグロック装置23がロック状態となる。一方、給電プラグロックモータ29の駆動力によりシャフト35が図5のS2方向に回転すると、ロックバー28がアンロック方向(図5の矢印S3方向)に直線移動(上昇)する。そして、ロックバー28がロックアーム17から離間すると、給電プラグロック装置23がアンロック状態となる。
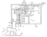
ケース24の内部には、電装品の実装先として基板42aが収納されている。基板42aには、前述の給電プラグロックモータ29や、ロック/アンロックの動作を制御するプラグロック制御部42が実装されている。プラグロック制御部42は、例えばIC(Integrated Circuit)から構成されている。
プラグロック制御部42は、給電プラグロックモータ29の通電を電流検知制御にて実行する。図9に示すように、電流検知制御は、給電プラグロックモータ29に流れる電流を測定し、電流測定値からモータ回転数を推測し、このモータ回転数によってロックバー28の距離を積算する。そして、電流が閾値を継続して超えた時点で、ロックバーの移動距離が最小必要距離に到達していれば、正常位置で停動電流発生とし判定し、モータ通電を停止する。一方、電流が閾値を継続して超えた時点で、ロックバー28の移動距離が最小必要距離に到達していなければ、異常位置で停動電流発生と判定し、規定時間通電した後、モータ通電を終了する。電流検知方式を用いれば、例えばセンサ類が不要となるので、装置体格を小型化することが可能となる。
ところで、ロックアーム17とロックバー28との寸法関係は、ロックバー28がロック位置にきっちり位置するように、ロックバー28のロック時における動作終端位置がロックアーム17に衝突して止まる寸法に設定される場合がある。また、これ以外の方法として、給電プラグロックモータ29の作動制御を、前述の電流検知制御や、タイマを長めに設定する制御を用いることもある。
これら状況のときは、ロックバー28がロックアーム17に衝突することから、ロックアーム17には、給電プラグロックモータ29の最大トルク(停動トルク)が負荷されることになる。こうなると、図10に示すように、場合によってはロックアーム17側が変形して、ロックバー28が停止することも想定される。また、両者のヤング率や硬度に差がある場合も、ロックアーム17に変形が発生する可能性がある。
このときにロックアーム17に生じる変形が弾性変形領域内の場合、変形は戻ろうとするが、変形方向がロックバー28を逆方向へ移動させる方向へ向いていない場合や、ウォームギヤ機構32のセルフロック機構が利いている場合、変形が戻らず、ロックアーム17とロックバー28とに応力(Fa,Fb)が残る。その応力は、ロックからアンロックへの作動時、作動抵抗(摩擦抵抗)となり、その作動抵抗に打ち勝つモータトルクなりギヤトルクが発生されない限り、アンロック動作が始まらず、作動不良(即ち、固着)となる。
そこで、図11に示すように、本例のロック機構27には、アンロック作動時においてロックアーム17とロックバー28との固着を防止する固着防止機構43が設けられている。この場合、ウォームギヤ33においてモータ軸31を挿し込む箇所には、英大文字Dが反転して上下に2つ並んだ形状(ダブルDカット形状)を呈する係合溝44が形成されている。また、モータ軸31の先端には、係合溝44内において回転が許容された板状を呈する係止片45が設けられている。
ロック動作時は、給電プラグロックモータ29とともにロック方向(図11の矢印K1方向)に回転する係止片45が係合溝44の壁面44a,44aを押すことにより、ウォームギヤ33をロック方向に回転させる。また、アンロック動作時は、給電プラグロックモータ29とともにアンロック方向(図11の矢印S1方向)に回転する係止片45が、係合溝44において壁面44a,44aに対し回転方向反対側の壁面44b,44bを押すことにより、ウォームギヤ33をアンロック方向に回転させる。
また、アンロック動作のとき、それまで壁面44a,44aに当接していた係止片45がアンロック方向に空走回転してから、壁面44b,44bに当接し、その後、ウォームギヤ33のアンロック方向の回転が始まる。このため、ロックアーム17とロックバー28とが仮に固着していたとしても、係止片45が空走回転した後に壁面44b,44bに当接する際の衝撃にて固着が解消される。固着解消の力は、例えば給電プラグロックモータ29のロータの質量による回転の慣性モーメントにより決まる。
次に、本例の給電プラグロック装置23の動作を、図6〜図8、図10及び図11を用いて説明する。
給電プラグロック装置23がアンロック状態のとき、プラグロック制御部42にロックトリガが入力されると、プラグロック制御部42は給電プラグロックモータ29を一方向に回転(例えば正転)させ、ロック動作を実行する。このとき、給電プラグロックモータ29の回転力がウォームギヤ機構32を介してシャフト35に伝わり、シャフト35がロック方向(図5の矢印K2方向)に回動する。これにより、ロックバー28が下方向、つまりロック方向(図5の矢印K3方向)に直線移動を開始する。
給電プラグロック装置23がアンロック状態のとき、プラグロック制御部42にロックトリガが入力されると、プラグロック制御部42は給電プラグロックモータ29を一方向に回転(例えば正転)させ、ロック動作を実行する。このとき、給電プラグロックモータ29の回転力がウォームギヤ機構32を介してシャフト35に伝わり、シャフト35がロック方向(図5の矢印K2方向)に回動する。これにより、ロックバー28が下方向、つまりロック方向(図5の矢印K3方向)に直線移動を開始する。
このとき、図6に示すように、ロックアーム17が突部22に全嵌合する場合、ロックバー28は動作終端位置(最大ロック位置)まで移動可能である。このため、ロックバー28がロックアーム17の爪部19を上から押さえ付ける状態となり、ロックアーム17の揺動操作が制限される。つまり、給電プラグロック装置23がロック状態をとる。
ここで、図7に示すように、給電プラグ9がインレット14に接続されたとき、例えばロックアーム17が少し浮いて突部22に係止する半嵌合をとったとする。このとき、ロックアーム17は、通常高さよりもHaだけ高い位置をとって、突部22に係止する状態をとる。
この状況下でロックバー28がロック方向に下降したとき、ロックバー28はロックバー28の爪部19に当たるまで下がり、爪部19に当接した時点で停止する。このため、ロックバー28がロックアーム17を上から押さえ付けてロックアーム17を突部22に固定するので、ロックアーム17を開き側に手動操作することができなくなる。よって、図7に示すような半嵌合が生じても、給電プラグロック装置23をロック状態に遷移させることが可能となる。なお、このとき、ロックアーム17の操作部20を押して、ロックアーム17を開き側に操作しようとしても、ロックバー28の高さ位置はウォームギヤ機構32のセルフロック機能によって保持されているので、ロックバー28がアンロック方向に移動してしまうことはない。
また、図8に示すように、給電プラグ9がインレット14に接続されたとき、例えばロックアーム17が大きく浮いて突部22に係止する半嵌合をとったとする。このとき、ロックアーム17は、通常高さよりもHbだけ高い位置をとって、突部22に係止する状態をとる。
この状況下でロックバー28がロック方向に下降したとき、ロックバー28はロックバー28の爪部19に当たるまで下がり、爪部19に当接した時点で停止する。このため、ロックバー28がロックアーム17を上から押さえ付けてロックアーム17を突部22に固定するので、ロックアーム17を開き側に手動操作することができなくなる。よって、図8に示すような半嵌合が生じても、給電プラグロック装置23をロック状態に遷移させることが可能となる。なお、このロック状態もウォームギヤ機構32のセルフロック機構にて保持される。
ここで、ロック動作時、ロックバー28がロックアーム17に衝突して、ロックアーム17とロックバー28とが固着したとする(図10に示す状態)。この状況下で、アンロック動作が開始されたときは、図11に示すように、係止片45が給電プラグロックモータ29のロータの質量に基づく回転の慣性モーメントにて壁面44b,44bに強く当接する。このため、固着が解消され、ロックバー28が上方向、つまりアンロック方向への移動が確保される。
以上により、本例においては、ロックバー28をウォームギヤ機構32によって上下動するものとし、このロックバー28でロックアーム17を上から押さえ付けることにより、給電プラグ9をインレット14にロック可能とした。このため、本例の給電プラグロック装置23は、ロックバー28の高さによらず、ロックアーム17を上から押し付けた時点でロック状態に切り換わることが可能となる。よって、ロックアーム17が半嵌合していても、給電プラグロック装置23をロック状態に移行させることが可能となる。
また、給電プラグロック装置23に固着防止機構43を設けたので、例えばロック動作時にロックバー28がロックアーム17に強く衝突して両者の間に固着が生じたとしても、アンロック動作時に固着防止機構43が利いて、ロックアーム17とロックバー28との固着が解消される。よって、確実なロック状態への移行を狙ってロックバー28を動作終端位置まできっちり移動させるようにしても、この場合に生じ得る固着の問題も解消される。このため、固着問題に対応しながらロック状態への確実な遷移も確保することが可能となる。
本実施形態の構成によれば、以下に記載の効果を得ることができる。
(1)ロックバー28を装置高さ方向に上下動するものとし、インレット14の突部22に係止状態をとるロックアーム17をロックバー28にて上から押さえ付けることにより、給電プラグ9をインレット14にロックする。このため、仮にロックアーム17が半嵌合していても、給電プラグロック装置23をロック状態に移行させることができる。
(1)ロックバー28を装置高さ方向に上下動するものとし、インレット14の突部22に係止状態をとるロックアーム17をロックバー28にて上から押さえ付けることにより、給電プラグ9をインレット14にロックする。このため、仮にロックアーム17が半嵌合していても、給電プラグロック装置23をロック状態に移行させることができる。
(2)ロックバー28をウォームギヤ機構32により上下動させるので、給電プラグロック装置23の構造を、ウォームギヤ機構32を用いた簡素な構成とすることができる。
(3)ロックバー28のロック動作時、ロックバー28が仮にロックアーム17に固着してしまったとしても、アンロック動作時において固着が固着防止機構43により解消されるので、ロックバー28のアンロック方向への動きを可能とすることができる。よって、給電プラグロック装置23のアンロック動作を確保することができる。なお、本例の固着防止機構43は、ロック動作におけるロックバー28の固着解消も期待できる。
(3)ロックバー28のロック動作時、ロックバー28が仮にロックアーム17に固着してしまったとしても、アンロック動作時において固着が固着防止機構43により解消されるので、ロックバー28のアンロック方向への動きを可能とすることができる。よって、給電プラグロック装置23のアンロック動作を確保することができる。なお、本例の固着防止機構43は、ロック動作におけるロックバー28の固着解消も期待できる。
(4)シャフト35の両端に一対のワッシャ37,37を設けているが、これらワッシャ37,37が固着解消に利くことが知見された。よって、ロックバー28の固着を一層生じ難くすることができる。
なお、実施形態はこれまでに述べた構成に限らず、以下の態様に変更してもよい。
・固着防止対策として、図12に示すように、給電プラグロックモータ29のデューティ制御としてもよい。この場合、例えばロックバー28が動作終端位置の手前に位置した時点から、給電プラグロックモータ29に印加する電圧を徐々に下げていき、ロックバー28をゆっくりと動作終端位置で止まるようにする。この場合、固着を未然に防ぐことができ、給電プラグロック装置23の正常なロック動作/アンロック動作を確保することができる。
・固着防止対策として、図12に示すように、給電プラグロックモータ29のデューティ制御としてもよい。この場合、例えばロックバー28が動作終端位置の手前に位置した時点から、給電プラグロックモータ29に印加する電圧を徐々に下げていき、ロックバー28をゆっくりと動作終端位置で止まるようにする。この場合、固着を未然に防ぐことができ、給電プラグロック装置23の正常なロック動作/アンロック動作を確保することができる。
・ロック機構27は、図13に示すように、ロックバー28はカムを応用した機構(回転式)でもよい。この場合、ロックバー28は装置幅方向Zに延びる軸28a回りに回動可能となっており、先端でロックアーム17を上から押さえ付けることにより、ロックアーム17をインレット14にロックする。
・バッテリ5の充電開始条件は、適宜変更可能である。例えば、プラグ接続検出センサ15がインレット14への給電プラグ9の挿し込みを検出し、かつ電子キーとID照合が成立することを充電開始条件としてもよい。
・バッテリ5の充電停止は、車両内のスイッチを切ることで行ってもよい。
・給電プラグロック装置23の構造は、ロックバー28がロックアーム17の上に直接乗ってロックアーム17をロックする構造に限定されない。例えば、ケース24にロッキングレバーのような回動部材を設け、間にロッキングレバーを介装する状態でロックバー28がロックアーム17をロック状態にする構造としてもよい。
・給電プラグロック装置23の構造は、ロックバー28がロックアーム17の上に直接乗ってロックアーム17をロックする構造に限定されない。例えば、ケース24にロッキングレバーのような回動部材を設け、間にロッキングレバーを介装する状態でロックバー28がロックアーム17をロック状態にする構造としてもよい。
・給電プラグロック装置23は、ロックやアンロックが手動操作により実行されるものでもよい。
・給電プラグロック装置23は、例えばロックを手動式とし、アンロックを電動式とするものでもよい。
・給電プラグロック装置23は、例えばロックを手動式とし、アンロックを電動式とするものでもよい。
・操作アームは、中心を軸として回動するロックアーム17に限定されず、インレット14の突部22に係脱操作可能であれば、形状や構造は特に限定されない。
・給電プラグロック装置23のロック動作/アンロック動作を、車両ドアのドアロック連動としてもよい。また、この場合、ドアロック用のアクチュエータ(モータ)に流れる電流(電圧)で給電プラグロックモータを動作させてもよい。
・給電プラグロック装置23のロック動作/アンロック動作を、車両ドアのドアロック連動としてもよい。また、この場合、ドアロック用のアクチュエータ(モータ)に流れる電流(電圧)で給電プラグロックモータを動作させてもよい。
・係脱方向は、装置高さ方向(Z軸)に限定されず、Z軸に対して若干傾く方向も広義として含む。つまり、ロックバー28の移動方向は、ロックアーム17をインレット14に固定できる方向であればよい。
・変換機構は、ウォームギヤ機構32に限定されず、他の機構を採用してもよい。
・車両1は、ハイブリッド車に限定されず、例えばモータのみで走行する電気自動車でもよい。
・車両1は、ハイブリッド車に限定されず、例えばモータのみで走行する電気自動車でもよい。
・給電プラグロック装置23は、車両1に適用されることに限らず、他の装置や機器に応用してもよい。
次に、上記実施形態及び別例から把握できる技術的思想について、それらの効果とともに以下に追記する。
次に、上記実施形態及び別例から把握できる技術的思想について、それらの効果とともに以下に追記する。
(イ)請求項1〜3のいずれかにおいて、前記駆動手段を電流検知制御にて制御する制御手段を備えた。この構成によれば、ロック部材の位置を検出する際、センサ等の別部品が不要となるので、装置構成を簡素化することが可能となる。
(ロ)請求項1〜3、前記技術的思想(イ)のいずれかにおいて、前記ロック部材は、直線移動する部材である。この構成によれば、装置簡素化に一層寄与する。
9…給電プラグ、14…インレット、17…操作アームとしてのロックアーム、22…突部、23…給電プラグロック装置、27…ロック機構、28…ロック部材としてのロックバー、29…駆動手段としての給電プラグロックモータ、32…変換機構としてのウォームギヤ機構、43…固着防止機構。
Claims (3)
- インレットに給電プラグが接続されたとき、前記給電プラグに設けられた操作アームが前記インレット側の突部に抜け止めの係止をとり、この状態下で、前記インレット側のロック機構が前記操作アームの操作を規制する状態をとることにより、前記給電プラグの不正取り外しを防止する給電プラグロック装置において、
前記ロック機構は、
前記突部に対する前記操作アームの係脱方向に沿い往復移動可能であり、前記突部に係止された前記操作アームの操作を規制可能なロック部材と、
前記ロック部材をロック位置又はアンロック位置に移動させる際の駆動源となる駆動手段と、
前記ロック部材側のからの外部の力では動作せず、前記駆動手段からの駆動力を基に前記ロック部材をロック位置又はアンロック位置に切り換える変換機構とを備え、
前記操作アームが前記突部に係止するとき、前記駆動手段にて動作する前記変換機構によって、前記ロック部材を前記係脱方向に沿い前記操作アーム側に移動させて、前記ロック部材によって前記操作アームを前記突部に押し付けることによりロック状態をとる
ことを特徴とする給電プラグロック装置。 - 前記変換機構は、ウォームギヤ機構である
ことを特徴とする請求項1に記載の給電プラグロック装置。 - 前記ロック部材がロック動作のときに前記操作アームに強く衝突することを要因に前記操作アームと前記ロック部材との間に生じ得る固着を防止する固着防止機構を備えた
ことを特徴とする請求項1又は2に記載の給電プラグロック装置。
Priority Applications (1)
| Application Number | Priority Date | Filing Date | Title |
|---|---|---|---|
| JP2011073125A JP2012209098A (ja) | 2011-03-29 | 2011-03-29 | 給電プラグロック装置 |
Applications Claiming Priority (1)
| Application Number | Priority Date | Filing Date | Title |
|---|---|---|---|
| JP2011073125A JP2012209098A (ja) | 2011-03-29 | 2011-03-29 | 給電プラグロック装置 |
Publications (1)
| Publication Number | Publication Date |
|---|---|
| JP2012209098A true JP2012209098A (ja) | 2012-10-25 |
Family
ID=47188673
Family Applications (1)
| Application Number | Title | Priority Date | Filing Date |
|---|---|---|---|
| JP2011073125A Withdrawn JP2012209098A (ja) | 2011-03-29 | 2011-03-29 | 給電プラグロック装置 |
Country Status (1)
| Country | Link |
|---|---|
| JP (1) | JP2012209098A (ja) |
Cited By (7)
| Publication number | Priority date | Publication date | Assignee | Title |
|---|---|---|---|---|
| WO2014097946A1 (ja) * | 2012-12-19 | 2014-06-26 | 株式会社村上開明堂 | アクチュエータ |
| JP2014120234A (ja) * | 2012-12-13 | 2014-06-30 | Tokai Rika Co Ltd | 充電ケーブルロック装置 |
| JP2014128042A (ja) * | 2012-12-25 | 2014-07-07 | Fuji Heavy Ind Ltd | 車両 |
| DE102013017842A1 (de) * | 2013-10-28 | 2015-04-30 | Kiekert Aktiengesellschaft | Elektrische Steckverbindung für insbesondere Elektrofahrzeuge |
| CN108206371A (zh) * | 2017-12-07 | 2018-06-26 | 广州市科卡通信科技有限公司 | 一种改进型新能源充电桩装置 |
| CN108242735A (zh) * | 2017-12-07 | 2018-07-03 | 广州市科卡通信科技有限公司 | 一种新型新能源充电桩装置 |
| WO2019073854A1 (ja) * | 2017-10-10 | 2019-04-18 | 株式会社 村上開明堂 | 車両インレット用ポートロックアクチュエータ装置 |
-
2011
- 2011-03-29 JP JP2011073125A patent/JP2012209098A/ja not_active Withdrawn
Cited By (17)
| Publication number | Priority date | Publication date | Assignee | Title |
|---|---|---|---|---|
| JP2014120234A (ja) * | 2012-12-13 | 2014-06-30 | Tokai Rika Co Ltd | 充電ケーブルロック装置 |
| US9533586B2 (en) | 2012-12-13 | 2017-01-03 | Kabushiki Kaisha Tokai Rika Denki Seisakusho | Charge plug locking device |
| CN104067458B (zh) * | 2012-12-19 | 2017-03-22 | 株式会社村上开明堂 | 驱动器 |
| JP2014120421A (ja) * | 2012-12-19 | 2014-06-30 | Murakami Corp | アクチュエータ |
| WO2014097946A1 (ja) * | 2012-12-19 | 2014-06-26 | 株式会社村上開明堂 | アクチュエータ |
| US9457675B2 (en) | 2012-12-19 | 2016-10-04 | Murakami Corporation | Actuator |
| JP2014128042A (ja) * | 2012-12-25 | 2014-07-07 | Fuji Heavy Ind Ltd | 車両 |
| US9293932B2 (en) | 2012-12-25 | 2016-03-22 | Fuji Jukogyo Kabushiki Kaisha | Vehicle including a charging port and a light emitter |
| DE102013017842A1 (de) * | 2013-10-28 | 2015-04-30 | Kiekert Aktiengesellschaft | Elektrische Steckverbindung für insbesondere Elektrofahrzeuge |
| WO2019073854A1 (ja) * | 2017-10-10 | 2019-04-18 | 株式会社 村上開明堂 | 車両インレット用ポートロックアクチュエータ装置 |
| CN111213289A (zh) * | 2017-10-10 | 2020-05-29 | 株式会社村上开明堂 | 车辆插座用的端口锁定致动器装置 |
| JPWO2019073854A1 (ja) * | 2017-10-10 | 2020-11-05 | 株式会社村上開明堂 | 車両インレット用ポートロックアクチュエータ装置 |
| CN111213289B (zh) * | 2017-10-10 | 2021-04-27 | 株式会社村上开明堂 | 车辆插座用的端口锁定致动器装置 |
| JP7083354B2 (ja) | 2017-10-10 | 2022-06-10 | 株式会社村上開明堂 | 車両インレット用ポートロックアクチュエータ装置 |
| US11383606B2 (en) | 2017-10-10 | 2022-07-12 | Murakami Corporation | Port locking actuator device for vehicle inlet |
| CN108206371A (zh) * | 2017-12-07 | 2018-06-26 | 广州市科卡通信科技有限公司 | 一种改进型新能源充电桩装置 |
| CN108242735A (zh) * | 2017-12-07 | 2018-07-03 | 广州市科卡通信科技有限公司 | 一种新型新能源充电桩装置 |
Similar Documents
| Publication | Publication Date | Title |
|---|---|---|
| JP5650572B2 (ja) | 給電プラグロック装置 | |
| JP5629616B2 (ja) | 給電プラグロック装置 | |
| JP2012209098A (ja) | 給電プラグロック装置 | |
| US9088104B2 (en) | Lock device | |
| US8517755B2 (en) | Power plug locking device | |
| JP5635437B2 (ja) | 給電プラグロック装置 | |
| US8523596B2 (en) | Power plug locking device | |
| JP5922565B2 (ja) | ロック装置 | |
| JP5902602B2 (ja) | ロック装置 | |
| JP5999006B2 (ja) | 充電プラグのロック装置 | |
| US8608212B2 (en) | Door closer apparatus | |
| CN107075872A (zh) | 凸轮锁 | |
| US7735883B2 (en) | Latch device | |
| US8025320B2 (en) | Latch device | |
| CN111703333A (zh) | 一种锁止机构、锁止机构总成及电动汽车 | |
| CN210379189U (zh) | 一种防盗电池柜 | |
| JP2014118691A (ja) | ロック装置 | |
| JP5635438B2 (ja) | 給電プラグロック装置 | |
| CN212422794U (zh) | 一种锁止机构、锁止机构总成及电动汽车 | |
| CN111275897B (zh) | 锁定解锁机构及租赁设备 | |
| JP2012209100A (ja) | 給電プラグロック装置 | |
| CN119711843B (zh) | 换电柜锁体结构 | |
| JP6685703B2 (ja) | 電動ステアリングロック装置 | |
| JP2012056539A (ja) | 電動ステアリングロック装置 | |
| JP2012199014A (ja) | 給電プラグロック装置 |
Legal Events
| Date | Code | Title | Description |
|---|---|---|---|
| A300 | Application deemed to be withdrawn because no request for examination was validly filed |
Free format text: JAPANESE INTERMEDIATE CODE: A300 Effective date: 20140603 |