JP2012201227A - ダンプトラックの荷台加熱機構 - Google Patents
ダンプトラックの荷台加熱機構 Download PDFInfo
- Publication number
- JP2012201227A JP2012201227A JP2011067851A JP2011067851A JP2012201227A JP 2012201227 A JP2012201227 A JP 2012201227A JP 2011067851 A JP2011067851 A JP 2011067851A JP 2011067851 A JP2011067851 A JP 2011067851A JP 2012201227 A JP2012201227 A JP 2012201227A
- Authority
- JP
- Japan
- Prior art keywords
- loading platform
- dump truck
- duct
- passage
- warm air
- Prior art date
- Legal status (The legal status is an assumption and is not a legal conclusion. Google has not performed a legal analysis and makes no representation as to the accuracy of the status listed.)
- Pending
Links
- 238000010438 heat treatment Methods 0.000 title claims abstract description 94
- 238000001816 cooling Methods 0.000 claims abstract description 33
- 239000011810 insulating material Substances 0.000 claims description 12
- 238000003780 insertion Methods 0.000 description 10
- 230000037431 insertion Effects 0.000 description 10
- 239000004576 sand Substances 0.000 description 6
- 239000004575 stone Substances 0.000 description 5
- 238000010248 power generation Methods 0.000 description 4
- 230000032258 transport Effects 0.000 description 4
- 238000010586 diagram Methods 0.000 description 3
- 238000007599 discharging Methods 0.000 description 3
- 238000007689 inspection Methods 0.000 description 3
- 238000012805 post-processing Methods 0.000 description 3
- 206010037660 Pyrexia Diseases 0.000 description 2
- 230000007423 decrease Effects 0.000 description 2
- 239000010720 hydraulic oil Substances 0.000 description 2
- 238000012423 maintenance Methods 0.000 description 2
- 238000000034 method Methods 0.000 description 2
- 239000003921 oil Substances 0.000 description 2
- 230000000630 rising effect Effects 0.000 description 2
- 239000004071 soot Substances 0.000 description 2
- 238000007664 blowing Methods 0.000 description 1
- 238000010276 construction Methods 0.000 description 1
- 230000007797 corrosion Effects 0.000 description 1
- 238000005260 corrosion Methods 0.000 description 1
- 230000006866 deterioration Effects 0.000 description 1
- 230000000694 effects Effects 0.000 description 1
- 238000007710 freezing Methods 0.000 description 1
- 230000008014 freezing Effects 0.000 description 1
- 230000002265 prevention Effects 0.000 description 1
- 230000002250 progressing effect Effects 0.000 description 1
- 230000001172 regenerating effect Effects 0.000 description 1
- 238000007789 sealing Methods 0.000 description 1
- 238000000926 separation method Methods 0.000 description 1
- 239000000126 substance Substances 0.000 description 1
Images
Landscapes
- Cooling, Air Intake And Gas Exhaust, And Fuel Tank Arrangements In Propulsion Units (AREA)
Abstract
【課題】荷台の状態に及ぼす影響を抑えつつ荷台を十分に加熱すると共に、配設された機器等に対する熱の影響を軽減することができるダンプトラックの荷台加熱機構の提供。
【解決手段】起伏可能に設けられた荷台1と、リターダブレーキ操作によって発生する電力を熱エネルギーに変換する抵抗器14と、この抵抗器14を冷却する冷却ファン13と、この冷却ファン13から送風されて抵抗器14によって暖められた暖気31を案内するダクト15とを有するダンプトラック1Aに備えられ、荷台1を加熱する荷台加熱手段を有するダンプトラック1Aの荷台加熱機構において、荷台加熱手段は、荷台1に設けられ、ダクト15に接続されてダクト15に案内された暖気31を内部に流通させる通路6を含む。
【選択図】図3
【解決手段】起伏可能に設けられた荷台1と、リターダブレーキ操作によって発生する電力を熱エネルギーに変換する抵抗器14と、この抵抗器14を冷却する冷却ファン13と、この冷却ファン13から送風されて抵抗器14によって暖められた暖気31を案内するダクト15とを有するダンプトラック1Aに備えられ、荷台1を加熱する荷台加熱手段を有するダンプトラック1Aの荷台加熱機構において、荷台加熱手段は、荷台1に設けられ、ダクト15に接続されてダクト15に案内された暖気31を内部に流通させる通路6を含む。
【選択図】図3
Description
本発明は、起伏可能に設けられた荷台を有し、土砂等を運搬するダンプトラックの荷台加熱機構に関する。
一般的に、建設機械用のダンプトラックは、図1に示すようにフレーム2と、このフレーム2の前部の左右両端にそれぞれ回転可能に設けられた一対の前輪21と、フレーム2の後部の左右両端にそれぞれ回転可能に設けられた一対の後輪22と、フレーム2上に起伏可能に設けられ、土砂や砕石等の積荷を積載する荷台1とを備えている。
具体的には、ダンプトラックは、フレーム2の後部に設けられたヒンジピン4と、フレーム2のうちヒンジピン4よりも前方に配置され、フレーム2と荷台1とを連結するホイストシリンダ3とを備え、ホイストシリンダ3が伸長することにより、荷台1を押し上げて起立させると共に、ホイストシリンダ3が収縮することにより、荷台1を支持しながら倒伏させるようになっている。
従って、ダンプトラックは、倒伏状態において荷台1に積載された土砂や砕石等の積荷を運搬した後、荷台1を倒伏状態から起立状態へ移行させることにより、荷台1を傾斜させて積荷を降ろしている。なお、荷台1の下部には、図2に示すように荷台1が起立した状態から倒伏する際にフレーム2から受ける衝撃を和らげる緩衝部材5、例えばゴムパッドが設けられている。
ここで、ダンプトラックの荷台1に積載された土砂や砕石等の積荷は水分を含んでいることが多く、特に寒冷地や冬場においてダンプトラックで運搬作業を行う場合には、積荷に含まれる水分が凍結することにより、積荷の一部が荷台1の内壁面に付着して作業効率が低下することが問題となっていた。
そこで、ダンプトラックの荷台1に積荷が付着することを防止するために、荷台1を加熱する荷台加熱手段を有する荷台加熱機構を備えているダンプトラックが提案されている。例えば、この種のダンプトラックの荷台加熱機構の従来技術の1つとして、荷台加熱手段としてエンジンからの排気により荷台1を加熱する車輌用排気システムが知られている(特許文献1参照)。
具体的には、特許文献1に開示された従来技術のダンプトラックの荷台加熱機構は、図7に示すように荷台1の下部に設けられ、エンジン9から排出される排気ガス30を流通させる排気ガス通路26と、この排気ガス通路26とエンジン9とを連結し、エンジン9から排出される排気ガス30を排気ガス通路26へ導く排気ガスダクト8と、排気ガス通路26から排気ガス30を外部へ放出する排気ガス出口27とを備え、排気ガス30を排気ガス通路26に流通させることによって排気ガス30の熱で荷台1を加熱し、水分を含む積荷が氷着することを防止するようになっている。特に、荷台1の内側底部の角部に積荷が付着し易いので、排気ガス通路26は荷台1の下部の縁に沿って配設されている。
ここで、超大型のダンプトラックでは、効率と保守性を向上させるために、ディーゼルエンジン直接駆動方式からディーゼルエンジンを動力源とした交流電動機を用いる電気駆動方式の採用が進んでいる。例えば、制動時に電動機を発電機として動作させ、その電動機の回生起電力を抵抗器により消費する、すなわち熱エネルギーに変換して大気放出することによって制動力を得る、いわゆる発電ブレーキ(リターダブレーキ)が用いられた電気駆動式のダンプトラックが知られている(特許文献2参照)。
この電気駆動式のダンプトラックは、発電ブレーキ用の抵抗器を備えており、通電による抵抗器の発熱を冷却する必要があるので、発電ブレーキ用の抵抗器は冷却ファンを備えた大型の抵抗器ボックス内に収納され、フレーム2上に設置されることが多くなっている。また、抵抗器ボックスには、内部の空気を外部へ案内して送出するダクトが設けられており、冷却ファンによって送風されて抵抗器によって暖められた暖気がダクトから放出されるようになっている。ここで、上述した荷台加熱手段としてダクトから外部へ放出された暖気を直接当てることによって荷台を加熱する電気駆動式ダンプトラックのボディ加熱装置、すなわちダンプトラックの荷台加熱機構も提案されている(例えば、特許文献3参照)。
具体的には、この特許文献3に開示されたダンプトラックの荷台加熱機構は、電動機を発電ブレーキとして作動させて制動力を得る時の電力を熱に変換するブレーキレジスタ、すなわち抵抗器を、車体の前部に設けると共に、抵抗器の冷却風出口にダクトを設け、ダクトの出口をボディ、すなわち荷台の前部に対向させ、ダクトから放出された暖気によって荷台を加熱するようにしている。
上述した特許文献1に開示された従来技術の車輌用排気システムでは、上述したように荷台加熱手段としてエンジン9からの排気ガス30を荷台1の下部に設けられた排気ガス通路26に流通させ、排気ガス30の熱を利用することによって荷台1に積荷が付着することを防止するようにしているので、排気ガス30が十分に浄化されなければ、排気ガス30によって荷台1の下部が腐食し、荷台1の耐久性が低下する。また、荷台1の下部には積荷を積載することによって大きな負荷がかかるので、荷台1の耐久性が低下することによって荷台1が破損し易くなることが懸念されている。さらに、排気ガス30中に含まれる煤が荷台1の排気ガス通路26内および排気ガス出口27付近に付着することにより、荷台1の損傷検査の際に荷台1の損傷を把握することが困難になる。また破損した荷台1の修理の際には煤の除去が必要になる。このように、排気ガス30を荷台1の排気ガス通路26に流通させて荷台1を加熱した場合には、特に荷台1の耐久性に及ぼす影響が大きいので、修理等のメンテナンス作業に時間がかかることが問題となっている。
また、上述した特許文献3に開示された従来技術のダンプトラックの荷台加熱機構は、抵抗器を車体の前部に設けると共に、抵抗器の冷却風出口にダクトを設け、ダクトの出口を荷台の前部に対向させてダクトの出口から放出された暖気を荷台の外表面に吹き付けることにより、吹き付けられた暖気によって荷台の前部を直接暖めることができるが、荷台の前部以外の部分、例えば荷台の下部、側部、及び後部を直接暖めることができない虞がある。従って、上述のダンプトラックの荷台加熱機構は、荷台を加熱する範囲が狭くなり易いので、荷台の加熱が不十分になり、積荷が荷台に付着したまま残留することが懸念されている。
特に、荷台の内側底部と側部とによって形成される角部には、積荷が付着し易くなっているので、図7に示すように荷台1の下部の縁を加熱することが積荷の付着の防止に効果的であるが、荷台1の下部の縁を加熱するためには荷台1の前部に吹きつけられた暖気が荷台1の下部に潜り込む必要がある。ここで、一般的に暖気は上昇する性質を有するので、上述した従来技術のダンプトラックの荷台加熱機構のようにダクトの出口から放出された暖気を荷台の前部に吹き付けただけでは、暖気を荷台の下部に行き届かせることが難しく、荷台の加熱効率が悪くなっている。さらに、吹きつけられた暖気が荷台とフレームに囲まれた空間、すなわち荷台の前方に形成される空間で滞留するので、滞留した暖気の熱によって当該空間の周辺に配設された機器等の寿命が低下することが懸念されている。
本発明は、このような従来技術の実情からなされたもので、その目的は、荷台の状態に及ぼす影響を抑えつつ荷台を十分に加熱すると共に、配設された機器等に対する熱の影響を軽減することができるダンプトラックの荷台加熱機構を提供することにある。
上記の目的を達成するために、本発明のダンプトラックの荷台加熱機構は、起伏可能に設けられた荷台と、リターダブレーキ操作によって発生する電力を熱エネルギーに変換する抵抗器と、この抵抗器を冷却する冷却ファンと、この冷却ファンから送風されて前記抵抗器によって暖められた暖気を案内するダクトとを有するダンプトラックに備えられ、前記荷台を加熱する荷台加熱手段を有するダンプトラックの荷台加熱機構において、前記荷台加熱手段は、前記荷台に設けられ、前記ダクトに接続されて前記ダクトに案内された暖気を内部に流通させる通路を含むことを特徴としている。
このように構成した本発明は、抵抗器がリターダブレーキ操作によって発生した電力を熱エネルギーに変換することにより、発熱した抵抗器を冷却ファンから送風される空気によって冷却する。そして、抵抗器によって変換された熱エネルギーを受けて暖められた暖気はダクトに案内され、荷台加熱手段として荷台に設けられた通路内を流通することにより、通路を流通するクリーンな暖気の熱を利用して荷台を暖めることができる。これにより、例えば寒冷地や冬場においてダンプトラックで運搬作業が行われても、水分を含む積荷が凍結して荷台に付着することを抑制することができる。従って、冷却ファンから送風されて抵抗器によって暖められたクリーンな暖気の熱を利用しているので、荷台が腐食して劣化することを防止することができる。また、荷台加熱手段としてクリーンな暖気の熱を通路に流通させて荷台を加熱することにより、荷台を清潔な状態に保つことができるので、荷台の損傷検査の際に荷台の損傷を容易に把握することができる。
さらに、本発明は、荷台のうち通路が設けられた部分を暖気によって加熱することができるので、例えば荷台の下部、側部、及び後部等の各部分に通路を設けたり、あるいは荷台に設けられる通路の長さや経路を調整することにより、荷台の加熱範囲における自由度を高めることができる。特に、荷台に積荷が付着し易い部分の近傍に通路を設けることにより、荷台を効果的に加熱することができるので、荷台に付着した積荷の残留量を低減することができる。また、冷却ファンから送風されて抵抗器によって暖められた暖気をダクトを介してそのまま通路へ案内するようにしているので、暖気が荷台とフレームに囲まれた空間、すなわち荷台の前方に形成される空間に滞留することもなく、配設された機器等に対する熱の影響を軽減することができる。このように、荷台の状態に及ぼす影響を抑えつつ荷台を十分に加熱すると共に、配設された機器等に対する熱の影響を軽減することができる。
また、本発明に係るダンプトラックの荷台加熱機構は、前記発明において、前記通路は、内部を流通する暖気を外部へ放出する出口を有し、この出口は、前記荷台の倒伏状態において前記通路と前記ダクトとが接続された部分よりも高い位置に配置されたことを特徴としている。このように構成すると、暖気は一般的に上昇する性質を有するので、暖気がダクトによって案内されて通路に流入すると、流入した暖気は高い位置に位置する出口に向かって通路内を流通し、そのまま通路の出口から外部へ放出される。これにより、暖気が通路内に滞留することを抑えて暖気の流動性を高めることができるので、冷却ファンから送風されて抵抗器によって暖められた新しい暖気を通路内に順次取り入れることができ、荷台を効率的に加熱することができる。
また、本発明に係るダンプトラックの荷台加熱機構は、前記発明において、前記荷台が倒伏するときに前記通路のうち前記抵抗器に近い側を前記ダクトに接続すると共に、前記荷台が起立するときに前記通路が前記ダクトから分離する分離手段を含むことを特徴としている。
このように構成した本発明は、荷台に積荷を積載して運搬する場合には荷台を倒伏させることにより、分離手段によって通路のうち抵抗器に近い側とダクトが接続されるので、ファンから送風されて抵抗器で暖められた暖気を通路へ流入させることができる。一方、荷台に積載された積荷を排出する場合には荷台を起立させることにより、分離手段によって通路がダクトから分離されるので、ダクトを破損あるいは変形させることなく荷台を傾斜させて積荷を排出することができる。このように、分離手段によって荷台が倒伏状態のときだけ通路をダクトに接続し、荷台が起立状態のときに通路をダクトから分離することにより、ダクトに案内される暖気を通路のうち抵抗器に近い側へ流入させることができるので、ダクトの長さを短くすることができる。これにより、ダクトを軽量化することができると共に、ダクトによって荷台の通路へ案内されるまでに暖気が失う熱エネルギーの損失を抑えることができる。
また、本発明に係るダンプトラックの荷台加熱機構は、前記発明において、前記荷台加熱手段は、前記ダクトの周りを覆う断熱材を含むことを特徴としている。このように構成すると、断熱材によってダクトの周りを覆うことにより、ダクトに案内される暖気の熱を断熱材の内側に保つことができるので、冷却ファンから送風されて暖められた暖気の熱を荷台へ有効に伝えることができる。一方、断熱材は熱を外側へ逃がさないように働くので、ダクトによって案内される暖気からフレーム等の部材へ熱が伝導することを抑制することができる。
また、本発明に係るダンプトラックの荷台加熱機構は、前記発明において、前記ダンプトラックは、動力を発生させるエンジンを有し、前記荷台加熱手段は、前記エンジンから排出された排気ガスと前記ダクトに案内される暖気との熱交換を行う熱交換手段を含むことを特徴としている。このように構成すると、エンジンから排出される排気ガスは、ダクトに案内される暖気よりも比較的温度が高くなるので、熱交換手段がエンジンから排出された排気ガスとダクトに案内される暖気との熱交換を行うことにより、ダクトによって荷台の通路へ案内されるまでに暖気が失う熱エネルギーの損失を補うことができる。特に、リターダブレーキ操作を使用していないときに冷却ファンから送風された空気が抵抗器から得られる熱エネルギーは、リターダブレーキ操作を使用したときに冷却ファンから送風された空気が抵抗器から得られる熱エネルギーよりも小さくなるので、リターダブレーキ操作を使用していないときでも熱交換手段によって暖気の熱エネルギーを高めることができる。さらに、熱交換手段によってエンジンから排出される排気ガスの熱をそのまま外部に捨てることなく有効に活用することができるので、周囲の環境に与える負荷を軽減すると共に、エネルギーの無駄を省くことができる。
また、本発明に係るダンプトラックの荷台加熱機構は、前記発明において、前記荷台加熱手段は、前記通路の内部を流通する暖気の量を調整する流量制御弁を含むことを特徴としている。このように構成すると、流量制御弁が通路の内部を流通する暖気の量を調整することによって通路内を流通する暖気が荷台に与える熱の分布の偏りを減少させることができるので、荷台のうち通路が設けられた部分を効率良く加熱することができる。
本発明のダンプトラックの荷台加熱機構は、起伏可能に設けられた荷台と、リターダブレーキ操作によって発生する電力を熱エネルギーに変換する抵抗器と、この抵抗器を冷却する冷却ファンと、この冷却ファンから送風されて抵抗器によって暖められた暖気を案内するダクトとを有するダンプトラックに備えられ、荷台を加熱する荷台加熱手段を有している。そして、この荷台加熱手段は、荷台に設けられ、ダクトに接続されてダクトに案内された暖気を内部に流通させる通路を含むことにより、排気ガスに比べてクリーンな暖気の熱を利用して荷台を暖めることができるので、荷台が腐食して劣化することを低減することができると共に、荷台を清潔な状態に保つことができる。従って、荷台の損傷検査の際に荷台の損傷を容易に把握することができる。
また、荷台の前側部分だけでなく他の各部分にも通路を設けたり、あるいは荷台に設けられる通路の長さや経路を調整することにより、荷台の加熱範囲における自由度を高めることができる。特に、荷台に積荷が付着し易い部分の近傍に通路を設けることにより、荷台を効果的に加熱することができるので、荷台に付着した積荷の残留量を低減することができる。さらに、ダクトが暖気を荷台の通路へ案内することによって暖気が荷台とフレームに囲まれた空間、すなわち荷台の前方に形成される空間に滞留することを防止でき、配設された機器等に対する熱の影響を低減することができる。このように、荷台の状態に及ぼす影響を抑えつつ荷台を十分に加熱すると共に、配設された機器等に対する熱の影響を低減することができるので、従来よりもメンテナンス作業の効率、荷台の加熱効率、及び配設された機器等の寿命を向上させることができる。
以下、本発明に係るダンプトラックの荷台加熱機構を実施するための形態を図に基づいて説明する。
[第1実施形態]
本発明に係るダンプトラックの荷台加熱機構の第1実施形態の基本構成は、前述した図7に示すダンプトラックの荷台加熱機構の構成と同じである。従って、図7に示すダンプトラックの荷台加熱機構と重複する部分には同一符号を付す。
本発明に係るダンプトラックの荷台加熱機構の第1実施形態の基本構成は、前述した図7に示すダンプトラックの荷台加熱機構の構成と同じである。従って、図7に示すダンプトラックの荷台加熱機構と重複する部分には同一符号を付す。
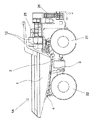
本発明に係る荷台加熱機構の第1実施形態は、ダンプトラック、例えば図1に示すようにリターダブレーキ操作によって発生する電力を熱エネルギーに変換する後述の抵抗器を有する電気駆動式のダンプトラック1Aに設けられる。このダンプトラック1Aは、フレーム2と、このフレーム2の前部の左右両端に回転可能にそれぞれ一輪ずつ設けられた前輪21と、フレーム2の後部の左右両端に回転可能にそれぞれ二輪ずつ設けられた後輪22とを備えている。従って、ダンプトラック1Aは、前後の車輪合わせて6輪駆動となっている。また、ダンプトラック1Aは、フレーム2上に起伏可能に設けられ、土砂や砕石等の積荷を積載する荷台1を備えている。
具体的には、ダンプトラック1Aは、フレーム2の後部に設けられたヒンジピン4と、フレーム2のうちヒンジピン4よりも前方、すなわち前輪21と後輪22との間に配置され、フレーム2と荷台1とを連結するホイストシリンダ3とを備え、図2に示すようにホイストシリンダ3が伸長することにより、荷台1を押し上げて起立させると共に、図1に示すようにホイストシリンダ3が収縮することにより、荷台1を支持しながら倒伏させるようになっている。
従って、ダンプトラック1Aは、倒伏状態において荷台1に積載された土砂や砕石等の積荷を運搬した後、荷台1を図1に示す倒伏状態から図2に示す起立状態へ移行させることにより、荷台1を傾斜させて積荷を降ろしている。なお、図2に示すように荷台1の下部には、荷台1が倒伏する際にフレーム2から受ける衝撃を和らげる緩衝部材、例えばパッド5が設けられている。また、ダンプトラック1Aは、ホイストシリンダ3へ圧油を供給する図示しない油圧ポンプと、この油圧ポンプに供給する作動油を貯蔵する図示しない作動油タンクとを備えており、油圧ポンプから供給される圧油によってホイストシリンダ3が伸縮するようになっている。
さらに、ダンプトラック1Aは、図1に示すように荷台1の前方に配置され、フレーム2のうち前輪21側に設けられたキャブ25を備えており、前輪21の大きさはキャブ25の大きさよりも大きくなっている。従って、作業者が前輪21の上方に位置するキャブ25の入口まで上れるように作業者が踏台とするステップ、例えば梯子26がキャブ25の前側にかけられている。
また、ダンプトラック1Aは、図3に示すようにフレーム2上に搭載され、荷台1の前方に配置されたエンジン9と、このエンジン9に排気ガスダクト8を介して接続され、荷台1の前方に配置されてエンジン9の駆動音や振動音等を消音するマフラ10と、このマフラ10に排気ガスダクト8を介して接続され、エンジン9から排出される排気ガス30を外部へ放出する排気ガス出口11とを備えており、マフラ10は、排気ガス30を処理する図示しない後処理装置と一体型になっている。そして、エンジン9から排出された排気ガス30は排気ガスダクト8を通ってマフラ10に送出され、マフラ10内の後処理装置によって排気ガス30中に含まれる有害な物質を除去した後に、処理した排気ガス30を排気ガスダクト8に流通させて排気ガス出口11から外部へ放出している。
ここで、ダンプトラック1Aは、電気駆動方式を採用していることから、リターダブレーキ操作によって発生する電力を熱エネルギーに変換する抵抗器14と、この抵抗器14を冷却する冷却ファン13と、この冷却ファン13から送風されて抵抗器14によって暖められた暖気31を案内するダクト15とを有しており、これらの抵抗器14及び冷却ファン13は、図1に示すように大型の抵抗器ボックス12内に収納された状態でフレーム2上に設置され、キャブ25の右側方に配置されている。従って、図3に示すように冷却ファン13が抵抗器ボックス12内の空気を抵抗器14へ送風し、リターダブレーキ操作によって発生する電力を熱エネルギーに変換することによって発熱した抵抗器14を冷却するようになっている。そして、抵抗器14によって暖められた空気は暖気31となってダクト15に流入するようになっている。
本発明に係るダンプトラックの荷台加熱機構の第1実施形態は、荷台1を加熱する荷台加熱手段を有し、この荷台加熱手段は、荷台1に設けられ、ダクト15に接続されてダクト15に案内された暖気31を内部に流通させる通路6を含んでいる。具体的には、この通路6は、例えば荷台1の下部の縁に沿って設けられており、ダクト15はフレーム2上に抵抗器14から荷台1の後部側まで延設され、通路6のうち荷台1の後部の中央部分に接続されている。
すなわち、通路6は、ダクト15によって案内されて通路6のうち荷台1の後部側の中央部分から通路6へ流入した暖気31が右方向、前方向、左方向、後方向の順に流通するように配設されている。また、通路6は、内部を流通する暖気31を外部へ放出する出口7を有しており、この出口7は、例えば通路6のうち荷台1の後部側に位置する先端に設けられている。さらに、本発明の第1実施形態は、荷台加熱手段は、ダクト15の周りを覆う図示しない断熱材を含んでいる。なお、図2に示すように荷台1の下部に設けられたパッド5は、通路6から所定の距離だけ離れた位置、例えば中央部分に配置されている。
このように構成した本発明の第1実施形態によれば、抵抗器ボックス12に収納された冷却ファン13から抵抗器14へ送風され、リターダブレーキ操作によって発熱した抵抗器14に暖められた暖気31がダクト15に流入すると、流入した暖気31は、フレーム2上に沿って配設されたダクト15に案内され、荷台加熱手段として荷台1の下部の縁に設けられた通路6のうち後部側に位置するダクト15との接続部分から通路6内へ流入する。そして、暖気31が通路6内を右方向、前方向、左方向、後方向の順に流通することにより、通路6を流通するクリーンな暖気31の熱を利用して荷台1を暖めることができる。これにより、例えば寒冷地や冬場においてダンプトラック1Aで運搬作業が行われても、水分を含む積荷が凍結して荷台1に付着することを抑制することができる。
従って、抵抗器ボックス12内の冷却ファン13から送風されて抵抗器14によって暖められたクリーンな暖気31の熱を利用しているので、荷台1が腐食して劣化することを防止することができる。また、荷台加熱手段としてクリーンな暖気31の熱を通路6に流通させて荷台1を加熱することにより、荷台1を清潔な状態に保つことができるので、荷台1の損傷検査の際に荷台1の損傷を容易に把握することができる。
さらに、本発明の第1実施形態は、通路6を荷台1の下部の縁に設け、ダクト15から案内された暖気31を通路6に流通させることにより、荷台1の下部、側部、及び後部等の各部分に暖気31の熱が伝わるので、広範囲に渡って荷台1を加熱することができ、荷台1の加熱範囲における高い自由度を確保することができる。特に、荷台1の内側底部の角部には積荷が付着し易いので、通路6を荷台1の下部の縁に設けることによって暖気31の熱が荷台1の内側底部の角部によく伝わり、荷台1を効果的に加熱することができる。これにより、荷台1に付着した積荷の残留量を低減することができる。
また、冷却ファン13から送風されて抵抗器14によって暖められた暖気31をダクト15を介してそのまま通路6へ案内するようにしているので、暖気31が荷台1とフレーム2に囲まれた空間、すなわち荷台1の前方に形成される空間に滞留することもなく、配設された機器等に対する熱の影響を軽減することができる。このように、荷台1の状態に及ぼす影響を抑えつつ荷台1を十分に加熱すると共に、配設された機器等に対する熱の影響を軽減することができる。これにより、メンテナンス作業の効率、荷台1の加熱効率、及び配設された機器等の寿命を向上させることができる。
また、本発明の第1実施形態は、断熱材によってダクト15の周りを覆うことにより、ダクト15に案内される暖気31の熱を断熱材の内側に保つことができるので、冷却ファン13から送風されて暖められた暖気31の熱を荷台1へ有効に伝えることができる。一方、断熱材は熱を外側へ逃がさないように働くので、ダクト15によって案内される暖気31からフレーム2等の部材やホイストシリンダ3等の配設された機器へ熱が伝導することを抑制することができる。
[第2実施形態]
図4は本発明に係るダンプトラックの荷台加熱機構の第2実施形態の構成を示す図である。
図4は本発明に係るダンプトラックの荷台加熱機構の第2実施形態の構成を示す図である。
本発明の第2実施形態が前述した第1実施形態と異なるのは、第1実施形態は、図3に示すようにエンジン9から排出された排気ガス30をマフラ10内の後処理装置によって処理した後に排気ガス出口11からそのまま外部へ放出したのに対して、第2実施形態は、荷台加熱手段は、エンジン9から排出された排気ガス30とダクト15に案内される暖気31との熱交換を行う熱交換手段を含み、この熱交換手段によって排気ガス30と暖気31との熱交換を行ってから排気ガス30を外部へ放出したことである。
具体的には、熱交換手段は、図4に示すように例えばマフラ10に処理された排気ガス30が荷台1の後方へ放出されるように、マフラ10と排気ガス出口11とを接続する排気ガスダクト8をマフラ10から荷台1の後部までフレーム2上に延設し、フレーム2上において当該排気ガスダクト8をダクト15に隣接して配置している。また、本発明の第2実施形態は、第1実施形態と異なり、断熱材がダクト15だけでなくダクト15と排気ガスダクト8を内側に包むように覆っている。その他の構成は第1実施形態と同じである。
このように構成した本発明の第2実施形態によれば、エンジン9から排出される排気ガス30は、ダクト15に案内される暖気31よりも比較的温度が高くなるので、マフラ10と排気ガス出口11とを接続する排気ガスダクト8をダクト15に隣接して配置することにより、排気ガスダクト8に案内される排気ガス30の熱がダクト15に案内される暖気31に移るので、暖気31が荷台1の通路6へ案内されるまでに失う熱エネルギーの損失を補うことができる。特に、リターダブレーキ操作を使用していないときに冷却ファン13から送風された空気が抵抗器14から得られる熱エネルギーは、リターダブレーキ操作を使用したときに冷却ファン13から送風された空気が抵抗器14から得られる熱エネルギーよりも小さくなるので、リターダブレーキ操作を使用していないときでも暖気31の熱エネルギーを高めることができる。
さらに、排気ガス30をダクト15に隣接した排気ガスダクト8に流通させてから荷台1の後方へ放出することにより、エンジン9から排出される排気ガス30の熱をそのまま外部に捨てることなく有効に活用することができるので、周囲の環境に与える負荷を軽減すると共に、エネルギーの無駄を省くことができる。また、断熱材が排気ガスダクト8とダクト15を一緒に覆うことにより、排気ガス30と暖気31が断熱材の内側で保温されるので、排気ガス30と暖気31との熱交換を促進することができ、暖気31による荷台1の加熱効果をより高めることができる。
[第3実施形態]
図5は本発明に係るダンプトラックの荷台加熱機構の第3実施形態の構成を示す図である。
図5は本発明に係るダンプトラックの荷台加熱機構の第3実施形態の構成を示す図である。
本発明の第3実施形態が前述した第1実施形態と異なるのは、第1実施形態は、通路6内を流通する暖気31を外部へ放出する出口7が荷台1の下部の縁に設けられた通路6の先端、すなわちヒンジピン4の近傍に配置されたことに対して、第3実施形態は、出口7が、荷台1の倒伏状態において通路6とダクト15とが接続された部分、すなわち荷台1の下部に設けられた通路6のうち荷台1の後部側の中央部分よりも高い位置に配置されたことである。
具体的には、本発明の第3実施形態では、図5に示すように通路6は、荷台1の下部の縁だけでなく荷台1の前部と側部によって形成される角部、及び荷台1の後部と側部によって形成される角部にもそれぞれ設けられており、これらの角部に設けられた各通路6は荷台1の下部から荷台1の倒伏状態において上方へ向けて配設されている。さらに、通路6は、荷台1の前部、側部、及び後部の各中央部分にもそれぞれ設けられており、これらの中央部分に設けられた各通路6は荷台1の倒伏状態において上方へ向けて配設されている。そして、荷台1の前部、側部、及び後部に設けられた通路6のうち少なくとも1つの先端に出口7が設けられている。また、本発明の第3実施形態は、荷台加熱手段は、通路6の内部を流通する暖気31の量を調整する図示しない流量制御弁を含んでおり、この流量制御弁は、例えば通路6の各分岐点に配置され、暖気31が各通路6へ均等に流れるようになっている。なお、ダクト15は、第1実施形態と同様に抵抗器14から荷台1の後部側までフレーム2上に延設され、荷台1の下部に設けられた通路6のうち荷台1の後部側の中央部分に接続されている。その他の構成は第1実施形態と同じである。
このように構成した本発明の第3実施形態によれば、暖気31は一般的に上昇する性質を有しているので、暖気31がダクト15によって案内されて通路6のうち荷台1の後部側の中央部分から内部へ流入すると、流入した暖気31は高い位置に位置する出口7に向かって通路6内を流通し、そのまま通路6の出口7から外部へ放出される。これにより、暖気31が通路6内に滞留することを抑えて暖気31の流動性を高めることができるので、冷却ファン13から送風されて抵抗器14によって暖められた新しい暖気31を通路6内に順次取り入れることができ、荷台1を効率的に加熱することができる。
また、本発明の第3実施形態は、通路6の各分岐点に配置された流量制御弁が通路6の内部を流通する暖気31の量を調整し、暖気31を各通路6へ均等に流すことによって通路6内を流通する暖気31が荷台1に与える熱の分布の偏りを減少させることができるので、荷台1のうち通路6が設けられた部分を効率良く加熱することができる。
[第4実施形態]
図6は本発明に係るダンプトラックの荷台加熱機構の第4実施形態の構成を示す図である。
図6は本発明に係るダンプトラックの荷台加熱機構の第4実施形態の構成を示す図である。
本発明の第4実施形態が前述した第3実施形態と異なるのは、第3実施形態は、ダクト15を抵抗器14から荷台1の後部側までフレーム2上に延設し、荷台1の下部に設けられた通路6のうち後部側の中央部分に接続したのに対して、第4実施形態は、ダクト15を抵抗器14から荷台1の前部側までフレーム2上に延設し、荷台1の下部に設けられた通路6のうち前部側の中央部分に接続したことである。また、本発明の第4実施形態は、荷台加熱手段が、荷台1が倒伏するときに通路6のうち抵抗器14に近い側をダクト15に接続すると共に、荷台1が起立するときに通路6がダクト15から分離する分離手段を含んでいる。
具体的には、この分離手段は、例えば荷台1の下部の通路6のうち前部側の中央部分に設けられ、荷台1が倒伏したときにダクト15の先端に連結するラッパ状の受け皿16と、ダクト15の先端に設けられ、通路6の受け皿16に挿入される挿入口17とを含んでいる。この挿入口17は、例えばシール機能、緩衝機能及び高温耐久性を有しており、荷台1が倒伏したときに通路6の受け皿16がダクト15の挿入口17に挿入され易いように上方に向けて配置されている。また、ダクト15は、走行時に荷台1が受ける振動を許容する振動許容装置18を有しており、この振動許容装置18は、例えばダクト15のうち挿入口17の近傍の一部を蛇腹構造にしている。その他の構成は第3実施形態と同じである。
このように構成した本発明の第4実施形態によれば、荷台1に積荷を積載して運搬する場合には荷台1を倒伏させることにより、荷台1の下部の通路6のうち前部側の中央部分の受け皿16がダクト15の挿入口17と連結するので、ファン13から送風されて抵抗器14で暖められた暖気31を通路6へ流入させることができる。一方、荷台1に積載された積荷を排出する場合には荷台1を起立させることにより、荷台1の下部の通路6のうち前部側の中央部分の受け皿16がダクト15の挿入口17から分離するので、ダクト15を破損あるいは変形させることなく荷台1を傾斜させて積荷を排出することができる。
このように、荷台1が倒伏状態のときだけ通路6をダクト15に接続し、荷台1が起立状態のときに通路6をダクト15から分離することにより、ダクト15を荷台1の後部側まで延設しなくても暖気31をダクト15から通路6へ流入させることができるので、ダクト15の長さを短くすることができる。これにより、ダクト15を軽量化することができると共に、ダクト15によって荷台1の通路6へ案内されるまでに暖気31が失う熱エネルギーの損失を抑えることができ、エネルギー効率を高めることができる。
また、ダクト15のうち挿入口17の近傍の一部が蛇腹構造になっているので、ダンプトラック1Aの走行時の振動によって荷台1がフレーム2に対して変位しても、ダクト15の挿入口17が荷台1に追従することができる。従って、ダクト15の挿入口17と通路6の受け皿16との連結がダンプトラック1Aの走行時に外れることを低減することができる。
1 荷台
2 フレーム
3 ホイストシリンダ
4 ヒンジピン
6 通路
7 出口
8 排気ガスダクト
9 エンジン
11,27 排気ガス出口
12 抵抗器ボックス
13 冷却ファン
14 抵抗器
15 ダクト
16 受け皿
17 挿入口
18 振動許容装置
26 排気ガス通路
30 排気ガス
31 暖気
2 フレーム
3 ホイストシリンダ
4 ヒンジピン
6 通路
7 出口
8 排気ガスダクト
9 エンジン
11,27 排気ガス出口
12 抵抗器ボックス
13 冷却ファン
14 抵抗器
15 ダクト
16 受け皿
17 挿入口
18 振動許容装置
26 排気ガス通路
30 排気ガス
31 暖気
Claims (6)
- 起伏可能に設けられた荷台と、リターダブレーキ操作によって発生する電力を熱エネルギーに変換する抵抗器と、この抵抗器を冷却する冷却ファンと、この冷却ファンから送風されて前記抵抗器によって暖められた暖気を案内するダクトとを有するダンプトラックに備えられ、前記荷台を加熱する荷台加熱手段を有するダンプトラックの荷台加熱機構において、
前記荷台加熱手段は、
前記荷台に設けられ、前記ダクトに接続されて前記ダクトに案内された暖気を内部に流通させる通路を含むことを特徴とするダンプトラックの荷台加熱機構。 - 請求項1に記載のダンプトラックの荷台加熱機構において、
前記通路は、内部を流通する暖気を外部へ放出する出口を有し、
この出口は、前記荷台の倒伏状態において前記通路と前記ダクトとが接続された部分よりも高い位置に配置されたことを特徴とするダンプトラックの荷台加熱機構。 - 請求項1又は2に記載のダンプトラックの荷台加熱機構において、
前記荷台加熱手段は、前記荷台が倒伏するときに前記通路のうち前記抵抗器に近い側を前記ダクトに接続すると共に、前記荷台が起立するときに前記通路が前記ダクトから分離する分離手段を含むことを特徴とするダンプトラックの荷台加熱機構。 - 請求項1ないし3のいずれか1項に記載のダンプトラックの荷台加熱機構において、
前記荷台加熱手段は、前記ダクトの周りを覆う断熱材を含むことを特徴とするダンプトラックの荷台加熱機構。 - 請求項1に記載のダンプトラックの荷台加熱機構において、
前記ダンプトラックは、動力を発生させるエンジンを有し、
前記荷台加熱手段は、前記エンジンから排出された排気ガスと前記ダクトに案内される暖気との熱交換を行う熱交換手段を含むことを特徴とするダンプトラックの荷台加熱機構。 - 請求項1に記載のダンプトラックの荷台加熱機構において、
前記荷台加熱手段は、前記通路の内部を流通する暖気の量を調整する流量制御弁を含むことを特徴とするダンプトラックの荷台加熱機構。
Priority Applications (1)
| Application Number | Priority Date | Filing Date | Title |
|---|---|---|---|
| JP2011067851A JP2012201227A (ja) | 2011-03-25 | 2011-03-25 | ダンプトラックの荷台加熱機構 |
Applications Claiming Priority (1)
| Application Number | Priority Date | Filing Date | Title |
|---|---|---|---|
| JP2011067851A JP2012201227A (ja) | 2011-03-25 | 2011-03-25 | ダンプトラックの荷台加熱機構 |
Publications (1)
| Publication Number | Publication Date |
|---|---|
| JP2012201227A true JP2012201227A (ja) | 2012-10-22 |
Family
ID=47182653
Family Applications (1)
| Application Number | Title | Priority Date | Filing Date |
|---|---|---|---|
| JP2011067851A Pending JP2012201227A (ja) | 2011-03-25 | 2011-03-25 | ダンプトラックの荷台加熱機構 |
Country Status (1)
| Country | Link |
|---|---|
| JP (1) | JP2012201227A (ja) |
Cited By (6)
| Publication number | Priority date | Publication date | Assignee | Title |
|---|---|---|---|---|
| WO2020005480A1 (en) * | 2018-06-26 | 2020-01-02 | Caterpillar Inc. | Truck with heat transfer system |
| WO2021080863A1 (en) * | 2019-10-25 | 2021-04-29 | Caterpillar Inc. | Dump body front wall heating channel |
| US11772628B2 (en) | 2021-03-08 | 2023-10-03 | Cummins Inc. | Method and system for kinetic energy recovery in a hybrid powertrain during engine shutdown |
| WO2023234091A1 (ja) * | 2022-05-31 | 2023-12-07 | 株式会社小松製作所 | ダンプトラック |
| CN118906758A (zh) * | 2024-09-18 | 2024-11-08 | 南京金龙客车制造有限公司 | 纯电动宽体自卸车 |
| US12202394B2 (en) | 2021-10-08 | 2025-01-21 | Volvo Construction Equipment Ab | Material transportation system |
Citations (5)
| Publication number | Priority date | Publication date | Assignee | Title |
|---|---|---|---|---|
| JPS6234827A (ja) * | 1985-08-07 | 1987-02-14 | Nagano Isuzu Jidosha Kk | ダンプ車 |
| JPH01178138U (ja) * | 1988-06-08 | 1989-12-20 | ||
| JPH0422504U (ja) * | 1990-06-13 | 1992-02-25 | ||
| JPH1016631A (ja) * | 1996-06-27 | 1998-01-20 | Koei:Kk | 貨物加熱機能を有するトラック |
| JP3140481U (ja) * | 2008-01-15 | 2008-03-27 | 株式会社新明和製作所 | ダンプカーなどの荷台構造 |
-
2011
- 2011-03-25 JP JP2011067851A patent/JP2012201227A/ja active Pending
Patent Citations (5)
| Publication number | Priority date | Publication date | Assignee | Title |
|---|---|---|---|---|
| JPS6234827A (ja) * | 1985-08-07 | 1987-02-14 | Nagano Isuzu Jidosha Kk | ダンプ車 |
| JPH01178138U (ja) * | 1988-06-08 | 1989-12-20 | ||
| JPH0422504U (ja) * | 1990-06-13 | 1992-02-25 | ||
| JPH1016631A (ja) * | 1996-06-27 | 1998-01-20 | Koei:Kk | 貨物加熱機能を有するトラック |
| JP3140481U (ja) * | 2008-01-15 | 2008-03-27 | 株式会社新明和製作所 | ダンプカーなどの荷台構造 |
Cited By (12)
| Publication number | Priority date | Publication date | Assignee | Title |
|---|---|---|---|---|
| WO2020005480A1 (en) * | 2018-06-26 | 2020-01-02 | Caterpillar Inc. | Truck with heat transfer system |
| US10940737B2 (en) | 2018-06-26 | 2021-03-09 | Caterpillar Inc. | Truck with heat transfer system |
| WO2021080863A1 (en) * | 2019-10-25 | 2021-04-29 | Caterpillar Inc. | Dump body front wall heating channel |
| CN114585531A (zh) * | 2019-10-25 | 2022-06-03 | 卡特彼勒公司 | 倾倒主体前壁加热通道 |
| US11745581B2 (en) | 2019-10-25 | 2023-09-05 | Caterpillar Inc. | Dump body front wall heating channel |
| CN114585531B (zh) * | 2019-10-25 | 2024-09-17 | 卡特彼勒公司 | 倾倒主体前壁加热通道 |
| DE112020004530B4 (de) * | 2019-10-25 | 2025-10-30 | Caterpillar Inc. | Vorderwandheizkanal eines kippaufbaus |
| US11772628B2 (en) | 2021-03-08 | 2023-10-03 | Cummins Inc. | Method and system for kinetic energy recovery in a hybrid powertrain during engine shutdown |
| US12233840B2 (en) | 2021-03-08 | 2025-02-25 | Cummins Inc. | Method and system for kinetic energy recovery in a hybrid powertrain during engine shutdown |
| US12202394B2 (en) | 2021-10-08 | 2025-01-21 | Volvo Construction Equipment Ab | Material transportation system |
| WO2023234091A1 (ja) * | 2022-05-31 | 2023-12-07 | 株式会社小松製作所 | ダンプトラック |
| CN118906758A (zh) * | 2024-09-18 | 2024-11-08 | 南京金龙客车制造有限公司 | 纯电动宽体自卸车 |
Similar Documents
| Publication | Publication Date | Title |
|---|---|---|
| JP2012201227A (ja) | ダンプトラックの荷台加熱機構 | |
| JP5215956B2 (ja) | ダンプトラック | |
| CN104039598B (zh) | 蓄电池式作业机械及蓄电池式叉车 | |
| CN112758062B (zh) | 车辆的组合式冷却和水制动系统及冷却车辆的推进装置和水制动车辆的一对车轮的方法 | |
| CN204845518U (zh) | 移动式作业机械 | |
| JP2014054117A (ja) | 電気駆動式ダンプトラック | |
| CN202528963U (zh) | 一种汽车制动器强制风冷却系统 | |
| JP2008063114A (ja) | ハイブリッド産業車両 | |
| WO2014109005A1 (ja) | バッテリ式作業機械及びバッテリ式フォークリフト | |
| US8960345B2 (en) | Transporter vehicle | |
| JP2005306080A (ja) | 燃料電池システムの車両搭載構造 | |
| JP3204254U (ja) | 移動電源車 | |
| JP3758631B2 (ja) | ハイブリッド電気自動車のモータ冷却構造 | |
| JP2012218605A (ja) | 運搬車両の製造方法 | |
| US10225961B2 (en) | System and method for cooling power electronics | |
| US9527378B2 (en) | Electric vehicle | |
| JP6444710B2 (ja) | 作業車両 | |
| JP2012183900A (ja) | ダンプトラックの荷台加熱機構 | |
| JP6688825B2 (ja) | 車両 | |
| JP5697213B2 (ja) | 運搬車両 | |
| JP2018052307A (ja) | 電気駆動式ダンプトラック | |
| US20220316155A1 (en) | Self-propelled ground milling machine | |
| JP7725359B2 (ja) | 建設機械 | |
| JP4543528B2 (ja) | 移動電源車の排気ダクト冷却装置 | |
| US7565943B2 (en) | Mobile machine with an electric traction motor of a traction drive, an electric pump motor of a hydraulic work system, and fluid cooling |
Legal Events
| Date | Code | Title | Description |
|---|---|---|---|
| A621 | Written request for application examination |
Free format text: JAPANESE INTERMEDIATE CODE: A621 Effective date: 20130221 |
|
| A977 | Report on retrieval |
Free format text: JAPANESE INTERMEDIATE CODE: A971007 Effective date: 20140110 |
|
| A131 | Notification of reasons for refusal |
Free format text: JAPANESE INTERMEDIATE CODE: A131 Effective date: 20140121 |
|
| A02 | Decision of refusal |
Free format text: JAPANESE INTERMEDIATE CODE: A02 Effective date: 20140617 |