JP2012190814A - Led lighting device - Google Patents

Led lighting device Download PDF

Info

Publication number
JP2012190814A
JP2012190814A JP2012143755A JP2012143755A JP2012190814A JP 2012190814 A JP2012190814 A JP 2012190814A JP 2012143755 A JP2012143755 A JP 2012143755A JP 2012143755 A JP2012143755 A JP 2012143755A JP 2012190814 A JP2012190814 A JP 2012190814A
Authority
JP
Japan
Prior art keywords
capacitor
voltage
power supply
full
current
Prior art date
Legal status (The legal status is an assumption and is not a legal conclusion. Google has not performed a legal analysis and makes no representation as to the accuracy of the status listed.)
Granted
Application number
JP2012143755A
Other languages
Japanese (ja)
Other versions
JP5193379B2 (en
Inventor
Hiromitsu Mizukawa
宏光 水川
Yoshifumi Kuroki
芳文 黒木
Current Assignee (The listed assignees may be inaccurate. Google has not performed a legal analysis and makes no representation or warranty as to the accuracy of the list.)
Panasonic Corp
Original Assignee
Panasonic Corp
Priority date (The priority date is an assumption and is not a legal conclusion. Google has not performed a legal analysis and makes no representation as to the accuracy of the date listed.)
Filing date
Publication date
Application filed by Panasonic Corp filed Critical Panasonic Corp
Priority to JP2012143755A priority Critical patent/JP5193379B2/en
Publication of JP2012190814A publication Critical patent/JP2012190814A/en
Application granted granted Critical
Publication of JP5193379B2 publication Critical patent/JP5193379B2/en
Active legal-status Critical Current
Anticipated expiration legal-status Critical

Links

Images

Classifications

    • YGENERAL TAGGING OF NEW TECHNOLOGICAL DEVELOPMENTS; GENERAL TAGGING OF CROSS-SECTIONAL TECHNOLOGIES SPANNING OVER SEVERAL SECTIONS OF THE IPC; TECHNICAL SUBJECTS COVERED BY FORMER USPC CROSS-REFERENCE ART COLLECTIONS [XRACs] AND DIGESTS
    • Y02TECHNOLOGIES OR APPLICATIONS FOR MITIGATION OR ADAPTATION AGAINST CLIMATE CHANGE
    • Y02BCLIMATE CHANGE MITIGATION TECHNOLOGIES RELATED TO BUILDINGS, e.g. HOUSING, HOUSE APPLIANCES OR RELATED END-USER APPLICATIONS
    • Y02B20/00Energy efficient lighting technologies, e.g. halogen lamps or gas discharge lamps
    • Y02B20/40Control techniques providing energy savings, e.g. smart controller or presence detection

Landscapes

  • Led Devices (AREA)
  • Circuit Arrangement For Electric Light Sources In General (AREA)

Abstract

【課題】入力電流の高調波成分を低減しながら、直流平滑電圧で点灯させた場合と同等の光出力が得られるLED点灯装置を提供する。
【解決手段】商用交流電源Vsを全波整流する全波整流器DBと、全波整流器DBの出力端に並列接続される第1のコンデンサC1と、第1のコンデンサC1に入力端を並列接続されるスイッチング電源回路部1と、スイッチング電源回路部1の出力端に接続されるLED発光部2と、LED発光部2に並列接続される第2のコンデンサC2とを備え、第1のコンデンサC1の容量が1μF未満であり、第2のコンデンサC2は、第1のコンデンサの容量の100倍以上であり且つLED発光部2に流れる電流のリプル率が1未満になる容量に設定した。
【選択図】 図1
Provided is an LED lighting device capable of obtaining a light output equivalent to that when lighting with a DC smoothing voltage while reducing a harmonic component of an input current.
A full-wave rectifier DB for full-wave rectification of a commercial AC power supply Vs, a first capacitor C1 connected in parallel to the output terminal of the full-wave rectifier DB, and an input terminal connected in parallel to the first capacitor C1. A switching power supply circuit unit 1, an LED light emitting unit 2 connected to the output terminal of the switching power supply circuit unit 1, and a second capacitor C 2 connected in parallel to the LED light emitting unit 2. The capacitance is less than 1 μF, and the second capacitor C2 is set to a capacitance that is 100 times or more the capacitance of the first capacitor and the ripple rate of the current flowing through the LED light emitting unit 2 is less than 1.
[Selection] Figure 1

Description

本発明は商用交流電源を用いて発光ダイオード(以下「LED」という)を点灯させるLED点灯装置に関するものである。   The present invention relates to an LED lighting device that lights a light emitting diode (hereinafter referred to as “LED”) using a commercial AC power source.

近年、LEDの光学性能が高くなってきており、LEDを用いた照明器具は寿命が長いなどの理由で従来の光源から置き換えられる状態にある。今後LEDの性能がますます向上していけば、さらに汎用の照明器具分野で採用されると考えられる。また、LEDの点灯装置も照明器具としての効率を上げるために、ますます高効率化しようとしている。そのため点灯装置は特にスイッチング素子を用いたスイッチング電源方式の定電流型が採用されてきており、今後もそのような傾向が続くと思われる。   In recent years, the optical performance of LEDs has increased, and lighting fixtures using LEDs are in a state where they can be replaced with conventional light sources because of their long life. If the performance of LEDs further improves in the future, it will be adopted in the field of general-purpose lighting equipment. Moreover, in order to increase the efficiency of the LED lighting device as a lighting fixture, the efficiency is being increased. For this reason, a constant current type of a switching power supply system using a switching element has been adopted for the lighting device, and such a trend is expected to continue in the future.

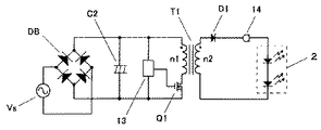
図9に特許文献1(特開2007−189819号公報)に開示された従来のLED点灯装置の回路図を示す。Vsは商用交流電源、DBは全波整流器、C2はコンデンサ、T1はトランスで1次巻線n1と2次巻線n2を備えている。Q1はスイッチング素子、D1は整流ダイオード、13はスイッチング素子Q1の制御回路、2はLED発光部、14は定電流素子である。   FIG. 9 shows a circuit diagram of a conventional LED lighting device disclosed in Patent Document 1 (Japanese Patent Laid-Open No. 2007-189819). Vs is a commercial AC power supply, DB is a full-wave rectifier, C2 is a capacitor, T1 is a transformer, and includes a primary winding n1 and a secondary winding n2. Q1 is a switching element, D1 is a rectifier diode, 13 is a control circuit for the switching element Q1, 2 is an LED light emitting unit, and 14 is a constant current element.

次に、図9に示す回路の動作を説明する。商用交流電源Vsの交流電圧を全波整流器DBで整流し、コンデンサC2で平滑し、トランスT1、MOSFETなどのスイッチング素子Q1で高周波矩形波交流電圧に変換し、整流ダイオードD1で整流して得られたパルス電圧に定電流素子14、LED発光部2の直列回路を接続する。スイッチング素子Q1は制御回路13によってオン・オフ制御される。   Next, the operation of the circuit shown in FIG. 9 will be described. AC voltage of commercial AC power supply Vs is rectified by full-wave rectifier DB, smoothed by capacitor C2, converted to high-frequency rectangular wave AC voltage by switching element Q1 such as transformer T1, MOSFET, and rectified by rectifier diode D1. A series circuit of the constant current element 14 and the LED light emitting unit 2 is connected to the pulse voltage. The switching element Q1 is ON / OFF controlled by the control circuit 13.

図10にトランスT1の2次側電圧Vn2と整流ダイオードD1で整流して得られたパルス電圧Vpの波形を示す。LED発光部2を流れる電流はパルス電圧Vpがある時だけ定電流素子14で規定された定電流Icが流れて点灯する。   FIG. 10 shows a waveform of the secondary voltage Vn2 of the transformer T1 and the pulse voltage Vp obtained by rectification using the rectifier diode D1. The current flowing through the LED light emitting unit 2 is lit by the constant current Ic defined by the constant current element 14 only when the pulse voltage Vp is present.

定電流素子14の特性例を図11に示す。横軸は印加電圧、縦軸は電流である。定電流素子14にある電圧Vc以上の電圧を印加すると、印加電圧に関係なく一定の電流Icが流れる。電源電圧の変動、LEDの順方向電圧のばらつきは定電流素子14に印加される電圧が電圧変動と順方向電圧のばらつきを吸収するように変化し、流れる電流はIcと一定に保たれる。したがって、消費電力は電源電圧の変動分だけ増減するが、LEDの輝度は変化しない。   An example of the characteristics of the constant current element 14 is shown in FIG. The horizontal axis is the applied voltage, and the vertical axis is the current. When a voltage equal to or higher than the voltage Vc existing in the constant current element 14 is applied, a constant current Ic flows regardless of the applied voltage. The fluctuation of the power supply voltage and the fluctuation of the forward voltage of the LED change so that the voltage applied to the constant current element 14 absorbs the fluctuation of the voltage and the fluctuation of the forward voltage, and the flowing current is kept constant as Ic. Therefore, the power consumption increases or decreases by the fluctuation of the power supply voltage, but the brightness of the LED does not change.

図9に示す回路ではパルス電圧Vpが無いときはLED発光部2は消灯するが、パルス電圧Vpが数kHz以上の高周波であれば、消灯していることは人間の目では認知できないので、LED発光部2は点灯し続けているように見える。   In the circuit shown in FIG. 9, the LED light emitting unit 2 is turned off when there is no pulse voltage Vp. However, if the pulse voltage Vp is a high frequency of several kHz or more, it cannot be recognized by the human eye that the LED light is off. The light emitting unit 2 seems to be continuously lit.

図10に示すパルス電圧Vpの一周期Tに対するパルス電圧Vpの割合(t/T)を減少させると、LED発光部2の輝度が低下し、パルス電圧Vpの割合(t/T)を増加させると輝度が上昇しているように見える。パルス電圧Vpの割合(t/T)は制御回路13で調整できる。   When the ratio (t / T) of the pulse voltage Vp to one period T of the pulse voltage Vp shown in FIG. 10 is decreased, the luminance of the LED light emitting unit 2 is decreased and the ratio (t / T) of the pulse voltage Vp is increased. And the brightness seems to rise. The ratio (t / T) of the pulse voltage Vp can be adjusted by the control circuit 13.

特開2007−189819号公報JP 2007-189819 A

特許文献1のような定電流素子を用いる定電流電源では、出力電圧の平滑化がされなければ、定電流素子14にある電圧Vc以上の電圧が保たれなくなる。つまり、定電流素子14はダイオードのように電圧Vc以上の電圧があってこそ、流れる電流がIcと一定に保たれるものであるから、この従来例の回路では、トランスT1の1次側の全波整流器DBの後段に設けたコンデンサC2で平滑を行っている。このコンデンサC2が無ければ、全波整流器DBの出力電圧は全波の脈流電圧になるため、50/60Hzの交流電源であれば、100Hzまたは120Hzの低周波のちらつきが発生することになる。ところが、このコンデンサC2が平滑化のために存在しているので、入力電流の高調波成分は大きなものとなり、照明機器で定められている高調波規制のガイドラインの規格値から外れるといった問題が生じる。   In a constant current power supply using a constant current element as in Patent Document 1, unless the output voltage is smoothed, a voltage equal to or higher than the voltage Vc in the constant current element 14 cannot be maintained. That is, since the constant current element 14 has a voltage equal to or higher than the voltage Vc as in a diode, the flowing current is kept constant as Ic. In this conventional circuit, the primary side of the transformer T1 Smoothing is performed by a capacitor C2 provided at the subsequent stage of the full-wave rectifier DB. Without this capacitor C2, the output voltage of the full-wave rectifier DB becomes a full-wave pulsating voltage, and therefore a 50/60 Hz AC power supply causes a low-frequency flicker of 100 Hz or 120 Hz. However, since this capacitor C2 exists for smoothing, the harmonic component of the input current becomes large, and there arises a problem that it deviates from the standard value of the harmonic regulation guideline defined in the lighting equipment.

また、トランスT1の2次側はパルス電圧Vpで点灯させているが、照明器具の光出力(光束)を器具込みの入力電力で除した器具効率といった面からは効率が低下する方向となる。すなわち、LEDの特性はダイオードと同様、順方向電圧Vfを超えることによってそれに応じた順電流Ifが流れる。LEDの仕様上、出力の光効率(出力の光束を出力の消費電力で割ったもの)が最も良いのは、リプル率が略0の直流平滑電圧で直流電流Idcを流したときである。従って、パルス電圧Vpでパルス点灯させた場合、先の直流電流Idcよりも平均化して少ない電流となり、出力の光束がそれに応じて小さくなってしまうという問題が生じる。さらにパルス電圧Vpを大きくしてパルスで流す電流の平均値を直流電流Idcと同等にしようとすると、パルス電圧Vpのピークを大きくせざるを得ないため、定電流素子14の定格も大きくなり、コストの上昇の一因となり、さらにLEDのピーク電流の絶対最大定格を超える可能性が生じるという問題がある。   In addition, the secondary side of the transformer T1 is turned on with the pulse voltage Vp. However, the efficiency decreases in terms of the efficiency of the appliance obtained by dividing the light output (luminous flux) of the luminaire by the input power including the appliance. That is, as with the diode, the LED characteristics exceed the forward voltage Vf, so that a forward current If corresponding thereto flows. In terms of LED specifications, the output light efficiency (the output luminous flux divided by the output power consumption) is the best when the DC current Idc is passed with a DC smoothing voltage with a ripple rate of approximately zero. Therefore, when pulse lighting is performed with the pulse voltage Vp, there is a problem that the current is averaged and smaller than the previous DC current Idc, and the output luminous flux is accordingly reduced. Further, if the pulse voltage Vp is increased to make the average value of the current passed by the pulse equal to the direct current Idc, the peak of the pulse voltage Vp has to be increased, so the rating of the constant current element 14 also increases. There is a problem that it contributes to an increase in cost and may exceed the absolute maximum rating of the peak current of the LED.

本発明はこのような点に鑑みてなされたものであり、入力電流の高調波成分を低減しながら、直流平滑電圧で点灯させた場合と同等の光出力が得られるLED点灯装置を提供することを課題とする。   This invention is made in view of such a point, and provides the LED lighting device which can obtain the light output equivalent to the case where it is made to light by DC smoothing voltage, reducing the harmonic component of input current. Is an issue.

本発明のLED点灯装置は、商用交流電源を全波整流する全波整流器と、前記全波整流器の出力端に並列接続される第1のコンデンサと、前記第1のコンデンサに入力端を並列接続されるスイッチング電源回路部と、前記スイッチング電源回路部の出力端に接続されるLED発光部と、前記LED発光部に並列接続される第2のコンデンサとを備え、前記第1のコンデンサの容量が1μF未満であり、前記第2のコンデンサは、前記第1のコンデンサの容量の100倍以上であり且つ前記LED発光部に流れる電流のリプル率が1未満になる容量に設定されたことを特徴とする。   The LED lighting device according to the present invention includes a full-wave rectifier for full-wave rectification of a commercial AC power supply, a first capacitor connected in parallel to the output terminal of the full-wave rectifier, and an input terminal connected in parallel to the first capacitor. A switching power supply circuit unit, an LED light emitting unit connected to an output terminal of the switching power supply circuit unit, and a second capacitor connected in parallel to the LED light emitting unit, wherein the capacitance of the first capacitor is It is less than 1 μF, and the second capacitor is set to have a capacity that is 100 times or more of the capacity of the first capacitor and the ripple rate of the current flowing through the LED light emitting unit is less than 1. To do.

本発明のLED点灯装置は、第1のコンデンサの容量を1μF未満としているので、全波整流器からスイッチング電源回路部までの電圧波形は、ほぼ全波の脈流派形となる。このように、第1のコンデンサの容量が小さいために、商用交流電源からの入力電流の波形は従来例のようなコンデンサインプット型の電流波形ではなく、全波の谷部を除いたほぼ全域で電流が流れる波形となるため、照明機器で定められている高調波規制ガイドラインの規格値におさまるようになる。また、このままでは出力の電圧波形も脈流電圧となり、LEDの順方向電圧Vf以下の電圧範囲では電流が流れなくなってしまうため、第1のコンデンサの容量の例えば100倍以上の容量をLED発光部の両端に並列接続し、LEDに流れる電流の変動幅を実効電流で除したリプル率を1未満にすることで光出力の低下を防ぐことができるという効果がある。   In the LED lighting device of the present invention, since the capacitance of the first capacitor is less than 1 μF, the voltage waveform from the full-wave rectifier to the switching power supply circuit section is almost full-wave pulsating. As described above, since the capacity of the first capacitor is small, the waveform of the input current from the commercial AC power supply is not a capacitor input type current waveform as in the conventional example, but in almost the whole area except for the valley portion of the full wave. Since the current flows in a waveform, it falls within the standard value of the harmonic regulation guidelines established for lighting equipment. Further, since the output voltage waveform also becomes a pulsating voltage in this state, current does not flow in the voltage range of the LED forward voltage Vf or less, so that the capacity of the LED light emitting unit is, for example, 100 times or more the capacity of the first capacitor. When the ripple ratio obtained by dividing the fluctuation range of the current flowing through the LED by the effective current is less than 1, the light output can be prevented from being lowered.

本発明の基本構成を示すブロック回路図である。It is a block circuit diagram which shows the basic composition of this invention. 本発明の実施形態1の構成を示す回路図である。It is a circuit diagram which shows the structure of Embodiment 1 of this invention. 本発明の実施形態1の動作波形図である。It is an operation | movement waveform diagram of Embodiment 1 of this invention. 本発明の実施形態2の構成を示す回路図である。It is a circuit diagram which shows the structure of Embodiment 2 of this invention. 本発明の実施形態2の動作波形図である。It is an operation | movement waveform diagram of Embodiment 2 of this invention. 本発明の実施形態2のリプル率とDC光束比の関係を示す説明図である。It is explanatory drawing which shows the relationship between the ripple rate and DC light beam ratio of Embodiment 2 of this invention. 本発明の実施形態3の実装状態を示す断面図である。It is sectional drawing which shows the mounting state of Embodiment 3 of this invention. 本発明の実施形態4の実装状態を示す断面図である。It is sectional drawing which shows the mounting state of Embodiment 4 of this invention. 従来例の回路図である。It is a circuit diagram of a conventional example. 従来例の動作波形図である。It is an operation | movement waveform diagram of a prior art example. 従来例に用いる定電流素子の特性図である。It is a characteristic view of the constant current element used for a prior art example.

以下、本発明の詳細を図示の実施形態によって説明する。   The details of the present invention will be described below with reference to the illustrated embodiments.

(基本構成)
本発明の基本構成を図1に示す。Vsは商用交流電源、DBは全波整流器、C1,C2はコンデンサ、1はスイッチング素子を含んだスイッチング電源回路部、2はLED発光部、3はフィルタ回路部である。LED発光部2の消費電力は例えば20W以下である。
(Basic configuration)
A basic configuration of the present invention is shown in FIG. Vs is a commercial AC power supply, DB is a full-wave rectifier, C1 and C2 are capacitors, 1 is a switching power supply circuit unit including a switching element, 2 is an LED light emitting unit, and 3 is a filter circuit unit. The power consumption of the LED light emission part 2 is 20 W or less, for example.

図1の回路において、全波整流器DBの直流出力端に接続されたコンデンサC1は、1μF未満の容量のコンデンサであり、全波整流器DBの出力電圧を平滑化するには小さい容量のため、ほぼ全波の波形の脈流電圧がスイッチング電源回路部1に印加され、内部のスイッチング素子により高周波でスイッチングされ、パルス電圧が出力される。このスイッチング電源回路部1の出力にはコンデンサC1の容量に比べ、後述する条件を満たした大きい容量(コンデンサC1の容量の100倍以上の容量)のコンデンサC2が並列接続され、パルス電圧の平滑化を行う。このコンデンサC2に並列接続されたLED発光部2には平滑電圧が印加される。   In the circuit of FIG. 1, a capacitor C1 connected to the DC output terminal of the full-wave rectifier DB is a capacitor having a capacity of less than 1 μF, and has a small capacity for smoothing the output voltage of the full-wave rectifier DB. A pulsating voltage having a full-wave waveform is applied to the switching power supply circuit unit 1 and is switched at a high frequency by an internal switching element to output a pulse voltage. The output of the switching power supply circuit unit 1 is connected in parallel with a capacitor C2 having a large capacity (capacity more than 100 times the capacity of the capacitor C1) that satisfies the conditions described later than the capacity of the capacitor C1, and smoothes the pulse voltage. I do. A smoothing voltage is applied to the LED light emitting unit 2 connected in parallel to the capacitor C2.

このとき、LED2a〜2dに流れる電流は平滑化といっても完全にリプルが無くなるわけではなく、電流の最大値Imaxと最小値Iminで規定される電流の変動幅Ipp(=Imax−Imin)を、LEDに流れる電流の平均値Iaで除したリプル率(Ipp/Ia)が1未満となるように、出力コンデンサC2の容量を設定する。このことにより、図1の回路で得られる光出力は、平坦な直流電圧から流れる電流で得られる光出力と殆ど差が無くなる。   At this time, the current flowing through the LEDs 2a to 2d is not completely eliminated even if it is said to be smooth, but the current fluctuation range Ipp (= Imax−Imin) defined by the maximum value Imax and the minimum value Imin. The capacitance of the output capacitor C2 is set so that the ripple rate (Ipp / Ia) divided by the average value Ia of the current flowing through the LED is less than 1. As a result, the optical output obtained by the circuit of FIG. 1 is almost the same as the optical output obtained by a current flowing from a flat DC voltage.

(実施形態1)
本発明の実施形態1の回路図を図2に示す。この実施形態では、図1のスイッチング電源回路部1をフライバック型のDC−DCコンバータ回路としたものであり、このDC−DCコンバータ回路は1次側の制御回路11と2次側の制御回路12により制御される。これらの回路とフィルタ回路部3を含めて直流電源ユニット4としている。
(Embodiment 1)
A circuit diagram of Embodiment 1 of the present invention is shown in FIG. In this embodiment, the switching power supply circuit unit 1 of FIG. 1 is a flyback type DC-DC converter circuit, and the DC-DC converter circuit includes a primary side control circuit 11 and a secondary side control circuit. 12 is controlled. A DC power supply unit 4 including these circuits and the filter circuit unit 3 is formed.

LED発光部2は、4個のLED2a〜2dが搭載されており、LED2aからLED2dまでがアノードからカソードに直列につながれる構成となっている。LED2aのアノード側にはプラス、LED2dのカソード側にはマイナスの電圧が印加されることにより、各LED2a〜2dが発光する。LED2a〜2dの順方向電圧Vfの合計以上の電圧が印加されると、流れる電流の値に応じてLEDから光束を得ることが出来る。順方向電圧Vfは通常略3.5Vのため、4個直列に接続するのであれば、4×3.5V以上の直流電圧において点灯させることが出来る。   The LED light emitting unit 2 includes four LEDs 2a to 2d, and the LED 2a to LED 2d are connected in series from the anode to the cathode. When a positive voltage is applied to the anode side of the LED 2a and a negative voltage is applied to the cathode side of the LED 2d, each of the LEDs 2a to 2d emits light. When a voltage equal to or higher than the total of the forward voltages Vf of the LEDs 2a to 2d is applied, a light beam can be obtained from the LEDs according to the value of the flowing current. Since the forward voltage Vf is usually about 3.5 V, if four are connected in series, they can be lit at a DC voltage of 4 × 3.5 V or more.

直流電源ユニット4の出力コネクタCON2とLED発光部2は一対のリード線5で接続されている。直流電源ユニット4の入力コネクタCON1は、商用交流電源Vsからの交流電源電圧(例えば、AC100V、50/60Hz)に接続される。   The output connector CON2 of the DC power supply unit 4 and the LED light emitting unit 2 are connected by a pair of lead wires 5. The input connector CON1 of the DC power supply unit 4 is connected to an AC power supply voltage (for example, AC100V, 50/60 Hz) from the commercial AC power supply Vs.

商用交流電源Vsに直流電源ユニット4のフィルタ回路部3が接続される。フィルタ回路部3はヒューズFUSE、コンデンサC3、ラインフィルタLFからなり、商用交流電源Vsの一端にヒューズFUSEが直列接続され、商用交流電源Vsの他端とヒューズFUSEの出力端と並列にコンデンサC3、ラインフィルタLFが接続される。   The filter circuit unit 3 of the DC power supply unit 4 is connected to the commercial AC power supply Vs. The filter circuit unit 3 includes a fuse FUSE, a capacitor C3, and a line filter LF. The fuse FUSE is connected in series to one end of the commercial AC power supply Vs, and the capacitor C3, in parallel with the other end of the commercial AC power supply Vs and the output terminal of the fuse FUSE. A line filter LF is connected.

フィルタ回路部3の出力には全波整流器DBとコンデンサC1が並列接続され、コンデンサC1と並列にトランスT1とスイッチング素子Q1の直列回路が接続されている。スイッチング素子Q1の両端には並列にコンデンサC4が接続されている。トランスT1の2次巻線側には高電位側にダイオードD1が接続され、コンデンサC2、出力コネクタCON2がダイオードD1を介して並列に接続されており、出力コネクタCON2の低電位側とコンデンサC2の負極の間には出力電流Ioを電圧値に変換する抵抗器R1が接続されている。   A full-wave rectifier DB and a capacitor C1 are connected in parallel to the output of the filter circuit unit 3, and a series circuit of a transformer T1 and a switching element Q1 is connected in parallel with the capacitor C1. A capacitor C4 is connected in parallel to both ends of the switching element Q1. A diode D1 is connected to the high potential side of the secondary winding side of the transformer T1, a capacitor C2 and an output connector CON2 are connected in parallel via the diode D1, and the low potential side of the output connector CON2 and the capacitor C2 A resistor R1 for converting the output current Io into a voltage value is connected between the negative electrodes.

第1の制御回路11はトランスT1の1次側に設けられ、フィードバック端子FBからの入力値によりスイッチング素子Q1のスイッチング信号を出力している。また、第2の制御回路12はトランスT1の2次側に設けられ、出力電流Ioを抵抗器R1により電圧に変換した値を入力とし、フィードバック信号を生成している。この第2の制御回路12の出力にはフォトカプラPC1の発光素子が接続され、そのフォトカプラPC1の受光素子には第1の制御回路11のフィードバック入力端子FBが接続されている。   The first control circuit 11 is provided on the primary side of the transformer T1, and outputs a switching signal of the switching element Q1 according to an input value from the feedback terminal FB. The second control circuit 12 is provided on the secondary side of the transformer T1, and receives a value obtained by converting the output current Io into a voltage by the resistor R1, and generates a feedback signal. The light output element of the photocoupler PC1 is connected to the output of the second control circuit 12, and the feedback input terminal FB of the first control circuit 11 is connected to the light receiving element of the photocoupler PC1.

以下、回路動作について説明する。このDC−DCコンバータ回路は、いわゆるフライバック型の直流電源装置であり、スイッチング素子Q1に並列接続されたコンデンサC4を持つ部分共振型である。商用交流電源Vsから入力された電圧は入力コネクタCON1を介しフィルタ回路部3を経て全波整流器DBにて全波整流される。全波整流された電圧はコンデンサC1を介してトランスT1とスイッチング素子Q1との直列回路に印加される。このときの印加電圧波形はコンデンサC1の容量が0.47μFと設定されているため、ほぼ全波整流の脈流電圧となる。つまり、全波整流された電圧はコンデンサC1では平滑化されず、全波波形の脈流電圧がトランスT1とスイッチング素子Q1との直列回路に印加される。スイッチング素子Q1が閉じている場合、トランスT1には電流が流れるため磁気エネルギーとして充電され、スイッチング素子Q1が開放になった場合にはその磁気エネルギーを2次巻線、ダイオードD1を介して出力側に放出される。   The circuit operation will be described below. This DC-DC converter circuit is a so-called flyback type DC power supply, and is a partial resonance type having a capacitor C4 connected in parallel to the switching element Q1. The voltage input from the commercial AC power supply Vs is full-wave rectified by the full-wave rectifier DB through the filter circuit unit 3 via the input connector CON1. The full-wave rectified voltage is applied to a series circuit of the transformer T1 and the switching element Q1 via the capacitor C1. The applied voltage waveform at this time is a full-wave rectified pulsating voltage because the capacitance of the capacitor C1 is set to 0.47 μF. That is, the full-wave rectified voltage is not smoothed by the capacitor C1, and a full-wave waveform pulsating voltage is applied to the series circuit of the transformer T1 and the switching element Q1. When the switching element Q1 is closed, a current flows through the transformer T1 and is charged as magnetic energy. When the switching element Q1 is opened, the magnetic energy is output to the output side via the secondary winding and the diode D1. To be released.

その出力電圧はコンデンサC2によりリプル率が1未満となるまで平滑化され、出力コネクタCON2を介して出力される。直流電源ユニット4から出力される電圧はLED発光部2に供給され、各LED2a〜2dの順方向電圧Vfの合計以上の電圧になった場合に各LED2a〜2dは点灯する。   The output voltage is smoothed by the capacitor C2 until the ripple rate becomes less than 1, and is output via the output connector CON2. The voltage output from the DC power supply unit 4 is supplied to the LED light emitting unit 2, and the LEDs 2a to 2d are turned on when the voltage is equal to or greater than the total of the forward voltages Vf of the LEDs 2a to 2d.

ここで、コンデンサC1の容量は0.47μFであるため、トランスT1の出力電圧も脈流波形となる。これをそのままLED発光部2に印加すると、LED発光部2内のLED2a〜2dの順電圧Vfの総和以上の電圧のときのみ発光するため、リプルがないときと比べて光出力が小さくなってしまう。そこで、コンデンサC2の容量はコンデンサC1の容量に比べて大きく、220μFとしている。このとき、出力電流のリプル率(電流の変動幅Ipp、つまり最大電流値Imax−最小電流値Iminを平均電流値Iaで除したもの)は1未満としている。   Here, since the capacitance of the capacitor C1 is 0.47 μF, the output voltage of the transformer T1 also has a pulsating waveform. If this is applied to the LED light emitting unit 2 as it is, light is emitted only when the voltage is equal to or higher than the sum of the forward voltages Vf of the LEDs 2a to 2d in the LED light emitting unit 2, so that the light output becomes smaller than when there is no ripple. . Therefore, the capacity of the capacitor C2 is larger than the capacity of the capacitor C1, and is set to 220 μF. At this time, the ripple rate of the output current (current fluctuation range Ipp, that is, the maximum current value Imax−the minimum current value Imin divided by the average current value Ia) is less than 1.

図3は本実施形態の動作波形であり、Ch1は出力電流波形、Ch2は入力電流波形、Ch3はコンデンサC1の両端電圧波形である。Ch1は50mA/10mVレンジにて測定しており、電流の変動幅Ippは70mApp(波形の中の△が変動幅Ippを示しており、△:14mVのため、14mV×50mA/10mVで70mApp)となる。また、平均電流値は179mAであるので、リプル率は0.39で1未満としている。   FIG. 3 shows operation waveforms of this embodiment, where Ch1 is an output current waveform, Ch2 is an input current waveform, and Ch3 is a voltage waveform across the capacitor C1. Ch1 is measured in the 50 mA / 10 mV range, and the current fluctuation width Ipp is 70 mApp (Δ in the waveform indicates the fluctuation width Ipp, Δ: 14 mV, so 14 mA × 50 mA / 10 mV, 70 mApp) Become. Since the average current value is 179 mA, the ripple rate is 0.39, which is less than 1.

各LED2a〜2dに流れた電流は出力コネクタCON2を介し抵抗器R1に流れ、抵抗器R1は電流に応じた電圧を発生する。この電圧を第2の制御回路12における制御用集積回路IC2(例えば新日本無線社製のNJM2146)のIN端子でモニタし、基準電圧端子REFの基準電圧と比較演算され、これによりLED2a〜2dに流れる電流に応じた第2の制御回路12のOUT端子の出力が決定する。この出力により、制御電圧Vccに接続されたフォトカプラPC1の発光素子に流れる電流が決まる。フォトカプラPC1内の受光素子から、第1の制御回路11の制御用集積回路IC1(例えば新電元社製のMR1722)のフィードバック端子FBに制御電圧が帰還入力される。このとき、フィードバック端子FBに入力された制御電圧に応じてスイッチング素子Q1のON幅を決定する。このように動作することにより、LED2a〜2dに流れる電流を一定にする制御を行う。   The current flowing through each of the LEDs 2a to 2d flows to the resistor R1 via the output connector CON2, and the resistor R1 generates a voltage corresponding to the current. This voltage is monitored at the IN terminal of the control integrated circuit IC2 (for example, NJM2146 manufactured by New Japan Radio Co., Ltd.) in the second control circuit 12, and compared with the reference voltage of the reference voltage terminal REF, thereby causing the LEDs 2a to 2d to operate. The output of the OUT terminal of the second control circuit 12 is determined according to the flowing current. This output determines the current flowing through the light emitting element of the photocoupler PC1 connected to the control voltage Vcc. A control voltage is fed back from the light receiving element in the photocoupler PC1 to the feedback terminal FB of the control integrated circuit IC1 of the first control circuit 11 (for example, MR 1722 manufactured by Shindengen Co., Ltd.). At this time, the ON width of the switching element Q1 is determined according to the control voltage input to the feedback terminal FB. By operating in this way, control is performed to keep the current flowing through the LEDs 2a to 2d constant.

尚、その他の構成について述べておくと、第1の制御回路11の電源Vccは全波整流後の電圧ラインから抵抗R8を介してツェナーダイオードZD1のツェナー電圧で規制された電圧が供給される。当然、制御回路11の不動作電圧以下にならない。また、第1の制御回路11のZC端子はゼロクロス端子であり、トランスT1のエネルギー放出をモニタし、スイッチング素子Q1が不連続モードで動作するようにしている。   In other respects, the power supply Vcc of the first control circuit 11 is supplied with a voltage regulated by the Zener voltage of the Zener diode ZD1 from the voltage line after full-wave rectification via the resistor R8. Naturally, the voltage does not become lower than the inoperative voltage of the control circuit 11. Further, the ZC terminal of the first control circuit 11 is a zero-cross terminal, which monitors the energy release of the transformer T1 so that the switching element Q1 operates in the discontinuous mode.

このような動作をすることにより従来の回路に比べ安価で高調波規制を満足でき、かつLEDの絶対最大定格電流を超えることなく、直流平滑電圧で点灯させた場合に比べて光出力の低下を抑えることができる。   By operating in this way, it is cheaper than conventional circuits and can satisfy harmonic regulations, and it does not exceed the absolute maximum rated current of the LED, reducing the light output compared to lighting with a DC smoothed voltage. Can be suppressed.

なお、この実施形態においてはフライバック型の直流電源にて説明を行ったが、もちろん直流電源はどのようなタイプであっても直流電圧を出力するものであれば同様な効果が得られる。また、LED発光部2においても4個直列のLED接続について説明したが、個数には関係なくアノードとカソードの方向さえ一致していれば並列接続しても構わない。   In this embodiment, the flyback type DC power source has been described, but it goes without saying that the same effect can be obtained if the DC power source outputs a DC voltage regardless of the type. In addition, the LED light emitting unit 2 has been described with respect to the four LED connection in series, but may be connected in parallel as long as the directions of the anode and the cathode are the same regardless of the number.

(実施形態2)
本発明の実施形態2の回路図を図4に示す。この実施形態では、図1のスイッチング電源回路部1を非絶縁型の降圧チョッパ回路としたものである。先述の実施形態1と同様の回路の説明は省略する。コンデンサC1はこの実施形態でも0.47μFに設定している。この回路ではパワースイッチング素子を兼ねた制御回路IC3(例えば松下電器産業株式会社製造のMIP552)により制御され、降圧チョッパ回路として動作する。
(Embodiment 2)
A circuit diagram of Embodiment 2 of the present invention is shown in FIG. In this embodiment, the switching power supply circuit unit 1 of FIG. 1 is a non-insulated step-down chopper circuit. A description of the same circuit as that of the first embodiment will be omitted. The capacitor C1 is also set to 0.47 μF in this embodiment. This circuit is controlled by a control circuit IC3 (for example, MIP552 manufactured by Matsushita Electric Industrial Co., Ltd.) that also serves as a power switching element, and operates as a step-down chopper circuit.

コンデンサC1の両端にLED2a〜2dの直列回路からなるLED発光部2とチョークL1と制御回路IC3の出力端子Qとグランド端子G間が直列に接続されている。出力端子Qは制御回路IC3の内部でスイッチング用のMOSFETのドレイン端子に接続されている。グランド端子Gは制御回路IC3の内部でスイッチング用のMOSFETのソース端子に接続されている。   The LED light-emitting unit 2 composed of a series circuit of LEDs 2a to 2d, the choke L1, the output terminal Q of the control circuit IC3, and the ground terminal G are connected in series to both ends of the capacitor C1. The output terminal Q is connected to the drain terminal of the switching MOSFET inside the control circuit IC3. The ground terminal G is connected to the source terminal of the switching MOSFET inside the control circuit IC3.

また、LED発光部2とチョークL1の直列回路にダイオードD1が並列接続されており、コンデンサC2がLED発光部2と並列に接続されている。ダイオードD1のカソード側はコンデンサC2の正極側に接続され、アノード側はチョークL1を介してコンデンサC2の負極側に接続されている。   A diode D1 is connected in parallel to the series circuit of the LED light emitting unit 2 and the choke L1, and a capacitor C2 is connected in parallel to the LED light emitting unit 2. The cathode side of the diode D1 is connected to the positive side of the capacitor C2, and the anode side is connected to the negative side of the capacitor C2 via the choke L1.

制御回路IC3の周辺には、制御部品として抵抗R2,R3,R8、コンデンサC5〜C7が接続されている。制御回路IC3のVdd端子は外部基準電圧端子であり、この端子の雑音防止用にコンデンサC5が接続されている。制御回路IC3のEX端子はLED発光部2への出力電流の大きさを決める端子であり、Vdd端子と回路グランド(グランド端子G)の間に抵抗R2と抵抗R3が直列接続され、その分圧電圧がEX端子に印加されている。コンデンサC6は上述のコンデンサC5と同様、雑音防止用のコンデンサである。   Resistors R2, R3, and R8 and capacitors C5 to C7 are connected as control components around the control circuit IC3. The Vdd terminal of the control circuit IC3 is an external reference voltage terminal, and a capacitor C5 is connected to prevent noise at this terminal. The EX terminal of the control circuit IC3 is a terminal that determines the magnitude of the output current to the LED light emitting unit 2, and a resistor R2 and a resistor R3 are connected in series between the Vdd terminal and the circuit ground (ground terminal G), and the divided voltage is obtained. A voltage is applied to the EX terminal. The capacitor C6 is a noise prevention capacitor, similar to the capacitor C5 described above.

Vin端子は商用交流電源Vsが投入された後、全波整流後の電源ラインからこの端子を介して制御回路IC3に制御電源を供給する端子である。コンデンサC7はコンデンサC5、C6と同じく雑音防止用のコンデンサである。   The Vin terminal is a terminal for supplying control power to the control circuit IC3 through this terminal from the power line after full wave rectification after the commercial AC power supply Vs is turned on. Capacitor C7 is a capacitor for preventing noise similar to capacitors C5 and C6.

コンデンサC2は実施形態1と同様、LED2a〜2dに流れる電流のリプル率が1未満となる容量に設定される。ここでは、コンデンサC2の容量は100μFとしている。   Similarly to the first embodiment, the capacitor C2 is set to have a capacitance at which the ripple rate of the current flowing through the LEDs 2a to 2d is less than 1. Here, the capacitance of the capacitor C2 is 100 μF.

回路動作としては、まず商用交流電源Vsから入力された電圧は入力コネクタCON1を介しフィルタ回路部3を経て全波整流器DBにて全波整流される。全波整流された電圧はコンデンサC1を介してLED発光部2とコンデンサC2の並列回路とチョークL1と制御回路IC3の出力端子Q−グランド端子G間の直列回路に印加される。   As a circuit operation, the voltage input from the commercial AC power source Vs is first full-wave rectified by the full-wave rectifier DB via the input connector CON1 through the filter circuit unit 3. The full-wave rectified voltage is applied via a capacitor C1 to a parallel circuit of the LED light emitting unit 2 and the capacitor C2, a choke L1, and a series circuit between the output terminal Q and the ground terminal G of the control circuit IC3.

商用交流電源Vsの投入直後は、制御回路IC3のVin端子から制御電源が制御回路IC3に供給され、Vdd端子の電圧が所定の電圧に達したときに発振を開始する。制御回路IC3の出力端子Q−グランド端子G間の電圧がほぼ0のとき、つまり内部のスイッチング素子がON状態のときは、制御回路IC3を介して全波整流器DBの出力電圧がLED発光部2とコンデンサC2の並列回路とチョークL1の直列回路に印加され、LED発光部2のLED2a〜2dが点灯する。このときの全波整流後の波形はコンデンサC1の容量が0.47μFと小さく設定されているため、ほぼ全波整流の脈流電圧となる。   Immediately after the commercial AC power supply Vs is turned on, control power is supplied from the Vin terminal of the control circuit IC3 to the control circuit IC3, and oscillation starts when the voltage at the Vdd terminal reaches a predetermined voltage. When the voltage between the output terminal Q and the ground terminal G of the control circuit IC3 is substantially 0, that is, when the internal switching element is in the ON state, the output voltage of the full-wave rectifier DB is transmitted via the control circuit IC3 to the LED light emitting unit 2. Are applied to the parallel circuit of the capacitor C2 and the series circuit of the choke L1, and the LEDs 2a to 2d of the LED light emitting section 2 are lit. The waveform after full-wave rectification at this time is almost a full-wave rectified pulsating voltage because the capacitance of the capacitor C1 is set to be as small as 0.47 μF.

上述のON状態の時間幅は制御回路IC3の内部で設定される閾値電圧で決定される。制御回路IC3の内部で出力端子Q−グランド端子G間に流れる電流を電圧に変換し、その電圧が前記閾値電圧に達すると、制御回路IC3の出力端子Q−グランド端子G間が開放状態(つまり内部のスイッチング素子がOFF状態)となる。このとき、チョークL1の蓄積エネルギーによる逆起電力にてダイオードD1を介してコンデンサC2とLED発光部2の並列回路に回生電流が流れて、LED2a〜2dの点灯状態を維持する。ON区間とOFF区間を合算した周期T、つまりその逆数のスイッチング周波数は、この制御回路IC3では数十kHzに固定されているため、OFF状態からON状態へは強制的に移行する。   The time width of the above-mentioned ON state is determined by a threshold voltage set inside the control circuit IC3. When the current flowing between the output terminal Q and the ground terminal G in the control circuit IC3 is converted into a voltage and the voltage reaches the threshold voltage, the output terminal Q and the ground terminal G of the control circuit IC3 are in an open state (that is, The internal switching element is turned off. At this time, a regenerative current flows to the parallel circuit of the capacitor C2 and the LED light emitting unit 2 via the diode D1 due to the back electromotive force generated by the energy stored in the choke L1, and the lighting states of the LEDs 2a to 2d are maintained. The cycle T, which is the sum of the ON interval and the OFF interval, that is, the reciprocal switching frequency is fixed to several tens of kHz in the control circuit IC3, so that it is forcibly shifted from the OFF state to the ON state.

また、制御回路IC3の出力端子Q−グランド端子G間がON状態になる時間幅を設定するための閾値電圧はEX端子の分圧電圧により変えることができる。このEX端子の電圧を変更することによりLED発光部2のLEDに流れる電流を設定し、所望の光出力を得ることができる。   The threshold voltage for setting the time width during which the output terminal Q and the ground terminal G of the control circuit IC3 are in the ON state can be changed by the divided voltage of the EX terminal. By changing the voltage of the EX terminal, the current flowing through the LED of the LED light emitting unit 2 can be set, and a desired light output can be obtained.

図5は本実施形態の動作波形であり、Ch1は出力電流波形、Ch4はコンデンサC2の両端電圧波形である。Ch1は50mA/10mVのレンジで測定しており、電流の変動幅Ippは101mApp(図中の△が変動幅Ippを示しており、△:20.2mVのため、20.2mV×50mA/10mVで101mApp)となる。また、平均電流値は170mAであるため、LED2a〜2dに流れる電流のリプル率は0.59となる。   FIG. 5 is an operation waveform of this embodiment, Ch1 is an output current waveform, and Ch4 is a voltage waveform across the capacitor C2. Ch1 is measured in the range of 50 mA / 10 mV, current fluctuation width Ipp is 101 mApp (Δ in the figure indicates fluctuation width Ipp, Δ: 20.2 mV, 20.2 mV × 50 mA / 10 mV 101 mApp). Moreover, since an average electric current value is 170 mA, the ripple rate of the electric current which flows into LED2a-2d will be 0.59.

市販の直流電源装置(例えば、(株)テクシオPA80−1B)でLED発光部2に印加されて流れる直流平滑電流で得られる光出力φdcと、リプル率を変化させたときの光出力φlとの比(DC光束比=φl/φdc)の関係を図6に示す。リプル率を1未満に設定することで、DC光束比の減少は2%未満に抑えることができ、直流平滑電圧で点灯させた場合に比べて光出力の低下を抑えることができる。   A light output φdc obtained by a DC smoothing current that flows when applied to the LED light emitting unit 2 with a commercially available DC power supply device (for example, Techio PA80-1B), and a light output φl when the ripple rate is changed The relationship of the ratio (DC luminous flux ratio = φl / φdc) is shown in FIG. By setting the ripple rate to less than 1, the decrease in the DC light flux ratio can be suppressed to less than 2%, and the decrease in light output can be suppressed as compared with the case of lighting with a DC smoothing voltage.

以上のように、コンデンサC1の容量値を1μF未満に設定することにより、高調波ガイドラインの規定を満足することができ、なおかつ、コンデンサC2の容量値をLED発光部2に流れる電流のリプル率が1未満となるように設定することにより、直流平滑電圧で点灯した場合の光出力と殆ど変わらない光出力を得ることができる。   As described above, by setting the capacitance value of the capacitor C1 to be less than 1 μF, it is possible to satisfy the provisions of the harmonic guideline, and the ripple value of the current flowing through the LED light emitting unit 2 is set to the capacitance value of the capacitor C2. By setting it to be less than 1, it is possible to obtain a light output that is almost the same as the light output when lighting with a DC smoothed voltage.

また、実施形態1,2に共通して言えることであるが、コンデンサC1の容量値を下げることで、電源投入時に発生する突入電流を小さくすることができるため、LED照明器具の並列台数の制限に関しても有利になる。   In addition, it can be said in common with the first and second embodiments that the inrush current generated when the power is turned on can be reduced by lowering the capacitance value of the capacitor C1, so that the number of LED lighting fixtures in parallel is limited. This is also advantageous.

(実施形態3)
図7は実施形態1または2のLED点灯装置を用いた電源別置型LED照明器具の構成を示している。器具筐体7は、下端開放された金属製の円筒体よりなり、下端開放部は光拡散板8で覆われている。この光拡散板8に対向するように、LED発光部2が配置されている。21はLED実装基板であり、LED発光部2のLED2a〜2dを実装している。器具筐体7は天井9に埋め込まれており、天井裏に配置された直流電源ユニット4からリード線5とコネクタ6を介して配線されている。
(Embodiment 3)
FIG. 7 shows a configuration of a power source-separated LED lighting apparatus using the LED lighting device according to the first or second embodiment. The instrument housing 7 is made of a metal cylinder that is open at the lower end, and the open end of the lower end is covered with a light diffusion plate 8. The LED light emission part 2 is arrange | positioned so that this light-diffusion plate 8 may be opposed. Reference numeral 21 denotes an LED mounting board on which the LEDs 2a to 2d of the LED light emitting unit 2 are mounted. The appliance housing 7 is embedded in the ceiling 9 and wired from the DC power supply unit 4 arranged on the back of the ceiling via the lead wire 5 and the connector 6.

(実施形態4)
図8は実施形態1または2のLED点灯装置を用いた電源内蔵型LED照明器具の構成を示している。21はLED実装基板であり、LED発光部2のLED2a〜2dを実装している。41は電源回路基板であり、図2または図4の直流電源ユニット4の電子部品を実装している。LED発光部2は、器具筐体7内において放熱板71に接触するように設置されており、LED2a〜2dの発生する熱を器具筐体7に逃がすようになっている。また、LED発光部2と直流電源ユニット4は、この放熱板71に設けられた穴を介して、リード線5で接続されている。放熱板71はアルミ板や銅板のような金属板であり、放熱効果と遮蔽効果を兼ねている。放熱板71は器具筐体7に電気的に接続されてアースされるが、リード線5のプラス側ならびにマイナス側とは電気的に分離された非充電部となっている。
(Embodiment 4)
FIG. 8 shows a configuration of a power supply built-in LED lighting apparatus using the LED lighting device of the first or second embodiment. Reference numeral 21 denotes an LED mounting board on which the LEDs 2a to 2d of the LED light emitting unit 2 are mounted. Reference numeral 41 denotes a power circuit board on which electronic components of the DC power supply unit 4 shown in FIG. 2 or 4 are mounted. The LED light emission part 2 is installed so that it may contact the heat sink 71 in the instrument housing | casing 7, and the heat | fever which LED2a-2d generate | occur | produces is released to the instrument housing | casing 7. FIG. Further, the LED light emitting unit 2 and the DC power supply unit 4 are connected by a lead wire 5 through a hole provided in the heat radiating plate 71. The heat dissipation plate 71 is a metal plate such as an aluminum plate or a copper plate, and has both a heat dissipation effect and a shielding effect. The heat radiating plate 71 is electrically connected to the instrument housing 7 and grounded, but is a non-charging portion that is electrically separated from the plus side and the minus side of the lead wire 5.

このように、点灯装置を器具筐体7に内蔵することにより、LED発光部2への配線を外部から触れないことから、配線の引き回しが一定となり、雑音性能が安定するという効果がある。   As described above, since the lighting device is built in the fixture housing 7, the wiring to the LED light emitting unit 2 is not touched from the outside, so that the routing of the wiring becomes constant and the noise performance is stabilized.

Vs 商用交流電源
DB 全波整流器
C1 第1のコンデンサ
C2 第2のコンデンサ
1 スイッチング電源回路部
2 LED発光部
3 フィルタ回路部
Vs Commercial AC power supply DB Full wave rectifier C1 First capacitor C2 Second capacitor 1 Switching power supply circuit unit 2 LED light emitting unit 3 Filter circuit unit

Claims (1)

商用交流電源を全波整流する全波整流器と、前記全波整流器の出力端に並列接続される第1のコンデンサと、前記第1のコンデンサに入力端を並列接続されるスイッチング電源回路部と、前記スイッチング電源回路部の出力端に接続されるLED発光部と、前記LED発光部に並列接続される第2のコンデンサとを備え、前記第1のコンデンサの容量が1μF未満であり、前記第2のコンデンサは、前記第1のコンデンサの容量の100倍以上であり且つ前記LED発光部に流れる電流のリプル率が1未満になる容量に設定されたことを特徴とするLED点灯装置。   A full-wave rectifier for full-wave rectification of a commercial AC power supply, a first capacitor connected in parallel to the output terminal of the full-wave rectifier, and a switching power supply circuit unit having an input terminal connected in parallel to the first capacitor; An LED light-emitting unit connected to an output terminal of the switching power supply circuit unit; and a second capacitor connected in parallel to the LED light-emitting unit, wherein the capacitance of the first capacitor is less than 1 μF, The capacitor is set to a capacity that is 100 times or more the capacity of the first capacitor and the ripple rate of the current flowing through the LED light emitting section is less than 1.
JP2012143755A 2012-06-27 2012-06-27 LED lighting device and LED lighting apparatus Active JP5193379B2 (en)

Priority Applications (1)

Application Number Priority Date Filing Date Title
JP2012143755A JP5193379B2 (en) 2012-06-27 2012-06-27 LED lighting device and LED lighting apparatus

Applications Claiming Priority (1)

Application Number Priority Date Filing Date Title
JP2012143755A JP5193379B2 (en) 2012-06-27 2012-06-27 LED lighting device and LED lighting apparatus

Related Parent Applications (1)

Application Number Title Priority Date Filing Date
JP2007309225A Division JP2009134945A (en) 2007-11-29 2007-11-29 LED lighting device and LED lighting apparatus

Publications (2)

Publication Number Publication Date
JP2012190814A true JP2012190814A (en) 2012-10-04
JP5193379B2 JP5193379B2 (en) 2013-05-08

Family

ID=47083712

Family Applications (1)

Application Number Title Priority Date Filing Date
JP2012143755A Active JP5193379B2 (en) 2012-06-27 2012-06-27 LED lighting device and LED lighting apparatus

Country Status (1)

Country Link
JP (1) JP5193379B2 (en)

Cited By (1)

* Cited by examiner, † Cited by third party
Publication number Priority date Publication date Assignee Title
CN103826374A (en) * 2014-03-19 2014-05-28 苏州智浦芯联电子科技有限公司 Non-isolated LED (Light-Emitting Diode) drive circuit with high power factor and without stroboscope

Citations (3)

* Cited by examiner, † Cited by third party
Publication number Priority date Publication date Assignee Title
JPH0759342A (en) * 1993-08-06 1995-03-03 Hitachi Ltd Switching power supply
JP2003264981A (en) * 2002-03-07 2003-09-19 Ikeda Electric Co Ltd Dc power supply apparatus
JP2007227155A (en) * 2006-02-23 2007-09-06 Matsushita Electric Works Ltd Power supply circuit for illumination, lighting system, and illumination system

Patent Citations (3)

* Cited by examiner, † Cited by third party
Publication number Priority date Publication date Assignee Title
JPH0759342A (en) * 1993-08-06 1995-03-03 Hitachi Ltd Switching power supply
JP2003264981A (en) * 2002-03-07 2003-09-19 Ikeda Electric Co Ltd Dc power supply apparatus
JP2007227155A (en) * 2006-02-23 2007-09-06 Matsushita Electric Works Ltd Power supply circuit for illumination, lighting system, and illumination system

Cited By (1)

* Cited by examiner, † Cited by third party
Publication number Priority date Publication date Assignee Title
CN103826374A (en) * 2014-03-19 2014-05-28 苏州智浦芯联电子科技有限公司 Non-isolated LED (Light-Emitting Diode) drive circuit with high power factor and without stroboscope

Also Published As

Publication number Publication date
JP5193379B2 (en) 2013-05-08

Similar Documents

Publication Publication Date Title
JP2009134945A (en) LED lighting device and LED lighting apparatus
JP5884049B2 (en) Lighting device and lighting apparatus provided with the same
JP5884050B2 (en) Lighting device and lighting apparatus provided with the same
JP5285266B2 (en) LED lighting equipment
JP5735728B2 (en) LED lighting fixtures
CN103139955B (en) Apparatus for lighting and the ligthing paraphernalia with this apparatus for lighting
JP5921438B2 (en) LED lighting circuit, LED lighting device, and socket for LED lighting unit
CN211297077U (en) An installation state detection circuit
CN103139956B (en) Apparatus for lighting and the ligthing paraphernalia with this apparatus for lighting
JP5140203B2 (en) LED lighting device
JP2014220227A (en) Lighting device and luminaire using the same
JP5686218B1 (en) Lighting device and lighting apparatus
JP2014239629A (en) Lighting device and luminaire using the same
JP5193379B2 (en) LED lighting device and LED lighting apparatus
JP5743041B1 (en) Lighting device and lighting apparatus
JP5193378B2 (en) LED lighting device and LED lighting apparatus
JP5140202B2 (en) LED lighting device
WO2022148463A1 (en) Led lamp and misuse warning module
JP5087175B2 (en) LED lighting fixtures
JP6399450B2 (en) Lighting device and lighting apparatus
JP2018006122A (en) Lighting device, lighting fixture and lighting system
JP6648502B2 (en) Lighting device and lighting equipment
JP2016162498A (en) Lighting device and lighting apparatus
JP2023069496A (en) Lighting devices and luminaires
JP2015125958A (en) LED lighting device

Legal Events

Date Code Title Description
A621 Written request for application examination

Free format text: JAPANESE INTERMEDIATE CODE: A621

Effective date: 20120704

A871 Explanation of circumstances concerning accelerated examination

Free format text: JAPANESE INTERMEDIATE CODE: A871

Effective date: 20120724

A975 Report on accelerated examination

Free format text: JAPANESE INTERMEDIATE CODE: A971005

Effective date: 20120809

A131 Notification of reasons for refusal

Free format text: JAPANESE INTERMEDIATE CODE: A131

Effective date: 20121023

A521 Request for written amendment filed

Free format text: JAPANESE INTERMEDIATE CODE: A523

Effective date: 20121211

TRDD Decision of grant or rejection written
A01 Written decision to grant a patent or to grant a registration (utility model)

Free format text: JAPANESE INTERMEDIATE CODE: A01

Effective date: 20130108

A61 First payment of annual fees (during grant procedure)

Free format text: JAPANESE INTERMEDIATE CODE: A61

Effective date: 20130201

R150 Certificate of patent or registration of utility model

Ref document number: 5193379

Country of ref document: JP

Free format text: JAPANESE INTERMEDIATE CODE: R150

Free format text: JAPANESE INTERMEDIATE CODE: R150

FPAY Renewal fee payment (event date is renewal date of database)

Free format text: PAYMENT UNTIL: 20160208

Year of fee payment: 3