JP2012167709A - パイプ材固定具、パイプ材固定構造及びパイプ材固定方法 - Google Patents
パイプ材固定具、パイプ材固定構造及びパイプ材固定方法 Download PDFInfo
- Publication number
- JP2012167709A JP2012167709A JP2011027530A JP2011027530A JP2012167709A JP 2012167709 A JP2012167709 A JP 2012167709A JP 2011027530 A JP2011027530 A JP 2011027530A JP 2011027530 A JP2011027530 A JP 2011027530A JP 2012167709 A JP2012167709 A JP 2012167709A
- Authority
- JP
- Japan
- Prior art keywords
- pipe material
- pipe
- insertion hole
- protrusion
- fixture
- Prior art date
- Legal status (The legal status is an assumption and is not a legal conclusion. Google has not performed a legal analysis and makes no representation as to the accuracy of the status listed.)
- Withdrawn
Links
- 239000000463 material Substances 0.000 title claims abstract description 406
- 238000000034 method Methods 0.000 title claims abstract description 31
- 238000003780 insertion Methods 0.000 claims abstract description 113
- 230000037431 insertion Effects 0.000 claims abstract description 113
- 230000002093 peripheral effect Effects 0.000 abstract 2
- 238000000605 extraction Methods 0.000 description 4
- 229910052751 metal Inorganic materials 0.000 description 4
- 239000002184 metal Substances 0.000 description 4
- 229910000838 Al alloy Inorganic materials 0.000 description 2
- RYGMFSIKBFXOCR-UHFFFAOYSA-N Copper Chemical compound [Cu] RYGMFSIKBFXOCR-UHFFFAOYSA-N 0.000 description 2
- 229910000881 Cu alloy Inorganic materials 0.000 description 2
- 239000010949 copper Substances 0.000 description 2
- 229910052802 copper Inorganic materials 0.000 description 2
- 230000008878 coupling Effects 0.000 description 2
- 238000010168 coupling process Methods 0.000 description 2
- 238000005859 coupling reaction Methods 0.000 description 2
- 230000035515 penetration Effects 0.000 description 2
- 239000010935 stainless steel Substances 0.000 description 2
- 229910001220 stainless steel Inorganic materials 0.000 description 2
- 238000010276 construction Methods 0.000 description 1
- 210000003811 finger Anatomy 0.000 description 1
- 210000003813 thumb Anatomy 0.000 description 1
Images
Landscapes
- Mutual Connection Of Rods And Tubes (AREA)
Abstract
【課題】複数のパイプ材を連結できるとともに、これらのパイプ材への取付け及び取外し作業を容易に行うことができるパイプ材固定具、パイプ材固定構造及びパイプ材固定方法の提供を目的とする。
【解決手段】本発明のパイプ材固定具は、第一パイプ材に周方向に嵌合する断面略C字状の連結部と、上記連結部の内面に形成され、第一パイプ材の挿通孔及びこの挿通孔と重なり合って配置される第二パイプ材の係止穴に嵌合される第一突起部とを有し、上記第一突起部が、上記挿通孔と嵌合される基部と、この基部の上方に延設され、上端から下端側縁にかけて周方向に傾斜した形状を有する先端部とを有している。
【選択図】図1
【解決手段】本発明のパイプ材固定具は、第一パイプ材に周方向に嵌合する断面略C字状の連結部と、上記連結部の内面に形成され、第一パイプ材の挿通孔及びこの挿通孔と重なり合って配置される第二パイプ材の係止穴に嵌合される第一突起部とを有し、上記第一突起部が、上記挿通孔と嵌合される基部と、この基部の上方に延設され、上端から下端側縁にかけて周方向に傾斜した形状を有する先端部とを有している。
【選択図】図1
Description
本発明は、パイプ材固定具、パイプ材固定構造及びパイプ材固定方法に関する。
現在、パイプ材は、仮設足場を設置するための骨組みや、組立ラックの支柱等、種々の用途に使用されている。
このようなパイプ材は、通常、複数を連結させて適当な長さに調整されて使用される。従って、このようなパイプ材を用いて組立てられる仮設器具は、通常、比較的大きいものとなることが多く、その高さも比較的高くなることが一般的である。また、このような仮設器具には、人が登って作業したり、比較的重い物が設置、陳列等されることも多い。それゆえ、このような仮設器具は、人が登って作業しているときや物が設置、陳列等されているときに不意にパイプ材の連結が解除されると、作業者や物が落下して大事故につながるおそれがある。さらに、かかる仮設器具は、人が登ったり物が設置、陳列等されていないときにパイプ材の連結が解除された場合であっても、パイプ材自体が下にいる人の頭上に落下する等の危険を有している。
このような点から、今日、複数のパイプ材を連結することができる様々な固定具が発案されている。このような固定具としては、例えば、連結固定具(特開2010−121759号公報参照)が発案されている。この連結固定具は、パイプ材に外嵌される固定具本体とこの固定具本体に連結される凸状体とを有しており、この凸状体を連結されるそれぞれのパイプ材が有する固定孔に挿入したうえで固定具本体をパイプ材に外嵌させることによりパイプ材を連結固定することができる。
このような連結固定具によって複数のパイプ材を連結する場合、連結されるパイプ材の各固定孔を重ね合わせ凸状体を固定孔に挿入するステップ、固定具本体でパイプ材を周方向に挟持するステップ及び固定具本体の両端を連結固定するステップという少なくとも3つのステップを踏むことが必要となる。また、このような連結固定具によって連結された複数のパイプ材を取り外す場合には、固定具本体の両端の連結を解除するステップ及び凸状体を固定孔から抜き取るステップという少なくとも2つのステップを踏むことが必要となる。
しかしながら、このような連結固定具によって連結されるパイプ材及びかかるパイプ材を用いて組立てられる仮設器具は、建築や土木作業で使用される仮設足場、仮設ステージ、展示会で使用されるディスプレイ用ラック等、主として一時的に用いられるためのものであることが殆どである。
従って、このような仮設器具は、使用前に現場で速やかに組立てることができ、また、使用後には速やかに分解して持ち運べることができるものであることが望ましい。
このような点において、上記連結固定具は、パイプ材の連結及び取外し作業を行うにあたり、現場で求められる作業性を必ずしも満たすものではなかった。
本発明はこれらの不都合に鑑みてなされたものであり、複数のパイプ材を連結することができるとともに、これらのパイプ材への取付け作業及び連結されたパイプ材からの取り外し作業を容易に行うことができるパイプ材固定具、パイプ材固定構造及びパイプ材固定方法の提供を目的とするものである。
上記課題を解決するためになされた発明は、
開口側先端付近に挿通孔を有する第一パイプ材と、上記第一パイプ材の開口に挿入された状態で上記挿通孔と重なり合う位置に係止穴を有する第二パイプ材とを連結するパイプ材固定具であって、
上記第一パイプ材に周方向に嵌合する断面略C字状の連結部と、
上記連結部の内面に形成され、上記挿通孔及びこの挿通孔と重なり合って配置される係止穴に嵌合される第一突起部と
を有し、
上記第一突起部が、
上記挿通孔に嵌合される基部と、
この基部の上方に延設され、上端から下端側縁にかけて周方向に傾斜した形状を有する先端部と
を有するパイプ材固定具である。
開口側先端付近に挿通孔を有する第一パイプ材と、上記第一パイプ材の開口に挿入された状態で上記挿通孔と重なり合う位置に係止穴を有する第二パイプ材とを連結するパイプ材固定具であって、
上記第一パイプ材に周方向に嵌合する断面略C字状の連結部と、
上記連結部の内面に形成され、上記挿通孔及びこの挿通孔と重なり合って配置される係止穴に嵌合される第一突起部と
を有し、
上記第一突起部が、
上記挿通孔に嵌合される基部と、
この基部の上方に延設され、上端から下端側縁にかけて周方向に傾斜した形状を有する先端部と
を有するパイプ材固定具である。
当該パイプ材固定具は、第一パイプ材の開口に第二パイプ材の一端を挿入させ、第一パイプ材の挿通孔及び第二パイプ材の係止穴が重なり合った状態において、これらの挿通孔及び係止穴に第一突起部を嵌合させるものである。当該パイプ材固定具は、第一突起部を第一パイプ材の挿通孔及び第二パイプ材の係止穴に嵌合することによって、第一パイプ材及び第二パイプ材を所定の位置に固定することができる。また、当該パイプ材固定具は、連結部を第一パイプ材の外周に嵌合させることによって、パイプ材固定具自体を第一パイプ材の所定位置に固定することができる。その結果、当該パイプ材固定具は、第一パイプ材及び第二パイプ材を確実に連結することができる。
加えて、当該パイプ材固定具は、連結部が略C字状に形成されているので、第一パイプ材及び第二パイプ材が連結された状態で外部に突起される部分を少なくすることができる。従って、当該パイプ材固定具は、第一パイプ材及び第二パイプ材が連結された状態で、作業者等が誤ってパイプ材固定具に接触するという事態を抑制することができ、ひいては、かかる接触によって第一パイプ材及び第二パイプ材の連結が不意に解除されたり、接触に伴い作業者等が負傷するというおそれを低減することができる。
当該パイプ材固定具は、第一パイプ材及び第二パイプ材を連結するためには、第一突起部を第一パイプ材の挿通孔及び第二パイプ材の係止穴に嵌合させ、連結部を第一パイプ材の周方向に嵌合すればよいので、極めて簡便な作業で第一パイプ材及び第二パイプ材を連結することができる。
当該パイプ材固定具は、第一突起部の先端部が上端から下端側縁にかけて周方向に傾斜した形状を有しているので、第一パイプ材及び第二パイプ材が連結されている状態で、第一パイプ材を傾斜形状が形成されている方向に回転させるだけでこの連結を極めて容易に解除することができる。
当該パイプ材固定具は、上記先端部が、上記第二パイプ材の挿入方向側において、上端から下端側縁にかけて傾斜した形状を有しているとよい。これにより、予め第一パイプ材にパイプ材固定具が取り付けられた状態で、第二パイプ材を第一パイプ材の開口から挿入するだけで、第一パイプ材及び第二パイプ材を連結することができる。従って、当該パイプ材固定具は、第一パイプ材及び第二パイプ材をさらに容易に連結することができる。また、当該パイプ材固定具は、常時第一パイプ材に取り付けられていてもよいので、現場への運搬時等の部品点数を減らすことができ、作業効率をさらに向上させることができる。
当該パイプ材固定具は、上記先端部が、上記第二パイプ材の抜き取り方向側において、径方向と略平行に形成される非傾斜形状を有しているとよい。これにより、第一パイプ材及び第二パイプ材が連結された状態で第一パイプ材及び第二パイプ材を乖離させる方向に力が加えられても、第二パイプ材の係止穴が先端部によって確実に係止されるので、第一パイプ材及び第二パイプ材の連結を確実に維持することができる。
当該パイプ材固定具が、対向する一対の挿通孔を開口側先端付近に有する第一パイプ材と、上記第一パイプ材の開口に挿入された状態で上記一対の挿通孔と重なりあう位置に一対の係止穴を有する第二パイプ材とを連結するものであり、上記連結部の内面に形成され、上記一対の挿通孔のうち上記第一突起部が嵌合されない方の挿通孔及びこの挿通孔と重なり合って配置される係止穴に嵌合される第二突起部を有し、上記第二突起部が、上記第一突起部が有する傾斜形状と対向する位置に傾斜形状を有しているとよい。これにより、第一パイプ材及び第二パイプ材を第一突起部及び第二突起部によりさらに確実に連結することができる。また、当該パイプ材固定具は、第一パイプ材及び第二パイプ材が連結されている状態で、第一パイプ材を第一突起部及び第二突起部の傾斜形状が形成されている方向に回転させるだけでこの連結を極めて容易に解除することができる。
当該パイプ材固定具は、上記連結部の端部から外側に向けて湾曲して延出される把持部を有するとよい。これにより、この把持部を用いてパイプ材固定具を容易に取付け及び取り外しすることができる。
従って、一又は対向する一対の挿通孔を開口側先端付近に有する第一パイプ材と、上記第一パイプ材の開口に挿入された状態で上記一又は一対の挿通孔と重なり合う位置に係止穴を有する第二パイプ材とが、当該パイプ材固定具を用いて連結されたパイプ材固定構造によると、極めて簡便な作業で第一パイプ材及び第二パイプ材を連結することができる。また、当該パイプ材固定構造によると、第一パイプ材及び第二パイプ材の連結状態を極めて容易に解除することができる。
また、上記課題を解決するためになされた別の発明は、
開口側先端付近に挿通孔を有する第一パイプ材と、上記第一パイプ材の開口に挿入された状態で上記挿通孔と重なり合う位置に係止穴を有する第二パイプ材とを、当該パイプ材固定具によって連結するパイプ材固定方法であって、
上記挿通孔及びこの挿通孔と重なり合って配置される係止穴に上記第一突起部を嵌合する第一嵌合ステップと、
上記連結部を上記第一パイプ材の周方向に嵌合する第二嵌合ステップと
を有するパイプ材固定方法である。
開口側先端付近に挿通孔を有する第一パイプ材と、上記第一パイプ材の開口に挿入された状態で上記挿通孔と重なり合う位置に係止穴を有する第二パイプ材とを、当該パイプ材固定具によって連結するパイプ材固定方法であって、
上記挿通孔及びこの挿通孔と重なり合って配置される係止穴に上記第一突起部を嵌合する第一嵌合ステップと、
上記連結部を上記第一パイプ材の周方向に嵌合する第二嵌合ステップと
を有するパイプ材固定方法である。
当該パイプ材固定方法は、第一パイプ材の開口に第二パイプ材の一端を挿入させ、第一パイプ材の挿通孔及び第二パイプ材の係止穴が重なり合った状態において、これらの挿通孔及び係止穴に第一突起部を嵌合させるものである。当該パイプ材固定方法は、第一突起部を第一パイプ材の挿通孔及び第二パイプ材の係止穴に嵌合することによって、第一パイプ材及び第二パイプ材を所定の位置に固定することができる。また、当該パイプ材固定方法は、連結部を第一パイプ材の外周に嵌合させることによって、パイプ材固定具自体を第一パイプ材の所定位置に固定することができる。その結果、当該パイプ材固定方法は、第一パイプ材及び第二パイプ材を確実に連結することができる。
当該パイプ材固定方法によると、第一パイプ材及び第二パイプ材を連結するためには、第一突起部を第一パイプ材の挿通孔及び第二パイプ材の係止穴に嵌合させ、連結部を第一パイプ材の周方向に嵌合すればよいので、極めて簡便な作業で第一パイプ材及び第二パイプ材を連結することができる。
当該パイプ材固定方法によると、第一突起部の先端部が上端から下端側縁にかけて周方向に傾斜した形状を有しているので、第一パイプ材及び第二パイプ材が連結されている状態で、第一パイプ材を傾斜形状が形成されている方向に回転させるだけでこの連結を極めて容易に解除することができる。
以上説明したように、本発明のパイプ材固定具、パイプ材固定構造及びパイプ材固定方法は、複数のパイプ材をパイプ材固定具を用いて容易かつ確実に連結することができるとともに、これらのパイプ材の取り外し作業も容易に行うことができる。
以下、適宜図面を参照しつつ本発明の実施の形態を詳説する。
図1のパイプ材固定具1は、連結部2と、第一突起部3とを有している。
パイプ材固定具1は、開口側先端付近に挿通孔を有する第一パイプ材と、第一パイプ材の開口に挿入された状態でこの挿通孔と重なり合う位置に係止穴を有する第二パイプ材とを連結する固定具である。なお、図1では、第二パイプ材の係止穴は凹状に形成されているが、この係止穴は第二パイプ材の径方向に貫通されたものであってもよい。
連結部2は、断面略C字状に形成されている。連結部2は、内面4を第一パイプ材の外周に嵌合させる。連結部2は、内面4を第一パイプ材に嵌合させるものであるため、連結部2の内径は第一パイプ材の外径と同程度とされている。なお、連結部2の両端付近の内径は、第一パイプ材に確実に嵌合されるように、第一パイプ材の外径よりもやや小さくなっていてもよい。連結部2は、両端部を第一パイプ材の外径以上に開き、その中に第一パイプ材を挿入することにより第一パイプ材に嵌合される。それゆえ、連結部2は、両端を第一パイプ材の外径以上に開くことができるだけの可撓性を有している。連結部2の材質としては、特に限定されないが、一般的には金属が好適に用いられる。連結部2に用いられる金属としては、例えば、アルミニウム合金、ステンレス、銅、銅合金等を挙げることができる。
第一突起部3は、連結部2の内面4に形成される。第一突起部3は、第一パイプ材の挿通孔及びこの挿通孔と重なり合って配置される第二パイプ材の係止穴に嵌合される。第一突起部3は、連結部2に連結され、第一パイプ材の挿通孔に嵌合される略円柱状の基部5と、基部5の上方に延設され、上端から下端側縁にかけて周方向に傾斜した形状を有する先端部6とを有している。第一突起部3の径は、第一パイプ材の挿通孔及び第二パイプ材の係止穴に嵌合される大きさであれば特に限定されない。第一突起部3の径は、第一パイプ材の挿通孔及び第二パイプ材の係止穴の径と等しくなるほど、第一パイプ材及び第二パイプ材と強固に嵌合されることができる。
第一突起部3のうち基部5の高さは、嵌合される第一パイプ材の挿通孔の奥行き以下である限り特に限定されないが、この挿通孔の奥行きの1/2以上であることが好ましく、2/3以上であることがさらに好ましい。第一突起部3の高さ(基部5及び先端部6を合計した高さ)は、嵌合される第一パイプ材の挿通孔の奥行きより大きく、かつこの挿通孔及び第二パイプ材の係止穴の奥行きの合計より小さい限り特に限定されないが、第二パイプ材が有する係止穴の1/2以上の奥行きまで嵌合できるだけの高さを有していることが好ましく、2/3以上の奥行きまで嵌合できるだけの高さを有していることがさらに好ましい。第一突起部3が上記高さに設定されることで、当該パイプ材固定具1は、第一突起部3により、第一パイプ材の挿通孔及び第二パイプ材の係止穴を確実に係止することができる。また、第一突起部3が上記高さに設定されることで、第一パイプ材及び第二パイプ材の連結状態を容易に解除することができる。
なお、第二パイプ材の係止穴が径方向に貫通されている場合、第一突起部3の高さは、必ずしも、嵌合される第一パイプ材の挿通孔及び第二パイプ材の係止穴の奥行きの合計以下でなくてもよい。
第一突起部3の材質としては、第一パイプ材及び第二パイプ材を確実に係止できる限り特に限定されないが、一般的には金属が好適に用いられる。第一突起部3に用いられる金属としては、例えば、アルミニウム合金、ステンレス、銅、銅合金等を挙げることができる。
次に、図2〜図4を参照して、第一パイプ材11及び第二パイプ材12をパイプ材固定具1により連結する手順及び第一パイプ材11及び第二パイプ材12の連結を解除する手順について説明する。なお、第一パイプ材11及び第二パイプ材12としては、市販されている汎用のパイプ材を用いることができる。
パイプ材挿入ステップ(STP1)は、図4(a)に示すように、第一パイプ材11の挿通孔13及び第二パイプ材12の係止穴14が重なり合うように、第一パイプ材11の開口から第二パイプ材12の一端を挿入するステップである。STP1では、作業者は、まず、第一パイプ材11の開口と第二パイプ材12の一端とを向かい合わせ、第一パイプ材11の開口から第二パイプ材12の一端を挿入する。続いて、作業者は、第一パイプ材11の挿通孔13と第二パイプ材12の係止穴14とが重なり合うように、第一パイプ材11及び第二パイプ材12の位置関係を調整する。
第一嵌合ステップ(STP2)は、図4(b)に示すように、第一パイプ材11の挿通孔13及びSTP1により挿通孔13と重なり合って配置される第二パイプ材12の係止穴14にパイプ材固定具1の第一突起部3を嵌合するステップである。当該パイプ材固定具1は、第一突起部3の基部5の高さが挿通孔13の奥行き以下とされているので、挿通孔13は、基部5により、又は基部5及び基部5の上方から延出する先端部6により、確実に係止される。また、当該パイプ材固定具1は、第一突起部3の高さが第一パイプ材11の挿通孔13の奥行きよりも大きく設定されているので、第二パイプ材12の係止穴14は、先端部6により確実に係止される。
第二嵌合ステップ(STP3)は、図4(c)に示すように、連結部2を第一パイプ材11の周方向に嵌合するステップである。STP3は、連結部2の内面4を第一パイプ材11の外周に沿うように重ね合わせることにより行われる。当該パイプ材固定具1は、連結部2の内径が第一パイプ材11の外径と同程度とされているので、連結部2を第一パイプ材11の外周に重ね合わせることにより、パイプ材固定具1を第一パイプ材11の所定の位置で固定することができる。
続いて、第一パイプ材11及び第二パイプ材12の連結を解除する手順について説明する。
パイプ材回転ステップ(STP4)は、STP1からSTP3を経てパイプ材固定具1によって第一パイプ材11及び第二パイプ材12が連結された状態において、第一パイプ材11を第二パイプ材12の周方向に回転させるステップである。STP4では、図4(d)に示すように、作業者は、第一パイプ材11を第二パイプ材12の周方向かつパイプ材固定具1の第一突起部3が傾斜形状を有している方向に回転させる。第一突起部3が挿通孔13及び係止穴14に嵌合された状態で基部5は挿通孔13までしか挿入されていないので、かかる回転を加えることにより、先端部6の傾斜面が第二パイプ材12の表面を摺動し、第一突起部3と係止穴14との嵌合は容易に解除される。その結果、第一パイプ材11及びパイプ材固定具1は、極めて容易に第二パイプ材12から取り外される。
なお、作業者が第一パイプ材11を傾斜形状が設けられている方向と逆の方向に回転させようと場合には、第二パイプ材12の係止穴14と先端部6との嵌合が解除されないため、第一パイプ材11を第二パイプ材12から取り外すことはできない。従って、当該パイプ材固定具1は、作業者が意識的に第一パイプ材11を所定の方向に回転させることにより第一パイプ材11と第二パイプ材12との連結を容易に解除することができる一方、不意に周方向に力が加えられた場合でも、第一パイプ材11と第二パイプ材12との連結状態を維持することができる。また、当該パイプ材固定具1は、第一パイプ材11及び第二パイプ材12の軸方向に力が加えられた場合については、第一突起部3が係止穴14に係止されているため、第一パイプ材11と第二パイプ材12との連結を確実に保つことができる。
当該パイプ材固定具1は、第一パイプ材11の開口に第二パイプ材12の一端を挿入させ、第一パイプ材11の挿通孔13及び第二パイプ材の係止穴14が重なり合った状態において、これらの挿通孔13及び係止穴14に第一突起部3を嵌合させるものである。当該パイプ材固定具1は、第一突起部3を第一パイプ材11の挿通孔13及び第二パイプ材12の係止穴14に嵌合することによって、第一パイプ材11及び第二パイプ材12を所定の位置に固定することができる。また、当該パイプ材固定具1は、連結部2を第一パイプ材11の外周に嵌合させることによって、パイプ材固定具1自体を第一パイプ材11の所定位置に固定することができる。その結果、当該パイプ材固定具1は、第一パイプ材11及び第二パイプ材12を確実に連結することができる。
加えて、当該パイプ材固定具1は、連結部2が略C字状に形成されているので、第一パイプ材11及び第二パイプ材12が連結された状態で外部に突起される部分を少なくすることができる。従って、当該パイプ材固定具1は、第一パイプ材11及び第二パイプ材12が連結された状態で、作業者等が誤ってパイプ材固定具1に接触するという事態を抑制することができ、ひいては、かかる接触によって第一パイプ材11及び第二パイプ材12の連結が不意に解除されたり、接触に伴い作業者等が負傷するというおそれを低減することができる。
当該パイプ材固定具1は、第一パイプ材11及び第二パイプ材12を連結するためには、第一突起部3を第一パイプ材11の挿通孔13及び第二パイプ材12の係止穴14に嵌合させ、連結部2を第一パイプ材11の周方向に嵌合すればよいので、極めて簡便な作業で第一パイプ材11及び第二パイプ材12を連結することができる。
当該パイプ材固定具1は、第一突起部3の先端部6が上端から下端側縁にかけて周方向に傾斜した形状を有しているので、第一パイプ材11及び第二パイプ材12が連結されている状態で、第一パイプ材11を傾斜形状が形成されている方向に回転させるだけでこの連結を極めて容易に解除することができる。
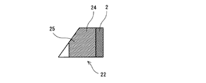
図5のパイプ材固定具21は、連結部2と、第一突起部22と、第二突起部23とを有している。連結部2は、図1のパイプ材固定具1と同様のため、同一番号を付して説明を省略する。
第一突起部22は、連結部2の内面4に形成される。第一突起部22は、連結部2に連結される略円柱状の基部24と、基部24の上方に延設され、上端から下端側縁にかけて周方向に傾斜した形状を有する先端部25とを有している。
先端部25は、図6に示すように、第二パイプ材の挿入方向側において、上端から下端側縁にかけて傾斜した形状を有している。また、先端部25は、第二パイプ材の抜き取り方向側において、径方向と略平行に形成される非傾斜形状を有している。
第一突起部22の高さ及び径は、第一突起部3と同様の大きさとすることができる。また、第一突起部22の材質は、第一突起部3と同様とすることができる。
第二突起部23は、連結部2の内面4に形成される。第二突起部23は、略円柱状に形成されている。第二突起部23は、第一パイプ材の挿通孔のうち、第一突起部22が嵌合される挿通孔と対向して設けられる挿通孔に嵌合される。第二突起部23の径は、第一パイプ材の挿通孔に嵌合される大きさであれば特に限定されない。第二突起部23は、径の大きさが、第一パイプ材の挿通孔の径と等しくなるほど、第一パイプ材と強固に嵌合されることができる。第二突起部23の高さは、嵌合される第一パイプ材の挿通孔の奥行き以下である限り特に限定されないが、この挿通孔の奥行きの1/2以上であることが好ましく、2/3以上であることがさらに好ましい。第二突起部23が上記高さに設定されることで、当該パイプ材固定具21は、第二突起部23により、第一パイプ材の挿通孔を確実に係止することができる。
図7及び図8を参照して、第一パイプ材31及び第二パイプ材32をパイプ材固定具21により連結する手順について説明する。なお、第一パイプ材31及びパイプ材固定具21を第二パイプ材32から取り外す手順は、第一パイプ材11及びパイプ材固定具1を第二パイプ材12から取り外す手順と同様である。従って、第一パイプ材31及びパイプ材固定具21を第二パイプ材32から取り外した状態では、図8(a)に示すように、パイプ材固定具21は第一パイプ材31と連結されている。それゆえ、以下では、パイプ材固定具21が第一パイプ材31とのみ連結された状態で、第二パイプ材32をパイプ材固定具21及び第一パイプ材31に連結する手順について説明する。
なお、当該パイプ材固定具21は、第二突起部23を有しているため、パイプ材固定具21を第一パイプ材31に取り付けるためには、第二突起部23を第一パイプ材31の挿通孔34に嵌合させる必要がある。作業者は、第一突起部22を挿通孔33及び係止穴35に嵌合させたうえで、第二突起部23を挿通孔34に重ね合わせることにより、第二突起部23を挿通孔34に容易に嵌合させることができる。
パイプ材挿入ステップ(STP11)は、第一パイプ材31の挿通孔33及び第二パイプ材32の係止穴35が重なり合うように、第一パイプ材31の開口から第二パイプ材32の一端を挿入するステップである。STP11では、作業者は、第一パイプ材31の開口と第二パイプ材32の一端とを向かい合わせる。次に、作業者は、第一パイプ材31の挿通孔33と第二パイプ材32の係止穴35とが軸方向において重なり合うように、第一パイプ材31及び第二パイプ材32の位置を調整する。さらに、作業者は、第一パイプ材31の挿通孔33と第二パイプ材32の係止穴35とが周方向においても重なり合う位置まで、第二パイプ材32の一端を第一パイプ材31の開口から挿入する。かかる作業により、パイプ材固定具21の第一突起部22は、第二パイプ材32の係止穴35に嵌合され、第一パイプ材31及第二パイプ材32は、パイプ材固定具21により連結される。
具体的には、第一突起部22が挿通孔33に嵌合された状態で基部24は挿通孔33の奥行きよりも小さく設定されているので、第一突起部22のうちで挿通孔33から突出した部分には先端部25が形成されている。そして、先端部25は、第二パイプ材32の挿入方向側において、上端から下端側縁にかけて傾斜した形状を有している。従って、第一パイプ材31の開口から第二パイプ材32の一端を挿入させていくと、先端部25の傾斜面は、先端部25が係止穴35に嵌合されるまで第二パイプ材32の表面を摺動する。それゆえ、当該パイプ材固定具21は、第二パイプ材32の一端を第一パイプ材31の開口から挿入するのみにより、第一パイプ材31及び第二パイプ材32を連結することができる。
なお、当該パイプ材固定具21は、先端部25が第二パイプ材32の抜き取り方向側において、径方向と略平行に形成される非傾斜形状を有しているので、第一パイプ材31及び第二パイプ材32が連結されている状態において、第一パイプ材31と第二パイプ材32とを乖離させる方向に力が加えられてとしても、非傾斜部25と係止穴35とが係合されているので、連結状態を保つことができる。
当該パイプ材固定具21は、先端部25が、第二パイプ材32の挿入方向側において、上端から下端側縁にかけて傾斜した形状を有しているので、予め第一パイプ材31にパイプ材固定具21が取り付けられた状態で、第二パイプ材32を第一パイプ材31の開口から挿入するだけで、第一パイプ材31及び第二パイプ材32を連結することができる。従って、当該パイプ材固定具21は、第一パイプ材31及び第二パイプ材32をさらに容易に連結することができる。また、当該パイプ材固定具21は、常時第一パイプ材31に取り付けられていてもよいので、現場への運搬時等の部品点数を減らすことができ、作業効率をさらに向上させることができる。
当該パイプ材固定具21は、先端部25が、第二パイプ材32の抜き取り方向側において、径方向と略平行に形成される非傾斜形状を有しているので、第一パイプ材31及び第二パイプ材32が連結された状態で第一パイプ材31及び第二パイプ材32を乖離させる方向に力が加えられても、第二パイプ材32の係止穴35が先端部25によって確実に係止されるので、第一パイプ材31及び第二パイプ材32の連結を確実に維持することができる。
当該パイプ材固定具21は、第一パイプ材31の挿通孔34と嵌合される第二突起部23を有しているので、パイプ材固定具21と第一パイプ材31及び第二パイプ材32との連結をさらに強固に維持することができる。
図9のパイプ材固定具41は、連結部2と、第一突起部3と、第二突起部42とを有している。連結部2及び第一突起部3は、図1のパイプ材固定具1と同様のため、同一番号を付して説明を省略する。
パイプ材固定具41は、対向する一対の挿通孔を開口側先端付近に有する第一パイプ材と、この第一パイプ材の開口に挿入された状態でこの一対の挿通孔と重なりあう位置に一対の係止穴を有する第二パイプ材とを連結する固定具である。
第二突起部42は、連結部2の内面4に形成されている。第二突起部42は、第一パイプ材が有する一対の挿通孔のうち第一突起部3が嵌合されない方の挿通孔及びこの挿通孔と重なり合って配置される第二パイプ材の係止穴に嵌合される。第二突起部42は、第一突起部3と同様、連結部2に連結され、第一パイプ材の挿通孔と嵌合される略円柱状の基部43と、基部43の上方に延設され、上端から下端側縁にかけて周方向に傾斜した形状を有する先端部44とを有している。先端部44は、第一突起部3の先端部6が有する傾斜形状と対向する位置に傾斜形状を有している。第二突起部42の大きさ及び材質は、第一突起部3と同様とされている。
図10を参照して、第一パイプ材51及び第二パイプ材52をパイプ材固定具41により連結する手順及び第一パイプ材51及び第二パイプ材52の連結を解除する手順について説明する。
まず、パイプ材固定具41を用いて第一パイプ材51及び第二パイプ材52を連結する手順について説明する。
作業者は、第一パイプ材51の開口と第二パイプ材52の一端とを向かい合わせ、第一パイプ材51の開口から第二パイプ材52の一端を挿入する。そして、作業者は、図10(a)に示すように、第一パイプ材51の挿通孔53と第二パイプ材52の係止穴55、及び第一パイプ材51の挿通孔54と第二パイプ材52の係止穴56とがそれぞれ重なり合うように、第一パイプ材51及び第二パイプ材52の位置関係を調整する。
次に、作業者は、図10(b)に示すように、パイプ材固定具41の第一突起部3を第一パイプ材51の挿通孔53及び第二パイプ材52の係止穴55に嵌合し、パイプ材固定具41の第二突起部42を第一パイプ材51の挿通孔54及び第二パイプ材52の係止穴56に嵌合する。これにより、第一パイプ材51及び第二パイプ材52は、パイプ材固定具41により容易に連結される。
続いて、第一パイプ材51及び第二パイプ材52の連結を解除する手順について説明する。
まず、作業者は、図10(c)に示すように、第一パイプ材51を第二パイプ材52の周方向かつパイプ材固定具41の第一突起部3及び第二突起部42が傾斜形状を有している方向に回転させる。第一突起部3が挿通孔53及び係止穴55に嵌合された状態で基部5は挿通孔53までしか挿入されておらず、かつ第二突起部42が挿通孔54及び係止穴56に嵌合された状態で基部43は挿通孔54までしか挿入されていないので、かかる回転を加えることにより、先端部6の傾斜面及び先端部44の傾斜面は第二パイプ材52の表面を摺動し、第一突起部3と係止穴55との嵌合及び第二突起部42と係止穴56との嵌合は容易に解除される。その結果、第一パイプ材51及びパイプ材固定具41は、極めて容易に第二パイプ材52から取り外される。
なお、作業者が第一パイプ材51を第一突起部3及び第二突起部42の傾斜形状が設けられている方向と逆の方向に回転させようとした場合には、第二パイプ材52の係止穴55と第一突起部3との嵌合を解除することができず、かつ第二パイプ材52の係止穴56と第二突起部42との嵌合も解除されないため、第一パイプ材51を第二パイプ材52から取り外すことはできない。従って、当該パイプ材固定具41は、作業者が意識的に第一パイプ材51を所定の方向に回転させることにより第一パイプ材51と第二パイプ材52との連結を容易に解除することができる一方、不意に周方向に力が加えられた場合でも、第一パイプ材51と第二パイプ材52との連結状態を維持することができる。また、当該パイプ材固定具41は、第一パイプ材51及び第二パイプ材52の軸方向に力が加えられた場合については、第一突起部3が係止穴55に係止され、かつ第二突起部42が係止穴56に係止されているため、第一パイプ材51と第二パイプ材52との連結を確実に保つことができる。
当該パイプ材固定具41は、第一パイプ材51及び第二パイプ材52を第一突起部3及び第二突起部42によりさらに確実に連結することができる。また、当該パイプ材固定具41は、第一パイプ材51及び第二パイプ材52が連結されている状態で、第一パイプ材51を第一突起部3及び第二突起部42の傾斜形状が形成されている方向に回転させるだけでこの連結を極めて容易に解除することができる。
図11のパイプ材固定具61は、連結部2と、第一突起部3と、第二突起部23と、把持部62とを有している。連結部2及び第一突起部3は、図1のパイプ材固定具1と同様であり、第二突起部23は、図5のパイプ材固定具21と同様であるため、同一番号を付して説明を省略する。
把持部62は、連結部2の第二突起部23側の端部から外側に向けて湾曲して延出されている。把持部62は、連結部2と同様の材質により連結部2と一体的に構成されている。把持部62の大きさとしては、特に限定されないが、一般的には親指と人差し指とでつまめる程度とされている。
当該パイプ材固定具61は、第一突起部3を第一パイプ材の挿通孔及び第二パイプ材の係止穴に嵌合させ、さらに把持部62をつまんで第二突起部23を第一パイプ材の他方の挿通孔に嵌合させることで、第一パイプ材及び第二パイプ材を容易に連結することができる。また、当該パイプ材固定具61は、把持部62をつまんで第一パイプ材及び第二パイプ材から容易に取り外すことができる。加えて、当該パイプ材固定具61は、把持部62の大きさを上記程度とすることにより、作業者等が誤って把持部62に接触するという事態を抑制することができ、ひいては、かかる接触に基づいて作業者等が負傷するというおそれを低減することができる。
なお、本発明のパイプ材固定具、パイプ材固定構造及びパイプ材固定方法は、上記態様の他、種々の変更、改良を施した態様で実施することができる。例えば、把持部は、連結部の第一突起部側に設けられていてもよく、連結部の両端に設けられてもよい。先端部の傾斜形状は、必ずしも平面上、湾曲状等滑らかな形状として形成されている必要ななく、例えば複数の階段状に形成されていてもよい。
以上説明したように、本発明のパイプ材固定具、パイプ材固定構造及びパイプ材固定方法は、複数のパイプ材をパイプ材固定具を用いて容易かつ確実に連結することができるとともに、これらのパイプ材の取り外し作業も容易に行うことができる。従って、本発明のパイプ材固定具、パイプ材固定構造及びパイプ材固定方法は、仮設足場や組立てラックに使用されるパイプ材等、種々のパイプ材を連結するのに適している。
1 パイプ材固定具
2 連結部
3 第一突起部
4 内面
5 基部
6 先端部
11 第一パイプ材
12 第二パイプ材
13 挿通孔
14 係止穴
21 パイプ材固定具
22 第一突起部
23 第二突起部
24 基部
25 先端部
31 第一パイプ材
32 第二パイプ材
33 挿通孔
34 挿通孔
35 係止穴
41 パイプ材固定具
42 第二突起部
43 基部
44 先端部
51 第一パイプ材
52 第二パイプ材
53 挿通孔
54 挿通孔
55 係止穴
56 係止穴
61 パイプ材固定具
62 把持部
2 連結部
3 第一突起部
4 内面
5 基部
6 先端部
11 第一パイプ材
12 第二パイプ材
13 挿通孔
14 係止穴
21 パイプ材固定具
22 第一突起部
23 第二突起部
24 基部
25 先端部
31 第一パイプ材
32 第二パイプ材
33 挿通孔
34 挿通孔
35 係止穴
41 パイプ材固定具
42 第二突起部
43 基部
44 先端部
51 第一パイプ材
52 第二パイプ材
53 挿通孔
54 挿通孔
55 係止穴
56 係止穴
61 パイプ材固定具
62 把持部
Claims (7)
- 開口側先端付近に挿通孔を有する第一パイプ材と、上記第一パイプ材の開口に挿入された状態で上記挿通孔と重なり合う位置に係止穴を有する第二パイプ材とを連結するパイプ材固定具であって、
上記第一パイプ材に周方向に嵌合する断面略C字状の連結部と、
上記連結部の内面に形成され、上記挿通孔及びこの挿通孔と重なり合って配置される係止穴に嵌合される第一突起部と
を有し、
上記第一突起部が、
上記挿通孔に嵌合される基部と、
この基部の上方に延設され、上端から下端側縁にかけて周方向に傾斜した形状を有する先端部と
を有するパイプ材固定具。 - 上記先端部が、上記第二パイプ材の挿入方向側において、上端から下端側縁にかけて傾斜した形状を有している請求項1に記載のパイプ材固定具。
- 上記先端部が、上記第二パイプ材の抜き取り方向側において、径方向と略平行に形成される非傾斜形状を有している請求項1又は請求項2に記載のパイプ材固定具。
- 対向する一対の挿通孔を開口側先端付近に有する第一パイプ材と、上記第一パイプ材の開口に挿入された状態で上記一対の挿通孔と重なりあう位置に一対の係止穴を有する第二パイプ材とを連結するパイプ材固定具であって、
上記連結部の内面に形成され、上記一対の挿通孔のうち上記第一突起部が嵌合されない方の挿通孔及びこの挿通孔と重なり合って配置される係止穴に嵌合される第二突起部を有し、
上記第二突起部が、上記第一突起部が有する傾斜形状と対向する位置に傾斜形状を有している請求項1、請求項2又は請求項3に記載のパイプ材固定具。 - 上記連結部の端部から外側に向けて湾曲して延出される把持部を有する請求項1から請求項4のいずれか1項に記載のパイプ材固定具。
- 一又は対向する一対の挿通孔を開口側先端付近に有する第一パイプ材と、上記第一パイプ材の開口に挿入された状態で上記一又は一対の挿通孔と重なり合う位置に係止穴を有する第二パイプ材とが、請求項1から請求項5のいずれか1項に記載のパイプ材固定具を用いて連結されたパイプ材固定構造。
- 開口側先端付近に挿通孔を有する第一パイプ材と、上記第一パイプ材の開口に挿入された状態で上記挿通孔と重なり合う位置に係止穴を有する第二パイプ材とを、請求項1から請求項5の何れか1項に記載のパイプ材固定具によって連結するパイプ材固定方法であって、
上記挿通孔及びこの挿通孔と重なり合って配置される係止穴に上記第一突起部を嵌合する第一嵌合ステップと、
上記連結部を上記第一パイプ材の周方向に嵌合する第二嵌合ステップと
を有するパイプ材固定方法。
Priority Applications (1)
| Application Number | Priority Date | Filing Date | Title |
|---|---|---|---|
| JP2011027530A JP2012167709A (ja) | 2011-02-10 | 2011-02-10 | パイプ材固定具、パイプ材固定構造及びパイプ材固定方法 |
Applications Claiming Priority (1)
| Application Number | Priority Date | Filing Date | Title |
|---|---|---|---|
| JP2011027530A JP2012167709A (ja) | 2011-02-10 | 2011-02-10 | パイプ材固定具、パイプ材固定構造及びパイプ材固定方法 |
Publications (1)
| Publication Number | Publication Date |
|---|---|
| JP2012167709A true JP2012167709A (ja) | 2012-09-06 |
Family
ID=46972059
Family Applications (1)
| Application Number | Title | Priority Date | Filing Date |
|---|---|---|---|
| JP2011027530A Withdrawn JP2012167709A (ja) | 2011-02-10 | 2011-02-10 | パイプ材固定具、パイプ材固定構造及びパイプ材固定方法 |
Country Status (1)
| Country | Link |
|---|---|
| JP (1) | JP2012167709A (ja) |
Cited By (1)
| Publication number | Priority date | Publication date | Assignee | Title |
|---|---|---|---|---|
| CN114788111A (zh) * | 2019-12-26 | 2022-07-22 | 三菱电机大楼技术服务株式会社 | 长条物的固定件以及固定装置 |
-
2011
- 2011-02-10 JP JP2011027530A patent/JP2012167709A/ja not_active Withdrawn
Cited By (2)
| Publication number | Priority date | Publication date | Assignee | Title |
|---|---|---|---|---|
| CN114788111A (zh) * | 2019-12-26 | 2022-07-22 | 三菱电机大楼技术服务株式会社 | 长条物的固定件以及固定装置 |
| CN114788111B (zh) * | 2019-12-26 | 2022-12-20 | 三菱电机楼宇解决方案株式会社 | 长条物的固定件以及固定装置 |
Similar Documents
| Publication | Publication Date | Title |
|---|---|---|
| EP2105619A2 (en) | Small handling pole locking assembly | |
| WO2014050119A1 (ja) | コネクタ | |
| EP2752382A1 (en) | Disc-hoisting tool | |
| KR101589121B1 (ko) | 해양설비의 파이프 인양지그 장치 및 파이프 수직 결합방법 | |
| JP6240033B2 (ja) | 抜け止め付コネクタ | |
| JP2012167709A (ja) | パイプ材固定具、パイプ材固定構造及びパイプ材固定方法 | |
| JP2016205102A (ja) | 足場用安全帯取付具及び先行手摺用支柱部材 | |
| KR101599804B1 (ko) | 관 삽입 확인장치 및 관을 대상물에 연결시키는 방법 | |
| JP2018188865A (ja) | ライナープレートの連結方法 | |
| KR20180030958A (ko) | 파이프 연결구 | |
| JP6235856B2 (ja) | 管体連結装置 | |
| JP2006004791A (ja) | 電気コネクタ用工具及びこれを用いたコネクタ抜去方法 | |
| JP6503944B2 (ja) | 操作棒仮固定器具 | |
| JP7119964B2 (ja) | 結合ピン着脱治具及び結合ピン着脱方法 | |
| KR102556203B1 (ko) | 파이프 연결 고정 핀 장치 | |
| KR101741467B1 (ko) | 비계용 수평재 | |
| JP5139826B2 (ja) | スティックロック | |
| KR20150000802U (ko) | 파이프 리프팅 장치 | |
| JP2011247288A (ja) | 縦配管の配設方法および縦配管用の管継手 | |
| JP5027782B2 (ja) | 鋼管杭の施工用保護具および鋼管杭の施工方法 | |
| JP6597758B2 (ja) | 抜け止め装置及びそれを備える作業機械 | |
| JP2020008121A (ja) | 脱落防止金具 | |
| JP2011106625A (ja) | 管継手 | |
| JP2023183221A (ja) | 脱落防止具 | |
| JP6497140B2 (ja) | 保持具 |
Legal Events
| Date | Code | Title | Description |
|---|---|---|---|
| A300 | Withdrawal of application because of no request for examination |
Free format text: JAPANESE INTERMEDIATE CODE: A300 Effective date: 20140513 |