JP2012166293A - 放電加工液処理装置、および放電加工液処理方法 - Google Patents
放電加工液処理装置、および放電加工液処理方法 Download PDFInfo
- Publication number
- JP2012166293A JP2012166293A JP2011028378A JP2011028378A JP2012166293A JP 2012166293 A JP2012166293 A JP 2012166293A JP 2011028378 A JP2011028378 A JP 2011028378A JP 2011028378 A JP2011028378 A JP 2011028378A JP 2012166293 A JP2012166293 A JP 2012166293A
- Authority
- JP
- Japan
- Prior art keywords
- liquid
- powder
- processing
- workpiece
- treatment
- Prior art date
- Legal status (The legal status is an assumption and is not a legal conclusion. Google has not performed a legal analysis and makes no representation as to the accuracy of the status listed.)
- Withdrawn
Links
- 238000003754 machining Methods 0.000 title claims abstract description 94
- 238000003672 processing method Methods 0.000 title description 2
- 239000007788 liquid Substances 0.000 claims abstract description 169
- 239000000843 powder Substances 0.000 claims abstract description 103
- 238000001914 filtration Methods 0.000 claims abstract description 17
- 238000000034 method Methods 0.000 claims description 64
- 238000007885 magnetic separation Methods 0.000 claims description 18
- 239000000696 magnetic material Substances 0.000 claims description 9
- 239000012530 fluid Substances 0.000 claims description 7
- 239000006148 magnetic separator Substances 0.000 claims description 6
- 238000009760 electrical discharge machining Methods 0.000 claims description 5
- XLYOFNOQVPJJNP-UHFFFAOYSA-N water Substances O XLYOFNOQVPJJNP-UHFFFAOYSA-N 0.000 description 13
- 239000000463 material Substances 0.000 description 6
- 239000002245 particle Substances 0.000 description 4
- 238000000926 separation method Methods 0.000 description 4
- 238000001556 precipitation Methods 0.000 description 3
- 239000000126 substance Substances 0.000 description 3
- 238000005194 fractionation Methods 0.000 description 2
- 239000002184 metal Substances 0.000 description 2
- 239000011812 mixed powder Substances 0.000 description 2
- 241000287462 Phalacrocorax carbo Species 0.000 description 1
- 230000003796 beauty Effects 0.000 description 1
- 230000015556 catabolic process Effects 0.000 description 1
- 238000010891 electric arc Methods 0.000 description 1
- 238000005516 engineering process Methods 0.000 description 1
- 239000000284 extract Substances 0.000 description 1
- 230000005484 gravity Effects 0.000 description 1
- 238000003801 milling Methods 0.000 description 1
- 239000000203 mixture Substances 0.000 description 1
- 238000011084 recovery Methods 0.000 description 1
- 239000002699 waste material Substances 0.000 description 1
Images
Landscapes
- Electrical Discharge Machining, Electrochemical Machining, And Combined Machining (AREA)
Abstract
【課題】加工液中の電極粉と被加工物粉とを確実に分別して収集することで、処理コストの低減を図ることができる。
【解決手段】加工液W0に対して分級処理を施すことで、加工液W0を、電極粉14を主体とする第1処理液W1、被加工物粉13を主体とする第2処理液W2、及び電極粉14と被加工物粉13とが混在する第3処理液W3に分離する分級部2と、第1処理液W1に対してフィルタ処理を行う第1フィルタ部3と、第2処理液W2に対してフィルタ処理を行う第2フィルタ部4と、第3処理液W3に対して磁選処理を施す磁選部5と、磁選処理後の第3処理液W3´に対してフィルタ処理を行う第3フィルタ部6と、第1フィルタ部3、第2フィルタ部4及び第3フィルタ部6から液体を回収して加工槽12に還元させる加工液供給槽7とを備え、加工槽12内の加工液W0から被加工物粉13及び電極粉14を回収する放電加工液処理装置1を提供する。
【選択図】図1
【解決手段】加工液W0に対して分級処理を施すことで、加工液W0を、電極粉14を主体とする第1処理液W1、被加工物粉13を主体とする第2処理液W2、及び電極粉14と被加工物粉13とが混在する第3処理液W3に分離する分級部2と、第1処理液W1に対してフィルタ処理を行う第1フィルタ部3と、第2処理液W2に対してフィルタ処理を行う第2フィルタ部4と、第3処理液W3に対して磁選処理を施す磁選部5と、磁選処理後の第3処理液W3´に対してフィルタ処理を行う第3フィルタ部6と、第1フィルタ部3、第2フィルタ部4及び第3フィルタ部6から液体を回収して加工槽12に還元させる加工液供給槽7とを備え、加工槽12内の加工液W0から被加工物粉13及び電極粉14を回収する放電加工液処理装置1を提供する。
【選択図】図1
Description
本発明は、放電加工液処理装置、および放電加工液処理方法に関する。
従来、放電現象を利用して被工作物を加工する技術では、純水等絶縁性の加工液中で工作物と電極棒との距離を近付けることにより絶縁破壊を生じさせ、パルス性アーク放電を繰り返すことで加工を行うことが知られている。また、ドリルやフライス等の回転体の工具による切削加工が適さない加工条件においては、放電加工が用いられている。
このような放電よる加工では、加工槽で行う放電加工に伴って電極粉と被加工物粉とが発生する。そのため、発生した加工粉は、放電加工を行ううえで精度不良を招くおそれがあることから、加工槽とは別で設ける加工液供給装置を用いて放電加工に伴って生じる電極粉と被加工物粉を加工液から分離して廃棄している(例えば、特許文献1参照)。
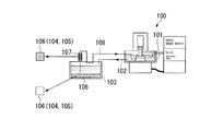
図2は、特許文献1で開示されているような従来の放電加工液処理装置の構造を示す一例である。図2に示す放電加工液処理装置100は、加工槽101の底の部分から加工液102を抜き取って加工液供給装置の沈殿槽103へ送水し、この沈殿槽103の底に沈殿した電極粉104と被加工物粉105との混合粉106を廃棄し、沈殿後の上層の処理液をフィルタ107を用いて濾過し、その濾過によって得られた電極粉104と被加工物粉105の混合粉106を廃棄するとともに、濾過後の処理液108を加工液として加工槽101へ戻して再利用する構成となっている。
しかしながら、従来の放電加工液処理装置においては、以下のような問題があった。
すなわち、図2に示す放電加工液処理装置100では、沈殿槽103で沈殿させる物質、およびフィルタ107を用いた濾過によって得られた物質は、電極粉104と被加工物粉105が混在しており、再利用には適さない物質であるため、コストがかかるスクラップとして廃棄されており、処理費用が増大するといった問題があることから、その点で改良の余地があった。
すなわち、図2に示す放電加工液処理装置100では、沈殿槽103で沈殿させる物質、およびフィルタ107を用いた濾過によって得られた物質は、電極粉104と被加工物粉105が混在しており、再利用には適さない物質であるため、コストがかかるスクラップとして廃棄されており、処理費用が増大するといった問題があることから、その点で改良の余地があった。
本発明は、上述する問題点に鑑みてなされたもので、加工液中の電極粉と被加工物粉とを確実に分別して収集することで、処理コストの低減を図ることができる放電加工液処理装置、および放電加工液処理方法を提供することを目的とする。
上記目的を達成するため、本発明に係る放電加工液処理装置では、磁性体からなる被加工物に対して非磁性体からなる電極により放電加工が施される加工槽内の加工液から、被加工物粉及び電極粉を回収する放電加工液処理装置であって、加工液が導入され、加工液に対して分級処理を施すことで、加工液を、電極粉を主体とする第1処理液、被加工物粉を主体とする第2処理液、及び電極粉と被加工物粉とが混在する第3処理液に分離する分級部と、第1処理液が導入され、第1処理液に対してフィルタ処理を行う第1フィルタ部と、第2処理液が導入され、第2処理液に対してフィルタ処理を行う第2フィルタ部と、第3処理液が導入され、第3処理液に対して磁選処理を施す磁選部と、磁選処理後の第3処理液に対してフィルタ処理を行う第3フィルタ部と、第1フィルタ部、第2フィルタ部及び第3フィルタ部から液体を回収して加工槽に還元させる循環部と、を備えることを特徴としている。
また、本発明に係る放電加工液処理方法では、磁性体からなる被加工物に対して非磁性体からなる電極により放電加工が施される加工槽内の加工液から、被加工物粉及び電極粉を回収する放電加工液処理方法であって、加工液が導入され、加工液に対して分級処理を施すことで、加工液を、電極粉を主体とする第1処理液、被加工物粉を主体とする第2処理液、及び電極粉と被加工物粉とが混在する第3処理液に分離する工程と、第1処理液が導入され、第1処理液に対してフィルタ処理を行う工程と、第2処理液が導入され、第2処理液に対してフィルタ処理を行う工程と、第3処理液が導入され、第3処理液に対して磁選処理を施す工程と、磁選処理後の第3処理液に対してフィルタ処理を行う工程と、第1フィルタ部、第2フィルタ部及び第3フィルタ部から液体を回収して加工槽に還元させる工程と、を有することを特徴としている。
本発明では、加工液を分級処理によって電極粉と被加工物粉のそれぞれに1次分別処理し、その一次分別処理によって分別されない電極粉と被加工物粉とが混在した第3処理液を磁選処理とフィルタ処理を施す2次分別処理を行う二段階の処理によって被加工物粉と電極粉を回収する方法となるので、より精度良く、確実な分別を行うことができる。そして、分別収集された電極粉と被加工物粉は、それぞれ互いに混在した物質ではないので、再利用が可能となる。つまり、放電加工時に発生する被加工物粉からワーク材である金属を再度回収することができる。
本発明の放電加工液処理装置、および放電加工液処理方法によれば、加工液中の電極粉と被加工物粉とを確実に分別して収集することで、電極粉と被加工物粉とが混在する状態をなくすことができ、収集した電極粉と被加工物粉のそれぞれを再利用することが可能となり、廃棄する量が減らせることから処理コストの低減を図ることができる。
以下、本発明の実施の形態による放電加工液処理装置、および放電加工液処理方法について、図面に基づいて説明する。
図1に示すように、本実施の形態による放電加工液処理装置1は、インペラ等の放電加工に用いられ、加工機本体10において、磁性体からなる被加工物Pに対して非磁性体からなる電極11により放電加工が施される加工槽12内の加工液W0から、粒子状で排出される被加工物粉13及び電極粉14を回収するためのものである。加工機本体10は、前記加工槽12が設けられ、この加工槽12中に被加工物Pを載せるためのテーブル15が配置され、さらに電極11の電源となる放電制御部16が設けられている。
図1に示すように、本実施の形態による放電加工液処理装置1は、インペラ等の放電加工に用いられ、加工機本体10において、磁性体からなる被加工物Pに対して非磁性体からなる電極11により放電加工が施される加工槽12内の加工液W0から、粒子状で排出される被加工物粉13及び電極粉14を回収するためのものである。加工機本体10は、前記加工槽12が設けられ、この加工槽12中に被加工物Pを載せるためのテーブル15が配置され、さらに電極11の電源となる放電制御部16が設けられている。
図1の放電加工液処理装置1において、符号2は分級部、符号3は第1フィルタ部、符号4は第2フィルタ部、符号5は磁選部、符号6は第3フィルタ部、符号7は加工液供給槽(循環部)をそれぞれ示している。
放電加工液処理装置1の各設備の配置として、分級部2は加工槽12の下流側に設けられ、分級部2の下流側に第1フィルタ部3、第2フィルタ部4、及び磁選部5がそれぞれ別々に接続され、磁選部5の下流側には第3フィルタ部6が接続され、第1フィルタ部3、第2フィルタ部4、及び第3フィルタ部6のそれぞれの下流側に加工液供給槽7が配置されている。
放電加工液処理装置1の各設備の配置として、分級部2は加工槽12の下流側に設けられ、分級部2の下流側に第1フィルタ部3、第2フィルタ部4、及び磁選部5がそれぞれ別々に接続され、磁選部5の下流側には第3フィルタ部6が接続され、第1フィルタ部3、第2フィルタ部4、及び第3フィルタ部6のそれぞれの下流側に加工液供給槽7が配置されている。
分級部2は、本実施の形態ではサイクロン分級機20が採用されており、加工槽12より加工液W0が導入され、この加工液W0に対して分級処理を施すことで、加工液W0を、電極粉14を主体とする第1処理液W1、被加工物粉13を主体とする第2処理液W2、及び電極粉14と被加工物粉13とが混在する第3処理液W3に分離する構成となっている。
サイクロン分級機20は、加工槽12中の被加工物粉13や電極粉14が含まれている加工液W0が投入されると、含有される被加工物粉13や電極粉14の比重、或いは粒径に基づいて3段階に分級することが可能となっている。例えば、高濃度の電極粉14の粒子を多く含有した加工液(第1処理液W1)と、被加工物粉13の粒子を多く含有した加工液(第2処理液W2)とが分別され、さらにそれら両方のいずれにも分別されない加工液(第3処理液W3)との3種の処理液に分離される。
第1フィルタ部3は、サイクロン分級機20で分離した第1処理液W1が導入され、この第1処理液W1に対してフィルタ処理を行い、濾過によって水と分離された電極粉14を回収するとともに、このフィルタ処理後の循環水W4を加工液供給槽7へ送水する構成となっている。
第2フィルタ部4は、サイクロン分級機20で分離した第2処理液W2が導入され、この第2処理液W2に対してフィルタ処理を行い、濾過によって水と分離された被加工物粉13を回収するとともに、このフィルタ処理後の循環水W4を加工液供給槽7へ送水する構成となっている。
磁選部5は、磁選装置50を用い、サイクロン分級機20で分離した第3処理液W3が導入され、この第3処理液W3に対して磁選処理を施すことで、被加工物粉13のみを回収し、電磁粉14のみを含んだ処理液を下流側に配置される第3フィルタ部6へ送る構成となっている。なお、磁選装置50は、強力なマグネットを備え、その磁力により被加工物粉13を回収するための装置である。
第3フィルタ部6は、磁選部5による磁選処理後の第3処理液W3´が導入され、この第3処理液W3´に対してフィルタ処理を行い、濾過によって水と分離された電磁粉14を回収するとともに、このフィルタ処理後の循環水W4を加工液供給槽7へ送水する構成となっている。
加工液供給槽7は、第1フィルタ部3、第2フィルタ部4及び第3フィルタ部6から循環水W4を回収して加工槽12に還元させるためのものである。
次に、上述したように構成された放電加工液処理装置1の作用と放電加工液処理方法とについて、図面に基づいて説明する。
図1に示すように、放電加工液処理装置1において、先ず加工槽12中の加工液W0が分級部2のサイクロン分級機20内に導入され、加工液W0に対して分級処理が施される。これにより、加工液W0は、電極粉14を主体とする第1処理液W1、被加工物粉13を主体とする第2処理液W2、及び電極粉14と被加工物粉13とが混在する第3処理液W3に分離される。
図1に示すように、放電加工液処理装置1において、先ず加工槽12中の加工液W0が分級部2のサイクロン分級機20内に導入され、加工液W0に対して分級処理が施される。これにより、加工液W0は、電極粉14を主体とする第1処理液W1、被加工物粉13を主体とする第2処理液W2、及び電極粉14と被加工物粉13とが混在する第3処理液W3に分離される。
次いで、第1フィルタ部3において、分級部2で分別された第1処理液W1が導入され、この第1処理液W1に対してフィルタ処理が施され、電磁粉14のみが収集されるとともに、循環水W4が加工液供給槽7へ送られて回収される。
一方、第2フィルタ部4において、分級部2で分別された第2処理液W2が導入され、第2処理液W2に対してフィルタ処理が施され、被加工物粉13のみが収集されるとともに、循環水W4が加工液供給槽7へ送られて回収される。
一方、第2フィルタ部4において、分級部2で分別された第2処理液W2が導入され、第2処理液W2に対してフィルタ処理が施され、被加工物粉13のみが収集されるとともに、循環水W4が加工液供給槽7へ送られて回収される。
また、磁選部5において、分級部2で分別された第3処理液W3が導入され、この第3処理液W3に対して磁選処理が施され、被加工物粉13のみが回収され、磁選処理後の第3処理液W3´が第3フィルタ部6へ送られる。
次に、第3フィルタ部6において、磁選処理後の第3処理液W3´が導入され、この第3処理液W3´に対してフィルタ処理が施され、電極粉14のみが収集されるとともに、循環水W4が加工液供給槽7へ送られて回収される。
次に、第3フィルタ部6において、磁選処理後の第3処理液W3´が導入され、この第3処理液W3´に対してフィルタ処理が施され、電極粉14のみが収集されるとともに、循環水W4が加工液供給槽7へ送られて回収される。
そして、加工液供給槽7内に回収された循環水W4は、再び加工槽12に還元されることになる。
このように本放電加工液処理装置1では、加工液W0を分級処理によって電極粉14と被加工物粉13のそれぞれに1次分別処理し、その一次分別処理によって分別されない電極粉14と被加工物粉13とが混在した第3処理液W3を磁選処理とフィルタ処理を施す2次分別処理を行う二段階の処理によって電極粉14と被加工物粉13を回収する方法となるので、より精度良く、確実な分別を行うことができる。
そして、分別収集された電極粉14と被加工物粉13は、それぞれ互いに混在した物質ではないので、再利用が可能となる。つまり、放電加工時に発生する被加工物粉13からワーク材である金属を再度回収することができる。
そして、分別収集された電極粉14と被加工物粉13は、それぞれ互いに混在した物質ではないので、再利用が可能となる。つまり、放電加工時に発生する被加工物粉13からワーク材である金属を再度回収することができる。
上述した本実施の形態による放電加工液処理装置、および放電加工液処理方法では、加工液中の電極粉14と被加工物粉13とを確実に分別して収集することで、電極粉14と被加工物粉13とが混在する状態をなくすことができ、収集した電極粉14と被加工物粉13のそれぞれを再利用することが可能となり、廃棄する量が減らせることから処理コストの低減を図ることができる。
以上、本発明による放電加工液処理装置、および放電加工液処理方法の実施の形態について説明したが、本発明は上記の実施の形態に限定されるものではなく、その趣旨を逸脱しない範囲で適宜変更可能である。
例えば、本実施の形態では分級部2における分級処理にサイクロン分級機20を採用しているが、これに制限されることはなく、他の分級手段を用いても良い。
例えば、本実施の形態では分級部2における分級処理にサイクロン分級機20を採用しているが、これに制限されることはなく、他の分級手段を用いても良い。
また、分級部2へ導入する加工槽12内の加工液W0の処理量は、分級部の分級処理能力や各フィルタ部3、4、6の濾過能力、電極11や被加工物Pの材質などの条件に応じて適宜設定することが可能である。
その他、本発明の趣旨を逸脱しない範囲で、上記した実施の形態における構成要素を周知の構成要素に置き換えることは適宜可能である。
その他、本発明の趣旨を逸脱しない範囲で、上記した実施の形態における構成要素を周知の構成要素に置き換えることは適宜可能である。
1 放電加工液処理装置
2 分級部
3 第1フィルタ部
4 第2フィルタ部
5 磁選部
6 第3フィルタ部
7 加工液供給槽(循環部)
10 加工機本体
11 電極
12 加工槽
13 被加工物粉
14 電極粉
20 サイクロン分級機
50 磁選機
P 被加工物
W0 加工液
W1 第1処理液
W2 第2処理液
W3 第3処理液
W4 循環水
2 分級部
3 第1フィルタ部
4 第2フィルタ部
5 磁選部
6 第3フィルタ部
7 加工液供給槽(循環部)
10 加工機本体
11 電極
12 加工槽
13 被加工物粉
14 電極粉
20 サイクロン分級機
50 磁選機
P 被加工物
W0 加工液
W1 第1処理液
W2 第2処理液
W3 第3処理液
W4 循環水
Claims (2)
- 磁性体からなる被加工物に対して非磁性体からなる電極により放電加工が施される加工槽内の加工液から、被加工物粉及び電極粉を回収する放電加工液処理装置であって、
前記加工液が導入され、該加工液に対して分級処理を施すことで、該加工液を、前記電極粉を主体とする第1処理液、前記被加工物粉を主体とする第2処理液、及び前記電極粉と前記被加工物粉とが混在する第3処理液に分離する分級部と、
前記第1処理液が導入され、該第1処理液に対してフィルタ処理を行う第1フィルタ部と、
前記第2処理液が導入され、該第2処理液に対してフィルタ処理を行う第2フィルタ部と、
前記第3処理液が導入され、該第3処理液に対して磁選処理を施す磁選部と、
磁選処理後の前記第3処理液に対してフィルタ処理を行う第3フィルタ部と、
前記第1フィルタ部、前記第2フィルタ部及び前記第3フィルタ部から液体を回収して前記加工槽に還元させる循環部と、
を備えることを特徴とする放電加工液処理装置。 - 磁性体からなる被加工物に対して非磁性体からなる電極により放電加工が施される加工槽内の加工液から、被加工物粉及び電極粉を回収する放電加工液処理方法であって、
前記加工液が導入され、該加工液に対して分級処理を施すことで、該加工液を、前記電極粉を主体とする第1処理液、前記被加工物粉を主体とする第2処理液、及び前記電極粉と前記被加工物粉とが混在する第3処理液に分離する工程と、
前記第1処理液が導入され、該第1処理液に対してフィルタ処理を行う工程と、
前記第2処理液が導入され、該第2処理液に対してフィルタ処理を行う工程と、
前記第3処理液が導入され、該第3処理液に対して磁選処理を施す工程と、
磁選処理後の前記第3処理液に対してフィルタ処理を行う工程と、
前記第1フィルタ部、前記第2フィルタ部及び前記第3フィルタ部から液体を回収して前記加工槽に還元させる工程と、
を有することを特徴とする放電加工液処理方法。
Priority Applications (1)
| Application Number | Priority Date | Filing Date | Title |
|---|---|---|---|
| JP2011028378A JP2012166293A (ja) | 2011-02-14 | 2011-02-14 | 放電加工液処理装置、および放電加工液処理方法 |
Applications Claiming Priority (1)
| Application Number | Priority Date | Filing Date | Title |
|---|---|---|---|
| JP2011028378A JP2012166293A (ja) | 2011-02-14 | 2011-02-14 | 放電加工液処理装置、および放電加工液処理方法 |
Publications (1)
| Publication Number | Publication Date |
|---|---|
| JP2012166293A true JP2012166293A (ja) | 2012-09-06 |
Family
ID=46970970
Family Applications (1)
| Application Number | Title | Priority Date | Filing Date |
|---|---|---|---|
| JP2011028378A Withdrawn JP2012166293A (ja) | 2011-02-14 | 2011-02-14 | 放電加工液処理装置、および放電加工液処理方法 |
Country Status (1)
| Country | Link |
|---|---|
| JP (1) | JP2012166293A (ja) |
Cited By (1)
| Publication number | Priority date | Publication date | Assignee | Title |
|---|---|---|---|---|
| CN103752964A (zh) * | 2013-12-25 | 2014-04-30 | 青岛科技大学 | 电火花加工工作液循环处理回收系统及处理回收方法 |
-
2011
- 2011-02-14 JP JP2011028378A patent/JP2012166293A/ja not_active Withdrawn
Cited By (1)
| Publication number | Priority date | Publication date | Assignee | Title |
|---|---|---|---|---|
| CN103752964A (zh) * | 2013-12-25 | 2014-04-30 | 青岛科技大学 | 电火花加工工作液循环处理回收系统及处理回收方法 |
Similar Documents
| Publication | Publication Date | Title |
|---|---|---|
| US11130141B2 (en) | System and method for recovering glass and metal from a mixed waste stream | |
| JPH05502187A (ja) | 装置のスクラップを活用する方法とその装置 | |
| CN107442549A (zh) | 一种废弃电路板中有价组分的干法分选回收工艺 | |
| CN108514949B (zh) | 一种细粒钛铁矿的回收方法 | |
| EP3325167B1 (en) | System and method for recovering desired materials from fines in incinerator ash | |
| TW201430140A (zh) | 使用研磨迴路、乾式脫泥及乾式或混合式(乾式及濕式)濃縮的鐵礦濃縮方法 | |
| RU2606900C1 (ru) | Способ комплексного обогащения редкометалльных руд | |
| JP6785243B2 (ja) | 使用済み電子回路基板のリサイクル方法およびそのリサイクル方法を実施するためのシステム | |
| EP3325166B1 (en) | System and method for recovering desired materials and producing clean aggregate from incinerator ash | |
| CN104475426A (zh) | 一种废钢铁加工回收方法 | |
| JP2012166293A (ja) | 放電加工液処理装置、および放電加工液処理方法 | |
| JPH1057927A (ja) | 複合廃棄物の処理方法 | |
| CN105435958B (zh) | 一种钪矿原生矿的选矿富集方法 | |
| CN102228862B (zh) | 鞍山式铁尾矿回收新工艺 | |
| KR101536761B1 (ko) | Pcb 스크랩 구리 추출장치 | |
| JP2018167246A (ja) | 部品付プリント基板の処理方法及び部品付プリント基板からの有価金属の回収方法 | |
| JP6271392B2 (ja) | 研磨屑からの有価金属の回収方法 | |
| CN111886350B (zh) | 电子电气设备部件屑的处理方法 | |
| JP2017154134A (ja) | プリント基板屑の粉砕方法及びプリント基板屑からの有価金属の回収方法 | |
| EP3950154A1 (en) | Method for processing electronic/electrical device component scraps | |
| CN113893939B (zh) | 一种废铝破碎分选系统及方法 | |
| US20180141056A1 (en) | Apparatus and process for removing contaminants from solid materials | |
| US20240246089A1 (en) | System and Method for Enhanced Separation and Recovery of Heavy Metals and Rare Earth Elements from Electronic Waste, Mining Residues, and Sediments Using Electronic Charge, Magnetic Beads, and Bubble Mechanisms | |
| RU2756444C1 (ru) | Способ комплексного обогащения россыпей и/или техногенных образований благородных металлов и линия комплексного обогащения россыпей и/или техногенных образований благородных металлов | |
| Yazici et al. | Recovery of base and precious metals from scrap TV boards using zig-zag air separator |
Legal Events
| Date | Code | Title | Description |
|---|---|---|---|
| A300 | Withdrawal of application because of no request for examination |
Free format text: JAPANESE INTERMEDIATE CODE: A300 Effective date: 20140513 |