JP2012109821A - パッチアンテナの実装方法 - Google Patents

パッチアンテナの実装方法 Download PDF

Info

Publication number
JP2012109821A
JP2012109821A JP2010257387A JP2010257387A JP2012109821A JP 2012109821 A JP2012109821 A JP 2012109821A JP 2010257387 A JP2010257387 A JP 2010257387A JP 2010257387 A JP2010257387 A JP 2010257387A JP 2012109821 A JP2012109821 A JP 2012109821A
Authority
JP
Japan
Prior art keywords
power supply
patch antenna
pin
supply pin
solder
Prior art date
Legal status (The legal status is an assumption and is not a legal conclusion. Google has not performed a legal analysis and makes no representation as to the accuracy of the status listed.)
Pending
Application number
JP2010257387A
Other languages
English (en)
Japanese (ja)
Other versions
JP2012109821A5 (enExample
Inventor
Hiroyuki Fujiwara
宏之 藤原
Current Assignee (The listed assignees may be inaccurate. Google has not performed a legal analysis and makes no representation or warranty as to the accuracy of the list.)
Casio Computer Co Ltd
Original Assignee
Casio Computer Co Ltd
Priority date (The priority date is an assumption and is not a legal conclusion. Google has not performed a legal analysis and makes no representation as to the accuracy of the date listed.)
Filing date
Publication date
Application filed by Casio Computer Co Ltd filed Critical Casio Computer Co Ltd
Priority to JP2010257387A priority Critical patent/JP2012109821A/ja
Priority to US13/282,565 priority patent/US8830127B2/en
Priority to CN201110369569.1A priority patent/CN102569982B/zh
Publication of JP2012109821A publication Critical patent/JP2012109821A/ja
Publication of JP2012109821A5 publication Critical patent/JP2012109821A5/ja
Pending legal-status Critical Current

Links

Images

Landscapes

  • Waveguide Aerials (AREA)
JP2010257387A 2010-11-18 2010-11-18 パッチアンテナの実装方法 Pending JP2012109821A (ja)

Priority Applications (3)

Application Number Priority Date Filing Date Title
JP2010257387A JP2012109821A (ja) 2010-11-18 2010-11-18 パッチアンテナの実装方法
US13/282,565 US8830127B2 (en) 2010-11-18 2011-10-27 Patch antenna and method of mounting the same
CN201110369569.1A CN102569982B (zh) 2010-11-18 2011-11-15 贴片天线及其安装方法

Applications Claiming Priority (1)

Application Number Priority Date Filing Date Title
JP2010257387A JP2012109821A (ja) 2010-11-18 2010-11-18 パッチアンテナの実装方法

Publications (2)

Publication Number Publication Date
JP2012109821A true JP2012109821A (ja) 2012-06-07
JP2012109821A5 JP2012109821A5 (enExample) 2012-07-19

Family

ID=46494961

Family Applications (1)

Application Number Title Priority Date Filing Date
JP2010257387A Pending JP2012109821A (ja) 2010-11-18 2010-11-18 パッチアンテナの実装方法

Country Status (1)

Country Link
JP (1) JP2012109821A (enExample)

Cited By (3)

* Cited by examiner, † Cited by third party
Publication number Priority date Publication date Assignee Title
JP2014179824A (ja) * 2013-03-15 2014-09-25 Casio Comput Co Ltd パッチアンテナの実装方法
CN108470559A (zh) * 2018-04-25 2018-08-31 昆山海旭科技电子有限公司中山分公司 一种smd蜂鸣器
US20220152716A1 (en) * 2020-11-19 2022-05-19 Ting-Jui Wang Soldering component and method of assembling soldering component to object

Citations (2)

* Cited by examiner, † Cited by third party
Publication number Priority date Publication date Assignee Title
JP2005260875A (ja) * 2004-03-15 2005-09-22 Yokowo Co Ltd 表面実装型パッチアンテナおよびその実装方法
JP2008078895A (ja) * 2006-09-20 2008-04-03 Mitsumi Electric Co Ltd アンテナ装置

Patent Citations (2)

* Cited by examiner, † Cited by third party
Publication number Priority date Publication date Assignee Title
JP2005260875A (ja) * 2004-03-15 2005-09-22 Yokowo Co Ltd 表面実装型パッチアンテナおよびその実装方法
JP2008078895A (ja) * 2006-09-20 2008-04-03 Mitsumi Electric Co Ltd アンテナ装置

Cited By (3)

* Cited by examiner, † Cited by third party
Publication number Priority date Publication date Assignee Title
JP2014179824A (ja) * 2013-03-15 2014-09-25 Casio Comput Co Ltd パッチアンテナの実装方法
CN108470559A (zh) * 2018-04-25 2018-08-31 昆山海旭科技电子有限公司中山分公司 一种smd蜂鸣器
US20220152716A1 (en) * 2020-11-19 2022-05-19 Ting-Jui Wang Soldering component and method of assembling soldering component to object

Similar Documents

Publication Publication Date Title
CN101944661B (zh) 用于电导体与电路板的连接元件
US20090289352A1 (en) Semiconductor device and a method for manufacturing the semiconductor device
US8009109B2 (en) Internal antenna having surface-mounted receptacle
JP2011204451A (ja) コネクタユニット、及び、電子回路装置
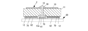
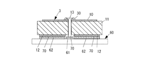
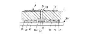
JP2012109821A (ja) パッチアンテナの実装方法
JP6136401B2 (ja) パッチアンテナの実装方法
CN102569982B (zh) 贴片天线及其安装方法
JPH10313089A (ja) 電子部品およびその実装構造
US20080143635A1 (en) Retainer for Retaining a Coaxial Cable on a Planar Antenna
KR101238416B1 (ko) Led모듈
JP2012109822A (ja) パッチアンテナ及びその実装方法
US7503815B2 (en) IC socket with terminal
JP2012109821A5 (enExample)
US20150250048A1 (en) Grounding structure for circuit board
JPH09260933A (ja) パッチアンテナの給電ピン装着方法
JP3203085U (ja) Dc/dcコンバータモジュール
JP2012109822A5 (enExample)
JP2003017940A (ja) 表面実装型高安定圧電発振器
CN104685722B (zh) 电路基板的接地构造
JP2008311024A (ja) Icソケット
JP4469403B2 (ja) 電子機器におけるプリント基板のアース方法及びアース構造
JP2008236014A (ja) アンテナ構造およびそれを備えた無線通信装置
JP4141518B2 (ja) 回路基板
JP2006100473A (ja) 印刷配線基板用クリップ、及び該クリップに挿嵌される構造物
TWI357181B (en) Connector for printed circuit boards and machine h

Legal Events

Date Code Title Description
A521 Written amendment

Free format text: JAPANESE INTERMEDIATE CODE: A523

Effective date: 20120409

A621 Written request for application examination

Free format text: JAPANESE INTERMEDIATE CODE: A621

Effective date: 20120409

A977 Report on retrieval

Free format text: JAPANESE INTERMEDIATE CODE: A971007

Effective date: 20120809

A131 Notification of reasons for refusal

Free format text: JAPANESE INTERMEDIATE CODE: A131

Effective date: 20120904

A521 Written amendment

Free format text: JAPANESE INTERMEDIATE CODE: A523

Effective date: 20121105

A02 Decision of refusal

Free format text: JAPANESE INTERMEDIATE CODE: A02

Effective date: 20121204