JP2012024935A - 卓上切断機 - Google Patents
卓上切断機 Download PDFInfo
- Publication number
- JP2012024935A JP2012024935A JP2010162728A JP2010162728A JP2012024935A JP 2012024935 A JP2012024935 A JP 2012024935A JP 2010162728 A JP2010162728 A JP 2010162728A JP 2010162728 A JP2010162728 A JP 2010162728A JP 2012024935 A JP2012024935 A JP 2012024935A
- Authority
- JP
- Japan
- Prior art keywords
- distance meter
- laser distance
- workpiece
- laser
- contact
- Prior art date
- Legal status (The legal status is an assumption and is not a legal conclusion. Google has not performed a legal analysis and makes no representation as to the accuracy of the status listed.)
- Pending
Links
Images
Landscapes
- Sawing (AREA)
Abstract
【課題】被加工材を所望長さに正確かつ作業性良く切断することができる新たな卓上切断機を提供する。
【解決手段】ベース部10の定規部材11に、レーザ距離計40を設置するためのレーザ距離計設置部材12がボルト13、13により固定されており、レーザ距離計設置部材12は、丸鋸刃31による被加工材20の切断端面と同一平面からなるレーザ距離計当接部12aを有している。被加工材20の寸法基準面20a側には、寸法基準面20aに当接面25bを当接させた状態で、被加工材20を挟持することで設置される検知部材25が設けられており、検知部材25は、当接面25bと同一の平面からなり、レーザ距離計20により計測されるレーザ距離計検知面25aを有している。
【選択図】 図2
【解決手段】ベース部10の定規部材11に、レーザ距離計40を設置するためのレーザ距離計設置部材12がボルト13、13により固定されており、レーザ距離計設置部材12は、丸鋸刃31による被加工材20の切断端面と同一平面からなるレーザ距離計当接部12aを有している。被加工材20の寸法基準面20a側には、寸法基準面20aに当接面25bを当接させた状態で、被加工材20を挟持することで設置される検知部材25が設けられており、検知部材25は、当接面25bと同一の平面からなり、レーザ距離計20により計測されるレーザ距離計検知面25aを有している。
【選択図】 図2
Description
本発明は、木材等の被加工材を所望の長さに切断できる卓上切断機に関するものである。
従来の卓上切断機においては、ベース部上に保持された木材等の被加工材を、ベース部上方に設けられ、上下に揺動する本体部の丸鋸刃により切断していた。被加工材を所望の長さに切断する場合、一般的にはケガキ線による方法が行われていた。すなわち予め定規等を用いて、被加工材の寸法基準面からの距離を測定することで、所望の長さの切断位置にケガキ線を引き、このケガキ線の位置を丸鋸刃が切断するように、ベース部上で被加工材の位置を調整した後、ベース部上に被加工材を保持させて切断を行っていた。
また、上記のケガキ線による方法の改良技術を開示する先行技術文献として、例えば下記特許文献1が存在している。
ところで、上述のケガキ線による方法では、定規等を用いて被加工材の寸法基準面から距離を測定するため、測定誤差が発生することがあった。またケガキ線を引く作業においても、誤差が発生することがあり、このため作業者は、被加工材を所望の長さよりわずかに長く切断し、その後設置位置に合うように確認しながら、切断した被加工材の長さを追加加工により調整していた。このため作業効率が著しく低下していた。
また、上記特許文献1においては、卓上切断機のベース部(特許文献1においては基台)に連結された傍台に、丸鋸刃による被加工材の切断端面を零点とする目盛り指標と、目盛り指標上の任意の位置で固定可能なストッパを有する構成により、ストッパを所望の切断長さの目盛り指標上で固定し、被加工材の寸法基準面をストッパに当接させた状態で切断する手段が開示されているが、傍台の連結部の誤差、目盛り指標の誤差およびストッパ固定位置の誤差が発生するため、上記ケガキ線による方法の場合と同様に、作業者は、被加工材を所望の長さよりわずかに長く切断し、その後設置位置に合うように確認しながら、被加工材の長さを追加加工により調整していた。このため作業効率が著しく低下していた。
それゆえに本発明は上記問題を解決するためになされたもので、その目的は、被加工材を所望長さに正確かつ作業性良く切断することができる新たな卓上切断機を提供することである。
本発明に係る卓上切断機は、被加工材を載置するベース部と、前記ベース部に載置された前記被加工材を切断する丸鋸刃を有する本体部と、を備える卓上切断機であって、前記ベース部に設けられ、前記丸鋸刃による前記被加工材の切断端面と同一平面からなり、レーザ距離計の測定基準面を当接させるレーザ距離計当接部を有するレーザ距離計設置部材と、前記ベース部に載置された前記被加工材の寸法基準面に当接し、前記寸法基準面と同一平面からなり、前記レーザ距離計設置部材に前記測定基準面を当接させて設置された前記レーザ距離計により計測されるレーザ距離計検知面を有する検知部材と、を備えることを特徴とする。
また、本発明に係る卓上切断機は、被加工材を載置するベース部と、前記ベース部に載置された前記被加工材を切断する丸鋸刃を有する本体部と、を備える卓上切断機であって、前記ベース部に載置された前記被加工材の寸法基準面に当接し、前記寸法基準面と同一平面からなり、レーザ距離計の測定基準面を当接させるレーザ距離計当接部を有するレーザ距離計設置部材と、前記ベース部に設けられ、前記丸鋸刃による前記被加工材の切断端面と同一平面からなり、前記レーザ距離計設置部材に前記測定基準面を当接させて設置された前記レーザ距離計により計測されるレーザ距離計検知面を有する検知部材と、を備えることを特徴とする。
本発明によれば、被加工材を所望長さに正確かつ作業性良く切断することができる新たな卓上切断機を提供することができる。
以下、本発明を実施するための好適な実施形態について、図面を用いて説明する。なお、以下の実施形態は、各請求項に係る発明を限定するものではなく、また、実施形態の中で説明されている特徴の組み合わせの全てが発明の解決手段に必須であるとは限らない。
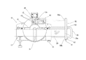
図1は、本実施形態に係る卓上切断機の左側面概観図である。図1に示されるように、本実施形態に係る卓上切断機100は、丸鋸刃31を有し、後述するベース部10に対し回動支点18を中心として回動可能に保持される本体部30と、被加工材20を載置するベース部10とから構成されている。また、ベース部10は、被加工材20を固定するために使用される定規部材11とバイス17とを有している。
次に、被加工材20の切断作業について説明する。操作者は、被加工材20をベース部10に載置し、定規部材11およびバイス17を使用して固定する。次に、本体部30に設けられたハンドル32を把持し、ハンドル32部に設けられた図示しないトリガースイッチを押圧し、丸鋸刃31を運転させる。この状態で、ハンドル32を押し下げることで、本体部30を回動支点18を中心としてベース部10方向へ回動させることで、丸鋸刃31により被加工材20を切断する。
次に、図6を用いてレーザ距離計40の主要な構成について説明する。近年、建築現場等において距離測定を容易かつ正確に行うことができるレーザ距離計40が一般に使用されるようになってきた。レーザ距離計40は、上面側にレーザ光を投光する投光部41と検知面(距離測定対象面)からの反射光を受光する受光部42を備えており、操作面側(前面側)には、測定開始を指示する測定ボタン43、測定モードを切り換える測定モード切換ボタン44、及び、測定結果等を表示する表示部45を備えている。測定モード切換ボタン44は、押圧により一回測定モードと連続測定モードを選択することができる。さらに、レーザ距離計40の下端部は、測定時の寸法基準となる測定基準面46を備えている。
[第一の実施形態]
本発明に係る第一の実施形態について、図1、図2、及び図6を参酌して説明する。図2において示されるように、ベース部10の定規部材11には、レーザ距離計40を設置するためのレーザ距離計設置部材12がボルト13、13により固定されており、レーザ距離計設置部材12は、丸鋸刃31による被加工材20の切断端面と同一平面からなるレーザ距離計当接部12aを有している。レーザ距離計当接部12aは、レーザ距離計設置部材12にレーザ距離計40を設置する場合、レーザ距離計40の測定基準面46を当接させるためのものである。
本発明に係る第一の実施形態について、図1、図2、及び図6を参酌して説明する。図2において示されるように、ベース部10の定規部材11には、レーザ距離計40を設置するためのレーザ距離計設置部材12がボルト13、13により固定されており、レーザ距離計設置部材12は、丸鋸刃31による被加工材20の切断端面と同一平面からなるレーザ距離計当接部12aを有している。レーザ距離計当接部12aは、レーザ距離計設置部材12にレーザ距離計40を設置する場合、レーザ距離計40の測定基準面46を当接させるためのものである。
レーザ距離計設置部材12のボルト13、13による固定用孔は、左右方向に伸びた長孔形状に形成されており、丸鋸刃31の刃幅に対応してレーザ距離計設置部材12の固定位置を左右方向で調整可能とすることで、レーザ距離計当接部12aと丸鋸刃31による被加工材20の切断端面とが同一平面となるように調整することができる。
被加工材20の寸法基準面20a側には、寸法基準面20aに当接面25bを当接させた状態で、被加工材20を挟持することで設置される検知部材25が設けられている。検知部材25は、当接面25bと同一の平面からなり、レーザ距離計設置部材12のレーザ距離計当接部12aに測定基準面46を当接させて設置されたレーザ距離計20の投光部41から投光されるレーザ光を反射し、レーザ距離計40の受光部42に入射させることにより計測される位置にレーザ距離計検知面25aを有している。本実施形態では、検知部材25のレーザ距離計検知面25aと当接面25bとを、連続面として一体に形成することで、簡易な構成を実現している。
さらに、本実施形態の検知部材25においては、被加工材20を挟持する際に、被加工材20に対する検知部材25の上下方向位置を容易に決められるように位置決め部材26が設けられている。この位置決め部材26を被加工材20に当接させることで、検知部材25のレーザ距離計検知面25aがレーザ距離計20により測定できる位置に容易に設置することができる。
次に、本発明に係る第一の実施形態について、被加工材20を所望の長さに切断する場合について説明する。
被加工材20を所望の長さに切断する場合、まず、操作者は、レーザ距離計当接部12aに測定基準面46を当接させた状態で、レーザ距離計設置部材12にレーザ距離計40を設置する。
次に、操作者は、被加工材20をベース部10に定規部材11およびバイス17を使用して仮固定した後、被加工材20の寸法基準面20aに検知部材25の当接面25bを当接させ、さらに、位置決め部材26も被加工材20に当接させた状態で、検知部材25を被加工材20に固定する。
次に、操作者は、レーザ距離計40の測定ボタン43を押圧し測定を行う。実際の測定においては、レーザ距離計40の測定基準面46から検知部材25のレーザ距離計検知面25aまでの距離が表示部45に表示されるが、実質的に被加工材20の寸法基準面20aから丸鋸刃31による切断端面までの距離と等しくなる。よって操作者は、表示部45に表示された距離が所望の切断長さになるよう、被加工材20の仮固定を解除し、被加工材20をベース部10に対して移動を行い、表示された距離が所望の切断長さになるようした後、被加工材20をベース部10に固定する。固定後、検知部材25を被加工材20から取り外し、さらにレーザ距離計40をレーザ距離計設置部材12から移動した後、被加工材20を丸鋸刃31で切断することで、正確かつ作業性良く被加工材20を所望の長さで切断することができる。
なお、レーザ距離計40での測定においては、測定モード切換ボタン44の操作により、測定モードを連続モード、すなわち所定の時間間隔(例えば0.5秒間隔)で測定を繰り返して表示する測定モードに設定しておくことで、操作者による測定ボタン43の操作(押圧)の繰り返しが不要となり作業性がさらに向上する。
[第二の実施形態]
本発明に係る第二の実施形態について、図1、図3、及び図6を参酌して説明する。なお、第一の実施形態と同じ内容については、説明を省略する。
本発明に係る第二の実施形態について、図1、図3、及び図6を参酌して説明する。なお、第一の実施形態と同じ内容については、説明を省略する。
本発明に係る第二の実施形態は、図3において示されるように、ベース部10より延出し、略コの字形状に形成され、円形断面を持つ延出部材55が、ベース部10に固定ボルト53により固定されている。延出部材55には、ストッパ部材50が左右方向に移動可能に取り付けられており、ストッパ部材50には、任意の左右方向位置で延出部材55に対して固定できるようにノブボルト51が設けられている。また、ストッパ部材50の左右方向の移動を精度良く行うために、ストッパ部材50には、延出部材55と嵌合する軸受け部材52、52が設けられている。
ストッパ部材50は、被加工材20の寸法基準面20aを当接させるストッパ面50bと、ストッパ面50bと同一の平面からなり、レーザ距離計設置部材12に設置されたレーザ距離計40の投光部41から投光されるレーザ光を反射し、レーザ距離計20の受光部42に入射させることにより計測される位置にレーザ距離計検知面50aを有している。すなわち、本実施形態では、ストッパ部材50が検知部材としての機能を有している。また、本実施形態では、ストッパ部材50のレーザ距離計検知面50aとストッパ面50bとを、連続面として一体に形成することで、簡易な構成を実現している。
次に、本発明に係る第二の実施形態について、被加工材20を所望の長さに切断する場合について説明する。
被加工材20を所望の長さに切断する場合、まず、操作者は、レーザ距離計設置部材12にレーザ距離計40を設置し、測定ボタン43を押圧することで、レーザ距離計40の測定基準面46からストッパ部材50のレーザ距離計検知面50aまでの距離を表示部45に表示させる。この表示された距離は、寸法基準面20aをストッパ部材50のストッパ面50bに当接させて丸鋸刃31で切断した場合の被加工材20の切断長さと等しくなる。
次に、操作者は、ストッパ部材50を左右方向に移動し、レーザ距離計40の表示部45に表示される距離が、所望の切断長さと一致する位置で、ノブボルト51によりストッパ部材50を延出部材55に固定する。
この状態で、操作者は、レーザ距離計40をレーザ距離計設置部材12上から移動した後、寸法基準面20aをストッパ部材50のストッパ面50bに当接させて、被加工材20のベース部10への固定を行う。固定後、被加工材20を丸鋸刃31で切断することで、正確かつ作業性良く被加工材20を所望の長さで切断することができる。
また、被加工材20が複数ある場合、操作者は、寸法基準面20aをストッパ部材50のストッパ面50bに当接させて被加工材20のベース部10への固定を行い丸鋸刃31で切断する作業を繰り返すことで、効率良く複数の被加工材20を同じ所望の長さに切断することができる。
また、被加工材20が複数ある場合、操作者は、寸法基準面20aをストッパ部材50のストッパ面50bに当接させて被加工材20のベース部10への固定を行い丸鋸刃31で切断する作業を繰り返すことで、効率良く複数の被加工材20を同じ所望の長さに切断することができる。
[第三の実施形態]
本発明に係る第三の実施形態について、図1、図4、及び図6を参酌して説明する。なお、第一および第二の実施形態と同じ内容については、説明を省略する。
本発明に係る第三の実施形態について、図1、図4、及び図6を参酌して説明する。なお、第一および第二の実施形態と同じ内容については、説明を省略する。
本発明に係る第三の実施形態は、図4において示されるように、ベース部10の定規部材11には、検知部材60がボルト13、13により固定されており、検知部材60は、丸鋸刃31による被加工材20の切断端面と同一平面からなるレーザ距離計検知面60aを有している。
検知部材60のボルト13、13による固定用孔は、左右方向に伸びた長孔形状に形成されており、丸鋸刃31の刃幅に対応して検知部材60の固定位置を左右方向で調整可能とすることで、レーザ距離計検知面60aと丸鋸刃31による被加工材20の切断端面とが同一平面となるように調整することができる。
被加工材20の寸法基準面20a側には、寸法基準面20aに当接面61bを当接させた状態で、被加工材20を挟持することで設置されるレーザ距離計設置部材61が設けられている。レーザ距離計設置部材61は、当接面61bと同一の平面からなるレーザ距離計当接部61aと、レーザ距離計40を載置するレーザ距離計載置部材62を有している。レーザ距離計当接部61aは、レーザ距離計載置部材62にレーザ距離計40を設置する場合、レーザ距離計40の測定基準面46を当接させるためのものである。本実施形態では、レーザ距離計当接部61aと当接面61bとを、連続面として一体に形成することで、簡易な構成を実現している。
さらに、本実施形態のレーザ距離計設置部材61においては、被加工材20を挟持する際に、被加工材20に対するレーザ距離計設置部材61の上下方向位置を容易に決められるように位置決め部材63が設けられている。レーザ距離計設置部材61を設置する際、この位置決め部材63を被加工材20に当接させることで、レーザ距離計載置部材62に設置されたレーザ距離計40で検知部材60のレーザ距離計検知面60aを検知できる位置に容易に設置することができる。
次に、本発明に係る第三の実施形態について、被加工材20を所望の長さに切断する場合について説明する。
被加工材20を所望の長さに切断する場合、操作者は、被加工材20をベース部10に定規部材11およびバイス17を使用して仮固定した後、被加工材20の寸法基準面20aにレーザ距離計設置部材61の当接面61bを当接させ、さらに、位置決め部材63も被加工材20に当接させた状態で、レーザ距離計設置部材61を被加工材20に固定する。次に、レーザ距離計載置部材62にレーザ距離計40を設置するが、上述のように、レーザ距離計40の測定基準面46をレーザ距離計当接部61aに当接させる。
次に、操作者は、レーザ距離計40の測定ボタン43を押圧し測定を行う。実際の測定においては、レーザ距離計40の測定基準面46から検知部材60のレーザ距離計検知面60aまでの距離が測定され表示部45に表示されるが、実質的に被加工材20の寸法基準面20aから丸鋸刃31による切断端面までの距離と等しくなる。よって操作者は、表示部45に表示された距離が所望の切断長さになるよう、被加工材20の仮固定を解除し、被加工材20をベース部10に対して移動を行い、表示された距離が所望の切断長さになるようした後、被加工材20をベース部10に固定する。固定後、レーザ距離計40を移動し、レーザ距離計設置部材61を被加工材20から取り外した後、丸鋸刃31で被加工材20切断することで、正確かつ作業性良く所望の長さで切断することができる。
[第四の実施形態]
本発明に係る第四の実施形態について、図1、図5、及び図6を参酌して説明する。なお、第一乃至第三の実施形態と同じ内容については、説明を省略する。
本発明に係る第四の実施形態について、図1、図5、及び図6を参酌して説明する。なお、第一乃至第三の実施形態と同じ内容については、説明を省略する。
本発明に係る第四の実施形態は、図5において示されるように、延出部材55には、ストッパ部材70が左右方向に移動可能に取り付けられており、ストッパ部材70には、任意の左右方向位置で延出部材55に対して固定できるようにノブボルト71が設けられている。また、ストッパ部材70の左右方向の移動を精度良く行うために、ストッパ部材50には、延出部材55と嵌合する軸受け部材72、72が設けられている。
ストッパ部材70は、被加工材20の寸法基準面20aを当接させるストッパ面70bと、ストッパ面70bと同一の平面からなるレーザ距離計当接部70aと、レーザ距離計40を載置するレーザ距離計載置部材73を有している。レーザ距離計当接部70aは、レーザ距離計載置部材73にレーザ距離計40を設置する場合、レーザ距離計40の測定基準面46を当接させるためのものである。すなわち、本実施形態では、ストッパ部材70がレーザ距離計設置部材としての機能を有している。また、本実施形態では、レーザ距離計当接部70aとストッパ面70bとを、連続面として一体に形成することで、簡易な構成を実現している。
次に、本発明に係る第四の実施形態について、被加工材20を所望の長さに切断する場合について説明する。
被加工材20を所望の長さに切断する場合、まず、操作者は、レーザ距離計載置部材73にレーザ距離計40を設置し、測定ボタン43を押圧することで、レーザ距離計40の測定基準面46から検知部材60のレーザ距離計検知面60aまでの距離を表示部45に表示させる。この表示された距離は、寸法基準面20aをストッパ部材70のストッパ面70bに当接させて丸鋸刃31で切断した場合の被加工材20の切断長さと等しくなる。
次に、操作者は、ストッパ部材70を左右方向に移動し、レーザ距離計40の表示部45に表示される距離が、所望の切断長さと一致する位置で、ノブボルト71によりストッパ部材70を延出部材55に固定する。
この状態で、操作者は、レーザ距離計40をレーザ距離計載置部材73上から移動した後、寸法基準面20aをストッパ部材70のストッパ面70bに当接させて、被加工材20のベース部10への固定を行う。固定後、被加工材20を丸鋸刃31で切断することで、正確かつ作業性良く被加工材20を所望の長さで切断することができる。
また、被加工材20が複数ある場合、操作者は、寸法基準面20aをストッパ部材70のストッパ面70bに当接させて被加工材20のベース部10への固定を行い丸鋸刃31で切断する作業を繰り返すことで、効率良く複数の被加工材20を同じ所望の長さに切断することができる。
また、被加工材20が複数ある場合、操作者は、寸法基準面20aをストッパ部材70のストッパ面70bに当接させて被加工材20のベース部10への固定を行い丸鋸刃31で切断する作業を繰り返すことで、効率良く複数の被加工材20を同じ所望の長さに切断することができる。
以上、本発明の好適な実施形態について説明したが、本発明の技術的範囲は上記実施形態の技術的範囲に限定さない。上記実施形態には、多様な変更又は改良を加えることが可能である。
例えば、上記実施形態においては、レーザ距離計設置部材12、又は検知部材60は定規部材11にボルト13,13により固定している。しかしながら、本実施形態で例示した部材の配置については、本発明が取り得る一形態を示したに過ぎない。すなわち、ベース部10を構成する部材であれば、いずれの部材にレーザ距離計設置部材12、又は検知部材60を設けても良い。つまり、本発明に係る卓上切断機を構成する部材の配置等については、上述した作用効果を発揮する範囲内において、種々の変形形態を採用することが可能である。さらに、上記実施形態において、卓上切断機100は非スライド式卓上切断機として説明したが、スライド式卓上切断機について本発明を採用することも可能である。
その様な変更又は改良を加えた形態も本発明の技術的範囲に含まれることが、特許請求の範囲の記載から明らかである。
10 ベース部、11 定規部材、12 レーザ距離計設置部材、12a レーザ距離計当接部、13 ボルト、17 バイス、18 回動支点、20 被加工材、20a 寸法基準面、25 検知部材、25a レーザ距離計検知面、25b 当接面、26 位置決め部材、30 本体部、31 丸鋸刃、32 ハンドル、40 レーザ距離計、41 投光部、42 受光部、43 測定ボタン、44 測定モード切換ボタン、45 表示部、46 測定基準面、50 ストッパ部材、50a レーザ距離計検知面、50b ストッパ面、51 ノブボルト、52 軸受け部材、53 固定ボルト、55 延出部材、 60 検知部材、60a レーザ距離計検知面、61 レーザ距離計設置部材、61a レーザ距離計当接部、61b 当接面、62 レーザ距離計載置部材、63 位置決め部材、70 ストッパ部材、70a レーザ距離計当接部、70b ストッパ面、71 ノブボルト、72 軸受け部材、73 レーザ距離計載置部材、100 卓上切断機
Claims (2)
- 被加工材を載置するベース部と、
前記ベース部に載置された前記被加工材を切断する丸鋸刃を有する本体部と、
を備える卓上切断機において、
前記ベース部に設けられ、前記丸鋸刃による前記被加工材の切断端面と同一平面からなり、レーザ距離計の測定基準面を当接させるレーザ距離計当接部を有するレーザ距離計設置部材と、
前記ベース部に載置された前記被加工材の寸法基準面に当接し、前記寸法基準面と同一平面からなり、前記レーザ距離計設置部材に前記測定基準面を当接させて設置された前記レーザ距離計により計測されるレーザ距離計検知面を有する検知部材と、
を備えることを特徴とする卓上切断機。 - 被加工材を載置するベース部と、
前記ベース部に載置された前記被加工材を切断する丸鋸刃を有する本体部と、
を備える卓上切断機において、
前記ベース部に載置された前記被加工材の寸法基準面に当接し、前記寸法基準面と同一平面からなり、レーザ距離計の測定基準面を当接させるレーザ距離計当接部を有するレーザ距離計設置部材と、
前記ベース部に設けられ、前記丸鋸刃による前記被加工材の切断端面と同一平面からなり、前記レーザ距離計設置部材に前記測定基準面を当接させて設置された前記レーザ距離計により計測されるレーザ距離計検知面を有する検知部材と、
を備えることを特徴とする卓上切断機。
Priority Applications (1)
| Application Number | Priority Date | Filing Date | Title |
|---|---|---|---|
| JP2010162728A JP2012024935A (ja) | 2010-07-20 | 2010-07-20 | 卓上切断機 |
Applications Claiming Priority (1)
| Application Number | Priority Date | Filing Date | Title |
|---|---|---|---|
| JP2010162728A JP2012024935A (ja) | 2010-07-20 | 2010-07-20 | 卓上切断機 |
Publications (1)
| Publication Number | Publication Date |
|---|---|
| JP2012024935A true JP2012024935A (ja) | 2012-02-09 |
Family
ID=45778487
Family Applications (1)
| Application Number | Title | Priority Date | Filing Date |
|---|---|---|---|
| JP2010162728A Pending JP2012024935A (ja) | 2010-07-20 | 2010-07-20 | 卓上切断機 |
Country Status (1)
| Country | Link |
|---|---|
| JP (1) | JP2012024935A (ja) |
Cited By (3)
| Publication number | Priority date | Publication date | Assignee | Title |
|---|---|---|---|---|
| CN104148727A (zh) * | 2014-07-11 | 2014-11-19 | 苏州市职业大学 | 一种切割机 |
| CN104889480A (zh) * | 2015-05-28 | 2015-09-09 | 苏州市华宁机械制造有限公司 | 可自动测距的铁轨切割机 |
| CN109015901A (zh) * | 2018-09-10 | 2018-12-18 | 成都众凯汽车零部件制造有限公司 | 一种组装式切割装置 |
-
2010
- 2010-07-20 JP JP2010162728A patent/JP2012024935A/ja active Pending
Cited By (3)
| Publication number | Priority date | Publication date | Assignee | Title |
|---|---|---|---|---|
| CN104148727A (zh) * | 2014-07-11 | 2014-11-19 | 苏州市职业大学 | 一种切割机 |
| CN104889480A (zh) * | 2015-05-28 | 2015-09-09 | 苏州市华宁机械制造有限公司 | 可自动测距的铁轨切割机 |
| CN109015901A (zh) * | 2018-09-10 | 2018-12-18 | 成都众凯汽车零部件制造有限公司 | 一种组装式切割装置 |
Similar Documents
| Publication | Publication Date | Title |
|---|---|---|
| US6412179B1 (en) | Cutting guide apparatus for guiding portable power cutting tools | |
| US10906110B2 (en) | Power tool with integrated measurement device and associated methods | |
| US20240123522A1 (en) | System and method for efficient material measurement and conversion | |
| EP2347876A1 (en) | Table saw | |
| JP2012024935A (ja) | 卓上切断機 | |
| KR20200078430A (ko) | 판재절단 작업대의 조기대장치 | |
| US20050204887A1 (en) | Cutting guide | |
| US7162809B2 (en) | Power saw guide | |
| JPH08309615A (ja) | 定規付切断機 | |
| JP3180578U (ja) | 丸鋸用平行定規 | |
| JP4637530B2 (ja) | 切断機の平行定規 | |
| JP2021074929A (ja) | 角度測定器用の丸鋸ガイド定規 | |
| JP3136841U (ja) | スライドテーブルソー | |
| CN216000803U (zh) | 便于测量切割长度的推台锯 | |
| JP3434798B2 (ja) | 切断角度検出器 | |
| WO2011085681A1 (zh) | 工作台 | |
| JP2008155584A (ja) | 平行定規装置 | |
| CN202083335U (zh) | 一种快速检测面差及定位的装置 | |
| JPH1170506A (ja) | トリマのビットの位置決め機構及び位置決め方法 | |
| CN219633290U (zh) | 一种尺寸快速测量机构 | |
| CN219597940U (zh) | 一种钢筋加工切断定尺操作平台 | |
| CN224013285U (zh) | 一种木工画图多功能组合角尺 | |
| CN216181151U (zh) | 一种gdf膜片生产用高精度定位切割装置 | |
| CN220259722U (zh) | 一种具有角度定位组件的剪板机 | |
| KR20120006137A (ko) | 목재절단 작업대용 절단길이 계측장치 |