JP2011237010A - クラッチ装置 - Google Patents
クラッチ装置 Download PDFInfo
- Publication number
- JP2011237010A JP2011237010A JP2010110824A JP2010110824A JP2011237010A JP 2011237010 A JP2011237010 A JP 2011237010A JP 2010110824 A JP2010110824 A JP 2010110824A JP 2010110824 A JP2010110824 A JP 2010110824A JP 2011237010 A JP2011237010 A JP 2011237010A
- Authority
- JP
- Japan
- Prior art keywords
- clutch
- clutch mechanism
- selector
- stress
- pusher
- Prior art date
- Legal status (The legal status is an assumption and is not a legal conclusion. Google has not performed a legal analysis and makes no representation as to the accuracy of the status listed.)
- Pending
Links
- 230000007246 mechanism Effects 0.000 claims abstract description 79
- 239000013013 elastic material Substances 0.000 description 5
- 239000002184 metal Substances 0.000 description 3
- 230000000694 effects Effects 0.000 description 2
- 230000002093 peripheral effect Effects 0.000 description 2
- 238000013459 approach Methods 0.000 description 1
- 230000005540 biological transmission Effects 0.000 description 1
- 230000007423 decrease Effects 0.000 description 1
- 238000000034 method Methods 0.000 description 1
- 239000011347 resin Substances 0.000 description 1
- 229920005989 resin Polymers 0.000 description 1
Images
Landscapes
- Seats For Vehicles (AREA)
- Mechanical Operated Clutches (AREA)
Abstract
【課題】歯どうしを確実に噛み合わせることができて常に安定した断接操作を行うことができる噛み合い式のクラッチ装置を提供する。
【解決手段】セレクタ50を回転させてセレクタ50の裏面のプッシャ53を複数のクラッチ機構5のいずれかに対応させると、プッシャ53によってクラッチ機構5の被駆動側クラッチ30が押圧されてクラッチ接続の状態となるクラッチ装置において、セレクタ50を、弾性を有し撓んで変形可能な材料で構成し、クラッチ機構5の歯が噛み合っていない状態でプッシャ53が被駆動側クラッチ30に当接すると、セレクタ50が撓んで変形し、プッシャ53でクラッチ機構5が押圧されない状態を生じさせて無理な応力がクラッチ機構5にかからないようにする。
【選択図】図2
【解決手段】セレクタ50を回転させてセレクタ50の裏面のプッシャ53を複数のクラッチ機構5のいずれかに対応させると、プッシャ53によってクラッチ機構5の被駆動側クラッチ30が押圧されてクラッチ接続の状態となるクラッチ装置において、セレクタ50を、弾性を有し撓んで変形可能な材料で構成し、クラッチ機構5の歯が噛み合っていない状態でプッシャ53が被駆動側クラッチ30に当接すると、セレクタ50が撓んで変形し、プッシャ53でクラッチ機構5が押圧されない状態を生じさせて無理な応力がクラッチ機構5にかからないようにする。
【選択図】図2
Description
本発明は、1つのモータの動力を複数の出力軸に選択的に分岐させるクラッチ装置に関する。
この種のクラッチ装置としては、例えば、車両用電動シートに適用されている。車両用電動シートは、シートクッションの前後方向のスライドや上下動、シートバック(背もたれ)のリクライニング等、複数の可動部位の動作をモータの動力で行うようになされたものである。複数の可動部位の駆動用モータは、各可動部位ごとに設けるとモータの数が多くなって重量の増加やスペースをとるなど不合理な面があるため、1つのモータで複数の可動部位を動かせば効率的である。そのために、複数の可動部位に連結した各出力軸にクラッチを介してモータの動力が伝達されるようにし、クラッチを断接して各可動部位を選択的に駆動するものが知られている(特許文献1参照)。
このような分野で採用されるクラッチの種類としては摩擦クラッチや噛み合いクラッチなどが挙げられるが、特許文献1に開示される噛み合いクラッチは、低い操作力で作動させることができるとともに動力のスリップロスが発生せずに効率のよい動力伝達がなされることや、許容トルクが大きく構造が単純であるなどのメリットを有している。
ところが噛み合いクラッチでは、歯どうしが確実に噛み合わない状況が生じると、クラッチの接続操作が行いにくくなってクラッチを接続させることが困難になったり目的のクラッチに切り替えることができなくなったりするといった不具合が起こる。特に複数のクラッチを並列に配置し、接続させるクラッチに対し切り替え操作を行う形式ではこの問題は顕著になる。その点、摩擦クラッチは摩擦面が正常であれば確実に接続されるが、反面、その摩擦面の管理が必要であり、また、滑りを生じさせず確実に接続状態とするためには、例えば電磁クラッチのように接続状態を維持させる機構が比較的大型、かつ複雑であったりするため、省スペースや低コストを図る上では不利である。
本発明は上記事情に鑑みてなされたものであり、歯どうしを確実に噛み合わせることができて常に安定した断接操作を行うことができる噛み合い式のクラッチ装置を提供することを目的としている。
本発明のクラッチ装置は、押圧されることにより接続状態とされ、その押圧方向に直交する方向に配列された複数の噛み合い式のクラッチ機構と、これらクラッチ機構の配列方向に沿って作動可能に設けられ、作動に伴って前記クラッチ機構を選択的に押圧する押圧部を有し、該押圧部がクラッチ機構を押圧することによりクラッチ機構を接続状態とするクラッチ操作手段とを備え、該クラッチ操作手段は、前記押圧部が前記クラッチ機構を押圧する位置に位置付けられた状態で該クラッチ機構の噛み合い不十分により該クラッチ機構から押圧方向と逆方向に応力を受けた際に、該逆方向に少なくとも押圧部を移動可能とする応力回避手段を有していることを特徴とする。
本発明では、クラッチ操作手段を作動させて目的のクラッチ機構を押圧部で押圧することにより、該クラッチ機構が接続状態となる。ここで、押圧部で押圧されたクラッチ機構の噛み合いが不十分であった場合にはクラッチ機構から押圧部が応力を受け、応力回避手段によって押圧部は応力を受ける方向に移動させられる。クラッチ機構が正常に噛み合う状況になると、押圧部はクラッチ機構を押圧し接続状態となる。クラッチ機構の噛み合いが不十分な場合、押圧部はクラッチ機構を押圧せずに押圧方向と逆方向に逃げるように移動するため、クラッチ機構の噛み合いの不十分な状態が押圧部で拘束されず、いずれはクラッチ機構が接続状態になる。また、噛み合いが不十分な状態でクラッチ機構には無理な応力がかからないので、クラッチ機構やクラッチ操作手段の破損が防止される。
本発明の応力回避手段は、弾性を有する前記クラッチ操作手段によって構成され、前記応力を受けた際に該クラッチ操作手段が弾性変形して前記押圧部が前記逆方向に移動する形態を含む。
また、本発明の応力回避手段は、前記クラッチ操作手段を前記応力を受ける方向に移動可能に支持する移動支持手段を有している形態を含む。
また、本発明は、前記クラッチ操作手段は回転可能なダイヤル状のセレクタであり、前記クラッチ機構は該セレクタの回転軸の周囲に周方向に沿って配列されており、前記押圧手段は該セレクタのクラッチ機構への対向面に設けられる形態を一具体例としている。
本発明によれば、噛み合い式クラッチ機構の歯どうしを確実に噛み合わせることができて常に安定した断接操作を行うことができるとともに、破損も効果的に防止されるといった効果を奏する。
以下、図面を参照して本発明の一実施形態を説明する。
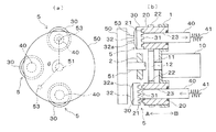
図1および図2は一実施形態に係るクラッチ装置を示しており、同図で符号10はモータである。このモータ10は、モータ軸11が突出する一端面がフレーム1に固定されている。モータ軸11はフレーム1を貫通し、その先端には、出力ギヤ12が固定されている。なお、図1(a)でA−B方向は、モータ軸11と平行な方向を示している。
図1および図2は一実施形態に係るクラッチ装置を示しており、同図で符号10はモータである。このモータ10は、モータ軸11が突出する一端面がフレーム1に固定されている。モータ軸11はフレーム1を貫通し、その先端には、出力ギヤ12が固定されている。なお、図1(a)でA−B方向は、モータ軸11と平行な方向を示している。
モータ軸11の周囲には、円筒状の3つの駆動側クラッチ20がモータ軸11を中心として同心状に配設されている。本実施形態では、図1(a)に示すように、駆動側クラッチ20は、周方向角度が180°の中で、等間隔、すなわち90°おきに配置されている。これら駆動側クラッチ20の一端側(A方向側)の端部には噛み合いクラッチを構成する環状のギヤ歯列21が形成されており、また、外周面にはギヤ22が形成されている。
駆動側クラッチ20の中心には、軸受孔23が貫通形成されている。駆動側クラッチ20は、軸方向がモータ軸11と平行な状態でフレーム1に回転自在に支持されている。そして各駆動側クラッチ20のギヤ22が、出力ギヤ12に噛み合っている。したがってモータ10が運転されてモータ軸11が回転すると、その回転が出力ギヤ12とギヤ22との噛み合いを介して駆動側クラッチ20に伝達し、駆動側クラッチ20が回転する。
各駆動側クラッチ20の軸受孔23には出力軸40が、軸方向、かつ軸回りに摺動可能にそれぞれ貫通されている。これら出力軸40の、駆動側クラッチ20からA方向側に突出する端部には、鍔状の被駆動側クラッチ30が同心状に形成されている。この被駆動側クラッチ30の、駆動側クラッチ20への対向面には、駆動側のギヤ歯列21の複数の歯に噛み合う複数の歯を有する環状のギヤ歯列31が形成されている。被駆動側クラッチ30の先端面32の外周縁は、テーパ面32aに形成されている。本実施形態では、駆動側のギヤ歯列21を有する駆動側クラッチ20と、被駆動側のギヤ歯列31を有する被駆動側クラッチ30とによって、クラッチ機構5が構成されている。
各出力軸40は、圧縮状態のコイルばね41によって常に先端方向(A方向)に付勢されている。したがって通常は、被駆動側クラッチ30は駆動側クラッチ20から離れており(図1(b)の下側の状態)、クラッチ機構5は双方のギヤ歯列21,31の歯が噛み合っていない切断状態が保持される。そして、コイルばね41の弾発力に抗して出力軸40がB方向に押圧されると、被駆動側クラッチ30のギヤ歯列31の歯が駆動側クラッチ20のギヤ歯列21の歯に噛み合い、クラッチ機構5は接続状態となる。
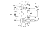
図1の符号50は円板を呈するダイヤル状のセレクタ(クラッチ操作手段)である。このセレクタ50は、各クラッチ機構5に対向配置されている。セレクタ50は、中心にモータ軸11と同軸的で矢印B方向に延びる回転軸51を有しており、図2に示すように、回転軸51は、フレーム2に回転自在に支持されている。回転軸51は、フレーム1を挟む鍔部52を有しており、これら鍔部52によって軸方向への移動が規制されている。
セレクタ50の裏面、すなわちクラッチ機構5への対向面には、クラッチ機構5側(B方向側)に向かって突出するプッシャ(押圧部)53が形成されている。このプッシャ53は、先端に向かうにしたがって縮径する円錐状に形成されている。プッシャ53の数は任意だが、例えば図1(a)に示すように、セレクタ50の回転軸51を中心とした周方向角度が互いに135°(θで示す角度)離れた位置に配置されている。
セレクタ50が回転することによる各プッシャ53の回転軌跡は、各クラッチ機構5の中心を通るモータ軸11を中心とした同心円に一致する。プッシャ53は、セレクタ50を回転させることによって1つのクラッチ機構5の被駆動側クラッチ30に近付くと、被駆動側クラッチ30の先端面32のテーパ面32aから先端面32に摺動して至り、この間に被駆動側クラッチ30はコイルばね41の弾発力に抗してB方向に押圧される。
被駆動側クラッチ30がプッシャ53でB方向に押圧されるとギヤ歯列31が駆動側クラッチ20のギヤ歯列21に噛み合い、クラッチ機構5が接続状態となる。このようにクラッチ機構5が接続状態になると、モータ10の回転が駆動側クラッチ20から被駆動側クラッチ30に伝わり、被駆動側クラッチ30と一体の出力軸40が回転する。
クラッチ機構5が接続している状態から、セレクタ50をさらに回転させてプッシャ53が被駆動側クラッチ30から離脱すると、プッシャ53で押圧されていた被駆動側クラッチ30はコイルばね41でA方向に押されて被駆動側クラッチ30は駆動側クラッチ20から離れ、ギヤ歯列21,31どうしの噛み合いが外れてクラッチ機構5は切断状態となる。すなわち、セレクタ50を回転させてプッシャ53を被駆動側クラッチ30に対応させることにより、目的の出力軸40に対応するクラッチ機構5を接続させて該出力軸40を回転させることができるようになっている。
モータ10をON・OFFするスイッチは、例えばセレクタ50に設けることができる。モータ10のスイッチをセレクタ50に設ける構成は、クラッチ機構5を接続させてから該スイッチをONにして出力軸40を回転させるといった操作を一連の動きでなすことができるため好適である。
さて、上記セレクタ50は、弾性を有し撓んで変形することが可能な材料で構成されている。上記のようにクラッチ機構5を接続させるためにプッシャ53で被駆動側クラッチ30が押圧された際においては、各クラッチ20,30のギヤ歯列21,31の歯どうしが噛み合っていれば被駆動側クラッチ30は円滑に押圧されてクラッチ機構5は接続される。
しかしながらギヤ歯列21,31の歯の山どうしが突き当たって噛み合いが不十分である場合には、被駆動側クラッチ30がプッシャ53で押圧されるとその噛み合いが不十分のままの状態がプッシャ53で拘束された状態となる(図2の上側のクラッチ機構5の状態)。こうなると、クラッチ機構5の接続が困難になったり、プッシャ53と被駆動側クラッチ30の先端面との摩擦が大きくなっているためセレクタ50を回転させにくくなったりするといった不具合が生じる。
ところが、本実施形態のセレクタ50は弾性を有する材料で構成されているため、ギヤ歯列21,31の噛み合いが不十分であった場合には、プッシャ53が、被駆動側クラッチ30の先端面32にテーパ面32aから乗り上げることによって被駆動側クラッチ30からA方向に応力を受ける。これにより、図2に示すようにセレクタ50におけるプッシャ53に対応する領域がA方向に撓んで変形し、プッシャ53が押圧方向(B方向)と逆方向(A方向)に逃げるように移動する。
このため、クラッチ機構5の噛み合いの不十分な状態がプッシャ53で拘束はされず、いずれはギヤ歯列21,31が噛み合ってクラッチ機構5が接続状態になる。また、ギヤ歯列21,31の噛み合いが不十分な状態でクラッチ機構5には無理な応力がかからないので、クラッチ機構5やセレクタ50、プッシャ53等の破損が防止される。本実施形態では、弾性を有するセレクタ50自身が本発明の応力回避手段を構成している。なお、セレクタ50を構成する弾性を有する材料は、金属や樹脂等が挙げられるが、金属製であると小型のものでも確実に弾性変形するため、小型化の面では金属製が好ましい。
また、セレクタ50を弾性を有する材料で構成するといった簡素な方法で上記の作用効果を得ることができるため、装置全体が大型化することはなく、省スペースや低コストが図られるといった利点もある。
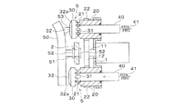
図3は、上記実施形態の応力回避手段を換えた他の実施形態を示している。この実施形態では、セレクタ50の回転軸はフレーム(移動支持手段)2に軸方向への移動が可能なように摺動自在に支持されているとともに、圧縮状態のコイルばね54によってクラッチ機構5の方向(B方向)に付勢されている。セレクタ50は、上記実施形態のように弾性を有する材料で構成されていなくてもよい。
この実施形態によれば、上記各クラッチ20,30のギヤ歯列21,31の噛み合いが不十分であった場合(図3の上側のクラッチ機構5の状態)には、プッシャ53が被駆動側クラッチ30の先端面32にテーパ面32aから乗り上げることによって被駆動側クラッチ30からA方向に応力を受け、その応力によってセレクタ50全体がコイルばね54の弾発力に抗して押圧方向(B方向)と逆方向(A方向)に逃げるように移動する。この時のセレクタ50の移動は、回転軸51がフレーム2にガイドされることによりなされる。この実施形態では、セレクタ50の回転軸51と、この回転軸51を軸方向に沿って移動可能に支持するフレーム2とによって応力回避手段が構成されている。
この実施形態では、セレクタ50全体がクラッチ機構5から離れる方向に移動することにより、クラッチ機構5の噛み合いの不十分な状態がプッシャ53で拘束はされず、セレクタ50やクラッチ機構5には無理な応力がかからない。このため、クラッチ機構5はいずれは接続状態になり、また、クラッチ機構5やセレクタ50、プッシャ53等の破損が防止される。
なお、上記実施形態のクラッチ装置は、例えば車両用電動シートをモータ10で作動させる際のクラッチ装置として好適である。すなわち車両用電動シートの、例えばシート座面の高さを調節する機構、シートバック(背もたれ部)の角度を調節するリクライニング機構、およびシートの前後位置を調節する機構等の可動機構に対し、各出力軸40をトルクケーブル等を介して接続して、モータ10の動力を各可動機構に選択的に分岐させてこれら可動機構を作動させることができる。しかしながら本発明のクラッチ装置は、そのような電動シートに限らず、複数の可動機構が選択的に駆動される機械装置に適用することができる。
2…フレーム(移動支持手段、応力回避手段)
5…クラッチ機構
51…セレクタの回転軸(応力回避手段)
50…セレクタ(クラッチ操作手段、応力回避手段)
53…プッシャ(押圧部)
5…クラッチ機構
51…セレクタの回転軸(応力回避手段)
50…セレクタ(クラッチ操作手段、応力回避手段)
53…プッシャ(押圧部)
Claims (4)
- 押圧されることにより接続状態とされ、その押圧方向に直交する方向に配列された複数の噛み合い式のクラッチ機構と、
これらクラッチ機構の配列方向に沿って作動可能に設けられ、作動に伴って前記クラッチ機構を選択的に押圧する押圧部を有し、該押圧部がクラッチ機構を押圧することによりクラッチ機構を接続状態とするクラッチ操作手段とを備え、
該クラッチ操作手段は、前記押圧部が前記クラッチ機構を押圧する位置に位置付けられた状態で該クラッチ機構の噛み合い不十分により該クラッチ機構から押圧方向と逆方向に応力を受けた際に、該逆方向に少なくとも押圧部を移動可能とする応力回避手段を有していることを特徴とするクラッチ装置。 - 前記応力回避手段は、弾性を有する前記クラッチ操作手段によって構成され、前記応力を受けた際に該クラッチ操作手段が弾性変形して前記押圧部が前記逆方向に移動することを特徴とする請求項1に記載のクラッチ装置。
- 前記応力回避手段は、前記クラッチ操作手段を前記応力を受ける方向に移動可能に支持する移動支持手段を有していることを特徴とする請求項1に記載のクラッチ装置。
- 前記クラッチ操作手段は回転可能なダイヤル状のセレクタであり、前記クラッチ機構は該セレクタの回転軸の周囲に周方向に沿って配列されており、前記押圧手段は該セレクタのクラッチ機構への対向面に設けられていることを特徴とする請求項1〜3のいずれかに記載のクラッチ装置。
Priority Applications (1)
| Application Number | Priority Date | Filing Date | Title |
|---|---|---|---|
| JP2010110824A JP2011237010A (ja) | 2010-05-13 | 2010-05-13 | クラッチ装置 |
Applications Claiming Priority (1)
| Application Number | Priority Date | Filing Date | Title |
|---|---|---|---|
| JP2010110824A JP2011237010A (ja) | 2010-05-13 | 2010-05-13 | クラッチ装置 |
Publications (1)
| Publication Number | Publication Date |
|---|---|
| JP2011237010A true JP2011237010A (ja) | 2011-11-24 |
Family
ID=45325213
Family Applications (1)
| Application Number | Title | Priority Date | Filing Date |
|---|---|---|---|
| JP2010110824A Pending JP2011237010A (ja) | 2010-05-13 | 2010-05-13 | クラッチ装置 |
Country Status (1)
| Country | Link |
|---|---|
| JP (1) | JP2011237010A (ja) |
-
2010
- 2010-05-13 JP JP2010110824A patent/JP2011237010A/ja active Pending
Similar Documents
| Publication | Publication Date | Title |
|---|---|---|
| US9121455B2 (en) | Clutch management system | |
| EP2664785B1 (en) | Vehicle starter and transmission mechanism for the same | |
| US10883550B2 (en) | Shifting device for a motor vehicle and motor vehicle transmission | |
| US20150211633A1 (en) | Drive member selection | |
| US8844390B2 (en) | Dual clutch transmission and dual clutch accuators thereof | |
| JP2017516961A (ja) | グループで配置された伝動体を備えた掛け外し型過負荷クラッチ | |
| JP2017516697A (ja) | 車両の電気ブレーキアクチュエータ | |
| EP2738421A1 (en) | Transmission and electric vehicle comprising same | |
| CN110268183B (zh) | 用于移动切换元件的设备和变速器 | |
| US20090032352A1 (en) | Motor actuated range shift and on demand 4wd | |
| EP2112390A2 (en) | Clutch control system | |
| US9350214B2 (en) | Actuator | |
| JP2011237010A (ja) | クラッチ装置 | |
| JP4855214B2 (ja) | 同期装置 | |
| EP3026284B1 (en) | Engaging/disengaging mechanism of dual clutch | |
| JP2012177459A (ja) | 多軸駆動装置 | |
| US20100012453A1 (en) | Shift device with synchronizer | |
| JP2017052453A (ja) | ディスエンゲージ装置 | |
| EP2302245A1 (en) | Shift device with synchronizer | |
| WO2011007791A1 (ja) | クラッチ装置 | |
| CN111692223A (zh) | 一种插接式刚性离合器 | |
| CN113958704B (zh) | 电动车辆的变速装置 | |
| JP2009174618A (ja) | クラッチ装置 | |
| CN109253182A (zh) | 碟刹式汽车离合器 | |
| JP5050090B2 (ja) | クラッチ装置 |