JP2011190899A - 変速機用同期装置 - Google Patents
変速機用同期装置 Download PDFInfo
- Publication number
- JP2011190899A JP2011190899A JP2010058848A JP2010058848A JP2011190899A JP 2011190899 A JP2011190899 A JP 2011190899A JP 2010058848 A JP2010058848 A JP 2010058848A JP 2010058848 A JP2010058848 A JP 2010058848A JP 2011190899 A JP2011190899 A JP 2011190899A
- Authority
- JP
- Japan
- Prior art keywords
- sleeve
- synchronization ring
- hub
- thrust piece
- synchronization
- Prior art date
- Legal status (The legal status is an assumption and is not a legal conclusion. Google has not performed a legal analysis and makes no representation as to the accuracy of the status listed.)
- Pending
Links
- 230000005540 biological transmission Effects 0.000 title claims abstract description 42
- 238000003825 pressing Methods 0.000 claims description 14
- 235000005078 Chaenomeles speciosa Nutrition 0.000 claims description 5
- 240000000425 Chaenomeles speciosa Species 0.000 claims description 5
- 230000007935 neutral effect Effects 0.000 description 7
- 230000001360 synchronised effect Effects 0.000 description 7
- 230000004323 axial length Effects 0.000 description 5
- 230000001965 increasing effect Effects 0.000 description 4
- 230000002093 peripheral effect Effects 0.000 description 2
- 238000006243 chemical reaction Methods 0.000 description 1
- 238000010586 diagram Methods 0.000 description 1
- 230000002708 enhancing effect Effects 0.000 description 1
- 230000002452 interceptive effect Effects 0.000 description 1
- 238000004519 manufacturing process Methods 0.000 description 1
- 239000000463 material Substances 0.000 description 1
- 238000000034 method Methods 0.000 description 1
- 230000010355 oscillation Effects 0.000 description 1
- 230000010363 phase shift Effects 0.000 description 1
- 239000011435 rock Substances 0.000 description 1
Images
Landscapes
- Mechanical Operated Clutches (AREA)
Abstract
【課題】自己サーボ作用による同期性能を向上させた変速機用同期装置において、所要の軸方向スペースが小さくして、変速機の小型・軽量化を可能にする。
【解決手段】第1同期リング16と第2同期リング18のそれぞれ合計6個の突起16b、18eのうち、少なくとも各2個の軸方向突き出し量を他の突起より大きくして、スラストピース30が移動しても第1同期リング16と第2同期リング18との回転方向の係合が外れないようにした。
【選択図】図1
【解決手段】第1同期リング16と第2同期リング18のそれぞれ合計6個の突起16b、18eのうち、少なくとも各2個の軸方向突き出し量を他の突起より大きくして、スラストピース30が移動しても第1同期リング16と第2同期リング18との回転方向の係合が外れないようにした。
【選択図】図1
Description
本発明は、車両用変速機の変速操作(ギヤ切り替え)時に、スリーブから同期リングへの押圧力を、同期リングで発生する摩擦トルクによって増大させることにより、同期能力を高めることが可能な変速機用同期装置に関するものである。
従来、この種の変速機用同期装置としては、同期リングで発生する摩擦トルクをスリーブまたは推力板の斜面を介してハブに伝達する過程で、ハブとスリーブまたは推力板との間で生ずるスラストをさらに作用させることで、自己サーボ作用によって同期能力を高めるようにしたものが知られている(たとえば、特許文献1参照)。
上記のハブとスリーブまたは推力板との間で生ずるスラストによって同期能力を高める案は、ハブの軸方向中央部付近に斜面(特許文献1の第2図および第17図の44)を形成する必要があり、製造が難しくコストが高くなるという問題があり、本出願人はこれに対処するためハブを焼結成形しやすい形状にできる案を提案している(特許文献2参照)。
しかしながら、上記の焼結成形しやすい形状のハブを備えた同期装置は、スラストピースがスリーブと一緒に進行する範囲があり、その移動距離が長いため、スラストピースと同期リングとの係合が外れることと、スラストピースと同期リングとが干渉することとの、両方を回避する必要があった。
そのために、同期装置の軸方向長さが長くなりがちであり、変速機の小型・軽量化のニーズを満たした設計が困難という問題があった。
そのために、同期装置の軸方向長さが長くなりがちであり、変速機の小型・軽量化のニーズを満たした設計が困難という問題があった。
解決しようとする問題点は、同期装置の軸方向長さが長くなりがちであり、変速機の小型化が困難な点である。
本発明の目的は、スラストピースと同期リングとの係合が外れることおよび、スラストピースと同期リングとが干渉することとの、両方を回避した同期装置を短い軸方向長さの範囲内で成立させ、変速機の小型・軽量化を可能にすることにある。
本発明の目的は、スラストピースと同期リングとの係合が外れることおよび、スラストピースと同期リングとが干渉することとの、両方を回避した同期装置を短い軸方向長さの範囲内で成立させ、変速機の小型・軽量化を可能にすることにある。
本発明の変速機用同期装置は、同期リングとスラストピースとの係合外れと干渉を回避するため、第1同期リングと第2同期リングとは、スラストピースと係合可能な突起を各6個有し、該6個のうち少なくとも2個の突起を他の突起より軸方向の突き出し量を大きくしたことを最も主要な特徴とする。
すなわち、本発明は、動力を伝える軸と、該軸に固定したボス部から径方向外側に延ばしたフランジ部の外周に複数の切り欠きとスプラインとを形成するとともに、切り欠きの軸方向の一方の端部隅2カ所に回転方向の力を軸方向の力に転換可能な第1斜面を形成したハブと、内周にスプラインと該スプラインの一部の軸方向途中部分に押圧面および斜面を有する凹部とをそれぞれ形成し、ハブのスプラインに軸方向摺動可能に支持されたスリーブと、該スリーブが嵌合可能なスプラインおよび摩擦面をハブ側に一体的に設け、ハブの軸方向両側にそれぞれ配置した変速ギヤと、該変速ギヤのうち、一方の側の変速ギヤの摩擦面に圧接可能な摩擦面を形成するとともに、外周の3カ所にボーク斜面を有し、軸方向に延びる第1溝を形成し、ハブと一方の変速ギヤとの間に配置した第1同期リングと、変速ギヤのうち、他方の側の変速ギヤの摩擦面に圧接可能な摩擦面を形成するとともに、外周にチャンファ面を有するスプラインと、第2同期リングの外周の3カ所に軸方向に延びる第2溝を形成し、ハブと他方の変速ギヤとの間に配置した第2同期リングと、スリーブの凹部と第1同期リングの第1溝と第2同期リングの第2溝とに挿入し、ハブの切り欠き内を軸方向移動可能にしたスラストピースと、スラストピースを径方向外側へ押し広げるスプリングと、を備え、スラストピースは、外面にスリーブの押圧面および斜面に係合して軸方向へ押圧される被押圧面と斜面とを有するとともに、第1同期リングのボーク斜面に当接可能なボーク面とハブの第1斜面に当接可能な第1サーボ斜面とを有し、スリーブの第1同期リング側への移動に際してはスリーブと一緒に移動し、その反対側へのスリーブの移動に際してはスプリングの張力に抗して径方向内側へ移動可能とするとともに、第1同期リングと第2同期リングとは、3カ所の第1溝および前記第2溝の両側に、スラストピースと係合可能な突起を合計6個有し、該6個のうち少なくとも2個の突起を他の突起より軸方向突き出し量を大きくして、スラストピースとの係合可能とした。
本発明の変速機用同期装置は、第1同期リングと第2同期リングとが、これらの6個の突起のうち少なくとも2個を他より長くされて、スラストピースとの係合が外れないようにしたため、同期装置を短い軸方向長さの範囲内で成立させることができ、変速機の小型・軽量化が可能になる。
以下、本発明の実施の形態に係る変速機用同期装置を、実施例に基づき図とともに説明する。
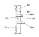
図1は、本発明の実施例1に係る変速機用同期装置の主要部の断面図であって、図2におけるA−A線に沿って切断した断面である。図2は、図1における出力軸10と1速ギヤ12と2速ギヤ14および第1同期リング16とスプリング28を取り去って図1中右側(1速ギヤ12側)から見た外観図である。また、図3は図1の上側の要部を拡大し、詳細の符号を記入した図である。
出力軸10は、図示しない差動装置を介して車輪と連結している。
出力軸10にはハブ20が、これらにそれぞれ形成したスプライン10a、20a同士で回転方向に一体に結合されており、また同図中左側からブッシュ22が出力軸10に圧入されている。したがって、ハブ20は出力軸10に、この大径部10bとブッシュ22との間に挟まれた状態で固定されている。
出力軸10にはハブ20が、これらにそれぞれ形成したスプライン10a、20a同士で回転方向に一体に結合されており、また同図中左側からブッシュ22が出力軸10に圧入されている。したがって、ハブ20は出力軸10に、この大径部10bとブッシュ22との間に挟まれた状態で固定されている。
ハブ20は、ボス部20bと、これから半径方向外側へ延びるフランジ部20cと、このフランジ部20cの外周に設けた環状部20dとを有する。ハブ20の外周側には、スリーブ24を配置して、これらにそれぞれ形成されたスプライン20e、24a同士で回転方向に一体で、かつ軸方向に相対移動可能に係合させている。
そして、出力軸10には、ベアリング26aを介して1速ギヤ12が、またブッシュ22の外側にはベアリング26bを介して2速ギヤ14が、それぞれハブ20を挟むように配置され、回転自在に支持されている。
なお、1速ギヤ12および2速ギヤ14は本発明の変速ギヤを構成し、それぞれ図示しない入力軸側の相手ギヤと噛み合っており、それらを通じてエンジンと連結可能になっている。
なお、1速ギヤ12および2速ギヤ14は本発明の変速ギヤを構成し、それぞれ図示しない入力軸側の相手ギヤと噛み合っており、それらを通じてエンジンと連結可能になっている。
1速ギヤ12および2速ギヤ14のハブ20側には、スリーブ24のスプライン24aと噛み合うスプライン12a、14aと、円錐状の摩擦面12b、14bとがそれぞれ形成してある。
スリーブ24にはこの外周にフォーク溝24bが形成され、ここに図示しないシフトフォークが摺動可能に嵌め合わされて、図示しないシフトレバーからの手動またはアクチュエータの出力により、これに連動するシフトフォークを介してスリーブ24を軸方向に移動可能としている。
スリーブ24は、図1の状態のようにハブ20のスプライン20e(図2参照)のみに噛み合いスプライン12a、14aとは噛み合わない中立位置、図1の状態から右方へ所定量移動したときは、スリーブ24の左方部分がハブ20のスプライン20eに噛み合ったまま右方部分が1速ギヤ12のスプライン12aに噛み合う1速位置、図1の状態から左方へ所定量移動したときは、スリーブ24の右方部分がハブ20のスプライン20eに噛み合ったまま左方部分が2速ギヤ14のスプライン14aに噛み合う2速位置となるように、スリーブ24の長さや、スリーブ24とスプライン12a、14aとの位置関係を設定してある。
1速ギヤ12および2速ギヤ14とハブ20との間には、第1同期リング16および第2同期リング18がそれぞれ配置されている。
これらの第1、第2同期リング16、18には、摩擦面12b、14bに対応した摩擦面16a、18aがそれぞれ形成されており、後述するように摩擦面12bおよび16a同士と、摩擦面14bおよび18a同士とが、圧接されたときそれぞれ同期作用を行うようにしてある。
これらの第1、第2同期リング16、18には、摩擦面12b、14bに対応した摩擦面16a、18aがそれぞれ形成されており、後述するように摩擦面12bおよび16a同士と、摩擦面14bおよび18a同士とが、圧接されたときそれぞれ同期作用を行うようにしてある。
ハブ20は、図4に示すように、フランジ部20cから環状部20dにかけて、周上に切り欠き20fが3カ所形成してあり、この切り欠き20fの中には、図1乃至3に示すように、第1同期リング16、第2同期リング18同士とハブ20およびスリーブ24との間に位置させて、3個のスラストピース30がそれぞれ挿入配置されている。
また、図3に示すように、スラストピース30の径方向内側には、ハブ20の両側にそれぞれスプリング28、29が配置されている。スプリング28、29はC形状に成形されており、それらの張力でスラストピース30を径方向外側へそれぞれ押し広げるようにしている。
また、図3に示すように、スラストピース30の径方向内側には、ハブ20の両側にそれぞれスプリング28、29が配置されている。スプリング28、29はC形状に成形されており、それらの張力でスラストピース30を径方向外側へそれぞれ押し広げるようにしている。
以上のように各構成部品が配置されているが、これらの形状と各構成部品間の関係を詳述する。
ハブ20は図4、図5に示してあり、図4は図2に対応したハブ20の外観図であり、図5は図4のハブ20を上方から展開形状で見たハブ20の部分拡大外観図である。
これらの図で分かるように、切り欠き20fの軸方向両端4カ所には、軸方向の一方側(実施例1では1速ギヤ12側)に第1斜面20h、20i、また軸方向の他方側(実施例1では2速ギヤ14側)に第2斜面20j、20kがそれぞれ形成してある。
ハブ20は図4、図5に示してあり、図4は図2に対応したハブ20の外観図であり、図5は図4のハブ20を上方から展開形状で見たハブ20の部分拡大外観図である。
これらの図で分かるように、切り欠き20fの軸方向両端4カ所には、軸方向の一方側(実施例1では1速ギヤ12側)に第1斜面20h、20i、また軸方向の他方側(実施例1では2速ギヤ14側)に第2斜面20j、20kがそれぞれ形成してある。
これらの第1斜面20h、20i、第2斜面20j、20kは、後述するようにスラストピース30が当接してスラストピース30に回転方向の力が作用すると、この回転力を軸方向の力に方向変換してスラストピース30を軸方向に押圧するような形状にしている。
ハブ20には軸方向の孔20mが形成され、図2に示すようにスプリング28,29の一方の端を曲げた端部28a(図2において端部29aの後方に隠れており、図示せず)、29aを挿入して引っかけ、その回転方向の動きを規制するようにしている。
なお、図2は2速ギヤ14側のスプリング29の端部29aを描いているが、1速ギヤ12側のスプリング28の端部28aは図2とは別の孔20mに挿入されている。
なお、図2は2速ギヤ14側のスプリング29の端部29aを描いているが、1速ギヤ12側のスプリング28の端部28aは図2とは別の孔20mに挿入されている。
スリーブ24は図6、図7に示してある。図6は図2に対応したスリーブ24の正面外観図であり、図7は図6において矢印Bから見て展開形状で描いた部分拡大図である。以下、図3に描いたスリーブ24の断面とともに説明する。
各スプライン24aの軸方向両端にはチャンファ24c、24dがそれぞれ形成されており、3カ所のスプライン24iは歯の形状が他のスプライン24aと異なるとともに、その内側には第1斜面24eと押圧面24gを有する凹部24hが形成されている。
各スプライン24aの軸方向両端にはチャンファ24c、24dがそれぞれ形成されており、3カ所のスプライン24iは歯の形状が他のスプライン24aと異なるとともに、その内側には第1斜面24eと押圧面24gを有する凹部24hが形成されている。
これらの3カ所の凹部24hには後述するスラストピース30が係合する。
なお、スプライン24aは、これらの凹部24hが形成された3カ所の両脇各2枚が欠歯しているが、これはハブ20の環状部20dの形状に合わせたものである。
なお、スプライン24aは、これらの凹部24hが形成された3カ所の両脇各2枚が欠歯しているが、これはハブ20の環状部20dの形状に合わせたものである。
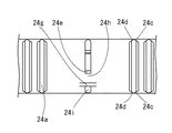
次に、第1同期リング16と第2同期リング18について説明するが、両者の形状および一部の寸法は互いに密接な関係があり、図17を参照しながら説明する。図17は第1同期リング16と第2同期リング18とスラストピース30の3者を、径方向外側から見た要部の外観を展開形状で描いてあり、図1、図3に対応した軸方向の位置関係になっている。
第1同期リング16は、図8、図9および図10に示してあり、図8は図1に対応した断面図であり、図9は図8の左側から見た外観図であり、図10は図8の上側から見て展開形状で描いた部分拡大外観図である。
前述のように第1同期リング16の内側は円錐状の摩擦面16aになっており、1速ギヤ12の摩擦面12bに対面するようにしている。
前述のように第1同期リング16の内側は円錐状の摩擦面16aになっており、1速ギヤ12の摩擦面12bに対面するようにしている。
第1同期リング16の外周3カ所に、前述のハブ20の切り欠き20fに対応して、径方向外側および軸方向(ハブ20側へ向かう方向)に伸びる突起16b(図では個々の突起は、後述するように符号16bの後に−C、−D、−Eを付けてある)を各2個ずつ形成している。
各2個の突起16bの周方向中央部には、軸方向に延びる溝16cとボーク斜面16d、16eを形成している。なお、溝16cは、本発明の第1溝に相当する。
各2個の突起16bの周方向中央部には、軸方向に延びる溝16cとボーク斜面16d、16eを形成している。なお、溝16cは、本発明の第1溝に相当する。
また、突起16bの軸方向長さは長い(符号16bの後に−Cを付けて示す)、短い(符号16bの後に−Dを付けて示す)、両者の中間の長さ(符号16bの後に−Eを付けて示す)の3種類があり、長さが長い2カ所の突起16b−Cは、後述するように同期作用および変速操作でスラストピース30が軸方向に移動した場合において、スラストピース30と第1同期リング16との回転方向の係合が外れないような長さにしてある。
さらに、突起16bはハブ20の切り欠き20fに、対となる突起16b間の溝16cにはスラストピース30が、それぞれ回転方向に一定の遊びを有して係合する。
さらに、突起16bはハブ20の切り欠き20fに、対となる突起16b間の溝16cにはスラストピース30が、それぞれ回転方向に一定の遊びを有して係合する。
第2同期リング18は図11、図12および図13に示してあり、図11は図1に対応した断面を表し、図12は図11の右側から見た外観を示し、図13は図11を上から見て展開形状で描いた部分拡大図である。
前述のように第2同期リング18の内側は円錐状の摩擦面18aになっており、2速ギヤ14の摩擦面14bに対面するようにしている。
前述のように第2同期リング18の内側は円錐状の摩擦面18aになっており、2速ギヤ14の摩擦面14bに対面するようにしている。
第2同期リング18の外周にはスプライン18bを設けるとともに、これらスプライン18bのハブ20側の端部にはチャンファ18c、18dが形成してあり、スリーブ24の左側のチャンファ24c、24dに対応している。
図13に見るように、第2同期リング18の外周3カ所は、前述の第1同期リング16と同様にハブ20の切り欠き20fに対応して、径方向外側および軸方向に伸びる突起18e(図では個々の突起は、後述するように符号16bの後に−F、−G、−Hを付けてある)を各2個ずつ形成している。
図13に見るように、第2同期リング18の外周3カ所は、前述の第1同期リング16と同様にハブ20の切り欠き20fに対応して、径方向外側および軸方向に伸びる突起18e(図では個々の突起は、後述するように符号16bの後に−F、−G、−Hを付けてある)を各2個ずつ形成している。
各2個の突起18eの周方向中央部には、窪み18fと、該窪み18fの中で、この図13中の左端からハブ20側に向けて延びる被押圧部18gを、それぞれ形成している。なお、窪み18fは、本発明の第2溝に相当する。
また、突起18eは、前述の第1同期リング16と同様に、軸方向長さは長い(符号18eの後に−Fを付けて示す)、短い(符号18eの後に−Gを付けて示す)、両者の中間の長さ(符号18eの後に−Hを付けて示す)の3種類があり、長さが長い2カ所の突起18e−Fは、後述するように同期作用および変速操作でスラストピース30が軸方向に移動した場合において、スラストピース30と第2同期リング18との回転方向の係合が外れないような長さにしてある。
さらに、突起18eはハブ20の切り欠き20fに、また窪み18fには後述するスラストピース30が、それぞれ回転方向に一定の遊びを有して係合する。
また、突起18eは、前述の第1同期リング16と同様に、軸方向長さは長い(符号18eの後に−Fを付けて示す)、短い(符号18eの後に−Gを付けて示す)、両者の中間の長さ(符号18eの後に−Hを付けて示す)の3種類があり、長さが長い2カ所の突起18e−Fは、後述するように同期作用および変速操作でスラストピース30が軸方向に移動した場合において、スラストピース30と第2同期リング18との回転方向の係合が外れないような長さにしてある。
さらに、突起18eはハブ20の切り欠き20fに、また窪み18fには後述するスラストピース30が、それぞれ回転方向に一定の遊びを有して係合する。
ここで、再び図17について説明する。
前述したように、第1同期リング16の合計6個の突起16bと、第2同期リング18の合計6個の突起18eとは、図17に示すように配置してあり、第1同期リング16の突起16bと、第2同期リング18の突起18eとが互いに干渉しない位置関係にしてあるとともに、溝16c、窪み18fに係合したスラストピース30に対して、後述するように最も長い突起16b−Cと18e−Fがいずれの回転方向に対しても、どれかのスラストピース30と係合するようになっている。
前述したように、第1同期リング16の合計6個の突起16bと、第2同期リング18の合計6個の突起18eとは、図17に示すように配置してあり、第1同期リング16の突起16bと、第2同期リング18の突起18eとが互いに干渉しない位置関係にしてあるとともに、溝16c、窪み18fに係合したスラストピース30に対して、後述するように最も長い突起16b−Cと18e−Fがいずれの回転方向に対しても、どれかのスラストピース30と係合するようになっている。
すなわち、図17の3カ所をI、J、Kとした場合、第1同期リング16の突起16b−Cは、第1同期リング16が図の右方向に回転位相がずれるとJ部で16b−Cが当接し、左方向に回転位相がずれるとI部で16b−Cが当接するようになっている。
また、第2同期リング18の突起18e−Fは、第2同期リング18が図の右方向に回転位相がずれるとI部で18e−Fが当接し、左方向に回転位相がずれるとJ部で18e−Fが当接するようになっている。
また、第2同期リング18の突起18e−Fは、第2同期リング18が図の右方向に回転位相がずれるとI部で18e−Fが当接し、左方向に回転位相がずれるとJ部で18e−Fが当接するようになっている。
スラストピース30は、図14、図15、図16にいずれも拡大表示してあるような形状になっている。
図14は図1、図3に対応したスラストピース30の断面を表し、図15は図14の上側から見た外観図であり、図16は図14の下から見た外観図である。
スラストピース30は、図1および図3に示すようにスリーブ24の凹部24hに係合させられて、以下のように各部位同士が対応している。すなわち、スラストピース30の第1斜面30aがスリーブ24の第1斜面24eに、被押圧面30bが押圧面24gに、それぞれ対応している。
図14は図1、図3に対応したスラストピース30の断面を表し、図15は図14の上側から見た外観図であり、図16は図14の下から見た外観図である。
スラストピース30は、図1および図3に示すようにスリーブ24の凹部24hに係合させられて、以下のように各部位同士が対応している。すなわち、スラストピース30の第1斜面30aがスリーブ24の第1斜面24eに、被押圧面30bが押圧面24gに、それぞれ対応している。
スラストピース30は、図14、図15、図16に示すように、径方向外側から見ると略I字形状であり、図5に示したハブ20の4カ所に形成した斜面第1斜面20h、20i、第2斜面20j、20kに対応するように、4カ所に第1サーボ斜面30d、30e、第2サーボ斜面30f、30gを形成するとともに、1速ギヤ12側端部には被ボーク斜面30h、30iを形成している。
また、スラストピース30の2速ギヤ14側端部には押圧面30jが形成してあり、後述するように同期作用において第2同期リングの被押圧部18fを押すことができるようになっている。なお、押圧面30jは前述の被押圧面30bと同一面としている。
また、これらの被押圧面30b、第1サーボ斜面30d、30e、第2サーボ斜面30f、30g、被ボーク斜面30h、30iおよび押圧面30jは、単純な平面ではなく緩やかな曲面で形成するのが好適である。
また、これらの被押圧面30b、第1サーボ斜面30d、30e、第2サーボ斜面30f、30g、被ボーク斜面30h、30iおよび押圧面30jは、単純な平面ではなく緩やかな曲面で形成するのが好適である。
そして、4カ所に第1サーボ斜面30d、30e、第2サーボ斜面30f、30gの径方向内側には、窪み30k、30m、30n、30pがそれぞれ形成してある。この窪みは後述するように第1同期リング16および第2同期リング18との干渉を回避するためのものである。
さらに、スラストピース30の内側には2カ所のスプリング斜面30q、30rが形成してあり、このスプリング斜面30q、30r近傍の底面30s、30tにスプリング28、29がその張力で外側へ押し広げるように当接する。
そして、同期作用においてスプリング斜面30q、30rはスプリング28、29に当接可能になっている。
また、上面の窪み30uは、2速ギヤ14と同期作用を行う際の、スリーブ24のスプライン24aとの干渉を防止するために形成してある。
そして、同期作用においてスプリング斜面30q、30rはスプリング28、29に当接可能になっている。
また、上面の窪み30uは、2速ギヤ14と同期作用を行う際の、スリーブ24のスプライン24aとの干渉を防止するために形成してある。
次に、図1に示した同期装置の作動を説明する。
作動は、図3、図17と、図18以降に示す作動図を基に説明する。
前述のように、図3および図17はスリーブ24が中立位置にある状態を示す。図18以降の各図は図17における中央のJ部分を拡大して描いてあり、ハブ20の外観と、スリーブ24はスプライン24aの断面のみを、1速ギヤ12と2速ギヤ18はスプライン12a、14aのみを、それぞれ追加した形で示したものである。
作動は、図3、図17と、図18以降に示す作動図を基に説明する。
前述のように、図3および図17はスリーブ24が中立位置にある状態を示す。図18以降の各図は図17における中央のJ部分を拡大して描いてあり、ハブ20の外観と、スリーブ24はスプライン24aの断面のみを、1速ギヤ12と2速ギヤ18はスプライン12a、14aのみを、それぞれ追加した形で示したものである。
はじめに、図3の中立状態から1速ギヤ12側(以下、右側と記す)へ変速する場合について説明する。
このとき、出力軸10と1速ギヤ12との間に回転速度差があるものとする。
図3において図示しないシフトフォークによりスリーブ24が右側へ移動を始めると、スリーブ24の押圧面24gがスラストピース30の被押圧面30bを押すので、スラストピース30がスリーブ24と一緒に動き、次いでスラストピース30のスプリング斜面30qがスプリング28を、スプリング28が第1同期リング16という順番で右側へ押す。
このとき、出力軸10と1速ギヤ12との間に回転速度差があるものとする。
図3において図示しないシフトフォークによりスリーブ24が右側へ移動を始めると、スリーブ24の押圧面24gがスラストピース30の被押圧面30bを押すので、スラストピース30がスリーブ24と一緒に動き、次いでスラストピース30のスプリング斜面30qがスプリング28を、スプリング28が第1同期リング16という順番で右側へ押す。
それらが一緒になって右側へ移動すると、最初に第1同期リング16の摩擦面16aが1速ギヤ12の摩擦面12bに接触し、第1同期リング16およびスプリング28の移動は止まる。
しかし、スラストピース30はスリーブ24と一緒に、スプリング斜面30qでスプリング28を径方向内側へ押し込みながら移動を続ける。これにより、スプリング28がその張力の影響で第1同期リング16を押し、この力で摩擦面同士12b、16a間で摩擦トルクが発生して初期同期作用が行われる。
前述の回転速度差があるので、この摩擦トルクにより第1同期リング16がハブ20に対してどちらかに回転する。図18は右側へ回転した状態を示している。
すなわち、図18は第1同期リング16がハブ20に対して図中右方向へ回転したため、スラストピース30の被ボーク面30hが第1同期リング16のボーク斜面16dに当接するとともに、スラストピース30が被押圧面30b近傍を揺動中心として揺動して、第1サーボ斜面30dがハブ20の第1斜面20hに当接する。
したがって、摩擦面同士12b、16a間の摩擦トルクがこの第1サーボ斜面30dと第1斜面20h間に作用することになる。
すなわち、図18は第1同期リング16がハブ20に対して図中右方向へ回転したため、スラストピース30の被ボーク面30hが第1同期リング16のボーク斜面16dに当接するとともに、スラストピース30が被押圧面30b近傍を揺動中心として揺動して、第1サーボ斜面30dがハブ20の第1斜面20hに当接する。
したがって、摩擦面同士12b、16a間の摩擦トルクがこの第1サーボ斜面30dと第1斜面20h間に作用することになる。
図18は、前述のようにスリーブ24に押されたスラストピース30が第1同期リング16のボーク斜面16dを押すことで、摩擦面同士12b、16a間の摩擦で同期作用を行っている状態である。
以降は、被ボーク面30h、ボーク斜面16d同士を介してスリーブ24が第1同期リング16を1速ギヤ12に押しつけて同期作用を行う。
以降は、被ボーク面30h、ボーク斜面16d同士を介してスリーブ24が第1同期リング16を1速ギヤ12に押しつけて同期作用を行う。
すなわち、スリーブ24がスラストピース30を介して第1同期リング16を押す力より、これにより発生する摩擦面12b、16a同士間で発生する摩擦トルクが被ボーク面30h、ボーク斜面16d同士に作用して、スリーブ24を中立側へ押し返そうとする力が大きくなるような被ボーク面30h、ボーク斜面16dの角度を設定しているので、同期作用による前記摩擦トルクがある限り、スリーブ24は1速ギヤ12側へ進行することはできず、第1同期リング16を押し続ける。
この同期作用とともに、同期摩擦トルクが第1サーボ斜面30dと第1斜面20h間に作用することにより生ずる軸方向の力が、スリーブ24がスラストピース30を押す力に加勢する形で、スラストピース30を1速ギヤ12側へ押すことになる。
この同期作用とともに、同期摩擦トルクが第1サーボ斜面30dと第1斜面20h間に作用することにより生ずる軸方向の力が、スリーブ24がスラストピース30を押す力に加勢する形で、スラストピース30を1速ギヤ12側へ押すことになる。
すなわち、前述のように第1斜面20hは回転方向の力を軸方向の力に転換する作用を持っているためであり、ここで生ずる力が同期作用を促進することになる。
これは一種の自己サーボ作用であり、スリーブ24が押す力を同じとすると、その分だけ一般的な同期装置に較べて同期性能が向上する。
これは一種の自己サーボ作用であり、スリーブ24が押す力を同じとすると、その分だけ一般的な同期装置に較べて同期性能が向上する。
これらの同期作用により出力軸10と1速ギヤ12との回転速度差がなくなると、前述の摩擦トルクが消滅するので、スラストピース30は第1同期リング16の回転方向位置を中立のときと同じ位置に押し戻して、スリーブ24とともに進行して、やがて図19に示すようにスリーブ24のスプライン24aが1速ギヤ12のスプライン12aと噛み合って変速操作が終わる。
図19は、スラストピース30の窪み30k、30m、30n、30pを細い破線で示してある。この図から、スラストピース30は窪み30kにより第1同期リング16の最も長い突起16d−Dとの干渉を避けていることが分かる。
図19は、スラストピース30の窪み30k、30m、30n、30pを細い破線で示してある。この図から、スラストピース30は窪み30kにより第1同期リング16の最も長い突起16d−Dとの干渉を避けていることが分かる。
つぎに、中立状態から2速ギヤ14側へ変速する場合について説明する。
このとき、出力軸10と2速ギヤ14との間に回転速度差があるものとする。
図3において図示しないシフトフォークによりスリーブ24が左側へ移動を始めると、スプリング29の張力でスラストピース30が径方向外側へ押し広げられているため、上記1速ギヤ12側への変速と同様に、スラストピース30はスプリング29および第2同期リング18と一緒に移動する。
このとき、出力軸10と2速ギヤ14との間に回転速度差があるものとする。
図3において図示しないシフトフォークによりスリーブ24が左側へ移動を始めると、スプリング29の張力でスラストピース30が径方向外側へ押し広げられているため、上記1速ギヤ12側への変速と同様に、スラストピース30はスプリング29および第2同期リング18と一緒に移動する。
すなわち、スラストピース30はスプリング29の張力でスリーブ24側へ押しつけられているため、第1斜面30aがスリーブ24の第1斜面24eにより2速ギヤ14側へ押されることになる。
それらが2速ギヤ14側へ移動すると、最初に第2同期リング18の摩擦面18aが2速ギヤ14の摩擦面14bに接触し、第2同期リング18およびスプリング29の移動は止まる。
しかし、スリーブ24はスラストピース30とスプリング29を径方向内側へ押し込みながら移動を続ける。これにより、スプリング29がその張力の影響で第2同期リング18を押し、この力で摩擦面同士14b、18a間で摩擦トルクが発生して初期同期作用が行われる。
しかし、スリーブ24はスラストピース30とスプリング29を径方向内側へ押し込みながら移動を続ける。これにより、スプリング29がその張力の影響で第2同期リング18を押し、この力で摩擦面同士14b、18a間で摩擦トルクが発生して初期同期作用が行われる。
この摩擦トルクにより第2同期リング18がハブ20に対して回転して、図20に示すようにスリーブ24のチャンファ24cが第2同期リング18のチャンファ18cに当接して2速ギヤ14方向へ押圧する。
以降は、このチャンファ24c、18c同士を介してスリーブ24が第2同期リング18を2速ギヤ14に押しつけて同期作用を行う。
すなわち、スリーブ24が第2同期リング18を押す力より、これにより発生する摩擦面14b、18a同士間で発生する摩擦トルクがチャンファ24c、18c同士に作用して、スリーブ24を右側へ押し返そうとする力が大きくなるようなチャンファ24c、18cの角度に設定しているので、同期作用による前記摩擦トルクがある限り、スリーブ24は左側へ進行することはできず、第2同期リング18を押し続ける。
すなわち、スリーブ24が第2同期リング18を押す力より、これにより発生する摩擦面14b、18a同士間で発生する摩擦トルクがチャンファ24c、18c同士に作用して、スリーブ24を右側へ押し返そうとする力が大きくなるようなチャンファ24c、18cの角度に設定しているので、同期作用による前記摩擦トルクがある限り、スリーブ24は左側へ進行することはできず、第2同期リング18を押し続ける。
このとき、スリーブ24の2速ギヤ14側への押圧力がチャンファ24c、18cで第2同期リング18を回転させようとするトルクを超えた分の摩擦トルクは、図20に示すようにスラストピース30に作用して、これを揺動させる。
このため、スラストピース30は1速ギヤ12側端部分を揺動中心として揺動して図20に示すように、その第2サーボ斜面30fがハブ20の第2斜面20jに当接し、前述の摩擦トルクの差分がこの第2サーボ斜面30fと第2斜面20j間に作用する。
そのため、この摩擦トルクが軸方向の力に変換されてスラストピース30を2速ギヤ14側へ押圧することになり、スラストピース30は押圧面30jが第2同期リング18の被押圧部18gを左側へ押す。
したがって、第2同期リング18は前記のスリーブ24からチャンファ24c、18c同士を介して押される力と、このスラストピース30から押される力の両者が合力した力で2速ギヤ14側へ押圧され、同期作用を行うことになるので、スラストピース30から押される力の分だけ、従来の一般的な同期装置より同期性能が向上することになる。
したがって、第2同期リング18は前記のスリーブ24からチャンファ24c、18c同士を介して押される力と、このスラストピース30から押される力の両者が合力した力で2速ギヤ14側へ押圧され、同期作用を行うことになるので、スラストピース30から押される力の分だけ、従来の一般的な同期装置より同期性能が向上することになる。
これらの同期作用により出力軸10と2速ギヤ14との回転速度差がなくなると、同期作用による摩擦トルクが消滅するので、スリーブ24はチャンファ24cにより第2同期リング18を回転させて中立位置へ戻しながら左側へ進行して、やがてスプライン24aが2速ギヤ14のスプライン14aと噛み合って変速操作が終わる。
図20は、図19と同様にスラストピース30の窪み30k、30m、30n、30pを細い破線で示してある。この図から、スラストピース30は窪み30nにより第2同期リング18の最も長い突起16e−Eとの干渉を避けていることが分かる。
以上の説明でわかるように、同じ同期容量(摩擦トルク)を得るためにスリーブ24が第1同期リング16または第2同期リング18を押圧する荷重は、従来の一般的なボーグワーナー型同期装置と較べて小さく済むので、その分だけ同期性能が高いことになる。
本発明の同期装置は従来例に比べて所要の軸方向スペースが小さくできることが特徴である。そのため、変速機を小型・軽量にすることが可能になる。
所要の軸方向スペースが小さくできる理由は、第1同期リング16と第2同期リング18のそれぞれ合計6個の突起16b、18eのうち少なくとも各2個の軸方向突き出し量を大きくして、スラストピース30が移動しても第1同期リング16と第2同期リング18との回転方向の係合が外れないようにしたことである。
また、スラストピース30の径方向内側に窪み30k、30m、30n、30pを形成して、同期作用をしている同期リング16または18との干渉を避けることができるので、この面でも所要の軸方向スペースを小さくすることが可能になる。
所要の軸方向スペースが小さくできる理由は、第1同期リング16と第2同期リング18のそれぞれ合計6個の突起16b、18eのうち少なくとも各2個の軸方向突き出し量を大きくして、スラストピース30が移動しても第1同期リング16と第2同期リング18との回転方向の係合が外れないようにしたことである。
また、スラストピース30の径方向内側に窪み30k、30m、30n、30pを形成して、同期作用をしている同期リング16または18との干渉を避けることができるので、この面でも所要の軸方向スペースを小さくすることが可能になる。
本発明の変速機用同期装置は、当業者の一般的な知識に基づいて、摩擦面における摩擦係数を高めるために同期リングの摩擦面にネジや油溝を形成するなどの変更を加えた態様で実施することができるとともに、摩擦面に適切な材料を用いることによってより高い同期性能を得ることや、マルチコーンと呼ばれる摩擦面を複数備えた同期装置に応用することができる。
本発明の変速機用同期装置は、特に製造コストの低減を要求される乗用車用変速機に適用してメリットを得ることができるが、乗用車用に限られず、同期装置を必要とする種々の車両等に適用でき、また変速機も手動式変速機に限られず、アクチュエータで変速操作を行う半自動式変速機や全自動式変速機などにも適用することができる。
10 出力軸
12 1速ギヤ
14 2速ギヤ
16 第1同期リング
18 第2同期リング
20 ハブ
22 ブッシュ
24 スリーブ
26 ベアリング
28、29 スプリング
30 スラストピース
12 1速ギヤ
14 2速ギヤ
16 第1同期リング
18 第2同期リング
20 ハブ
22 ブッシュ
24 スリーブ
26 ベアリング
28、29 スプリング
30 スラストピース
Claims (2)
- 動力を伝える軸と、
該軸に固定したボス部から径方向外側に延ばしたフランジ部の外周に複数の切り欠きとスプラインとを形成するとともに、前記切り欠きの軸方向の一方の端部隅2カ所に回転方向の力を軸方向の力に転換可能な第1斜面を形成したハブと、
内周にスプラインと該スプラインの一部の軸方向途中部分に押圧面および斜面を有する凹部とをそれぞれ形成し、前記ハブの前記スプラインに軸方向摺動可能に支持されたスリーブと、
該スリーブが嵌合可能なスプラインおよび摩擦面を前記ハブ側に一体的に設け、前記ハブの軸方向両側にそれぞれ配置した変速ギヤと、
該変速ギヤのうち、前記一方の側の変速ギヤの前記摩擦面に圧接可能な摩擦面を形成するとともに、外周の3カ所にボーク斜面を有し、軸方向に延びる第1溝を形成し、前記ハブと前記一方の変速ギヤとの間に配置した第1同期リングと、
前記変速ギヤのうち、他方の側の変速ギヤの前記摩擦面に圧接可能な摩擦面を形成するとともに、外周にチャンファ面を有するスプラインと、前記第2同期リングの外周の3カ所に軸方向に延びる第2溝を形成し、前記ハブと前記他方の変速ギヤとの間に配置した第2同期リングと、
前記スリーブの凹部と前記第1同期リングの第1溝と前記第2同期リングの第2溝とに挿入し、前記ハブの切り欠き内を軸方向移動可能にしたスラストピースと、
前記スラストピースを径方向外側へ押し広げるスプリングと、
を備え、
前記スラストピースは、外面に前記スリーブの押圧面および斜面に係合して軸方向へ押圧される被押圧面と斜面とを有するとともに、前記第1同期リングのボーク斜面に当接可能なボーク面と前記ハブの第1斜面に当接可能な第1サーボ斜面とを有し、前記スリーブの前記第1同期リング側への移動に際しては前記スリーブと一緒に移動し、その反対側への前記スリーブの移動に際しては前記スプリングの張力に抗して径方向内側へ移動可能とするとともに、
前記第1同期リングと前記第2同期リングとは、前記3カ所の第1溝および前記第2溝の両側に、前記スラストピースと係合可能な突起を合計6個有し、該6個のうち少なくとも2個の前記突起を他の前記突起より軸方向突き出し量を大きくして、前記スラストピースとの係合可能としたことを特徴とする変速機用同期装置。 - 前記スラストピースの前記第1サーボ斜面近傍の径方向内側に窪みを設けて、前記第1同期リングとの干渉を回避させたことを特徴とする請求項1に記載の変速機用同期装置。
Priority Applications (1)
| Application Number | Priority Date | Filing Date | Title |
|---|---|---|---|
| JP2010058848A JP2011190899A (ja) | 2010-03-16 | 2010-03-16 | 変速機用同期装置 |
Applications Claiming Priority (1)
| Application Number | Priority Date | Filing Date | Title |
|---|---|---|---|
| JP2010058848A JP2011190899A (ja) | 2010-03-16 | 2010-03-16 | 変速機用同期装置 |
Publications (1)
| Publication Number | Publication Date |
|---|---|
| JP2011190899A true JP2011190899A (ja) | 2011-09-29 |
Family
ID=44796032
Family Applications (1)
| Application Number | Title | Priority Date | Filing Date |
|---|---|---|---|
| JP2010058848A Pending JP2011190899A (ja) | 2010-03-16 | 2010-03-16 | 変速機用同期装置 |
Country Status (1)
| Country | Link |
|---|---|
| JP (1) | JP2011190899A (ja) |
Cited By (1)
| Publication number | Priority date | Publication date | Assignee | Title |
|---|---|---|---|---|
| CN111795079A (zh) * | 2020-06-24 | 2020-10-20 | 陕西法士特汽车传动集团有限责任公司 | 一种大容量嵌入式锥面同步器、变速器 |
-
2010
- 2010-03-16 JP JP2010058848A patent/JP2011190899A/ja active Pending
Cited By (2)
| Publication number | Priority date | Publication date | Assignee | Title |
|---|---|---|---|---|
| CN111795079A (zh) * | 2020-06-24 | 2020-10-20 | 陕西法士特汽车传动集团有限责任公司 | 一种大容量嵌入式锥面同步器、变速器 |
| CN111795079B (zh) * | 2020-06-24 | 2024-06-11 | 陕西法士特汽车传动集团有限责任公司 | 一种大容量嵌入式锥面同步器、变速器 |
Similar Documents
| Publication | Publication Date | Title |
|---|---|---|
| KR101328817B1 (ko) | 변속기용 동기 장치 | |
| JP4609796B2 (ja) | 変速機用同期装置 | |
| JP6218356B2 (ja) | 変速機用同期装置 | |
| JP5390909B2 (ja) | 変速機用同期装置 | |
| US20050061095A1 (en) | Automotive power transmission with synchromesh mechanism | |
| JP5419624B2 (ja) | 変速機用同期装置 | |
| JP2010242827A5 (ja) | ||
| JP6190102B2 (ja) | 変速機用同期装置 | |
| JP6183999B2 (ja) | 変速機用同期装置 | |
| JP6018475B2 (ja) | 変速機用同期装置 | |
| JP2008215600A (ja) | 手動変速機の同期噛合装置 | |
| JP2011190899A (ja) | 変速機用同期装置 | |
| JP2009236202A (ja) | 変速機用同期装置 | |
| JP2006226515A (ja) | 変速機用同期装置 | |
| JP2007285400A (ja) | 変速機用同期装置 | |
| JP2006226516A (ja) | 変速機用同期装置 | |
| KR101448396B1 (ko) | 수동변속기의 싱크로나이저 | |
| JP2005291423A (ja) | 変速機用同期装置 | |
| JP6204156B2 (ja) | 変速機用同期装置 | |
| JP2007292151A (ja) | 変速機のシンクロメッシュ機構 | |
| JP2009036217A (ja) | 変速機の同期装置 | |
| JP5161181B2 (ja) | トランスミッションの同期結合装置 | |
| JP2008215450A (ja) | 変速機の同期装置 | |
| JP2004076812A (ja) | トランスミッションの同期結合装置 | |
| JP2003240015A (ja) | 変速機用同期装置 |