JP2011190878A - 配管継手 - Google Patents

配管継手 Download PDF

Info

Publication number
JP2011190878A
JP2011190878A JP2010058048A JP2010058048A JP2011190878A JP 2011190878 A JP2011190878 A JP 2011190878A JP 2010058048 A JP2010058048 A JP 2010058048A JP 2010058048 A JP2010058048 A JP 2010058048A JP 2011190878 A JP2011190878 A JP 2011190878A
Authority
JP
Japan
Prior art keywords
pipe
fluid flow
flow path
branch
inclined surface
Prior art date
Legal status (The legal status is an assumption and is not a legal conclusion. Google has not performed a legal analysis and makes no representation as to the accuracy of the status listed.)
Granted
Application number
JP2010058048A
Other languages
English (en)
Other versions
JP5401648B2 (ja
Inventor
Noriaki Inoue
典顕 井上
Mitsuru Hirai
充 平井
Current Assignee (The listed assignees may be inaccurate. Google has not performed a legal analysis and makes no representation or warranty as to the accuracy of the list.)
Mitsubishi Chemical Corp
Nix Inc
Original Assignee
Mitsubishi Plastics Inc
Nix Inc
Priority date (The priority date is an assumption and is not a legal conclusion. Google has not performed a legal analysis and makes no representation as to the accuracy of the date listed.)
Filing date
Publication date
Application filed by Mitsubishi Plastics Inc, Nix Inc filed Critical Mitsubishi Plastics Inc
Priority to JP2010058048A priority Critical patent/JP5401648B2/ja
Publication of JP2011190878A publication Critical patent/JP2011190878A/ja
Application granted granted Critical
Publication of JP5401648B2 publication Critical patent/JP5401648B2/ja
Active legal-status Critical Current
Anticipated expiration legal-status Critical

Links

Images

Landscapes

  • Branch Pipes, Bends, And The Like (AREA)

Abstract

【課題】分岐部の分岐角度やサイズ等を変更することなく、任意の方向から接続用治具を挿入させることが可能な配管継手を提供する。
【解決手段】配管に接続され、当該配管の流体流路に連通する流体流路11を有する配管接続部10と、チューブ100A及び100Bに各々接続され、チューブ100A及び100Bの流体流路に連通する流体流路31A及び31Bを各々有する分岐部30A及び30Bと、配管接続部10と分岐部30A及び30Bとの間に位置し、流体流路11、31A及び31Bと連通する流体流路51を有する連通部50を備え、配管接続部10は、基端側に接続用治具110が挿入される被挿入部15を有し、被挿入部15の基端に接続用治具110と係合可能な係合部13を形成した。
【選択図】図1

Description

本発明は、配管同士の接続、配管とチューブやホース等との接続、配管とバルブ等との接続等、配管を被接続体に接続する際に用いられる配管継手に関する。
従来から、配管同士の接続、配管とチューブやホース等との接続、配管とバルブ等との接続等、配管を被接続体に接続するための様々な配管継手が紹介されている。このような配管継手として、例えば、上流側に配設された配管に接続される配管接続部と、当該配管接続部から供給された流体を分岐して複数の被接続体に導入させる分岐部と、前記配管接続部と分岐部との間に位置し、当該配管接続部と分岐部とを連通させる連通部と、を有する分岐用の配管継手が使用されている。
このような分岐用の配管継手として、例えば、連通部の配管接続部が突出する端面に、配管継手を配管に接続するための接続用治具に設けられたU字状受止部を係合させる係合部を形成した熱媒通流用接続具が紹介されている(例えば、特許文献1参照)。
また、連通部から、2つの分岐部が、配管接続部の軸方向に対して所定の角度θを持って分岐していると共に、前記連通部に、ホースを前記分岐部に接続する際に用いられるホース接続用治具の受止部が係合する係合部が設けられており、且つ、前記係合部には、各分岐部の前記角度θに対応して、前記ホース接続用治具の受止部が適切な角度で係合するように、突起または傾斜が設けられたホースジョイント(配管継手)も紹介されている(例えば、特許文献2参照)。
特開2000−297942号公報 特開2002−5371号公報
しかしながら、特許文献1に記載された配管継手に形成された係合部は、接続用治具に設けられたU字状の受止部と係合するため、平面視で長丸形状を有している。このため、配管継手の側面(長軸と平行な方向)から接続用治具を挿入させる必要があり、配管継手の正面側(短軸と平行な方向)からは接続用治具を挿入させることができなかった。したがって、配管に配管継手を取付ける際には、接続用治具を左右いずれかの手に持ち替えて行う作業となり、作業効率を向上させることが困難であった。
また、引用文献2に記載された配管継手は、ホース接続用治具の受止部が係合する係合部が連通部に形成されているが、この連通部は、平面視で角部が丸くなった略長方形を有しており、配管継手の側面(長辺と平行な方向)から接続用治具を挿入させる構成を有しているため、配管継手の正面側(短辺と平行な方向)からは接続用治具を挿入させることができなかった。したがって、引用文献1と同様に、配管に配管継手を取付ける際には、接続用治具を左右いずれかの手に持ち替えて行う作業となり、作業効率を向上させることが困難であった。
そこで、正面側から接続用治具を挿入させることが可能な構成を有する配管継手も検討されているが、分岐部の分岐角度を広くとる必要があり、専用キャップ部材が使用できなくなったり、配管継手全体の長さが長くなりコストの増加を招くと共に、配設場所のスペースを広く確保する必要があり、用途が制限される虞がある。
本発明は、このような事情に鑑みなされたものであり、分岐部の分岐角度やサイズ等を変更することなく、任意の方向から接続用治具を挿入させることが可能な配管継手を提供することを目的とする。
この目的を達成するため本発明は、配管を複数の被接続体に接続し、当該配管の流体流路と当該被接続体の流体流路とを連通させる配管継手であって、前記配管に接続され且つ当該配管の流体流路に連通する流体流路を有する配管接続部と、前記被接続体に各々接続され且つ当該被接続体の流体流路に連通する流体流路を有する分岐部と、前記配管接続部と前記各々の分岐部との間に位置し、当該配管接続部の流体流路と各々の分岐部の流体流路とを連通させる流体流路を有する連通部と、を備え、前記配管接続部の基端に、前記分岐部を前記被接続体に接続するための接続用治具が挿入される被挿入部を有し、当該被挿入部の基端に、当該被挿入部に挿入した接続用治具と係合可能な係合部を形成してなる配管継手を提供するものである。
この構成を備えた配管継手は、分岐部を前記被接続体に接続するための接続用治具が挿入される被挿入部が、配管接続部の基端に形成されているため、この被挿入部のサイズや形状等は、分岐部の配設数やサイズ等に左右されることがない。したがって、分岐部の分岐角度やサイズ等を変更することなく、接続用治具を任意の方向から挿入させることができる。
また、本発明に係る配管継手は、前記被挿入部の外形が略円筒形であることが、接続用治具を挿入する上でより好ましい。
そしてまた、前記係合部は、前記分岐部の軸芯に対し略垂直に傾斜した係合傾斜面を有することができる。この構成の場合、前記分岐部の少なくとも1つを前記配管接続部の軸芯に対し所定の分岐角度で分岐させ、前記係合傾斜面は、前記所定の分岐角度で分岐した分岐部に対し、前記配管接続部の軸芯を挟んだ反対側に形成することができる。このように構成することで、前記被挿入部に挿入された接続用治具が、前記傾斜面に支持されて当該傾斜面に沿って傾くため、前記利点に加え、前記被接続体の挿入角度を、接続すべき分岐部の分岐角度に簡単に合わせることができるため、両者をさらに簡単に接続することができる。
また、前記係合部は、前記係合傾斜面と、当該係合傾斜面の、前記配管接続部の軸芯から離れた傾斜方向端部に形成され且つ前記配管側に向けて突出した側壁と、を備えることができる。このように前記係合傾斜面に側壁を形成することで、前記利点に加え、前記被挿入部に挿入された接続用治具により前記分岐部に被接続体を接続させる際に、当該接続用治具が最適な位置からずれた位置に動こうとしても、側壁に当接するため、当該接続用治具を最適な位置に維持することができる。
さらにまた、本発明に係る配管継手は、前記連通部の流体流路を画定する内壁の前記配管接続部側に、当該連通部の流体流路が前記配管接続部の流体流路から分岐部側に向けて徐々に広くなるよう傾斜する流路傾斜面を形成することができる。このように流路傾斜面を形成することで、前記配管接続部の流体流路と、前記連通部の流体流路との接続部分をなめらかに繋げることができる。したがって、流体流路を流れる流体による圧力損失を小さくすることができる。
また、前記流路傾斜面を形成した場合、前記連通部の外壁の前記流路傾斜面と対応する領域に、当該流路傾斜面と略平行な外壁傾斜面を形成することができる。このように外壁傾斜面を形成することで、前記流路傾斜面と対応する領域の肉厚が厚くなることを防止することができ、前記連通部の肉厚を均一にすることができる。したがって、材料の消費量を削減することができる。
本発明によれば、分岐部の分岐角度やサイズ、分岐部の配設数(分岐数)やレイアウト等に関わらず、接続用治具を任意の方向から挿入させることができ、当該分岐部に被接続体を接続するための作業効率を向上させることができると共に、汎用性が拡大した配管継手を提供することができる。
本発明の実施例に係る配管継手の斜視図である。 図1に示す配管継手の正面図である。 図2に示す配管継手の側面図である。 図2に示す配管継手の平面図である。 図2に示す配管継手の底面図である。 図3に示すVI−VI線に沿った断面図である。 図2に示す配管継手の分岐部に被接続体であるチューブを接続させる工程の一部を示す正面図である。 図7に示す工程の平面図である。 本発明の他の実施例に係る配管継手の正面図である。 図9に示す配管継手の図6に準じた断面図である。 本発明の他の実施例に係る配管継手の斜視図である。 図11に示す配管継手の正面図である。 図12に示す配管継手の側面図である。 図12に示す配管継手の平面図である。 図12に示す配管継手の底面図である。 図13に示すXVI−XVI線に沿った断面図である。 本発明の他の実施例に係る配管継手の正面図である。 図18に示す配管継手の側面図である。 図18に示す配管継手の平面図である。 図18に示す配管継手の底面図である。
次に、本発明の実施例に係る配管継手について図面を参照して説明する。なお、以下に記載される実施例は、本発明を説明するための例示であり、本発明をこれらの実施例にのみ限定するものではない。したがって、本発明は、その要旨を逸脱しない限り、様々な形態で実施することができる。
図1は、本発明の実施例に係る配管継手の斜視図、図2は、図1に示す配管継手の正面図、図3は、図2に示す配管継手の側面図、図4は、図2に示す配管継手の平面図、図5は、図2に示す配管継手の底面図、図6は、図3に示すVI−VI線に沿った断面図、図7は、図2に示す配管継手の分岐部に被接続体であるチューブを接続させる工程の一部を示す正面図、図8は、図7に示す工程の平面図である。なお、前記各図では、説明を判り易くするため、各部材の厚さやサイズ、拡大・縮小率等は、実際のものとは一致させずに記載した。また、配管継手の構成要件である配管接続部及び分岐部については、連通部側を「基端」、連通部から離れた側を「先端」として説明する。
図1〜図6に示すように、本実施例に係る配管継手1は、配管(図示せず)に接続される配管接続部10と、被接続体としてのチューブ100A及び100B(図7参照)が接続される分岐部30A及び30Bと、配管接続部10と分岐部30A及び30Bとの間に位置し、配管接続部10と分岐部30A及び30Bとを各々連通させる連通部50とを備えている。そして、本実施例では、これらの配管接続部10、分岐部30A及び30B、連通部50は、一体的に形成されている。
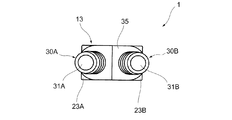
配管接続部10は、中空の略円筒形を有し、この中空部分が配管(図示せず)の内部に形成されている流体流路(即ち、配管の中空部)に連通する流体流路11となっている。この流体流路11は、後に詳述する連通部50の内部に形成されている流体流路51に連通されている。また、配管接続部10の軸芯方向中央部よりも連通部50側には、フランジ12が形成されており、配管接続部10の基端には、係合部13がフランジ12と所定の距離を置いて配設されている。そして、この配管接続部10のうち、フランジ12と係合部13との間となる略円筒形の領域が、後に詳述する分岐部30A及び30Bをチューブ100A及び100Bに接続するための接続用治具110に形成されている受領穴116に挿入される被挿入部15となっている。
また、配管接続部10は、フランジ12よりも先端側が配管の中空部に挿入されることで配管に接続され、接続した配管の端面がフランジ12に当接して係止されるようになっている。この配管接続部10の外周面には、先端側から基端側に向けて径が若干大きくなるように形成された複数のスリーブ16が、先端側から基端側に向けて順に形成されている。これらのスリーブ16は、先端側のスリーブ16と、これに隣接する基端側のスリーブ16との径の差により、段状の係止部17を形成し、この係止部17の存在により、配管接続部10に接続された配管の抜け止めがなされるようになっている。
係合部13は、配管接続部10の軸芯O(図2参照)が通る位置から分岐部30Aの分岐方向(図2でいう左下方)に向けて傾いた係合傾斜面23Aと、配管接続部10の軸芯Oが通る位置から分岐部30Bの分岐方向(図2でいう右下方)に向けて傾いた係合傾斜面23Bと、係合傾斜面23Aの配管接続部10から離れた先端に形成され且つ配管接続部10に接続される配管に向けて突出した側壁24Aと、係合傾斜面23Bの配管接続部10から離れた先端に形成され且つ前記配管に向けて突出した側壁24Bと、を有している。係合傾斜面23Aは、分岐部30Bの軸芯OBに対し略垂直に交わる角度で傾斜しており(図2参照)、係合傾斜面23Bは、分岐部30Aの軸芯OAに対し略垂直に交わる角度で傾斜している(図2参照)。即ち、係合傾斜面23Aは、分岐部30Bに対し配管接続部10の軸芯Oを挟んだ反対側に形成されており、係合傾斜面23Bは、分岐部30Aに対し配管接続部10の軸芯Oを挟んだ反対側に形成されている。また、側壁24A及び24Bは、係合傾斜面23A及び23Bに対し各々略垂直に突出形成されている。
分岐部30A及び30Bは、中空の略円筒形を有し、これら各々の中空部分がチューブ100A及び100Bの内部に形成されている流体流路(即ち、チューブ100A及び100Bの中空部)に連通する流体流路31A及び31Bとなっている。これらの流体流路31A及び31Bは、後に詳述する連通部50の内部に形成されている流体流路51に連通されている。分岐部30Aは、図2に示すように、その軸芯OAが、配管接続部10の軸芯Oと角度θをなすよう連通部50から分岐されている。また、分岐部30Bは、図2に示すように、その軸芯OBが、配管接続部10の軸芯Oと角度θをなすよう連通部50から分岐されている。
分岐部30A及び30Bの基端には、分岐部30A及び30Bよりも外側に張り出した張出部35が形成されており、分岐部30A及び30Bがチューブ100A及び100Bの中空部に挿入されてチューブ100A及び100Bに接続された際に、チューブ100A及び100Bの端面が張出部35に各々当接して係止されるようになっている。
そしてまた、分岐部30A及び30Bの外周面には、先端側から基端側に向けて径が若干大きくなるように形成された複数のスリーブ36が、先端側から基端側に向けて順に形成されている。これらのスリーブ36は、先端側のスリーブ36と、これに隣接する基端側のスリーブ36との径の差により、段状の係止部37を形成し、この係止部37の存在により、分岐部30A及び30Bに各々接続されたチューブ100A及び100Bの抜け止めがなされるようになっている。
連通部50は、配管接続部10の基端側から分岐部30A及び30Bの基端側に向けて断面積が大きくなる略円錐状を有し、その内部には、配管接続部10の流体流路11と連通し且つ分岐部30A及び30Bの流体流路31A及び31Bと連通する流体流路51が形成されている。連通部50の流体流路51を画定する内壁であって、配管接続部10の基端側となる部分には、外側に向けて傾斜する流路傾斜面55が形成されている。この流路傾斜面55により、流体流路51が、配管接続部10の流体流路11から分岐部30A及び30Bに向けて徐々に広くなる形状となる。したがって、流体流路11と流体流路51との接続部分をなめらかに繋げることができ、流体流路11から流体流路51への流体の移動、あるいは、流体流路51から流体流路11への流体の移動をスムーズに行うことができる。このため、流体の流通による圧力損失を小さくすることができる。
接続用治具110は、図7及び図8に示すように、支柱115と、支柱115に移動可能に配設され、チューブ100Aを着脱可能に把持する把持部120と、支柱115の先端に配設され、配管接続部10の被挿入部15が挿入される受領穴116を画定する平面視で略U字状の受領部130と、を有している。把持部120は、チューブ100Aの軸芯が、支柱115の軸芯に平行となるようにチューブ100Aを把持するよう構成されている。また、受領部130の平面視で略U字状を呈する面は、支柱115の軸芯方向に対し垂直な面となっている。
接続用治具110を用いて配管継手1の分岐部30Aにチューブ100Aを接続するには先ず、図7及び図8に示すように、接続用治具110の把持部120でチューブ100Aを把持した状態で、受領穴116に被挿入部15が挿入されるよう、受領部130を配管継手1の正面から挿入する。このように、接続用治具110を正面から挿入させることができるため、作業者は、接続用治具110を持ち替える必要がなく、作業効率を向上させることができる。また、接続用治具110は、配管接続部10の被挿入部15に挿入されるため、分岐部30A及び30Bの分岐角度θを通常よりも広くとる必要もない。
次に、受領部130を係合傾斜面23Bに乗せて、接続用治具110を係合傾斜面23Bに沿って傾斜させる。この時、係合傾斜面23Bは、前述したように、分岐部30Aに対し配管接続部10の軸芯Oを挟んだ反対側に形成されており、且つ分岐部30Aの軸芯OAに対し略垂直に交わる角度で傾斜しているため、接続用治具110を係合傾斜面23Aに沿って傾斜させる(図7参照)ことで、チューブ100Aの軸芯と、分岐部30Aの軸芯OAとを簡単に揃えることができる。さらに、受領部130が側壁24Bに当接するため、作業時の位置ずれ等が抑制される。したがって、この状態で把持部120を受領部130に接近させる方向に移動させることで、チューブ100Aの中空部に分岐部30Aを容易に挿入でき、分岐部30Aにチューブ100Aを簡単に接続することができる。また、分岐部30Bにチューブ100Bを接続する際は、受領部130を係合傾斜面23Aに乗せて、接続用治具110を係合傾斜面23Aに沿って傾斜させればよい。
なお、本実施例では、連通部50の流体流路51を画定する内壁に流路傾斜面55を形成した場合について説明したが、この構成の場合、例えば、図9及び図10に示すように、連通部50の流路傾斜面55が形成されている部分の外壁に、流路傾斜面55と略平行な外壁傾斜面65を形成してもよい。このように構成することで、この部分の肉厚が厚くなることを抑制することができ、この部分の肉厚をほぼ均一にすることができる。したがって、材料の消費量を削減することができる。
また、本実施例では、2つの分岐部30A及び30Bを配設した場合について説明したが、これに限らず、例えば、図11〜図16に示すように、3つの分岐部30A〜30Cを配設してもよい。具体的には、中央に分岐部30Cを配置し、分岐部30Cの軸芯OCを配管接続部10の軸芯Oと一致させ(図12参照)、3つの分岐部30A〜30Cが一直線上になる(図15参照)よう、正面視で、分岐部30Cの両側に分岐部30A及び30Bを各々配設してもよい。この構成では、3つの分岐部30A〜30Cが一直線上になるよう配設しているため、連通部50及び分岐部30A〜30Cの幅(図12でいう左右方向の長さ)が大きくなるが、接続用治具110は、配管接続部10の被挿入部15に挿入されるため、分岐部の配設数やレイアウト等に関わらず、同一の接続用治具110を使用することができる。なお、符号31Cは、分岐部30Cの内部に形成されている流体流路である。
また、3つの分岐部30A〜30Cを配設する場合の前記とは異なったレイアウトとしては、例えば、図17〜図20に示すように、中央の分岐部30Cを、その両側に各々配置される分岐部30A及び30Bからオフセットさせた構成を挙げることができる。この構成の変形として、分岐部30Cを、分岐部30A及び30Bのように、配管接続部10の軸芯Oに対し所定の分岐角度で傾斜させてもよい。なお、図17〜図20に示す配管継手1の正面形状は、図12と同様である。
そしてまた、本実施例では、係合部13として、係合傾斜面23A及び23Bに側壁24A及び24Bを各々設け、接続用治具110を正面から挿入する場合について説明したが、これに限らず、例えば、側壁24A及び24Bを配設せず、接続用治具110を被挿入部15の任意の方向から挿入できるようにしてもよい。また、係合傾斜面23A及び23Bの傾斜方向は、分岐部の分岐角度や分岐方向により適宜変更すればよい。
さらにまた、本発明に係る配管継手1は、配管から供給された流体をチューブ等の被接続体に供給するために使用してもよく、被接続体から供給された流体を配管に供給するために使用してもよい。
1…配管継手、 10…配管接続部、 11、31A〜31C、51…流体流路、 13…係合部、 15…被挿入部、 23A、23B…係合傾斜面、 24A、24B…側壁、 30A〜30C…分岐部、 50…連通部、 55…流路傾斜面、 65…外壁傾斜面、 100A、100B…チューブ、 110…接続用治具

Claims (7)

  1. 配管を複数の被接続体に接続し、当該配管の流体流路と当該被接続体の流体流路とを連通させる配管継手であって、
    前記配管に接続され、当該配管の流体流路に連通する流体流路を有する配管接続部と、
    前記被接続体に各々接続され、当該被接続体の流体流路に連通する流体流路を有する分岐部と、
    前記配管接続部と前記各々の分岐部との間に位置し、当該配管接続部の流体流路と各々の分岐部の流体流路とを連通させる流体流路を有する連通部と、
    を備え、
    前記配管接続部の基端に、前記分岐部を前記被接続体に接続するための接続用治具が挿入される被挿入部を有し、当該被挿入部の基端に、当該被挿入部に挿入した接続用治具と係合可能な係合部を形成してなる配管継手。
  2. 前記被挿入部の外形は、略円筒形を有してなる請求項1記載の配管継手。
  3. 前記係合部は、前記分岐部の軸芯に対し略垂直に傾斜した係合傾斜面を有してなる請求項1または請求項2記載の配管継手。
  4. 前記分岐部の少なくとも1つは、前記配管接続部の軸芯に対し所定の分岐角度で分岐してなり、
    前記係合傾斜面は、前記所定の分岐角度で分岐した分岐部に対し、前記配管接続部の軸芯を挟んだ反対側に形成されてなる請求項3記載の配管継手。
  5. 前記係合部は、前記係合傾斜面の、前記配管接続部の軸芯から離れた傾斜方向端部に、前記配管側に向けて突出した側壁を有してなる請求項4記載の配管継手。
  6. 前記連通部は、当該連通部の流体流路を画定する内壁の前記配管接続部側に、当該連通部の流体流路が前記配管接続部の流体流路から分岐部側に向けて徐々に広くなるよう傾斜する流路傾斜面を有してなる請求項3ないし請求項5のいずれか一項に記載の配管継手。
  7. 前記連通部の外壁は、前記流路傾斜面と対応する領域に、当該流路傾斜面と略平行な外壁傾斜面を有してなる請求項6記載の配管継手。
JP2010058048A 2010-03-15 2010-03-15 配管継手 Active JP5401648B2 (ja)

Priority Applications (1)

Application Number Priority Date Filing Date Title
JP2010058048A JP5401648B2 (ja) 2010-03-15 2010-03-15 配管継手

Applications Claiming Priority (1)

Application Number Priority Date Filing Date Title
JP2010058048A JP5401648B2 (ja) 2010-03-15 2010-03-15 配管継手

Publications (2)

Publication Number Publication Date
JP2011190878A true JP2011190878A (ja) 2011-09-29
JP5401648B2 JP5401648B2 (ja) 2014-01-29

Family

ID=44796014

Family Applications (1)

Application Number Title Priority Date Filing Date
JP2010058048A Active JP5401648B2 (ja) 2010-03-15 2010-03-15 配管継手

Country Status (1)

Country Link
JP (1) JP5401648B2 (ja)

Citations (2)

* Cited by examiner, † Cited by third party
Publication number Priority date Publication date Assignee Title
JPS57128164A (en) * 1980-12-20 1982-08-09 Riyuuguhaimaa Eeritsuhi Connector system of fluid conduit having mutually insertable connector elements for, especially, respiration and anesthesia apparatus
JP2002005371A (ja) * 2000-06-22 2002-01-09 Osaka Gas Co Ltd ホースジョイント

Patent Citations (2)

* Cited by examiner, † Cited by third party
Publication number Priority date Publication date Assignee Title
JPS57128164A (en) * 1980-12-20 1982-08-09 Riyuuguhaimaa Eeritsuhi Connector system of fluid conduit having mutually insertable connector elements for, especially, respiration and anesthesia apparatus
JP2002005371A (ja) * 2000-06-22 2002-01-09 Osaka Gas Co Ltd ホースジョイント

Also Published As

Publication number Publication date
JP5401648B2 (ja) 2014-01-29

Similar Documents

Publication Publication Date Title
EP2516916B1 (en) Male bayonet connector
US9732891B2 (en) Male bayonet connector
JP5266069B2 (ja) ケージ
US8371768B1 (en) Connectin unit for tubes
US20130001943A1 (en) Pipe joints
CN103212735A (zh) 旋转刀具以及用于此类旋转刀具的切削头
KR20170003978U (ko) 산업용 선반 형성 랙 시스템 및 상기 산업용 선반 형성 랙 시스템에 적용되는 파이프용 조인트
KR102540683B1 (ko) 전자밸브 및 매니폴드형 전자밸브 집합체
IT8968107A1 (it) Tubazioni di raccordo e fasci composti da tali tubazioni
US20150276079A1 (en) Manifold solenoid valve
JP5401648B2 (ja) 配管継手
KR101817254B1 (ko) 가스 디스트리뷰터 및 이의 제조방법
CN102079038B (zh) 一种换热器及其制冷剂导流管,以及制冷剂导流管的加工方法
KR20220038140A (ko) 밸브체 연결 구조체 및 이를 구비한 밸브 어셈블리
JP6134285B2 (ja) マニホールド電磁弁
JP2017207114A (ja) パイプの固定装置
CN215806481U (zh) 一种滑动阀芯组件及具有该滑动阀芯组件的换向阀
JP6474975B2 (ja) ろう付け構造
JP3205352U (ja) コレットチャック
CN113833427A (zh) 一种煤矿钻孔用快速插接式推杆
KR20160002702U (ko) 공기조화기의 냉매 분배기
KR101906327B1 (ko) 슬리브 일체형 연결구
JP4483717B2 (ja) 冷媒分流器
KR20110008654A (ko) 화학기상증착용 샤워 헤드 및 그 제조 방법
JP2015058461A (ja) スポット溶接ガンの抵抗溶接用電極部の冷却構造及びこれを備えたスポット溶接ガン

Legal Events

Date Code Title Description
A621 Written request for application examination

Free format text: JAPANESE INTERMEDIATE CODE: A621

Effective date: 20120301

A977 Report on retrieval

Free format text: JAPANESE INTERMEDIATE CODE: A971007

Effective date: 20130425

A131 Notification of reasons for refusal

Free format text: JAPANESE INTERMEDIATE CODE: A131

Effective date: 20130507

A521 Request for written amendment filed

Free format text: JAPANESE INTERMEDIATE CODE: A523

Effective date: 20130704

TRDD Decision of grant or rejection written
A01 Written decision to grant a patent or to grant a registration (utility model)

Free format text: JAPANESE INTERMEDIATE CODE: A01

Effective date: 20130809

A61 First payment of annual fees (during grant procedure)

Free format text: JAPANESE INTERMEDIATE CODE: A61

Effective date: 20130906

R150 Certificate of patent or registration of utility model

Ref document number: 5401648

Country of ref document: JP

Free format text: JAPANESE INTERMEDIATE CODE: R150

R250 Receipt of annual fees

Free format text: JAPANESE INTERMEDIATE CODE: R250

S111 Request for change of ownership or part of ownership

Free format text: JAPANESE INTERMEDIATE CODE: R313115

R350 Written notification of registration of transfer

Free format text: JAPANESE INTERMEDIATE CODE: R350

R250 Receipt of annual fees

Free format text: JAPANESE INTERMEDIATE CODE: R250

R350 Written notification of registration of transfer

Free format text: JAPANESE INTERMEDIATE CODE: R350

S111 Request for change of ownership or part of ownership

Free format text: JAPANESE INTERMEDIATE CODE: R313115

R250 Receipt of annual fees

Free format text: JAPANESE INTERMEDIATE CODE: R250

R250 Receipt of annual fees

Free format text: JAPANESE INTERMEDIATE CODE: R250

R250 Receipt of annual fees

Free format text: JAPANESE INTERMEDIATE CODE: R250

S111 Request for change of ownership or part of ownership

Free format text: JAPANESE INTERMEDIATE CODE: R313117

R350 Written notification of registration of transfer

Free format text: JAPANESE INTERMEDIATE CODE: R350

R250 Receipt of annual fees

Free format text: JAPANESE INTERMEDIATE CODE: R250

R250 Receipt of annual fees

Free format text: JAPANESE INTERMEDIATE CODE: R250

R250 Receipt of annual fees

Free format text: JAPANESE INTERMEDIATE CODE: R250

R250 Receipt of annual fees

Free format text: JAPANESE INTERMEDIATE CODE: R250

R250 Receipt of annual fees

Free format text: JAPANESE INTERMEDIATE CODE: R250